JP2005293850A - 電力貯蔵体用電極、電力貯蔵体、および電力貯蔵方法 - Google Patents
電力貯蔵体用電極、電力貯蔵体、および電力貯蔵方法 Download PDFInfo
- Publication number
- JP2005293850A JP2005293850A JP2002063747A JP2002063747A JP2005293850A JP 2005293850 A JP2005293850 A JP 2005293850A JP 2002063747 A JP2002063747 A JP 2002063747A JP 2002063747 A JP2002063747 A JP 2002063747A JP 2005293850 A JP2005293850 A JP 2005293850A
- Authority
- JP
- Japan
- Prior art keywords
- conductive
- electrode
- diamond
- carbon
- conductive substrate
- Prior art date
- Legal status (The legal status is an assumption and is not a legal conclusion. Google has not performed a legal analysis and makes no representation as to the accuracy of the status listed.)
- Withdrawn
Links
- 238000000034 method Methods 0.000 title claims description 24
- 238000004146 energy storage Methods 0.000 title abstract 4
- 239000000758 substrate Substances 0.000 claims abstract description 46
- 239000003792 electrolyte Substances 0.000 claims abstract description 20
- 239000004020 conductor Substances 0.000 claims abstract description 19
- OKTJSMMVPCPJKN-UHFFFAOYSA-N Carbon Chemical compound [C] OKTJSMMVPCPJKN-UHFFFAOYSA-N 0.000 claims description 69
- 229910003460 diamond Inorganic materials 0.000 claims description 59
- 239000010432 diamond Substances 0.000 claims description 59
- 239000002041 carbon nanotube Substances 0.000 claims description 35
- 229910021393 carbon nanotube Inorganic materials 0.000 claims description 35
- 239000000126 substance Substances 0.000 claims description 30
- 239000008151 electrolyte solution Substances 0.000 claims description 26
- 238000009830 intercalation Methods 0.000 claims description 26
- 238000003860 storage Methods 0.000 claims description 26
- 150000001768 cations Chemical class 0.000 claims description 25
- HBBGRARXTFLTSG-UHFFFAOYSA-N Lithium ion Chemical compound [Li+] HBBGRARXTFLTSG-UHFFFAOYSA-N 0.000 claims description 21
- 229910001416 lithium ion Inorganic materials 0.000 claims description 21
- 229910052799 carbon Inorganic materials 0.000 claims description 20
- 230000002687 intercalation Effects 0.000 claims description 20
- 239000000463 material Substances 0.000 claims description 18
- 239000011148 porous material Substances 0.000 claims description 10
- 239000010439 graphite Substances 0.000 claims description 8
- 229910002804 graphite Inorganic materials 0.000 claims description 8
- 239000003125 aqueous solvent Substances 0.000 claims description 7
- WYURNTSHIVDZCO-UHFFFAOYSA-N Tetrahydrofuran Chemical compound C1CCOC1 WYURNTSHIVDZCO-UHFFFAOYSA-N 0.000 claims description 6
- RUOJZAUFBMNUDX-UHFFFAOYSA-N propylene carbonate Chemical compound CC1COC(=O)O1 RUOJZAUFBMNUDX-UHFFFAOYSA-N 0.000 claims description 5
- 239000000243 solution Substances 0.000 claims description 5
- 239000002904 solvent Substances 0.000 claims description 5
- YEJRWHAVMIAJKC-UHFFFAOYSA-N 4-Butyrolactone Chemical compound O=C1CCCO1 YEJRWHAVMIAJKC-UHFFFAOYSA-N 0.000 claims description 4
- -1 LiCF 3 SO 3 Inorganic materials 0.000 claims description 4
- 229910013684 LiClO 4 Inorganic materials 0.000 claims description 3
- 229910003481 amorphous carbon Inorganic materials 0.000 claims description 3
- MHCFAGZWMAWTNR-UHFFFAOYSA-M lithium perchlorate Chemical compound [Li+].[O-]Cl(=O)(=O)=O MHCFAGZWMAWTNR-UHFFFAOYSA-M 0.000 claims description 3
- 229920000049 Carbon (fiber) Polymers 0.000 claims description 2
- KMTRUDSVKNLOMY-UHFFFAOYSA-N Ethylene carbonate Chemical compound O=C1OCCO1 KMTRUDSVKNLOMY-UHFFFAOYSA-N 0.000 claims description 2
- 229910015015 LiAsF 6 Inorganic materials 0.000 claims description 2
- 229910013870 LiPF 6 Inorganic materials 0.000 claims description 2
- 150000001408 amides Chemical class 0.000 claims description 2
- 229930188620 butyrolactone Natural products 0.000 claims description 2
- 239000004917 carbon fiber Substances 0.000 claims description 2
- 229910021397 glassy carbon Inorganic materials 0.000 claims description 2
- 229910001486 lithium perchlorate Inorganic materials 0.000 claims description 2
- 239000002931 mesocarbon microbead Substances 0.000 claims description 2
- 150000002825 nitriles Chemical class 0.000 claims description 2
- YLQBMQCUIZJEEH-UHFFFAOYSA-N tetrahydrofuran Natural products C=1C=COC=1 YLQBMQCUIZJEEH-UHFFFAOYSA-N 0.000 claims description 2
- 239000003990 capacitor Substances 0.000 abstract description 14
- 150000002500 ions Chemical class 0.000 abstract description 5
- XEEYBQQBJWHFJM-UHFFFAOYSA-N iron Substances [Fe] XEEYBQQBJWHFJM-UHFFFAOYSA-N 0.000 description 17
- 239000010409 thin film Substances 0.000 description 17
- 238000005259 measurement Methods 0.000 description 11
- 239000007789 gas Substances 0.000 description 9
- 229910052742 iron Inorganic materials 0.000 description 9
- ZOXJGFHDIHLPTG-UHFFFAOYSA-N Boron Chemical compound [B] ZOXJGFHDIHLPTG-UHFFFAOYSA-N 0.000 description 8
- 229910052796 boron Inorganic materials 0.000 description 8
- 230000015572 biosynthetic process Effects 0.000 description 6
- 238000002484 cyclic voltammetry Methods 0.000 description 6
- 239000010419 fine particle Substances 0.000 description 6
- 238000001020 plasma etching Methods 0.000 description 6
- QVGXLLKOCUKJST-UHFFFAOYSA-N atomic oxygen Chemical compound [O] QVGXLLKOCUKJST-UHFFFAOYSA-N 0.000 description 5
- 238000004519 manufacturing process Methods 0.000 description 5
- IJGRMHOSHXDMSA-UHFFFAOYSA-N nitrogen Substances N#N IJGRMHOSHXDMSA-UHFFFAOYSA-N 0.000 description 5
- 239000001301 oxygen Substances 0.000 description 5
- 229910052760 oxygen Inorganic materials 0.000 description 5
- 239000012071 phase Substances 0.000 description 5
- 238000003786 synthesis reaction Methods 0.000 description 5
- 239000012808 vapor phase Substances 0.000 description 5
- XKRFYHLGVUSROY-UHFFFAOYSA-N Argon Chemical compound [Ar] XKRFYHLGVUSROY-UHFFFAOYSA-N 0.000 description 4
- WHXSMMKQMYFTQS-UHFFFAOYSA-N Lithium Chemical compound [Li] WHXSMMKQMYFTQS-UHFFFAOYSA-N 0.000 description 4
- 239000003575 carbonaceous material Substances 0.000 description 4
- 238000006243 chemical reaction Methods 0.000 description 4
- 238000005229 chemical vapour deposition Methods 0.000 description 4
- 230000005284 excitation Effects 0.000 description 4
- 239000011521 glass Substances 0.000 description 4
- 239000001257 hydrogen Substances 0.000 description 4
- 229910052739 hydrogen Inorganic materials 0.000 description 4
- 239000007788 liquid Substances 0.000 description 4
- 229910052744 lithium Inorganic materials 0.000 description 4
- 230000009467 reduction Effects 0.000 description 4
- 238000011160 research Methods 0.000 description 4
- 239000004065 semiconductor Substances 0.000 description 4
- 238000001308 synthesis method Methods 0.000 description 4
- WEVYAHXRMPXWCK-UHFFFAOYSA-N Acetonitrile Chemical compound CC#N WEVYAHXRMPXWCK-UHFFFAOYSA-N 0.000 description 3
- UFHFLCQGNIYNRP-UHFFFAOYSA-N Hydrogen Chemical compound [H][H] UFHFLCQGNIYNRP-UHFFFAOYSA-N 0.000 description 3
- OKKJLVBELUTLKV-UHFFFAOYSA-N Methanol Chemical compound OC OKKJLVBELUTLKV-UHFFFAOYSA-N 0.000 description 3
- ZMXDDKWLCZADIW-UHFFFAOYSA-N N,N-Dimethylformamide Chemical compound CN(C)C=O ZMXDDKWLCZADIW-UHFFFAOYSA-N 0.000 description 3
- XUIMIQQOPSSXEZ-UHFFFAOYSA-N Silicon Chemical compound [Si] XUIMIQQOPSSXEZ-UHFFFAOYSA-N 0.000 description 3
- 239000000654 additive Substances 0.000 description 3
- 230000000996 additive effect Effects 0.000 description 3
- PNEYBMLMFCGWSK-UHFFFAOYSA-N aluminium oxide Inorganic materials [O-2].[O-2].[O-2].[Al+3].[Al+3] PNEYBMLMFCGWSK-UHFFFAOYSA-N 0.000 description 3
- 230000008901 benefit Effects 0.000 description 3
- 239000013078 crystal Substances 0.000 description 3
- VNWKTOKETHGBQD-UHFFFAOYSA-N methane Chemical compound C VNWKTOKETHGBQD-UHFFFAOYSA-N 0.000 description 3
- 229910052750 molybdenum Inorganic materials 0.000 description 3
- 229910052757 nitrogen Inorganic materials 0.000 description 3
- MWUXSHHQAYIFBG-UHFFFAOYSA-N nitrogen oxide Inorganic materials O=[N] MWUXSHHQAYIFBG-UHFFFAOYSA-N 0.000 description 3
- IEQIEDJGQAUEQZ-UHFFFAOYSA-N phthalocyanine Chemical compound N1C(N=C2C3=CC=CC=C3C(N=C3C4=CC=CC=C4C(=N4)N3)=N2)=C(C=CC=C2)C2=C1N=C1C2=CC=CC=C2C4=N1 IEQIEDJGQAUEQZ-UHFFFAOYSA-N 0.000 description 3
- 238000005268 plasma chemical vapour deposition Methods 0.000 description 3
- 238000005498 polishing Methods 0.000 description 3
- 229910052721 tungsten Inorganic materials 0.000 description 3
- 229920003026 Acene Polymers 0.000 description 2
- CSCPPACGZOOCGX-UHFFFAOYSA-N Acetone Chemical compound CC(C)=O CSCPPACGZOOCGX-UHFFFAOYSA-N 0.000 description 2
- LFQSCWFLJHTTHZ-UHFFFAOYSA-N Ethanol Chemical compound CCO LFQSCWFLJHTTHZ-UHFFFAOYSA-N 0.000 description 2
- 239000012901 Milli-Q water Substances 0.000 description 2
- 229910052786 argon Inorganic materials 0.000 description 2
- 125000004432 carbon atom Chemical group C* 0.000 description 2
- 239000002019 doping agent Substances 0.000 description 2
- 238000010438 heat treatment Methods 0.000 description 2
- AMWRITDGCCNYAT-UHFFFAOYSA-L hydroxy(oxo)manganese;manganese Chemical compound [Mn].O[Mn]=O.O[Mn]=O AMWRITDGCCNYAT-UHFFFAOYSA-L 0.000 description 2
- 230000006872 improvement Effects 0.000 description 2
- 239000012535 impurity Substances 0.000 description 2
- 229910052751 metal Inorganic materials 0.000 description 2
- 239000002184 metal Substances 0.000 description 2
- 229910021421 monocrystalline silicon Inorganic materials 0.000 description 2
- 239000007773 negative electrode material Substances 0.000 description 2
- 229910052758 niobium Inorganic materials 0.000 description 2
- 239000011255 nonaqueous electrolyte Substances 0.000 description 2
- 239000002994 raw material Substances 0.000 description 2
- 229910052710 silicon Inorganic materials 0.000 description 2
- 239000010703 silicon Substances 0.000 description 2
- 229910052719 titanium Inorganic materials 0.000 description 2
- 239000010936 titanium Substances 0.000 description 2
- 238000011144 upstream manufacturing Methods 0.000 description 2
- 229910018072 Al 2 O 3 Inorganic materials 0.000 description 1
- DWHFSBQXZDGOIV-UHFFFAOYSA-N C(C)O.[N+](=O)([O-])[O-].[Fe+2].[N+](=O)([O-])[O-] Chemical compound C(C)O.[N+](=O)([O-])[O-].[Fe+2].[N+](=O)([O-])[O-] DWHFSBQXZDGOIV-UHFFFAOYSA-N 0.000 description 1
- XMWRBQBLMFGWIX-UHFFFAOYSA-N C60 fullerene Chemical compound C12=C3C(C4=C56)=C7C8=C5C5=C9C%10=C6C6=C4C1=C1C4=C6C6=C%10C%10=C9C9=C%11C5=C8C5=C8C7=C3C3=C7C2=C1C1=C2C4=C6C4=C%10C6=C9C9=C%11C5=C5C8=C3C3=C7C1=C1C2=C4C6=C2C9=C5C3=C12 XMWRBQBLMFGWIX-UHFFFAOYSA-N 0.000 description 1
- UEZVMMHDMIWARA-UHFFFAOYSA-N Metaphosphoric acid Chemical compound OP(=O)=O UEZVMMHDMIWARA-UHFFFAOYSA-N 0.000 description 1
- ZOKXTWBITQBERF-UHFFFAOYSA-N Molybdenum Chemical compound [Mo] ZOKXTWBITQBERF-UHFFFAOYSA-N 0.000 description 1
- OAICVXFJPJFONN-UHFFFAOYSA-N Phosphorus Chemical compound [P] OAICVXFJPJFONN-UHFFFAOYSA-N 0.000 description 1
- VYPSYNLAJGMNEJ-UHFFFAOYSA-N Silicium dioxide Chemical compound O=[Si]=O VYPSYNLAJGMNEJ-UHFFFAOYSA-N 0.000 description 1
- 230000004913 activation Effects 0.000 description 1
- 239000000853 adhesive Substances 0.000 description 1
- 230000001070 adhesive effect Effects 0.000 description 1
- 229910052782 aluminium Inorganic materials 0.000 description 1
- XAGFODPZIPBFFR-UHFFFAOYSA-N aluminium Chemical compound [Al] XAGFODPZIPBFFR-UHFFFAOYSA-N 0.000 description 1
- 229910002091 carbon monoxide Inorganic materials 0.000 description 1
- 238000003763 carbonization Methods 0.000 description 1
- 239000003054 catalyst Substances 0.000 description 1
- 230000008859 change Effects 0.000 description 1
- 239000013626 chemical specie Substances 0.000 description 1
- 239000011248 coating agent Substances 0.000 description 1
- 238000000576 coating method Methods 0.000 description 1
- 239000010941 cobalt Substances 0.000 description 1
- GUTLYIVDDKVIGB-UHFFFAOYSA-N cobalt atom Chemical compound [Co] GUTLYIVDDKVIGB-UHFFFAOYSA-N 0.000 description 1
- 229910000428 cobalt oxide Inorganic materials 0.000 description 1
- 238000002485 combustion reaction Methods 0.000 description 1
- 150000001875 compounds Chemical class 0.000 description 1
- 238000009831 deintercalation Methods 0.000 description 1
- 238000000151 deposition Methods 0.000 description 1
- 238000003795 desorption Methods 0.000 description 1
- 230000006866 deterioration Effects 0.000 description 1
- JKWMSGQKBLHBQQ-UHFFFAOYSA-N diboron trioxide Chemical compound O=BOB=O JKWMSGQKBLHBQQ-UHFFFAOYSA-N 0.000 description 1
- 238000007598 dipping method Methods 0.000 description 1
- 238000007599 discharging Methods 0.000 description 1
- 238000010891 electric arc Methods 0.000 description 1
- 229910003472 fullerene Inorganic materials 0.000 description 1
- 229910052737 gold Inorganic materials 0.000 description 1
- 239000010931 gold Substances 0.000 description 1
- 239000011810 insulating material Substances 0.000 description 1
- 239000012212 insulator Substances 0.000 description 1
- 238000011068 loading method Methods 0.000 description 1
- 230000007774 longterm Effects 0.000 description 1
- 229910044991 metal oxide Inorganic materials 0.000 description 1
- 150000004706 metal oxides Chemical class 0.000 description 1
- 229910052976 metal sulfide Inorganic materials 0.000 description 1
- 239000000203 mixture Substances 0.000 description 1
- 230000004048 modification Effects 0.000 description 1
- 238000012986 modification Methods 0.000 description 1
- 229910003465 moissanite Inorganic materials 0.000 description 1
- 239000011733 molybdenum Substances 0.000 description 1
- 229910052759 nickel Inorganic materials 0.000 description 1
- PXHVJJICTQNCMI-UHFFFAOYSA-N nickel Substances [Ni] PXHVJJICTQNCMI-UHFFFAOYSA-N 0.000 description 1
- 229910000480 nickel oxide Inorganic materials 0.000 description 1
- 239000010955 niobium Substances 0.000 description 1
- 239000011356 non-aqueous organic solvent Substances 0.000 description 1
- 230000006911 nucleation Effects 0.000 description 1
- 238000010899 nucleation Methods 0.000 description 1
- GNRSAWUEBMWBQH-UHFFFAOYSA-N oxonickel Chemical compound [Ni]=O GNRSAWUEBMWBQH-UHFFFAOYSA-N 0.000 description 1
- 239000002245 particle Substances 0.000 description 1
- 239000012466 permeate Substances 0.000 description 1
- 229910052698 phosphorus Inorganic materials 0.000 description 1
- 239000011574 phosphorus Substances 0.000 description 1
- 238000003672 processing method Methods 0.000 description 1
- 229910010271 silicon carbide Inorganic materials 0.000 description 1
- 239000007787 solid Substances 0.000 description 1
- 230000003746 surface roughness Effects 0.000 description 1
- 230000002194 synthesizing effect Effects 0.000 description 1
- 238000012360 testing method Methods 0.000 description 1
- 229910052723 transition metal Inorganic materials 0.000 description 1
- 229910000314 transition metal oxide Inorganic materials 0.000 description 1
- WFKWXMTUELFFGS-UHFFFAOYSA-N tungsten Chemical compound [W] WFKWXMTUELFFGS-UHFFFAOYSA-N 0.000 description 1
- 239000010937 tungsten Substances 0.000 description 1
Images
Classifications
-
- H—ELECTRICITY
- H01—ELECTRIC ELEMENTS
- H01G—CAPACITORS; CAPACITORS, RECTIFIERS, DETECTORS, SWITCHING DEVICES, LIGHT-SENSITIVE OR TEMPERATURE-SENSITIVE DEVICES OF THE ELECTROLYTIC TYPE
- H01G11/00—Hybrid capacitors, i.e. capacitors having different positive and negative electrodes; Electric double-layer [EDL] capacitors; Processes for the manufacture thereof or of parts thereof
- H01G11/22—Electrodes
- H01G11/26—Electrodes characterised by their structure, e.g. multi-layered, porosity or surface features
- H01G11/28—Electrodes characterised by their structure, e.g. multi-layered, porosity or surface features arranged or disposed on a current collector; Layers or phases between electrodes and current collectors, e.g. adhesives
-
- B—PERFORMING OPERATIONS; TRANSPORTING
- B82—NANOTECHNOLOGY
- B82Y—SPECIFIC USES OR APPLICATIONS OF NANOSTRUCTURES; MEASUREMENT OR ANALYSIS OF NANOSTRUCTURES; MANUFACTURE OR TREATMENT OF NANOSTRUCTURES
- B82Y10/00—Nanotechnology for information processing, storage or transmission, e.g. quantum computing or single electron logic
-
- H—ELECTRICITY
- H01—ELECTRIC ELEMENTS
- H01G—CAPACITORS; CAPACITORS, RECTIFIERS, DETECTORS, SWITCHING DEVICES, LIGHT-SENSITIVE OR TEMPERATURE-SENSITIVE DEVICES OF THE ELECTROLYTIC TYPE
- H01G11/00—Hybrid capacitors, i.e. capacitors having different positive and negative electrodes; Electric double-layer [EDL] capacitors; Processes for the manufacture thereof or of parts thereof
- H01G11/22—Electrodes
- H01G11/30—Electrodes characterised by their material
- H01G11/32—Carbon-based
-
- H—ELECTRICITY
- H01—ELECTRIC ELEMENTS
- H01G—CAPACITORS; CAPACITORS, RECTIFIERS, DETECTORS, SWITCHING DEVICES, LIGHT-SENSITIVE OR TEMPERATURE-SENSITIVE DEVICES OF THE ELECTROLYTIC TYPE
- H01G11/00—Hybrid capacitors, i.e. capacitors having different positive and negative electrodes; Electric double-layer [EDL] capacitors; Processes for the manufacture thereof or of parts thereof
- H01G11/22—Electrodes
- H01G11/30—Electrodes characterised by their material
- H01G11/50—Electrodes characterised by their material specially adapted for lithium-ion capacitors, e.g. for lithium-doping or for intercalation
-
- H—ELECTRICITY
- H01—ELECTRIC ELEMENTS
- H01G—CAPACITORS; CAPACITORS, RECTIFIERS, DETECTORS, SWITCHING DEVICES, LIGHT-SENSITIVE OR TEMPERATURE-SENSITIVE DEVICES OF THE ELECTROLYTIC TYPE
- H01G11/00—Hybrid capacitors, i.e. capacitors having different positive and negative electrodes; Electric double-layer [EDL] capacitors; Processes for the manufacture thereof or of parts thereof
- H01G11/54—Electrolytes
- H01G11/58—Liquid electrolytes
- H01G11/62—Liquid electrolytes characterised by the solute, e.g. salts, anions or cations therein
-
- H—ELECTRICITY
- H01—ELECTRIC ELEMENTS
- H01M—PROCESSES OR MEANS, e.g. BATTERIES, FOR THE DIRECT CONVERSION OF CHEMICAL ENERGY INTO ELECTRICAL ENERGY
- H01M10/00—Secondary cells; Manufacture thereof
- H01M10/05—Accumulators with non-aqueous electrolyte
- H01M10/052—Li-accumulators
- H01M10/0525—Rocking-chair batteries, i.e. batteries with lithium insertion or intercalation in both electrodes; Lithium-ion batteries
-
- H—ELECTRICITY
- H01—ELECTRIC ELEMENTS
- H01M—PROCESSES OR MEANS, e.g. BATTERIES, FOR THE DIRECT CONVERSION OF CHEMICAL ENERGY INTO ELECTRICAL ENERGY
- H01M10/00—Secondary cells; Manufacture thereof
- H01M10/05—Accumulators with non-aqueous electrolyte
- H01M10/056—Accumulators with non-aqueous electrolyte characterised by the materials used as electrolytes, e.g. mixed inorganic/organic electrolytes
- H01M10/0564—Accumulators with non-aqueous electrolyte characterised by the materials used as electrolytes, e.g. mixed inorganic/organic electrolytes the electrolyte being constituted of organic materials only
- H01M10/0566—Liquid materials
- H01M10/0569—Liquid materials characterised by the solvents
-
- H—ELECTRICITY
- H01—ELECTRIC ELEMENTS
- H01M—PROCESSES OR MEANS, e.g. BATTERIES, FOR THE DIRECT CONVERSION OF CHEMICAL ENERGY INTO ELECTRICAL ENERGY
- H01M4/00—Electrodes
- H01M4/02—Electrodes composed of, or comprising, active material
-
- H—ELECTRICITY
- H01—ELECTRIC ELEMENTS
- H01M—PROCESSES OR MEANS, e.g. BATTERIES, FOR THE DIRECT CONVERSION OF CHEMICAL ENERGY INTO ELECTRICAL ENERGY
- H01M4/00—Electrodes
- H01M4/02—Electrodes composed of, or comprising, active material
- H01M4/13—Electrodes for accumulators with non-aqueous electrolyte, e.g. for lithium-accumulators; Processes of manufacture thereof
- H01M4/133—Electrodes based on carbonaceous material, e.g. graphite-intercalation compounds or CFx
-
- H—ELECTRICITY
- H01—ELECTRIC ELEMENTS
- H01M—PROCESSES OR MEANS, e.g. BATTERIES, FOR THE DIRECT CONVERSION OF CHEMICAL ENERGY INTO ELECTRICAL ENERGY
- H01M4/00—Electrodes
- H01M4/02—Electrodes composed of, or comprising, active material
- H01M4/13—Electrodes for accumulators with non-aqueous electrolyte, e.g. for lithium-accumulators; Processes of manufacture thereof
- H01M4/139—Processes of manufacture
- H01M4/1393—Processes of manufacture of electrodes based on carbonaceous material, e.g. graphite-intercalation compounds or CFx
-
- H—ELECTRICITY
- H01—ELECTRIC ELEMENTS
- H01M—PROCESSES OR MEANS, e.g. BATTERIES, FOR THE DIRECT CONVERSION OF CHEMICAL ENERGY INTO ELECTRICAL ENERGY
- H01M4/00—Electrodes
- H01M4/02—Electrodes composed of, or comprising, active material
- H01M4/36—Selection of substances as active materials, active masses, active liquids
- H01M4/58—Selection of substances as active materials, active masses, active liquids of inorganic compounds other than oxides or hydroxides, e.g. sulfides, selenides, tellurides, halogenides or LiCoFy; of polyanionic structures, e.g. phosphates, silicates or borates
- H01M4/583—Carbonaceous material, e.g. graphite-intercalation compounds or CFx
-
- H—ELECTRICITY
- H01—ELECTRIC ELEMENTS
- H01M—PROCESSES OR MEANS, e.g. BATTERIES, FOR THE DIRECT CONVERSION OF CHEMICAL ENERGY INTO ELECTRICAL ENERGY
- H01M4/00—Electrodes
- H01M4/02—Electrodes composed of, or comprising, active material
- H01M4/64—Carriers or collectors
- H01M4/66—Selection of materials
-
- H—ELECTRICITY
- H01—ELECTRIC ELEMENTS
- H01M—PROCESSES OR MEANS, e.g. BATTERIES, FOR THE DIRECT CONVERSION OF CHEMICAL ENERGY INTO ELECTRICAL ENERGY
- H01M4/00—Electrodes
- H01M4/02—Electrodes composed of, or comprising, active material
- H01M4/64—Carriers or collectors
- H01M4/70—Carriers or collectors characterised by shape or form
- H01M4/80—Porous plates, e.g. sintered carriers
-
- H—ELECTRICITY
- H01—ELECTRIC ELEMENTS
- H01G—CAPACITORS; CAPACITORS, RECTIFIERS, DETECTORS, SWITCHING DEVICES, LIGHT-SENSITIVE OR TEMPERATURE-SENSITIVE DEVICES OF THE ELECTROLYTIC TYPE
- H01G11/00—Hybrid capacitors, i.e. capacitors having different positive and negative electrodes; Electric double-layer [EDL] capacitors; Processes for the manufacture thereof or of parts thereof
- H01G11/22—Electrodes
- H01G11/30—Electrodes characterised by their material
- H01G11/32—Carbon-based
- H01G11/36—Nanostructures, e.g. nanofibres, nanotubes or fullerenes
-
- H—ELECTRICITY
- H01—ELECTRIC ELEMENTS
- H01M—PROCESSES OR MEANS, e.g. BATTERIES, FOR THE DIRECT CONVERSION OF CHEMICAL ENERGY INTO ELECTRICAL ENERGY
- H01M4/00—Electrodes
- H01M4/02—Electrodes composed of, or comprising, active material
- H01M2004/026—Electrodes composed of, or comprising, active material characterised by the polarity
- H01M2004/027—Negative electrodes
-
- H—ELECTRICITY
- H01—ELECTRIC ELEMENTS
- H01M—PROCESSES OR MEANS, e.g. BATTERIES, FOR THE DIRECT CONVERSION OF CHEMICAL ENERGY INTO ELECTRICAL ENERGY
- H01M4/00—Electrodes
- H01M4/02—Electrodes composed of, or comprising, active material
- H01M4/36—Selection of substances as active materials, active masses, active liquids
- H01M4/48—Selection of substances as active materials, active masses, active liquids of inorganic oxides or hydroxides
- H01M4/50—Selection of substances as active materials, active masses, active liquids of inorganic oxides or hydroxides of manganese
- H01M4/505—Selection of substances as active materials, active masses, active liquids of inorganic oxides or hydroxides of manganese of mixed oxides or hydroxides containing manganese for inserting or intercalating light metals, e.g. LiMn2O4 or LiMn2OxFy
-
- H—ELECTRICITY
- H01—ELECTRIC ELEMENTS
- H01M—PROCESSES OR MEANS, e.g. BATTERIES, FOR THE DIRECT CONVERSION OF CHEMICAL ENERGY INTO ELECTRICAL ENERGY
- H01M4/00—Electrodes
- H01M4/02—Electrodes composed of, or comprising, active material
- H01M4/36—Selection of substances as active materials, active masses, active liquids
- H01M4/48—Selection of substances as active materials, active masses, active liquids of inorganic oxides or hydroxides
- H01M4/52—Selection of substances as active materials, active masses, active liquids of inorganic oxides or hydroxides of nickel, cobalt or iron
- H01M4/525—Selection of substances as active materials, active masses, active liquids of inorganic oxides or hydroxides of nickel, cobalt or iron of mixed oxides or hydroxides containing iron, cobalt or nickel for inserting or intercalating light metals, e.g. LiNiO2, LiCoO2 or LiCoOxFy
-
- Y—GENERAL TAGGING OF NEW TECHNOLOGICAL DEVELOPMENTS; GENERAL TAGGING OF CROSS-SECTIONAL TECHNOLOGIES SPANNING OVER SEVERAL SECTIONS OF THE IPC; TECHNICAL SUBJECTS COVERED BY FORMER USPC CROSS-REFERENCE ART COLLECTIONS [XRACs] AND DIGESTS
- Y02—TECHNOLOGIES OR APPLICATIONS FOR MITIGATION OR ADAPTATION AGAINST CLIMATE CHANGE
- Y02E—REDUCTION OF GREENHOUSE GAS [GHG] EMISSIONS, RELATED TO ENERGY GENERATION, TRANSMISSION OR DISTRIBUTION
- Y02E60/00—Enabling technologies; Technologies with a potential or indirect contribution to GHG emissions mitigation
- Y02E60/10—Energy storage using batteries
-
- Y—GENERAL TAGGING OF NEW TECHNOLOGICAL DEVELOPMENTS; GENERAL TAGGING OF CROSS-SECTIONAL TECHNOLOGIES SPANNING OVER SEVERAL SECTIONS OF THE IPC; TECHNICAL SUBJECTS COVERED BY FORMER USPC CROSS-REFERENCE ART COLLECTIONS [XRACs] AND DIGESTS
- Y02—TECHNOLOGIES OR APPLICATIONS FOR MITIGATION OR ADAPTATION AGAINST CLIMATE CHANGE
- Y02E—REDUCTION OF GREENHOUSE GAS [GHG] EMISSIONS, RELATED TO ENERGY GENERATION, TRANSMISSION OR DISTRIBUTION
- Y02E60/00—Enabling technologies; Technologies with a potential or indirect contribution to GHG emissions mitigation
- Y02E60/13—Energy storage using capacitors
Landscapes
- Engineering & Computer Science (AREA)
- Chemical & Material Sciences (AREA)
- Power Engineering (AREA)
- Chemical Kinetics & Catalysis (AREA)
- Electrochemistry (AREA)
- Materials Engineering (AREA)
- Microelectronics & Electronic Packaging (AREA)
- General Chemical & Material Sciences (AREA)
- Nanotechnology (AREA)
- Physics & Mathematics (AREA)
- Manufacturing & Machinery (AREA)
- Theoretical Computer Science (AREA)
- Crystallography & Structural Chemistry (AREA)
- Mathematical Physics (AREA)
- Inorganic Chemistry (AREA)
- Condensed Matter Physics & Semiconductors (AREA)
- General Physics & Mathematics (AREA)
- Battery Electrode And Active Subsutance (AREA)
- Secondary Cells (AREA)
- Cell Electrode Carriers And Collectors (AREA)
- Electric Double-Layer Capacitors Or The Like (AREA)
Abstract
【課題】二次電池および電気二重層キャパシタとしての機能を併せ持ち、出力密度およびエネルギー密度を自在に設定可能な電力貯蔵体用の負電極の提供。
【解決手段】導電性基材と、該導電性基材の表面に担持されてなり、電解液中の陽イオンのインターカレーションが可能な間隙および前記導電性基材と前記電解液との接触を可能とする間隙を有する導電性物質とを備えてなり、前記電解液中において、前記導電性物質に前記陽イオンのインターカレーションを生じる負電圧を該電極に印加した場合であっても、前記導電性基材には陽イオンのインターカレーションが生じることなく電荷が蓄積される、電極。
【選択図】 図1
【解決手段】導電性基材と、該導電性基材の表面に担持されてなり、電解液中の陽イオンのインターカレーションが可能な間隙および前記導電性基材と前記電解液との接触を可能とする間隙を有する導電性物質とを備えてなり、前記電解液中において、前記導電性物質に前記陽イオンのインターカレーションを生じる負電圧を該電極に印加した場合であっても、前記導電性基材には陽イオンのインターカレーションが生じることなく電荷が蓄積される、電極。
【選択図】 図1
Description
【0001】
【発明の背景】
発明の分野
本発明は、二次電池および電気二重層キャパシタとしての機能を併せ持つ電力貯蔵体用の負電極、それを用いた電力貯蔵体および電力貯蔵方法に関する。
【0002】
背景技術
リチウムイオン二次電池は、リチウムイオンが正負両極間を移動して、両極においてリチウムイオンがインターカレーションおよび脱インターカレーションを生じることによって充放電が行われる二次電池である。このようなリチウムイオン二次電池は、高エネルギー密度、長寿命、高電圧等の利点を有している。リチウムイオン二次電池の負極材料としては、黒鉛、無定型炭素、金属酸化物、金属硫化物等が知られている。
【0003】
近年新素材として注目されるカーボンナノチューブ (CNT) は、チュ−ブ - チュ−ブ層間にリチウムイオン(Li+ )のインターカレーションが可能であることが報告されている。カーボンナノチューブ層間は 3.4Åとグラファイト層間 (3.35Å) に対し大きいが、カーボンナノチューブは閉じた層であり、Li+ は入りにくく、充放電のヒステリシスが大きくなると考えられてきた。しかし、近年、層間だけでなく、カーボンナノチューブ同士が作る空隙にもリチウムイオンのインターカレーションが進行することが報告され、グラファイトの理論容量 (372 mA h g-1) を上回る高容量が発現することが報告されている。
【0004】
特開平5−266890号公報には、カーボンナノチューブをゴム系の粘着剤で成形したものを負極として用いた、初期容量が向上されたリチウム二次電池が開示されている。
【0005】
電気二重層キャパシタは、従来の電池電源に代わって、大容量を有し、かつ優れた小型バックアップ電源として近年注目されている。電気二重層キャパシタでは充放電に伴って電解質イオンの溶液内移動と電極表面への脱吸着が起こるのみであり、この点で化学反応を伴う二次電池とは異なる。電気二重層キャパシタの負極材料としては、活性炭、ポリアセン等の多孔質炭素材料が用いられている。
【0006】
ところで、従来、活性炭、ポリアセン等の多孔質炭素材料を電気二重層キャパシタとして機能させる場合には、リチウムイオンを含まない電解液が使用されている。その一方、従来、これらの多孔質炭素材料をリチウムイオン二次電池用として使用する場合には、リチウムイオン含有電解液が使用されている。すなわち、従来の多孔質炭素材料では、リチウムイオン含有電解液という共通の電解液中で電気二重層キャパシタとしての機能と、リチウムイオン二次電池としての機能を同時に発現させることは困難であった。
【0007】
ダイヤモンドは本来抵抗率が1013Ωcm程度の絶縁材料であるが、微量不純物のドープにより導電性を獲得する。この導電性ダイヤモンドには、種々の用途が期待されている。その一つに電気化学用の電極としての利用がある。導電性とされたダイヤモンドを電気化学用の電極として見ると、広い電位窓を有し、かつバックグラウンド電流が極めて小さいという優れた特長を有する。さらに、物理的、化学的に安定であり、耐久性に優れるとの特長もまた有する。導電性ダイヤモンド(好ましくはその薄膜)を有する電極は、ダイヤモンド電極と一般的に呼ばれるに至っている。
【0008】
ダイヤモンド電極に関する先駆的研究はIwakiらによって行われた(Iwaki et al., Nuclear Instruments and Methods, 209-210, 1129(1983))。彼らは、アルゴンや窒素イオンを打ち込んで表面導電性を付与した単結晶ダイヤモンドの電気伝導材料としての性質を研究したものである。同時に、電解質溶液中におけるサイクリックボルタモグラムも示した。その後、ホットフィラメントを用いて気相合成した多結晶ダイヤモンド電極の特性が報告されている(Pleskov et al., J. Electroanal. Chem., 228, 19(1993))。
【0009】
本発明者らの一部は、気相合成したダイヤモンド電極を用いて、窒素酸化物の還元について先に報告した(Tenne et al., J. Electroanal. Chem., 347, 409(1993))。この研究では、ドーパントとしてホウ素を導入したp型半導体ダイヤモンドを電極として使用した。その後、ダイヤモンド電極としては、ホウ素をドーパントとするp型半導体またはより導電性の高い金属様導電性ダイヤモンドの利用が主流となるに至る。1990年代に入って、ダイヤモンド電極の研究が複数のグループにより行われ、1995年以降は、より大面積のダイヤモンド薄膜が得られるプラズマCVD(PCVD)装置を用いて得られたダイヤモンド電極の研究が、電気化学分野にも散見されるに至っている。
【0010】
【発明の概要】
本発明者らは、今般、ある種の電極が二次電池の負極としての機能のみならず、電気二重層キャパシタとしての機能も同一電解液中で同時に発現できるとの知見を得た。より具体的には、導電性ダイヤモンド基板上にカーボンナノチューブを成長させたものを負極として用いて二次電池系を構築することにより、二次電池の負極としての機能のみならず、電気二重層キャパシタとしての機能も同一電解液中で同時に発現できるとの知見を得た。また、カーボンナノチューブの担持量を変化させることにより、系の出力密度およびエネルギー密度をそれぞれ任意に設定できるとの知見も得た。本発明はこれらの知見に基づくものである。
従って、本発明は、二次電池および電気二重層キャパシタとしての機能を併せ持ち、出力密度およびエネルギー密度をそれぞれ任意に設定可能な電力貯蔵体用の負電極、それを用いた電力貯蔵体および電力貯蔵方法の提供をその目的としている。
【0011】
そして、本発明による電力貯蔵体用電極は、
導電性基材と、
該導電性基材の表面に担持されてなり、電解液中の陽イオンのインターカレーションが可能な間隙および前記導電性基材と前記電解液との接触を可能とする間隙を有する導電性物質とを備えてなり、
前記電解液中において、前記導電性物質に前記陽イオンのインターカレーションを生じる負電圧を該電極に印加した場合であっても、前記導電性基材には陽イオンのインターカレーションが生じることなく電荷が蓄積されるものである。
【0012】
また、本発明による電力貯蔵体は、
負極としての上記電極と、
正極としての対電極と
前記負極および正極が浸漬される電解液と
を備えてなる。
【0013】
さらに、本発明による電力貯蔵方法は、
負極としての上記電極と、正極としての対電極とを用意し、
該電極および対電極を電解液に浸漬し、
前記負電極に、前記導電性物質には電解液中の陽イオンのインターカレーションを生じるが、前記導電性基材には陽イオンのインターカレーションが生じない、負電圧を印加すること
を含んでなる。
【0014】
【発明の具体的説明】
電力貯蔵体用電極
図1に本発明の電極の一例を示す。本発明による電極1は、導電性基材2と、導電性物質3とを含んでなる。導電性基材2には、導線4が連結され、電気的に接続可能とされる。この導電性基材2の表面に導電性物質3が担持される。導電性物質3は、電解液中のリチウムイオン等の陽イオンのインターカレーションが可能な間隙を有しており、一定以上の負電圧を電極に印加することにより、陽イオンがインターカレーションにより間隙内に蓄積される。こうして、二次電池の負極として機能する。このとき、導電性基材2には陽イオンのインターカレーションが生じることはない。導電性基材2は、陽イオンがインターカレーション可能な間隙をもともと有しないか、もしくはそれを有しているとしても上記印加電圧下ではインターカレーションが起こらない。導電性物質3は、導電性基材2と電解液との接触を可能とする間隙を有するように導電性基材2上に担持されている。従って、導電性基材2の表面には電解液中の電解質イオンが移動して配列し、いわゆる電気二重層を形成し、その結果、電気二重層キャパシタとしての機能も有する。
【0015】
このように、本発明の電力貯蔵体用の負電極は、二次電池および電気二重層キャパシタとしてその機能を発現する。導電性基材による電気二重層キャパシタとしての機能は、電力貯蔵体の出力密度の向上に特に寄与するものと考えられる。また、導電性物質による二次電池としての機能は、電力貯蔵体のエネルギー密度の向上に特に寄与するものと考えられる。したがって、導電性基材に対する導電性物質の担持量を変化させることにより、用途に応じて、電力貯蔵体の出力密度およびエネルギー密度を自在に設定することができる。すなわち、出力密度よりもエネルギー密度を重視する場合には、導電性基材に対する導電性物質の担持量を多くして、導電性物質により多くの陽イオンを蓄積させることができる。一方、エネルギー密度よりも出力密度を重視する場合には、導電性基材に対する導電性物質の担持量を少なくして、導電性基材と電解液との接触を確保するための間隙をより多く確保して、導電性基材により多くの電荷を蓄積させることができる。
【0016】
導電性基材
本発明において導電性基材は、導電性を有し、かつ導電性物質にリチウムイオン等の陽イオンのインターカレーションを生じる負電圧を該電極に印加した場合であっても陽イオンのインターカレーションが生じないものが使用可能である。導電性基材の好ましい例としては、導電性ダイヤモンド、グラッシーカーボン、導電性ダイヤモンドライクカーボン、および導電性アモルファスカーボンが挙げられる。
【0017】
本発明の好ましい態様によれば、導電性基材として導電性ダイヤモンドを用いる。ダイヤモンドは本来優れた絶縁体である。しかしながら、3族や5族の不純物を添加することによって、半導体〜金属様の導電性を示すようになる。本発明にあっては、半導体〜金属様の導電性を示すダイヤモンドを電極として使用する。導電性ダイヤモンドは、他の炭素および金属電極に対して広い電位窓を有し、小さい残余電流密度を示す材料であり、リチウムイオンのインターカレーションが進行しないという利点がある。
【0018】
本発明においてダイヤモンド電極は、特開2001−21521号公報に記載のものを利用することができる。その内容を説明すれば以下の通りです。
【0019】
ダイヤモンドに導電性を付与するために添加される物質としては、上記の通り3族および5族の元素が挙げられ、さらに好ましくはホウ素、窒素、リンが挙げられ、最も好ましくはホウ素または窒素である。この導電性を付与するために添加される物質の添加量は、ダイヤモンドに導電性を付与できる範囲で適宜決定されてよいが、例えば1×10−2〜10−6Ωcm程度の導電性を与える量添加されることが好ましい。この導電性を付与するために添加される物質の添加量は、導電性ダイヤモンドの製造工程における添加量により制御されることが一般的である。
【0020】
本発明の好ましい態様によれば、支持体上に導線性ダイヤモンドの薄膜を形成し、さらにこの導電性ダイヤモンド薄膜に、導線を接続させ、導電性基材とすることが好ましい。支持体としては、Si(例えば、単結晶シリコン)、Mo、W、Nb、Ti、Fe、Au、Ni、Co、Al2O3、SiC、Si3N4、ZrO2、MgO、黒鉛、単結晶ダイヤモンド、cBN、石英ガラス等が挙げられ、特に単結晶シリコン、Mo、W、Nb、Ti、SiC、単結晶ダイヤモンドの利用が好ましい。
【0021】
導電性ダイヤモンド薄膜の厚さは、特に限定されないが、1〜100μm程度の厚さが好ましく、より好ましくは5〜50μm程度である。
【0022】
本発明の好ましい態様によれば、導電性ダイヤモンド薄膜は、化学気相成長法により好ましく製造される。化学気相成長法とは、気相中で気体原料を化学反応させて物質を合成する方法であり、CVD(Chemical Vapor Deposition )法と一般に呼ばれる。この方法は、半導体製造プロセスにおいて広く利用されており、本発明における導電性ダイヤモンド薄膜の製造にも合目的的な改変のもと利用可能である。
【0023】
ダイヤモンドの化学気相合成は、メタンなどの含炭素気体と水素を混合したものを原料気体として、それを励起源により励起させ、支持体上に供給して堆積させることにより行われる。
【0024】
励起源としては、熱フィラメント、マイクロ波、高周波、直流グロー放電、直流アーク放電、燃焼炎などが挙げられる。また、これらを複数組み合わせて核生成密度を調整したり、大面積化や均一化を図ることも可能である。
【0025】
原料としては、炭素の含まれている多くの種類の、励起源により分解、励起されて、C、C2などの活性な炭素、およびCH、CH2、CH3、C2H2などの炭化水素ラジカルを生じさせる化合物を利用可能である。好ましい具体例としては、気体としてCH4、C2H2、C2H4、C10H16、CO、CF4、液体としてCH3OH、C2H5OH、(CH3)2CO、固体として黒鉛、フラーレンなどが挙げられる。
【0026】
気相合成法にあって、ダイヤモンドに導電性を付与する物質の添加は、例えば添加物質のディスクを系内に置き、炭素源原料と同様に励起させ、炭素気相に添加物質を導入する方法、炭素源に予め添加物質を添加し、系内に炭素源と共に導入し、励起源により励起し、炭素気相に添加物質を導入する方法等により行うことが出来る。本発明の好ましい態様によれば、後者の方法が好ましい。とりわけ、炭素源としてアセトン、メタノールなどの液体を用いる場合、これに酸化ボロン(B2O3)を溶解してボロン源とする方法が、ボロンの濃度の制御が容易で、かつ簡便であることから好ましい。例えば、気相合成法にあって、炭素源にホウ素を添加する場合、10〜12,000ppm程度が一般的であり、また1,000〜10,000ppm程度が好ましい。
【0027】
本発明の好ましい態様によれば、導電性ダイヤモンド薄膜の製造はプラズマ化学気相合成法により行われることが好ましい。このプラズマ化学気相合成法は、化学反応を引き起こす活性化エネルギーが大きく、反応が速いとの利点を有する。さらに、この方法によれば、熱力学的に高温でなければ存在しない化学種を生成して、低い温度での反応が可能となる。プラズマ化学気相合成法による導電性ダイヤモンド薄膜の製造は、本発明者らの一部を含めいくつかの報告が既にあり(例えば、Yano et al., J. Electrochem. Soc., 145(1998) 1870)、これら報告に記載の方法に従って行うことが好ましい。
【0028】
本発明の好ましい態様によれば、導電性基材が少なくともその表面において多孔質であるのが好ましい。基材表面が多孔質であると、その比表面積が大きくなる。したがって、より多くの電荷を集めることができ、その結果、電気二重層容量が増大して、放電可能時間が長くなる。また、限界放電可能電流が増加して、限界出力が増加されるものと考えられる。
【0029】
本発明の好ましい態様によれば、基材表面の多孔質化が、陽極酸化アルミナをマスクとして用いたプラズマエッチング処理により、マスクと同一配列の細孔を形成することにより行われるのが好ましい。この方法によれば、細孔がハニカム状に規則的に形成された導電性基材を得ることが可能である。このような処理方法は、例えば特開2000−1393号に開示される方法に基づいて行うことができる。
この態様の電極を図2に示す。図2は、この態様の電極11の断面図である。図2に示されるように、電極11は、ハニカム状に細孔が規則的に形成された導電性基材12の上に導電性物質13が担持されてなる。導電性物質13は、細孔の内外を問わず形成されているが、細孔内にのみ導電性物質13を担持させることもできる。導電性基材12には、導線14がコーティングを介して連結され、電気的に接続可能とされる。
【0030】
また、本発明の別の好ましい態様によれば、多孔質の支持体上に導電性ダイヤモンド等を被覆して、多孔質表面の導電性基材とすることもできる。この場合の多孔質支持体の好ましい例としては、タングステンメッシュ、モリブデンメッシュ、表面に細孔を施されたシリコン基板等が挙げられる。
【0031】
本発明の好ましい態様によれば、多孔質の基材表面における細孔径は、1nm〜1000nmが好ましく、より好ましくは400〜500nmであり、さらに好ましくは800〜1000nmである。好ましい孔の深さは、1〜5μmであり、より好ましくは1〜2μmである。好ましい孔の間隔は、1.2nm〜1200nmであり、より好ましくは100nm〜500nmである。
【0032】
導電性物質
本発明における導電性物質は、導電性を有し、かつ電解液中のリチウムイオン等の陽イオンのインターカレーションが可能な間隙および前記導電性基材と前記電解液との接触を確保するための間隙を有するものが使用可能である。導電性物質の好ましい例としては、カーボンナノチューブ、グラファイト、活性炭、カーボンファイバー、メソカーボンマイクロビーズ等が挙げられる。
【0033】
本発明の好ましい態様によれば、この導電性物質としてカーボンナノチューブを用いる。カーボンナノチューブは、炭素原子の六角網面のシートの継ぎ目のない同軸円筒であり、その直径が1〜50nmとナノメートルオーダーのものである。カーボンナノチューブは、一定の負電圧でリチウムイオンのインターカレーションが生じる。このインターカレーションは、カーボンナノチューブ層間のみならず、カーボンナノチューブ同士が作る空隙においても生じると考えられる。したがって、このカーボンナノチューブによれば、黒鉛層間の理論容量 (C6Li;372 mA h g-1) をはるかに上回る高容量を実現することができる。また、カーボンナノチューブは円筒状構造であるため、導電性基材上にある程度の量担持させても導電性基材表面には電解液との接触を確保するための間隙を十分に持たせることができる。したがって、導電性基材の電気二重層キャパシタ機能を確保しながら、カーボンナノチューブによる二次電池機能を発現させることができる。
【0034】
導電性基材上へのカーボンナノチューブの担持は、公知の方法に従って行うことができ、G. Che, B. B. Lakshmi, C. R. Martin, and E. R. Fisher, Chem. Mater., 10 (1998) 260、およびS. Huang, L. Dai, and A. W. H. Mau, J. Phys. Chem. B, 103 (1999) 4223等を参照することができる。例えば、触媒として鉄微粒子を使用し、フタロシアニンを炭素源として気相合成により成長させることにより行うことができる。例えば、鉄微粒子の導電性ダイヤモンド基材への担持は、基材を硝酸鉄エタノール溶液に浸漬して鉄微粒子を付着し、これを水素雰囲気下で熱的還元(例えば580℃)することにより行うことができる。また、気相合成は、フタロシアニンを約900℃の温度で炭素原子に分解し、導電性ダイヤモンド基材上の鉄微粒子よりカーボンナノチューブとして成長させることにより行うことができる。
【0035】
本発明において導電性物質の担持量は、電力貯蔵体用途において必要とされる出力密度およびエネルギー密度に応じて適宜決定することができる。すなわち、出力密度よりもエネルギー密度を重視する場合には、導電性基材に対する導電性物質の担持量を多くして、導電性物質により多くの陽イオンを蓄積させることができる。一方、エネルギー密度よりも出力密度を重視する場合には、導電性基材に対する導電性物質の担持量を少なくして、導電性基材と電解液との接触を確保するための間隙をより多く確保して、導電性基材により多くの電荷を蓄積させることができる。
【0036】
電力貯蔵体および電力貯蔵方法
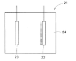
本発明の電力貯蔵方法に用いる電力貯蔵体は、負極として本発明の電極を用いること以外は、一般的なリチウムイオン二次電池の構成であることができる。すなわち、本発明による方法にあっては、負極としての本発明の電極と、正極としての対電極とを用意し、これら電極を電解液に浸漬し、導電性物質には電解液中の陽イオンのインターカレーションを生じるが、前記導電性基材には陽イオンのインターカレーションが生じない、負電圧を負極に印加する。このような電圧の選定は、負電極のサイクリックボルタモグラム測定の結果を考慮することにより行われるのが好ましい。この系を模式的に表せば図3の通りとなる。すなわち、本発明による電力貯蔵体21は、負極としての本発明の電極22と、正極としての対電極23と、負極および正極が浸漬される電解液24とを備えてなる。
【0037】
本発明に用いる電解液は、導電性物質にインターカレーション可能な陽イオンを含有する電解質を含んでなる。好ましい陽イオンはリチウムイオンであり、この場合の好ましい電解質の例としては、過塩素酸リチウム(LiClO4)、LiCF3SO3、LiPF6、LiAsF6等が挙げられる。本発明に用いる電解液の溶媒は、水性溶媒および非水性溶媒のいずれであってもよいが、非水性の有機溶媒を用いるのが好ましい。多孔処理された導電性ダイヤモンド基材を使用する場合、非水性溶媒は水性溶媒よりも広い電位窓を有するため、出力密度およびエネルギー密度ともに顕著に向上できる。非水性溶媒の例としては、テトラヒドロフラン、エチレンカーボネート、プロピレンカーボネート、オキソラン、ブチロラクトン、アセトニトリル等のニトリル系溶媒、およびジメチルホルムアミド等のアミド系溶媒が挙げられるが、プロピレンカーボネートが好ましい。
本発明の好ましい態様によれば、過塩素酸リチウムをプロピレンカーボネートに溶解させた液を電解液とするのが好ましい。
【0038】
本発明において対電極(正極)の好ましい例としては、コバルト/ニッケル酸化物、マンガン酸化物、遷移金属系酸化物、および遷移金属系硫化物が挙げられる。
【0039】
【実施例】
以下の実施例によって本発明をさらに詳細に説明するが、本発明はこれら実施例に限定されるものではない。
【0040】
例1:電極の作製
公知の方法に従い、導電性n型シリコン(111)面上に、ホウ素を高濃度(10,000ppm、B/C比)で導入したダイヤモンド薄膜を、マイクロ波プラズマCVD装置 (ASTeX Corp., Woburn, MA) を用いて形成した。得られたダイヤモンド薄膜の表面を表面研磨して、表面粗さを1nm以下にした。ダイヤモンド薄膜の表面を陽極酸化アルミナでマスキングし、酸素プラズマエッチングによりハニカム状に孔を形成した。陽極酸化アルミナは、電解研磨後のアルミニウム板を、0.5 M 燐酸中で 5 分、195 V 定電位に保持することにより作製された。酸素プラズマエッチングは、プラズマエッチング装置 (SAMCO, BP-1) を使用し、酸素圧力 20 Pa、出力 150 W で 30 分行った。
【0041】
得られたダイヤモンド薄膜を 24.8 mM Fe(NO3)3 (Wako Pure Chemical Industries, Ltd.) / エタノール溶液に一晩浸透させて、鉄微粒子を付着させた。このダイヤモンド薄膜を電気炉 (Ohkurariken Co., Ltd.)の下流に配置し、電気炉の上流に炭素源としてのフタロシアニン (Aldrich) を配置した。この電気炉において、水素雰囲気下 (Takachiho Co., Ltd., 99.99 %, 30 SCCM)、580 ℃で 3 時間加熱して、ダイヤモンド薄膜上の鉄イオンを熱的に鉄微粒子へ還元させた。その後、電気炉内にアルゴン (Takachiho Co., Ltd., 99.95 %, 21 SCCM) を加えた。電気炉およびその上流を900 ℃で 2 時間加熱することにより、鉄微粒子上にカ−ボンナノチューブを気相合成により成長させた。こうして、導電性ダイヤモンド薄膜上にカーボンナノチューブが担持された試料1を得た。
また、表面研磨および酸素プラズマエッチングを行わなかったこと以外は試料1と同様にして、試料2を得た。
さらに、比較のため、表面研磨、酸素プラズマエッチング、およびカーボンナノチューブの形成が行われていない、未処理のダイヤモンド薄膜を試料3として用意した。
また、比較のため、カーボンナノチューブの形成を行わなかったこと以外は試料1と同様にして、試料4を得た。
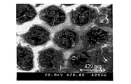
得られた試料1について走査型電子顕微鏡 (SEM, JEOL Model JSM-5400 LV) を使用して、表面を観察した。その結果は、図4に示される通りであった。
【0042】
例2:サイクリックボルタモグラムの測定
例1で得られた試料1〜3について、ポテンシオスタット (Hokuto Denko Research, model HZ-3000) を用いてサイクリックボルタモグラムを測定した。サイクリックボルタモグラムの測定は、以下の条件で行った。
電位走査速度:0.3 mV s-1
測定温度:室温
作用電極:試料1〜3(O リングをジョイントとして使用し、ガラスセルの底に固定した)
対電極:グラッシ−カ−ボン電極
参照電極:Ag/Ag+ (BAS Co., Ltd.)
非水電解液:1 M LiClO4/PC (Kishida Chemistry Co., Ltd.)
上記測定において使用したセル、フラスコ等のガラス容器は、Milli-Q 水 (Millipore)を用いて洗浄した後、乾燥機で一晩乾燥させてから使用した。
【0043】
得られた結果は、図5に示される通りであった。図5に示されるように、カーボンナノチューブが担持されていない試料3においては、−3.3〜−0.2V(対Ag/Ag+)の電位においてリチウムのインターカレーションによる還元電流が確認されなかった。これに対し、未加工のダイヤモンド電極にカーボンナノチューブが担持されてなる試料2では、リチウムのインターカレーションによる還元電流が確認された。さらに、ハニカム加工されたダイヤモンド電極にカーボンナノチューブが担持されてなる試料1では、リチウムのインターカレーションによる還元電流が試料2と比べて約2倍にまで増大されることが確認された。
【0044】
例3:出力密度およびエネルギー密度の測定
例1で得られた試料1〜4について、ポテンシオスタット (Hokuto Denko Research, model HZ-3000) を用いて定電流放電特性を測定した。この測定は、以下の条件で行った。
測定温度:室温
作用電極:試料1〜3(O リングをジョイントとして使用し、ガラスセルの底に固定した)
対電極:グラッシ−カ−ボン電極
参照電極:Ag/Ag+ (BAS Co., Ltd.)
非水電解液:1 M LiClO4/PC (Kishida Chemistry Co., Ltd.)
上記測定において使用したセル、フラスコ等のガラス容器は、Milli-Q 水 (Millipore)を用いて洗浄した後、乾燥機で一晩乾燥させてから使用した。
得られた放電特性の結果より、出力 P ave およびエネルギー密度 E を、それぞれ、P ave = average (V) * I および E = Σ ( V * I * Δ t ) を用いて算出した。
【0045】
得られた結果は、図6に示される通りであった。図6に示されるように、カーボンナノチューブが担持される試料1および2は、カーボンナノチューブが担持されていない試料3および4と比べて、著しくエネルギー密度および出力密度が高いことが確認された。また、ハニカム加工されたダイヤモンド電極にカーボンナノチューブが担持されてなる試料1では、未加工のダイヤモンド電極にカーボンナノチューブが担持されてなる試料2と比べて、2倍の出力増加、および4.9倍のエネルギー密度増加が確認された。
【0046】
例4:連続使用による耐久性試験
試料1を用いて、充電電流24μA、放電電流24μAで定電流充放電サイクルを行い、サイクル数に対する放電可能容量の推移を観察した。得られた結果は、図7に示される通りであった。図7において、横軸がサイクル数(1サイクル:約4時間、1日6サイクル可能)であり、縦軸が放電可能容量である。この結果から次のことが分かる。すなわち、放電開始後、約10サイクルまで放電可能容量は増加し、その後、約894mAhg-1と一定値を維持した。放電開始直後の容量の増加は、電極の電解液に対するなじみと考えられる。85サイクル(連続測定時2時間に相当)までの測定において、電極の劣化は観察されなかった。したがって、連続使用に対する耐久性に優れており、長期作動信頼性の高い電極が得られることが確認された。
【図面の簡単な説明】
【図1】本発明の電極の一例を示す断面図である。
【図2】本発明の電極の他の一例を示す断面図である。
【図3】本発明の電力貯蔵体の一例を示す断面図である。
【図4】例1において得られた試料1の表面の走査型電子顕微鏡(SEM)画像である。
【図5】例2において、試料1〜3について測定されたサイクリックボルタモグラムである。
【図6】例3において、試料1〜4について測定された出力密度およびエネルギー密度の関係を示す図である。
【図7】例4において、試料1について測定された、サイクル数と放電容量との関係である。
【発明の背景】
発明の分野
本発明は、二次電池および電気二重層キャパシタとしての機能を併せ持つ電力貯蔵体用の負電極、それを用いた電力貯蔵体および電力貯蔵方法に関する。
【0002】
背景技術
リチウムイオン二次電池は、リチウムイオンが正負両極間を移動して、両極においてリチウムイオンがインターカレーションおよび脱インターカレーションを生じることによって充放電が行われる二次電池である。このようなリチウムイオン二次電池は、高エネルギー密度、長寿命、高電圧等の利点を有している。リチウムイオン二次電池の負極材料としては、黒鉛、無定型炭素、金属酸化物、金属硫化物等が知られている。
【0003】
近年新素材として注目されるカーボンナノチューブ (CNT) は、チュ−ブ - チュ−ブ層間にリチウムイオン(Li+ )のインターカレーションが可能であることが報告されている。カーボンナノチューブ層間は 3.4Åとグラファイト層間 (3.35Å) に対し大きいが、カーボンナノチューブは閉じた層であり、Li+ は入りにくく、充放電のヒステリシスが大きくなると考えられてきた。しかし、近年、層間だけでなく、カーボンナノチューブ同士が作る空隙にもリチウムイオンのインターカレーションが進行することが報告され、グラファイトの理論容量 (372 mA h g-1) を上回る高容量が発現することが報告されている。
【0004】
特開平5−266890号公報には、カーボンナノチューブをゴム系の粘着剤で成形したものを負極として用いた、初期容量が向上されたリチウム二次電池が開示されている。
【0005】
電気二重層キャパシタは、従来の電池電源に代わって、大容量を有し、かつ優れた小型バックアップ電源として近年注目されている。電気二重層キャパシタでは充放電に伴って電解質イオンの溶液内移動と電極表面への脱吸着が起こるのみであり、この点で化学反応を伴う二次電池とは異なる。電気二重層キャパシタの負極材料としては、活性炭、ポリアセン等の多孔質炭素材料が用いられている。
【0006】
ところで、従来、活性炭、ポリアセン等の多孔質炭素材料を電気二重層キャパシタとして機能させる場合には、リチウムイオンを含まない電解液が使用されている。その一方、従来、これらの多孔質炭素材料をリチウムイオン二次電池用として使用する場合には、リチウムイオン含有電解液が使用されている。すなわち、従来の多孔質炭素材料では、リチウムイオン含有電解液という共通の電解液中で電気二重層キャパシタとしての機能と、リチウムイオン二次電池としての機能を同時に発現させることは困難であった。
【0007】
ダイヤモンドは本来抵抗率が1013Ωcm程度の絶縁材料であるが、微量不純物のドープにより導電性を獲得する。この導電性ダイヤモンドには、種々の用途が期待されている。その一つに電気化学用の電極としての利用がある。導電性とされたダイヤモンドを電気化学用の電極として見ると、広い電位窓を有し、かつバックグラウンド電流が極めて小さいという優れた特長を有する。さらに、物理的、化学的に安定であり、耐久性に優れるとの特長もまた有する。導電性ダイヤモンド(好ましくはその薄膜)を有する電極は、ダイヤモンド電極と一般的に呼ばれるに至っている。
【0008】
ダイヤモンド電極に関する先駆的研究はIwakiらによって行われた(Iwaki et al., Nuclear Instruments and Methods, 209-210, 1129(1983))。彼らは、アルゴンや窒素イオンを打ち込んで表面導電性を付与した単結晶ダイヤモンドの電気伝導材料としての性質を研究したものである。同時に、電解質溶液中におけるサイクリックボルタモグラムも示した。その後、ホットフィラメントを用いて気相合成した多結晶ダイヤモンド電極の特性が報告されている(Pleskov et al., J. Electroanal. Chem., 228, 19(1993))。
【0009】
本発明者らの一部は、気相合成したダイヤモンド電極を用いて、窒素酸化物の還元について先に報告した(Tenne et al., J. Electroanal. Chem., 347, 409(1993))。この研究では、ドーパントとしてホウ素を導入したp型半導体ダイヤモンドを電極として使用した。その後、ダイヤモンド電極としては、ホウ素をドーパントとするp型半導体またはより導電性の高い金属様導電性ダイヤモンドの利用が主流となるに至る。1990年代に入って、ダイヤモンド電極の研究が複数のグループにより行われ、1995年以降は、より大面積のダイヤモンド薄膜が得られるプラズマCVD(PCVD)装置を用いて得られたダイヤモンド電極の研究が、電気化学分野にも散見されるに至っている。
【0010】
【発明の概要】
本発明者らは、今般、ある種の電極が二次電池の負極としての機能のみならず、電気二重層キャパシタとしての機能も同一電解液中で同時に発現できるとの知見を得た。より具体的には、導電性ダイヤモンド基板上にカーボンナノチューブを成長させたものを負極として用いて二次電池系を構築することにより、二次電池の負極としての機能のみならず、電気二重層キャパシタとしての機能も同一電解液中で同時に発現できるとの知見を得た。また、カーボンナノチューブの担持量を変化させることにより、系の出力密度およびエネルギー密度をそれぞれ任意に設定できるとの知見も得た。本発明はこれらの知見に基づくものである。
従って、本発明は、二次電池および電気二重層キャパシタとしての機能を併せ持ち、出力密度およびエネルギー密度をそれぞれ任意に設定可能な電力貯蔵体用の負電極、それを用いた電力貯蔵体および電力貯蔵方法の提供をその目的としている。
【0011】
そして、本発明による電力貯蔵体用電極は、
導電性基材と、
該導電性基材の表面に担持されてなり、電解液中の陽イオンのインターカレーションが可能な間隙および前記導電性基材と前記電解液との接触を可能とする間隙を有する導電性物質とを備えてなり、
前記電解液中において、前記導電性物質に前記陽イオンのインターカレーションを生じる負電圧を該電極に印加した場合であっても、前記導電性基材には陽イオンのインターカレーションが生じることなく電荷が蓄積されるものである。
【0012】
また、本発明による電力貯蔵体は、
負極としての上記電極と、
正極としての対電極と
前記負極および正極が浸漬される電解液と
を備えてなる。
【0013】
さらに、本発明による電力貯蔵方法は、
負極としての上記電極と、正極としての対電極とを用意し、
該電極および対電極を電解液に浸漬し、
前記負電極に、前記導電性物質には電解液中の陽イオンのインターカレーションを生じるが、前記導電性基材には陽イオンのインターカレーションが生じない、負電圧を印加すること
を含んでなる。
【0014】
【発明の具体的説明】
電力貯蔵体用電極
図1に本発明の電極の一例を示す。本発明による電極1は、導電性基材2と、導電性物質3とを含んでなる。導電性基材2には、導線4が連結され、電気的に接続可能とされる。この導電性基材2の表面に導電性物質3が担持される。導電性物質3は、電解液中のリチウムイオン等の陽イオンのインターカレーションが可能な間隙を有しており、一定以上の負電圧を電極に印加することにより、陽イオンがインターカレーションにより間隙内に蓄積される。こうして、二次電池の負極として機能する。このとき、導電性基材2には陽イオンのインターカレーションが生じることはない。導電性基材2は、陽イオンがインターカレーション可能な間隙をもともと有しないか、もしくはそれを有しているとしても上記印加電圧下ではインターカレーションが起こらない。導電性物質3は、導電性基材2と電解液との接触を可能とする間隙を有するように導電性基材2上に担持されている。従って、導電性基材2の表面には電解液中の電解質イオンが移動して配列し、いわゆる電気二重層を形成し、その結果、電気二重層キャパシタとしての機能も有する。
【0015】
このように、本発明の電力貯蔵体用の負電極は、二次電池および電気二重層キャパシタとしてその機能を発現する。導電性基材による電気二重層キャパシタとしての機能は、電力貯蔵体の出力密度の向上に特に寄与するものと考えられる。また、導電性物質による二次電池としての機能は、電力貯蔵体のエネルギー密度の向上に特に寄与するものと考えられる。したがって、導電性基材に対する導電性物質の担持量を変化させることにより、用途に応じて、電力貯蔵体の出力密度およびエネルギー密度を自在に設定することができる。すなわち、出力密度よりもエネルギー密度を重視する場合には、導電性基材に対する導電性物質の担持量を多くして、導電性物質により多くの陽イオンを蓄積させることができる。一方、エネルギー密度よりも出力密度を重視する場合には、導電性基材に対する導電性物質の担持量を少なくして、導電性基材と電解液との接触を確保するための間隙をより多く確保して、導電性基材により多くの電荷を蓄積させることができる。
【0016】
導電性基材
本発明において導電性基材は、導電性を有し、かつ導電性物質にリチウムイオン等の陽イオンのインターカレーションを生じる負電圧を該電極に印加した場合であっても陽イオンのインターカレーションが生じないものが使用可能である。導電性基材の好ましい例としては、導電性ダイヤモンド、グラッシーカーボン、導電性ダイヤモンドライクカーボン、および導電性アモルファスカーボンが挙げられる。
【0017】
本発明の好ましい態様によれば、導電性基材として導電性ダイヤモンドを用いる。ダイヤモンドは本来優れた絶縁体である。しかしながら、3族や5族の不純物を添加することによって、半導体〜金属様の導電性を示すようになる。本発明にあっては、半導体〜金属様の導電性を示すダイヤモンドを電極として使用する。導電性ダイヤモンドは、他の炭素および金属電極に対して広い電位窓を有し、小さい残余電流密度を示す材料であり、リチウムイオンのインターカレーションが進行しないという利点がある。
【0018】
本発明においてダイヤモンド電極は、特開2001−21521号公報に記載のものを利用することができる。その内容を説明すれば以下の通りです。
【0019】
ダイヤモンドに導電性を付与するために添加される物質としては、上記の通り3族および5族の元素が挙げられ、さらに好ましくはホウ素、窒素、リンが挙げられ、最も好ましくはホウ素または窒素である。この導電性を付与するために添加される物質の添加量は、ダイヤモンドに導電性を付与できる範囲で適宜決定されてよいが、例えば1×10−2〜10−6Ωcm程度の導電性を与える量添加されることが好ましい。この導電性を付与するために添加される物質の添加量は、導電性ダイヤモンドの製造工程における添加量により制御されることが一般的である。
【0020】
本発明の好ましい態様によれば、支持体上に導線性ダイヤモンドの薄膜を形成し、さらにこの導電性ダイヤモンド薄膜に、導線を接続させ、導電性基材とすることが好ましい。支持体としては、Si(例えば、単結晶シリコン)、Mo、W、Nb、Ti、Fe、Au、Ni、Co、Al2O3、SiC、Si3N4、ZrO2、MgO、黒鉛、単結晶ダイヤモンド、cBN、石英ガラス等が挙げられ、特に単結晶シリコン、Mo、W、Nb、Ti、SiC、単結晶ダイヤモンドの利用が好ましい。
【0021】
導電性ダイヤモンド薄膜の厚さは、特に限定されないが、1〜100μm程度の厚さが好ましく、より好ましくは5〜50μm程度である。
【0022】
本発明の好ましい態様によれば、導電性ダイヤモンド薄膜は、化学気相成長法により好ましく製造される。化学気相成長法とは、気相中で気体原料を化学反応させて物質を合成する方法であり、CVD(Chemical Vapor Deposition )法と一般に呼ばれる。この方法は、半導体製造プロセスにおいて広く利用されており、本発明における導電性ダイヤモンド薄膜の製造にも合目的的な改変のもと利用可能である。
【0023】
ダイヤモンドの化学気相合成は、メタンなどの含炭素気体と水素を混合したものを原料気体として、それを励起源により励起させ、支持体上に供給して堆積させることにより行われる。
【0024】
励起源としては、熱フィラメント、マイクロ波、高周波、直流グロー放電、直流アーク放電、燃焼炎などが挙げられる。また、これらを複数組み合わせて核生成密度を調整したり、大面積化や均一化を図ることも可能である。
【0025】
原料としては、炭素の含まれている多くの種類の、励起源により分解、励起されて、C、C2などの活性な炭素、およびCH、CH2、CH3、C2H2などの炭化水素ラジカルを生じさせる化合物を利用可能である。好ましい具体例としては、気体としてCH4、C2H2、C2H4、C10H16、CO、CF4、液体としてCH3OH、C2H5OH、(CH3)2CO、固体として黒鉛、フラーレンなどが挙げられる。
【0026】
気相合成法にあって、ダイヤモンドに導電性を付与する物質の添加は、例えば添加物質のディスクを系内に置き、炭素源原料と同様に励起させ、炭素気相に添加物質を導入する方法、炭素源に予め添加物質を添加し、系内に炭素源と共に導入し、励起源により励起し、炭素気相に添加物質を導入する方法等により行うことが出来る。本発明の好ましい態様によれば、後者の方法が好ましい。とりわけ、炭素源としてアセトン、メタノールなどの液体を用いる場合、これに酸化ボロン(B2O3)を溶解してボロン源とする方法が、ボロンの濃度の制御が容易で、かつ簡便であることから好ましい。例えば、気相合成法にあって、炭素源にホウ素を添加する場合、10〜12,000ppm程度が一般的であり、また1,000〜10,000ppm程度が好ましい。
【0027】
本発明の好ましい態様によれば、導電性ダイヤモンド薄膜の製造はプラズマ化学気相合成法により行われることが好ましい。このプラズマ化学気相合成法は、化学反応を引き起こす活性化エネルギーが大きく、反応が速いとの利点を有する。さらに、この方法によれば、熱力学的に高温でなければ存在しない化学種を生成して、低い温度での反応が可能となる。プラズマ化学気相合成法による導電性ダイヤモンド薄膜の製造は、本発明者らの一部を含めいくつかの報告が既にあり(例えば、Yano et al., J. Electrochem. Soc., 145(1998) 1870)、これら報告に記載の方法に従って行うことが好ましい。
【0028】
本発明の好ましい態様によれば、導電性基材が少なくともその表面において多孔質であるのが好ましい。基材表面が多孔質であると、その比表面積が大きくなる。したがって、より多くの電荷を集めることができ、その結果、電気二重層容量が増大して、放電可能時間が長くなる。また、限界放電可能電流が増加して、限界出力が増加されるものと考えられる。
【0029】
本発明の好ましい態様によれば、基材表面の多孔質化が、陽極酸化アルミナをマスクとして用いたプラズマエッチング処理により、マスクと同一配列の細孔を形成することにより行われるのが好ましい。この方法によれば、細孔がハニカム状に規則的に形成された導電性基材を得ることが可能である。このような処理方法は、例えば特開2000−1393号に開示される方法に基づいて行うことができる。
この態様の電極を図2に示す。図2は、この態様の電極11の断面図である。図2に示されるように、電極11は、ハニカム状に細孔が規則的に形成された導電性基材12の上に導電性物質13が担持されてなる。導電性物質13は、細孔の内外を問わず形成されているが、細孔内にのみ導電性物質13を担持させることもできる。導電性基材12には、導線14がコーティングを介して連結され、電気的に接続可能とされる。
【0030】
また、本発明の別の好ましい態様によれば、多孔質の支持体上に導電性ダイヤモンド等を被覆して、多孔質表面の導電性基材とすることもできる。この場合の多孔質支持体の好ましい例としては、タングステンメッシュ、モリブデンメッシュ、表面に細孔を施されたシリコン基板等が挙げられる。
【0031】
本発明の好ましい態様によれば、多孔質の基材表面における細孔径は、1nm〜1000nmが好ましく、より好ましくは400〜500nmであり、さらに好ましくは800〜1000nmである。好ましい孔の深さは、1〜5μmであり、より好ましくは1〜2μmである。好ましい孔の間隔は、1.2nm〜1200nmであり、より好ましくは100nm〜500nmである。
【0032】
導電性物質
本発明における導電性物質は、導電性を有し、かつ電解液中のリチウムイオン等の陽イオンのインターカレーションが可能な間隙および前記導電性基材と前記電解液との接触を確保するための間隙を有するものが使用可能である。導電性物質の好ましい例としては、カーボンナノチューブ、グラファイト、活性炭、カーボンファイバー、メソカーボンマイクロビーズ等が挙げられる。
【0033】
本発明の好ましい態様によれば、この導電性物質としてカーボンナノチューブを用いる。カーボンナノチューブは、炭素原子の六角網面のシートの継ぎ目のない同軸円筒であり、その直径が1〜50nmとナノメートルオーダーのものである。カーボンナノチューブは、一定の負電圧でリチウムイオンのインターカレーションが生じる。このインターカレーションは、カーボンナノチューブ層間のみならず、カーボンナノチューブ同士が作る空隙においても生じると考えられる。したがって、このカーボンナノチューブによれば、黒鉛層間の理論容量 (C6Li;372 mA h g-1) をはるかに上回る高容量を実現することができる。また、カーボンナノチューブは円筒状構造であるため、導電性基材上にある程度の量担持させても導電性基材表面には電解液との接触を確保するための間隙を十分に持たせることができる。したがって、導電性基材の電気二重層キャパシタ機能を確保しながら、カーボンナノチューブによる二次電池機能を発現させることができる。
【0034】
導電性基材上へのカーボンナノチューブの担持は、公知の方法に従って行うことができ、G. Che, B. B. Lakshmi, C. R. Martin, and E. R. Fisher, Chem. Mater., 10 (1998) 260、およびS. Huang, L. Dai, and A. W. H. Mau, J. Phys. Chem. B, 103 (1999) 4223等を参照することができる。例えば、触媒として鉄微粒子を使用し、フタロシアニンを炭素源として気相合成により成長させることにより行うことができる。例えば、鉄微粒子の導電性ダイヤモンド基材への担持は、基材を硝酸鉄エタノール溶液に浸漬して鉄微粒子を付着し、これを水素雰囲気下で熱的還元(例えば580℃)することにより行うことができる。また、気相合成は、フタロシアニンを約900℃の温度で炭素原子に分解し、導電性ダイヤモンド基材上の鉄微粒子よりカーボンナノチューブとして成長させることにより行うことができる。
【0035】
本発明において導電性物質の担持量は、電力貯蔵体用途において必要とされる出力密度およびエネルギー密度に応じて適宜決定することができる。すなわち、出力密度よりもエネルギー密度を重視する場合には、導電性基材に対する導電性物質の担持量を多くして、導電性物質により多くの陽イオンを蓄積させることができる。一方、エネルギー密度よりも出力密度を重視する場合には、導電性基材に対する導電性物質の担持量を少なくして、導電性基材と電解液との接触を確保するための間隙をより多く確保して、導電性基材により多くの電荷を蓄積させることができる。
【0036】
電力貯蔵体および電力貯蔵方法
本発明の電力貯蔵方法に用いる電力貯蔵体は、負極として本発明の電極を用いること以外は、一般的なリチウムイオン二次電池の構成であることができる。すなわち、本発明による方法にあっては、負極としての本発明の電極と、正極としての対電極とを用意し、これら電極を電解液に浸漬し、導電性物質には電解液中の陽イオンのインターカレーションを生じるが、前記導電性基材には陽イオンのインターカレーションが生じない、負電圧を負極に印加する。このような電圧の選定は、負電極のサイクリックボルタモグラム測定の結果を考慮することにより行われるのが好ましい。この系を模式的に表せば図3の通りとなる。すなわち、本発明による電力貯蔵体21は、負極としての本発明の電極22と、正極としての対電極23と、負極および正極が浸漬される電解液24とを備えてなる。
【0037】
本発明に用いる電解液は、導電性物質にインターカレーション可能な陽イオンを含有する電解質を含んでなる。好ましい陽イオンはリチウムイオンであり、この場合の好ましい電解質の例としては、過塩素酸リチウム(LiClO4)、LiCF3SO3、LiPF6、LiAsF6等が挙げられる。本発明に用いる電解液の溶媒は、水性溶媒および非水性溶媒のいずれであってもよいが、非水性の有機溶媒を用いるのが好ましい。多孔処理された導電性ダイヤモンド基材を使用する場合、非水性溶媒は水性溶媒よりも広い電位窓を有するため、出力密度およびエネルギー密度ともに顕著に向上できる。非水性溶媒の例としては、テトラヒドロフラン、エチレンカーボネート、プロピレンカーボネート、オキソラン、ブチロラクトン、アセトニトリル等のニトリル系溶媒、およびジメチルホルムアミド等のアミド系溶媒が挙げられるが、プロピレンカーボネートが好ましい。
本発明の好ましい態様によれば、過塩素酸リチウムをプロピレンカーボネートに溶解させた液を電解液とするのが好ましい。
【0038】
本発明において対電極(正極)の好ましい例としては、コバルト/ニッケル酸化物、マンガン酸化物、遷移金属系酸化物、および遷移金属系硫化物が挙げられる。
【0039】
【実施例】
以下の実施例によって本発明をさらに詳細に説明するが、本発明はこれら実施例に限定されるものではない。
【0040】
例1:電極の作製
公知の方法に従い、導電性n型シリコン(111)面上に、ホウ素を高濃度(10,000ppm、B/C比)で導入したダイヤモンド薄膜を、マイクロ波プラズマCVD装置 (ASTeX Corp., Woburn, MA) を用いて形成した。得られたダイヤモンド薄膜の表面を表面研磨して、表面粗さを1nm以下にした。ダイヤモンド薄膜の表面を陽極酸化アルミナでマスキングし、酸素プラズマエッチングによりハニカム状に孔を形成した。陽極酸化アルミナは、電解研磨後のアルミニウム板を、0.5 M 燐酸中で 5 分、195 V 定電位に保持することにより作製された。酸素プラズマエッチングは、プラズマエッチング装置 (SAMCO, BP-1) を使用し、酸素圧力 20 Pa、出力 150 W で 30 分行った。
【0041】
得られたダイヤモンド薄膜を 24.8 mM Fe(NO3)3 (Wako Pure Chemical Industries, Ltd.) / エタノール溶液に一晩浸透させて、鉄微粒子を付着させた。このダイヤモンド薄膜を電気炉 (Ohkurariken Co., Ltd.)の下流に配置し、電気炉の上流に炭素源としてのフタロシアニン (Aldrich) を配置した。この電気炉において、水素雰囲気下 (Takachiho Co., Ltd., 99.99 %, 30 SCCM)、580 ℃で 3 時間加熱して、ダイヤモンド薄膜上の鉄イオンを熱的に鉄微粒子へ還元させた。その後、電気炉内にアルゴン (Takachiho Co., Ltd., 99.95 %, 21 SCCM) を加えた。電気炉およびその上流を900 ℃で 2 時間加熱することにより、鉄微粒子上にカ−ボンナノチューブを気相合成により成長させた。こうして、導電性ダイヤモンド薄膜上にカーボンナノチューブが担持された試料1を得た。
また、表面研磨および酸素プラズマエッチングを行わなかったこと以外は試料1と同様にして、試料2を得た。
さらに、比較のため、表面研磨、酸素プラズマエッチング、およびカーボンナノチューブの形成が行われていない、未処理のダイヤモンド薄膜を試料3として用意した。
また、比較のため、カーボンナノチューブの形成を行わなかったこと以外は試料1と同様にして、試料4を得た。
得られた試料1について走査型電子顕微鏡 (SEM, JEOL Model JSM-5400 LV) を使用して、表面を観察した。その結果は、図4に示される通りであった。
【0042】
例2:サイクリックボルタモグラムの測定
例1で得られた試料1〜3について、ポテンシオスタット (Hokuto Denko Research, model HZ-3000) を用いてサイクリックボルタモグラムを測定した。サイクリックボルタモグラムの測定は、以下の条件で行った。
電位走査速度:0.3 mV s-1
測定温度:室温
作用電極:試料1〜3(O リングをジョイントとして使用し、ガラスセルの底に固定した)
対電極:グラッシ−カ−ボン電極
参照電極:Ag/Ag+ (BAS Co., Ltd.)
非水電解液:1 M LiClO4/PC (Kishida Chemistry Co., Ltd.)
上記測定において使用したセル、フラスコ等のガラス容器は、Milli-Q 水 (Millipore)を用いて洗浄した後、乾燥機で一晩乾燥させてから使用した。
【0043】
得られた結果は、図5に示される通りであった。図5に示されるように、カーボンナノチューブが担持されていない試料3においては、−3.3〜−0.2V(対Ag/Ag+)の電位においてリチウムのインターカレーションによる還元電流が確認されなかった。これに対し、未加工のダイヤモンド電極にカーボンナノチューブが担持されてなる試料2では、リチウムのインターカレーションによる還元電流が確認された。さらに、ハニカム加工されたダイヤモンド電極にカーボンナノチューブが担持されてなる試料1では、リチウムのインターカレーションによる還元電流が試料2と比べて約2倍にまで増大されることが確認された。
【0044】
例3:出力密度およびエネルギー密度の測定
例1で得られた試料1〜4について、ポテンシオスタット (Hokuto Denko Research, model HZ-3000) を用いて定電流放電特性を測定した。この測定は、以下の条件で行った。
測定温度:室温
作用電極:試料1〜3(O リングをジョイントとして使用し、ガラスセルの底に固定した)
対電極:グラッシ−カ−ボン電極
参照電極:Ag/Ag+ (BAS Co., Ltd.)
非水電解液:1 M LiClO4/PC (Kishida Chemistry Co., Ltd.)
上記測定において使用したセル、フラスコ等のガラス容器は、Milli-Q 水 (Millipore)を用いて洗浄した後、乾燥機で一晩乾燥させてから使用した。
得られた放電特性の結果より、出力 P ave およびエネルギー密度 E を、それぞれ、P ave = average (V) * I および E = Σ ( V * I * Δ t ) を用いて算出した。
【0045】
得られた結果は、図6に示される通りであった。図6に示されるように、カーボンナノチューブが担持される試料1および2は、カーボンナノチューブが担持されていない試料3および4と比べて、著しくエネルギー密度および出力密度が高いことが確認された。また、ハニカム加工されたダイヤモンド電極にカーボンナノチューブが担持されてなる試料1では、未加工のダイヤモンド電極にカーボンナノチューブが担持されてなる試料2と比べて、2倍の出力増加、および4.9倍のエネルギー密度増加が確認された。
【0046】
例4:連続使用による耐久性試験
試料1を用いて、充電電流24μA、放電電流24μAで定電流充放電サイクルを行い、サイクル数に対する放電可能容量の推移を観察した。得られた結果は、図7に示される通りであった。図7において、横軸がサイクル数(1サイクル:約4時間、1日6サイクル可能)であり、縦軸が放電可能容量である。この結果から次のことが分かる。すなわち、放電開始後、約10サイクルまで放電可能容量は増加し、その後、約894mAhg-1と一定値を維持した。放電開始直後の容量の増加は、電極の電解液に対するなじみと考えられる。85サイクル(連続測定時2時間に相当)までの測定において、電極の劣化は観察されなかった。したがって、連続使用に対する耐久性に優れており、長期作動信頼性の高い電極が得られることが確認された。
【図面の簡単な説明】
【図1】本発明の電極の一例を示す断面図である。
【図2】本発明の電極の他の一例を示す断面図である。
【図3】本発明の電力貯蔵体の一例を示す断面図である。
【図4】例1において得られた試料1の表面の走査型電子顕微鏡(SEM)画像である。
【図5】例2において、試料1〜3について測定されたサイクリックボルタモグラムである。
【図6】例3において、試料1〜4について測定された出力密度およびエネルギー密度の関係を示す図である。
【図7】例4において、試料1について測定された、サイクル数と放電容量との関係である。
Claims (17)
- 電力貯蔵体用電極であって、
導電性基材と、
該導電性基材の表面に担持されてなり、電解液中の陽イオンのインターカレーションが可能な間隙および前記導電性基材と前記電解液との接触を可能とする間隙を有する導電性物質とを備えてなり、
前記電解液中において、前記導電性物質に前記陽イオンのインターカレーションを生じる負電圧を該電極に印加した場合であっても、前記導電性基材には陽イオンのインターカレーションが生じることなく電荷が蓄積される、電極。 - 前記導電性基材が、導電性ダイヤモンド、グラッシーカーボン、導電性ダイヤモンドライクカーボン、および導電性アモルファスカーボンからなる群から選択される、請求項1に記載の電極。
- 前記導電性基材が導電性ダイヤモンドである、請求項1に記載の電極。
- 前記導電性物質が、カーボンナノチューブ、グラファイト、活性炭、カーボンファイバー、およびメソカーボンマイクロビーズからなる群から選択される、請求項1〜3のいずれか一項に記載の電極。
- 前記導電性物質がカーボンナノチューブである、請求項1〜3のいずれか一項に記載の電極。
- 前記電解液中の陽イオンがリチウムイオンである、請求項1〜5のいずれか一項に記載の電極。
- 前記導電性基材が導電性ダイヤモンドであり、前記導電性物質がカーボンナノチューブであり、前記電解液中の陽イオンがリチウムイオンである、請求項1に記載の電極。
- 前記導電性基材が多孔質表面を有するものである、請求項1〜7のいずれか一項に記載の電極。
- 前記多孔質表面の少なくともその孔内に前記導電性物質が担持されてなる、請求項8に記載の電極。
- 負極としての請求項1〜9のいずれか一項に記載の電極と、
正極としての対電極と
前記負極および正極が浸漬される電解液と
を備えてなる電力貯蔵体。 - 前記電解液が、LiClO4、LiCF3SO3、LiPF6、およびLiAsF6からなる群から選択される一種以上の電解質を非水性溶媒に溶解させた液である、請求項10に記載の電力貯蔵体
- 前記非水性溶媒が、テトラヒドロフラン、エチレンカーボネート、プロピレンカーボネート、オキソラン、ブチロラクトン、ニトリル系溶媒およびアミド系溶媒からなる群から選択される一種以上である、請求項11に記載の電力貯蔵体。
- 前記電解液が、過塩素酸リチウムのプロピレンカーボネート溶液である、請求項10に記載の電力貯蔵体。
- 負極としての請求項1〜9のいずれか一項に記載の電極と、正極としての対電極とを用意し、
該電極および対電極を電解液に浸漬し、
前記負電極に、前記導電性物質には電解液中の陽イオンのインターカレーションを生じるが、前記導電性基材には陽イオンのインターカレーションが生じない、負電圧を印加すること
を含んでなる、電力貯蔵方法。 - その表面にカーボンナノチューブが担持された、導電性ダイヤモンド。
- 前記導電性ダイヤモンドが多孔質表面を有するものである、請求項15に記載の導電性ダイヤモンド。
- 前記多孔質表面の少なくともその孔内に前記カーボンナノチューブが担持されてなる、請求項15または16に記載の導電性ダイヤモンド。
Priority Applications (3)
| Application Number | Priority Date | Filing Date | Title |
|---|---|---|---|
| JP2002063747A JP2005293850A (ja) | 2002-03-08 | 2002-03-08 | 電力貯蔵体用電極、電力貯蔵体、および電力貯蔵方法 |
| AU2003211869A AU2003211869A1 (en) | 2002-03-08 | 2003-03-10 | Power storing element-use electrode, power storing element, power storing method |
| PCT/JP2003/002776 WO2003077333A1 (en) | 2002-03-08 | 2003-03-10 | Power storing element-use electrode, power storing element, power storing method |
Applications Claiming Priority (1)
| Application Number | Priority Date | Filing Date | Title |
|---|---|---|---|
| JP2002063747A JP2005293850A (ja) | 2002-03-08 | 2002-03-08 | 電力貯蔵体用電極、電力貯蔵体、および電力貯蔵方法 |
Publications (1)
| Publication Number | Publication Date |
|---|---|
| JP2005293850A true JP2005293850A (ja) | 2005-10-20 |
Family
ID=27800203
Family Applications (1)
| Application Number | Title | Priority Date | Filing Date |
|---|---|---|---|
| JP2002063747A Withdrawn JP2005293850A (ja) | 2002-03-08 | 2002-03-08 | 電力貯蔵体用電極、電力貯蔵体、および電力貯蔵方法 |
Country Status (3)
| Country | Link |
|---|---|
| JP (1) | JP2005293850A (ja) |
| AU (1) | AU2003211869A1 (ja) |
| WO (1) | WO2003077333A1 (ja) |
Cited By (5)
| Publication number | Priority date | Publication date | Assignee | Title |
|---|---|---|---|---|
| JP2007019180A (ja) * | 2005-07-06 | 2007-01-25 | Chubu Electric Power Co Inc | 電気二重層キャパシタ及びその製造方法 |
| EP1947220A4 (en) * | 2005-10-19 | 2009-08-12 | Tokai Ryokaku Tetsudo Kk | METHOD FOR PRODUCING DIAMOND WITH A NEEDLE PROJECTION ARRAY STRUCTURE, DIAMOND MATERIAL, ELECTRODE AND ELECTRONIC COMPONENT ARRANGED ON ITS SURFACE |
| CN102656733A (zh) * | 2009-12-23 | 2012-09-05 | 罗伯特·博世有限公司 | 具有改善的阴极结构的锂电池单元及其制造方法 |
| WO2012153613A1 (ja) * | 2011-05-11 | 2012-11-15 | ソニー株式会社 | 二次電池、二次電池の製造方法、二次電池用正極、二次電池用正極の製造方法、電池パック、電子機器、電動車両、電力システムおよび電力貯蔵用電源 |
| JP2014041835A (ja) * | 2008-11-10 | 2014-03-06 | Equos Research Co Ltd | 二次電池及びその製造方法 |
Families Citing this family (27)
| Publication number | Priority date | Publication date | Assignee | Title |
|---|---|---|---|---|
| US7923151B2 (en) | 2003-09-18 | 2011-04-12 | Commonwealth Scientific And Industrial Research Organisation | High performance energy storage devices |
| AR064292A1 (es) | 2006-12-12 | 2009-03-25 | Commw Scient Ind Res Org | Dispositivo mejorado para almacenamiento de energia |
| AR067238A1 (es) | 2007-03-20 | 2009-10-07 | Commw Scient Ind Res Org | Dispositivos optimizados para el almacenamiento de energia |
| JP5680528B2 (ja) | 2009-04-23 | 2015-03-04 | 古河電池株式会社 | 鉛蓄電池用負極板の製造法及び鉛蓄電池 |
| MX2012002415A (es) | 2009-08-27 | 2012-06-25 | Commw Scient Ind Res Org | Dispositivo de almacenamiento electrico y electrodo del mismo. |
| JP5711483B2 (ja) | 2009-08-27 | 2015-04-30 | 古河電池株式会社 | 鉛蓄電池用複合キャパシタ負極板の製造法及び鉛蓄電池 |
| JP5797384B2 (ja) | 2009-08-27 | 2015-10-21 | 古河電池株式会社 | 鉛蓄電池用複合キャパシタ負極板及び鉛蓄電池 |
| JP2012133959A (ja) | 2010-12-21 | 2012-07-12 | Furukawa Battery Co Ltd:The | 鉛蓄電池用複合キャパシタ負極板及び鉛蓄電池 |
| WO2016089700A1 (en) | 2014-12-03 | 2016-06-09 | Coulombic, Inc. | Electrodes and electrochemical devices and methods of making electrodes and electrochemical devices |
| US10987735B2 (en) | 2015-12-16 | 2021-04-27 | 6K Inc. | Spheroidal titanium metallic powders with custom microstructures |
| EP4324577A1 (en) | 2015-12-16 | 2024-02-21 | 6K Inc. | Method of producing spheroidal dehydrogenated titanium alloy particles |
| AU2019290663B2 (en) | 2018-06-19 | 2023-05-04 | 6K Inc. | Process for producing spheroidized powder from feedstock materials |
| SG11202111576QA (en) | 2019-04-30 | 2021-11-29 | 6K Inc | Mechanically alloyed powder feedstock |
| CN110112013B (zh) * | 2019-05-28 | 2021-04-16 | 北京工业大学 | 一种碳微纳球结构及超级电容器的制备方法 |
| CN112349962B (zh) * | 2019-08-08 | 2021-11-09 | 宁德时代新能源科技股份有限公司 | 锂离子电池 |
| AU2020400980A1 (en) | 2019-11-18 | 2022-03-31 | 6K Inc. | Unique feedstocks for spherical powders and methods of manufacturing |
| US11590568B2 (en) | 2019-12-19 | 2023-02-28 | 6K Inc. | Process for producing spheroidized powder from feedstock materials |
| EP4173060A1 (en) | 2020-06-25 | 2023-05-03 | 6K Inc. | Microcomposite alloy structure |
| EP4165957A4 (en) | 2020-09-24 | 2024-07-24 | 6K Inc. | SYSTEMS, DEVICES AND METHODS FOR STARTING PLASMA |
| WO2022094528A1 (en) | 2020-10-30 | 2022-05-05 | 6K Inc. | Systems and methods for synthesis of spheroidized metal powders |
| KR20230129011A9 (ko) | 2021-01-11 | 2024-03-21 | 6케이 인크. | 마이크로파 플라즈마 공정을 사용하여 Li-이온 캐소드 재료를 재활용하는 방법 및 시스템 |
| US12042861B2 (en) | 2021-03-31 | 2024-07-23 | 6K Inc. | Systems and methods for additive manufacturing of metal nitride ceramics |
| US12221685B2 (en) | 2022-03-16 | 2025-02-11 | Coulombic, Inc. | Diamond-like carbon materials and methods of making diamond-like carbon materials |
| US12261023B2 (en) | 2022-05-23 | 2025-03-25 | 6K Inc. | Microwave plasma apparatus and methods for processing materials using an interior liner |
| US12040162B2 (en) | 2022-06-09 | 2024-07-16 | 6K Inc. | Plasma apparatus and methods for processing feed material utilizing an upstream swirl module and composite gas flows |
| WO2024044498A1 (en) | 2022-08-25 | 2024-02-29 | 6K Inc. | Plasma apparatus and methods for processing feed material utilizing a powder ingress preventor (pip) |
| US12195338B2 (en) | 2022-12-15 | 2025-01-14 | 6K Inc. | Systems, methods, and device for pyrolysis of methane in a microwave plasma for hydrogen and structured carbon powder production |
Family Cites Families (9)
| Publication number | Priority date | Publication date | Assignee | Title |
|---|---|---|---|---|
| JPH08310897A (ja) * | 1995-05-16 | 1996-11-26 | Sumitomo Electric Ind Ltd | フラ−レン単結晶ウエハ及びその製造方法 |
| JP3372751B2 (ja) * | 1996-03-29 | 2003-02-04 | キヤノン株式会社 | 電界電子放出素子およびその作製方法 |
| JP3441923B2 (ja) * | 1997-06-18 | 2003-09-02 | キヤノン株式会社 | カーボンナノチューブの製法 |
| JP3902883B2 (ja) * | 1998-03-27 | 2007-04-11 | キヤノン株式会社 | ナノ構造体及びその製造方法 |
| US6252762B1 (en) * | 1999-04-21 | 2001-06-26 | Telcordia Technologies, Inc. | Rechargeable hybrid battery/supercapacitor system |
| JP4430778B2 (ja) * | 2000-03-17 | 2010-03-10 | 一男 堀切川 | リチウムイオン二次電池とその製造方法 |
| JP2003077466A (ja) * | 2001-08-31 | 2003-03-14 | Mitsubishi Heavy Ind Ltd | 非水系電気エネルギー貯蔵体及びその電極活物質製造方法 |
| JP3628290B2 (ja) * | 2001-10-05 | 2005-03-09 | 独立行政法人科学技術振興機構 | 炭化水素の分解による接触的カーボンナノファイバーの製造方法及びその触媒 |
| JP3579689B2 (ja) * | 2001-11-12 | 2004-10-20 | 独立行政法人 科学技術振興機構 | 吸熱性反応を利用した機能性ナノ材料の製造方法 |
-
2002
- 2002-03-08 JP JP2002063747A patent/JP2005293850A/ja not_active Withdrawn
-
2003
- 2003-03-10 AU AU2003211869A patent/AU2003211869A1/en not_active Abandoned
- 2003-03-10 WO PCT/JP2003/002776 patent/WO2003077333A1/ja not_active Ceased
Cited By (8)
| Publication number | Priority date | Publication date | Assignee | Title |
|---|---|---|---|---|
| JP2007019180A (ja) * | 2005-07-06 | 2007-01-25 | Chubu Electric Power Co Inc | 電気二重層キャパシタ及びその製造方法 |
| EP1947220A4 (en) * | 2005-10-19 | 2009-08-12 | Tokai Ryokaku Tetsudo Kk | METHOD FOR PRODUCING DIAMOND WITH A NEEDLE PROJECTION ARRAY STRUCTURE, DIAMOND MATERIAL, ELECTRODE AND ELECTRONIC COMPONENT ARRANGED ON ITS SURFACE |
| JP2014041835A (ja) * | 2008-11-10 | 2014-03-06 | Equos Research Co Ltd | 二次電池及びその製造方法 |
| CN102656733A (zh) * | 2009-12-23 | 2012-09-05 | 罗伯特·博世有限公司 | 具有改善的阴极结构的锂电池单元及其制造方法 |
| JP2013515336A (ja) * | 2009-12-23 | 2013-05-02 | ローベルト ボツシユ ゲゼルシヤフト ミツト ベシユレンクテル ハフツング | カソード構造が改善されたリチウム電池及びリチウム電池の製造方法 |
| CN102656733B (zh) * | 2009-12-23 | 2016-02-24 | 罗伯特·博世有限公司 | 具有改善的阴极结构的锂电池单元及其制造方法 |
| US9276255B2 (en) | 2009-12-23 | 2016-03-01 | Robert Bosch Gmbh | Lithium cell having an improved cathode structure and production method for it |
| WO2012153613A1 (ja) * | 2011-05-11 | 2012-11-15 | ソニー株式会社 | 二次電池、二次電池の製造方法、二次電池用正極、二次電池用正極の製造方法、電池パック、電子機器、電動車両、電力システムおよび電力貯蔵用電源 |
Also Published As
| Publication number | Publication date |
|---|---|
| AU2003211869A1 (en) | 2003-09-22 |
| WO2003077333A1 (en) | 2003-09-18 |
Similar Documents
| Publication | Publication Date | Title |
|---|---|---|
| JP2005293850A (ja) | 電力貯蔵体用電極、電力貯蔵体、および電力貯蔵方法 | |
| KR102617731B1 (ko) | 실리콘 함유 복합체, 그 제조방법, 이를 이용한 탄소 복합체, 이를 포함한 전극, 리튬 전지 및 전자소자 | |
| Liu et al. | Hierarchical NiS/N-doped carbon composite hollow spheres with excellent supercapacitor performance | |
| Zhu et al. | Hexagonal prism-like hierarchical Co 9 S 8@ Ni (OH) 2 core–shell nanotubes on carbon fibers for high-performance asymmetric supercapacitors | |
| Liu et al. | In situ fabrication of three-dimensional, ultrathin graphite/carbon nanotube/NiO composite as binder-free electrode for high-performance energy storage | |
| Guan et al. | Facile synthesis of ZnCo 2 O 4 nanowire cluster arrays on Ni foam for high-performance asymmetric supercapacitors | |
| US10319537B2 (en) | Modified graphitic electrodes for electrochemical energy storage enhancement | |
| EP2769960B1 (en) | Graphene-nanomaterial composite, electrode and electric device including the same, and method of manufacturing the graphene-nanomaterial composite | |
| Hsu et al. | High-cell-voltage supercapacitor of carbon nanotube/carbon cloth operating in neutral aqueous solution | |
| Ramesh et al. | A nanocrystalline structured NiO/MnO 2@ nitrogen-doped graphene oxide hybrid nanocomposite for high performance supercapacitors | |
| KR101634288B1 (ko) | 복합체, 이를 이용한 탄소 복합체, 이를 포함한 전극, 리튬 전지, 전계 방출 소자, 바이오센서, 반도체 소자 및 열전소자 | |
| Mao et al. | Nickel foam supported hierarchical Co 9 S 8 nanostructures for asymmetric supercapacitors | |
| US9634329B2 (en) | Method of preparing graphene and anode mixture for lithium secondary battery including graphene prepared thereby | |
| Li et al. | Regulating the oxidation degree of nickel foam: a smart strategy to controllably synthesize active Ni 3 S 2 nanorod/nanowire arrays for high-performance supercapacitors | |
| US20110297889A1 (en) | METHOD FOR MANUFACTURING A COMPOSITE MATERIAL OF SnO2 AND CARBON NANOTUBES AND/OR CARBON NANOFIBERS, MATERIAL OBTAINED BY THE METHOD, AND LITHIUM BATTERY ELECTRODE COMPRISING SAID MATERIAL | |
| JP2021116191A (ja) | 複合炭素材料及びリチウムイオン二次電池 | |
| KR102621364B1 (ko) | 니켈코발트 황화물을 포함하는 복합체 제조방법, 이를 이용하여 제조된 니켈코발트 황화물 복합체 및 이를 포함하는 에너지 저장 디바이스 | |
| KR20170025419A (ko) | 복합체, 그 제조방법, 이를 포함한 전극 및 리튬 전지 | |
| Zhu et al. | Precise growth of Al2O3/SnO2/CNTs composites by a two-step atomic layer deposition and their application as an improved anode for lithium ion batteries | |
| WO2014011239A2 (en) | Modified graphitic electrodes for electrochemical energy storage enhancement | |
| Azam et al. | Structural characterization and electrochemical performance of nitrogen doped graphene supercapacitor electrode fabricated by hydrothermal method | |
| KR20150098453A (ko) | 표면 코팅된 다공성 실리콘계 음극 활물질, 이의 제조방법 및 이를 포함하는 리튬 이차전지 | |
| Wang et al. | Electrochemical composite deposition of porous cactus-like manganese oxide/reduced graphene oxide–carbon nanotube hybrids for high-power asymmetric supercapacitors | |
| Dakshana et al. | Electrochemical investigation of hydrothermally induced MnCo2S4 nanoparticles as an electrode material for high performance supercapacitors | |
| Hao et al. | Engineering one-dimensional and two-dimensional birnessite manganese dioxides on nickel foam-supported cobalt–aluminum layered double hydroxides for advanced binder-free supercapacitors |
Legal Events
| Date | Code | Title | Description |
|---|---|---|---|
| A300 | Application deemed to be withdrawn because no request for examination was validly filed |
Free format text: JAPANESE INTERMEDIATE CODE: A300 Effective date: 20051101 |