JP2005292893A - 携帯情報端末装置 - Google Patents

携帯情報端末装置 Download PDF

Info

Publication number
JP2005292893A
JP2005292893A JP2004102728A JP2004102728A JP2005292893A JP 2005292893 A JP2005292893 A JP 2005292893A JP 2004102728 A JP2004102728 A JP 2004102728A JP 2004102728 A JP2004102728 A JP 2004102728A JP 2005292893 A JP2005292893 A JP 2005292893A
Authority
JP
Japan
Prior art keywords
action
information terminal
portable information
terminal device
main body
Prior art date
Legal status (The legal status is an assumption and is not a legal conclusion. Google has not performed a legal analysis and makes no representation as to the accuracy of the status listed.)
Pending
Application number
JP2004102728A
Other languages
English (en)
Inventor
Hiroaki Shibayama
博昭 柴山
Current Assignee (The listed assignees may be inaccurate. Google has not performed a legal analysis and makes no representation or warranty as to the accuracy of the list.)
NEC Platforms Ltd
Original Assignee
NEC AccessTechnica Ltd
Priority date (The priority date is an assumption and is not a legal conclusion. Google has not performed a legal analysis and makes no representation as to the accuracy of the date listed.)
Filing date
Publication date
Application filed by NEC AccessTechnica Ltd filed Critical NEC AccessTechnica Ltd
Priority to JP2004102728A priority Critical patent/JP2005292893A/ja
Priority to US11/093,234 priority patent/US7299149B2/en
Priority to EP05090082A priority patent/EP1586978A3/en
Priority to CNB2005100598872A priority patent/CN1312557C/zh
Publication of JP2005292893A publication Critical patent/JP2005292893A/ja
Pending legal-status Critical Current

Links

Images

Classifications

    • GPHYSICS
    • G06COMPUTING OR CALCULATING; COUNTING
    • G06FELECTRIC DIGITAL DATA PROCESSING
    • G06F1/00Details not covered by groups G06F3/00 - G06F13/00 and G06F21/00
    • G06F1/16Constructional details or arrangements
    • G06F1/1613Constructional details or arrangements for portable computers
    • G06F1/1633Constructional details or arrangements of portable computers not specific to the type of enclosures covered by groups G06F1/1615 - G06F1/1626
    • G06F1/1684Constructional details or arrangements related to integrated I/O peripherals not covered by groups G06F1/1635 - G06F1/1675
    • G06F1/1694Constructional details or arrangements related to integrated I/O peripherals not covered by groups G06F1/1635 - G06F1/1675 the I/O peripheral being a single or a set of motion sensors for pointer control or gesture input obtained by sensing movements of the portable computer
    • GPHYSICS
    • G06COMPUTING OR CALCULATING; COUNTING
    • G06FELECTRIC DIGITAL DATA PROCESSING
    • G06F1/00Details not covered by groups G06F3/00 - G06F13/00 and G06F21/00
    • G06F1/16Constructional details or arrangements
    • G06F1/1613Constructional details or arrangements for portable computers
    • G06F1/1615Constructional details or arrangements for portable computers with several enclosures having relative motions, each enclosure supporting at least one I/O or computing function
    • G06F1/1616Constructional details or arrangements for portable computers with several enclosures having relative motions, each enclosure supporting at least one I/O or computing function with folding flat displays, e.g. laptop computers or notebooks having a clamshell configuration, with body parts pivoting to an open position around an axis parallel to the plane they define in closed position
    • GPHYSICS
    • G06COMPUTING OR CALCULATING; COUNTING
    • G06FELECTRIC DIGITAL DATA PROCESSING
    • G06F2200/00Indexing scheme relating to G06F1/04 - G06F1/32
    • G06F2200/16Indexing scheme relating to G06F1/16 - G06F1/18
    • G06F2200/163Indexing scheme relating to constructional details of the computer
    • G06F2200/1637Sensing arrangement for detection of housing movement or orientation, e.g. for controlling scrolling or cursor movement on the display of an handheld computer
    • HELECTRICITY
    • H04ELECTRIC COMMUNICATION TECHNIQUE
    • H04MTELEPHONIC COMMUNICATION
    • H04M1/00Substation equipment, e.g. for use by subscribers
    • H04M1/72Mobile telephones; Cordless telephones, i.e. devices for establishing wireless links to base stations without route selection
    • H04M1/724User interfaces specially adapted for cordless or mobile telephones
    • HELECTRICITY
    • H04ELECTRIC COMMUNICATION TECHNIQUE
    • H04MTELEPHONIC COMMUNICATION
    • H04M2250/00Details of telephonic subscriber devices
    • H04M2250/12Details of telephonic subscriber devices including a sensor for measuring a physical value, e.g. temperature or motion

Landscapes

  • Engineering & Computer Science (AREA)
  • Computer Hardware Design (AREA)
  • Theoretical Computer Science (AREA)
  • Physics & Mathematics (AREA)
  • General Engineering & Computer Science (AREA)
  • General Physics & Mathematics (AREA)
  • Human Computer Interaction (AREA)
  • Mathematical Physics (AREA)
  • User Interface Of Digital Computer (AREA)
  • Position Input By Displaying (AREA)
  • Telephone Function (AREA)
  • Calculators And Similar Devices (AREA)
  • Input From Keyboards Or The Like (AREA)

Abstract

【課題】 携帯情報端末装置に実行されるアクションを3次元的に、かつより詳細に認識することにより装置の入力・操作をすることの可能な携帯情報端末装置を提供する。
【解決手段】 装置本体の水平面に対するロール角及びピッチ角を検出する傾斜検出手段104と、ロール角及びピッチ角の変化加速度を検出する加速度検出手段106と、装置本体にかかる磁力の大きさ及び向きを検出する磁気方位検出手段108と、を備え、これら各検出手段から出力されるデータを元にアクションの状態を認識し、装置本体状態表示データに変換するアクション認識手段112、114、116と、装置本体状態表示データをアクションパターンとして学習及び管理するアクションパターン保存手段118、120と、アクションパターンを装置本体に備わる機能にリンクさせ、機能を実行させるアクションショートカット手段124と、を備えることを特徴とする。
【選択図】 図1




Description

本発明は、携帯情報端末装置に関し、特にアクションショートカット機能付きの移動式携帯情報端末システムに関する。
携帯電話機等の携帯情報端末装置は、携帯性を向上させるために、さらなる小型化が進んでいる。しかし、ディスプレイに表示される情報の視認性や、操作部に配設されたキーボタンで情報を入力する際の操作性に難点が生じてしまう等という欠点も生じる。
このため、最近では、直接にキーボタンを押して操作するだけでなく、携帯情報端末装置自身に回転運動、傾斜運動、平行移動運動等の動作・アクションを実行することにより、より簡易に端末装置の操作、情報入力等を可能にした携帯情報端末装置が開示されている(例えば、特許文献1及び2を参照)。
また、携帯電話機等の携帯情報端末装置のみならず、上記のようなアクション認識機能をゲーム機器の入力装置に適用して、煩雑なボタン操作をせずに、より簡易に情報の検索、閲覧を可能にする情報検索端末が開示されている(例えば、特許文献3を参照)。
なお、振動ジャイロ等を用いることにより、容易なアクション認識が可能となることも考えられるが、デバイスの構造上、携帯性に欠け、小型化が進む携帯情報端末装置に適用するには、不適である。また、振動ジャイロが衝撃に弱いことより、携帯端末を落とした際のデバイスの破損等が大きな課題としてあり、振動ジャイロによる携帯情報端末装置のアクション認識の実現は、困難であった。
特開2003−5879号 特開2003−114752号 特開2002−149616号
しかしながら、上記特許文献1及び2に開示された携帯情報端末装置は、回転運動よ2次元方向の運動のみ検出可能であり、3次元的な細かなアクションを認識するには、至らない。また、特許文献3に開示された情報検索端末は、この情報検索端末を充電し、及び計算機本体と接続するために使用されるグレードルが地磁気に対する絶対方位を決め、情報検索端末自体が地磁気に対する絶対方位を特定するには、至らない。このため、端末装置に実行される、より細かなアクションの強弱を認識するには、不十分であった。
そこで、本発明は、従来の携帯情報端末装置が有する上記問題点に鑑みてなされたものであり、本発明の目的は、地磁気に対する絶対方位を元に携帯情報端末装置に実行されるアクションの3次元的に、かつより詳細に認識することにより装置の入力・操作をすることの可能な、新規かつ改良された携帯情報端末装置を提供することである。
上記課題を解決するために、本発明のある観点によれば、操作部の直接の入力操作、及び装置本体に実行されるアクションの認識により、装置本体の操作が実行される携帯情報端末装置において、装置本体の水平面に対するロール角及びピッチ角を検出する傾斜検出手段と、ロール角及びピッチ角の変化加速度を検出する加速度検出手段と、装置本体にかかる磁力の大きさ及び向きを検出する磁気方位検出手段と、を備え、傾斜検出手段、加速度検出手段、及び磁気方位検出手段から出力されるデータを元にアクションの状態を認識し、装置本体状態表示データに変換するアクション認識手段と、装置本体状態表示データをアクションパターンとして学習及び管理するアクションパターン保存手段と、アクションパターンを装置本体に備わる機能にリンクさせ、機能を実行させるアクションショートカット手段と、を備えることを特徴とする、携帯情報端末装置が提供される。
このとき、アクションショートカット手段には、アクション認識手段において状態表示データ化された装置本体に実行されるアクションと、アクションパターン保存手段に管理・保存されているアクションパターンとを比較するアクション比較手段を含むこととしてもよい。
また、このとき、アクション認識手段では、絶対方位に対するアクションが定義されることとしてもよく、また、絶対方位を省略してもアクションを定義可能なこととしてもよい。
このような構成とすることにより、角速度のオフセット誤差がより高い精度で補正可能となるので、携帯情報端末装置の装置本体に実行されているアクションの状態及び携帯情報端末装置の装置本体の状態を正確に把握できる。また、地磁気に対する絶対方位を元に携帯情報端末装置に実行されるアクションを3次元的に、かつより詳細に認識することにより装置の入力・操作をすることが実現される。
以上説明したように本発明によれば、角速度のオフセット誤差が高度に補正でき、携帯情報端末装置に実行されるアクションの状態、例えばどの方向に傾いているか、動いているか、加速度の向きと大きさはどうなのか等を正確に把握できる。
また、携帯情報端末装置の状態を時間軸上で管理することもできることより、携帯情報端末装置の機能にリンクさせて、アクションショートカットとして動作させることも可能である。
以下に添付図面を参照しながら、本発明の好適な実施の形態について詳細に説明する。なお、本明細書及び図面において、実質的に同一の機能構成を有する構成要素については、同一の符号を付することにより重複説明を省略する。
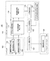
まず、本発明の第1実施形態における携帯情報端末装置に備わる内部回路の構成について図面を使用しながら説明する。図1は、本発明の第1実施形態における携帯情報端末装置に備わる内部回路の構成を説明するためのブロックダイアグラム図であり、図2は、本実施形態における携帯情報端末装置のハードウェア的な構成を示す図である。
図1に示すように、本実施形態の携帯情報端末装置100は、この装置100に備わる一のハードウェア102に2軸傾斜角度検出手段104と、2軸加速度検出手段106と、及び3軸地磁気方位検出手段108を具備する。
2軸傾斜角度検出手段104は、装置本体の水平面(X軸、Y軸)に対するロール角(X軸)及びピッチ角(Y軸)を検出する傾斜検出手段であり、2軸加速度検出手段106は、ロール角及びピッチ角の変化加速度を検出する加速度検出手段であり、3軸地磁気方位検出手段108は、装置本体にかかる全磁力の大きさ及び向きを検出する磁気方位検出手段である。
また、携帯情報端末装置100に備わる他のハードウェア/ソフトウェア110には、オフセット補正手段112、自己個体誤差補正手段114、自己個体状態演算手段116、ログ管理手段118、アクションショートカットテーブル120(FlashROMまたはRAMに保存)、アクション比較手段122、ショートカット起動手段124が設けられている。さらに、携帯情報端末装置100に備わる他のハードウェア/ソフトウェア126には、機能起動手段128が設けられている。
オフセット補正手段112と自己個体誤差補正手段114は、同一ブロックに配設され、水平面に対する直下(Z軸)を検出するための情報を蓄える。また、他機能として、周辺磁場磁気キャンセラー等の機能も備える。
自己個体状態演算手段116は、オフセット補正手段112と自己固体誤差補正手段114にて求められた情報より、水平直下(Z)軸を常に監視し、その軸に対する携帯情報端末装置100の装置本体のロール角、ピッチ角を算出する。
これらオフセット補正手段112、自己個体誤差補正手段114、及び自己個体状態演算手段116は、上記の2軸傾斜角度検出手段104、2軸加速度検出手段106、及び3軸地磁気方位検出手段108から出力されるデータを元に装置本体に実行されるアクションの状態を認識し、装置本体状態表示データに変換するアクション認識手段となる。
ログ管理手段118は、アクションショートカットを駆動させた際のログを蓄え学習させたものをアクションショートカットテーブル120にセーブ/更新/削除させる機能を備え、学習させたアクションショートカットは、常に個人個体のパラメータとして更新、管理される。
アクションショートカットテーブル120は、登録したアクションのデータベースであり装置本体の特性も保存する。
これらログ管理手段118、及びアクションショートカットテーブル120は、装置本体状態表示データをアクションパターンとして学習及び管理するアクションパターン保存手段となる。
アクション比較手段122は、アクションショートカットテーブル120に蓄えられている内容と現在動かしたアクションを比較する機能手段であり、一致した場合にショートカット起動手段124を介して、他のハードウェア/ソフトウェア126に備わる機能起動手段128によって機能起動を行う。
これらアクション比較手段122、及びショートカット起動手段124は、アクションパターンを装置本体に備わる機能にリンクさせ、機能を実行させるアクションショートカット手段となる。
また、本実施形態における携帯情報端末装置100のハードウェア的な構成を示す図である図2に示すように、この装置100に備わる一のハードウェア102に備わる加速度センサ130は、上記の2軸傾斜角度検出手段104と2軸加速度検出手段106を具備する。さらに、装置100に備わる一のハードウェア102に備わる磁気センサ132は、上記の3軸磁気方位検出手段108を具備する。
そして、本実施形態の携帯情報端末装置100は、上記の加速度センサ130及び磁気センサ132からの出力データを携帯情報端末装置100に備わる他のハードウェア/ソフトウェア110に配設されたMPU134で処理するために、一のバス136を備える。また、MPU134は、RAM/ROM138と他のバス140を介して接続され、そして、他のハードウェア/ソフトウェア126に備わる周辺デバイス142と他のバス140を介して接続される。
本実施形態では、図1及び図2に示すように、磁気センサ132からの出力は、オフセット補正手段112と自己個体誤差補正手段114を経由することにより、正確な地磁気角度がMPU134のプログラム演算処理によって求められる。
また、同様にして、オフセット補正手段112と自己個体誤差補正手段114をMPU134のプログラム演算処理によって装置傾斜角度(ロール角、ピッチ角)と加速度(大きさ、向き)が求められる。
これら求められたデータは、自己個体状態演算手段116を用いて、装置本体である個体の状態を示すデータに変換される。そして、変換されたデータは、ログ管理手段118において学習・登録が行われ、アクションショートカットテーブル120(FlashROMまたはRAM)に保存される。
一方、個体に実行されるアクションは、アクション比較手段122であるMPU演算処理によって、アクション動作として比較され、その人特有の動作の曖昧さも考慮した上でパラメータ化される。そして、上記の動作の曖昧さも考慮した上でパラメータ化された許容範囲内においてアクション比較手段122で一致したものは、携帯情報端末装置100の予め指定したアクションショートカットテーブル120に保存されている内容に基づいて携帯情報端末装置100に備わる機能を起動させることができる。また、予め指定した携帯情報端末装置100に備わる機能は、従来からあるショートカット機能に割り振ってもよく、ハードウェアを動かすことも可能である構成を備えることとしてもよい。
次に、本実施形態の携帯情報端末装置100に備わるアクションショートカットテーブル120の構成について図面を使用しながら説明する。図3は、本実施形態の携帯情報端末装置100に備わるアクションショートカットテーブル120の構成を示す図である。
本実施形態の携帯情報端末装置100に備わるアクションショートカットテーブル120は、大分類として、ショートカット名150、Function No.152、及びデータ154で構成される。
ショートカット名150は、メーカが予め用意したアクションによって起動させたい名前である。この名前は、メニュー上で表示されユーザにアクションをして登録関連付けを行うためのものであり、換言すると、ユーザが登録できるアクション名である。
Function No.152は、ユーザが選択登録したデータと実際のソフトウェア機能とを関連付けされた機能番号であり、この番号の処理が実行される仕組みを持つものである。すなわち、携帯情報端末装置100に実行されたアクションと後述するデータ154とを前述したアクション比較手段122で比較して、一致した場合に、上記の関連づけされた機能を起動させるものである。
データ154は、ユーザの登録したアクションデータであり、中分類としてn個のサンプリング156(サンプリング1、サンプリング2、サンプリング3、・・、サンプリングn)で構成される。すなわち、サンプリング156のデータの集合体がアクションデータと定義される。
さらに、サンプリング156は、小分類として角加速度ベクトル158、装置ロール角160、装置ピッチ角162、2軸方位164で構成される。
角加速度ベクトル158は、サンプリング時にどの方向に対してどの位の加速度で動いているかを定義するものであり、角加速度ベクトル158のX成分データであるX軸(角加速度ベクトル)166、角加速度ベクトル158のY成分データであるY軸(角加速度ベクトル)168、角加速度ベクトル158のZ成分データであるZ軸(角加速度ベクトル)170、及び角速度ベクトル158の個人の特性を示すパラメータが格納される誤差パラメータ(角加速度ベクトル)172から構成される。
装置ロール角160は、サンプリング時の装置ロール値を示す角度(装置ロール角)174、及び装置ロール角160の個人の特性を示すパラメータが格納される誤差パラメータ(装置ロール角)176から構成される。
装置ピッチ角162は、サンプリング時の装置ピッチ値を示す角度(装置ピッチ角)178、及び装置ピッチ角162の個人の特性を示すパラメータが格納される誤差パラメータ(装置ピッチ角)180から構成される。
2軸方位164は、アクションにおいて絶対方位が必要な場合に使用できる様に授け、サンプリング時の絶対方位を示す角度(2軸方位)182、及び2軸方位164の個人の特性を示すパラメータが格納される誤差パラメータ(2軸方位)184から構成される。
次に、本実施形態の携帯情報端末装置100の動作について、図面を使用しながら詳細に説明する。図4は、本実施形態の携帯情報端末装置100に備わるオフセット補正手段112の動作説明図であり、図5は、本実施形態の携帯情報端末装置100を実際に動かした際の携帯情報端末装置100の動きを示す動作図であり、図6は、本実施形態の携帯情報端末装置100で実行されたアクションのデータ軌跡例を示す図である。
上述したように、磁気センサ132からの出力は、オフセット補正手段112と自己個体誤差補正手段114を経由して、正確な地磁気角度をMPU134のプログラム演算処理によって方位が求められる。
オフセット補正手段112は、携帯情報端末装置100や、携帯情報端末装置100と一緒に動く個体(車載の場合は、車自体を含む)の固有磁場をキャンセルするための機能であり、その動作を図4に示す。図4(a)は、携帯情報端末装置100等の固有磁場をキャンセルする動作を示す図であり、図4(b)は、全磁力ベクトルの成分定義図である。なお、図4(a)の略球体のぼかし部分は、携帯情報端末装置100を自由に動かした際の磁気ベクトルの軌跡群186を示す。
図4(a)に示すように、オフセットされていない場合では、携帯情報端末装置100の磁気ベクトル軌跡群186は、角軸に対して固有の固定磁場が見えるためDC(直流)成分として中心(X、Y、Z)=(0、0、0)から外れている。中心から外れた状態では、演算を行い難いので、携帯情報端末装置100の磁気ベクトル軌跡群186を中心に移動させる(移動後の携帯情報端末装置100の磁気ベクトル軌跡群186’)。また、このオフセット補正手段112によるオフセット処理は、周辺磁場が変化して中心がずれたことを検出するためにも必要な処理である。
さらに、同様にして、オフセット補正手段112と自己個体誤差補正手段114をMPU134のプログラム演算処理によって装置傾斜角度(ロール角、ピッチ角)と加速度(大きさ、向き)が求められる。
これらデータは、自己個体状態演算手段116を用いて、個体の状態を示すデータに変換される。そして、変換されたデータは、ログ管理手段118にて学習(登録)を行い、アクションショートカットテーブル(FlashROMまたはRAM)120に保存される。
一方、携帯情報端末装置100の装置本体のアクションは、アクション比較手段122であるMPU演算処理によって、アクション動作として比較される。また、携帯情報端末装置100の装置本体のアクションは、その人特有の動作曖昧さも考慮してパラメータ化してあり、その許容範囲内においてアクション比較手段122で一致したものは、携帯電話等の携帯情報端末装置100の予め指定したアクションショートカットテーブル120に保存されている内容に基づいて機能を立ち上げることができる。また、予め指定した機能は、従来からあるショートカット機能に割り振ってもよく、ハードウェアを動かすことも可能である構成を備えることとしてもよい。
比較されるデータは、アクションショートカットテーブル120に蓄えられ、このアクションショートカットテーブル120は、図3に示すテーブルで構成される。なお、アクションショートカットテーブル120については、上述した通りであるので、その構成の説明は、省略する。
図5は、実際に動かした際の携帯情報端末装置100の動きを示す動作図であり、図6に、携帯情報端末装置100のアクションのデータ軌跡例を示す。図6に示すデータの軌跡は、携帯情報端末装置機100の動きを表すものであり、携帯情報端末装置中心に全地磁気ベクトルの動きと傾斜センサからのデータであるロール角とピッチ角をリンクさせたものである。また、角加速度ベクトルもリンクして(例として)、図5に示す携帯情報端末装置100の動作状態P1〜P6のサンプリングデータを図示化したものであり、既に周辺磁場の影響をオフセットした図を示す。
図6に示すように、ピッチ角は、X軸直線を中心とした(X、Y、Z)=(0、0、0)の点からの角度を示す。ロール角は、YZ平面上での回転角を示す。この2点の角度により3次元空間を図示化できる。
この点をつなぎ合わせたものをパターンとして定義して、比較するデータの基準とすることにより、アクションを起こした際のデータと比較一致した場合のみショートカット機能を実現させる。
また、軌跡上のサンプリングデータ(例としてP3ポイント)には、方位データも付加されており(各サンプリングデータは、皆付加されている)、アプリケーションによって使い分けられる。
例えば、単なるアクションゲームなどには、方位データ抜きで使用することとしてもよい。また、本実施形態は、方位に関係するようなゲーム、宝探し、おみくじに、アクションを必要とするアプリケーションなどに利用できる。
さらに、本実施形態では、携帯情報端末装置100の状態を時間軸上で管理することもできることより、携帯情報端末装置100の機能にリンクさせて、アクションショートカットとして動作させることも可能である。例えば、受話器を取るまねをしてオフフック動作としたり、受話器を置くまねでオンフック動作としたり、磁気コンパスを操る操作をさせて、実際に電子コンパス機能を起動させる等、身振りで携帯情報端末装置100を簡単操作が可能となる。
すなわち、複雑な操作せずに携帯情報端末装置100を使いこなす手段を提供することが可能であり、お年寄りなど高齢者向けへの機能提供、若者向けへの、アクションゲームの入力手段等にも適用可能なシステムが提供される。
以上、添付図面を参照しながら本発明の好適な実施形態について説明したが、本発明は係る例に限定されないことは言うまでもない。当業者であれば、特許請求の範囲に記載された範疇内において、各種の変更例または修正例に想到し得ることは明らかであり、それらについても当然に本発明の技術的範囲に属するものと了解される。
例えば、上記の実施形態では、主に携帯電話機等の携帯情報端末装置に適用されているが、本発明は、ゲームの入力機器等の携帯情報端末装置にも適用可能である。その一例として、従来の機械的な動作でなく、パターン化することで、リアルな動きをするビー玉迷路ゲームが実現でき、携帯端末を傾け、その加速度と傾斜角度によって、あたかもビー玉が転がるようなGUIを駆使したゲームや、ジャンプの様な急激な加速度変化によって、ゲーム主人公がジャンプするなどのゲームへの入力機器としても応用が可能となる。
本発明は、アクションショートカット機能が備わった携帯情報端末装置に適用可能であり、特に移動式携帯電話機やゲームの入力機器等の端末装置に適用可能である。
本発明の第1実施形態における携帯情報端末装置に備わる内部回路の構成を説明するためのブロックダイアグラム図である。 同実施形態における携帯情報端末装置のハードウェア的な構成を示す図である。 同実施形態の携帯情報端末装置に備わるアクションショートカットテーブルの構成を示す図である。 同実施形態の携帯情報端末装置に備わるオフセット補正手段の動作説明図である。 同実施形態の携帯情報端末装置を実際に動かした際の携帯情報端末装置の動きを示す動作図である。 同実施形態の携帯情報端末装置で実行されたアクションのデータ軌跡例を示す図である。
符号の説明
100 携帯情報端末装置
102 (一の)ハードウェア
104 2軸傾斜角度検出手段
106 2軸加速度検出手段
108 3軸地磁気方位検出手段
110 (携帯情報端末装置に備わる他の)ハードウェア/ソフトウェア
112 オフセット補正手段
114 自己個体誤差補正手段
116 自己個体状態演算手段
118 ログ管理手段
120 アクションショートカットテーブル(FlashROMまたはRAMに保存)
122 アクション比較手段
124 ショートカット起動手段
126 (携帯情報端末装置に備わる他の)ハードウェア/ソフトウェア
128 機能起動手段
130 加速度センサ
132 磁気センサ
134 MPU
136、140 バス
138 RAM/ROM
142 周辺デバイス

Claims (4)

  1. 操作部の直接の入力操作、及び装置本体に実行されるアクションの認識により、前記装置本体の操作が実行される携帯情報端末装置において、
    前記装置本体の水平面に対するロール角及びピッチ角を検出する傾斜検出手段と、
    前記ロール角及びピッチ角の変化加速度を検出する加速度検出手段と、
    前記装置本体にかかる磁力の大きさ及び向きを検出する磁気方位検出手段と、を備え、
    前記傾斜検出手段、前記加速度検出手段、及び前記磁気方位検出手段から出力されるデータを元に前記アクションの状態を認識し、装置本体状態表示データに変換するアクション認識手段と、
    前記装置本体状態表示データをアクションパターンとして学習及び管理するアクションパターン保存手段と、
    前記アクションパターンを前記装置本体に備わる機能にリンクさせ、前記機能を実行させるアクションショートカット手段と、を備えることを特徴とする、携帯情報端末装置。
  2. 前記アクションショートカット手段には、前記アクション認識手段において状態表示データ化された前記装置本体に実行されるアクションと、前記アクションパターン保存手段に管理・保存されている前記アクションパターンとを比較するアクション比較手段を含むことを特徴とする、請求項1に記載の携帯情報端末装置。
  3. 前記アクション認識手段において、絶対方位に対する前記アクションが定義されることを特徴とする、請求項1または2に記載の携帯情報端末装置。
  4. 前記アクション認識手段は、前記絶対方位を省略しても前記アクションを定義可能なことを特徴とする、請求項1または2に記載の携帯情報端末装置。

JP2004102728A 2004-03-31 2004-03-31 携帯情報端末装置 Pending JP2005292893A (ja)

Priority Applications (4)

Application Number Priority Date Filing Date Title
JP2004102728A JP2005292893A (ja) 2004-03-31 2004-03-31 携帯情報端末装置
US11/093,234 US7299149B2 (en) 2004-03-31 2005-03-30 Portable device with action shortcut function
EP05090082A EP1586978A3 (en) 2004-03-31 2005-03-31 Portable device with action shortcut function
CNB2005100598872A CN1312557C (zh) 2004-03-31 2005-03-31 具有动作快捷方式功能的便携式设备

Applications Claiming Priority (1)

Application Number Priority Date Filing Date Title
JP2004102728A JP2005292893A (ja) 2004-03-31 2004-03-31 携帯情報端末装置

Publications (1)

Publication Number Publication Date
JP2005292893A true JP2005292893A (ja) 2005-10-20

Family

ID=34938420

Family Applications (1)

Application Number Title Priority Date Filing Date
JP2004102728A Pending JP2005292893A (ja) 2004-03-31 2004-03-31 携帯情報端末装置

Country Status (4)

Country Link
US (1) US7299149B2 (ja)
EP (1) EP1586978A3 (ja)
JP (1) JP2005292893A (ja)
CN (1) CN1312557C (ja)

Cited By (5)

* Cited by examiner, † Cited by third party
Publication number Priority date Publication date Assignee Title
JP2007198888A (ja) * 2006-01-26 2007-08-09 Seiko Epson Corp センサー装置
JP2008294711A (ja) * 2007-05-24 2008-12-04 Sharp Corp 携帯端末装置
JP2010067142A (ja) 2008-09-12 2010-03-25 British Virgin Islands CyWee Group Ltd 慣性センシング装置
JP2010238220A (ja) * 2009-03-12 2010-10-21 Nippon Telegr & Teleph Corp <Ntt> 入力情報決定装置、入力情報決定方法、入力情報決定プログラム及び入力情報決定プログラムを記録した記録媒体
WO2013080662A1 (ja) * 2011-11-30 2013-06-06 株式会社コナミデジタルエンタテインメント 選択装置、選択システム、選択装置の制御方法、情報記録媒体、ならびに、プログラム

Families Citing this family (41)

* Cited by examiner, † Cited by third party
Publication number Priority date Publication date Assignee Title
US9390229B1 (en) 2006-04-26 2016-07-12 Dp Technologies, Inc. Method and apparatus for a health phone
US8902154B1 (en) 2006-07-11 2014-12-02 Dp Technologies, Inc. Method and apparatus for utilizing motion user interface
JP2008033526A (ja) * 2006-07-27 2008-02-14 Sony Corp 携帯型電子機器、動作制御方法、プログラム、信号生成装置、信号生成方法
KR100797788B1 (ko) * 2006-09-04 2008-01-24 엘지전자 주식회사 이동통신 단말기 및 패턴인식을 통한 단축기능의 실행방법
US8620353B1 (en) 2007-01-26 2013-12-31 Dp Technologies, Inc. Automatic sharing and publication of multimedia from a mobile device
US8949070B1 (en) 2007-02-08 2015-02-03 Dp Technologies, Inc. Human activity monitoring device with activity identification
TW200901729A (en) * 2007-06-20 2009-01-01 Tsui-Yun Jen Handheld intelligent mobile and fixed wireless device
US8555282B1 (en) 2007-07-27 2013-10-08 Dp Technologies, Inc. Optimizing preemptive operating system with motion sensing
US7800044B1 (en) 2007-11-09 2010-09-21 Dp Technologies, Inc. High ambient motion environment detection eliminate accidental activation of a device
US9062971B2 (en) * 2008-03-06 2015-06-23 Texas Instruments Incorporated E-compass, tilt sensor, memory and processor with coarse detilting procedure
US8285344B2 (en) 2008-05-21 2012-10-09 DP Technlogies, Inc. Method and apparatus for adjusting audio for a user environment
US8996332B2 (en) 2008-06-24 2015-03-31 Dp Technologies, Inc. Program setting adjustments based on activity identification
US8872646B2 (en) 2008-10-08 2014-10-28 Dp Technologies, Inc. Method and system for waking up a device due to motion
TWI514337B (zh) * 2009-02-20 2015-12-21 尼康股份有限公司 Carrying information machines, photographic devices, and information acquisition systems
US9529437B2 (en) 2009-05-26 2016-12-27 Dp Technologies, Inc. Method and apparatus for a motion state aware device
US9000887B2 (en) 2009-07-23 2015-04-07 Qualcomm Incorporated Method and apparatus for communicating control information by a wearable device to control mobile and consumer electronic devices
JP5489572B2 (ja) * 2009-07-29 2014-05-14 キヤノン株式会社 加速度検出装置及びその制御方法、プログラム
CN101776950B (zh) * 2010-01-21 2011-11-09 中国传媒大学 一种便携设备利用数字罗盘对计算机进行控制的方法
US8989792B1 (en) 2010-01-22 2015-03-24 Amazon Technologies, Inc. Using inertial sensors to trigger transmit power management
US8965441B1 (en) 2010-01-22 2015-02-24 Amazon Technologies, Inc. Reducing wireless interference with transmit power level management
US9071700B2 (en) * 2010-02-26 2015-06-30 Nec Corporation Communication system, communication terminal, server, communication method and program
US20110223974A1 (en) * 2010-03-10 2011-09-15 Sony Ericsson Mobile Communications Ab Mobile communication device and method for operating a mobile communication device
CN102339141B (zh) * 2010-07-16 2014-12-31 联想(北京)有限公司 一种移动终端及其显示控制方法
KR20120036244A (ko) * 2010-10-07 2012-04-17 삼성전자주식회사 생체 이식 의료장치 및 그 제어방법
US20130139113A1 (en) * 2011-11-30 2013-05-30 Microsoft Corporation Quick action for performing frequent tasks on a mobile device
CN102520795B (zh) * 2011-12-07 2014-12-24 东蓝数码股份有限公司 智能终端上基于陀螺仪的人机交互检测及处理方法
GB2497935A (en) * 2011-12-22 2013-07-03 Ibm Predicting actions input to a user interface
CN102662578B (zh) * 2012-03-29 2015-06-17 华为终端有限公司 一种桌面容器的切换控制方法及终端
JP5904021B2 (ja) * 2012-06-07 2016-04-13 ソニー株式会社 情報処理装置、電子機器、情報処理方法、及びプログラム
CN102799361A (zh) * 2012-06-21 2012-11-28 华为终端有限公司 一种应用对象的调出方法及移动终端
CN102929379A (zh) * 2012-08-20 2013-02-13 北京金山安全软件有限公司 移动设备的设置管理方法、装置及移动设备
US8560004B1 (en) 2012-08-31 2013-10-15 Google Inc. Sensor-based activation of an input device
CN103179273A (zh) * 2013-03-11 2013-06-26 广东欧珀移动通信有限公司 一种手机的操作方法
US9942384B2 (en) 2013-09-10 2018-04-10 Google Technology Holdings LLC Method and apparatus for device mode detection
US9159294B2 (en) 2014-01-31 2015-10-13 Google Inc. Buttonless display activation
US9606710B1 (en) * 2014-03-31 2017-03-28 Amazon Technologies, Inc. Configuring movement-based user interface control
US10437447B1 (en) 2014-03-31 2019-10-08 Amazon Technologies, Inc. Magnet based physical model user interface control
CN105664491A (zh) * 2016-01-05 2016-06-15 网易(杭州)网络有限公司 游戏技能快捷入口的实现方法及装置
DE112017004127T5 (de) * 2016-09-21 2019-05-09 Rohm Co., Ltd. Elektronischer Kompass
CN108777743B (zh) * 2018-05-24 2020-07-31 柳州智视科技有限公司 一种基于陀螺仪的实时改变视频颜色的方法
CN115951791A (zh) * 2022-12-14 2023-04-11 深圳十米网络科技有限公司 一种高性能的运动控制检测系统

Family Cites Families (18)

* Cited by examiner, † Cited by third party
Publication number Priority date Publication date Assignee Title
US5504683A (en) * 1989-11-21 1996-04-02 Gurmu; Hailemichael Traffic management system
JP3842316B2 (ja) 1994-07-08 2006-11-08 セイコーインスツル株式会社 位置検出装置および傾斜センサ
EP0816986B1 (en) * 1996-07-03 2006-09-06 Hitachi, Ltd. System for recognizing motions
US6347290B1 (en) * 1998-06-24 2002-02-12 Compaq Information Technologies Group, L.P. Apparatus and method for detecting and executing positional and gesture commands corresponding to movement of handheld computing device
JP2000078262A (ja) 1998-08-31 2000-03-14 Nippon Telegr & Teleph Corp <Ntt> 携帯電話端末
JP2001033253A (ja) 1999-07-19 2001-02-09 Tokin Corp 姿勢角検出装置
FI20001506L (fi) 1999-10-12 2001-04-13 J P Metsaevainio Design Oy Kädessäpidettävän laitteen toimintamenetelmä
JP3412592B2 (ja) * 2000-02-08 2003-06-03 松下電器産業株式会社 個人情報認証方法
JP3890880B2 (ja) 2000-11-10 2007-03-07 株式会社日立製作所 情報検索端末
US6834249B2 (en) * 2001-03-29 2004-12-21 Arraycomm, Inc. Method and apparatus for controlling a computing system
JP2003005879A (ja) 2001-06-19 2003-01-08 Mitsubishi Electric Corp 携帯用情報端末
WO2003001340A2 (en) * 2001-06-22 2003-01-03 Motion Sense Corporation Gesture recognition system and method
JP4899274B2 (ja) * 2001-08-30 2012-03-21 富士通株式会社 携帯型端末及び機能抑制方法
JP2003114752A (ja) 2001-10-05 2003-04-18 Toshiba Corp 携帯情報端末装置及びその制御方法
JP2003131796A (ja) 2001-10-22 2003-05-09 Sony Corp 情報入力装置、および情報入力方法、並びにコンピュータ・プログラム
JP3975781B2 (ja) 2002-03-01 2007-09-12 ヤマハ株式会社 携帯端末装置
DE60232945D1 (de) * 2001-11-22 2009-08-27 Yamaha Corp Elektronisches Gerät
US20050054381A1 (en) * 2003-09-05 2005-03-10 Samsung Electronics Co., Ltd. Proactive user interface

Cited By (6)

* Cited by examiner, † Cited by third party
Publication number Priority date Publication date Assignee Title
JP2007198888A (ja) * 2006-01-26 2007-08-09 Seiko Epson Corp センサー装置
JP2008294711A (ja) * 2007-05-24 2008-12-04 Sharp Corp 携帯端末装置
JP2010067142A (ja) 2008-09-12 2010-03-25 British Virgin Islands CyWee Group Ltd 慣性センシング装置
JP2010238220A (ja) * 2009-03-12 2010-10-21 Nippon Telegr & Teleph Corp <Ntt> 入力情報決定装置、入力情報決定方法、入力情報決定プログラム及び入力情報決定プログラムを記録した記録媒体
WO2013080662A1 (ja) * 2011-11-30 2013-06-06 株式会社コナミデジタルエンタテインメント 選択装置、選択システム、選択装置の制御方法、情報記録媒体、ならびに、プログラム
JP2013135835A (ja) * 2011-11-30 2013-07-11 Konami Digital Entertainment Co Ltd 選択装置、選択システム、選択装置の制御方法、ならびに、プログラム

Also Published As

Publication number Publication date
EP1586978A3 (en) 2010-01-27
EP1586978A2 (en) 2005-10-19
CN1677318A (zh) 2005-10-05
CN1312557C (zh) 2007-04-25
US20050234676A1 (en) 2005-10-20
US7299149B2 (en) 2007-11-20

Similar Documents

Publication Publication Date Title
JP2005292893A (ja) 携帯情報端末装置
US8462109B2 (en) Controlling and accessing content using motion processing on mobile devices
JP5338662B2 (ja) 情報処理装置、入力装置及び情報処理システム
CN101578569B (zh) 控制设备、输入设备、控制系统、手持型信息处理设备、控制方法
CN108469878B (zh) 终端装置及其控制方法和计算机可读存储介质
KR101469312B1 (ko) 움직임 센서들을 사용하는 가상 버튼들의 생성
US20090262074A1 (en) Controlling and accessing content using motion processing on mobile devices
KR100498518B1 (ko) 정보처리장치및방법
EP1783591B1 (en) Electronic device
CN1863225B (zh) 具有运动检测功能的便携式终端及用于其的运动检测方法
US10817072B2 (en) Method and apparatus for performing motion recognition using motion sensor fusion, and associated computer program product
KR20100038279A (ko) 입력 장치, 제어 장치, 제어 시스템, 제어 방법 및 핸드헬드 장치
JP2000214988A (ja) 動作パタ―ンを利用して無線通信装置への情報を入力する方法
KR20100075770A (ko) 입력 장치, 제어 장치, 제어 시스템, 전자 기기 및 제어 방법
JP5176537B2 (ja) モーションセンシング装置,モーションセンシング方法およびモーションセンシング回路
JP4149893B2 (ja) 移動体通信端末及びアプリケーションプログラム
JP4675718B2 (ja) 動作判別装置、動作判別プログラムおよびコンピュータ読取り可能な記録媒体
JP4394742B2 (ja) 移動体通信端末及びアプリケーションプログラム
JP2013114433A (ja) 電子機器及び機械翻訳方法
JPWO2007074502A1 (ja) 携帯端末装置
JP2008167453A (ja) 移動体通信端末及びアプリケーションプログラム
JP2013030143A (ja) 操作支援装置、移動体情報通信端末、撮影装置及び情報処理装置

Legal Events

Date Code Title Description
A977 Report on retrieval

Free format text: JAPANESE INTERMEDIATE CODE: A971007

Effective date: 20070802

A131 Notification of reasons for refusal

Free format text: JAPANESE INTERMEDIATE CODE: A131

Effective date: 20070807

A521 Request for written amendment filed

Free format text: JAPANESE INTERMEDIATE CODE: A523

Effective date: 20071009

A131 Notification of reasons for refusal

Free format text: JAPANESE INTERMEDIATE CODE: A131

Effective date: 20080115

A711 Notification of change in applicant

Free format text: JAPANESE INTERMEDIATE CODE: A711

Effective date: 20080507

A131 Notification of reasons for refusal

Free format text: JAPANESE INTERMEDIATE CODE: A131

Effective date: 20080722

A02 Decision of refusal

Free format text: JAPANESE INTERMEDIATE CODE: A02

Effective date: 20081118