JP2005292526A - 撮像装置 - Google Patents

撮像装置 Download PDF

Info

Publication number
JP2005292526A
JP2005292526A JP2004108597A JP2004108597A JP2005292526A JP 2005292526 A JP2005292526 A JP 2005292526A JP 2004108597 A JP2004108597 A JP 2004108597A JP 2004108597 A JP2004108597 A JP 2004108597A JP 2005292526 A JP2005292526 A JP 2005292526A
Authority
JP
Japan
Prior art keywords
mirror
state
shutter
unit
optical path
Prior art date
Legal status (The legal status is an assumption and is not a legal conclusion. Google has not performed a legal analysis and makes no representation as to the accuracy of the status listed.)
Granted
Application number
JP2004108597A
Other languages
English (en)
Other versions
JP2005292526A5 (ja
JP4411124B2 (ja
Inventor
Kazuyuki Nakagawa
和幸 中川
Current Assignee (The listed assignees may be inaccurate. Google has not performed a legal analysis and makes no representation or warranty as to the accuracy of the list.)
Canon Inc
Original Assignee
Canon Inc
Priority date (The priority date is an assumption and is not a legal conclusion. Google has not performed a legal analysis and makes no representation as to the accuracy of the date listed.)
Filing date
Publication date
Application filed by Canon Inc filed Critical Canon Inc
Priority to JP2004108597A priority Critical patent/JP4411124B2/ja
Publication of JP2005292526A publication Critical patent/JP2005292526A/ja
Publication of JP2005292526A5 publication Critical patent/JP2005292526A5/ja
Application granted granted Critical
Publication of JP4411124B2 publication Critical patent/JP4411124B2/ja
Anticipated expiration legal-status Critical
Expired - Fee Related legal-status Critical Current

Links

Images

Landscapes

  • Viewfinders (AREA)
  • Shutters For Cameras (AREA)
  • Studio Devices (AREA)

Abstract

【課題】 ミラーユニットが第2の状態にあるときに、撮影レンズからの光束を確実に撮像素子に到達させることのできる撮像装置を提供する。
【解決手段】 撮影レンズからの光束を用いて被写体像の観察を可能とするファインダ光学系と、光束を用いて撮影レンズの焦点状態を検出する焦点検出手段と、光束をファインダ光学系および焦点検出手段に向けて反射する第1の状態と光束を撮像素子に向かわせる第2の状態とに切り換え駆動されるミラーユニットと、光束を撮像素子に到達させる開き状態と、光束の撮像素子への到達を抑制する閉じ状態とで駆動されるシャッタユニットとを有し、ミラーユニットの第1の状態から第2の状態への切り換え駆動に連動させてシャッタユニットを開き状態とする。
【選択図】 図2

Description

本発明は、撮影レンズからの光束をファインダ光学系に導く第1の状態と、前記光束を撮像素子に到達させる第2の状態との間で切り換わる撮像装置に関するものである。
従来、一眼レフレックスカメラのような撮像装置においては、撮像素子と撮像光学系の間に配置されたハーフミラーおよび全反射ミラーを用いて、撮影光学系からの光束をファインダ光学系及び焦点検出ユニットに導くことで、被写体像の観察及び自動焦点調節を行っている。また、上記ミラーを撮影光路から退避させて撮影光学系からの光束を撮像素子に到達させることによって撮影動作を行っている。
一方、反射ミラーが撮影光路内に配置されているときには、位相差検出方式による焦点調節を行い、反射ミラーが撮影光路から退避しているときには、撮像素子の出力を用いてコントラスト検出方式による焦点調節を行うものがある(例えば、特許文献1参照)。該特許文献2のカメラでは、撮像素子から読み出された画像を表示ユニット(EVF:Electronic View Finder)で表示させながら、コントラスト検出方式による焦点調節を行うことができる。
特許文献1のカメラにおいて、反射ミラーが撮影光路から退避しているときには、コントラスト検出方式による焦点調節しかできないため、位相差検出方式による焦点調節に比べて撮影光学系が合焦状態となるまでに時間がかかってしまう。
そこで、OVFおよびEVFのときに撮影レンズからの光束を位相差検出方式による焦点検出を行う焦点検出ユニットに導く撮像装置がある。具体的には、ミラーユニットが、撮影レンズからの光束を光学ファインダおよび焦点検出ユニットに導く第1の光路分割状態と、撮像素子及び焦点検出ユニットに導く第2の光路分割状態とに切り換え駆動されるようにしている。
特開2001−125173号公報(段落番号0062〜0067、図8、9)
ミラーユニットを第1および第2の光路分割状態で切り換える撮像装置では、該切り換え動作の後にシャッタユニットのシャッタ先幕の走行を別に行うようになっている。しかし、ミラーユニットの駆動及びシャッタユニットの駆動を別々に行う場合には、駆動シーケンスが複雑化したり、作動時間が長くなったりしてしまう。また、駆動シーケンスに異常が生じた場合には、ミラーユニットの状態が切り換えられているものの、シャッタユニットが開き状態となっておらず、表示ユニットで被写体像を表示できないおそれがある。
本発明の撮像装置は、撮影レンズからの光束により形成された被写体像を光電変換する撮像素子と、前記光束を用いて被写体像の観察を可能とするファインダ光学系と、前記光束を用いて前記撮影レンズの焦点状態を検出する焦点検出手段と、前記光束を前記ファインダ光学系および前記焦点検出手段に向けて反射する第1の状態と前記光束を前記撮像素子に向かわせる第2の状態とに切り換え駆動されるミラーユニットと、前記光束を前記撮像素子に到達させる開き状態と、前記光束の前記撮像素子への到達を抑制する閉じ状態とで駆動されるシャッタユニットとを有している。そして、前記ミラーユニットの第1の状
態から第2の状態への切り換え駆動に連動させて前記シャッタユニットを開き状態とすることを特徴とする。
本発明によれば、ミラーユニットを第1の状態から第2の状態に切り換えるときに連動させてシャッタユニットを開き状態としているため、撮影レンズからの光束を確実に撮像素子に到達させることができる。
以下、本発明の実施例について説明する。
図1は、本発明の実施例1であるカメラシステムのうちカメラ本体内の主な電気的構成を示すブロック図である。
図1において、2はカメラ本体1内の動作を制御するマイクロプロセッサである。3はモータ駆動回路であり、マイクロプロセッサ2からの制御信号を受けることにより、カメラ本体1内に配置された不図示のモータを駆動する。該モータは、カメラ本体1内に配置された可動部材、例えば、後述するハーフミラーおよびサブミラーの駆動源となる。
4は被写体の輝度を測定(測光)するための測光センサであり、測光結果をマイクロプロセッサ2に出力する。マイクロプロセッサ2は、測光センサ4からの出力を受けて露出値(絞り値やシャッタ速度)の演算を行う。5は撮影光学系の焦点状態を検出するための焦点検出センサであり、位相差検出方式による焦点検出を行う。
6はシャッタ制御回路であり、マイクロプロセッサ2からの制御信号を受けることによりカメラ本体1内に設けられたシャッタユニットの駆動を制御する。これにより、撮影光学系から撮像素子に到達する光量を調節することができる。
8はディスプレイユニットであり、撮像素子から読み出されて生成された画像データを表示したり、特定の情報を表示したりする。9はストロボ制御回路であり、マイクロプロセッサ2からの制御信号を受けることにより、カメラ本体1内に設けられた内蔵ストロボ16の駆動を制御する。
10はカメラ本体1の設定状態等に関する情報を格納するための記憶回路であり、11は撮像素子の駆動を行うための撮像素子駆動回路である。12はカメラ本体1に装着されるレンズ装置と通信を行うためのレンズ通信回路である。マイクロプロセッサ2は、レンズ通信回路12を介してレンズ装置内に設けられた不図示のレンズ制御回路との通信を行うことができる。具体的には、レンズ制御回路は、焦点検出センサ5の検出結果から得られたフォーカスレンズの駆動量に関する情報をマイクロプロセッサ2から受信することにより、レンズ装置内に配置されたフォーカスレンズを光軸方向に移動させる(焦点調節)。また、レンズ制御回路は、絞り値に関する情報をマイクロプロセッサ2から受信すると、絞り制御回路を介して絞りユニットの駆動を制御する。これにより、レンズ装置からカメラ本体1内に取り込まれる光量を調節することができる。
13は、カメラ本体1に装着されるレンズ装置以外のアクセサリ、例えば、照明装置や記録媒体と通信するための通信回路である。
14はSW1であり、撮影準備動作(測光動作や焦点調節動作)を開始させるためのスイッチである。15はSW2であり、撮影動作(撮像素子への露光及び撮像素子から読み
出された画像の記録媒体への記録)を開始させるためのスイッチである。
16は内蔵ストロボであり、外付けの照明ユニットがカメラ本体1に装着されていないときに被写体に対して照明光を照射したり、焦点調節(AF)を行うときに被写体に対してAF補助光を照射したりする。
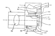
図2から図4は、本実施例であるカメラシステムの概略構成を示す断面図である。ここで、図2は、カメラシステムがOVFモードに設定されている状態を示す図、図3は、カメラシステムがEVFモードに設定されている状態を示す図、図4は、カメラシステムが撮影状態にあるときの図である。
図2から図4において、20はミラーボックスであり、21はハーフミラー(第1のミラー部材)であり、22はハーフミラーレバーである。ハーフミラー21は、ハーフミラーレバー22を介してミラーボックス20に連結されており、ミラーボックス20に対して回動可能となっている。
23はサブミラー(第2のミラー部材)であり、サブミラーレバー23aを介してミラーボックス20に連結されている。サブミラーレバー23aは、ミラーボックス20に形成された回転軸23bを中心に回転することで、サブミラー23を撮影光路内に進入させたり、撮影光路から退避させたりする。
31はCCDやCMOSセンサ等の撮像素子であり、撮影光学系によって形成された光学像を光電変換によって電気信号に変換して蓄積するとともに、蓄積した電荷を読み出す。30は、撮像素子31へ入射する光量を調節するシャッタユニット(フォーカルプレンシャッタ)である。32は、カメラ本体1の外装面に配置されたディスプレイユニットであり、撮影者は、ディスプレイユニット32の表示された画像や特定の情報をカメラ本体1の外部から観察することができる。
40はファインダ光学系であり、ペンタプリズム41、ファインダレンズ42および焦点板43を有している。図2に示す状態において、ハーフミラー21で反射した被写体光は焦点板43上で結像する。また、焦点板43での被写体像は、ペンタプリズム41で正立像に変換される。撮影者は、ファインダレンズ42を介して焦点板43に形成された被写体像を観察することができる。
60は、位相差検出方式による撮影光学系の焦点状態を検出するための焦点検出ユニット(焦点検出手段)である。図2に示すOVFモードにおいては、ハーフミラー21を透過し、サブミラー23で反射された被写体光が焦点検出ユニット60に入射する。また、図3に示すEVFモードにおいては、ハーフミラー21で反射された被写体光が焦点検出ユニット60に入射する。そして、焦点検出ユニット60は、入射された光束に基づいて焦点状態の検出を行う。
50は、カメラ本体1に装着されるレンズ装置であり、撮影レンズ50aを有している。70は、アイピースシャッタであり、ファインダ光学系の光路内に進入したり、上記光路から退避したりする。アイピースシャッタ70がファインダ光学系の光路内に進入しているときには、外部からの光がファインダ光学系を介してカメラ本体1内に入射するのを防止することができる。80は、焦点板43上に特定の情報を表示させるための情報表示ユニットである。
図5から図7および図16は、上述したハーフミラーおよびサブミラーを含むミラーユニットの外観斜視図を示す。図5は、OVFモードに設定されているときのミラーユニッ
トの外観斜視図であり、図6は、EVFモードに設定されているときのミラーユニットの外観斜視図である。図7および図16は、撮影状態にあるときのミラーユニットの外観斜視図である。以下、これらの図を用いてミラーユニットの構成について具体的に説明する。
101はハーフミラーであり、レンズ装置内の撮影レンズから射出された光束のうち一部を反射させるとともに、残りを透過させる。102は、ハーフミラー101を保持するハーフミラー受け板である。ハーフミラー受け板102にはハーフミラー101を露出させるための開口部が形成されている。104は、ハーフミラー押さえ軸であり、ハーフミラー受け板102に対して複数個設けられている。
103は、ハーフミラー101をハーフミラー受け板102に対して固定させるためのハーフミラー押さえバネであり、ハーフミラー押さえ軸104に当接することでハーフミラー101に対して押さえ力を付与するようになっている。ハーフミラー押さえバネ103には、ハーフミラー101を露出させるための開口部が形成されている。ここで、撮影光学系からの光は、ハーフミラー101の露出した領域に到達することで、ハーフミラー101を透過したり、ハーフミラー101の表面で反射したりする。
105はハーフミラー駆動軸であり(図7参照)、ハーフミラー受け板102に対して固定されている。106は、ハーフミラーカム軸であり、ハーフミラー受け板102に固定されている。107はハーフミラー反転軸であり、ハーフミラー受け板102の両側に設けられている。
110は、ハーフミラーホルダーリンクであり、ハーフミラーヒンジ軸120を介して不図示のミラーボックス(図2等のミラーボックス20)に対して回動可能に取り付けられている。また、ハーフミラーホルダーリンク110は、ハーフミラー反転軸107を介してハーフミラー受け板102を回動可能に保持している。
111は、ハーフミラーホルダーリンク110に形成された位置決め部であり(図16参照)、後述する位置決め部材352に当接することで、ハーフミラーホルダーリンク110をEVFモードに対応した位置に保持させる。
108は、ハーフミラー開きバネであり、ハーフミラー受け板102およびハーフミラーホルダーリンク110が所定の状態に保持されるように、ハーフミラー反転軸107を回転中心として、ハーフミラー受け板102とハーフミラーホルダーリンク110(ハーフミラー駆動軸105)にバネ力を付加している。
201は、サブミラー202を保持するサブミラーホルダーである。203はサブミラーカム軸であり、不図示のミラーボックスに設けられているカム部に当接しており、該カム部に沿って移動可能となっている。204はサブミラー開きバネであり、後述するサブミラーレバー210とサブミラーホルダー201との間にバネ力を付加している。
210はサブミラーレバーであり、サブミラーヒンジ軸212を介して不図示のミラーボックスに回動可能に支持されている。また、サブミラーレバー210は、サブミラーホルダヒンジ軸205を介してサブミラーホルダー201を回動可能に保持している。
211はサブミラー駆動軸部材であり、サブミラーレバー210に対して固定されている。213は、サブミラー駆動バネであり、サブミラーヒンジ軸212と同軸上に配置されている。サブミラー駆動バネ213の一端は不図示のミラーボックスに固定され、他端はサブミラー駆動軸部材211に当接している。すなわち、サブミラー駆動バネ213は
、サブミラー駆動軸部材211を介してサブミラーレバー210を図16中矢印A方向(サブミラー202を撮影光路内に進入させる方向)に付勢している。
214は、サブミラーレバー210に形成された位置決め部であり、後述する位置決め部材353に当接することでサブミラーレバー210を特定の位置に保持させる。すなわち、位置決め部214が位置決め部材353に当接することで、サブミラー202が撮影光路内の特定の位置(図2に示す位置)で停止するようになっている。
310はハーフミラー駆動レバーであり、ハーフミラー駆動部317においてハーフミラー受け板102に固定されたハーフミラー駆動軸105と係合している。ハーフミラー駆動レバー310は、ミラーボックスに対して回動可能に取り付けられており、回動動作によってハーフミラー受け板102を動作させる。ハーフミラー駆動レバー310は、図16に示すようにギア部310aを有しており、ギア部310aは後述するミラー駆動ギア312に形成された第1のギア部312aと噛み合っている。
311はサブミラー駆動レバーであり、突起部311aでサブミラー駆動軸部材211の軸部211aに当接可能となっているとともに、ギア部311bで後述するミラー駆動ギア312の第2のギア部312bと噛み合っている(図16参照)。
312はミラー駆動ギアであり、ミラーボックスに対して回動可能に取り付けられている。ミラー駆動ギア312は、ハーフミラー駆動レバー310のギア部310と噛み合う第1のギア部312aと、サブミラー駆動レバー311のギア部311bと噛み合う第2のギア部312bを有している。
313はミラー駆動レバーであり、ミラーボックスに対して回動可能に取り付けられている。ここで、ミラー駆動レバー313は、該回動軸がミラー駆動ギア312の回動軸と同軸上となるように配置されている。
314は吸収バネであり、ミラー駆動ギア312とミラー駆動レバー313の間であって、これらの部材312、313の回動軸上に配置されている。図5に示すように、吸収バネ314の一端314aはミラー駆動ギア312に当接しており、他端314bはミラー駆動レバー313に当接している。これにより、吸収バネ314は、ミラー駆動レバー313が大きな駆動力を受けたときに該力を吸収することができるとともに、ミラー駆動レバー313によってチャージされることでミラー駆動レバー313を元に戻す力、すなわち、後述するようにハーフミラー101を撮影光路内に進入させる力を発生する。
315はミラー駆動バネであり、図7に示すように一端315aが不図示のミラーボックスに当接しているとともに、他端315bがミラー駆動レバー313に当接している。これにより、ミラー駆動バネ315は、ミラー駆動レバー313に対して図5の矢印Y方向(ハーフミラー101を撮影光路から退避させる方向)の付勢力を付与している。
316はミラー駆動レバー313に形成されたミラー駆動レバー入力部である。カメラ本体1内に設けられた不図示のモータからの駆動力が動力伝達機構を介してミラー駆動レバー入力部316に伝達されると、ミラー駆動レバー313は矢印X方向に回動することにより、ミラー駆動バネ315をチャージするとともに、ハーフミラー101を撮影光路内に進入するように駆動する。
318は、ミラー駆動レバー313に形成された当接部であり、後述するシャッタ駆動レバー320の側辺部に当接可能となっている。
319は、ミラー駆動レバー313に形成されたシャッタ保持機構連動部であり、後述するシャッタ保持機構連動レバー360と係合している。シャッタ保持機構連動レバー360は、ミラー駆動レバー313の回動に応じて移動するようになっている。
320はシャッタ駆動レバーであり、不図示のミラーボックスに回動可能に取り付けられている。ここで、シャッタ駆動レバー320は、この回動軸がミラー駆動レバー313の回動軸と同軸上となるように配置されている。321は、シャッタ駆動レバー320に形成されたシャッタ駆動部であり、後述するようにシャッタユニットと係合しており、シャッタユニットにおけるチャージ及びチャージ解除を行う。
322は、シャッタ駆動レバー320に形成されたハーフミラー駆動カムであり、ハーフミラー101の駆動状態に応じてハーフミラーカム軸106に当接可能となっている。そして、後述するようにハーフミラーカム軸106がハーフミラー駆動カム322に沿って移動することで、ハーフミラー101(ハーフミラー受け板102)の光軸に対する傾き角度を変化させることができる。
323はシャッタ駆動バネであり、一端323aが不図示のミラーボックスに当接し、他端323bがシャッタ駆動レバー320に形成された引掛け部320aに当接している。
324は、シャッタ駆動レバー320に形成されたシャッタ駆動レバー入力部である。カメラ本体1内に設けられた不図示のモータからの駆動力が動力伝達機構を介してシャッタ駆動レバー入力部324に伝達されると、シャッタ駆動レバー320は矢印X方向に回動する。これにより、シャッタ駆動バネ323がチャージされるとともに、後述するようにシャッタ駆動部321を介してシャッタユニットのチャージ動作が行われる。
350はミラーボックスに取り付けられたハーフミラー位置決め部材であり(図16参照)、ハーフミラー受け板102と当接することで、ハーフミラー101を図2に示す位置に保持する。351はミラーボックスに取り付けられたハーフミラー位置決め部材であり(図16参照)、ハーフミラー受け板102と当接することで、ハーフミラー101を図3に示す位置に保持する。
352はミラーボックスに取り付けられたハーフミラーホルダーリンク位置決め部材であり(図16参照)、ハーフミラー101が図3に示す状態にあるときに、ハーフミラーホルダーリンク110の位置決め部111と当接する。
353はミラーボックスに取り付けられたサブミラーレバー位置決め部材であり(図16参照)、サブミラー202が図2に示す位置にあるときに、サブミラーレバー210の位置決め部214と当接する。354はミラーボックスに取り付けられたサブミラー位置決め部材であり、サブミラー202が図2に示す位置にあるときに、サブミラーホルダー201と当接する。
なお、上述した位置決め部材350〜354は、ミラーボックスに対する位置が調整可能となっている。
図8及び図9は、シャッタユニット(図2のシャッタユニット30に相当する)を示す外観斜視図である。図8及び図9に示すシャッタユニット400は、複数のシャッタ羽根で構成されたシャッタ先幕(遮光羽根群)411及びシャッタ後幕(遮光羽根群)421を有している。
図9において、412はシャッタ先幕411と連結するシャッタ先駆動レバーであり、422はシャッタ後幕421と連結するシャッタ後駆動レバーである。これらの駆動レバー412、422は、回動動作によってシャッタ先幕411やシャッタ後幕421を重畳させたり、展開させたりする。
また、シャッタユニット400は、シャッタ保持機構401を有している。シャッタ保持機構401は、シャッタ後駆動レバー422と係合することでシャッタ後幕421を重畳状態で保持することができるように構成されている。
430は、シャッタ先幕駆動レバー412及びシャッタ後幕駆動レバー422をチャージ駆動するためのシャッタチャージレバーである。シャッタチャージレバー430は、シャッタ駆動レバー320に形成されたシャッタ駆動部321と係合しており、シャッタ駆動レバー320の回動に応じて動作するようになっている。
413は、チャージされたシャッタ先駆動レバー412を吸着保持する先幕ヨークであり、423は、チャージされたシャッタ後駆動レバー413を吸着保持する後幕ヨークである。
450はシャッタ地板であり、上述したシャッタチャージレバー430、ヨーク413、423やシャッタ保持機構401が取り付けられている。シャッタ地板450には、撮影光束が通過するアパーチャ450aが形成されている。シャッタ先幕411やシャッタ後幕421は、展開状態でアパーチャ450aを通過する撮影光束を遮光し、重畳状態で撮影光束がアパーチャ450aを通過するのを許容する。
シャッタ保持機構401は、以下に説明する部材を有している。
402は、シャッタユニット外部からの駆動力の入力を受けて動作するシャッタ後幕保持レバーであり、403は、シャッタユニット外部からの駆動力が入力されるシャッタ後幕保持駆動レバーである。406はシャッタ保持機構回動軸であり、シャッタ後幕保持レバー402とシャッタ後幕保持駆動レバー403を回動可能に支持する。404はシャッタ保持レバー解除バネであり、405は、シャッタ後幕保持レバー402とシャッタ保持駆動レバー403の間に設けられている吸収バネである。吸収バネ405は、一端がシャッタ後幕保持レバー402に当接しており、他端がシャッタ後幕保持駆動レバー403に当接している。そして、吸収バネ405は、シャッタ後幕保持駆動レバー403のオーバー駆動を許容するためと、シャッタユニットでのチャージ動作の際にシャッタ後幕保持レバー402を退避動作させるために設けられている。
ここで、ハーフミラー101およびサブミラー202が図3に示す状態にあるとき、シャッタ後幕保持レバー402およびシャッタ後幕保持駆動レバー403は、外部からの駆動力の入力を受けて一体的に駆動され、シャッタ後幕駆動レバー422と係合することによりシャッタ後幕421を重畳状態で保持させる。
次に、図5から図7を用いて、ハーフミラー101およびサブミラー202を含むミラーユニットの状態について説明する。
図5は、カメラシステムがOVFモードに設定されているときのミラーユニットの状態(第1の光路分割状態)を示す図であり、上述した図2に示す状態に対応している。
第1の光路分割状態において、ハーフミラー101は、撮影光学系(撮影レンズ50a)から撮像素子31に向かう撮影光路上に配置されており、撮影光学系からの光束のうち
一部を反射させるとともに、残りを透過させる。ハーフミラー101で反射した光束は、図2に示すようにカメラ本体1の上方に配置されたファインダ光学系40に導かれる。
一方、ハーフミラー101に対して像面側にはサブミラー202が配置されており、ハーフミラー101を透過した光束を反射させて、カメラ本体1の下側に配置された焦点検出ユニット60に導く。
また、第1の光路分割状態では、ミラー駆動レバー313及びシャッタ駆動レバー320のそれぞれが、ミラー駆動バネ315及びシャッタ駆動バネ323をチャージしている。ハーフミラー受け板102は、吸収バネ314の付勢力を受けたハーフミラー駆動レバー310によって、ハーフミラー位置決め部材350に当接した状態で保持される。
また、サブミラーレバー210は、サブミラー駆動バネ213の付勢力を受けることで位置決め部214においてサブミラーレバー位置決め部材353に当接している。また、サブミラーホルダー201は、サブミラー開きバネ204の付勢力を受けることでサブミラー位置決め部材354に当接している。
図6は、カメラシステムがEVFモードに設定されているときのミラーユニットの状態(第2の光路分割状態、透過/反射状態)を示す図であり、上述した図3に示す状態に対応している。
第2の光路分割状態において、サブミラー202は撮影光路から退避している。また、ハーフミラー101は、この反射面の位置が第1の光路分割状態にあるサブミラー202の反射面の位置と同じとなるように配置されている。
これにより、撮影光学系(撮影レンズ50a)からの光束のうち一部の光束はハーフミラー101で反射してミラーボックス下部の焦点検出ユニット60に導かれ、残りの光束はハーフミラー101を透過して像面側に向かう。
第2の光路分割状態において、ハーフミラーホルダーリンク110は、位置決め部111でハーフミラーホルダーリンク位置決め部材352に当接し、ハーフミラー受け板102はハーフミラー位置決め部材351に当接している。これにより、ハーフミラー101は、図6に示す状態に保持される。
また、シャッタ駆動レバー320は、シャッタユニットでのチャージを解除した状態で保持されている。そして、ミラー駆動レバー313は、図5で示したミラー駆動レバー313のチャージ量よりも大きな量だけ駆動(回動)されて保持されている。
図7は、カメラシステムが撮影モードに設定されているときのミラーユニットの状態(第3の光路分割状態、退避状態)を示す図であり、上述した図4に示す状態に対応している。
第3の光路分割状態において、ハーフミラー101およびサブミラー202は撮影光路から退避している。これにより、撮影光学系からの光は直接撮像素子に向かうようになっている。
ここで、ミラー駆動レバー313及びシャッタ駆動レバー320は、外部からの駆動力を受けていないため、ミラー駆動バネ315及びシャッタ駆動バネ323の付勢力を受けることで矢印Y方向に回動して、特定の位置で停止している。
図10から図15は、ミラーユニットが第1から第3の光路分割状態にあるときのミラーユニットおよびシャッタユニットの外観斜視図を示している。具体的には、図10及び図11は、ミラーユニットが第1の光路分割状態にあるときの図であり、図12及び図13は、ミラーユニットが第2の光路分割状態にあるときの図であり、図14及び図15は、ミラーユニットが第3の光路分割状態にあるときの図である。
図10及び図11に示す第1の光路分割状態では、上述したように撮影光学系からの光束のうち一部の光束がファインダ光学系に導かれるとともに、残りの光束が焦点検出ユニットに導かれる。
このとき、シャッタユニット400におけるシャッタ先幕411およびシャッタ後幕421はチャージ動作が完了した撮影準備状態にあり、具体的にはシャッタ先幕411が展開状態にあり、シャッタ後幕421が重畳状態にある。ここで、展開状態にあるシャッタ先幕411は、シャッタユニット400のアパーチャ450aを塞いでいるため、撮影光学系からの光束は撮像素子には到達しない。
図12及び図13に示す第2の光路分割状態では、上述したように撮影光学系からの光束のうち一部の光束が焦点検出ユニットに導かれるとともに、残りの光束が像面側に向かうようになっている。
ここで、シャッタユニット400において、シャッタ先幕411はチャージ状態の解除によって重畳状態にあり、シャッタ後幕421はチャージ状態が保持されて重畳状態にある。このとき、シャッタ後幕保持レバー402は、シャッタ後駆動レバー422と係合している。
シャッタ先幕411の重畳動作によってシャッタユニット400のアパーチャ450aは開き状態となり、撮影光学系からの光束が撮像素子に到達することになる。
撮像素子で蓄積された電荷は、所定の周期で読み出され、所定の処理が施された後に、カメラ本体1に設けられたディスプレイユニットで表示される。これにより、撮影者はディスプレイユニットでの表示を見ながら撮影構図を決定することができる。
図14及び図15に示す第3の光路分割状態では、上述したように撮影光学系からの光束が直接像面側に向かうようになっている。
図14及び図15では、撮影動作を行う前の状態を示しており、シャッタ先幕411が展開状態にあるとともに、シャッタ後幕421が重畳状態にある。すなわち、シャッタユニット400のアパーチャ450aはシャッタ先幕411で塞がれているため、撮影光学系からの光は撮像素子には到達しないようになっている。
ここで、カメラ本体1に設けられたレリーズボタンの全押し操作によってSW2がオン状態になることで、撮影動作の開始が指示されると、まずシャッタ先幕411の駆動が開始される。具体的には、図14および図15に示す展開状態にあるシャッタ先幕411が重畳し始める。シャッタ先幕411が重畳状態となってから所定時間が経過すると、重畳状態あるシャッタ後幕421の駆動が開始される。これにより、シャッタ後幕421は、展開状態となり、シャッタユニット400のアパーチャ450aを塞ぐことになる。上述したシャッタ先幕411が重畳状態となってからシャッタ後幕421が展開状態になるまでの間、撮影光学系からの光束が撮像素子に到達する。
次に、図17から図23(図16を除く)を用いて、ミラーユニットの動作について説
明する。
まず、図17から図19を用いて、ミラーユニットが第1の光路分割状態から第3の光路分割状態に移行するときの動作について説明する。
図17は、第1の光路分割状態にあるときのミラーユニットおよびシャッタユニットの外観斜視図である。図18は、第1および第3の光路分割状態間の切り換わり途中の状態にあるときのミラーユニットおよびシャッタユニットの外観斜視図である。図19は、第3の光路分割状態にあるときのミラーユニットおよびシャッタユニットの外観斜視図である。ここで、図17〜図19は、ミラーユニットおよびシャッタユニットを被写体側から見たときの図である。
まず、図17に示す第1の光路分割状態では、図5や図10を用いて説明したように、ミラー駆動レバー313及びシャッタ駆動レバー320が外部からの駆動力を受けて図5の矢印X方向に回動することで、ミラー駆動バネ315やシャッタ駆動バネ323をチャージしている。
このとき、ハーフミラー駆動レバー310に形成されたハーフミラー駆動部317にはハーフミラー駆動軸105が係合している。また、ハーフミラー受け板102は、吸収バネ314の付勢力を受けることで、ハーフミラー位置決め部材350に当接している。
また、ハーフミラーカム軸106はハーフミラーホルダーリンク110に当接している。これにより、ハーフミラー受け板102とハーフミラーホルダーリンク110の間の角度を安定させることができる。そして、ハーフミラー受け板102をハーフミラー位置決め部材350に当接させることで、ハーフミラー101を第1の光路分割状態に応じた位置(撮影光学系からの光をファインダ光学系系に反射させる位置)に維持させることができる。
一方、サブミラー駆動軸部材211に対しては直接外部からの駆動力が付加されず、また、軸部211aがサブミラー駆動レバー311の突起部311aと当接していないため、サブミラー駆動レバー311からの駆動力も付加されない状態となっている。
したがって、サブミラー駆動レバー210は、サブミラー駆動バネ213の付勢力を受けて位置決め部214でサブミラーレバー位置決め部材353に当接している。また、サブミラーホルダー201がサブミラー開きばね204の付勢力を受けてサブミラー位置決め部材354に当接している。
また、シャッタユニット400においては、シャッタ駆動レバー320に形成されたシャッタ駆動部321がシャッタチャージレバー430を駆動(回動)させることで、シャッタ先駆動レバー412及びシャッタ後駆動レバー422をチャージ状態としている。このとき、シャッタ先幕411は展開状態にあり、シャッタ後幕421は重畳状態にある。
図17に示す状態にあるハーフミラー101を撮影光路から退避させるときには、ミラー駆動レバー313及びシャッタ駆動レバー320に付加されていた駆動力が解除され、ミラー駆動レバー313及びシャッタ駆動レバー320は、ミラー駆動バネ315及びシャッタ駆動バネ323の付勢力を受けることで図5の矢印Y方向に回動する。
これにより、ハーフミラー101及びサブミラー202は、図18に示すように撮影光路から退避するようになる。すなわち、ハーフミラー駆動レバー310がハーフミラー駆動部317を介してハーフミラー駆動軸105を移動させることにより、ハーフミラー1
01をカメラ本体1の上方(ファインダ光学系側)に向かって移動させる。また、サブミラー駆動レバー311が突起部311aを介してサブミラー駆動軸部材211の軸部211aを押し込むことにより、サブミラー駆動軸部材211を回動させるとともに、サブミラーレバー210を回動させ、サブミラー202をカメラ本体1の下方(ミラーボックスの下部側)に向かって移動させる。
ミラーユニットが第1の光路分割状態から第3の光路分割状態に移行する間、シャッタ先駆動レバー412及びシャッタ後駆動レバー422は先幕ヨーク413および後幕ヨーク423に吸着保持されており、チャージされた状態のままとなっている。したがって、シャッタ先幕411は展開状態のままであり、シャッタ後幕421は重畳状態のままとなっている。
そして、図19に示すように、ハーフミラー101及びサブミラー202は撮像光路から完全に退避して第3の光路分割状態となる。
図19に示す第3の光路分割状態において、マイクロプロセッサ2はシャッタ制御回路6の駆動を制御することによって、シャッタ先駆動レバー412およびシャッタ後駆動レバー422の吸着保持を順次解除させる。これにより、上述したようにシャッタ先幕411およびシャッタ後幕421の走行動作が順次行われ、撮像素子への露光が行われる。そして、図20に示す状態となる。
ここで、第3の光路分割状態から第1の光路分割状態への切り換え動作は、上述した説明の動作と逆の動作となる。
すなわち、第3の光路分割状態から第1の光路分割状態への切り換え動作が開始されると、第3の光路分割状態におけるシャッタ駆動レバー320に対して駆動力が付加される。これにより、シャッタ駆動レバー320が図5の矢印X方向に回動し、ミラー駆動レバー313に設けられているシャッタ駆動レバー連動部318に当接する。そして、シャッター駆動レバー320が更に回動することで、ミラー駆動レバー313も回動することになる。
このとき、ハーフミラー駆動カム322はハーフミラーカム軸106を駆動しないため、ハーフミラー受け板102はハーフミラー開きバネ108によってハーフミラーホルダーリンク110に対する所定の角度を保ったまま撮影光路内に進入する。そして、ハーフミラー受け板102に当接することで、図17に示す状態となる。これにより、ファインダ光学系を介して被写体像を観察できるようになる。
また、シャッタ駆動レバー320に設けられたシャッタ駆動部321によってシャッタチャージレバーが駆動され、シャッタ先幕411及びシャッタ後幕421はチャージ状態となる。
次に、図19および図21〜図23を用いて、ミラーユニットを第3の光路分割状態から第2の光路分割状態に移行させる際の動作について説明する。ここで、図21および図22は、第2の光路分割状態および第3の光路分割状態間の途中状態にあるときのミラーユニットおよびシャッタユニットの外観斜視図である。また、図23は、第2の光路分割状態にあるときのミラーユニットおよびシャッタユニットの外観斜視図である。図21〜図23においては、被写体側から見たときの図を示している。
図19に示す第3の光路分割状態において、ミラー駆動レバー313は外部からの駆動力を受けておらず、ミラー駆動バネ315の付勢力を受けることで図7に示す状態にとな
っている。ミラーユニットを第3の光路分割状態から第2の光路分割状態に切り換えるときには、ミラー駆動レバー313のミラー駆動レバー入力部316に対して外部からの駆動力が付加される。
ミラー駆動レバー入力部316に対して外部からの駆動力が付加されると、ミラー駆動レバー313が図5の矢印X方向に回動することにより、ミラー駆動バネ315がチャージされるとともに、吸収バネ314を介してミラー駆動ギア312が図5の矢印X方向に回動する。
ここで、ミラー駆動レバー313およびミラー駆動ギア312は、吸収バネ314を介して連結されているため、ミラー駆動ギア312が停止するまでミラー駆動レバー入力部316に対して駆動力が入力される。
ミラー駆動ギア312は、上述したように第1のギア部312aを介してハーフミラー駆動レバー310(ギア部310a)に接続されているとともに、第2のギア部312bを介してサブミラー駆動レバー311(ギア部311b)に接続されている。このため、ミラー駆動ギア312が回動することで、ハーフミラー駆動レバー310およびサブミラー駆動レバー311が回動することになり、ハーフミラー101およびサブミラー202の駆動が行われることになる。
ハーフミラー駆動レバー310の回動によってハーフミラー駆動軸105が移動すると、ハーフミラーカム軸106がハーフミラー駆動カム322に当接する。そして、ハーフミラー駆動レバー310がハーフミラー駆動軸105を移動させるとともに、ハーフミラーカム軸106がハーフミラー駆動カム322に沿って移動することで、ハーフミラー受け板102のハーフミラーホルダーリンク110に対する角度が変化する。
ここで、ハーフミラー受け板102のハーフミラーホルダーリンク110に対する回転量が、ハーフミラーホルダーリンク110の回転量よりも大きくなると、ハーフミラー101は、図21に示す状態を経て図22に示すように反射面が撮影光軸に対して略直交するようになる。
このとき、ハーフミラーカム軸106はハーフミラー駆動カム322に沿って移動し、ハーフミラー101(ハーフミラー受け板102)のミラー先端側は、ハーフミラー位置決め部材350よりもハーフミラーヒンジ軸120側を移動するようになる。このため、ハーフミラー受け板102がハーフミラー位置決め部材350と接することが無く、ハーフミラー受け板102をスムーズに動作させることができる。
図22に示す状態からハーフミラー受け板102がさらに回動すると、図23に示す状態となる。
図23で示す第2の光路分割状態において、ミラー駆動レバー313は、ハーフミラー101を作動させる作動量よりも多く駆動されており、吸収バネ314がチャージされる。このとき、吸収バネ314は、ミラー駆動レバー313のオーバーチャージ量を吸収することになる。
吸収バネ314のチャージによって発生したミラー駆動ギア312の回転力は、ハーフミラー駆動レバー310を介してハーフミラー受け板102に伝達されている。これにより、ハーフミラー受け板102は、ハーフミラー位置決め部材351に当接した状態で保持され、ハーフミラーホルダーリンク110は位置決め部111でハーフミラーホルダーリンク位置決め部材352に当接した状態で保持される。
図23に示す第2の光路分割状態において、ハーフミラー受け板102はハーフミラー位置決め部材351に当接しており、ハーフミラーホルダーリンク110は位置決め部111においてハーフミラーホルダーリンク位置決め部材352に当接している。これにより、ハーフミラー101は、第2の光路分割状態に対応した位置(撮影光学系からの光束を焦点検出ユニットに反射させる位置)に保持される。
また、ハーフミラーカム軸106は、ハーフミラー駆動カム322から離れた状態となっている。これにより、第2の光路分割状態におけるハーフミラー101の位置及び角度に影響が与えないようにしている。
一方、ミラー駆動ギア312の回転に応じてサブミラー駆動レバー311は、突起部311aがサブミラー駆動軸部材211の軸部211aから離れるように回動する。ここで、サブミラー駆動軸部材211の軸部211aには、外部からの駆動力が付与されることで、サブミラー202は撮影光路から退避した状態となる。
そして、シャッタ駆動レバー320を駆動することで、不図示のシャッタユニットでのチャージを行った後、シャッタ先幕411を重畳させることで、撮影光学系からの光束を撮像素子に到達させる。これにより、撮像素子で読み出された画像データがディスプレイユニットで表示されるようになる。
ここで、ミラー駆動レバー313の駆動中に、シャッタ駆動レバー320の駆動を開始させることでシャッタ先駆動レバー412およびシャッタ後駆動レバー422をチャージし、ミラー駆動レバー313の駆動完了直前にシャッタ駆動レバー320を解除するように構成されている。
これにより、シャッタ駆動レバー320による駆動レバー412、422のチャージは解除されるが、駆動ユニットと連動して駆動されるシャッタ保持機構連動レバー360によってシャッタ保持機構401が駆動されているため、シャッタ後幕保持レバー402による係合よってシャッタ後駆動レバー422がチャージ状態に保持され、シャッタ後幕421は重畳状態のままとなる。
これにより、ハーフミラー101を透過した光は、シャッタ400のアパーチャ450aを通過して撮像素子に到達する。
一方、第2の光路分割状態から第3の光路分割状態への切り換え動作は、上述した動作と逆の動作となる。
まず、図23に示す状態において、開放状態にあるシャッタユニットを閉じ状態とする。そして、シャッタユニットを閉じ状態としたまま、シャッタ駆動レバー320に対する駆動力の入力を解除する。その後、ミラーユニットの動作を行う。
ミラーユニットの動作は、ミラー駆動レバー313のミラー駆動レバー入力部316に付加していた駆動力を解除することにより、ミラー駆動レバー313をミラー駆動バネ315の付勢力によって回動させる。これにより、ハーフミラーユニット101及びサブミラー202の駆動が開始される。
ここで、シャッタ駆動レバー320には駆動力が入力されていないため、ハーフミラー101の作動時に、ハーフミラーカム軸106はハーフミラー駆動カム322に当接しながら移動する。これにより、ハーフミラー受け板102は、ハーフミラー位置決め部材3
50を回避して作動する。実際の動作としては、図23から図21に示す状態を経て、図19に示す状態となる。
一方、図6及び図23に示す第2の光路分割状態では、ミラー駆動レバー313およびシャッタ駆動レバー320のうちミラー駆動レバー313のみを駆動させている。
ここで、ミラー駆動レバー313は、シャッタ駆動レバー連動部318を介してシャッタ駆動レバー320からの駆動を受けることで動作するように構成されているが、シャッタ駆動レバー320はミラー駆動レバー313に連動して動作しないように構成されている。
これにより、EVFモードではシャッタ駆動レバー320の駆動は自由に行うことができるため、シャッタ駆動レバー320によるシャッタチャージや、露光動作を繰り返すことができ、ミラーユニットを駆動することなく第2の光路分割状態のままで撮像動作を行うことができる。
上述した説明では、第1および第3の光路分割状態間の切り換え動作や、第2および第3の光路分割状態間の切り換え動作について説明したが、第1〜第3の光路分割状態のうち2つの光路分割状態間の切り換え動作は以下に説明するようになる。
<OVFモードから撮影動作を行う場合>
EVFモード(第1の光路分割状態)にて被写体像を観察しているときに、SW2のオンによる撮影動作の開始が指示されると、ミラーユニットは図17に示す状態から図18に示す状態を経て図19に示す状態となる。そして、図19に示す状態において、シャッタユニット400におけるシャッタ先幕411およびシャッタ後幕421の走行動作が順次開始されることで、撮像素子への露光が行われる。
そして、露光動作が終了すると、図19に示す状態にあるミラーユニットは図18に示す状態を経て図17に示す状態に戻る。これにより、撮影者はファインダ光学系を介して被写体像を観察することができる。
<EVFモードから撮影動作を行う場合>
EVFモード(第2の光路分割状態)にて被写体像を観察しているときに、SW2のオンによる撮影動作の開始が指示されると、図23に示す状態にあるミラーユニットは図22および図21に示す状態を経て図19に示す状態となる。そして、図19に示す状態において、シャッタユニット400におけるシャッタ先幕411およびシャッタ後幕421の走行動作が順次開始されることで、撮像素子への露光が行われる。
そして、露光動作が終了すると、図19に示す状態にあるミラーユニットは図21および図22に示す状態を経て図23に示す状態に戻る。これにより、撮影者はディスプレイユニットを介して被写体像を観察することができる。
<OVFモードからEVFモードへの切り換え動作>
OVFモードからEVFモードへの切り換えを行う場合には、まず、図17に示す状態にあるミラーユニットを図18に示す状態を経て図19に示す状態に移行させて、第3の光路分割状態とする。その後、図19に示す状態にあるミラーユニットを図21および図22に示す状態を経て図23に示す状態とする。これにより、OVFモードからEVFモードへの切り換え動作が完了し、撮影者はディスプレイユニットを介して被写体像を観察することができる。
<EVFモードからOVFモードへの切り換え動作>
EVFモードからOVFモードへの切り換えを行うためには、まず、図23に示す状態にあるミラーユニットを図22および図21に示す状態を経て図19に示す状態に移行させて、第3の光路分割状態とする。その後、図19に示す状態にあるミラーユニットを図18に示す状態を経て図17に示す状態とする。これにより、EVFモードからOVFモードへの切り換え動作が完了し、撮影者はファインダ光学系を介して被写体像を観察することができる。
ここで、本実施例では、OVFモードおよびEVFモード間での切り換え動作を行うときに、ミラーユニットを第3の光路分割状態を経るようにしている。これは、第1および第2の光路分割状態間でミラーユニットを直接変化させたときには、ハーフミラー101の動作がハーフミラー位置決め部材350によって妨げられてしまうからである。
次に、上述した構成のカメラシステムにおけるファインダモード切り換え動作について図24を用いて説明する。
ステップS100において、マイクロプロセッサ2は、現在設定されているファインダモードを検出し、カメラ本体に設けられたファインダモード切り換えスイッチの操作によってOVFモードからEVFモードへの切り換えが指示されたときにはステップS110へ進む。一方、EVFモードからOVFモードへの切り換えが指示されたときにはステップS200へ進む。
まず、OVFモードからEVFモードに切り換える場合について説明する。OVFモードにおいては、ハーフミラー101およびサブミラー202が第1の光路分割状態(図2、図5)にある。EVFモードではファインダ光学系に物体光を導かないため、ステップS110において、アイピースシャッタ70を閉じ状態とする。すなわち、マイクロプロセッサ2は、不図示のアイピースシャッタ駆動回路の駆動を制御することによって、アイピースシャッタ70をファインダ光学系の光路内に進入させる。
これはファインダ光学系を介して物体像を観察できないのを使用者が故障と誤解しないようにするためと、カメラ外部の光がファインダ光学系の接眼部からカメラ本体1内に入り込み、撮像素子31に到達することでゴーストが発生するのを防ぐためである。
ステップS120では、光学ファインダ内情報表示ユニット80の駆動を停止させることで光学ファインダ視野内での表示を非表示状態とする。ここで、アイピースシャッタ70はステップS110での処理によってすでに閉じ状態となっているため、光学ファインダ視野内に特定の情報を表示させても、該情報を撮影者は見ることができない。したがって、光学ファインダ内情報表示ユニット80の駆動を停止させることで、カメラシステム内での不要な電力消費を抑制し、電池の消耗を抑制することができる。
ステップS130では、ハーフミラー101の第2の光路分割状態への移動に備えて、サブミラー202をミラーボックス下部に退避させるとともに、ハーフミラー101を第3の光路分割状態に駆動する。
ステップS150では、ハーフミラー101を第2の光路分割状態に駆動するとともに、シャッタ保持機構401を駆動させている。これにより、撮影光学系からの光束のうち一部の光束は、ハーフミラー101で反射して焦点検出ユニット60に導かれる。
本実施例において、上述動作はミラー駆動レバー313及びシャッタ駆動レバー320を駆動することによって行っている。まず、ミラー駆動レバー313を駆動することによ
り、ハーフミラー101及びサブミラー202の駆動を行う。そして、ミラー駆動レバー313を所定量駆動させた後、シャッタ駆動レバー320を駆動することにより、シャッタユニット400でのチャージ動作を開始させる。
ミラー駆動レバー313の駆動により、ハーフミラー101及びサブミラー202の駆動が行われるとともに、シャッタ保持機構連動レバー360の駆動が行われ、シャッタ保持機構401の駆動が行われる。
本実施例では、ミラー駆動レバー313によるハーフミラー101及びサブミラー202の駆動が完了する前に、シャッタ保持機構401の駆動が完了するように構成されている。そして、ミラー駆動レバー313の駆動が完了する前に、シャッタチャージが完了し、シャッタチャージ解除動作が行われるように構成されている。
シャッタチャージを解除することにより、シャッタユニット400のシャッタ先幕411及びシャッタ後幕421のうちシャッタ先幕411のチャージ状態は解除される。一方、シャッタ後幕421については、シャッタ保持機構401が駆動されているため、すなわち、シャッタ後幕保持レバー402がシャッタ後駆動レバー422と係合しているため、チャージ状態で保持される。これにより、シャッタユニット400は開放状態となる。
このように、ミラーユニット第2の光路分割状態への駆動完了とともにシャッタチャージを解除することにより、シャッタ後幕421が重畳状態に保持され、シャッタユニット400は開放状態となる。
第2の光路分割状態では、撮影レンズ50aからの光束がハーフミラー21を透過して撮像素子31に到達するため、ハーフミラー21を透過した光束が撮像素子31上で形成する物体像のピント位置は、ハーフミラー21を透過しないで撮像素子31に到達する場合に比べて若干ずれる。
このため、ステップS170では、上述したピント位置のずれを補正するためにピント補正モードを起動する。
本実施例において、焦点検出ユニット60から出力される焦点検出信号は、第3の光路分割状態において撮影レンズ50aからの光束が撮像素子31に直接到達したときのピント状態を示すようになっている。これに対して、第2の光路分割状態においてピント補正モードが設定されているときには、撮影レンズ50aからの光束がハーフミラー21を透過して撮像素子31に到達したときのピント状態を示すように、上記焦点検出信号を補正している。このため、第2の光路分割状態における撮影光学系内のフォーカスレンズの合焦位置は、第1および第3の光路分割状態での合焦位置に対して焦点検出信号を補正した分だけずれることになる。
したがって、EVFモードにおいてSW2をオンにして撮影動作を行う場合、すなわち、光路分割系を第2の光路分割状態から第3の光路分割状態に切り換える場合には、シャッタユニット30の先幕駆動機構のチャージとともに、フォーカスレンズの位置を上述したずれの分だけ補正する。すなわち、フォーカスレンズを、第2の光路分割状態での合焦位置から第3の光路分割状態での合焦位置に移動させる。この後、シャッタユニット113を所定時間だけ開き状態とすることで、撮像素子31による撮像動作を行う。
上述したように構成することで、EVFモード(第2の光路分割状態)においてはディスプレイユニット32でピントのあった画像を確認することができ、第3の光路分割状態で撮影を行ったときにもピントのあった撮影画像を得ることができる。
ステップS180では、ディスプレイユニット32の電源を投入する。ステップS190では、撮影光学系によって形成された物体像に対して撮像素子31による撮像動作を連続的に行い、撮像素子31から読み出されて画像処理された画像データをディスプレイユニット32上でリアルタイム表示させる。そして、OVFモードからEVFモードへの切り換え動作を終了する。
次に、EVFモードからOVFモードへ切り換えるために、ステップS100からステップS200へ移行した場合について説明する。
EVFモードにおいては、ハーフミラー101およびサブミラー202が第2の光路分割状態にあり、ディスプレイユニット32においてリアルタイム表示が行われている。
ステップS200では、ディスプレイユニット32の駆動を停止させるとともに、撮像素子31による撮像動作を停止させる。
ステップS210では、シャッタ30のシャッタ後幕を重畳状態で保持させたままシャッタチャージ動作を行い、撮影に備えてシャッタ先幕駆動レバー412およびシャッタ後幕駆動レバー422をチャージすることで、シャッタを閉じ状態とする。ステップS220では、EVFモードにおいて設定されているピント補正モードをオフとする。
ステップS230では、ミラー駆動レバー313及びシャッタ駆動レバー320を駆動することにより、ハーフミラー101及びサブミラー202を、第2の光路分割状態から第3の光路分割状態に駆動する。
ステップS240では、ミラー駆動レバー313及びシャッタ駆動レバー320を駆動することで、ハーフミラー101及びサブミラー202を、第3の光路分割状態から第1の光路分割状態に駆動する。本実施例において、ミラー駆動レバー313は、シャッタ駆動レバー320に連動して駆動されるように構成されており、シャッタ駆動レバー320を所定量、駆動することにより、第1の光路分割状態に設定することができる。
ステップS250では、ファインダ光学系の光路内に進入しているアイピースシャッタ70を上記光路から退避させて、開き状態とする。
ステップS260において、マイクロプロセッサ2は光学ファインダ内情報表示ユニット80を起動させて、ファインダ内情報表示を表示状態(点灯)とする。そして、EVFモードからOVFモードへの切り換え動作を終了する。
本実施例では、撮像画像をディスプレイユニット32で表示させる場合、すなわちEVFモードの場合には、ハーフミラー101およびサブミラー202が第2の光路分割状態となっており、撮影レンズ50aからの光束を焦点検出ユニット60に導いている。これにより、EVFモードのときにも、焦点検出ユニット60での位相差検出方式による焦点検出に基づいて、高速な焦点調節動作を行わせることができる。
次に、本発明の実施例2であるカメラシステムについて説明する。本実施例では、実施例1のカメラシステムにおいて、シャッタユニットの動作を変更した実施例となるため、以下、実施例1と異なる点について説明する。
図25から図30は、本実施例におけるシャッタユニットの主要部分の構成を示す図で
ある。
図25は、シャッタ先幕およびシャッタ後幕が走行完了状態にあるときのシャッタユニットの正面図であり、図26は、図25に示す状態にあるときのシャッタユニットの部分構成図である。図27は、シャッタ後幕のみがチャージ状態にあるときのシャッタユニットの正面図であり、図28は、図27に示す状態にあるときのシャッタユニットの部分構成図である。図29は、シャッタ先幕及びシャッタ後幕がチャージ状態にあるときのシャッタ装置の正面図であり、図30は図29に示す状態にあるときのシャッタユニットの部分構成図である。
図25から図30において、411はシャッタ先幕、412はシャッタ先駆動レバー、421はシャッタ後幕、422はシャッタ後駆動レバーである。440はシャッタチャージレバー(駆動部材)であり、シャッタ先駆動レバー412及びシャッタ後駆動レバー422と係合して、これらの駆動レバー412、422のチャージ動作を行う。
441は、シャッタチャージレバー440に形成された先駆動レバー駆動部であり、シャッタ先駆動レバー412に設けられた被駆動部412aと当接可能となっている。442は、シャッタチャージレバー440に形成された後駆動レバー駆動部であり、シャッタ後駆動レバー422に設けられた被駆動部422aと当接可能となっている。
本実施例のシャッタユニットにおいて、チャージレバー440は、駆動レバー412、422のチャージを解除する状態(図26)と、シャッタ後駆動レバー422だけをチャージする状態(図28)と、駆動レバー412、422をチャージさせる状態(図30)との間で切り換わるようになっている。
本実施例のシャッタユニットを、実施例1で説明したカメラ本体内に設けた場合、ミラーユニットが第1の光路分割状態にあるときに、シャッタユニットを図29に示す状態とする。これにより、OVFモードに対応した状態とすることができる。また、ミラーユニットが第2の光路分割状態にあるときには、シャッタユニットを図27に示す状態とする。これにより、シャッタユニットを開放状態として、EVFモードに対応した状態とすることができる。
ミラーユニットが第3の光路分割状態にあるときには、シャッタ先駆動レバー412及びシャッタ後駆動レバー422を保持した状態で、シャッタチャージレバー440を図25及び図26で示すチャージ解除状態に駆動して、順次、駆動レバー412、422の保持を解除することで、シャッタ幕の走行を行い図25及び図26の状態となる。
上述した実施例においては、レンズ装置およびカメラ本体からなるカメラシステムについて説明したが、レンズ装置が一体となっているものでも適用でき、また、撮像機能を有する光学機器にも適応できる。
また、上述した実施例では、ミラーユニットを第1の光路分割状態から第2のコロ光路分割状態に移行させるのに連動させてシャッタユニットを開放状態とさせる構成について説明したが、ミラーユニットおよびシャッタユニット間の連動機構については、本実施例で説明した構成に限られず、他の機構による連動、電気的な連動等によって行うようにしてもよい。
実施例1のカメラ本体の電気的構成を示すブロック図。 OVFモードにおけるカメラシステム内の構成図。 EVFモードにおけるカメラシステムの構成図。 撮影モードにおけるカメラシステムの構成図。 OVFモードにおけるミラーユニットの外観斜視図。 EVFモードにおけるミラーユニットの外観斜視図。 撮影モードにおけるミラーユニットの外観斜視図。 物体側から見たときのシャッタユニットの外観斜視図。 像面側から見たときのシャッタユニットの外観斜視図。 OVFモードにおけるシャッタユニット及びミラーユニットの外観斜視図。 OVFモードにおけるシャッタユニット及びミラーユニットの外観斜視図。 EVFモードにおけるシャッタユニット及びミラーユニットの外観斜視図。 EVFモードにおけるシャッタユニット及びミラーユニットの外観斜視図。 撮影モードにおけるシャッタユニット及びミラーユニットの外観斜視図。 撮影モードにおけるシャッタユニット及びミラーユニットの外観斜視図。 ミラーユニットの外観斜視図。 OVFモードにおけるミラーユニット及びシャッタユニットの外観斜視図。 OVFモード及び撮影モード間の切り換え途中の状態にあるミラーユニット及びシャッタユニットの外観斜視図。 撮影モードにおけるミラーユニット及びシャッタユニットの外観斜視図。 撮影モードにおけるミラーユニット及びシャッタユニットの外観斜視図。 EVFモード及び撮影モード間の切り換え途中の状態にあるミラーユニット及びシャッタユニットの外観斜視図。 EVFモード及び撮影モード間の切り換え途中の状態にあるミラーユニット及びシャッタユニットの外観斜視図。 EVFモードにおけるミラーユニット及びシャッタユニットの外観斜視図。 ファインダモードの切り換え動作を示すフローチャート。 閉じ状態にあるシャッタユニットの正面図。 閉じ状態にあるシャッタユニットの部分構成図。 開き状態にあるシャッタユニットの正面図。 開き状態にあるシャッタユニットの部分構成図。 閉じ状態にあるシャッタユニットの正面図。 閉じ状態にあるシャッタユニットの部分構成図。
符号の説明
1:カメラ本体
21:ハーフミラー
23:サブミラー
30:シャッタユニット
31:撮像素子
32:ディスプレイユニット
40:ファインダ光学系
50:レンズ装置
60:焦点検出ユニット
101:ハーフミラー
400:シャッタユニット
411:シャッタ先幕
421:シャッタ後幕

Claims (5)

  1. 撮影レンズからの光束により形成された被写体像を光電変換する撮像素子と、
    前記光束を用いて被写体像の観察を可能とするファインダ光学系と、
    前記光束を用いて前記撮影レンズの焦点状態を検出する焦点検出手段と、
    前記光束を前記ファインダ光学系および前記焦点検出手段に向けて反射する第1の状態と前記光束を前記撮像素子に向かわせる第2の状態とに切り換え駆動されるミラーユニットと、
    前記光束を前記撮像素子に到達させる開き状態と、前記光束の前記撮像素子への到達を抑制する閉じ状態とで駆動されるシャッタユニットとを有し、
    前記ミラーユニットの第1の状態から第2の状態への切り換え駆動に連動させて前記シャッタユニットを開き状態とすることを特徴とする撮像装置。
  2. 前記シャッタユニットは、前記光束が通過する開口部に対して重畳および展開動作する第1および第2の遮光羽根群を有し、
    前記第1及び第2の遮光羽根群のうち一方の遮光羽根群に対して係合可能な保持機構を有しており、
    前記ミラーユニットが第1の状態から第2の状態に切り換わるときに、前記第1及び第2の遮光羽根群のうち展開状態にある遮光羽根群を重畳させるとともに、重畳状態にある遮光羽根群を前記保持機構によって重畳状態に保持させることを特徴とする請求項1に記載の撮像装置。
  3. 前記シャッタユニットは、前記光束が通過する開口部に対して重畳および展開動作する第1および第2の遮光羽根群を有し、
    前記ミラーユニットが第1の状態から第2の状態に切り換わるときに、前記第1および第2の遮光羽根群のうち一方の遮光羽根群の重畳動作を許容するとともに、他方の遮光羽根群を重畳させる駆動部材を有することを特徴とする請求項1に記載の撮像装置。
  4. 前記第2の状態は、前記光束を前記撮像素子に向けて透過させるとともに前記焦点検出手段に向けて反射する透過/反射状態もしくは前記撮影レンズから前記撮像素子への撮影光路から退避する退避状態であることを特徴とする請求項1から3のいずれか1つに記載の撮像装置。
  5. 前記ミラーユニットは、前記光束の一部を反射し、残りを透過させる第1のミラー部材と、該第1のミラー部材を透過した光束を反射する第2のミラー部材とにより構成されており、
    前記第1の状態では前記第1および第2のミラー部材が前記撮影光路内に配置され、前記透過/反射状態では前記第1のミラー部材が前記撮影光路内に配置されるとともに前記第2のミラー部材が前記撮影光路から退避し、前記退避状態では前記第1および第2のミラー部材が前記撮影光路から退避することを特徴とする請求項4に記載の撮像装置。
JP2004108597A 2004-03-31 2004-03-31 撮像装置 Expired - Fee Related JP4411124B2 (ja)

Priority Applications (1)

Application Number Priority Date Filing Date Title
JP2004108597A JP4411124B2 (ja) 2004-03-31 2004-03-31 撮像装置

Applications Claiming Priority (1)

Application Number Priority Date Filing Date Title
JP2004108597A JP4411124B2 (ja) 2004-03-31 2004-03-31 撮像装置

Publications (3)

Publication Number Publication Date
JP2005292526A true JP2005292526A (ja) 2005-10-20
JP2005292526A5 JP2005292526A5 (ja) 2007-05-17
JP4411124B2 JP4411124B2 (ja) 2010-02-10

Family

ID=35325499

Family Applications (1)

Application Number Title Priority Date Filing Date
JP2004108597A Expired - Fee Related JP4411124B2 (ja) 2004-03-31 2004-03-31 撮像装置

Country Status (1)

Country Link
JP (1) JP4411124B2 (ja)

Cited By (4)

* Cited by examiner, † Cited by third party
Publication number Priority date Publication date Assignee Title
JP2007142868A (ja) * 2005-11-18 2007-06-07 Olympus Imaging Corp デジタルカメラ
JP2010054579A (ja) * 2008-08-26 2010-03-11 Nikon Corp カメラ
JP2010122686A (ja) * 2008-11-18 2010-06-03 Samsung Electronics Co Ltd サブミラーを備える自動焦点装置及び撮像装置
JP2012014146A (ja) * 2010-01-15 2012-01-19 Panasonic Corp フォーカルプレーンシャッタ装置および撮像装置

Cited By (5)

* Cited by examiner, † Cited by third party
Publication number Priority date Publication date Assignee Title
JP2007142868A (ja) * 2005-11-18 2007-06-07 Olympus Imaging Corp デジタルカメラ
JP2010054579A (ja) * 2008-08-26 2010-03-11 Nikon Corp カメラ
US8746995B2 (en) 2008-08-26 2014-06-10 Nikon Corporation Camera
JP2010122686A (ja) * 2008-11-18 2010-06-03 Samsung Electronics Co Ltd サブミラーを備える自動焦点装置及び撮像装置
JP2012014146A (ja) * 2010-01-15 2012-01-19 Panasonic Corp フォーカルプレーンシャッタ装置および撮像装置

Also Published As

Publication number Publication date
JP4411124B2 (ja) 2010-02-10

Similar Documents

Publication Publication Date Title
JP2001125173A (ja) デジタルカメラ
TW200835313A (en) Imaging apparatus
US7440692B2 (en) Digital camera
CN100570470C (zh) 摄像装置
JP4411124B2 (ja) 撮像装置
JP4614381B2 (ja) 光学機器
JP2001133846A (ja) 一眼レフレックスカメラ
US5457511A (en) Single-lens reflex camera
JP2000162495A (ja) 一眼レフ式デジタルスチルカメラ
JP2006339902A (ja) ファインダ装置及びカメラ
JP2010060675A (ja) 撮像装置
JP2005017699A (ja) カメラ
JP2007072286A (ja) ライブビュー表示可能なカメラ
JP2007006097A (ja) カメラ
JP2004109831A (ja) 光学機器
JP2009282378A (ja) 撮像装置および撮像装置本体
JP4468784B2 (ja) デジタル一眼レフカメラ
JP6611584B2 (ja) ミラー駆動装置及び撮像装置
JP6652299B2 (ja) 撮像装置
JP2006221071A (ja) 撮像装置および撮像システム
JPH11174543A (ja) カメラシステム
JP2011010098A (ja) 撮影装置
JPH0949959A (ja) 画像撮影装置
JP2006038946A (ja) カメラ
JP2008298985A (ja) 撮像装置

Legal Events

Date Code Title Description
A521 Request for written amendment filed

Free format text: JAPANESE INTERMEDIATE CODE: A523

Effective date: 20070326

A621 Written request for application examination

Free format text: JAPANESE INTERMEDIATE CODE: A621

Effective date: 20070326

RD03 Notification of appointment of power of attorney

Free format text: JAPANESE INTERMEDIATE CODE: A7423

Effective date: 20081010

RD05 Notification of revocation of power of attorney

Free format text: JAPANESE INTERMEDIATE CODE: A7425

Effective date: 20081201

A977 Report on retrieval

Free format text: JAPANESE INTERMEDIATE CODE: A971007

Effective date: 20090827

A131 Notification of reasons for refusal

Free format text: JAPANESE INTERMEDIATE CODE: A131

Effective date: 20090908

A521 Request for written amendment filed

Free format text: JAPANESE INTERMEDIATE CODE: A523

Effective date: 20091020

TRDD Decision of grant or rejection written
A01 Written decision to grant a patent or to grant a registration (utility model)

Free format text: JAPANESE INTERMEDIATE CODE: A01

Effective date: 20091110

A01 Written decision to grant a patent or to grant a registration (utility model)

Free format text: JAPANESE INTERMEDIATE CODE: A01

A61 First payment of annual fees (during grant procedure)

Free format text: JAPANESE INTERMEDIATE CODE: A61

Effective date: 20091116

R150 Certificate of patent or registration of utility model

Free format text: JAPANESE INTERMEDIATE CODE: R150

FPAY Renewal fee payment (event date is renewal date of database)

Free format text: PAYMENT UNTIL: 20121120

Year of fee payment: 3

FPAY Renewal fee payment (event date is renewal date of database)

Free format text: PAYMENT UNTIL: 20131120

Year of fee payment: 4

LAPS Cancellation because of no payment of annual fees