JP2005292024A - 地図情報提供システム - Google Patents
地図情報提供システム Download PDFInfo
- Publication number
- JP2005292024A JP2005292024A JP2004109860A JP2004109860A JP2005292024A JP 2005292024 A JP2005292024 A JP 2005292024A JP 2004109860 A JP2004109860 A JP 2004109860A JP 2004109860 A JP2004109860 A JP 2004109860A JP 2005292024 A JP2005292024 A JP 2005292024A
- Authority
- JP
- Japan
- Prior art keywords
- map information
- navigation device
- vehicle
- identification code
- information
- Prior art date
- Legal status (The legal status is an assumption and is not a legal conclusion. Google has not performed a legal analysis and makes no representation as to the accuracy of the status listed.)
- Pending
Links
Images
Landscapes
- Instructional Devices (AREA)
- Navigation (AREA)
- Traffic Control Systems (AREA)
Abstract
【課題】車両ナビゲーション装置または歩行者用ナビゲーション装置に対して、ユーザに必要な地図情報の通信量を低減し、迅速に提供する地図情報提供システムを提供する。
【解決手段】ナビゲーション装置は、各々に固有の識別コードを有し、地図情報を配信する地図配信センタは、識別コードとその識別コードを有するナビゲーション装置の使用形態に基づく車両情報とを記憶している。また地図配信センタは、車種に適した地図情報を蓄積しており、ナビゲーション装置が、識別コードとともに、地図配信センタに地図情報の配信を要求することにより、地図配信センタは、その車両に適した地図情報を送信する。車種に適した地図情報は、過去の通行履歴により作成する。
【選択図】図1
【解決手段】ナビゲーション装置は、各々に固有の識別コードを有し、地図情報を配信する地図配信センタは、識別コードとその識別コードを有するナビゲーション装置の使用形態に基づく車両情報とを記憶している。また地図配信センタは、車種に適した地図情報を蓄積しており、ナビゲーション装置が、識別コードとともに、地図配信センタに地図情報の配信を要求することにより、地図配信センタは、その車両に適した地図情報を送信する。車種に適した地図情報は、過去の通行履歴により作成する。
【選択図】図1
Description
本発明は、車両用または歩行者用ナビゲーション装置に地図情報を配信する地図情報提供システムに関する。
自動車等の車両内に設置し、現在位置を表示し、目的地までの経路を表示するナビゲーションシステムが知られている。車両の走行に伴ってGPS(Global Positioning System:全地球測位システム)等により現在位置を検出し、その現在位置を表示装置上に道路地図と共に表示して、現在地から目的地までの適切な経路を設定し、表示装置や音声出力装置などによって案内する車両用ナビゲーション装置は、運転者の効率的で安全な運転に貢献している。この装置によって、道に迷うことが少なくなり、快適な運転をすることができる。
一方、地図情報を情報センタから車両へ配信するシステムも考案されている。これによれば、最新の地図情報をユーザは得ることができるとともに、さらに天気や交通渋滞、周辺の店舗情報なども得ることができる。
そして情報センタから得た情報を、車種により選別しナビゲーションシステムに表示するシステムも開示されている(特許文献1)。
しかしながら、この方法は、車側でその情報を選別するため、通信量が増加するし、通信時間も増加してしまう。またセンタ側で情報を抽出する考案も開示されているが、また、車両側(情報処理装置)で個別車両情報を保持しており、毎回この個別情報をセンタ側に送信する必要が発生する。このためセンタから情報を受信するたびに車種情報をセンタに送信するため、やはり通信の無駄が生じる。
そこで本発明の課題は、車両ナビゲーション装置または歩行者用ナビゲーション装置に対して、ユーザに必要な地図情報の通信量を低減し、迅速に提供する地図情報提供システムを提供することである。
上記課題を解決するための本発明の地図情報提供手段は、
車両に設置され、または歩行者の携帯する、地図情報と車両または歩行者の現在位置データとに基づき目的地への経路を案内するナビゲーション装置と、
ナビゲーション装置に対し、地図情報を配信する地図情報配信手段と、
を含む地図情報提供システムにおいて、
ナビゲーション装置は、各々に固有の識別コードを有する識別コード記憶手段と、
地図情報配信手段に地図情報の送信を要求する送信部と、
地図情報配信手段からの地図情報を受信する受信部と、
地図情報配信手段から受信した地図情報を表示する表示部とを有し、
地図情報配信手段は、
識別コードとその識別コードを有するナビゲーション装置の使用形態に基づく種別とを記憶するユーザ情報記憶手段と、
種別ごとの地図情報を記憶する地図情報記憶手段と、
ナビゲーション装置からの地図情報の配信要求と識別コードとを受信する受信手段と、
識別コードに基づいて判断されるナビゲーション装置の種別に対応する地図情報をナビゲーション装置へ配信する送信手段と、
を有する。
車両に設置され、または歩行者の携帯する、地図情報と車両または歩行者の現在位置データとに基づき目的地への経路を案内するナビゲーション装置と、
ナビゲーション装置に対し、地図情報を配信する地図情報配信手段と、
を含む地図情報提供システムにおいて、
ナビゲーション装置は、各々に固有の識別コードを有する識別コード記憶手段と、
地図情報配信手段に地図情報の送信を要求する送信部と、
地図情報配信手段からの地図情報を受信する受信部と、
地図情報配信手段から受信した地図情報を表示する表示部とを有し、
地図情報配信手段は、
識別コードとその識別コードを有するナビゲーション装置の使用形態に基づく種別とを記憶するユーザ情報記憶手段と、
種別ごとの地図情報を記憶する地図情報記憶手段と、
ナビゲーション装置からの地図情報の配信要求と識別コードとを受信する受信手段と、
識別コードに基づいて判断されるナビゲーション装置の種別に対応する地図情報をナビゲーション装置へ配信する送信手段と、
を有する。
ナビゲーション装置は、識別コード記憶手段によって各々に固有の識別コードを有することから、各々のナビゲーション装置を識別することができる。送信部によって地図情報配信手段へ地図情報の配信を識別コードを伴って要求し、受信部によって地図情報配信手段からの地図情報を受信することができる。そして受信した地図情報を表示部によって表示することができる。
地図情報配信手段は、ユーザ情報記憶手段を有し、これにより各々のナビゲーション装置の識別コードとその識別コードを有するナビゲーション装置の使用形態に基づく種別とを記憶することができる。そしてナビゲーション装置からの要求を受信手段によって受信し、受信した識別コードからそのナビゲーション装置の使用形態に基づく種別を判断し、地図情報記憶手段に記憶されたナビゲーション装置の使用形態に基づく種別ごとの地図情報を選択して、送信手段によって送信することができる。ここでナビゲーション装置の使用形態に基づく種別とは、例えば、大型車、中型車、小型車などを意味する。なお歩行者用ナビゲーションの場合には、歩行者であることが種別である。受信した識別コードにより、地図情報の配信要求をした車両、または歩行者についての情報を得ることができ、これによって地図情報配信手段は、それぞれの車両または歩行者に適切な地図情報を配信することができる。
本発明の地図情報提供システムのナビゲーション装置は、ナビゲーション装置を有する車両または歩行者が通行した軌跡を識別コードとともに地図情報配信手段に送信し、
地図情報記憶手段は、ナビゲーション装置から受信した軌跡と識別コードとに基づいて、軌跡の種別通行履歴を記憶する。
地図情報記憶手段は、ナビゲーション装置から受信した軌跡と識別コードとに基づいて、軌跡の種別通行履歴を記憶する。
ナビゲーション装置が、車両または歩行者が通行した軌跡を識別コードとともに地図情報配信手段に送信することにより、地図情報配信手段は、各々のナビゲーション装置の識別コードとその識別コードを有するナビゲーション装置の使用形態に基づく種別とを記憶しているため、この情報によって軌跡の種別通行履歴を記憶することができる。軌跡の種別通行履歴を蓄積することにより、種別ごとの地図情報をデータベース化することができる。
そして本発明の地図情報配信手段は、過去の種別通行履歴に基づいて、ナビゲーション装置の使用形態に基づく種別としての推奨軌跡を含む地図情報を送信する。過去の種別通行履歴を蓄積することによって、地図情報の配信を要求に対し、最もよく通行された軌跡を推奨ルートとして、情報提供することができる。具体的には、例えば、大型車の場合、細い道は通行できないため、幹線道路などを通行した履歴が蓄積されることになる。そこで最も通行履歴の多い道路を推奨道路として、地図情報上に表示されるようにすれば、適切な経路で目的地まで行くことができる。
さらに本発明の地図情報提供システムは、
ナビゲーション装置の使用形態に基づく種別として、そのナビゲーション装置が搭載される車両の車体サイズに対応する複数の種別が記憶され、
地図情報記憶手段は、その車体サイズに対応する複数の種別ごとに、各々のナビゲーション装置から送信される通行実績のデータを地図情報記憶手段に蓄積し、
地図情報記憶手段は、地図情報の配信要求先の、車体サイズに基づいて分類される種別に対応する種別地図情報を配信要求先に配信する。
ナビゲーション装置の使用形態に基づく種別として、そのナビゲーション装置が搭載される車両の車体サイズに対応する複数の種別が記憶され、
地図情報記憶手段は、その車体サイズに対応する複数の種別ごとに、各々のナビゲーション装置から送信される通行実績のデータを地図情報記憶手段に蓄積し、
地図情報記憶手段は、地図情報の配信要求先の、車体サイズに基づいて分類される種別に対応する種別地図情報を配信要求先に配信する。
ユーザ情報記憶手段に記憶された種別に関する情報として、大型車、中型車、小型車など、どの大きさに分類されるかという情報などの他に、車両のサイズの情報を含む。つまり種別とは、ナビゲーション装置を設置した車両の大きさ、寸法などの情報も含む。またハイブリッド、燃料電池車などの情報を含んでもよい。そして各々のナビゲーション装置から送信される通行実績のデータを地図情報記憶手段に蓄積することで、それぞれの種別に適する種別地図情報を作成することができ、各ナビゲーション装置に、そのナビゲーション装置が設置されている車両にとって適切な地図情報を提供することができる。
さらに種別には、歩行者に携帯されるナビゲーション装置としての種別が加えられる。歩行者の携帯するナビゲーション装置にも、歩行者用の適切な地図情報を送ることができる。歩行者用ナビに対しては、歩行者専用道路などの情報を送信する。
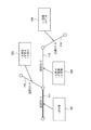
以下、本発明の実施の形態を、図面に示す実施例を参照しながら説明する。図1に本発明の全体構造を示す。本地図情報提供システムは、車両に搭載されたナビゲーション装置(車載ナビ)100と、携帯電話などの歩行者ナビゲーション(歩行者ナビ)101、および地図情報配信手段であるセンタ(地図配信センタ)14からなる。地図配信センタ14は、配信対象となるすべてのユーザの使用形態に基づく種別の情報を保持している。ユーザの種別とは、そのナビゲーション装置が設置されている車両の車種情報(大型車、中型車、小型車、ハイブリッド、燃料電池車や車両寸法など)である。センタ14側ではリアルタイムに車載ナビおよび歩行者ナビより現在の位置情報などを受信する。センタ14側では受信した情報に車種情報を付加し、地図情報データベースとして格納する。
地図配信センタ14は、ユーザ端末(車載ナビ100、歩行者ナビ101)からの要求に応じて、このユーザ端末に地図を配信する。また、地図情報センタ14は、地図だけでなく、例えば店舗や施設等の地点情報も備えるようにして、ユーザ端末からの要求に応じて、地図情報を提供すると共に、例えば店舗や施設等の所在地や、その店舗や施設等に関する情報もユーザ端末に配信するようにしてもよい。
そして地図配信センタ14は、ナビゲーション端末(車載ナビ100、歩行者ナビ101)から経路探索要求を受け取ると、車種情報が付加された地図情報データベースを用いて、指定された出発地と目的地の2地点間を結ぶ推奨経路を探索し、要求したナビゲーション端末に、その車種に適応した地図情報、推奨経路情報を送信する。
図2は本発明の一実施例としての車両用ナビゲーション装置の全体構成を示すブロック図である。本ナビゲーション装置100は、位置検出器1、操作スイッチ群7、リモートコントロール(以下リモコンと称する)センサ11、音声案内などを行うスピーカ15、外部メモリ9、表示装置10、通信ユニット19、ETC車載器16、これらの接続された制御回路8、リモコン端末12を備えている。
位置検出器1は、周知の地磁気センサ2、ジャイロスコープ3、距離センサ4、および衛星からの電波に基づいて車両の位置を検出するGPSのためのGPS受信機5を有している。これらのセンサ等2,3,4,5は各々が性質の異なる誤差を持っているため、複数のセンサにより各々補完しながら使用するように構成されている。なお、精度によっては前述したうちの一部センサで構成してもよく、さらに、ステアリングの回転センサや各転動輪の車輪センサ等を用いてもよい。
操作スイッチ群7は、例えば表示装置10と一体になったタッチスイッチもしくはメカニカルなスイッチ等が用いられる。タッチスイッチは、表示装置10の画面上に縦横に微細に配置された赤外線センサより構成されており、例えば指やタッチペンなどでその赤外線を遮断すると、その遮断した位置が2次元座標値(X,Y)として検出される。これら操作スイッチ群7およびリモコン端末12によって、種々の指示を入力することが可能である。
表示部としての表示装置10はカラー液晶表示器により構成されており、表示装置10の画面には位置検出器1から入力された車両現在位置マークと、地図配信センタ14から受信した地図情報、更に地図上に表示する誘導経路等付加データとを重ね合わせて表示すると共に、本画面に経路案内の設定および経路誘導中の案内や画面の切り換え操作を行うためのボタンが表示される。
送信部、受信部としての送受信機13は、地図配信センタ14から提供される情報を受信し、また地図配信センタ14へ情報を送信するための装置である。この送受信機13を介して外部から受け取った情報は、制御回路8において処理する。
また、本車両用ナビゲーション装置100は、通信ユニット19を介して、携帯電話機17など移動体通信機器により、外部ネットワーク18との接続が可能で、インターネットに接続したり、専用の情報センターに接続することができる。さらに、ETC(自動料金収受システム,ETC:Electronic Toll Collection)車載器16と通信することにより、ETC車載器16がETC路上器から受信した、料金情報などをナビゲーション装置に取り込むことができる。また、ETC車載器16によって外部ネットワーク18と接続することも可能である。
さらに、外部メモリ9には、本ナビゲーション装置の動作に必要なデータが記憶される。なお、外部メモリ9は、車両のイグニッションスイッチがオフ状態になっても(即ち、ナビゲーション装置100がオフ状態)、記憶内容が保持される。
制御回路8は通常のコンピュータとして構成されており、図3のように周知のCPU81,ROM82,RAM83,I/O84およびこれらの構成を接続するバスライン85が備えられている。
CPU81は、ROM82およびRAM83に記憶されたプログラムおよびデータにより制御を行う。図3のように、ROM82にはオペレーティングシステム(以下、OSと称する)82sとOS82s上で動作するナビゲーションプログラム(以下、ナビプログラムと称する)82p、識別コード82kが格納される。識別コード82kは、各ナビゲーション装置に固有のコードであり、ROM82が識別コード記憶手段である。また、ナビプログラム82pは、OS82s上にてナビプログラム用ワークメモリ83wを作業領域とする形で作動する。さらに、RAM83には、OS82sのワークメモリ83sが形成される。
このような構成を持つことにより、本ナビゲーション装置100は、制御回路8のCPU81によりナビプログラム82pが起動されると、運転者が操作スイッチ群7あるいはリモコン端末12を操作して、表示装置10上に表示されるメニューから目的地経路を表示装置10に表示させるための経路案内処理を選択した場合、次のような処理を実施する。即ち、運転者が目的地を入力すると、GPS受信機5から得られる衛星のデータに基づき車両の現在地が求められ、その情報や識別コードとともに地図配信センタ14に地図情報の配信要求を送信する。そして地図配信センタ14から地図情報を受信し、表示装置10上にその車種の車両が通行するために適する道路地図を表示し、運転者に適切な経路を案内する。上記の動作および以下の実施例は、ナビプログラム82pにより制御されている。
図4は地図配信センタ14の情報サーバ25の一実施例の構成を示す図である。情報サーバ25は、CPU51,ROM52,RAM53および入出力インターフェース(I/O)54を有し、これらがバスライン55により送受信可能に接続されたコンピュータ本体50を備え、これに周辺機器として、キーボード56あるいはマウス57等の入力装置、CD−ROMドライブ58あるいはフロッピー(登録商標)ディスクドライブ(以下、FDDと記す)59等の記録媒体読取手段、HDD(ハードディスクドライブ)60,モニタ制御部61を介して接続されるモニタ62、プリンタ63、および送受信装置22等との通信を行なうネットワーク制御部64等が接続されたコンピュータシステムとして全体が構築されている。CD−ROMドライブ58の代わりにDVD−ROMドライブ等を用いてもよい。
HDD60には、オペレーティングシステムプログラム(以下、OSという)60a及び情報サーバプログラム60bが格納されている。情報サーバプログラム60bは、情報サーバとしての機能を実現するため、OS60a上でRAM53に確保される情報サーバワークメモリ53bを作業領域とする形で作動するものである。これは、例えばCD−ROM65等にコンピュータ読み取り可能な状態で記憶され、HDD60上の所定の記憶領域にインストールされるものである。また、RAM53には、OS60aのワークメモリ53aも形成される。
また、HDD60には、ユーザ情報データベース23a、地図情報データベース23bが構築されている。したがってHDD60がユーザ情報記憶手段、地図情報記憶手段である。ユーザ情報データベース23aは、図6のようなユーザのナビゲーション装置に割り当てられた識別コードと、その識別コードのナビゲーション装置が設置されている車両の車種情報が記録されている。車種情報とは、そのナビゲーション装置が設置されている車両が、大型車、中型車、小型車であるか、または、車両の寸法などである。或いは、ハイブリッド車、燃料電池車などの情報も含んでもよい。歩行者用ナビゲーションの場合は、車種の代わりに歩行者であることが記録されている。また、地図情報データベース23bには、地図データが記録されている。地図データとしての道路には、それぞれの道路に道路IDが定義されている。そして、定義された道路毎に車種別の通行履歴が記録される。そしてユーザの走行履歴により、車種別の地図情報データベースとして記録されている。
このような構成を持つことにより、本情報サーバ25は、コンピュータ本体50のCPU51により情報サーバプログラム60bが起動されると、必要な初期化処理を実行した後に情報サーバとして機能する。この後、送受信装置22を経由してナビゲーション装置100からの接続要求あるいは検索要求が発生した場合、情報サーバプログラム60bに格納されている処理が実行され、必要なデータあるいはデータベース23の検索結果を送受信装置22を経由してナビゲーション装置100へ送る。
また、ユーザ情報データベース23aや地図情報データベース23bの内容は随時更新される。これは走行中の車両から車両情報、現在地が送られてきた場合に、データベース23bの車両通行履歴を更新するものである。
図5に地図情報配信システムの処理ステップの実施例を示す。ユーザの有するナビゲーション装置には、各々に識別コード(ID)が割り振られている。そしてサーバには、各識別コードのナビゲーション装置が設置されている車両についての車種情報がユーザ情報として記録されている。
まず、車種別の走行情報を記録した地図データベースの作成ついて説明する。ユーザの車両は、走行中、位置検出器1により現在位置を検出し、地図配信センタ14へ、現在位置の情報または通行中の道路IDを、識別コードとともに送信する(S1)。現在位置の情報または通行中の道路IDの双方を送信するようにしてもよいし、どちらかでもよい。地図配信センタ14はその情報を受信し(S2)、地図データベース23bに、車種別の走行路の情報を蓄積する(S3)。具体的には、識別コードとともに現在位置の情報または通行中の道路IDを受信した地図配信センタ14は、識別コードから、予め記憶されているその識別コードの車種情報を付加し、どの車種の車両がどの道路を走行したかを地図情報データベースに記録していく。これにより大型車の通る道、小型車の通る道、また歩行者の通る道が分類されていく。数多くのユーザの走行情報をデータベース化することにより、それぞれの車種に最適な道、或いは走行不可な道を分類することができる。
続いて、ユーザは、地図情報取得の要求として、識別コード(ID)を、地図配信センタ14に送信する(S11)。ユーザの要求を受け取ったサーバは、受信した識別コードの車種をユーザ情報データベースから調べる。そしてS13で、同一車種に関する情報をS3で作成された地図データベースから抽出する。そしてユーザの車種に適した地図情報を配信する(S14)。
図6にナビゲーション装置と地図配信センタのデータの一例を示す。(a)に示すように車両91からは識別コード(ID)と現在位置との情報を地図配信センタに送信する。地図配信センタ14には、IDごとの車種情報と、地図データが記録されている。そして前述の順序でユーザ情報と地図データとをリンクさせる。(b)には、ユーザのナビゲーション装置100が発信するデータの例を示す。このデータには、ユーザのIDと現在位置の情報が含まれる。そしてセンタ14の有するユーザ情報としての車種情報の例を(c)に示す。センタには全ユーザのIDとその車種情報が蓄積されている。そして(d)に示すように、ユーザのナビゲーション装置100から送信されたIDに基づき、ユーザの送信情報と情報サーバに記憶されたユーザ情報とを、リンクする。このデータを用いてそれぞれの道路の走行車両の履歴を車種別に記録する。
図7に地図配信サーバ内の車種情報を加えた地図情報の実施例を示す。まず図7に示すように、道路111は、道路IDが1、道路112は、道路IDが2、道路113は、道路IDが3、道路114は、道路IDが4として記憶されている。このように全ての道路に道路IDが割り振られている。ユーザのナビゲーション装置から走行情報が送信されると、それぞれの道路IDと走行した車種とがリンクされて記憶される。例えば、道路ID1の道路は、歩行者のみが通行していれば、その旨記録121される。そして歩行者用ナビゲーション装置から地図情報の提供要求があれば、歩行者用の道路として送信する。また道路ID2、3の道路は、大型車、中型車、小型車が走行した履歴が記録122,123されている。したがって、これらの車種のナビゲーション装置から、地図配信要求があれば、これらの道路情報を送信する。さらに道路ID4の道路114は、小型車と歩行者の通行履歴の記録124があるため、小型車、歩行者用の道路と判断される。
図8に道路別の車種別通行履歴データの例を示す。図7で述べたように、道路の道路ID別に、車種ごとの通行履歴をデータベース化する。これは、地図配信センタ14の情報サーバ25に記録されている。図8には、各道路IDごとに、大型車、中型車、小型車、歩行者のそれぞれの通行回数が記録されている。道路ID1の道路は、歩行者の通行のみが記録されている。すなわち歩行者のみが通ることのできる道路である。道路ID2,3は、大型車、中型車、小型車の走行履歴が記録されている。すなわち大型車、中型車、小型車の走行することのできる道路である。さらに道路ID4の道路は、小型車、歩行者の通行が記録され、小型車または歩行者の通行できる道路と判断される。
図9にナビゲーション装置の画面を示す。(a)は、小型車の画面、(b)、(c)は、大型車の画面の実施例である。小型車では、細い道も通行できるため、道路115,116,117が表示されている。ところが大型車の場合、細い道路117は通行できない。そのような情報が地図データベースに車種別通行記録として蓄積されているため、(b)に示すように、大型車のナビゲーション装置の画面には、細く大型車の通行できない道路(通った履歴がない道)117は表示されない。或いは、(c)に示すように、細くて大型車の通ることのできない道117には、印118を付けて示すこともできる。
以上のように、車両用ナビゲーション装置または歩行者用ナビゲーション装置から、通行道路の情報を受信し、種別通行履歴として地図配信センタに蓄積することにより、車種または歩行者に応じた地図情報を配信することができる。
13 送受信機
14 地図配信センタ
22 送受信機
25 情報サーバ
91 車両
100 ナビゲーション装置
14 地図配信センタ
22 送受信機
25 情報サーバ
91 車両
100 ナビゲーション装置
Claims (5)
- 車両に設置され、または歩行者の携帯する、地図情報と車両または歩行者の現在位置データとに基づき目的地への経路を案内するナビゲーション装置と、
前記ナビゲーション装置に対し、前記地図情報を配信する地図情報配信手段と、
を含む地図情報提供システムにおいて、
前記ナビゲーション装置は、各々に固有の識別コードを有する識別コード記憶手段と、
前記地図情報配信手段に前記地図情報の送信を要求する送信部と、
前記地図情報配信手段からの前記地図情報を受信する受信部と、
前記地図情報配信手段から受信した前記地図情報を表示する表示部とを有し、
前記地図情報配信手段は、
前記識別コードとその識別コードを有する前記ナビゲーション装置の使用形態に基づく種別とを記憶するユーザ情報記憶手段と、
前記種別ごとの地図情報を記憶する地図情報記憶手段と、
前記ナビゲーション装置からの前記地図情報の配信要求と前記識別コードとを受信する受信手段と、
前記識別コードに基づいて判断される前記ナビゲーション装置の種別に対応する前記地図情報を前記ナビゲーション装置へ配信する送信手段と、
を有する地図情報提供システム。 - 前記ナビゲーション装置は、前記ナビゲーション装置を有する前記車両または前記歩行者が通行した軌跡を前記識別コードとともに前記地図情報配信手段に送信し、
前記地図情報記憶手段は、前記ナビゲーション装置から受信した前記軌跡と前記識別コードとに基づいて、前記軌跡の種別通行履歴を記憶する請求項1に記載の地図情報提供システム。 - 前記地図情報配信手段は、過去の前記種別通行履歴に基づいて、前記ナビゲーション装置の使用形態に基づく前記種別としての推奨軌跡を含む前記地図情報を送信する請求項2に記載の地図情報提供システム。
- 前記ナビゲーション装置の使用形態に基づく種別として、そのナビゲーション装置が搭載される車両の車体サイズに対応する複数の種別が記憶され、
前記地図情報記憶手段は、その車体サイズに対応する複数の種別ごとに、各々のナビゲーション装置から送信される通行実績のデータを前記地図情報記憶手段に蓄積し、
前記地図情報記憶手段は、前記地図情報の配信要求先の、前記車体サイズに基づいて分類される種別に対応する種別地図情報を配信要求先に配信する請求項1ないし3のいずれか1項に記載の地図情報提供システム。 - 前記種別には、さらに歩行者に携帯されるナビゲーション装置としての種別が加えられる請求項4に記載の地図情報提供システム。
Priority Applications (1)
| Application Number | Priority Date | Filing Date | Title |
|---|---|---|---|
| JP2004109860A JP2005292024A (ja) | 2004-04-02 | 2004-04-02 | 地図情報提供システム |
Applications Claiming Priority (1)
| Application Number | Priority Date | Filing Date | Title |
|---|---|---|---|
| JP2004109860A JP2005292024A (ja) | 2004-04-02 | 2004-04-02 | 地図情報提供システム |
Publications (1)
| Publication Number | Publication Date |
|---|---|
| JP2005292024A true JP2005292024A (ja) | 2005-10-20 |
Family
ID=35325104
Family Applications (1)
| Application Number | Title | Priority Date | Filing Date |
|---|---|---|---|
| JP2004109860A Pending JP2005292024A (ja) | 2004-04-02 | 2004-04-02 | 地図情報提供システム |
Country Status (1)
| Country | Link |
|---|---|
| JP (1) | JP2005292024A (ja) |
Cited By (11)
| Publication number | Priority date | Publication date | Assignee | Title |
|---|---|---|---|---|
| JP2009181469A (ja) * | 2008-01-31 | 2009-08-13 | Pioneer Electronic Corp | 移動体端末装置、情報管理サーバ、情報制御方法、情報管理方法、情報収集プログラム、情報管理プログラム、および記録媒体 |
| JP2010217765A (ja) * | 2009-03-18 | 2010-09-30 | Ntt Docomo Inc | 地図データ作成システム及び地図データ作成方法 |
| JP2011154536A (ja) * | 2010-01-27 | 2011-08-11 | Fujitsu Ten Ltd | 情報提供システム及び車載装置 |
| JP2012515325A (ja) * | 2009-01-14 | 2012-07-05 | トムトム インターナショナル ベスローテン フエンノートシャップ | 車両搭載型のナビゲーション装置に関する改善 |
| JP2013050405A (ja) * | 2011-08-31 | 2013-03-14 | Mic Ware:Kk | ナビゲーション装置、ナビゲーション方法、およびプログラム |
| US8700293B2 (en) | 2007-01-26 | 2014-04-15 | Xanavi Informatics Corporation | Traffic information distribution method, traffic information distribution apparatus and in-vehicle terminal |
| JP2015014610A (ja) * | 2006-08-15 | 2015-01-22 | トムトム インターナショナル ベスローテン フエンノートシャップ | 分類された地図訂正データを配信する方法、システム及び装置 |
| JP2016138854A (ja) * | 2015-01-29 | 2016-08-04 | 株式会社ゼンリンデータコム | ナビゲーションシステム、ナビゲーション装置、飛行体、ナビゲーション連携制御方法、ナビゲーション装置用連携制御プログラム及び飛行体用連携制御プログラム |
| JP2017150919A (ja) * | 2016-02-24 | 2017-08-31 | 株式会社 ミックウェア | ナビゲーションシステム、ナビゲーションシステムのルート作成方法、プログラム |
| JP2020197662A (ja) * | 2019-06-04 | 2020-12-10 | 清水建設株式会社 | 気象災害対応支援システム |
| JPWO2020026396A1 (ja) * | 2018-08-02 | 2020-12-17 | 三菱電機株式会社 | 報知装置および報知方法 |
-
2004
- 2004-04-02 JP JP2004109860A patent/JP2005292024A/ja active Pending
Cited By (14)
| Publication number | Priority date | Publication date | Assignee | Title |
|---|---|---|---|---|
| US10156448B2 (en) | 2006-08-15 | 2018-12-18 | Tomtom Navigation B.V. | Method of creating map corrections for use in a navigation device |
| JP2015014610A (ja) * | 2006-08-15 | 2015-01-22 | トムトム インターナショナル ベスローテン フエンノートシャップ | 分類された地図訂正データを配信する方法、システム及び装置 |
| US8700293B2 (en) | 2007-01-26 | 2014-04-15 | Xanavi Informatics Corporation | Traffic information distribution method, traffic information distribution apparatus and in-vehicle terminal |
| JP2009181469A (ja) * | 2008-01-31 | 2009-08-13 | Pioneer Electronic Corp | 移動体端末装置、情報管理サーバ、情報制御方法、情報管理方法、情報収集プログラム、情報管理プログラム、および記録媒体 |
| JP2012515325A (ja) * | 2009-01-14 | 2012-07-05 | トムトム インターナショナル ベスローテン フエンノートシャップ | 車両搭載型のナビゲーション装置に関する改善 |
| US9002635B2 (en) | 2009-01-14 | 2015-04-07 | Tomtom International B.V. | Navigation apparatus used-in vehicle |
| JP2010217765A (ja) * | 2009-03-18 | 2010-09-30 | Ntt Docomo Inc | 地図データ作成システム及び地図データ作成方法 |
| JP2011154536A (ja) * | 2010-01-27 | 2011-08-11 | Fujitsu Ten Ltd | 情報提供システム及び車載装置 |
| JP2013050405A (ja) * | 2011-08-31 | 2013-03-14 | Mic Ware:Kk | ナビゲーション装置、ナビゲーション方法、およびプログラム |
| JP2016138854A (ja) * | 2015-01-29 | 2016-08-04 | 株式会社ゼンリンデータコム | ナビゲーションシステム、ナビゲーション装置、飛行体、ナビゲーション連携制御方法、ナビゲーション装置用連携制御プログラム及び飛行体用連携制御プログラム |
| JP2017150919A (ja) * | 2016-02-24 | 2017-08-31 | 株式会社 ミックウェア | ナビゲーションシステム、ナビゲーションシステムのルート作成方法、プログラム |
| JPWO2020026396A1 (ja) * | 2018-08-02 | 2020-12-17 | 三菱電機株式会社 | 報知装置および報知方法 |
| JP2020197662A (ja) * | 2019-06-04 | 2020-12-10 | 清水建設株式会社 | 気象災害対応支援システム |
| JP7300896B2 (ja) | 2019-06-04 | 2023-06-30 | 清水建設株式会社 | 気象災害対応支援システム |
Similar Documents
| Publication | Publication Date | Title |
|---|---|---|
| US9002635B2 (en) | Navigation apparatus used-in vehicle | |
| JP5181819B2 (ja) | 危険情報収集配信装置 | |
| US20110264366A1 (en) | Method of Determining Routes for Use in Navigation | |
| JP2004251790A (ja) | 車両のナビゲーション装置 | |
| JPH10153449A (ja) | 車両用ナビゲーション装置及び記憶媒体 | |
| JP6603506B2 (ja) | 駐車位置案内システム | |
| JP5528723B2 (ja) | 運転評価装置、運転評価システム、運転評価方法 | |
| US9374803B2 (en) | Message notification system, message transmitting and receiving apparatus, program, and recording medium | |
| US20090105925A1 (en) | Vehicle travel history provision system | |
| JP2010185333A (ja) | 車載用情報処理装置、車載用情報処理装置の制御方法および制御プログラム | |
| JP6160364B2 (ja) | 地図情報更新システム、地図情報更新装置、地図情報更新方法及びコンピュータプログラム | |
| JP2005163584A (ja) | 燃費情報提供システム,燃費情報サーバ装置,および車載制御装置 | |
| JP2005292024A (ja) | 地図情報提供システム | |
| JP3996798B2 (ja) | カーナビゲーション装置 | |
| JP4582401B2 (ja) | 渋滞情報提供システム | |
| JP2007148901A (ja) | 渋滞情報表示装置 | |
| JP6075298B2 (ja) | 情報処理装置及び移動端末 | |
| JP2007171098A (ja) | 車載用ナビゲーション装置,ナビゲーションシステム,およびセンタ | |
| JP2010128686A (ja) | 情報出力装置、情報出力方法、情報出力プログラムおよび記録媒体 | |
| JP4362770B2 (ja) | 特定車両情報提供システム、ナビゲーション装置及び標章部材 | |
| WO2007119348A1 (ja) | 情報提供装置、情報提供方法、情報提供プログラムおよび記録媒体 | |
| JP3900963B2 (ja) | ナビゲーションシステム、情報センタ及び車載装置 | |
| JP2010152418A (ja) | 車両情報通信システム、及び、車両情報通信方法 | |
| US7660664B2 (en) | Information service system | |
| JP2007127447A (ja) | 経路案内装置、情報センタ、経路案内システム、及び経路案内方法 |
Legal Events
| Date | Code | Title | Description |
|---|---|---|---|
| A621 | Written request for application examination |
Effective date: 20060209 Free format text: JAPANESE INTERMEDIATE CODE: A621 |
|
| A131 | Notification of reasons for refusal |
Free format text: JAPANESE INTERMEDIATE CODE: A131 Effective date: 20081209 |
|
| A521 | Written amendment |
Free format text: JAPANESE INTERMEDIATE CODE: A523 Effective date: 20090204 |
|
| A02 | Decision of refusal |
Effective date: 20090508 Free format text: JAPANESE INTERMEDIATE CODE: A02 |