JP2005291858A - 振動型ジャイロセンサ素子 - Google Patents

振動型ジャイロセンサ素子 Download PDF

Info

Publication number
JP2005291858A
JP2005291858A JP2004105885A JP2004105885A JP2005291858A JP 2005291858 A JP2005291858 A JP 2005291858A JP 2004105885 A JP2004105885 A JP 2004105885A JP 2004105885 A JP2004105885 A JP 2004105885A JP 2005291858 A JP2005291858 A JP 2005291858A
Authority
JP
Japan
Prior art keywords
vibrator
electrode
sensor element
detection electrode
gyro sensor
Prior art date
Legal status (The legal status is an assumption and is not a legal conclusion. Google has not performed a legal analysis and makes no representation as to the accuracy of the status listed.)
Granted
Application number
JP2004105885A
Other languages
English (en)
Other versions
JP4478495B2 (ja
Inventor
Kazuo Takahashi
和夫 高橋
Takashi Tamura
孝 田村
Junichi Honda
順一 本多
Teruyuki Inaguma
輝往 稲熊
Current Assignee (The listed assignees may be inaccurate. Google has not performed a legal analysis and makes no representation or warranty as to the accuracy of the list.)
Sony Corp
Original Assignee
Sony Corp
Priority date (The priority date is an assumption and is not a legal conclusion. Google has not performed a legal analysis and makes no representation as to the accuracy of the date listed.)
Filing date
Publication date
Application filed by Sony Corp filed Critical Sony Corp
Priority to JP2004105885A priority Critical patent/JP4478495B2/ja
Priority to US11/088,480 priority patent/US7263884B2/en
Priority to KR20050026251A priority patent/KR101119257B1/ko
Publication of JP2005291858A publication Critical patent/JP2005291858A/ja
Application granted granted Critical
Publication of JP4478495B2 publication Critical patent/JP4478495B2/ja
Anticipated expiration legal-status Critical
Expired - Fee Related legal-status Critical Current

Links

Images

Classifications

    • AHUMAN NECESSITIES
    • A23FOODS OR FOODSTUFFS; TREATMENT THEREOF, NOT COVERED BY OTHER CLASSES
    • A23NMACHINES OR APPARATUS FOR TREATING HARVESTED FRUIT, VEGETABLES OR FLOWER BULBS IN BULK, NOT OTHERWISE PROVIDED FOR; PEELING VEGETABLES OR FRUIT IN BULK; APPARATUS FOR PREPARING ANIMAL FEEDING- STUFFS
    • A23N5/00Machines for hulling, husking or cracking nuts
    • A23N5/08Machines for hulling, husking or cracking nuts for removing fleshy or fibrous hulls of nuts
    • GPHYSICS
    • G01MEASURING; TESTING
    • G01CMEASURING DISTANCES, LEVELS OR BEARINGS; SURVEYING; NAVIGATION; GYROSCOPIC INSTRUMENTS; PHOTOGRAMMETRY OR VIDEOGRAMMETRY
    • G01C19/00Gyroscopes; Turn-sensitive devices using vibrating masses; Turn-sensitive devices without moving masses; Measuring angular rate using gyroscopic effects
    • G01C19/56Turn-sensitive devices using vibrating masses, e.g. vibratory angular rate sensors based on Coriolis forces
    • G01C19/5642Turn-sensitive devices using vibrating masses, e.g. vibratory angular rate sensors based on Coriolis forces using vibrating bars or beams
    • BPERFORMING OPERATIONS; TRANSPORTING
    • B26HAND CUTTING TOOLS; CUTTING; SEVERING
    • B26DCUTTING; DETAILS COMMON TO MACHINES FOR PERFORATING, PUNCHING, CUTTING-OUT, STAMPING-OUT OR SEVERING
    • B26D1/00Cutting through work characterised by the nature or movement of the cutting member or particular materials not otherwise provided for; Apparatus or machines therefor; Cutting members therefor
    • B26D1/01Cutting through work characterised by the nature or movement of the cutting member or particular materials not otherwise provided for; Apparatus or machines therefor; Cutting members therefor involving a cutting member which does not travel with the work
    • B26D1/44Cutting through work characterised by the nature or movement of the cutting member or particular materials not otherwise provided for; Apparatus or machines therefor; Cutting members therefor involving a cutting member which does not travel with the work having a cup or like cutting member

Landscapes

  • Engineering & Computer Science (AREA)
  • Life Sciences & Earth Sciences (AREA)
  • Physics & Mathematics (AREA)
  • General Physics & Mathematics (AREA)
  • Radar, Positioning & Navigation (AREA)
  • Remote Sensing (AREA)
  • Chemical & Material Sciences (AREA)
  • Food Science & Technology (AREA)
  • Polymers & Plastics (AREA)
  • Forests & Forestry (AREA)
  • Mechanical Engineering (AREA)
  • Gyroscopes (AREA)

Abstract

【課題】 小型で感度の高い、片持ち梁形状の振動子を有する振動型ジャイロセンサ素子とする。
【解決手段】 単結晶シリコン基板上に薄膜形成プロセスにより形成された下部電極、圧電薄膜、上部電極を有する片持ち梁形状の振動子11が、上部電極として、振動子11を振動させる電圧を印加する振動子11の長手方向に形成された駆動電極6aと、駆動電極6aを挟む形で、駆動電極6aと接触することなく平行に振動子11の長手方向に形成された第1の検出電極6b及び第2の検出電極6cとを有し、駆動電極6aの幅をW0、第1の検出電極6bの幅をW1、第2の検出電極6cの幅をW2、W=W0+W1+W2とした場合に、条件として、0.5<(W0/W)<1を満たすことで実現する。
【選択図】図35

Description

本発明は、例えば、ビデオカメラの手振れ検知や、バーチャルリアリティ装置における動作検知や、カーナビゲーションシステムにおける方向検知などに用いられる角速度センサに関し、詳しくは、片持ち梁の振動子を有する小型の振動型ジャイロセンサ素子に関する。
従来より、民生用の角速度センサとしては、片持ち梁の振動子を所定の共振周波数で振動させておき、角速度の影響によって生じるコリオリ力を圧電素子などで検出することによって角速度を検出する、いわゆる振動型のジャイロセンサ(以下、振動型ジャイロセンサと呼ぶ。)が、広く使用されている。
振動型ジャイロセンサは、単純な機構、短い起動時間、安価で製造可能といった利点を有しており、例えば、ビデオカメラ、バーチャルリアリティ装置、カーナビゲーションシステムなどの電子機器に搭載され、それぞれ手振れ検知、動作検知、方向検知などをする際のセンサとして活用されている。
振動型ジャイロセンサは、搭載される電子機器の小型化、高性能化に伴い、小型化、高性能化が要求されている。例えば、電子機器の多機能化のため、他の用途で用いる各種センサと組み合わせて、振動型ジャイロセンサを一基板上に搭載させ、小型化を図るといった要請がある。
ところが、振動型ジャイロセンサは、圧電材料を機械加工によって切り出し、整形をすることで振動子を作製していたため、上述したような小型化を行うのに加工精度に限界があり、所望の性能を得ることができないといった問題があった。
そこで、振動子を、単結晶シリコン基板上に圧電材料で薄膜を形成することで作製し、小型化した圧電振動角速度計、つまり振動型ジャイロセンサが考案されている(例えば、特許文献1、特許文献2参照。)。また、シリコン加工プロセスによって形成された片持ち梁の振動子をし、この振動子の長手方向に駆動電極と、駆動電極を挟む形で駆動電極と接触することなく平行に一対の検出電極とが形成された振動型ジャイロセンサが考案されている。(例えば、特許文献3参照。)。
このような振動型ジャイロセンサにおいては、より高い感度で角速度を検出することが要求されている。
特開平8−261763号公報 特開平8−327364号公報 特開平7−113643号公報
そこで、本発明は、上述したような従来の技術を鑑みて案出されたものであり、駆動電極の幅、駆動電極の長さ、検出電極の振動子上の位置を規定することで、感度を向上させた振動型ジャイロセンサ素子を提供することを目的とする。
上述の目的を達成するために、本発明に係る振動型ジャイロセンサ素子は、単結晶シリコン基板上に薄膜形成プロセスにより形成された下部電極、圧電薄膜、上部電極を有する片持ち梁形状の振動子を備え、上記圧電薄膜の圧電効果を利用して角速度を検出する振動型ジャイロセンサ素子であって、上記振動子は、上記上部電極として、上記振動子を振動させる電圧を印加する上記振動子の長手方向に形成された駆動電極と、上記駆動電極を挟む形で、上記駆動電極と接触することなく平行に上記振動子の長手方向に形成された第1の検出電極及び第2の検出電極とを有する。
そして、上記振動子の根元から上記駆動電極の重心位置までの距離をL1、上記振動子の根元から上記第1の検出電極の重心位置までの距離をL2、上記振動子の根元から上記第2の検出電極の重心位置までの距離を同じくL2とした場合に、条件として、0<(L2/L1)≦0.75を満たす。
上述の目的を達成するために、本発明に係る振動型ジャイロセンサ素子は、下部電極、圧電薄膜、上部電極を有する片持ち梁形状の振動子を備え、上記圧電薄膜の圧電効果を利用して角速度を検出する振動型ジャイロセンサ素子において、一方主面及び他方主面の面方位が{100}である単結晶シリコン基板の一方主面上に、{110}面に対して平行又は垂直な直線で構成された第1の開口部を有する第1の保護膜パターンを形成し、上記第1の開口部に対して上記振動子の厚みとなるまで結晶異方性エッチングを行い、上記振動子の厚みとなるまで結晶異方性エッチングされた上記一方主面に対向する上記他方主面上の上記振動子となる領域に、上記下部電極、上記圧電薄膜、上記上部電極を順に積層して形成し、上記下部電極、上記圧電薄膜、上記上部電極が形成された上記他方主面上に、上記{110}面に対して平行又は垂直な直線で構成され、上記振動子を上記片持ち梁形状とする空隙を型取った第2の開口部を有する第2の保護膜パターンを形成し、上記第2の開口部に対して反応性イオンエッチング(RIE:Reactive Ion Etching)を行うことで形成された上記振動子を備え、上記振動子は、上記上部電極として、上記振動子を振動させる電圧を印加する上記振動子の長手方向に形成された駆動電極と、上記駆動電極を挟む形で、上記駆動電極と接触することなく平行に上記振動子の長手方向に形成された第1の検出電極及び第2の検出電極とを有する。
そして、上記振動子の根元から上記駆動電極の重心位置までの距離をL1、上記振動子の根元から上記第1の検出電極の重心位置までの距離をL2、上記振動子の根元から上記第2の検出電極の重心位置までの距離を同じくL2とした場合に、条件として、0<(L2/L1)≦0.75を満たす。但し、“{ }”は、方向が異なる等価な面方位を総称して表すための記号である。
上述の目的を達成するために、本発明に係る振動型ジャイロセンサ素子は、単結晶シリコン基板上に薄膜形成プロセスにより形成された下部電極、圧電薄膜、上部電極を有する片持ち梁形状の振動子を備え、上記圧電薄膜の圧電効果を利用して角速度を検出する振動型ジャイロセンサ素子であって、上記振動子は、上記上部電極として、上記振動子を振動させる電圧を印加する上記振動子の長手方向に形成された駆動電極と、上記駆動電極を挟む形で、上記駆動電極と接触することなく平行に上記振動子の長手方向に形成された第1の検出電極及び第2の検出電極とを有する。
そして、上記第1の検出電極が形成されている側の上記振動子の側壁面から、上記第1の検出電極の幅方向の中心位置までの最短距離をP1、上記第2の検出電極が形成されている側の上記振動子の側壁面から、上記第2の検出電極の幅方向の中心位置までの最短距離をP2、上記振動子の幅をSとした場合に、条件として、0<(P1/S)<0.125、0<(P2/S)<0.125を満たす。
上述の目的を達成するために、本発明に係る振動型ジャイロセンサ素子は、下部電極、圧電薄膜、上部電極を有する片持ち梁形状の振動子を備え、上記圧電薄膜の圧電効果を利用して角速度を検出する振動型ジャイロセンサ素子において、一方主面及び他方主面の面方位が{100}である単結晶シリコン基板の一方主面上に、{110}面に対して平行又は垂直な直線で構成された第1の開口部を有する第1の保護膜パターンを形成し、上記第1の開口部に対して上記振動子の厚みとなるまで結晶異方性エッチングを行い、上記振動子の厚みとなるまで結晶異方性エッチングされた上記一方主面に対向する上記他方主面上の上記振動子となる領域に、上記下部電極、上記圧電薄膜、上記上部電極を順に積層して形成し、上記下部電極、上記圧電薄膜、上記上部電極が形成された上記他方主面上に、上記{110}面に対して平行又は垂直な直線で構成され、上記振動子を上記片持ち梁形状とする空隙を型取った第2の開口部を有する第2の保護膜パターンを形成し、上記第2の開口部に対して反応性イオンエッチング(RIE:Reactive Ion Etching)を行うことで形成された上記振動子を備え、上記振動子は、上記上部電極として、上記振動子を振動させる電圧を印加する上記振動子の長手方向に形成された駆動電極と、上記駆動電極を挟む形で、上記駆動電極と接触することなく平行に上記振動子の長手方向に形成された第1の検出電極及び第2の検出電極とを有する。
そして、上記第1の検出電極が形成されている側の上記振動子の側壁面から、上記第1の検出電極の幅方向の中心位置までの最短距離をP1、上記第2の検出電極が形成されている側の上記振動子の側壁面から、上記第2の検出電極の幅方向の中心位置までの最短距離をP2、上記振動子の幅をSとした場合に、条件として、0<(P1/S)<0.125、0<(P2/S)<0.125を満たす。但し、“{ }”は、方向が異なる等価な面方位を総称して表すための記号である。
上述の目的を達成するために、本発明に係る振動型ジャイロセンサ素子は、単結晶シリコン基板上に薄膜形成プロセスにより形成された下部電極、圧電薄膜、上部電極を有する片持ち梁形状の振動子を備え、上記圧電薄膜の圧電効果を利用して角速度を検出する振動型ジャイロセンサ素子であって、上記振動子は、上記上部電極として、上記振動子を振動させる電圧を印加する上記振動子の長手方向に形成された駆動電極と、上記駆動電極を挟む形で、上記駆動電極と接触することなく平行に上記振動子の長手方向に形成された第1の検出電極及び第2の検出電極とを有する。
そして、上記駆動電極の幅をW0、上記第1の検出電極の幅をW1、上記第2の検出電極の幅をW2、W=W0+W1+W2とした場合に、条件として、0.5<(W0/W)<1を満たす。
上述の目的を達成するために、本発明に係る振動型ジャイロセンサ素子は、下部電極、圧電薄膜、上部電極を有する片持ち梁形状の振動子を備え、上記圧電薄膜の圧電効果を利用して角速度を検出する振動型ジャイロセンサ素子において、一方主面及び他方主面の面方位が{100}である単結晶シリコン基板の一方主面上に、{110}面に対して平行又は垂直な直線で構成された第1の開口部を有する第1の保護膜パターンを形成し、上記第1の開口部に対して上記振動子の厚みとなるまで結晶異方性エッチングを行い、上記振動子の厚みとなるまで結晶異方性エッチングされた上記一方主面に対向する上記他方主面上の上記振動子となる領域に、上記下部電極、上記圧電薄膜、上記上部電極を順に積層して形成し、上記下部電極、上記圧電薄膜、上記上部電極が形成された上記他方主面上に、上記{110}面に対して平行又は垂直な直線で構成され、上記振動子を上記片持ち梁形状とする空隙を型取った第2の開口部を有する第2の保護膜パターンを形成し、上記第2の開口部に対して反応性イオンエッチング(RIE:Reactive Ion Etching)を行うことで形成された上記振動子を備え、上記振動子は、上記上部電極として、上記振動子を振動させる電圧を印加する上記振動子の長手方向に形成された駆動電極と、上記駆動電極を挟む形で、上記駆動電極と接触することなく平行に上記振動子の長手方向に形成された第1の検出電極及び第2の検出電極とを有する。
そして、上記駆動電極の幅をW0、上記第1の検出電極の幅をW1、上記第2の検出電極の幅をW2、W=W0+W1+W2とした場合に、条件として、0.5<(W0/W)<1を満たす。但し、“{ }”は、方向が異なる等価な面方位を総称して表すための記号である。
上述の目的を達成するために、本発明に係る振動型ジャイロセンサ素子は、単結晶シリコン基板上に薄膜形成プロセスにより形成された下部電極、圧電薄膜、上部電極を有する片持ち梁形状の振動子を備え、上記圧電薄膜の圧電効果を利用して角速度を検出する振動型ジャイロセンサ素子であって、上記振動子は、上記上部電極として、上記振動子を振動させる電圧を印加する上記振動子の長手方向に形成された駆動電極と、上記駆動電極を挟む形で、上記駆動電極と接触することなく平行に上記振動子の長手方向に形成された第1の検出電極及び第2の検出電極とを有する。
そして、上記駆動電極の幅をW0、上記第1の検出電極の幅をW1、上記第2の検出電極の幅をW2、W=W0+W1+W2とし、上記振動子の根元から上記駆動電極の重心位置までの距離をL1、上記振動子の根元から上記第1の検出電極の重心位置までの距離及び上記振動子の根元から上記第2の検出電極の重心位置までの距離をL2とし、上記第1の検出電極が形成されている側の上記振動子の側壁面から、上記第1の検出電極の幅方向の中心位置までの最短距離をP1、上記第2の検出電極が形成されている側の上記振動子の側壁面から、上記第2の検出電極の幅方向の中心位置までの最短距離をP2、上記振動子の幅をSとした場合に、条件として、0<(L2/L1)≦0.75、0<(P1/S)<0.125、0<(P2/S)<0.125、0.5<(W0/W)<1を満たす。
上述の目的を達成するために、本発明に係る振動型ジャイロセンサ素子は、下部電極、圧電薄膜、上部電極を有する片持ち梁形状の振動子を備え、上記圧電薄膜の圧電効果を利用して角速度を検出する振動型ジャイロセンサ素子において、一方主面及び他方主面の面方位が{100}である単結晶シリコン基板の一方主面上に、{110}面に対して平行又は垂直な直線で構成された第1の開口部を有する第1の保護膜パターンを形成し、上記第1の開口部に対して上記振動子の厚みとなるまで結晶異方性エッチングを行い、上記振動子の厚みとなるまで結晶異方性エッチングされた上記一方主面に対向する上記他方主面上の上記振動子となる領域に、上記下部電極、上記圧電薄膜、上記上部電極を順に積層して形成し、上記下部電極、上記圧電薄膜、上記上部電極が形成された上記他方主面上に、上記{110}面に対して平行又は垂直な直線で構成され、上記振動子を上記片持ち梁形状とする空隙を型取った第2の開口部を有する第2の保護膜パターンを形成し、上記第2の開口部に対して反応性イオンエッチング(RIE:Reactive Ion Etching)を行うことで形成された上記振動子を備え、上記振動子は、上記上部電極として、上記振動子を振動させる電圧を印加する上記振動子の長手方向に形成された駆動電極と、上記駆動電極を挟む形で、上記駆動電極と接触することなく平行に上記振動子の長手方向に形成された第1の検出電極及び第2の検出電極とを有する。
そして、上記駆動電極の幅をW0、上記第1の検出電極の幅をW1、上記第2の検出電極の幅をW2、W=W0+W1+W2とし、上記振動子の根元から上記駆動電極の重心位置までの距離をL1、上記振動子の根元から上記第1の検出電極の重心位置までの距離及び上記振動子の根元から上記第2の検出電極の重心位置までの距離をL2とし、上記第1の検出電極が形成されている側の上記振動子の側壁面から、上記第1の検出電極の幅方向の中心位置までの最短距離をP1、上記第2の検出電極が形成されている側の上記振動子の側壁面から、上記第2の検出電極の幅方向の中心位置までの最短距離をP2、上記振動子の幅をSとした場合に、条件として0<(L2/L1)≦0.75、0<(P1/S)<0.125、0<(P2/S)<0.125、0.5<(W0/W)<1を満たす。
本発明は、駆動電極の幅をW0、第1の検出電極の幅をW1、第2の検出電極の幅をW2、W=W0+W1+W2とし、振動子の根元から駆動電極の重心位置までの距離をL1、振動子の根元から第1の検出電極の重心位置までの距離及び上記振動子の根元から第2の検出電極の重心位置までの距離をL2とし、第1の検出電極が形成されている側の振動子の側壁面から、第1の検出電極の幅方向の中心位置までの最短距離をP1、第2の検出電極が形成されている側の振動子の側壁面から、第2の検出電極の幅方向の中心位置までの最短距離をP2、振動子の幅をSとした場合に、以下に示す条件(1)0<(L2/L1)≦0.75、(2)0<(P1/S)<0.125、(3)0<(P2/S)<0.125、(4)0.5<(W0/W)<1を単独で、あるいは、任意に組み合わせて満たしている。
このように、駆動電極の幅、第1の検出電極及び第2の検出電極の長さ、第1の検出電極及び第2の検出電極の振動子上の位置を規定することで、振動子の振動量が増し、検出信号の信号レベルが高くなり、検出効率を上げることができるため、非常に感度の高い振動型ジャイロセンサ素子とすることを可能とする。
以下、本発明に係る振動型ジャイロセンサ素子を実施するための最良の形態を図面を参照して詳細に説明する。
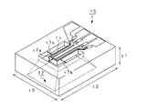
図1は、本発明を適用した角速度センサ50が備える振動型ジャイロセンサ素子10の外観斜視図であり、図2は、角速度センサ50の回路構成の一例を示した図である。なお、説明のため、図1に示す振動型ジャイロセンサ素子10は、一部を透過して示している。
図1に示すように、振動型ジャイロセンサ素子10は、いわゆる片持ち梁の振動子11を備えている。振動子11は、シリコン単結晶基板から切り出される厚みt1、長さt2、幅t3の素子から振動子11の周囲に周囲空間12を設けることで他端が固定された梁として形成される。振動子11は、長手方向と垂直な方向にt7b及びt7cの空間幅、長手方向にt7aの空間幅が確保される。なお、t7bと、t7cとは、同じ長さである。
このような振動子11は、長手方向に対して垂直な平面で切断したときの断面形状が直角四辺形となる四角柱状に形成されている。
振動型ジャイロセンサ素子10の大きさは、例えば、上述したように素子の厚みをt1、素子の長さをt2、素子の幅をt3とすると、t1=300μm、t2=3mm、t3=1mmとすることができる。また、この時の振動子11の大きさは、図3に示すように振動子の厚みをt4、振動子の長さをt5、振動子の幅をt6とすると、例えば、t4=100μm、t5=2.5mm、t6=100μmとすることができる。
図4に、振動型ジャイロセンサ素子10の平面図を示す。図4に示すように、振動子11の上部には、基準電極4a、圧電体5aが順に積層され、さらに圧電体5a上に駆動電極6aと、駆動電極6aを挟む形で一対の検出電極6b,6cとが、振動子11の長手方向に沿って互いに平行に、且つ接触しないように形成されている。駆動電極6a,検出電極6b,6c、基準電極4aには、それぞれ配線接続端子A,B,C,Dが設けられている。
圧電体5aは、例えば、チタン酸ジルコン酸鉛(PZT)などの圧電セラミックスや、水晶、LaTaOなどの圧電単結晶などからなる薄膜である。
このような、振動型ジャイロセンサ素子10は、図2に示すIC回路40に接続されることで動作し、角速度に応じて発生するコリオリ力を検出する角速度センサ50として機能する。
IC回路40は、加算回路41と、増幅回路42と、移相回路43と、AGC(Automatic Gain Control)44と、差動増幅回路45と、同期検波回路46と、平滑回路47とを備えている。
振動型ジャイロセンサ素子10の1対の検出電極6b,6cは、それぞれ配線接続端子B,Cを介して、加算回路41と、差動増幅回路45に接続される。また、振動型ジャイロセンサ素子10の駆動電極6aは、配線接続端子Aを介して、AGC44の出力端と接続される。
角速度センサ50では、加算回路41、増幅回路42、移相回路43、AGC44及び振動型ジャイロセンサ素子10によっていわゆる移相発振回路が構成されており、この移相発振回路によって振動型ジャイロセンサ素子10の基準電極4a、駆動電極6a間に電圧が印加され振動子11を自励振動させる。振動子11の振動方向は、当該振動子11の厚み方向となる。
また、角速度センサ50では、1対の検出電極6b,6cが配線接続端子B,Cを介して接続された加算回路41、差動増幅回路45の出力端が、同期検波回路46に接続され、この同期検波回路46が平滑回路47に接続されており、これらと、圧電体5aとで、振動子11の角速度を検出する検出部として機能する。
すなわち、図2に示す角速度センサ50では、振動型ジャイロセンサ素子10の振動子11を上述した移相発振回路で自励振動させている際に、振動子11の長手方向に角速度が加えられることで振動方向に垂直な方向に発生するコリオリ力を、圧電体5aで検出し、検出電極6b,6cから互いに逆極性の信号として出力し、差動増幅回路45に入力する。差動増幅回路45にて増幅された出力は、同期検波回路46に入力され、同期検波が行われる。このとき、同期検波回路46には、同期検波を行うために、加算器41からの出力が同期信号として供給される。そして、同期検波回路46からの出力が、平滑回路47を介して、振動子11に生じたコリオリ力を検出することにより得られた直流信号である角速度信号として出力される。
以上のように、角速度センサ50では、圧電体5aを用いて振動子11を振動させるとともに、振動子11に生じるコリオリ力を圧電体5aによって検出し、この圧電体5aによって検出されたコリオリ力に基づいて角速度を検出することができる。
<実施例>
続いて、実施例として、上述した振動型ジャイロセンサ素子10を実際に作製し、その製造方法について説明をする。
上述したように、図1に示した振動型ジャイロセンサ素子10は、単結晶シリコン基板を加工することで形成される。
図5は、振動型ジャイロセンサ素子10を形成する際に用いる単結晶シリコン基板1の平面図であり、図6は、図5に示す単結晶シリコン基板1をXX線で切断した断面図である。上記単結晶シリコン基板1の一方主面1B、他方主面1Aは、熱酸化されて、後述する結晶異方性エッチング時の保護膜とするSiO膜が形成されている。
振動型ジャイロセンサ素子10で使用する単結晶シリコン基板1は、図5に示すように、当該単結晶シリコン基板1の一方主面1Bの面方位が{100}、図6に示すように側面1Cの面方位が{110}となるように切り出されている。なお、他方主面1Aは一方主面1Bと平行であるため、他方主面1Aの面方位も{100}となっている。
但し、“{ }”は、方向が異なる等価な面方位を総称して表すための記号であり、例えば、{100}は、(100),(010),(001)などを総称しているものとする。
このように結晶面方位を規定して切り出される単結晶シリコン基板1の大きさは、加工プロセスのラインに設けられた装置に応じて任意に設定される。例えば、本実施例では、縦×横が3cm×3cm角の単結晶シリコン基板1を用いている。
また、単結晶シリコン基板1の厚みは、作業性や、当該基板の値段により決定されるが、少なくとも振動型ジャイロセンサ素子10に形成する振動子11の厚み以上であればよい。例えば、本実施例では、図3を用いて示したように振動子11の厚みt4を100μmとしているので、単結晶シリコン基板1の厚みを3倍の300μmとしている。
図6に示すように、単結晶シリコン基板1の他方主面1A及び一方主面1Bには、熱酸化することでSiO膜である熱酸化膜2A,2Bを形成する。この熱酸化膜2A,2Bは、後述する結晶異方性エッチングを行う際の保護膜として機能する。熱酸化膜2A,2Bの厚みは、任意であるが、本実施例では、0.1μmとしている。また、本実施例で用いる、単結晶シリコン基板1は、伝導型としてN型を採用しているが、任意に決めることができる。
なお、以下の説明において、単結晶シリコン基板1において、熱酸化膜2Aが形成された他方主面1A側を表面とし、熱酸化膜2Bが形成された一方主面1B側を裏面とする。
このような単結晶シリコン基板1を用いて、まず、当該単結晶シリコン基板1の裏面において、結晶異方性エッチングを行う個所に形成されている熱酸化膜2Bをフォトエッチングにより除去する。
フォトエッチングは、熱酸化膜2B上に、上記除去する個所が開口したレジスト膜パターンを形成する工程(フォトリソグラフィー)と、上記パターンを用いて熱酸化膜2Bを除去する工程(エッチング)とに大別される。
図7は、単結晶シリコン基板1の熱酸化膜2B上にレジスト膜パターン3が形成された様子を示した平面図であり、図8は、図7で示す単結晶シリコン基板1をXX線で切断した際の断面図である。
図7に示すように、熱酸化膜2B上に形成されたレジスト膜パターン3は、{110}面と垂直な方向の長さをt8とし、{110}面と平行な方向の長さをt9とするt8×t9のサイズ長方形状をした開口部3aが所定の間隔を持って規則的に配列されたパターンとなっている。本実施例では、3×5個の開口部3aが形成されたパターンとしている。開口部3aの、それぞれが1つの振動型ジャイロセンサ素子10となる。
このレジスト膜パターン3は、半導体加工プロセスで利用されているフォトリソグラフィーと全く同様にして、熱酸化膜2B上をマイクロ波で加熱して水分を除去するプレベーキングを行ってから、感光性樹脂であるフォトレジスト膜を塗布し、上記開口部3aを形成するための上記パターンが形成されたマスクをフォトレジスト膜に露光し、現像をするという工程を経ることで形成される。
開口部3aの大きさを決めるt8、t9は、振動型ジャイロセンサ素子10の振動子11の形状と、単結晶シリコン基板10の厚みt1、図1で示した振動子の空間幅t7a,t7b,t7cによって決定される。なお、t8,t9の具体的な数値については、後で詳細に説明をする。
このようにして、図8に示すように、単結晶シリコン基板1の熱酸化膜2B上には、レジスト膜パターン3が形成されることになる。
続いて、レジスト膜パターン3によって形成された開口部3aの熱酸化膜2Bをエッチングにより除去する。図9は、レジスト膜パターン3によって形成された開口部3aの個所の熱酸化膜2Bのみが除去された単結晶シリコン基板1の様子を示した平面図であり、図10は、図9で示す単結晶シリコン基板1をXX線で切断した際の断面図である。
熱酸化膜2Bの除去する場合のエッチングは、イオンエッチング等の物理的エッチングでもよいし、湿式エッチングでもよいが、単結晶シリコン基板1の界面の平滑性を考慮すると熱酸化膜2Bのみが除去される湿式エッチングが好適である。
本実施例では、湿式エッチングの薬液としてフッ化アンモニウムを用いた。ただし、湿式エッチングの場合、長時間エッチングを行うと開口部分の側面からエッチングが進行する、いわゆるサイドエッチングが大きくなるため、熱酸化膜2Bの開口部分3aのみが除去された時点で終了するようエッチング時間を正確に制御する。
このようにして、レジスト膜パターン3の開口部3aに位置する熱酸化膜2Bは、図10に示すように除去される。
続いて、上述したエッチングにより、熱酸化膜2Bが除去されることで、レジスト膜パターン3の開口部3aと同じ大きさのt8×t9の開口部2Baで{100}面が露出した単結晶シリコン基板1に対して、湿式エッチングを施し、単結晶シリコン基板1の厚みを振動子11の厚みであるt4まで削り取る。
図11は、単結晶シリコン基板1において、熱酸化膜2Bが除去され、{100}面が露出したt8×t9の大きさの開口部2Baのみがエッチングされた様子を示した平面図であり、図12は、図11で示す単結晶シリコン基板1をXX線で切断した際の断面図である。また、図13は、図12に示す領域Aを拡大して示した図である。
ここで、単結晶シリコン基板1に対して施される湿式エッチングは、結晶方向にエッチング速度が依存する性質を利用した結晶異方性エッチングである。熱酸化膜2Bが除去され、{100}面が露出した上記開口部2Baに対して、結晶異方性エッチングをすると、図13に示すように{100}面に対して約55度の角度の面方位となる{111}面が現れ、振動子11の厚みであるt4分を確保するようにエッチングを終了することで、いわゆるダイヤフラム形状となる。
一般に、単結晶シリコンは、その結晶構造から、{111}面が、{100}面に較べ、非常にエッチングされにくいという結晶方向に対するエッチング速度依存性がある。具体的には、単結晶シリコンの{100}面のエッチング速度は、{111}面のエッチング速度の200倍程度となっている。
単結晶シリコンに対して結晶異方性エッチングを施す際に使用可能なエッチング液は、TMAH(水酸化テトラメチルアンモニウム)、KOH(水酸化カリウム)、EDP(エチレンジアミン-ピロカテコール-水)、ヒトラジンなどである。
本実施例では、エッチング液として熱酸化膜2Aと、熱酸化膜2Bとのエッチングレートの選択比がより大きくなるTMAH(水酸化テトラメチルアンモニウム)20%溶液を使用した。エッチング時には、エッチング液を攪拌しながら温度を80℃に保ち、6時間かけてダイヤフラムの深さt10が200μm、つまりエッチングすることで残る単結晶シリコン基板1の厚みt11が、振動子11の厚みt4と同じ、100μmとなるまでエッチングした。
ここで、結晶異方性エッチングを施すために、図7を用いて説明したレジスト膜パターン3によって形成した開口部3aのサイズを規定するt8、t9の数値について具体的に説明をする。
開口部3aの幅t9、つまりエッチング後のダイヤフラムの幅は、図13に示すようにt9=t9a+t9b+t9cとなっている。
t9cは、図3で示した振動子11の幅t6と、図1で示した振動子11の周辺に形成する周囲空間12の空間幅t7b、t7cを用いて、t9c=t6+t7b+t7cと表すことができる。
また、t9a,t9bは、それぞれ同じ長さであり、図13に示すように、結晶異方性エッチングを施した際に現れる{111}面と、単結晶シリコン基板1の裏面である{100}面とが55度の角度をなしていることから、ダイヤフラムの深さt10を用いてt9a=t9b=t10×1/tan55°と表すことができる。
したがって、開口部3aの幅t9は、t9={t10×1/tan55°}×2+(t6+t7b+t7c)となる。ここで、t6=100μm、t7b=t7c=200μm、t10=200μmとすると、t9=780μmとなる。
上述したような結晶性異方エッチングを行うと、レジスト膜パターン3の開口部3aにおけるt8方向にもt9方向と同様に、{100}面と55度の角度をなす{111}面が現れる。したがって、開口部の長さt8、つまりエッチング後のダイヤフラムの長さは、図3で示した振動子11の長さt5、図1で示した振動子11の周辺に形成する周囲空間12の空間幅t7aを用いて、t8={t10×1/tan55°}×2+(t5+t7a)となる。ここで、t5=2.5mm、t7a=200μm、t10=200μmとすると、t8=2980μmとなる。
上述までの説明では、単結晶シリコン基板1全体を図示しながら説明をしたが、説明の都合上、以下の説明においては、図11に領域Wとして示すダイヤフラムが形成された単結晶シリコン基板1のみを用いて説明をする。また、以下の説明では、熱酸化膜2A側に対する加工工程となるため、表面である熱酸化膜2A側を上面にした平面図、及びこの平面図を所定の位置で切断した断面図を用いて説明をする。
具体的には、図11に示す領域Wのダイヤフラムが形成された単結晶シリコン基板1を、熱酸化膜2Aを上面とすると、図14のような平面図となり、XX線で切断される断面図は、図15のようになる。
続いて、熱酸化膜2A上に、図1で示した基準電極4a、圧電体5a、駆動電極6a、検出電極6b,6cを形成するために下部電極膜、圧電膜、上部電極膜を成膜する。単結晶シリコン基板1の熱酸化膜2A上に、下部電極膜4、圧電膜5、上部電極膜6を順に成膜すると、その平面図は図16のようになり、図16に示すXX線で切断した断面図は図17に示すようになる。
本実施例では、下部電極膜4、圧電膜5、上部電極膜6を、全て、マグネトロンスパッタ装置を用いて成膜した。
まず、熱酸化膜2A上に、下部電極膜4を成膜する。本実施例では、まず、マグネトロンスパッタ装置の条件を、ガス圧:0.5Pa、RFパワー:1kWとして、熱酸化膜2A上にチタン(Ti)を膜厚が50nmとなるように成膜した。続いて、成膜したチタン(Ti)の上に、装置の条件をガス圧:0.5Pa、RFパワー:0.5kWとして、プラチナ(Pt)を膜厚が200nmとなるように成膜した。つまり、チタンと、プラチナとを上記膜厚となるように成膜して下部電極膜4を形成している。
次に、下部電極膜4上に圧電膜5を成膜する。本実施例では、まず、Pb(1+x)(Zr0.53Ti0.47)O3−y酸化物をターゲットとして用い、マグネトロンスパッタ装置の条件を、常温、ガス圧:0.7Pa、RFパワー:0.5kWとして、下層電極4として成膜されたプラチナ(Pt)上にチタン酸ジルコン酸鉛(PZT)の圧電体薄膜を膜厚が1μmとなるように成膜した。続いて、チタン酸ジルコン酸鉛(PZT)を成膜した単結晶シリコン基板1を電気炉に入れ、酸素雰囲気下、700℃、10分間という条件で結晶化熱処理を行うことで圧電膜5を形成した。
最後に、圧電膜5上に上部電極膜6を成膜する。本実施例では、マグネトロンスパッタ装置の条件を、ガス圧0.5Pa、RFパワー:0.5kWとして、圧電膜5上にプラチナ(Pt)を膜圧が200nmとなるように成膜した。
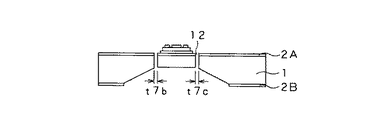
次に、上部電極膜6を加工して駆動電極6a、検出電極6b,6cを形成する。図18は、駆動電極6a、検出電極6b,6cが形成された単結晶シリコン基板1の様子を示した平面図であり、図19は、図18で示す単結晶シリコン基板1をXX線で切断した際の断面図である。
駆動電極6aは、上述したように振動子11を駆動するための電圧を印加する電極であり、振動子11の中心となるように形成される。また、検出電極6b,6cは、上述したように振動子11に発生したコリオリ力を検出するための電極であり、駆動電極6aを挟むように駆動電極6aと平行に、且つ接触しないように、振動子11に形成される。
また、図18に示すように、駆動電極6a,検出電極6b,6cは、その一方端部が、振動子11の根元である根元ラインRと一致するように形成され、各電極の上記一方端部には、それぞれ端子接合部6a,6b,6cが形成される。
本実施例では、駆動電極6aの幅t13を50μm、検出電極6b,6cの幅t14を10μm、駆動電極6a及び検出電極6b,6cの長さt12を2mm、検出電極6b,6cの駆動電極6aとの間隔t15をそれぞれ5μmとした。この駆動電極6a、検出電極6b,6cは、振動子11上に形成される範囲であれば、任意の大きさに設計することができる。また、本実施例では、端子接合部6a,6b,6cのそれぞれの長さt16を50μm、幅t17を50μmとした。
本実施例では、駆動電極6a、検出電極6b,6c及び端子接合部6a,6b,6cを、フォトリソグラフィー技術を用いて、上部電極膜6上にレジスト膜パターンを形成した後、イオンエッチングにより不要な部分の電極膜6を除去することで形成した。
本発明は、この駆動電極6a、検出電極6b,6c及び端子接合部6a,6b,6cを形成する際の手法に限定されるものではなく、上述した手法以外にも様々な手法を適用することができる。
次に、圧電膜5を加工して振動子11上に圧電体5aを形成する。図20は、圧電膜5を加工して圧電体5aが形成された単結晶シリコン基板1の様子を示した平面図であり、図21は、図20で示す単結晶シリコン基板1をXX線で切断した際の断面図である。
圧電体5aは、上部電極膜6を加工して形成した駆動電極6a,検出電極6b,6cを完全に覆うような形状であればどのような形状であってもかまわない。
本実施例では、圧電体5aの長さt18を2.2mm、幅t19を90μmとした。このような大きさの圧電体5aは、その中心が振動子11の中心と一致し、一方端部が、振動子11の根元である根元ラインRと一致させるようにする。
圧電体5aの幅t18は、振動子11の幅t4以下の幅である必要がある。また、本実施例では、上述した端子接合部6a,6b、6cの下に圧電膜5を、端子接合部6a,6b、6cの各外周より5μmの幅を持たせて残してある。この端子接合部6a,6b、6cの下に残される圧電膜5は、振動型ジャイロセンサ素子10全体の形状サイズにより任意に設定されることになる。
本実施例では、フォトリソグラフィー技術を用いて、圧電体5a及び端子接合部6a,6b、6cの下に残す圧電膜5の形状のレジスト膜パターンを形成した後、フッ硝酸溶液による湿式エッチングにより不要な部分の圧電膜5を除去することで、圧電体5aを形成した。
上述したように、本実施例では、圧電体5aを形成するために圧電膜5の不要部分を除去する手法を湿式エッチングとしているが、本発明にはこれに限定されるものではなく、物理的なエッチングであるイオンエッチングによる除去方法や、化学的な作用と物理的な作用でエッチングする反応性イオンエッチング(RIE:Reactive Ion Etching)による除去方法などを適用することができる。
次に、下部電極膜4を加工して、振動子11上に基準電極4aを形成する。図22は、下部電極膜4を加工して基準電極4aが形成された単結晶シリコン基板1の様子を示した平面図であり、図23は、図22で示す単結晶シリコン基板1をXX線で切断した際の断面図である。
基準電極4aは、圧電膜5を加工して形成した圧電体5aを完全に覆うような形状であればどのような形状であってもかまわない。
本実施例では、基準電極4aの長さt20を2.3mmとし、幅t21を94μmとした。このような基準電極4aは、その中心が振動子11の中心と一致し、一方端部を、振動子11の根元である根元ラインRと一致させるようにする。
基準電極4aの幅t20は、振動子11の幅t4以下の幅である必要がある。また、本実施例では、上述したように除去しなかった圧電膜5の下の下部電極膜4を、上記圧電膜5の外周より5μmの幅を持たせて残してある。この幅に関しては振動型ジャイロセンサ素子10全体の形状サイズにより任意に設定されることになる。
また、基準電極4aと、外部との電気的接合を図るため、図22に示すように下部電極膜4によって配線接続端子Dが形成されている。上述したように、圧電膜5の下に残された下部電極膜4を介して基準電極4aと、配線接続端子Dとは、電気的に接続されている。
本実施例では、振動型ジャイロセンサ素子10と、外部との電気的な接続は、ワイヤーボンディングにより行うことを前提としているため、配線接続端子Dの実際に配線される端子部をワイヤーボンディング時に必要となる面積分だけ確保する。
本実施例では、配線接続端子Dの端子部の長さt22を200μm、幅t23を100μmとした。振動型ジャイロセンサ素子10の外部との接合に関しては、接合方法も含めて任意であり、採用する接合方法に応じて、配線接続端子Dの形状を最適となるように設定する。
本実施例では、フォトリソグラフィー技術を用いて、図22に示すような形状となるレジスト膜パターンを形成した後、イオンエッチングにより不要な部分の下部電極膜4を除去することで基準電極4a、配線接続端子D、基準電極4aと配線接続端子Dとを電気的に接続する下部電極膜4を形成した。
上述したように、本実施例では、基準電極4aを形成するために下部電極膜4の不要部分を除去する手法を、物理的なエッチングであるイオンエッチングとしているが、本発明はこれに限定されるものではなく、化学的なエッチングである湿式エッチングや、化学的な作用と物理的な作用でエッチングする反応性イオンエッチング(RIE:Reactive Ion Etching)による除去方法を適用することができる。
次に、駆動電極6a、検出電極6b,6cの一方端部側にそれぞれ形成されている端子接合部6a,6b、6cと、配線接続端子A,B,Cとの電気的接合を円滑にするために平坦化レジスト膜7を形成する。
図24は、平坦化レジスト膜7が形成された単結晶シリコン基板1の様子を示した平面図であり、図25は、図24に示す単結晶シリコン基板1をYY線で切断した際の断面図である。
上述した図22に示すように、配線接続端子A,B,Cと、端子接合部6a,6b、6cとをそれぞれ物理的に接合する際には、圧電体5aを形成する際に残された圧電膜5の端部と、基準電極4aを形成する際に残された下部電極膜4の端部とをそれぞれ通過しなくてはならない。
本実施例において、圧電体5aは、圧電膜5を湿式エッチングによってエッチングすることで形成されており、エッチングされた端部は、単結晶シリコン基板1方向へ、逆テーパ形状、あるいは、垂直形状となっている。そのため、平坦化レジスト膜7を形成せずに、端子接合部6a,6b、6cと、配線接続端子A,B,Cとをそれぞれ電気的に接続するように配線膜を形成すると、上記端部の段差により電気的接続が断たれてしまう虞がある。
また、基準電極4aと電気的に接続されている下部電極膜4の端部が露出しているため、平坦化レジスト膜7を形成しないと、駆動電極6a,検出電極6b,6cと、基準電極4aとが短絡してしまうことになる。
以上の理由により、図24に示すように、端子接合部6a,6b、6c上に、平坦化レジスト膜7を形成し、上記圧電膜5の端部の段差をなくし、上記下部電極膜4の端部が露出しないようにする。
平坦化レジスト膜7の形状は、上述したように上記圧電膜5の端部の段差をなくし、上記下部電極膜4の端部が露出しない形状であれば任意に設定できる。本実施例では、平坦化レジスト膜7の幅t24を200μm、長さt25を50μmとした。
平坦化レジスト膜7は、フォトリソグラフィー技術により、図24に示す個所に所望の形状でパターニングしたレジスト膜を、280〜300℃程度の熱処理を加えることで硬化させる。本実施例では、レジスト膜の厚みを2μm程度としたが、この厚みに関しては、圧電膜5、下部電極膜4の厚みに応じて変化させ、両者の合計の厚み以上とすることが望ましい。本実施例では、レジスト膜を用いて平坦化レジスト膜7を形成しているが、上記理由を回避することの可能な、非導電性の材料であれば、その形成方法も含めて任意である。
次に、駆動電極6a、検出電極6b,6cを外部に接続するための配線処理を施す際に用いる配線接続端子A,B,Cを形成する。図26は、配線接続端子A,B,Cを形成した単結晶シリコン基板1の様子を示す平面図であり、図27は、図26に示した単結晶シリコン基板1をYY線で切断した際の断面図である。
図26に示す配線接続端子A,B,Cは、駆動電極6a、検出電極6b,6cの端子接合部6a,6b、6cとそれぞれ接続されている。本実施例では、振動型ジャイロセンサ素子10と、外部との電気的な接続は、ワイヤーボンディングにより行うことを前提としているため、配線接続端子A,B,Cの実際に配線される端子部を、上述した配線接続端子Dと同様に、ワイヤーボンディング時に必要となる面積分だけ確保する。
各配線接続端子A,B,Cは、平坦化レジスト膜7の上面を通り、端子接合部6a,6b、6cとそれぞれ接触するように、熱酸化膜2A上に形成される。配線接続端子A,B,Cと、端子接続部6a,6b、6cとの接合個所である各電極接合部の形状は、任意であるが電気的な接触抵抗を減少させるために5μm四方以上の大きさが望ましい。
配線接続端子A,B,Cにおいて、実際に配線が接続される端子部は、上述したようにワイヤーボンディング接合を行うのに必要な面積分を確保可能な形状となる。
本実施例では、配線接続端子A,B,C、それぞれの端子部の長さt26を200μm、幅t27を100μmとした。振動型ジャイロセンサ素子10の外部との接合に関しては、接合方法も含めて任意であり、採用する接合方法に応じて、配線接続端子A,B,Cの形状を最適となるように設定する。
本実施例では、フォトリソグラフィー技術を用いて、図26に示すような形状となるレジスト膜パターンを形成した後、配線接続端子A,B,Cをスパッタリングにより形成した。スパッタリングした際に、不要な部分に付着した膜は、レジスト膜パターンを除去する際に、同時に除去する、いわゆるリフトオフの手法にて除去した。
具体的には、配線接続端子A,B,Cは、付着力を向上させるためのチタン(Ti)を20nmだけ堆積させ、電気抵抗が低く、低コストである銅(Cu)を300nm堆積させ、さらに、ワイヤーボンディングとの接合を容易にするため、金(Au)を300nm堆積させることで形成した。なお、この配線接続端子A,B,Cを形成する際に用いる材料及び配線接続端子A,B,Cの形成方法は任意であり、本発明は、上記材料及び形成方法に限定されるものではない。
続いての工程は、図1で示したように振動型ジャイロセンサ10に対して周囲空間12を形成することで片持ち梁の振動子11を作製する工程である。図28は、単結晶シリコン基板1に周囲空間12を形成することで片持ち梁の振動子11が形成された様子を示した平面図であり、図29は、図28で示す単結晶シリコン基板1をYY線で切断した様子を示した断面図であり、図30は、図28で示す単結晶シリコン基板1をXX線で切断した様子を示した断面図である。
図28に示すように周囲空間12は、検出電極6b,6cが形成されている側の振動子11の側面から左右の方向にそれぞれt7b及びt7cの幅を有する空間と、振動子11の長手方向で振動子11の根元ラインRと反対の端部側にt7aの幅を有する空間とによって構成された、いわゆる“コ”の字型の形状をした空間となっている。
本実施例では、t7b、t7cを、それぞれ200μmとしている。このt7b、t7cは、周囲空間12内の気体の状態や、要求される振動子11の振動の質を示すQ値などによって決定されることになる。
本実施例では、まず、フォトリソグラフィー技術を用いて、図28に示すような“コ”の字型の形状のレジスト膜パターンを熱酸化膜2A上に形成した後、熱酸化膜2Aをイオンエッチングで除去する。熱酸化膜2Aを除去するには、湿式エッチングでも可能であるが、サイドエッチングが発生することによる寸法誤差を考慮するとイオンエッチングが好適である。
続いて、熱酸化膜2Aが除去された“コ”の字型の単結晶シリコン基板1を、反応性イオンエッチング(RIE:Reactive Ion Etching)にてエッチングして貫通させることで周囲空間12を形成する。
本実施例では、誘導結合型プラズマ(ICP:Inductively Coupled Plasma)を備えたエッチング装置を用いて、エッチング工程と、エッチングした個所に側壁保護のための側壁保護膜を成膜する工程とを繰り返すBoschプロセス(Bosch社)にて、垂直な側壁面を有する振動子11を形成した。
このBoschプロセスを用いることで、ICPにより高密度なプラズマを生成し、エッチングのためのSFと、側壁保護のためのCのガスを交互に導入することで、毎分10μm程の速度でエッチングしながら、垂直な側壁面を有する振動子11を形成することができる。
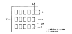
以上のプロセスにより、振動型ジャイロセンサ素子10の形成に関する、圧電素子形成、形状形成、配線形成の主要工程が終了し、例えば、図31に示すように、単結晶シリコン基板1内に、振動型ジャイロセンサ素子10が複数個、ここでは、5×3個、形成されることになる。
1枚の単結晶シリコン基板1内に形成される振動型ジャイロセンサ素子10の数は、図31に示すように5×3個に限らず、設計する振動型ジャイロセンサ素子10の大きさ、及び形成する際のそれぞれのピッチにより決定されることになる。
次の工程では、このように単結晶シリコン基板1に形成された複数の振動型ジャイロセンサ素子10を、切断し単一の素子とする。単結晶シリコン基板1から、振動型ジャイロセンサ素子10を分断する際の手法や、寸法は、特に決められたものではなく、分断後の形状も任意である。
本実施例においては、図32に示す素子分断線20をなぞるように、ダイヤモンドカッターで分断傷を付けた後、手で直接、単結晶シリコン基板1を折り、振動型ジャイロセンサ素子10を取り出した。なお、単結晶シリコン基板1を分断する手法も任意の手法が適用可能であり、例えば、砥石による研削や単結晶シリコン基板1の面方位を利用して切断する手法などでもよい。
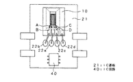
続いて、図33に示すように、個々に分断した振動型ジャイロセンサ素子10を、IC基板21に貼り付ける。振動型ジャイロセンサ素子10と、IC基板21との貼り付け手法は任意であるが、本実施例では、嫌気性接着剤を用いて貼り付けた。
IC基板21に、振動型ジャイロセンサ素子10を貼り付けた後、電気的な接続を行う。IC基板21上には、冒頭の図2を用いて説明したIC回路40が搭載されている。また、IC基板21には、図2で示したAGC44の端部と接続された基板端子22a、同期検波回路45に接続された基板端子22b,22c、図示しない基準電極と接続された基板端子22dが形成されている。
本実施例では、振動型ジャイロセンサ素子10の配線接続端子A,B,C,Dと、IC基板21内の基板端子22a,22b,22c,22dとをそれぞれワイヤーボンディングによる結線方法を用いて電気的接続を行った。この結線方法に関しても任意であり、半導体で用いられる導電性バンプを形成する手法も利用可能である。
次に、図34に示すように、振動型ジャイロセンサ素子10及びIC基板21上の回路と、外部との接触をなくすためがバー材30を取り付け、保護をする。カバー材30の材料は、任意であるが外部のノイズの影響を考慮してSUSなど、シールド効果のあるものが望ましい。また、カバー材30は、振動子11の振動を妨げない形状とする必要がある。このようにして、角速度センサ50が形成されることになる。
このように角速度センサ50を構成する振動型ジャイロセンサ素子10が備える振動子11の駆動電極6aに、電圧を印加して所定の共振周波数で振動させた場合、振動子11は、振動子11の厚み方向である縦方向に縦共振周波数で共振すると共に、振動子11の幅方向である横方向に横共振周波数で共振することになる。
ところで、振動型ジャイロセンサ素子10の角速度の検出感度(以下、単に感度と呼ぶ。)は、振動子11を自励振動させた際の振動量、検出電極6b,6cで検出される検出信号の信号レベル、検出効率に比例して高くなる。振動型ジャイロセンサ素子10の感度を高くすることができれば、当該振動型ジャイロセンサ素子10の性能を大幅に向上させることができる。
例えば、振動子11の振動量は、駆動電極6aの幅を広くして駆動電極6aの面積を増加させることで、増やすことができる。また、検出信号の信号レベルは、振動子11に角速度が印加された際に圧電体5aの変化が最も大きくなる振動子11の根元側を残すように検出電極6b,6cの長さを調節することで、検出電極の単位面積あたりの平均電荷量が増すため高くすることができる。さらに、検出効率は、検出電極6b,6cの振動子11に対する位置を適切に決めることで、上げることができる。
上述の説明では、振動子11に形成する駆動電極6aの幅t13、検出電極6b,6cの長さt12、検出電極6b,6cの振動子11上での位置を固定的に、例えば、図18に示すように記載しているが、このままだと最適な感度とはなっていない。そこで、以下の説明において、駆動電極6aの幅、検出電極6b,6cの長さ、検出電極6b,6cの振動子11上での位置を変化させ、それぞれの感度を測定し、振動型ジャイロセンサ素子10の感度を最適にする適切な駆動電極6aの幅、適切な検出電極6b,6cの長さ、適切な検出電極6b,6cの振動子11上の位置を決定する。
このとき、電極膜6から駆動電極6a、検出電極6b,6cを形成する工程は、イオンエッチングする際に電極膜6上に形成するレジスト膜パターンの形状を変える以外は、上述した説明と全く同様であるため説明を省略する。
(駆動電極幅)
まず、駆動電極6aの幅を変化させた場合について説明をする。なお、上述までの説明においては、駆動電極6aの幅をt13、検出電極6b,6cの幅をt14として説明しているが、以下の説明においては、駆動電極6aの幅をW0、検出電極6b,6cの幅をそれぞれW1,W2として再定義する。
図35に、駆動電極6aの幅W0を変化させた振動型ジャイロセンサ素子10を示し、図36に、この振動型ジャイロセンサ素子10の感度を測定した結果を示す。
なお、駆動電極6aの幅W0を変化させることに伴って、以下の条件を満たしながら、検出電極6b,6cの幅W1,W2も変化することになる。検出電極6b,6cの幅W1,W2を変化させる際の条件は、駆動電極6aと、検出電極6b,6cとの間隔を振動子11が良好に駆動可能な程度確保することと、振動子11の側壁面11b,11c側からある程度の距離を確保して検出電極6b,6cを配置することの2つである。
図36の横軸である駆動電極幅は、振動子11上に形成した駆動電極6aの幅W0と、検出電極6b,6cの幅W1,W2との総和である有効圧電膜幅W(W=W0+W1+W2)に対する駆動電極6aの幅W0の比(W0/W)、つまり、駆動電極6aの幅W0を、有効圧電薄膜幅Wを1としたときの相対値で示している。なお、以下の説明においては、駆動電極6aの幅W0を相対値で表す場合は、駆動電極6aの相対幅と呼ぶ。
また、図36の縦軸である感度は、振動子11を自励振動させた場合の振動子11の振動量と、検出電極6b,6cから検出される検出信号との積で求められる感度を、振動子11上に標準電極を形成した場合に得られる感度を1(a.u)として、この相対値で示している。つまり、図36に示す感度が1(a.u)以上であると、振動子11上に標準電極を形成した振動型ジャイロセンサ素子10の感度を上回っている。
標準電極とは、図37に示すように、駆動電極6aの幅W0と、検出電極6b,6cの幅W1,W2とを、W0:W1:W2=2:1:1とし、駆動電極6aと、検出電極6b,6cとの間隔をそれぞれ限りなく0となるようにし、さらに、検出電極6b,6cの振動子11上の設置位置を振動11の側壁面11b,11c方向にそれぞれ限りなく近づけて配置した場合の駆動電極6a,検出電極6b,6cのことである。
また、駆動電極6a、検出電極6b,6cの長さは、図37に示すように、振動子11の根元ラインRからそれぞれの電極領域の重心位置までの距離とし、それぞれL1,L2として定義する。駆動電極6a、検出電極6b,6cが標準電極である場合、L1=L2とする。
したがって、駆動電極6a、検出電極6b,6cが標準電極である場合、標準電極6aの幅を上述した相対幅で表すと、W0:W1:W2=2:1:1であることから、2/(2+1+1)=0.5となり、このときの感度を1(a.u)とする。
図36に示すように、駆動電極6aの相対幅を0.5から増加させていくと、感度は1(a.u)から1.5(a.u)程度まで上昇をする。そして、感度は、駆動電極6aの相対幅の増加に伴い減少していき、相対幅が0.95のとき再び1(a.u)となる。そして、駆動電極6aの相対幅が1となるときに、感度は、0.6(a.u)程度となる。よって、振動型ジャイロセンサ素子10の感度は、0.5<相対幅(W0/W)≦0.95の範囲において、駆動電極6a、検出電極6b,6cを標準電極とした場合の感度1.0(a.u)を大幅に上回ることになる。
ところで、図36に示すように、駆動電極6aの相対幅が、0.95<相対幅(W0/W)<1の範囲での感度の低下は、振動型ジャイロセンサ素子10を、図2に示すように、IC回路40と接続し、角速度センサ50を構成した場合の、IC回路40の影響によるものである。このように、駆動電極6aの相対幅が0.95<相対幅(W0/W)<1の範囲において、振動型ジャイロセンサ素子10の感度は、電子回路に依存することになる。これは、IC回路40を改良することで容易に改善でき、0.95<相対幅(W0/W)<1の範囲においても、1(a.u)以上の感度とすることが可能である。
したがって、振動子11上に標準電極を形成した振動型ジャイロセンサ素子10の感度、1(a.u)以上となる駆動電極6aの相対幅は、IC回路40といった振動型ジャイロセンサ素子10を駆動させる電子回路の影響を無視した場合には、0.5<相対幅(W0/W)<1で規定され、電子回路の影響を厳密に考慮した場合には、0.5<相対幅(W0/W)≦0.95で規定されることになる。つまり、この相対幅となるように駆動電極6aの幅W0を決定することで、振動型ジャイロセンサ素子10の感度を高感度にすることができる。
(検出電極長さ)
続いて、検出電極6aの長さを変化させた場合について説明をする。図38に、検出電極6b,6cの長さを変化させた振動型ジャイロセンサ素子10を示し、図39に、この振動型ジャイロセンサ素子10の感度を測定した結果を示す。
図39の横軸である検出電極長さは、図38に示すように、振動子11の根元ラインRから駆動電極6aの重心位置までの距離をL1、同じく根元ラインRから検出電極6b,6cの重心位置までの距離をL2としたとき、L1に対するL2の比(L2/L1)として示している。
つまり、図39の横軸の検出電極の長さは、振動子11の根元ラインRから検出電極6b,6cの重心位置までの距離L2を、根元ラインRから、駆動電極6aの重心位置までの距離を1としたきの相対値として示している。なお、以下の説明においては、検出電極6b,6cの長さを相対値で表す場合は、検出電極6b,6cの相対長さと呼ぶ。
また、図39の縦軸である感度は、振動子11を自励振動させた場合の振動子11の振動量と、検出電極6b,6cから検出される検出信号との積で求められる感度を、振動子11上に標準電極を形成した場合の感度を1(a.u)とした相対値で示している。なお、標準電極については、図37を用いて、既に説明をしているので省略をする。
ところで、駆動電極6a、検出電極6b,6cが標準電極である場合の検出電極6b,6cの長さを上述した相対長さで表すと、L1=L2であるため、L2/L1=1となる。このときの感度を1(a.u)とする。
一方、本発明においては、検出電極6b,6cの長さについては、標準電極を振動子11上に形成させた際に得られる感度を20%向上させるように検出電極6b,6cの長さを規定することにする。したがって、図39に示すように、振動型ジャイロセンサ素子10の感度を、標準電極における感度、1(a.u)よりも20%向上させた1.2(a.u)以上とするには、検出電極6b,6cの相対長さを0.15≦相対長さ(L2/L1)≦0.75の範囲で規定すればよいことになる。
ところで、図38に示すように、検出電極6b,6cの相対長さが、0<相対長さ(L2/L1)<0.15の範囲での感度の低下は、振動型ジャイロセンサ素子10を、図2に示すように、IC回路40と接続し、角速度センサ50を構成した場合の、IC回路40の影響によるものである。このように、検出電極6b,Cの相対長さが、0<相対長さ(L2/L1)<0.15の範囲において、振動型ジャイロセンサ素子10の感度は、電子回路に依存することになる。これは、IC回路40を改良することで容易に改善でき、0<相対長さ(L2/L1)<0.15の範囲においても、1.2(a.u)以上の感度とすることが可能である。
したがって、振動子11上に標準電極を形成した振動型ジャイロセンサ素子10の感度、1.2(a.u)以上となる検出電極6b,6cの相対長さは、IC回路40といった振動型ジャイロセンサ素子10を駆動させる電子回路の影響を無視した場合には、0<相対長さ(L2/L1)≦0.75で規定され、電子回路の影響を厳密に考慮した場合には、0.15≦相対長さ(L2/L1)≦0.75で規定されることになる。つまり、この相対長さとなるように振動子11の根元ラインRからの検出電極6b,6cの重心位置までの距離L2を決定することで、振動型ジャイロセンサ素子10の感度を高感度にすることができる。
(検出電極位置)
次に、検出電極6b,6cの振動子11上における位置を変化させた場合について説明をする。なお、上述までの説明においては、振動子11の幅をt6として説明しているが、以下の説明においては、振動子11の幅をSとして再定義する。
図40に、検出電極6b,6cの振動子11上における位置を変化させた振動型ジャイロセンサ素子10を示し、図41に、この振動型ジャイロセンサ素子10の感度を測定した結果を示す。
図41の横軸である検出電極位置は、検出電極6bにおいては、図40に示すように、振動子11の側壁面11bから検出電極6bの幅方向の中心までの最短距離をP1としたとき、振動子11の幅Sに対するP1の比(P1/S)として示している。一方、検出電極6cにおいては、同じく図40に示すように、振動子11の側壁面11cから検出電極6cの幅方向の中心までの最短距離をP2としたとき、振動子11の幅Sに対するP2の比(P2/S)として示している。
つまり、図41の横軸の検出電極位置は、振動子11の側壁面11b,11cから検出電極6b,6cの幅方向の中心位置までの距離P1,P2を、それぞれ振動子11の幅Sを1としたときの相対値として示している。なお、以下の説明においては、検出電極6b,6cの位置を相対値で表す場合は、検出電極6b,6cの相対位置と呼ぶ。
また、図41の縦軸である感度は、振動子11を自励振動させた場合の振動子11の振動量と、検出電極6b,6cから検出される検出信号との積で求められる感度を、振動子11上に標準電極を形成した場合の感度を1(a.u)とした相対値で示している。なお、標準電極については、図37を用いて、既に説明をしているので省略をする。
ところで、駆動電極6a、検出電極6b,6cが標準電極である場合の検出電極6b,6cは、各電極間の間隔が限りなく0に近く、振動子11の側壁面11b,11c方向にそれぞれ限りなく近づけて配置されている。したがって、検出電極6b,6cの位置を、上述した相対位置で表すと、振動子11の側壁面11b,11cから検出電極6b,6cの幅方向の中心までの最短距離P1,P2は、図37に示すように、それぞれ0.125となる。このときの感度を、1(a.u)とする。
図41に示すように、検出電極6b,6cの相対位置を0.125からマイナス方向、つまり振動子11の側壁面11b,11c方向に変化させていくと、感度は1(a.u)から2(a.u)程度まで上昇する。そして、感度は、検出電極6b,6cの相対位置の側壁面11b,11c方向への変化に伴い、減少していき、相対位置が0.04のとき再び1(a.u)となり、更なる変化に応じて1(a.u)以下となる。
よって、振動型ジャイロセンサ素子10の感度は、0.04≦相対位置(P1/S)<0.125、0.04≦相対位置(P2/S)<0.125の範囲において、駆動電極6a、検出電極6b,6cを標準電極とした場合の感度1.0(a.u)を大幅に上回ることになる。
ところで、図41に示すように、検出電極6b,6cの相対位置が、0<相対位置(P1/S)<0.04、0<相対位置(P2/S)<0.04の範囲での感度の低下は、振動型ジャイロセンサ素子10を、図2に示すように、IC回路40と接続し、角速度センサ50を構成した場合の、IC回路40の影響によるものである。
このように、検出電極6b,6cの相対長さが0<相対位置(P1/S)<0.04、0<相対位置(P2/S)<0.04の範囲において、振動型ジャイロセンサ素子10の感度は、電子回路に依存することになる。これは、IC回路40を改良することで容易に改善でき、0<相対位置(P1/S)<0.04、0<相対位置(P2/S)<0.04の範囲においても、1(a.u)以上の感度とすることが可能である。
したがって、振動子11上に標準電極を形成した振動型ジャイロセンサ素子10の感度、1(a.u)以上となる検出電極6b,6cの相対長さは、IC回路40といった振動型ジャイロセンサ素子10を駆動させる電子回路の影響を無視した場合には、0<相対位置(P1/S)<0.125、0<相対位置(P2/S)<0.125で規定され、電子回路の影響を厳密に考慮した場合には、0.04≦相対位置(P1/S)<0.125、0.04≦相対位置(P2/S)<0.125で規定されることになる。つまり、この相対位置となるように検出電極6b,6cの位置を決定することで、振動型ジャイロセンサ素子10の感度を高感度にすることができる。
このように、振動型ジャイロセンサ素子10は、駆動電極6aの幅、検出電極6b,6cの長さ、検出電極6b,6cの位置を規定することで、振動子11上に標準電極を形成した場合と比較して感度を飛躍的に向上させることができる。
なお、上述した説明では、駆動電極6aの幅、検出電極6b,6cの長さ、検出電極6b,6cの位置をそれぞれ単独で規定しているが、これは、説明のためであって、上述した条件を任意に組み合わせて、振動子11上に駆動電極6a,検出電極6b,6cを形成し、感度を向上させることも当然可能である。
また、上述した説明では、駆動電極6a、検出電極6b,6cの形状は、全て矩形として記載しているが、本発明は、このように各種電極の形状に限定されるものではない。例えば、図42に示すように、駆動電極6a,検出電極6b,6cの電極形状を台形形状とすることも可能である。
駆動電極6aを図42に示すような台形形状とすることで、電極面積が増加するため、振動型ジャイロセンサ素子10の感度を向上させることができる。また、検出電極6b,6cを、図42に示すような、根元ラインR側が末広がりとなるような台形形状とすることで、角速度印加時に最も変動が大きくなる振動子11の根元ラインR側の検出電極6b,6cの面積が増加し、当該検出電極6b,6cで検出される検出信号レベルを高くすることができるため、振動型ジャイロセンサ素子10の感度を向上させることができる。
このように、駆動電極6a,検出電極6b,6cの形状を台形形状とし、上述した駆動電極6aの幅、検出電極6b,6cの長さ、検出電極6b,6cの位置を規定することで、相乗効果により、さらに振動型ジャイロセンサ素子10の感度を向上させることができる。
なお、実施例においては、上述した手法によって形成した振動型ジャイロセンサ素子10を一例として示し、この振動型ジャイロセンサ素子10が備える振動子11上に形成する駆動電極6aの幅、検出電極6b,6cの長さ、検出電極6b,6cの振動子11上の位置を規定するようにしているが、本発明は、これに限定されるものではなく、単結晶シリコン基板上に薄膜形成プロセスによって形成された下部電極、圧電薄膜、上部電極を有する片持ち梁形状の振動子を備え、圧電薄膜の圧電効果を利用して角速度を検出する振動型ジャイロセンサ素子に対して広く適用することができる。
本発明を実施するための最良の形態として示す振動型ジャイロセンサ素子について説明するための斜視図である。 同振動型ジャイロセンサ素子を備えた角速度センサの構成について説明するための図である。 同振動型ジャイロセンサ素子が備える振動子について説明するための斜視図である。 同振動型ジャイロセンサ素子について説明するための平面図である。 同振動型ジャイロセンサ素子を製造する際に用いる単結晶シリコン基板について説明するための平面図である。 図5に示す単結晶シリコン基板をXX線で切断した際の断面図である。 単結晶シリコン基板にレジスト膜パターンを形成した様子を示す平面図である。 図7に示す単結晶シリコン基板をXX線で切断した際の断面図である。 単結晶シリコン基板の熱酸化膜を除去した際の様子を示す平面図である。 図9に示す単結晶シリコン基板をXX線で切断した際の断面図である。 単結晶シリコン基板に結晶異方性エッチングを施した様子を示す平面図である。 図11に示す単結晶シリコン基板XX線で切断した際の断面図である。 図12に示す領域Aを拡大して示した断面図である。 単結晶シリコン基板の表面側の様子を示した平面図である。 図14に示す単結晶シリコン基板をXX線で切断した際の断面図である。 下部電極膜、圧電膜、上部電極膜が形成された単結晶シリコン基板の様子を示す平面図である。 図16に示す単結晶シリコン基板をXX線で切断した際の断面図である。 駆動電極、検出電極が形成された単結晶シリコン基板の様子を示す平面図である。 図18に示す単結晶シリコン基板をXX線で切断した際の断面図である。 圧電体が形成された単結晶シリコン基板の様子を示す平面図である。 図20に示す単結晶シリコン基板をXX線で切断した際の断面図である。 基準電極が形成された単結晶シリコン基板の様子を示す平面図である。 図22に示す単結晶シリコン基板をXX線で切断した際の断面図である。 平坦化レジスト膜が形成された単結晶シリコン基板の様子を示す平面図である。 図24に示す単結晶シリコン基板をYY線で切断した際の断面図である。 配線接続端子が形成された単結晶シリコン基板の様子を示す平面図である。 図26に示す単結晶シリコン基板をYY線で切断した際の断面図である。 振動子の周辺に反応性イオンエッチングにより周囲空間が形成された単結晶シリコン基板の様子を示す平面図である。 図28に示す単結晶シリコン基板をYY線で切断した際の断面図である。 図28に示す単結晶シリコン基板をXX線で切断した際の断面図である。 複数の振動型ジャイロセンサ素子が形成された単結晶シリコン基板を示す平面図である。 単結晶シリコン基板に形成された複数の振動型ジャイロセンサ素子を切断する際の切断線を示した単結晶シリコン基板の様子を示す平面図である。 振動型ジャイロセンサ素子をIC基板上に貼り付けた際の様子を示す平面図である。 振動型ジャイロセンサ素子を備える角速度センサにカバー材を取り付けた際の様子を示す平面図である。 振動型ジャイロセンサ素子において、変化させる駆動電極の幅について説明するための図である。 駆動電極の相対幅と、感度との関係を示した図である。 標準電極について説明するための図である。 振動型ジャイロセンサ素子において、変化させる検出電極の長さについて説明するための図である。 検出電極の相対長さと、感度との関係を示した図である。 振動型ジャイロセンサ素子において、変化させる検出電極の位置について説明するための図である。 検出電極の相対位置と、感度との関係を示した図である。 駆動電極、検出電極の形状を矩形形状以外とした場合の一例を示した図である。
符号の説明
1 単結晶シリコン基板、4a 基準電極、5a 圧電体、6a 駆動電極、6b,6c 検出電極、10 振動型ジャイロセンサ素子、11 振動子、12, 周囲空間、R 根元ライン

Claims (38)

  1. 単結晶シリコン基板上に薄膜形成プロセスにより形成された下部電極、圧電薄膜、上部電極を有する片持ち梁形状の振動子を備え、上記圧電薄膜の圧電効果を利用して角速度を検出する振動型ジャイロセンサ素子であって、
    上記振動子は、上記上部電極として、上記振動子を振動させる電圧を印加する上記振動子の長手方向に形成された駆動電極と、上記駆動電極を挟む形で、上記駆動電極と接触することなく平行に上記振動子の長手方向に形成された第1の検出電極及び第2の検出電極とを有し、
    上記振動子の根元から上記駆動電極の重心位置までの距離をL1、上記振動子の根元から上記第1の検出電極の重心位置までの距離をL2、上記振動子の根元から上記第2の検出電極の重心位置までの距離を同じくL2とした場合に、以下に示す条件(1)を満たすこと
    を特徴とする振動型ジャイロセンサ素子。
    (1)0<(L2/L1)≦0.75
  2. さらに、以下に示す条件(2)を満たすこと
    を特徴とする請求項1記載の振動型ジャイロセンサ素子。
    (2)0.15≦(L2/L1)≦0.75
  3. 上記第1の検出電極が形成されている側の上記振動子の側壁面から、上記第1の検出電極の幅方向の中心位置までの最短距離をP1、上記第2の検出電極が形成されている側の上記振動子の側壁面から、上記第2の検出電極の幅方向の中心位置までの最短距離をP2、上記振動子の幅をSとした場合に、以下に示す条件(3),(4)を満たすこと
    を特徴とする請求項1記載の振動型ジャイロセンサ素子。
    (3)0<(P1/S)<0.125
    (4)0<(P2/S)<0.125
  4. さらに、以下に示す条件(5),(6)を満たすこと
    を特徴とする請求項3記載の振動型ジャイロセンサ素子。
    (5)0.04≦(P1/S)<0.125
    (6)0.04≦(P2/S)<0.125
  5. 上記駆動電極の幅をW0、上記第1の検出電極の幅をW1、上記第2の検出電極の幅をW2、W=W0+W1+W2とした場合に、以下に示す条件(7)を満たすこと
    を特徴とする請求項1記載の振動型ジャイロセンサ素子。
    (7)0.5<(W0/W)<1
  6. さらに、以下に示す条件(8)を満たすこと
    を特徴とする請求項5記載の振動型ジャイロセンサ素子。
    (8)0.5<(W0/W)≦0.95
  7. 下部電極、圧電薄膜、上部電極を有する片持ち梁形状の振動子を備え、上記圧電薄膜の圧電効果を利用して角速度を検出する振動型ジャイロセンサ素子において、
    一方主面及び他方主面の面方位が{100}である単結晶シリコン基板の一方主面上に、{110}面に対して平行又は垂直な直線で構成された第1の開口部を有する第1の保護膜パターンを形成し、上記第1の開口部に対して上記振動子の厚みとなるまで結晶異方性エッチングを行い、
    上記振動子の厚みとなるまで結晶異方性エッチングされた上記一方主面に対向する上記他方主面上の上記振動子となる領域に、上記下部電極、上記圧電薄膜、上記上部電極を順に積層して形成し、
    上記下部電極、上記圧電薄膜、上記上部電極が形成された上記他方主面上に、上記{110}面に対して平行又は垂直な直線で構成され、上記振動子を上記片持ち梁形状とする空隙を型取った第2の開口部を有する第2の保護膜パターンを形成し、上記第2の開口部に対して反応性イオンエッチング(RIE:Reactive Ion Etching)を行うことで形成された上記振動子を備え、
    上記振動子は、上記上部電極として、上記振動子を振動させる電圧を印加する上記振動子の長手方向に形成された駆動電極と、上記駆動電極を挟む形で、上記駆動電極と接触することなく平行に上記振動子の長手方向に形成された第1の検出電極及び第2の検出電極とを有し、
    上記振動子の根元から上記駆動電極の重心位置までの距離をL1、上記振動子の根元から上記第1の検出電極の重心位置までの距離をL2、上記振動子の根元から上記第2の検出電極の重心位置までの距離を同じくL2とした場合に、以下に示す条件(1)を満たすこと
    を特徴とする振動型ジャイロセンサ素子。
    (1)0<(L2/L1)≦0.75
    但し、“{ }”は、方向が異なる等価な面方位を総称して表すための記号である。
  8. さらに、以下に示す条件(2)を満たすこと
    を特徴とする請求項7記載の振動型ジャイロセンサ素子。
    (2)0.15≦(L2/L1)≦0.75
  9. 上記第1の検出電極が形成されている側の上記振動子の側壁面から、上記第1の検出電極の幅方向の中心位置までの最短距離をP1、上記第2の検出電極が形成されている側の上記振動子の側壁面から、上記第2の検出電極の幅方向の中心位置までの最短距離をP2、上記振動子の幅をSとした場合に、以下に示す条件(3),(4)を満たすこと
    を特徴とする請求項7記載の振動型ジャイロセンサ素子。
    (3)0<(P1/S)<0.125
    (4)0<(P2/S)<0.125
  10. さらに、以下に示す条件(5),(6)を満たすこと
    を特徴とする請求項9記載の振動型ジャイロセンサ素子。
    (5)0.04≦(P1/S)<0.125
    (6)0.04≦(P2/S)<0.125
  11. 上記駆動電極の幅をW0、上記第1の検出電極の幅をW1、上記第2の検出電極の幅をW2、W=W0+W1+W2とした場合に、以下に示す条件(7)を満たすこと
    を特徴とする請求項7記載の振動型ジャイロセンサ素子。
    (7)0.5<(W0/W)<1
  12. さらに、以下に示す条件(8)を満たすこと
    を特徴とする請求項11記載の振動型ジャイロセンサ素子。
    (8)0.5<(W0/W)≦0.95
  13. 単結晶シリコン基板上に薄膜形成プロセスにより形成された下部電極、圧電薄膜、上部電極を有する片持ち梁形状の振動子を備え、上記圧電薄膜の圧電効果を利用して角速度を検出する振動型ジャイロセンサ素子であって、
    上記振動子は、上記上部電極として、上記振動子を振動させる電圧を印加する上記振動子の長手方向に形成された駆動電極と、上記駆動電極を挟む形で、上記駆動電極と接触することなく平行に上記振動子の長手方向に形成された第1の検出電極及び第2の検出電極とを有し、
    上記第1の検出電極が形成されている側の上記振動子の側壁面から、上記第1の検出電極の幅方向の中心位置までの最短距離をP1、上記第2の検出電極が形成されている側の上記振動子の側壁面から、上記第2の検出電極の幅方向の中心位置までの最短距離をP2、上記振動子の幅をSとした場合に、以下に示す条件(1),(2)を満たすこと
    を特徴とする振動型ジャイロセンサ素子。
    (1)0<(P1/S)<0.125
    (2)0<(P2/S)<0.125
  14. さらに、以下に示す条件(3),(4)を満たすこと
    を特徴とする請求項13記載の振動型ジャイロセンサ素子。
    (3)0.04≦(P1/S)<0.125
    (4)0.04≦(P2/S)<0.125
  15. 上記振動子の根元から上記駆動電極の重心位置までの距離をL1、上記振動子の根元から上記第1の検出電極の重心位置までの距離をL2、上記振動子の根元から上記第2の検出電極の重心位置までの距離を同じくL2とした場合に、以下に示す条件(5)を満たすこと
    を特徴とする請求項13記載の振動型ジャイロセンサ素子。
    (5)0.15≦(L2/L1)≦0.75
  16. 上記駆動電極の幅をW0、上記第1の検出電極の幅をW1、上記第2の検出電極の幅をW2、W=W0+W1+W2とした場合に、以下に示す条件(6)を満たすこと
    を特徴とする請求項13記載の振動型ジャイロセンサ素子。
    (6)0.5<(W0/W)<1
  17. さらに、以下に示す条件(7)を満たすこと
    を特徴とする請求項16記載の振動型ジャイロセンサ素子。
    (7)0.5<(W0/W)≦0.95
  18. 下部電極、圧電薄膜、上部電極を有する片持ち梁形状の振動子を備え、上記圧電薄膜の圧電効果を利用して角速度を検出する振動型ジャイロセンサ素子において、
    一方主面及び他方主面の面方位が{100}である単結晶シリコン基板の一方主面上に、{110}面に対して平行又は垂直な直線で構成された第1の開口部を有する第1の保護膜パターンを形成し、上記第1の開口部に対して上記振動子の厚みとなるまで結晶異方性エッチングを行い、
    上記振動子の厚みとなるまで結晶異方性エッチングされた上記一方主面に対向する上記他方主面上の上記振動子となる領域に、上記下部電極、上記圧電薄膜、上記上部電極を順に積層して形成し、
    上記下部電極、上記圧電薄膜、上記上部電極が形成された上記他方主面上に、上記{110}面に対して平行又は垂直な直線で構成され、上記振動子を上記片持ち梁形状とする空隙を型取った第2の開口部を有する第2の保護膜パターンを形成し、上記第2の開口部に対して反応性イオンエッチング(RIE:Reactive Ion Etching)を行うことで形成された上記振動子を備え、
    上記振動子は、上記上部電極として、上記振動子を振動させる電圧を印加する上記振動子の長手方向に形成された駆動電極と、上記駆動電極を挟む形で、上記駆動電極と接触することなく平行に上記振動子の長手方向に形成された第1の検出電極及び第2の検出電極とを有し、
    上記第1の検出電極が形成されている側の上記振動子の側壁面から、上記第1の検出電極の幅方向の中心位置までの最短距離をP1、上記第2の検出電極が形成されている側の上記振動子の側壁面から、上記第2の検出電極の幅方向の中心位置までの最短距離をP2、上記振動子の幅をSとした場合に、以下に示す条件(1),(2)を満たすこと
    を特徴とする振動型ジャイロセンサ素子。
    (1)0<(P1/S)<0.125
    (2)0<(P2/S)<0.125
    但し、“{ }”は、方向が異なる等価な面方位を総称して表すための記号である。
  19. さらに、以下に示す条件(3),(4)を満たすこと
    を特徴とする請求項18記載の振動型ジャイロセンサ素子。
    (3)0.04≦(P1/S)<0.125
    (4)0.04≦(P2/S)<0.125
  20. 上記振動子の根元から上記駆動電極の重心位置までの距離をL1、上記振動子の根元から上記第1の検出電極の重心位置までの距離をL2、上記振動子の根元から上記第2の検出電極の重心位置までの距離を同じくL2とした場合に、以下に示す条件(5)を満たすこと
    を特徴とする請求項18記載の振動型ジャイロセンサ素子。
    (5)0.15≦(L2/L1)≦0.75
  21. 上記駆動電極の幅をW0、上記第1の検出電極の幅をW1、上記第2の検出電極の幅をW2、W=W0+W1+W2とした場合に、以下に示す条件(6)を満たすこと
    を特徴とする請求項18記載の振動型ジャイロセンサ素子。
    (6)0.5<(W0/W)<1
  22. さらに、以下に示す条件(7)を満たすこと
    を特徴とする請求項21記載の振動型ジャイロセンサ素子。
    (7)0.5<(W0/W)≦0.95
  23. 単結晶シリコン基板上に薄膜形成プロセスにより形成された下部電極、圧電薄膜、上部電極を有する片持ち梁形状の振動子を備え、上記圧電薄膜の圧電効果を利用して角速度を検出する振動型ジャイロセンサ素子であって、
    上記振動子は、上記上部電極として、上記振動子を振動させる電圧を印加する上記振動子の長手方向に形成された駆動電極と、上記駆動電極を挟む形で、上記駆動電極と接触することなく平行に上記振動子の長手方向に形成された第1の検出電極及び第2の検出電極とを有し、
    上記駆動電極の幅をW0、上記第1の検出電極の幅をW1、上記第2の検出電極の幅をW2、W=W0+W1+W2とした場合に、以下に示す条件(1)を満たすこと
    を特徴とする振動型ジャイロセンサ素子。
    (1)0.5<(W0/W)<1
  24. さらに、以下に示す条件(2)を満たすこと
    を特徴とする請求項23記載の振動型ジャイロセンサ素子。
    (2)0.5<(W0/W)≦0.95
  25. 上記振動子の根元から上記駆動電極の重心位置までの距離をL1、上記振動子の根元から上記第1の検出電極の重心位置までの距離をL2、上記振動子の根元から上記第2の検出電極の重心位置までの距離を同じくL2とした場合に、以下に示す条件(3)を満たすこと
    を特徴とする請求項23記載の振動型ジャイロセンサ素子。
    (3)0.15≦(L2/L1)≦0.75
  26. 上記第1の検出電極が形成されている側の上記振動子の側壁面から、上記第1の検出電極の幅方向の中心位置までの最短距離をP1、上記第2の検出電極が形成されている側の上記振動子の側壁面から、上記第2の検出電極の幅方向の中心位置までの最短距離をP2、上記振動子の幅をSとした場合に、以下に示す条件(4),(5)を満たすこと
    を特徴とする請求項23記載の振動型ジャイロセンサ素子。
    (4)0.04≦(P1/S)<0.125
    (5)0.04≦(P2/S)<0.125
  27. 下部電極、圧電薄膜、上部電極を有する片持ち梁形状の振動子を備え、上記圧電薄膜の圧電効果を利用して角速度を検出する振動型ジャイロセンサ素子において、
    一方主面及び他方主面の面方位が{100}である単結晶シリコン基板の一方主面上に、{110}面に対して平行又は垂直な直線で構成された第1の開口部を有する第1の保護膜パターンを形成し、上記第1の開口部に対して上記振動子の厚みとなるまで結晶異方性エッチングを行い、
    上記振動子の厚みとなるまで結晶異方性エッチングされた上記一方主面に対向する上記他方主面上の上記振動子となる領域に、上記下部電極、上記圧電薄膜、上記上部電極を順に積層して形成し、
    上記下部電極、上記圧電薄膜、上記上部電極が形成された上記他方主面上に、上記{110}面に対して平行又は垂直な直線で構成され、上記振動子を上記片持ち梁形状とする空隙を型取った第2の開口部を有する第2の保護膜パターンを形成し、上記第2の開口部に対して反応性イオンエッチング(RIE:Reactive Ion Etching)を行うことで形成された上記振動子を備え、
    上記振動子は、上記上部電極として、上記振動子を振動させる電圧を印加する上記振動子の長手方向に形成された駆動電極と、上記駆動電極を挟む形で、上記駆動電極と接触することなく平行に上記振動子の長手方向に形成された第1の検出電極及び第2の検出電極とを有し、
    上記駆動電極の幅をW0、上記第1の検出電極の幅をW1、上記第2の検出電極の幅をW2、W=W0+W1+W2とした場合に、以下に示す条件(1)を満たすこと
    を特徴とする振動型ジャイロセンサ素子。
    (1)0.5<(W0/W)<1
    但し、“{ }”は、方向が異なる等価な面方位を総称して表すための記号である。
  28. さらに、以下に示す条件(2)を満たすこと
    を特徴とする請求項27記載の振動型ジャイロセンサ素子。
    (2)0.5<(W0/W)≦0.95
  29. 上記振動子の根元から上記駆動電極の重心位置までの距離をL1、上記振動子の根元から上記第1の検出電極の重心位置までの距離をL2、上記振動子の根元から上記第2の検出電極の重心位置までの距離を同じくL2とした場合に、以下に示す条件(3)を満たすこと
    を特徴とする請求項27記載の振動型ジャイロセンサ素子。
    (3)0.15≦(L2/L1)≦0.75
  30. 上記第1の検出電極が形成されている側の上記振動子の側壁面から、上記第1の検出電極の幅方向の中心位置までの最短距離をP1、上記第2の検出電極が形成されている側の上記振動子の側壁面から、上記第2の検出電極の幅方向の中心位置までの最短距離をP2、上記振動子の幅をSとした場合に、以下に示す条件(4),(5)を満たすこと
    を特徴とする請求項27記載の振動型ジャイロセンサ素子。
    (4)0.04≦(P1/S)<0.125
    (5)0.04≦(P2/S)<0.125
  31. 単結晶シリコン基板上に薄膜形成プロセスにより形成された下部電極、圧電薄膜、上部電極を有する片持ち梁形状の振動子を備え、上記圧電薄膜の圧電効果を利用して角速度を検出する振動型ジャイロセンサ素子であって、
    上記振動子は、上記上部電極として、上記振動子を振動させる電圧を印加する上記振動子の長手方向に形成された駆動電極と、上記駆動電極を挟む形で、上記駆動電極と接触することなく平行に上記振動子の長手方向に形成された第1の検出電極及び第2の検出電極とを有し、
    上記駆動電極の幅をW0、上記第1の検出電極の幅をW1、上記第2の検出電極の幅をW2、W=W0+W1+W2とし、
    上記振動子の根元から上記駆動電極の重心位置までの距離をL1、上記振動子の根元から上記第1の検出電極の重心位置までの距離及び上記振動子の根元から上記第2の検出電極の重心位置までの距離をL2とし、
    上記第1の検出電極が形成されている側の上記振動子の側壁面から、上記第1の検出電極の幅方向の中心位置までの最短距離をP1、上記第2の検出電極が形成されている側の上記振動子の側壁面から、上記第2の検出電極の幅方向の中心位置までの最短距離をP2、上記振動子の幅をSとした場合に、以下に示す条件(1)〜(4)を満たすこと
    を特徴とする振動型ジャイロセンサ素子。
    (1)0<(L2/L1)≦0.75
    (2)0<(P1/S)<0.125
    (3)0<(P2/S)<0.125
    (4)0.5<(W0/W)<1
  32. さらに、以下に示す条件(5)を満たすこと
    を特徴とする請求項31記載の振動型ジャイロセンサ素子。
    (5)0.15≦(L2/L1)≦0.75
  33. さらに、以下に示す条件(6),(7)を満たすこと
    を特徴とする請求項31記載の振動型ジャイロセンサ素子。
    (6)0.04≦(P1/S)<0.125
    (7)0.04≦(P2/S)<0.125
  34. さらに、以下に示す条件(8)を満たすこと
    を特徴とする請求項31記載の振動型ジャイロセンサ素子。
    (8)0.5<(W0/W)≦0.95
  35. 下部電極、圧電薄膜、上部電極を有する片持ち梁形状の振動子を備え、上記圧電薄膜の圧電効果を利用して角速度を検出する振動型ジャイロセンサ素子において、
    一方主面及び他方主面の面方位が{100}である単結晶シリコン基板の一方主面上に、{110}面に対して平行又は垂直な直線で構成された第1の開口部を有する第1の保護膜パターンを形成し、上記第1の開口部に対して上記振動子の厚みとなるまで結晶異方性エッチングを行い、
    上記振動子の厚みとなるまで結晶異方性エッチングされた上記一方主面に対向する上記他方主面上の上記振動子となる領域に、上記下部電極、上記圧電薄膜、上記上部電極を順に積層して形成し、
    上記下部電極、上記圧電薄膜、上記上部電極が形成された上記他方主面上に、上記{110}面に対して平行又は垂直な直線で構成され、上記振動子を上記片持ち梁形状とする空隙を型取った第2の開口部を有する第2の保護膜パターンを形成し、上記第2の開口部に対して反応性イオンエッチング(RIE:Reactive Ion Etching)を行うことで形成された上記振動子を備え、
    上記振動子は、上記上部電極として、上記振動子を振動させる電圧を印加する上記振動子の長手方向に形成された駆動電極と、上記駆動電極を挟む形で、上記駆動電極と接触することなく平行に上記振動子の長手方向に形成された第1の検出電極及び第2の検出電極とを有し、
    上記駆動電極の幅をW0、上記第1の検出電極の幅をW1、上記第2の検出電極の幅をW2、W=W0+W1+W2とし、
    上記振動子の根元から上記駆動電極の重心位置までの距離をL1、上記振動子の根元から上記第1の検出電極の重心位置までの距離及び上記振動子の根元から上記第2の検出電極の重心位置までの距離をL2とし、
    上記第1の検出電極が形成されている側の上記振動子の側壁面から、上記第1の検出電極の幅方向の中心位置までの最短距離をP1、上記第2の検出電極が形成されている側の上記振動子の側壁面から、上記第2の検出電極の幅方向の中心位置までの最短距離をP2、上記振動子の幅をSとした場合に、以下に示す条件(1)〜(4)を満たすこと
    を特徴とする振動型ジャイロセンサ素子。
    (1)0<(L2/L1)≦0.75
    (2)0<(P1/S)<0.125
    (3)0<(P2/S)<0.125
    (4)0.5<(W0/W)<1
  36. さらに、以下に示す条件(5)を満たすこと
    を特徴とする請求項35記載の振動型ジャイロセンサ素子。
    (5)0.15≦(L2/L1)≦0.75
  37. さらに、以下に示す条件(6),(7)を満たすこと
    を特徴とする請求項35記載の振動型ジャイロセンサ素子。
    (6)0.04≦(P1/S)<0.125
    (7)0.04≦(P2/S)<0.125
  38. さらに、以下に示す条件(8)を満たすこと
    を特徴とする請求項35記載の振動型ジャイロセンサ素子。
    (8)0.5<(W0/W)≦0.95
JP2004105885A 2004-03-31 2004-03-31 振動型ジャイロセンサ素子及びその製造方法 Expired - Fee Related JP4478495B2 (ja)

Priority Applications (3)

Application Number Priority Date Filing Date Title
JP2004105885A JP4478495B2 (ja) 2004-03-31 2004-03-31 振動型ジャイロセンサ素子及びその製造方法
US11/088,480 US7263884B2 (en) 2004-03-31 2005-03-24 Vibration type gyrosensor device
KR20050026251A KR101119257B1 (ko) 2004-03-31 2005-03-30 진동형 자이로 센서 소자

Applications Claiming Priority (1)

Application Number Priority Date Filing Date Title
JP2004105885A JP4478495B2 (ja) 2004-03-31 2004-03-31 振動型ジャイロセンサ素子及びその製造方法

Publications (2)

Publication Number Publication Date
JP2005291858A true JP2005291858A (ja) 2005-10-20
JP4478495B2 JP4478495B2 (ja) 2010-06-09

Family

ID=35185700

Family Applications (1)

Application Number Title Priority Date Filing Date
JP2004105885A Expired - Fee Related JP4478495B2 (ja) 2004-03-31 2004-03-31 振動型ジャイロセンサ素子及びその製造方法

Country Status (3)

Country Link
US (1) US7263884B2 (ja)
JP (1) JP4478495B2 (ja)
KR (1) KR101119257B1 (ja)

Cited By (12)

* Cited by examiner, † Cited by third party
Publication number Priority date Publication date Assignee Title
JP2008026018A (ja) * 2006-07-18 2008-02-07 Nec Tokin Corp 圧電単結晶振動子および圧電振動ジャイロ
JP2009264863A (ja) * 2008-04-24 2009-11-12 Microstone Corp ジャイロセンサ振動体
US7830215B2 (en) 2007-01-25 2010-11-09 Seiko Epson Corporation Piezoelectric oscillator and method for manufacturing the same
US7913560B2 (en) 2007-03-19 2011-03-29 Seiko Epson Corporation Angular rate sensor and electronic device
US7950282B2 (en) 2007-03-23 2011-05-31 Seiko Epson Corporation Acceleration sensor incorporating a piezoelectric device
US7954377B2 (en) 2007-03-28 2011-06-07 Seiko Epson Corporation Acceleration sensor incorporating a piezoelectric device
US8120178B2 (en) 2006-03-29 2012-02-21 Seiko Epson Corporation Tuning fork vibration device and method for manufacturing the same
US8136399B2 (en) 2007-12-26 2012-03-20 Rohm Co., Ltd. Angular rate sensor with vibrator
US8297120B2 (en) 2007-08-31 2012-10-30 Rohm Co., Ltd. Angular velocity signal detection circuit and angular velocity signal detection method
CN104596491A (zh) * 2013-10-30 2015-05-06 精工爱普生株式会社 振动片、角速度传感器、电子设备以及移动体
CN104596490A (zh) * 2013-10-30 2015-05-06 精工爱普生株式会社 振动片及其制造方法、角速度传感器、电子设备及移动体
US10488199B2 (en) * 2014-12-18 2019-11-26 Innalabs Limited Gyroscope with piezoelectric monocrystal transducers

Families Citing this family (10)

* Cited by examiner, † Cited by third party
Publication number Priority date Publication date Assignee Title
US7497962B2 (en) * 2004-08-06 2009-03-03 Canon Kabushiki Kaisha Method of manufacturing liquid discharge head and method of manufacturing substrate for liquid discharge head
JP5135683B2 (ja) * 2005-02-28 2013-02-06 ソニー株式会社 振動型ジャイロセンサ及び振動素子の製造方法
JP2008157701A (ja) * 2006-12-22 2008-07-10 Sony Corp 圧電素子、振動型ジャイロセンサ、電子機器及び圧電素子の製造方法
JP5088540B2 (ja) * 2007-05-16 2012-12-05 ソニー株式会社 検出装置、検出方法及び電子機器
CN101556290B (zh) * 2009-04-23 2010-12-01 上海交通大学 可测量任意方向角速度的气体陀螺仪
KR101179387B1 (ko) * 2010-05-11 2012-09-04 삼성전기주식회사 잉크젯 프린트 헤드 및 이를 구비하는 잉크젯 프린터
US9590587B1 (en) 2011-07-07 2017-03-07 Analog Devices, Inc. Compensation of second order temperature dependence of mechanical resonator frequency
US9013088B1 (en) 2011-07-07 2015-04-21 Sand 9, Inc. Field effect control of a microelectromechanical (MEMS) resonator
US9214623B1 (en) 2012-01-18 2015-12-15 Analog Devices, Inc. Doped piezoelectric resonator
JP6705283B2 (ja) 2016-05-20 2020-06-03 株式会社デンソー ジャイロセンサ装置

Family Cites Families (7)

* Cited by examiner, † Cited by third party
Publication number Priority date Publication date Assignee Title
US4443729A (en) * 1981-06-22 1984-04-17 Rockwell International Corporation Piezoceramic bender element having an electrode arrangement suppressing signal development in mount region
JP2741629B2 (ja) * 1990-10-09 1998-04-22 キヤノン株式会社 カンチレバー型プローブ、それを用いた走査型トンネル顕微鏡及び情報処理装置
US5802684A (en) * 1993-09-14 1998-09-08 Nikon Corporation Process for producing a vibration angular-velocity sensor
US5794080A (en) * 1994-08-31 1998-08-11 Nikon Corporation Piezoelectric vibration angular velocity meter and camera using the same
JPH1019574A (ja) 1996-06-27 1998-01-23 Nikon Corp 圧電振動角速度計の製造方法
JPH10339638A (ja) 1997-06-06 1998-12-22 Murata Mfg Co Ltd 角速度センサ
JP2002372419A (ja) * 2001-06-13 2002-12-26 Matsushita Electric Ind Co Ltd 角速度センサ

Cited By (14)

* Cited by examiner, † Cited by third party
Publication number Priority date Publication date Assignee Title
US8120178B2 (en) 2006-03-29 2012-02-21 Seiko Epson Corporation Tuning fork vibration device and method for manufacturing the same
JP2008026018A (ja) * 2006-07-18 2008-02-07 Nec Tokin Corp 圧電単結晶振動子および圧電振動ジャイロ
US7830215B2 (en) 2007-01-25 2010-11-09 Seiko Epson Corporation Piezoelectric oscillator and method for manufacturing the same
US7913560B2 (en) 2007-03-19 2011-03-29 Seiko Epson Corporation Angular rate sensor and electronic device
US7950282B2 (en) 2007-03-23 2011-05-31 Seiko Epson Corporation Acceleration sensor incorporating a piezoelectric device
US7954377B2 (en) 2007-03-28 2011-06-07 Seiko Epson Corporation Acceleration sensor incorporating a piezoelectric device
US8297120B2 (en) 2007-08-31 2012-10-30 Rohm Co., Ltd. Angular velocity signal detection circuit and angular velocity signal detection method
US8136399B2 (en) 2007-12-26 2012-03-20 Rohm Co., Ltd. Angular rate sensor with vibrator
JP2009264863A (ja) * 2008-04-24 2009-11-12 Microstone Corp ジャイロセンサ振動体
CN104596491A (zh) * 2013-10-30 2015-05-06 精工爱普生株式会社 振动片、角速度传感器、电子设备以及移动体
CN104596490A (zh) * 2013-10-30 2015-05-06 精工爱普生株式会社 振动片及其制造方法、角速度传感器、电子设备及移动体
JP2015087257A (ja) * 2013-10-30 2015-05-07 セイコーエプソン株式会社 振動片、角速度センサー、電子機器及び移動体並びに振動片の製造方法
CN104596490B (zh) * 2013-10-30 2019-01-01 精工爱普生株式会社 振动片及其制造方法、角速度传感器、电子设备及移动体
US10488199B2 (en) * 2014-12-18 2019-11-26 Innalabs Limited Gyroscope with piezoelectric monocrystal transducers

Also Published As

Publication number Publication date
US7263884B2 (en) 2007-09-04
KR101119257B1 (ko) 2012-03-15
JP4478495B2 (ja) 2010-06-09
US20050241395A1 (en) 2005-11-03
KR20060044964A (ko) 2006-05-16

Similar Documents

Publication Publication Date Title
JP4478495B2 (ja) 振動型ジャイロセンサ素子及びその製造方法
US7401516B2 (en) Vibration gyro sensor element with cantilever vibrator extending from substrate and positioned within opening in substrate
JP2004079869A (ja) 共振デバイスの製造方法
JP2007043054A (ja) 圧電素子及びその製造方法
JP2008241547A (ja) 加速度センサおよび電子機器
JP5451396B2 (ja) 角速度検出装置
JP2005227110A (ja) 振動型ジャイロセンサ素子の製造方法及び振動型ジャイロセンサ素子
WO2006006361A1 (ja) 角速度センサおよびその製造方法
JP3891182B2 (ja) 振動型ジャイロセンサ素子の製造方法及び離調度調整方法
JP4010218B2 (ja) 圧電振動片の製造方法
JP4441729B2 (ja) 電子機器
JP5353651B2 (ja) 角速度センサの製造方法
JP2008233029A (ja) 加速度センサおよび電子機器
JP2008224628A (ja) 角速度センサ及び電子機器
JP2005331485A (ja) 圧電素子および電気機械変換装置
JP2009231484A (ja) 圧電型memsおよび圧電型memsの製造方法
JP2008082850A (ja) 振動素子及びその製造方法
JP5421651B2 (ja) 3軸角速度検出振動子、3軸角速度検出装置および3軸角速度検出システム
JPH07113643A (ja) 圧電振動角速度計
JP2008244552A (ja) 圧電振動子およびその製造方法並びに電子装置
JP2008157701A (ja) 圧電素子、振動型ジャイロセンサ、電子機器及び圧電素子の製造方法
JPH08327364A (ja) 圧電振動角速度計の製造方法
JP4554118B2 (ja) 音叉型角速度センサ素子の製造方法
JP2006242931A (ja) 振動ジャイロセンサ素子の製造方法
JP3819343B2 (ja) 圧電振動ジャイロ用柱状振動子およびその製造方法

Legal Events

Date Code Title Description
A977 Report on retrieval

Free format text: JAPANESE INTERMEDIATE CODE: A971007

Effective date: 20060608

A131 Notification of reasons for refusal

Free format text: JAPANESE INTERMEDIATE CODE: A131

Effective date: 20070320

A521 Request for written amendment filed

Free format text: JAPANESE INTERMEDIATE CODE: A523

Effective date: 20070521

A02 Decision of refusal

Free format text: JAPANESE INTERMEDIATE CODE: A02

Effective date: 20071106

A521 Request for written amendment filed

Free format text: JAPANESE INTERMEDIATE CODE: A523

Effective date: 20080107

A911 Transfer to examiner for re-examination before appeal (zenchi)

Free format text: JAPANESE INTERMEDIATE CODE: A911

Effective date: 20080111

A912 Re-examination (zenchi) completed and case transferred to appeal board

Free format text: JAPANESE INTERMEDIATE CODE: A912

Effective date: 20080321

A521 Request for written amendment filed

Free format text: JAPANESE INTERMEDIATE CODE: A523

Effective date: 20100203

A01 Written decision to grant a patent or to grant a registration (utility model)

Free format text: JAPANESE INTERMEDIATE CODE: A01

A61 First payment of annual fees (during grant procedure)

Free format text: JAPANESE INTERMEDIATE CODE: A61

Effective date: 20100315

R151 Written notification of patent or utility model registration

Ref document number: 4478495

Country of ref document: JP

Free format text: JAPANESE INTERMEDIATE CODE: R151

FPAY Renewal fee payment (event date is renewal date of database)

Free format text: PAYMENT UNTIL: 20130319

Year of fee payment: 3

FPAY Renewal fee payment (event date is renewal date of database)

Free format text: PAYMENT UNTIL: 20130319

Year of fee payment: 3

FPAY Renewal fee payment (event date is renewal date of database)

Free format text: PAYMENT UNTIL: 20140319

Year of fee payment: 4

R250 Receipt of annual fees

Free format text: JAPANESE INTERMEDIATE CODE: R250

R250 Receipt of annual fees

Free format text: JAPANESE INTERMEDIATE CODE: R250

R250 Receipt of annual fees

Free format text: JAPANESE INTERMEDIATE CODE: R250

R250 Receipt of annual fees

Free format text: JAPANESE INTERMEDIATE CODE: R250

S111 Request for change of ownership or part of ownership

Free format text: JAPANESE INTERMEDIATE CODE: R313111

R350 Written notification of registration of transfer

Free format text: JAPANESE INTERMEDIATE CODE: R350

R250 Receipt of annual fees

Free format text: JAPANESE INTERMEDIATE CODE: R250

R250 Receipt of annual fees

Free format text: JAPANESE INTERMEDIATE CODE: R250

R250 Receipt of annual fees

Free format text: JAPANESE INTERMEDIATE CODE: R250

R250 Receipt of annual fees

Free format text: JAPANESE INTERMEDIATE CODE: R250

LAPS Cancellation because of no payment of annual fees