JP2005291728A - 巨大磁気抵抗素子を持った方位計 - Google Patents

巨大磁気抵抗素子を持った方位計 Download PDF

Info

Publication number
JP2005291728A
JP2005291728A JP2004102764A JP2004102764A JP2005291728A JP 2005291728 A JP2005291728 A JP 2005291728A JP 2004102764 A JP2004102764 A JP 2004102764A JP 2004102764 A JP2004102764 A JP 2004102764A JP 2005291728 A JP2005291728 A JP 2005291728A
Authority
JP
Japan
Prior art keywords
giant magnetoresistive
magnetoresistive element
magnetic field
planar coil
pairs
Prior art date
Legal status (The legal status is an assumption and is not a legal conclusion. Google has not performed a legal analysis and makes no representation as to the accuracy of the status listed.)
Granted
Application number
JP2004102764A
Other languages
English (en)
Other versions
JP4482866B2 (ja
JP2005291728A5 (ja
Inventor
Taisuke Abe
泰典 阿部
Kazuo Suzuki
和生 鈴木
Current Assignee (The listed assignees may be inaccurate. Google has not performed a legal analysis and makes no representation or warranty as to the accuracy of the list.)
Proterial Ltd
Original Assignee
Hitachi Metals Ltd
Priority date (The priority date is an assumption and is not a legal conclusion. Google has not performed a legal analysis and makes no representation as to the accuracy of the date listed.)
Filing date
Publication date
Application filed by Hitachi Metals Ltd filed Critical Hitachi Metals Ltd
Priority to JP2004102764A priority Critical patent/JP4482866B2/ja
Publication of JP2005291728A publication Critical patent/JP2005291728A/ja
Publication of JP2005291728A5 publication Critical patent/JP2005291728A5/ja
Application granted granted Critical
Publication of JP4482866B2 publication Critical patent/JP4482866B2/ja
Anticipated expiration legal-status Critical
Expired - Fee Related legal-status Critical Current

Links

Images

Landscapes

  • Measuring Magnetic Variables (AREA)

Abstract

【課題】 製造プロセスが簡単で、小型化、低消費電力とすることのできる等方性巨大磁気抵抗素子を用いた方位計を提供する。
【解決手段】 平面コイルと、その平面コイルと平行な平面に設けられた等方性巨大磁気抵抗素子2個からなる巨大磁気抵抗素子対を少なくとも1組とを有する方位計である。平面コイルは平行な対辺対を持った四辺形をしている。巨大磁気抵抗素子対の各巨大磁気抵抗素子はその長手方向が平面コイルの対辺対の各1辺のみと直交していて、各巨大磁気抵抗素子対の巨大磁気抵抗素子の一方の端部同士が接続されている。他の端部間に測定用電圧をかけているときに、巨大磁気抵抗素子の端部同士を接続している端部から中間電圧を取り出して、方位を求める。
【選択図】 図1

Description

本発明は等方性の巨大磁気抵抗素子を用いた方位計、特に巨大磁気抵抗素子にバイアス磁界を印加しながら方位を測定する方位計に関するものである。
本出願人は異方性磁気抵抗素子と平面コイルとを組み合わせた方位計を既に出願しており、特許文献1として公開されている。特許文献1の方位計は図9に分解斜視図で示すように、ほぼ方形をした平面コイル1と、平面コイルに平行で近接した平面に8個の磁気抵抗素子61,62,71,72,81,82,91,92を持っている。2個の磁気抵抗素子(例えば、61,72)が平面コイルの各辺(例えば、11)とそれら磁気抵抗素子の長手方向とほぼ45°で交差しており、それら2個の磁気抵抗素子の長手方向は互いに直角となっている。そして平面コイルの対向している2辺(例えば、11と12)のそれぞれと交差しており、互いに長手方向が直角となっている2個の磁気抵抗素子(例えば、61と62、71と72)によって磁気抵抗素子対6,7,8,9を形成している。磁気抵抗素子対(例えば、6)の一方の端部同士が接続されていて、磁気抵抗素子対(例えば、6)の他の端部間に測定用電圧Vccが印加される。平面コイルによって磁気抵抗素子対にバイアス磁界を印加している間に、磁気抵抗素子対6,7,8,9の接続されている端部から磁気抵抗素子対の中間電圧を取り出し、平面コイル1の対向している2辺11と12と交差している2組の磁気抵抗素子対6と7の中間電圧差Vxを求める。平面コイル1の対向している他の2辺13と14と交差している他の2組の磁気抵抗素子対8、9についても同様に中間電圧差Vyを求める。次に平面コイル1によって磁気抵抗素子対6,7,8,9に反対方向のバイアス磁界を印加している間に、同様に平面コイル1の対向している2辺11と12と交差している2組の磁気抵抗素子対6、7の中間電圧差Vxを求め、平面コイル1の対向している他の2辺13と14と交差している他の2組の磁気抵抗素子対8、9についても同様に中間電圧差Vyを求める。そして、平面コイルの一方の対向している2辺11,12と交差している2組の磁気抵抗素子対6,7について、先に印加したバイアス磁界をかけているときに求めた中間電圧差Vxと、反対方向バイアス磁界をかけているときに求めた中間電圧差Vxとの差電圧を求め、平面コイルの他の対向している2辺13,14と交差している2組の磁気抵抗素子対8,9について、先に印加したバイアス磁界をかけているときに求めた中間電圧差Vyと、反対方向バイアス磁界をかけているときに求めた中間電圧差Vyとの差電圧を求める。そしてこれら2個の差電圧の比から外部磁界(例えば、地磁気)の方向を求めるようになっている。
磁気抵抗素子は、電流の流す方向と直角方向に印加した磁界の強さに応じて電流に対する抵抗が変化し、電流と直角な磁界が強くなるに従って抵抗が小さくなる。方位計として用いる場合、各磁気抵抗素子の抵抗変化率がほぼ同一であることが望ましく、そのために上で説明した方位計の各磁気抵抗素子は長手方向に結晶磁気異方性を付けている。
特開2002−310659
特許文献1に示されている方位計では図9に示すように、4個の磁気抵抗素子61,71,81,91と4個の磁気抵抗素子62,72,82,92とはそれらの長手方向が互いに垂直となっている。これら8個の磁気抵抗素子にそれぞれの長手方向に結晶磁気異方性を付けるには、同じ方向の4個の磁気抵抗素子61,71,81,91をそれらの長手方向に磁界を印加しながら形成し、その後でそれらと垂直な4個の磁気抵抗素子62,72,82,92をそれらの長手方向に磁界を印加しながら形成する必要があった。
また、磁気抵抗素子の幅方向にかかる外部磁界(地磁気等)を検出するので、幅方向寸法を小さくするとその反磁界の影響が大きくなって地磁気のように弱い磁界の測定には感度が悪くなるものであった。そこである程度の幅寸法を持った磁気抵抗素子にせざるを得なかったが、幅寸法を大きくすると磁気抵抗素子の抵抗が小さくなるので、測定用電圧を磁気抵抗素子対にかけたときの消費電力が大きくなっていた。そこで磁気抵抗素子の抵抗を上げるには磁気抵抗素子を長くすることになるが、磁気抵抗素子幅を広く、長さを長くすると磁気抵抗素子面積が大きくなるので、方位計を大きくする必要があった。
そこで、本発明では上記欠点を改善するために、等方性の巨大磁気抵抗素子を用いた方位計を提供するものである。
本発明の方位計は、互いに平行となっている対辺対を少なくとも部分的に有する平面コイルと、
その平面コイル面の同じ側にあって、平面コイル面に平行で近接した平面内に設けられた巨大磁気抵抗素子2個からなる少なくとも1組の巨大磁気抵抗素子対とを有しており、
巨大磁気抵抗素子それぞれは、強磁性層と非磁性層とを交互に積層した積層薄膜であり、その長手方向寸法に対して薄膜の幅方向寸法が十分に小さな形状をしており、
巨大磁気抵抗素子対の各巨大磁気抵抗素子の長手方向は平面コイルの対辺対の各1辺のみと実質的に直交しており、
巨大磁気抵抗素子対の巨大磁気抵抗素子の一方の端部同士が接続されているとともに、他方の端部間に測定用電圧が印加されるようになっており、一方の端部から中間電圧を取り出すようになっている。
本発明の方位計は、巨大磁気抵抗素子対を2組持ち、平面コイルは巨大磁気抵抗素子対の各組と交差している対辺対を2組持っているとともに、その2組の対辺対が互いに垂直であることが好ましい。
本発明の方位計は、巨大磁気抵抗素子対を4組持ち、平面コイルは巨大磁気抵抗素子対の各2組と交差している対辺対を2組持っているとともに、その2組の対辺対が互いに垂直であることが更に好ましい。
本発明の方位計は、更に平面コイルに電流を供給するための電源を更に持っており、その電源は、巨大磁気抵抗素子の磁化が長手方向に飽和する大きさの直流磁界を巨大磁気抵抗素子に印加するのに十分な直流電流を平面コイルに供給し、
巨大磁気抵抗素子に前にかけた直流磁界よりも小さな所定の直流磁界を印加する直流電流を平面コイルに供給し、
巨大磁気抵抗素子の磁化が前とは逆方向に飽和する大きさの直流磁界を巨大磁気抵抗素子に印加するのに十分な直流電流を平面コイルに供給し、そして
巨大磁気抵抗素子に前回の所定の直流磁界と逆方向の所定の直流磁界を印加する直流電流を平面コイルに供給するものであることが好ましい。
本発明の方位計において、巨大磁気抵抗素子に最初の所定の直流磁界を印加している間に各巨大磁気抵抗素子対の一方の端部から第一の中間電圧を取り出し、
巨大磁気抵抗素子に最初とは逆方向の所定の直流磁界を印加している間に各巨大磁気抵抗素子対の一方の端部から第二の中間電圧を取り出し、
第一と第二の中間電圧の差に基づいて外部磁界の方位を求める演算器を有していることが好ましい。
本発明の等方性巨大磁気抵抗素子を用いた方位計は、巨大磁気抵抗素子を形成する際に結晶磁気異方性を制御する必要がないから、製造工程が単純になって製造が容易である。
また、本発明では等方性巨大磁気抵抗素子の幅方向の反磁界を利用しているので、幅寸法をできるだけ小さくすることが好ましく、方位計の小型化、低消費電力とすることができる。
更に、巨大磁気抵抗素子の幅寸法を小さくしているので、測定すべき磁界の巨大磁気抵抗素子の幅方向成分による影響を小さくすることができる。
このような利点を本発明の方位計は持っていて、しかも外部磁界の印加された方向を測定することができる。
また、地磁気以外の磁界発生源より発せられる磁界方向と巨大磁気抵抗素子の感軸方向とがなす角を測定する、角度センサーとしても用いることができる。
実施例1
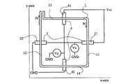
本発明の実施例1の方位計を分解斜視図で図1に、またその回路図を図2に示している。図1、図2で1は平行四辺形状(ここでは正方形)をした平面コイルで数十回巻かれている。この平面コイル面の同じ側に、この図では下側に、この平面コイル面に平行で近接した平面内に巨大磁気抵抗素子対2,3,4,5が4組設けられている。巨大磁気抵抗素子対2,3,4,5それぞれは2個の巨大磁気抵抗素子21と22,31と32,41と42,51と52からなっている。
巨大磁気抵抗素子対2の一方の巨大磁気抵抗素子21の長手方向は平面コイル1の1辺11のみと実質的に垂直に交差している。巨大磁気抵抗素子対2の他方の巨大磁気抵抗素子22の長手方向は平面コイル1の対辺すなわち辺12のみと実質的に垂直に交差している。これら巨大磁気抵抗素子21と22の一方の端部(この実施例では平面コイル1の内側にある端部)同士は接続されている。他の巨大磁気抵抗素子対3,4,5についても、各一方の巨大磁気抵抗素子31,41,51の長手方向は平面コイル1の1辺12,13,14それぞれのみと、各他方の巨大磁気抵抗素子32,42,52の長手方向は平面コイル1の対辺11,14,13それぞれのみと、実質的に垂直に交差している。巨大磁気抵抗素子31と32の一方の端部(この実施例では平面コイル1の内側にある端部)同士、巨大磁気抵抗素子41と42の一方の端部(この実施例では平面コイル1の内側にある端部)同士、巨大磁気抵抗素子51と52の一方の端部(この実施例では平面コイル1の内側にある端部)同士がそれぞれ接続されている。そして、巨大磁気抵抗素子対2,3,4,5それぞれの他方の端部間に測定用電圧Vccが印加されている。
この方位計は基板上に、等方性巨大磁気抵抗素子を形成し、さらに平面コイルを形成している。基板の厚さは0.625mmである。基板上に成膜した巨大磁気抵抗素子や平面コイルなどの薄膜の部分の厚さは、10〜20μmである。基板の縦横寸法は1.6mm×1.75mmである。
図1と図2から理解できるように、平面コイル1に直流電流を流したとき、平面コイル面に平行な面には、コイルの内側から外へ、あるいは外から内側へ向いた直流磁界が生じるので、図1の下半分に矢印で示しているように、巨大磁気抵抗素子対に直流磁界が印加されることになる。図2で平面コイル1に時計廻りの電流Ibが流れると巨大磁気抵抗素子21,32にはx方向の磁界が、巨大磁気抵抗素子22,31には−x方向の磁界が、巨大磁気抵抗素子41,52にはy方向の磁界が、巨大磁気抵抗素子42,51には−y方向の磁界が印加される。平面コイル1にそれとは反対方向の電流−Ibが流されると各巨大磁気抵抗素子には先ほどと反対方向の磁界が印加される。巨大磁気抵抗素子が形成されている平面は、平面コイルによる磁界が巨大磁気抵抗素子に十分にかかる程度に、平面コイルからの位置に設けられている。
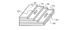
巨大磁気抵抗素子それぞれは、強磁性層と非磁性層とを交互に積層した積層薄膜であり、その長手方向寸法に対して薄膜の幅方向寸法が十分に小さい。例えば、Si基板上に85nm厚のAl膜と5nm厚のNiFeCr膜とを下地膜として、その上に1.6nm厚のNiFeCoB合金からなる強磁性層と2.4nm厚のCu層(非磁性層)とを交互に14層ずつ積層した巨大磁気抵抗素子を用いることができる。図3に巨大磁気抵抗素子の一部を切り取って斜視図で示している。201は下地膜であり5nm厚のNiFeCr膜で、その上にNiFeCoBの強磁性層211とCuの非磁性層221とが積層されている。この図では強磁性層211を2層と非磁性層221を2層のみを示しているが、実際にはそれぞれ10〜15層ずつ積層されている。
強磁性層211内の磁化は外部から磁界が印加されていない状態で矢印で示しているように、非磁性層221を挟んで隣り合っている強磁性層211の磁化212は反平行となっている。隣り合っている強磁性層211内の磁化212は互いに磁気結合しているので反平行となる。そのように隣り合っている強磁性層内の磁化が互いに反平行となっているときには、それら強磁性層に挟まれた非磁性層221を流れる電流に対する電気抵抗が最も大きい。外部磁界が加わって非磁性層221を挟む両側の強磁性層211の磁化が同じ方向に揃ってくると、電流に対する電気抵抗が小さくなる。外部磁界が加わらないときには、巨大磁気抵抗素子全体としては巨大磁気抵抗素子の面に平行ないずれの方向にも磁化がないすなわち結晶磁気異方性を持たず磁気的に等方性である。そのために巨大磁気抵抗素子面に平行ないずれかの方向に外部磁界が加わった場合、その磁界の大きさに応じて図4のカーブlのように抵抗が変わる。
磁気的に等方性の材料であっても、その形状によって反磁界の大きさが異なるために形状異方性がある。本発明に用いている巨大磁気抵抗素子の様に長手方向寸法に対して薄膜の幅方向寸法が十分に小さいときには、巨大磁気抵抗素子薄膜の長手方向の反磁界は十分に小さく無視することができるが、その幅方向の反磁界が大きく、幅方向に外部磁界が印加されたときには巨大磁気抵抗素子内部の磁化に影響を及ぼす磁界は印加した磁界の強さから反磁界の強さを差し引いたものとなる。そこで、巨大磁気抵抗素子の幅方向に外部磁界を印加したときの巨大磁気抵抗素子の抵抗と外部磁界の大きさとの関係は図4のカーブvの様になる。他方、巨大磁気抵抗素子の長手方向に外部磁界を印加したときの巨大磁気抵抗素子の抵抗と外部磁界の大きさとの関係は同図のカーブlである。長手方向と横方向との中間すなわち図5で巨大磁気抵抗素子200の長手方向に対してある角度θで外部磁界300をかけたときの巨大磁気抵抗素子抵抗と外部磁界の大きさとの関係は図4でカーブlとカーブvとの間にあるカーブdの様になる。
巨大磁気抵抗素子の磁化がその長手方向に少し揃って、図4のカーブlのほぼ中間程度の抵抗となる大きさの直流電流を平面コイルに流し、その直流電流をバイアス電流Ibとする。バイアス電流Ibによって各巨大磁気抵抗素子に加わる直流磁界をバイアス磁界Hbと呼ぶ。巨大磁気抵抗素子に更に外部磁界(例えば地磁気)Hexがx軸に対して角度θの方向に印加されると、外部磁界Hexのx方向成分Hx(=Hex・cosθ)によって、巨大磁気抵抗素子の抵抗は図4のカーブl上をバイアス点Rbから右下方向矢印の向きに変化する。その変化率を−βl(=ΔR/ΔH)とする。y方向磁界による抵抗変化は図4のカーブvなので、外部磁界Hexのy方向成分Hy(=Hex・sinθ)によって、巨大磁気抵抗素子の抵抗はカーブv上で右下方向矢印の向きに変化する。その変化率を−βv(=ΔR/ΔH)とする。y方向磁界による抵抗変化率βvはx方向磁界による抵抗変化率βlよりも小さく、幅方向寸法が長手方向に比して十分小さいすなわち細いときには抵抗変化率βvは極めて小さい値となる。
平面コイル1にバイアス電流Ibを時計廻りに流しているときに、外部磁界Hexを実施例1の方位計にx軸と角度θを持って印加したとき巨大磁気抵抗素子21の抵抗R21は次式となる。
R21=Rb−βl・Hex・cosθ−βv・Hex・sinθ
巨大磁気抵抗素子22,31には外部磁界Hexと反対方向のバイアス磁界が印加されており、巨大磁気抵抗素子32には巨大磁気抵抗素子21に印加されているバイアス磁界と同じバイアス磁界が印加されているので、巨大磁気抵抗素子それぞれの抵抗R22,R31,R32は次のようになる。
R22=Rb+βl・Hex・cosθ−βv・Hex・sinθ
R31=Rb+βl・Hex・cosθ−βv・Hex・sinθ
R32=Rb−βl・Hex・cosθ−βv・Hex・sinθ
巨大磁気抵抗素子21と巨大磁気抵抗素子22の第一の中間電圧V2(正方向バイアス電流を流しているときの電圧を「第一」と呼ぶ)、巨大磁気抵抗素子31と巨大磁気抵抗素子32の第一の中間電圧V3それぞれは、
V2=Vcc・(Rb+βl・Hex・cosθ−βv・Hex・sinθ)/2(Rb−βv・Hex・sinθ)
V3=Vcc・(Rb−βl・Hex・cosθ−βv・Hex・sinθ)/2(Rb−βv・Hex・sinθ)
なので、これらの第一の中間電圧差Vx(+)(正方向バイアス電流を流している状態を「+」とする)は
Vx(+)=V2−V3=Vcc・βl・Hex・cosθ/(Rb−βv・Hex・sinθ)
となる。同様にして、巨大磁気抵抗素子対4と巨大磁気抵抗素子対5との第一の中間電圧差Vy(+)を求めると、
Vy(+)=V4−V5=Vcc・βl・Hex・sinθ/(Rb−βv・Hex・cosθ)
となる。
次に平面コイル1にバイアス電流−Ibを反時計方向に流しているときに、外部磁界Hexによる第二の中間電圧差Vx(−)(負方向バイアス電流を流している状態を「−」として、「第二」と呼ぶ)と第二の中間電圧差Vy(−)は、それぞれ
Vx(−)=−Vcc・βl・Hex・cosθ/(Rb−βv・Hex・sinθ)
Vy(−)=−Vcc・βl・Hex・sinθ/(Rb−βv・Hex・cosθ)
となる。
平面コイル1に正方向バイアス電流を流しているときの第一の中間電圧差と負方向バイアス電流を流しているときの第二の中間電圧差との差をx方向の2組の巨大磁気抵抗素子対2,3について、またy方向の2組の巨大磁気抵抗素子対4,5について求めると、各々
Vx=Vx(+)−Vx(−)=2Vcc・βl・Hex・cosθ/(Rb−βv・Hex・sinθ)
Vy=Vy(+)−Vy(−)=2Vcc・βl・Hex・sinθ/(Rb−βv・Hex・cosθ)
となり、ここでβvはβlよりも極めて小さく、Rb>>βv・Hex・sinθ、Rb>>βv・Hex・cosθといえるので、
Vx≒2Vcc・βl・Hex・cosθ/Rb
Vy≒2Vcc・βl・Hex・sinθ/Rb
となる。
これらの式から、外部磁界の加わる角度θは、
θ=tan−1(Vy/Vx)
となるので、実施例1の方位計によって外部磁界の加わる角度θを求めることができる。
上の説明では平面コイル1に流す電流は正方向バイアス電流Ibと負方向バイアス電流−Ibとについてのみ説明した。しかし、本発明で、平面コイルの好ましい電源としては、巨大磁気抵抗素子の磁化が長手方向に飽和する大きさの直流磁界を巨大磁気抵抗素子に印加するのに十分な直流電流を平面コイルに供給し、その直流磁界よりも小さな所定の直流磁界すなわちバイアス磁界を巨大磁気抵抗素子に印加するだけの直流電流を平面コイルに供給し、巨大磁気抵抗素子の磁化が前記と逆方向に飽和する大きさの直流磁界を巨大磁気抵抗素子に印加するのに十分な直流電流を平面コイルに供給し、そして上記所定の直流磁界と逆方向の所定の直流磁界すなわちバイアス磁界を印加するだけの直流電流を平面コイルに供給するものである。
巨大磁気抵抗素子に印加する外部磁界と巨大磁気抵抗素子の抵抗との関係には通常ヒステリシスがあり、磁界を負方向から増やしていく場合と正方向から減らしていく場合とは図6に示すように少し違ったループを取る。地磁気のように小さな磁界を測定する場合にはこの違いが無視できない。そこで本発明ではバイアス磁界を印加する前に予め飽和するだけの大きさの磁界をバイアス磁界と同じ方向にかけておき、磁界を減らしていって、バイアス磁界を印加することが望ましい。
実施例2
本発明の方位計の実施例2について回路図を図7に示している。ここに示している方位計は図2の回路図に示した方位計から、巨大磁気抵抗素子対3と5を除いたものである。そのために、図2では巨大磁気抵抗素子対2と3の中間電圧差、及び巨大磁気抵抗素子対4と5の中間電圧差を求めていたのに対して、図7の方位計では巨大磁気抵抗素子対2と4それぞれの中間電圧を求めるようになっている。参照符号は図1、図2と同じものを用いて示している。
一方向に所定のバイアス磁界を印加したとき巨大磁気抵抗素子対2の第一の中間電圧を求めると、
Vx(+)=Vcc・(Rb+βl・Hex・cosθ−βv・Hex・sinθ)/2(Rb−βv・Hex・sinθ)
であり、反対方向に所定の直流磁界を印加したときの第二の中間電圧は
Vx(−)=Vcc・(Rb−βl・Hex・cosθ−βv・Hex・sinθ)/2(Rb−βv・Hex・sinθ)
である。
また、一方向に所定のバイアス磁界を印加したとき巨大磁気抵抗素子対4の第一の中間電圧を求めると、
Vy(+)=Vcc・(Rb+βl・Hex・sinθ−βv・Hex・cosθ)/2(Rb−βv・Hex・cosθ)
であり、反対方向に所定の直流磁界を印加したときの第二の中間電圧は
Vy(−)=Vcc・(Rb−βl・Hex・sinθ−βv・Hex・cosθ)/2(Rb−βv・Hex・cosθ)
なので、これら両中間電圧をx方向、y方向それぞれについて差を求めると、
x方向のVx=Vx(+)−Vx(−)
=Vcc・βl・Hex・cosθ/(Rb−βv・Hex・sinθ)
≒Vcc・βl・Hex・cosθ/Rb
y方向のVy=Vy(+)−Vy(−)
=Vcc・βl・Hex・sinθ/(Rb−βv・Hex・cosθ)
≒Vcc・βl・Hex・sinθ/Rb
となる。この出力を実施例1の出力と比べると、半分になっている。これは実施例1ではフルブリッジになっていたものが、ここではハーフブリッジになっているためである。外部磁界の水平成分がx軸となす角度θは
θ=tan−1(Vy/Vx)
として求めることができる。
この実施例において上の説明から明らかなように、一方向に直流電流を流しているときに巨大磁気抵抗素子対2および巨大磁気抵抗素子対4にx方向とy方向のバイアスを印加したときの中間電位出力を同時に求めることができる。とともに、反対方向に直流電流を流しているときに巨大磁気抵抗素子対2および巨大磁気抵抗素子対4に−x方向と−y方向のバイアスを印加したときの中間電位出力も同時に求めることができる
実施例3
本発明の方位計の実施例3について、回路図を図8に示している。ここに示している方位計は図7の回路図に示した方位計から、更に巨大磁気抵抗素子対4を除いたものである。ここでは巨大磁気抵抗素子対2の中間電圧を求めるようになっている。参照符号は図1、2、7と同じものを用いて示している。
一方向に電流を流して、所定の磁界を印加したときの巨大磁気抵抗素子対2の第一の中間電圧は実施例1,2と同様に
Vx(+)=Vcc・(Rb+βl・Hex・cosθ−βv・Hex・sinθ)/2(Rb−βv・Hex・sinθ)
であり、反対方向に電流を流して、所定の磁界を印加したときの巨大磁気抵抗素子対2の第二の中間電圧は同様にして
Vx(−)=Vcc・(Rb−βl・Hex・cosθ−βv・Hex・sinθ)/2(Rb−βv・Hex・sinθ)
となる。これら両方向磁界を印加したときの両中間電圧の間の差を求めると
x方向のVx=Vx(+)−Vx(−)≒Vcc・βlHex・cosθ/Rb
となる。この式から地磁気の水平成分のx軸との角度θを求めることができる。しかし、y方向の出力差Vを測定していないので+/−θの区別が出来ないという欠点がある。
本発明の実施例1〜3から明らかなように、本発明の方位計はいずれも外部からかけた磁界の方向を測定することができる。この方位計は等方性巨大磁気抵抗素子を用いて、その形状異方性を使って方位を測定している。結晶磁気異方性を持たない巨大磁気抵抗素子を用いているので、巨大磁気抵抗素子を形成する際に磁界をかける必要がなく、実施例1のように巨大磁気抵抗素子を8個使っている場合でも、同じプロセス内で同時にそれら巨大磁気抵抗素子を作ることができる。巨大磁気抵抗素子の長手方向寸法に比して幅寸法を極めて小さくすることができる。そのために、巨大磁気抵抗素子の抵抗を大きくすることができ、測定時の発熱を小さくすることができる。更に、巨大磁気抵抗素子の長手方向磁界に対しては感度が良く、それに垂直な磁界に対しては感度が低いので、測定する方向の磁界に対して感度を上げることができる。
本発明の実施例1の方位計を示す分解斜視図である。 本発明の実施例1の方位計を示す回路図である。 本発明に用いている巨大磁気抵抗素子の一部を切断して示す説明斜視図である。 巨大磁気抵抗素子の抵抗Rと外部磁界Hとの関係を示すグラフである。 巨大磁気抵抗素子に印加する外部磁界を説明する平面図である。 巨大磁気抵抗素子へ加える外部磁界の方向によって生じるヒステリシスを説明するための抵抗と外部磁界との関係を示すグラフである。 本発明の実施例2の方位計を示す回路図である。 本発明の実施例3の方位計を示す回路図である。 特許文献1に示された方位計を説明するための分解斜視図である。
符号の説明
1 平面コイル
11,12,13,14 (平面コイルの)辺
2,3,4,5 巨大磁気抵抗素子対
21,22,31,32,41,42,51,52,200 巨大磁気抵抗素子
201 下地層
211 強磁性層
212 磁化
221 非磁性層
300 外部磁界
6,7,8,9 磁気抵抗素子対
61,62,71,72,81,82,91,92 磁気抵抗素子

Claims (5)

  1. 互いに平行となっている対辺対を少なくとも部分的に有する平面コイルと、
    その平面コイル面の同じ側にあって、平面コイル面に平行で近接した平面内に設けられた巨大磁気抵抗素子2個からなる少なくとも1組の巨大磁気抵抗素子対とを有しており、
    前記巨大磁気抵抗素子それぞれは、強磁性層と非磁性層とを交互に積層した積層薄膜であり、その長手方向寸法に対して薄膜の幅方向寸法が十分に小さな形状をしており、
    前記巨大磁気抵抗素子対の各巨大磁気抵抗素子の長手方向は前記平面コイルの対辺対の各1辺のみと実質的に直交しており、
    巨大磁気抵抗素子対の巨大磁気抵抗素子の一方の端部同士が接続されているとともに、他方の端部間に測定用電圧が印加されるようになっており、前記一方の端部から中間電圧を取り出すようになっていることを特徴とする方位計。
  2. 前記巨大磁気抵抗素子対は2組あり、前記平面コイルは前記巨大磁気抵抗素子対の各組と交差している対辺対を2組持っているとともに、その2組の対辺対は互いに垂直である請求項1記載の方位計。
  3. 前記巨大磁気抵抗素子対は4組あり、前記平面コイルは前記巨大磁気抵抗素子対の各2組と交差している対辺対を2組持っているとともに、その2組の対辺対は互いに垂直である請求項1記載の方位計。
  4. 前記巨大磁気抵抗素子の磁化が長手方向に飽和する大きさの直流磁界を前記巨大磁気抵抗素子に印加するのに十分な直流電流を前記平面コイルに供給し、
    前記巨大磁気抵抗素子に前記直流磁界よりも小さな所定の直流磁界を印加する直流電流を前記平面コイルに供給し、
    前記巨大磁気抵抗素子の磁化が前記と逆方向に飽和する大きさの直流磁界を前記巨大磁気抵抗素子に印加するのに十分な直流電流を前記平面コイルに供給し、そして
    前記巨大磁気抵抗素子に前記所定の直流磁界と逆方向の所定の直流磁界を印加する直流電流を前記平面コイルに供給する電源を更に有している請求項1から3のいずれか記載の方位計。
  5. 前記巨大磁気抵抗素子に前記所定の直流磁界を印加している間に各巨大磁気抵抗素子対の前記一方の端部から第一の中間電圧を取り出し、
    前記巨大磁気抵抗素子に前記逆方向の所定の直流磁界を印加している間に各巨大磁気抵抗素子対の前記一方の端部から第二の中間電圧を取り出し、
    第一と第二の中間電圧の差に基づいて外部磁界の方位を求める演算器を更に有している請求項4記載の方位計。
JP2004102764A 2004-03-31 2004-03-31 巨大磁気抵抗素子を持った方位計 Expired - Fee Related JP4482866B2 (ja)

Priority Applications (1)

Application Number Priority Date Filing Date Title
JP2004102764A JP4482866B2 (ja) 2004-03-31 2004-03-31 巨大磁気抵抗素子を持った方位計

Applications Claiming Priority (1)

Application Number Priority Date Filing Date Title
JP2004102764A JP4482866B2 (ja) 2004-03-31 2004-03-31 巨大磁気抵抗素子を持った方位計

Publications (3)

Publication Number Publication Date
JP2005291728A true JP2005291728A (ja) 2005-10-20
JP2005291728A5 JP2005291728A5 (ja) 2006-08-31
JP4482866B2 JP4482866B2 (ja) 2010-06-16

Family

ID=35324841

Family Applications (1)

Application Number Title Priority Date Filing Date
JP2004102764A Expired - Fee Related JP4482866B2 (ja) 2004-03-31 2004-03-31 巨大磁気抵抗素子を持った方位計

Country Status (1)

Country Link
JP (1) JP4482866B2 (ja)

Cited By (10)

* Cited by examiner, † Cited by third party
Publication number Priority date Publication date Assignee Title
JP2008096131A (ja) * 2006-10-06 2008-04-24 Ricoh Co Ltd センサ・モジュール、補正方法、プログラム及び記録媒体
JP2009236889A (ja) * 2008-03-28 2009-10-15 Tdk Corp 磁界測定方法及び磁気センサ
JP2009250931A (ja) * 2008-04-10 2009-10-29 Rohm Co Ltd 磁気センサおよびその動作方法、および磁気センサシステム
JP2011047929A (ja) * 2009-07-29 2011-03-10 Tdk Corp 磁気センサ
JP2012017990A (ja) * 2010-07-06 2012-01-26 Denso Corp 磁気センサ装置
JP2014006127A (ja) * 2012-06-22 2014-01-16 Asahi Kasei Electronics Co Ltd 多軸磁気センサ、および、その製造方法
WO2015125699A1 (ja) * 2014-02-19 2015-08-27 アルプス電気株式会社 磁気センサ
CN109061528A (zh) * 2018-08-02 2018-12-21 华中科技大学 一种基于巨磁阻抗效应的三轴平面化磁传感器
JP2020511663A (ja) * 2017-03-24 2020-04-16 江▲蘇▼多▲維▼科技有限公司Multidimension Technology Co., Ltd. ヒステリシス・コイルを有する磁気センサ・パッケージング構造
CN113981334A (zh) * 2021-11-02 2022-01-28 浙江大学 具有超高磁阻抗的非晶丝平面结构及其传感应用

Cited By (13)

* Cited by examiner, † Cited by third party
Publication number Priority date Publication date Assignee Title
JP2008096131A (ja) * 2006-10-06 2008-04-24 Ricoh Co Ltd センサ・モジュール、補正方法、プログラム及び記録媒体
JP2009236889A (ja) * 2008-03-28 2009-10-15 Tdk Corp 磁界測定方法及び磁気センサ
JP2009250931A (ja) * 2008-04-10 2009-10-29 Rohm Co Ltd 磁気センサおよびその動作方法、および磁気センサシステム
JP2011047929A (ja) * 2009-07-29 2011-03-10 Tdk Corp 磁気センサ
JP2012017990A (ja) * 2010-07-06 2012-01-26 Denso Corp 磁気センサ装置
JP2014006127A (ja) * 2012-06-22 2014-01-16 Asahi Kasei Electronics Co Ltd 多軸磁気センサ、および、その製造方法
WO2015125699A1 (ja) * 2014-02-19 2015-08-27 アルプス電気株式会社 磁気センサ
JP2020511663A (ja) * 2017-03-24 2020-04-16 江▲蘇▼多▲維▼科技有限公司Multidimension Technology Co., Ltd. ヒステリシス・コイルを有する磁気センサ・パッケージング構造
JP7072265B2 (ja) 2017-03-24 2022-05-20 江▲蘇▼多▲維▼科技有限公司 ヒステリシス・コイルを有する磁気センサ・パッケージング構造
CN109061528A (zh) * 2018-08-02 2018-12-21 华中科技大学 一种基于巨磁阻抗效应的三轴平面化磁传感器
CN109061528B (zh) * 2018-08-02 2020-08-18 华中科技大学 一种基于巨磁阻抗效应的三轴平面化磁传感器
CN113981334A (zh) * 2021-11-02 2022-01-28 浙江大学 具有超高磁阻抗的非晶丝平面结构及其传感应用
CN113981334B (zh) * 2021-11-02 2022-04-26 浙江大学 具有超高磁阻抗的非晶丝平面结构及其传感应用

Also Published As

Publication number Publication date
JP4482866B2 (ja) 2010-06-16

Similar Documents

Publication Publication Date Title
US9069033B2 (en) 3-axis magnetic field sensor, method for fabricating magnetic field sensing structure and magnetic field sensing circuit
US7737678B2 (en) Magnetic sensor and current sensor
JP5152495B2 (ja) 磁気センサーおよび携帯情報端末装置
CN1924603B (zh) 磁场检测装置以及对其进行调整的方法
CN102435960B (zh) 穿隧磁阻结构以及集成式3轴向磁场传感器与其制造方法
JP3573100B2 (ja) 方位計及び方位の測定方法
WO2020250489A1 (ja) 磁気センサ、磁気センサアレイ、磁場分布測定装置、および位置特定装置
JP2014516406A (ja) 単一チップブリッジ型磁界センサおよびその製造方法
JP2007101253A (ja) 電流センサ
WO2005081007A1 (ja) 磁界検出器、これを用いた電流検出装置、位置検出装置および回転検出装置
JP2016176911A (ja) 磁気センサ
JPWO2020208907A1 (ja) 磁気抵抗素子および磁気センサ
CN106597326A (zh) 磁场感测装置
JP4023476B2 (ja) スピンバルブ型巨大磁気抵抗効果素子を持った方位計
JP4508058B2 (ja) 磁界検出装置およびその製造方法
JP4482866B2 (ja) 巨大磁気抵抗素子を持った方位計
US9372242B2 (en) Magnetometer with angled set/reset coil
US12498434B2 (en) Magnetic sensor element, magnetic sensor, and magnetic sensor device
TW201715251A (zh) 磁場感測裝置
JP2003533895A (ja) 磁気抵抗を用いた磁界センサとその製造方法
JP2014089088A (ja) 磁気抵抗効果素子
JP2012063203A (ja) 磁気センサ
CN109541503A (zh) 磁传感器
JP2003215222A (ja) 磁気抵抗効果素子センサ
JP2012063232A (ja) 磁界検出装置の製造方法および磁界検出装置

Legal Events

Date Code Title Description
A521 Written amendment

Free format text: JAPANESE INTERMEDIATE CODE: A523

Effective date: 20060713

A621 Written request for application examination

Free format text: JAPANESE INTERMEDIATE CODE: A621

Effective date: 20060713

A131 Notification of reasons for refusal

Free format text: JAPANESE INTERMEDIATE CODE: A131

Effective date: 20090721

A521 Written amendment

Free format text: JAPANESE INTERMEDIATE CODE: A523

Effective date: 20090914

RD04 Notification of resignation of power of attorney

Free format text: JAPANESE INTERMEDIATE CODE: A7424

Effective date: 20100202

TRDD Decision of grant or rejection written
A01 Written decision to grant a patent or to grant a registration (utility model)

Free format text: JAPANESE INTERMEDIATE CODE: A01

Effective date: 20100226

A01 Written decision to grant a patent or to grant a registration (utility model)

Free format text: JAPANESE INTERMEDIATE CODE: A01

A61 First payment of annual fees (during grant procedure)

Free format text: JAPANESE INTERMEDIATE CODE: A61

Effective date: 20100311

R150 Certificate of patent or registration of utility model

Free format text: JAPANESE INTERMEDIATE CODE: R150

FPAY Renewal fee payment (event date is renewal date of database)

Free format text: PAYMENT UNTIL: 20130402

Year of fee payment: 3

FPAY Renewal fee payment (event date is renewal date of database)

Free format text: PAYMENT UNTIL: 20130402

Year of fee payment: 3

FPAY Renewal fee payment (event date is renewal date of database)

Free format text: PAYMENT UNTIL: 20140402

Year of fee payment: 4

LAPS Cancellation because of no payment of annual fees