JP2005291480A - 電動式リニアアクチュエータ - Google Patents
電動式リニアアクチュエータ Download PDFInfo
- Publication number
- JP2005291480A JP2005291480A JP2004111731A JP2004111731A JP2005291480A JP 2005291480 A JP2005291480 A JP 2005291480A JP 2004111731 A JP2004111731 A JP 2004111731A JP 2004111731 A JP2004111731 A JP 2004111731A JP 2005291480 A JP2005291480 A JP 2005291480A
- Authority
- JP
- Japan
- Prior art keywords
- friction material
- annular
- electric motor
- linear actuator
- ball screw
- Prior art date
- Legal status (The legal status is an assumption and is not a legal conclusion. Google has not performed a legal analysis and makes no representation as to the accuracy of the status listed.)
- Withdrawn
Links
Images
Landscapes
- Connection Of Motors, Electrical Generators, Mechanical Devices, And The Like (AREA)
- Transmission Devices (AREA)
Abstract
【課題】 摩擦材28の両側面と相手面との間の摩擦係数を安定させると共に、この摩擦材28の摩耗量を抑える事ができる構造を実現する。
【解決手段】 上記摩擦材28の両側面と相手面との摩擦係合部にグリース等の潤滑剤を介在させる。これと共に、これら各摩擦係合部の径方向両側にそれぞれ、上記潤滑剤を保持する為の保持空間29a、29bを設ける。この構成を採用する事により、上記課題を解決する。
【選択図】 図1
【解決手段】 上記摩擦材28の両側面と相手面との摩擦係合部にグリース等の潤滑剤を介在させる。これと共に、これら各摩擦係合部の径方向両側にそれぞれ、上記潤滑剤を保持する為の保持空間29a、29bを設ける。この構成を採用する事により、上記課題を解決する。
【選択図】 図1
Description
本発明の電動式リニアアクチュエータは、例えば、昇降テーブル、リフター、介護用の電動ベッド、車載ジャッキ、自動車や飛行機の扉開閉装置、パワーウインド装置や電動式パーキングブレーキ装置を構成するワイヤ巻取り機構、電動式ディスクブレーキ装置を構成するキャリパ推進機構、クラッチ切換装置、変速機用ギヤ切換装置、4WD車の2駆4駆切換装置等に組み込んだ状態で使用する。
例えば介護用の電動ベッド等には電動式リニアアクチュエータを組み込んで、電動モータを駆動源として被介護者を寝かせたベッドの角度調節等を自在としている。この様な電動式リニアアクチュエータには、電動モータの回転運動を出力部材の軸方向運動に変換する機能、及び、電動モータの停止時に出力部材が変位しない様にする機能が要求される。
この様な2つの機能を得るべく、例えば、非特許文献1には、ボールねじにより回転運動を直線運動に変換するアクチュエータに関する技術、並びに、次の(a)〜(c)の何れかの手段を採用する事により、ボールねじが逆方向に回転するのを防止する技術が記載されている。
(a)電動モータにブレーキ機能を持たせる。
(b)駆動歯車に逆方向に回転不能なウォームギヤを使用する。
(c)駆動歯車軸にブレーキ装置を設ける。
(a)電動モータにブレーキ機能を持たせる。
(b)駆動歯車に逆方向に回転不能なウォームギヤを使用する。
(c)駆動歯車軸にブレーキ装置を設ける。
ところが、上記(a)の様に、電動モータにブレーキ機能を持たせる場合には、電動モータとして容量が大きいものを使用し、且つ、ブレーキの作動中、この電動モータにブレーキトルクを発生させる為の電流を流し続けなければならない。
又、上記(b)の様に、駆動歯車に逆方向に回転不能なウォームギヤを使用する場合には、ウォームギヤのリード角を小さくしない限り、逆方向の回転防止を確実には図れない。一方、リード角を小さくすると、噛合効率が悪くなって、十分な動作速度を確保する為には、高速で回転する大型の電動モータを使用する必要が生じる。
更に、上記(c)の様に、駆動歯車軸にブレーキ装置(例えば、電磁ブレーキ)を設ける場合には、やはりブレーキの作動中、このブレーキ装置に電流を流し続けなければならない。
従って、上記(a)〜(c)の手段を採用する場合には、装置のコスト、大きさ、重量、更には消費電力が嵩む。
又、上記(b)の様に、駆動歯車に逆方向に回転不能なウォームギヤを使用する場合には、ウォームギヤのリード角を小さくしない限り、逆方向の回転防止を確実には図れない。一方、リード角を小さくすると、噛合効率が悪くなって、十分な動作速度を確保する為には、高速で回転する大型の電動モータを使用する必要が生じる。
更に、上記(c)の様に、駆動歯車軸にブレーキ装置(例えば、電磁ブレーキ)を設ける場合には、やはりブレーキの作動中、このブレーキ装置に電流を流し続けなければならない。
従って、上記(a)〜(c)の手段を採用する場合には、装置のコスト、大きさ、重量、更には消費電力が嵩む。
又、特許文献1には、自動車用クラッチ切換装置として、複数の歯車と揺動レバーとを組み合わせた構造により、電動モータの回転運動を直線運動に変換するアクチュエータ装置が記載されている。ところが、このアクチュエータ装置の場合も、クラッチオフ時に出力部材の位置保持を行なう際には、電動モータにブレーキトルクを発生させる為の電流を流し続けなければならない。従って、やはり、装置のコスト、大きさ、重量、更には消費電力が嵩む。
これに対し、特許文献2〜3には、上述した様な不都合を解消できる電動式リニアアクチュエータが記載されている。即ち、これら特許文献2〜3に記載された電動式リニアアクチュエータの場合には、ハウジングに支持された電動モータにより、ボールねじを構成するボールねじ軸とボールナットとのうちの一方の部材を回転駆動自在としている。そして、この一方の部材を回転駆動する事に基づき、上記ボールねじ軸とボールナットとのうちの他方の部材に結合した出力部材を、軸方向に変位させる事ができる様にしている。又、上記ハウジングの内側には環状部材(間筒)を、玉軸受により回転のみ自在に支持すると共に、これらハウジングの内周面と環状部材の外周面との間に、一方向クラッチを設けている。更に、上記一方の部材を上記環状部材に対し、環状の摩擦材を介して摩擦係合させている。
この様に構成する電動式リニアアクチュエータは、上記出力部材に圧縮方向のアキシアル荷重が作用する状態で使用される。この様な電動式リニアアクチュエータの場合、上記電動モータを正方向に回転させる事に基づき、上記一方の部材を所定方向に回転させる際には、上記一方向クラッチがロックしない。従って、上記一方の部材を上記所定方向に円滑に回転させる事ができ、上記出力部材を上記アキシアル荷重に抗して軸方向に変位させる事ができる。
又、上記電動モータの停止時には、上記出力部材に作用するアキシアル荷重に基づき、上記他方の部材と上記環状部材とが、上記所定方向とは逆方向に回転する傾向となる。この状態では、上記一方向クラッチがロックし、上記環状部材が回転不能となる。これと共に、この環状部材に対し上記摩擦材を介して摩擦係合する上記一方の部材も、この摩擦材の側面と相手面との摩擦係合部に作用する摩擦力に基づいて、上記逆方向に回転する事を防止される。従って、上記出力部材を上記アキシアル荷重に抗して静止させる事ができる。
又、上記電動モータを逆回転させる際には、上記一方向クラッチはロックしたままの状態となるが、上記摩擦係合部には、上記アキシアル荷重に基づくトルクに加え、上記電動モータから伝達されるトルクが加わる。この結果、上記摩擦係合部で滑りが生じる。従って、上記一方の部材を上記逆方向に回転させる事ができ、上記出力部材を上記アキシアル荷重の方向に変位させる事ができる。
又、上記電動モータの停止時には、上記出力部材に作用するアキシアル荷重に基づき、上記他方の部材と上記環状部材とが、上記所定方向とは逆方向に回転する傾向となる。この状態では、上記一方向クラッチがロックし、上記環状部材が回転不能となる。これと共に、この環状部材に対し上記摩擦材を介して摩擦係合する上記一方の部材も、この摩擦材の側面と相手面との摩擦係合部に作用する摩擦力に基づいて、上記逆方向に回転する事を防止される。従って、上記出力部材を上記アキシアル荷重に抗して静止させる事ができる。
又、上記電動モータを逆回転させる際には、上記一方向クラッチはロックしたままの状態となるが、上記摩擦係合部には、上記アキシアル荷重に基づくトルクに加え、上記電動モータから伝達されるトルクが加わる。この結果、上記摩擦係合部で滑りが生じる。従って、上記一方の部材を上記逆方向に回転させる事ができ、上記出力部材を上記アキシアル荷重の方向に変位させる事ができる。
上述の様に、特許文献2〜3に記載された電動式リニアアクチュエータの場合には、上記電動モータの停止時でも、上記出力部材を上記アキシアル荷重に抗して静止させる事ができる。しかも、この際、上記電動モータに、ブレーキトルクを発生させる為の電流を流し続ける必要はない。この為、この電動モータとして、特別に容量が大きいものを使用する必要がなくなる。従って、装置全体を小型且つ軽量に、しかも低コストで造れる。これと共に、運転時の消費電力を少なくして、運転コストを十分に低く抑える事ができる。
ところが、上記特許文献2〜3に記載された電動式リニアアクチュエータの場合には、上記摩擦材の側面と相手面との間の摩擦係数を安定させる事に就いては、特に考慮していない。この摩擦係数が所望値よりも大きくなると、上記電動モータを逆回転させる際の摩擦抵抗力が大きくなって、この電動モータの消費電力が多くなる。従って、上記摩擦材の性能を安定させる事ができる構造を実現する事が望まれる。
本発明の電動式リニアアクチュエータは、上述した様な事情に鑑み、摩擦材の側面と相手面との間の摩擦係数を安定させる事ができる構造を実現すべく発明したものである。
本発明の電動式リニアアクチュエータは、上記特許文献2〜3に記載された電動式リニアアクチュエータと同様、ハウジングと、正方向及び逆方向に回転自在な電動モータと、ボールねじと、出力部材と、環状部材と、一方向クラッチと、環状の摩擦材とを備える。 このうちの電動モータは、上記ハウジングに支持されている。
又、上記ボールねじは、その構成部材であるボールねじ軸とボールナットとのうちの一方の部材を上記電動モータにより回転駆動自在とし、且つ、他方の部材を軸方向の変位のみ自在としている。
又、上記出力部材は、基端部を上記他方の部材に固定されて、使用時にアキシアル荷重を受ける。
又、上記環状部材は、上記一方の部材と同心に設けられて、上記ハウジングに対し回転のみ自在に支持されている。
又、上記一方向クラッチは、上記環状部材の外周面と上記ハウジングの内周面との間に設けられて、上記アキシアル荷重に基づいて上記環状部材が回転しようとする際にロックする。
そして、上記一方の部材を上記環状部材に対し、上記摩擦材を介して摩擦係合させている。
特に、本発明の電動式リニアアクチュエータに於いては、上記摩擦材の側面と相手面との摩擦係合部に潤滑剤を介在させると共に、この摩擦係合部に隣接して存在する空間と当該空間の更に外側に存在する空間との間にシール構造を設ける事により、当該空間を上記潤滑剤を保持する為の保持空間としている。
又、上記ボールねじは、その構成部材であるボールねじ軸とボールナットとのうちの一方の部材を上記電動モータにより回転駆動自在とし、且つ、他方の部材を軸方向の変位のみ自在としている。
又、上記出力部材は、基端部を上記他方の部材に固定されて、使用時にアキシアル荷重を受ける。
又、上記環状部材は、上記一方の部材と同心に設けられて、上記ハウジングに対し回転のみ自在に支持されている。
又、上記一方向クラッチは、上記環状部材の外周面と上記ハウジングの内周面との間に設けられて、上記アキシアル荷重に基づいて上記環状部材が回転しようとする際にロックする。
そして、上記一方の部材を上記環状部材に対し、上記摩擦材を介して摩擦係合させている。
特に、本発明の電動式リニアアクチュエータに於いては、上記摩擦材の側面と相手面との摩擦係合部に潤滑剤を介在させると共に、この摩擦係合部に隣接して存在する空間と当該空間の更に外側に存在する空間との間にシール構造を設ける事により、当該空間を上記潤滑剤を保持する為の保持空間としている。
上述の様に構成する本発明の電動式リニアアクチュエータは、出力部材に圧縮方向のアキシアル荷重が作用する状態で使用される。この様な本発明の電動式リニアアクチュエータも、上記特許文献2〜3に記載された電動式リニアアクチュエータの場合と同様、次の様に作用する事により、電動モータの回転方向に基づいて上記出力部材を軸方向に変位させる。
先ず、上記電動モータを正方向に回転させ、上記出力部材を上記アキシアル荷重に抗して変位させる際の作用に就いて説明する。この場合には、上記電動モータが正方向に回転する事に伴い、ボールねじを構成するボールねじ軸とボールナットとのうちの一方の部材が所定方向(上記電動モータとこの一方の部材との接続の仕方によって決まる回転方向)に回転する傾向となる。同時に、上記一方の部材に対し摩擦材を介して摩擦係合する環状部材も、上記所定方向に回転する傾向となる。この際、一方向クラッチはロックせず、上記環状部材はハウジングに対して回転自在となる。この為、上記一方向クラッチと上記環状部材と上記摩擦材との存在は、それぞれ上記一方の部材が上記所定方向に回転する事に対する抵抗とはならない。従って、上記電動モータが正方向に回転する事に伴い、上記一方の部材は、上記所定方向に円滑に回転する。この結果、上記ボールねじ軸と上記ボールナットとのうちの他方の部材が軸方向に変位し、上記出力部材を上記アキシアル荷重に抗して変位させる。
次に、上記電動モータの回転を停止させた状態では、上記アキシアル荷重に基づいて上記出力部材及び上記他方の部材から(複数のボールを介して)上記一方の部材に加わる力により、この一方の部材が上記所定方向とは反対方向に回転する傾向となる。同時に、上記一方の部材に対し上記摩擦材を介して摩擦係合する上記環状部材も、上記反対方向に回転する傾向となる。この際、上記一方向クラッチはロックし、上記環状部材は上記ハウジングに対して回転不能となる。この状態で、上記一方の部材を回転させる為には、上記摩擦材の側面と相手面とを滑らせる必要がある。従って、これら摩擦材の側面と相手面との間の摩擦係数を設計的に定められる所望値に規制する事により、上記アキシアル荷重に基づいて上記一方の部材が上記反対方向に回転する事を防止できる。この結果、上記出力部材を上記アキシアル荷重に抗して静止させる事ができる。
更に、上記電動モータを逆方向に回転させた状態では、上記一方向クラッチはロックしたままの状態となるが、上記一方の部材には、上記アキシアル荷重に基づいて発生するトルクに加えて、上記電動モータから伝達されるトルクが、上記反対方向に加わる。この結果、上記一方の部材は、上記摩擦材の側面と相手面との間に作用する摩擦力に抗して回転する。この際、この摩擦力が上記一方の部材の回転に対する抵抗となるので、この一方の部材の回転が急激に行なわれる事が防止される。又、この際に上記摩擦材の側面と相手面との間で滑りが生じる事に伴い、これら両面が摩り減った場合には、これを補償する分だけ上記一方の部材が上記アキシアル荷重の方向に変位して、上記摩擦材の側面と相手面との当接圧(これら両面同士に間に作用する摩擦力)が低下するのを防止する。何れにしても、上記一方の部材が上記反対方向に回転する事に基づき、上記出力部材を上記アキシアル荷重と同方向に変位させる事ができる。
上述の様に、本発明の電動式リニアアクチュエータの場合も、前記特許文献2〜3に記載された電動式リニアアクチュエータの場合と同様、電動モータの回転を停止させた状態でも、上記出力部材を上記アキシアル荷重に抗して静止させる事ができる。しかも、この際、上記電動モータに、ブレーキトルクを発生させる為の電流を流し続ける必要はない。この為、この電動モータとして、特別に容量が大きいものを使用する必要がなくなる。従って、装置全体を小型且つ軽量に、しかも低コストで造れる。これと共に、運転時の消費電力を少なくして、運転コストを十分に抑える事ができる。
特に、本発明の場合には、上記摩擦材の側面と相手面との摩擦係合部に潤滑剤を介在させている。この為、上記摩擦材の側面と相手面との間の摩擦係数を安定させる事ができると共に、この摩擦材の摩耗量を抑える事ができる。
又、本発明の場合には、上記摩擦係合部に隣接する部分に、上記潤滑剤を保持する為の保持空間を設けている。この為、上記摩擦係合部から上記潤滑剤が漏洩した場合でも、この漏洩した潤滑剤を上記保持空間内に保持する事ができる。そして、この保持空間内に保持した潤滑剤(及び予めこの保持空間内に封入しておいた潤滑剤)を、重力等の作用により、再び(若しくは新たに)上記摩擦係合部に進入させる事ができる。又、上記保持空間の外部に存在する空間から上記摩擦係合部に異物(塵芥や他の部分で使用されている異種の潤滑剤等)が進入する事を有効に防止できる。従って、上述した摩擦材の側面と相手面との間の摩擦係数を安定させる効果並びにこの摩擦材の摩耗を抑える効果を、少ない量の潤滑剤を使用して長期に亙り良好に維持できる。この結果、本発明の場合には、上記摩擦材を設けた部分の保守を行なう必要がなくなり、メンテナンスフリーの構造を実現できる。
又、本発明の場合には、上記摩擦係合部に隣接する部分に、上記潤滑剤を保持する為の保持空間を設けている。この為、上記摩擦係合部から上記潤滑剤が漏洩した場合でも、この漏洩した潤滑剤を上記保持空間内に保持する事ができる。そして、この保持空間内に保持した潤滑剤(及び予めこの保持空間内に封入しておいた潤滑剤)を、重力等の作用により、再び(若しくは新たに)上記摩擦係合部に進入させる事ができる。又、上記保持空間の外部に存在する空間から上記摩擦係合部に異物(塵芥や他の部分で使用されている異種の潤滑剤等)が進入する事を有効に防止できる。従って、上述した摩擦材の側面と相手面との間の摩擦係数を安定させる効果並びにこの摩擦材の摩耗を抑える効果を、少ない量の潤滑剤を使用して長期に亙り良好に維持できる。この結果、本発明の場合には、上記摩擦材を設けた部分の保守を行なう必要がなくなり、メンテナンスフリーの構造を実現できる。
本発明の電動式リニアアクチュエータを実施する場合には、請求項2に記載した様に、摩擦材と一方の部材との間に、この一方の部材に対して回転不能に支持されると共にこの一方の部材に加わるアキシアル荷重を受ける間座を設ける事もできる。
この様にすれば、上記一方の部材の形状を簡略にでき、この一方の部材の製造コストを抑える事ができる。
この様にすれば、上記一方の部材の形状を簡略にでき、この一方の部材の製造コストを抑える事ができる。
又、本発明を実施する場合、保持空間を造る為のシール構造としては、例えば、このシール構造を設けるべき部分に、シールリング(接触型か非接触型かの種別や、材質及び構造等は問わない)、円輪状の側板(他の部材の一部として一体的に設けられたものを含む)等を組み付けて構成したものを採用する事ができる。
具体的には、例えば請求項3に記載した様に、上記シール構造を設けるべき部分の径方向両側に存在して互いに相対回転する1対の部材のうちの片側の部材にシールリングの基端部を全周に亙り係止すると共に、同じく他側に存在する部材の表面に上記シールリングの先端縁を全周に亙り摺接させる事により、上記シール構造を構成する事ができる。
又、請求項4に記載した様に、上記片側の部材に円輪状の側板部を有する環状の保持部材を嵌合支持すると共に、上記他側の部材の表面に上記側板部の先端縁を全周に亙り近接対向させる事により、上記シール構造を構成する事もできる。
又、請求項5に記載した様に、上記片側の部材に円輪状の側板の基端部を全周に亙り係止すると共に、上記他側の部材の表面に上記側板の先端縁を全周に亙り近接対向させる事により、上記シール構造を構成する事もできる。
更には、請求項6に記載した様に、上記片側の部材に円輪状の側板部を一体的に形成すると共に、上記他側の部材の表面に上記側板部の先端縁を全周に亙り近接対向させる事により、上記シール構造を構成する事もできる。
具体的には、例えば請求項3に記載した様に、上記シール構造を設けるべき部分の径方向両側に存在して互いに相対回転する1対の部材のうちの片側の部材にシールリングの基端部を全周に亙り係止すると共に、同じく他側に存在する部材の表面に上記シールリングの先端縁を全周に亙り摺接させる事により、上記シール構造を構成する事ができる。
又、請求項4に記載した様に、上記片側の部材に円輪状の側板部を有する環状の保持部材を嵌合支持すると共に、上記他側の部材の表面に上記側板部の先端縁を全周に亙り近接対向させる事により、上記シール構造を構成する事もできる。
又、請求項5に記載した様に、上記片側の部材に円輪状の側板の基端部を全周に亙り係止すると共に、上記他側の部材の表面に上記側板の先端縁を全周に亙り近接対向させる事により、上記シール構造を構成する事もできる。
更には、請求項6に記載した様に、上記片側の部材に円輪状の側板部を一体的に形成すると共に、上記他側の部材の表面に上記側板部の先端縁を全周に亙り近接対向させる事により、上記シール構造を構成する事もできる。
又、本発明を実施する場合、上記摩擦材の側面と相手面との摩擦係合部に隣接する空間が、この摩擦係合部の径方向両側に存在する場合には、この径方向両側の空間をそれぞれ保持空間とするのが好ましい。但し、何れか一方の空間のみを保持空間とする事もできる。この場合には、径方向外側の空間を保持空間とするのが好ましい。この理由は、上記潤滑剤は、運転中の遠心力により径方向外方に移動し易いので、この様に径方向外方に移動した潤滑剤を上記保持空間により保持できる様にする為である。尚、この際にこの保持空間で保持した潤滑剤は、電動モータの停止時等に、重力等の作用により、再び上記摩擦係合部に進入させる事ができる。
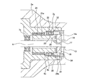
図1〜2は、請求項1〜4に対応する、本発明の実施例1を示している。本実施例の電動式リニアアクチュエータは、使用時に圧縮方向(図1〜2の左方向)のアキシアル荷重Fが加わる部分に組み付けられる。この様な本実施例の電動式リニアアクチュエータは、駆動源である電動モータ1を、ハウジング2の基端部(図1の左端部)に結合固定している。このハウジング2は、筒状のハウジング本体3と、このハウジング本体3の先端(図1の右端)開口を塞ぐ蓋体4とを備える。上記電動モータ1は、上記ハウジング本体3の基端開口を塞ぐ状態で、このハウジング本体3の基端部に結合固定している。
又、上記ハウジング2の内側には、ボールねじ5を構成するボールねじ軸6を、1対の玉軸受7a、7bにより、回転並びに軸方向に関する若干の変位(これら各玉軸受7a、7bの内部隙間に基づく変位)自在に支持している。又、上記電動モータ1の出力軸12の先端部と上記ボールねじ軸6の基端部とを、回転力の伝達自在に且つ軸方向に関する若干の相対変位自在に結合している。
又、上記ボールねじ軸6の外周面のうち、断面円弧形の螺旋溝13を形成した先半部(図1の右半部)には、このボールねじ軸6と共に上記ボールねじ5を構成するボールナット14を、複数個のボール(図示せず)を介して螺合させている。一方、上記蓋体4の中央部で上記ボールナット14と軸方向に対向する部分には、当該部分の周方向複数個所を貫通する状態で出力部材15を、軸方向の変位のみ自在に支持している。そして、この出力部材15の基端部(図1の左端部)を、上記ボールナット14に結合固定している。これにより、上記ボールナット14を、上記ボールねじ軸6の回転に伴い、軸方向にのみ変位自在としている。尚、本実施例の電動式リニアアクチュエータの使用時に、上記アキシアル荷重Fは、上記ハウジング2の外部に配置された上記出力部材15の先端部に直接作用する。
又、上記ボールねじ軸6の中間部には、断面L字形で全体を円環状に構成した間座16を、このボールねじ軸6に対する回転を阻止した状態で外嵌している。この為に、本例の場合には、上記ボールねじ軸6の中間部の円周方向一部に止着した軸方向に長いキー17を、上記間座16の内周面の円周方向一部に軸方向に亙って形成したキー溝18に係合させている。更に、この状態で、上記間座16の片側面(図1〜2の右側面)の内周縁部分を、上記ボールねじ軸6の中間部外周面に設けた段差面19を突き当てている。これにより、上記ボールねじ軸6に加わる(上記アキシアル荷重Fと同方向の)アキシアル荷重を、上記間座16により受けられる様にしている。
又、上記ボールねじ軸6の基端寄り部分及び上記間座16を構成する円筒部20の周囲には、これらボールねじ軸6及び円筒部20と同心に、断面クランク形の環状部材21を配置している。この環状部材21は、上記ハウジング本体3の基端寄り部内周面に、玉軸受7cを介して回転のみ自在に支持している。この玉軸受7cは、深溝型若しくはアンギュラ型のものでラジアル荷重を支承すると共に、(上記アキシアル荷重Fと同方向の)アキシアル荷重も支承する。この為、この玉軸受7cを構成する外輪8cの片側面(図1〜2の左側面)を、上記ハウジング本体3の内周面に設けた段差面22に突き当てると共に、内輪9cの片側面(図1〜2の右側面)を、上記環状部材21を構成する大径側半部26の外周面に設けた段差面23に突き当てている。
又、上記ハウジング本体3の基端寄り部内周面と、上記環状部材21を構成する小径側半部27の外周面との間に、一方向クラッチであるローラクラッチ24を設けている。このローラクラッチ24は、上記アキシアル荷重に基づいて上記環状部材21が回転しようとする際にロックして、この環状部材21が上記ハウジング本体3に対して回転する事を阻止する。
又、上記間座16の一端部外周面に設けた外向フランジ状の鍔部25と上記環状部材21の大径側半部26との間に、円輪状の摩擦材28を挟持している。この摩擦材28は、少なくとも両側面を摩擦係数の大きい材料により造っている。そして、この摩擦材28の両側面を、それぞれ相手面である上記鍔部25の側面及び上記大径側半部26の側面に摩擦係合させている。尚、使用状態では、上記アキシアル荷重Fに基づいて、上記摩擦材28の両側面と上記相手面との間に所定の大きさの当接圧が付与される。この為、これら摩擦材28の両側面と相手面との間に作用する摩擦力は、ほぼ一定に保たれる。尚、上記摩擦材28は、上記鍔部25の側面と上記大径側半部26の側面とのうちの何れか一方の側面に、接着、ピン止め等により固定する事もできる。この場合、上記鍔部25の側面と上記大径側半部26の側面とのうちの他方の側面のみが、上記摩擦材28の側面と摩擦係合する相手面となる。
又、本実施例の場合には、上記摩擦材28の両側面と上記相手面との摩擦係合部に、グリース等の潤滑剤を介在させている。これと共に、これら各摩擦係合部の径方向両側にそれぞれ、上記潤滑剤を保持する為の保持空間29a、29bを設けている。本実施例の場合、これら1対の保持空間29a、29bのうち、径方向内側の保持空間29aを造る為、上記大径側半部26の端部内周面と上記間座16の中間部外周面との間に、接触型シールリングの一種である、オイルシール30を設けている。即ち、詳しい図示は省略するが、このオイルシール30の径方向外端部を上記大径側半部26の端部内周面に締り嵌めで内嵌すると共に、このオイルシール30を構成する弾性材の先端縁を、上記間座16の中間部外周面に全周に亙り摺接させている。これにより、上記各摩擦係合部の径方向内方に存在する空間を密封し、この密封した空間を、上記径方向内側の保持空間29aとしている。
又、上記1対の保持空間29a、29bのうち、径方向外側の保持空間29bを造る為、上記ハウジング本体3の中間部内周面で上記鍔部25の外周面と対向する部分に、筒状の保持部材31を内嵌支持している。この保持部材31は、上記ハウジング本体3の内周面に設けた段差面32とこの内周面に止着した止め輪33との間で挟持する事により、軸方向に変位しない様にしている。そして、この保持部材31の一端部(図1〜2の右端部)内周面に設けた円輪状の側板部34の内周縁部を、上記鍔部25の外周面に全周に亙って近接対向させる事により、この近接対向させた部分をラビリンスシール部としている。そして、これら側板部34とラビリンスシール部とにより、上記径方向外方に存在する空間の一端(図1〜2の右端)開口を塞いでいる。そして更に、この径方向外方に存在する空間の他端(図1〜2の左端)開口を前記玉軸受7cにより塞ぐ事で、この空間を上記径方向外側の保持空間29bとしている。尚、本実施例の場合、上記玉軸受7cの両端開口部のうち、少なくとも上記径方向外側の保持空間29bと対向する開口部は、接触型のシールリング35により密閉している。これにより、上記玉軸受7cの内部を潤滑するグリース等の潤滑剤が、上記径方向外側の保持空間29b側に流失する事を防止している。
上述の様に構成する本実施例の電動式リニアアクチュエータは、次の様に作用する事により、電動モータ1の回転方向に基づいて出力部材15を軸方向に変位させる。
先ず、上記電動モータ1の出力軸12を正方向に回転させ、上記出力部材15を前記アキシアル荷重Fに抗して変位させる際の作用に就いて説明する。この場合には、上記電動モータ1の出力軸12が正方向に回転する事に伴い、ボールねじ軸6が同方向(正方向)に回転する傾向となる。同時に、このボールねじ軸6の中間部に結合した間座16に対し摩擦材28を介して摩擦係合する環状部材21も、上記正方向に回転する傾向となる。この際、ローラクラッチ24はロックせず、上記環状部材21はハウジング2に対して回転自在となる。この為、上記ローラクラッチ24と上記環状部材21と上記摩擦材28との存在は、それぞれ上記ボールねじ軸6及び間座16が上記正方向に回転する事に対する抵抗となる事はない。又、上記環状部材21と上記間座16との間に設けたオイルシール30の摺接部でも滑りが生じない為、この摺接部の摩擦力も、上記抵抗となる事はない。従って、上記電動モータ1の出力軸12が正方向に回転する事に伴い、上記ボールねじ軸6及び間座16は、上記正方向に円滑に回転する。この結果、前記ボールナット14が軸方向(図1の右方向)に変位し、上記出力部材15を上記アキシアル荷重Fに抗して変位させる。
先ず、上記電動モータ1の出力軸12を正方向に回転させ、上記出力部材15を前記アキシアル荷重Fに抗して変位させる際の作用に就いて説明する。この場合には、上記電動モータ1の出力軸12が正方向に回転する事に伴い、ボールねじ軸6が同方向(正方向)に回転する傾向となる。同時に、このボールねじ軸6の中間部に結合した間座16に対し摩擦材28を介して摩擦係合する環状部材21も、上記正方向に回転する傾向となる。この際、ローラクラッチ24はロックせず、上記環状部材21はハウジング2に対して回転自在となる。この為、上記ローラクラッチ24と上記環状部材21と上記摩擦材28との存在は、それぞれ上記ボールねじ軸6及び間座16が上記正方向に回転する事に対する抵抗となる事はない。又、上記環状部材21と上記間座16との間に設けたオイルシール30の摺接部でも滑りが生じない為、この摺接部の摩擦力も、上記抵抗となる事はない。従って、上記電動モータ1の出力軸12が正方向に回転する事に伴い、上記ボールねじ軸6及び間座16は、上記正方向に円滑に回転する。この結果、前記ボールナット14が軸方向(図1の右方向)に変位し、上記出力部材15を上記アキシアル荷重Fに抗して変位させる。
次に、上記電動モータ1の出力軸12の回転を停止させた状態では、上記アキシアル荷重Fに基づいて上記出力部材15及びボールナット14から複数のボール(図示せず)を介して上記ボールねじ軸6に加わる力が、このボールねじ軸6及び上記間座16を、上記正方向とは逆方向に回転させる様に作用する。同時に、上記間座16に対し上記摩擦材28を介して摩擦係合する上記環状部材21も、上記逆方向に回転しようとする。この際、上記ローラクラッチ24はロックし、上記環状部材21は上記ハウジング2に対して回転不能となる。この状態で、上記ボールねじ軸6及び間座16を回転させる為には、上記摩擦材28の側面と相手面とを滑らせる必要がある。従って、これら摩擦材28の側面と相手面との間の摩擦係数を設計的に定められる所望値に規制する事により、上記アキシアル荷重Fに基づいて上記ボールねじ軸6及び間座16が上記逆方向に回転する事を防止できる。この結果、上記出力部材15を上記アキシアル荷重Fに抗して静止させる事ができる。尚、上記オイルシール30の摺接部でも回転抵抗となる摩擦力が作用するが、この摩擦力は、上記摩擦材28の側面と相手面との間に作用する摩擦力に比べて遥かに小さい。この為、上記ボールねじ軸6及び間座16の逆回転防止を図る方法としては、上記オイルシール30の摺接部に作用する摩擦力を考慮する事なく、上述の様に摩擦材28の側面と相手面との間の摩擦係数のみを規制するだけで足りる。
更に、上記電動モータ1の出力軸12を逆方向に回転させた状態では、上記ボールねじ軸6及び間座16に、上記アキシアル荷重Fに基づいて発生するトルクに加えて、上記電動モータ1から伝達されるトルクが、上記逆方向に加わる。この結果、上記ボールねじ軸6及び間座16は、上記摩擦材28の側面と相手面との間に作用する摩擦力、並びに、上記環状部材21と上記間座16との間に設けたオイルシール30の摺接部に作用する摩擦力に抗して回転する。この際、これら各摩擦力が上記ボールねじ軸6の回転に対する抵抗となるので、このボールねじ軸6の回転が急激に行なわれる事が防止される。又、この際に上記摩擦材28の側面と相手面との間で滑りが生じる事に伴い、これら両面が摩り減った場合には、これを補償する分だけ上記ボールねじ軸6及び間座16が上記アキシアル荷重Fの方向に変位して、上記摩擦材28の側面と相手面との当接圧(これら両面同士の間に作用する摩擦力)が低下するのを防止する。又、上述した様に、上記オイルシール30の摺接部に作用する摩擦力は、上記摩擦材28の側面と相手面との間に作用する摩擦力に比べて遥かに小さい。この為、上記オイルシール30の摺接部に作用する摩擦力によって、上記ボールねじ軸6の回転抵抗が必要以上に大きくなると言った不都合が生じる事はない。何れにしても、上記ボールねじ軸6が上記逆方向に回転する事に基づき、上記ボールナット14及び上記出力部材15を上記アキシアル荷重Fと同方向に変位させる事ができる。
上述の様に、本実施例の場合には、上記電動モータ1の出力軸12の回転を停止させた状態でも、上記出力部材15を上記アキシアル荷重Fに抗して静止させる事ができる。しかも、この際、上記電動モータ1に、ブレーキトルクを発生させる為の電流を流し続ける必要はない。この為、この電動モータ1として特別に容量が大きいものを使用する必要がなくなる。従って、装置全体を小型且つ軽量に、しかも低コストで造れる。これと共に、運転時の消費電力を少なくして、運転コストを十分に抑える事ができる。
特に、本実施例の場合には、上記摩擦材28の両側面と相手面との摩擦係合部に潤滑剤を介在させている。この為、上記摩擦材28の両側面と相手面との間の摩擦係数を安定させる事ができると共に、この摩擦材28の摩耗量を抑える事ができる。
又、本実施例の場合には、上記各摩擦係合部の径方向両側にそれぞれ、上記潤滑剤を保持する為の保持空間29a、29bを設けている。この為、上記各摩擦係合部から上記潤滑剤が漏洩した場合でも、この漏洩した潤滑剤を上記各保持空間29a、29b内に保持する事ができる。そして、これら各保持空間29a、29b内に保持した潤滑剤(及び予めこれら各保持空間29a、29b内に封入しておいた潤滑剤)を、重力等の作用により、再び(若しくは新たに)上記各摩擦係合部に進入させる事ができる。又、上記各保持空間29a、29bの外部に存在する空間から上記各摩擦係合部に異物(塵芥や他の部分で使用されている異種の潤滑剤等)が進入する事を有効に防止できる。従って、上述した摩擦材28の両側面と相手面との間の摩擦係数を安定させる効果並びにこの摩擦材28の摩耗量を抑える効果を、少ない量の潤滑剤を使用して長期に亙り良好に維持できる。この結果、本実施例の場合には、上記摩擦材28を設けた部分の保守を行なう必要がなくなり、メンテナンスフリーの構造を実現できる。
又、本実施例の場合には、上記各摩擦係合部の径方向両側にそれぞれ、上記潤滑剤を保持する為の保持空間29a、29bを設けている。この為、上記各摩擦係合部から上記潤滑剤が漏洩した場合でも、この漏洩した潤滑剤を上記各保持空間29a、29b内に保持する事ができる。そして、これら各保持空間29a、29b内に保持した潤滑剤(及び予めこれら各保持空間29a、29b内に封入しておいた潤滑剤)を、重力等の作用により、再び(若しくは新たに)上記各摩擦係合部に進入させる事ができる。又、上記各保持空間29a、29bの外部に存在する空間から上記各摩擦係合部に異物(塵芥や他の部分で使用されている異種の潤滑剤等)が進入する事を有効に防止できる。従って、上述した摩擦材28の両側面と相手面との間の摩擦係数を安定させる効果並びにこの摩擦材28の摩耗量を抑える効果を、少ない量の潤滑剤を使用して長期に亙り良好に維持できる。この結果、本実施例の場合には、上記摩擦材28を設けた部分の保守を行なう必要がなくなり、メンテナンスフリーの構造を実現できる。
尚、本実施例を実施する場合、径方向両側の保持空間29a、29bの容積は、同一である必要はない。又、これら両保持空間29a、29bに予め封入しておく潤滑剤の量も、同一である必要はない。但し、この潤滑剤は、運転中の遠心力により径方向外方に移動し易い為、径方向内側の保持空間29aに潤滑剤を多く封入しておけば、径方向内側部分で潤滑剤切れを起こしにくくできる。
又、本実施例の場合には、前記ボールねじ軸6と前記間座16とを互いに別体の構造としたが、この間座16は、上記ボールねじ軸6の中間部に一体的に形成する事もできる。但し、本実施例の様にボールねじ軸6と間座16とを互いに別体の構造とすれば、このボールねじ軸6の形状を簡略にでき、このボールねじ軸6の製造コストを抑える事ができる。
次に、図3は、請求項1、2、3、5に対応する、本発明の実施例2を示している。本実施例の場合、径方向外側の保持空間29bの一端(図3の右端)開口を、円輪状の側板36により塞いでいる。即ち、ハウジング本体3の内周面に設けた段差面37とこの内周面に止着した止め輪38との間で上記側板36の径方向外端部を挟持する事により、この側板36を上記ハウジング本体3の内周面に支持している。又、この状態で、上記側板36の内周縁部を、鍔部25の外周面に全周に亙って近接対向させる事により、この近接対向させた部分をラビリンスシール部としている。そして、これら側板36とラビリンスシール部とにより、上記保持空間29bの一端開口を塞いでいる。又、本実施例の場合には、環状部材21の大径側半部26と摩擦材28aとの間にピン44を掛け渡す事により、これら環状部材21と摩擦材28aとを相対変位不能に結合している。従って、本実施例の場合には、この摩擦材28aの片側面(図3の右側面)のみを、相手面である上記鍔部25の側面に摩擦係合させている。その他の部分の構成及び作用は、上述の図1〜2に示した実施例1の場合と同様である。
次に、図4は、請求項1、2、3、6に対応する、本発明の実施例3を示している。本実施例の場合、径方向外側の保持空間29bの一端(図4の右端)開口を、間座16に設けた鍔部25aの端部外周面に形成した、円輪状の側板部39により塞いでいる。即ち、この側板部39の外周縁部を、ハウジング本体3の内周面に全周に亙って近接対向させる事により、この近接対向させた部分をラビリンスシール部としている。そして、これら側板部39とラビリンスシール部とにより、上記径方向外側の保持空間29bの一端開口を塞いでいる。又、本実施例の場合には、摩擦材28bの外周縁部に軸方向(図4の左側)に突出する円筒部50を設けている。そして、この円筒部50を環状部材21の大径側半部26の端部に締り嵌めで外嵌する事により、この環状部材21と上記摩擦材28bとを相対変位不能に結合している。従って、本実施例の場合も、上記摩擦材28bの片側面(図4の右側面)のみを、相手面である上記鍔部25aの側面に摩擦係合させている。その他の部分の構成及び作用は、前述の図1〜2に示した実施例1の場合と同様である。
次に、図5〜6は、請求項1〜4に対応する、本発明の実施例4を示している。本実施例の場合には、環状部材21aを単なる円筒状に構成すると共に、間座16aを断面矩形の円環状に構成する事により、これら環状部材21a及び間座16aの径寸法を小さくしている。そして、これに伴い、これら環状部材21a及び間座16aの周囲に存在するハウジング2aの径寸法を小さくする事により、装置全体の径方向に関する小型化を図っている。
又、本実施例の場合には、摩擦材28の両側面と相手面との摩擦係合部の径方向外側にのみ、保持空間29bを設けている。前述した様に、上記各摩擦係合部に介在する潤滑剤は、運転中の遠心力により径方向外方に移動し易い。この為、本実施例の様に径方向外側にのみ保持空間29bを設けた場合でも、上述の様に径方向外方に移動した潤滑剤をこの保持空間29bにより保持する事ができる。そして、この保持空間29bに保持した潤滑剤を、電動モータ1の停止時等に、重力等の作用により、再び上記各摩擦係合部に進入させる事ができる。その他の部分の構成及び作用は、前述の図1〜2に示した実施例1の場合とほぼ同様である。
次に、図7は、請求項1〜3に対応する、本発明の実施例5を示している。上述した各実施例では、ボールねじ軸6を回転させると共に、ボールナット14を軸方向変位させる構成を採用した。これに対し、本実施例では、ボールナット14aを回転させると共に、ボールねじ軸6aを軸方向変位させる構成を採用している。この為に、本実施例の場合には、電動モータ1の出力軸12aの先端側部分を筒状に構成すると共に、この先端側部分の中間部をハウジング2bに対し、ラジアル荷重とアキシアル荷重とを支承可能な玉軸受7dにより回転自在に支持している。そして、上記出力軸12aの先端部と上記ボールナット14aの基端部(図7の左端部)とを、回転力の伝達自在に且つ軸方向に関する若干の相対変位自在に結合している。この為に、本実施例の場合、上記出力軸12aの先端部内周面と上記ボールナット14aの基端部外周面とを、セレーション係合させている。尚、このセレーション係合に代えてキー係合を採用した場合でも、上述の様な結合状態を実現できる。
又、上記ボールねじ軸6の先端部(図7の右端部)に結合した(或は一体的に固設した)図示しない出力部材を、上記ハウジング2b等の固定の部分に対し、軸方向の変位のみ自在に支持している。これにより、上記ボールねじ軸6aを、上記ボールナット14aの回転に伴い、軸方向にのみ変位自在としている。尚、本実施例の場合も、使用時には、上記出力部材の先端部にアキシアル荷重Fが直接作用する。
又、本実施例の場合、上記ボールナット14aの周囲には、このボールナット14aと同心に、断面大略T字形の環状部材21bを配置している。この環状部材21bは、上記ハウジング2bの内周面に、玉軸受7eを介して回転のみ自在に支持している。この玉軸受7eは、ラジアル荷重を支承すると共に、(上記アキシアル荷重Fと同方向の)アキシアル荷重も支承する。この為、この玉軸受7eを構成する外輪8eの片側面(図7の左側面)を、上記ハウジング2bの内周面に設けた段差面40に突き当てると共に、内輪9eの片側面(図7の右側面)を、上記環状部材21bの一端部(図7の右端部)外周面に設けた鍔部41に突き当てている。又、上記ハウジング2bの内周面と、上記環状部材21bの他半部(図7の左半部)外周面との間に、ローラクラッチ24を設けている。このローラクラッチ24は、上記環状部材21bが上記ハウジング2bに対し、上記電動モータ1の出力軸12aが逆方向に回転する際の上記ボールナット14aの回転方向と同方向に回転する傾向となる場合にのみロックして、上記環状部材21bが上記ハウジング2bに対して回転する事を阻止する。
又、上記ボールナット14aの先端部外周面に設けた円輪状の外向鍔部42と、上記環状部材21bの内周面に設けた円輪状の内向鍔部43との間に、円輪状の摩擦材28を挟持している。本実施例の場合には、この摩擦材28と上記内向鍔部43との間にピン44を掛け渡す事により、これら摩擦材28と内向鍔部43とを相対回転不能に結合している。従って、本実施例の場合には、この摩擦材28の片側面(図7の右側面)のみを、相手面である上記外向鍔部42の側面に摩擦係合させている。尚、使用状態では、上記アキシアル荷重Fに基づいて、上記摩擦材28の片側面と上記相手面との間に所定の大きさの当接圧が付与される。この為、これら摩擦材28の片側面と相手面との間に作用する摩擦力は、ほぼ一定に保たれる。又、上記摩擦材28の片側面と上記相手面との摩擦係合部に、グリース等の潤滑剤を介在させている。これと共に、この摩擦係合部の径方向両側にそれぞれ、上記潤滑剤を保持する為の保持空間29a、29bを設けている。
本実施例の場合、上記1対の保持空間29a、29bのうち、径方向内側の保持空間29aを造る為、上記内向鍔部43の内周面と上記ボールナット14の中間部外周面との間に、シールリング45aを組み付けている。このシールリング45aは、断面L字形で全体を円環状に構成した芯金46aと弾性材47aとを組み合わせる事により、全体を円輪状に構成している。そして、このシールリング45aの外周縁部を、上記内向鍔部43の内周面に全周に亙り形成した係止溝48に係止すると共に、このシールリング45aの内周縁部分を構成する上記弾性材47aの先端縁を、上記ボールナット14aの中間部外周面に全周に亙り摺接させている。これにより、上記摩擦材28を設けた部分の径方向内方に存在する空間を密封し、この密封した空間を上記径方向内側の保持空間29aとしている。
又、上記1対の保持空間29a、29bのうち、径方向外側の保持空間29bを造る為、上記環状部材21bの一端部内周面と上記外向鍔部42の外周面との間に、上記シールリング45aと同様の構造を有するシールリング45bを組み付けている。即ち、このシールリング45bの外周縁部を、上記環状部材21bの一端部内周面に全周に亙り形成した係止溝49に係止すると共に、このシールリング45bの内周縁部分を構成する弾性材47bの先端縁を、上記外向鍔部42の外周面に全周に亙り摺接させている。これにより、上記摩擦材28を設けた部分の径方向外端部の側方に存在する空間を密封し、この密封した空間を上記径方向外側の保持空間29bとしている。
上述の様に構成する本実施例の電動式リニアアクチュエータの場合には、電動モータ1の出力軸12aに結合したボールナット14aを回転させる事に基づき、ボールねじ軸6aの先端部に設けた図示しない出力部材を軸方向に変位させる。又、上記電動モータ1の出力軸12aの停止時には、ローラクラッチ24と環状部材21bと摩擦材28と上記ボールナット14aとの間でブレーキ作用を生じさせる事により、上記出力部材が軸方向に変位する事を防止する。又、上記摩擦材28の側面と相手面との間で滑りが生じる事に伴い、これら両面が摩り減った場合には、これを補償する分だけ上記ボールナット14aが上記アキシアル荷重Fの方向に変位して、上記摩擦材28の側面と相手面との当接圧(これら両面同士の間に作用する摩擦力)が低下するのを防止する。更には、上記摩擦材28の径方向両側に設けた保持空間29a、29bにより、この摩擦材28を設けた部分で使用する潤滑剤を保持する。
尚、本実施例の場合も、上記電動モータ1の動力により上記出力部材を、前記アキシアル荷重Fと反対方向に変位させる場合には、上記ボールナット14aと上記環状部材21bとが相対回転しない為、上記各シールリング45a、45bと相手面との摺接部で滑りが生じる事はない。従って、これら各摺接部に作用する摩擦力が、上述の様に出力部材をアキシアル荷重Fと反対方向に変位させる事に対する抵抗となる事はない。又、上記電動モータ1により上記出力部材を、上記アキシアル荷重Fと同方向に変位させる場合には、上記ボールナット14aと上記環状部材21bとが相対回転する為、上記各シールリング45a、45bと相手面との摺接部で滑りが生じる。但し、これら各摺接部に作用する摩擦力は、上記摩擦材28の側面と相手面との間に作用する摩擦力に比べて無視できる程度に小さい。従って、上記各シールリングと相手面との摺接部に作用する摩擦力が、上述の様に出力部材をアキシアル荷重Fと同方向に変位させる事に対する、大きな抵抗となる事はない。その他の部分の構成及び作用は、前述の図1〜2に示した実施例1の場合とほぼ同様である。
尚、上述した各実施例では、電動モータの出力軸を、ボールねじ軸とボールナットとのうちの一方の部材に直接接続する構造を示した。但し、本発明を実施する場合には、上記出力軸を上記一方の部材に、減速機構を介して接続する事もできる。
1 電動モータ
2、2a、2b ハウジング
3 ハウジング本体
4 蓋体
5 ボールねじ
6、6a ボールねじ軸
7a、7c、7d、7e 玉軸受
8c、8e 外輪
9c、9e 内輪
12、12a 出力軸
13 螺旋溝
14、14a ボールナット
15 出力部材
16、16a 間座
17 キー
18 キー溝
19 段差面
20 円筒部
21、21a 環状部材
22 段差面
23 段差面
24 ローラクラッチ
25、25a 鍔部
26 大径側半部
27 小径側半部
28、28a、28b 摩擦材
29a、29b 保持空間
30 オイルシール
31 保持部材
32 段差面
33 止め輪
34 側板部
35 シールリング
36 側板
37 段差面
38 止め輪
39 側板部
40 段差面
41 鍔部
42 外向鍔部
43 内向鍔部
44 ピン
45a、45b シールリング
46a、46b 芯金
47a、47b 弾性材
48 係止溝
49 係止溝
50 円筒部
2、2a、2b ハウジング
3 ハウジング本体
4 蓋体
5 ボールねじ
6、6a ボールねじ軸
7a、7c、7d、7e 玉軸受
8c、8e 外輪
9c、9e 内輪
12、12a 出力軸
13 螺旋溝
14、14a ボールナット
15 出力部材
16、16a 間座
17 キー
18 キー溝
19 段差面
20 円筒部
21、21a 環状部材
22 段差面
23 段差面
24 ローラクラッチ
25、25a 鍔部
26 大径側半部
27 小径側半部
28、28a、28b 摩擦材
29a、29b 保持空間
30 オイルシール
31 保持部材
32 段差面
33 止め輪
34 側板部
35 シールリング
36 側板
37 段差面
38 止め輪
39 側板部
40 段差面
41 鍔部
42 外向鍔部
43 内向鍔部
44 ピン
45a、45b シールリング
46a、46b 芯金
47a、47b 弾性材
48 係止溝
49 係止溝
50 円筒部
Claims (6)
- ハウジングと、このハウジングに支持された正方向及び逆方向に回転自在な電動モータと、その構成部材であるボールねじ軸とボールナットとのうちの一方の部材を上記電動モータにより回転駆動自在とし且つ他方の部材を軸方向の変位のみ自在としたボールねじと、基端部をこの他方の部材に固定されて、使用時にアキシアル荷重を受ける出力部材と、上記一方の部材と同心に設けられて、上記ハウジングに対し回転のみ自在に支持された環状部材と、この環状部材の外周面と上記ハウジングの内周面との間に設けられて、上記アキシアル荷重に基づいて上記環状部材が回転しようとする際にロックする一方向クラッチと、環状の摩擦材とを備え、上記一方の部材を上記環状部材に対し、この摩擦材を介して摩擦係合させている電動式リニアアクチュエータに於いて、上記摩擦材の側面と相手面との摩擦係合部に潤滑剤を介在させると共に、この摩擦係合部に隣接して存在する空間と当該空間の更に外側に存在する空間との間にシール構造を設ける事により、当該空間を上記潤滑剤を保持する為の保持空間とした事を特徴とする電動式リニアアクチュエータ。
- 摩擦材と一方の部材との間に、この一方の部材に対して回転不能に支持されると共にこの一方の部材に加わるアキシアル荷重を受ける間座を設けている、請求項1に記載した電動式リニアアクチュエータ。
- シール構造を設けるべき部分の径方向両側に存在して互いに相対回転する1対の部材のうちの片側の部材にシールリングの基端部を全周に亙り係止すると共に、同じく他側に存在する部材の表面に上記シールリングの先端縁を全周に亙り摺接させる事により、上記シール構造を構成した、請求項1〜2の何れかに記載した電動式リニアアクチュエータ。
- シール構造を設けるべき部分の径方向両側に存在して互いに相対回転する1対の部材のうちの片側の部材に円輪状の側板部を有する環状の保持部材を嵌合支持すると共に、同じく他側の部材の表面に上記側板部の先端縁を全周に亙り近接対向させる事により、上記シール構造を構成した、請求項1〜2の何れかに記載した電動式リニアアクチュエータ。
- シール構造を設けるべき部分の径方向両側に存在して互いに相対回転する1対の部材のうちの片側の部材に円輪状の側板の基端部を全周に亙り係止すると共に、同じく他側の部材の表面に上記側板の先端縁を全周に亙り近接対向させる事により、上記シール構造を構成した、請求項1〜2の何れかに記載した電動式リニアアクチュエータ。
- シール構造を設けるべき部分の径方向両側に存在して互いに相対回転する1対の部材のうちの片側の部材に円輪状の側板部を一体的に形成すると共に、同じく他側の部材の表面に上記側板部の先端縁を全周に亙り近接対向させる事により、上記シール構造を構成した、請求項1〜2の何れかに記載した電動式リニアアクチュエータ。
Priority Applications (1)
| Application Number | Priority Date | Filing Date | Title |
|---|---|---|---|
| JP2004111731A JP2005291480A (ja) | 2004-04-06 | 2004-04-06 | 電動式リニアアクチュエータ |
Applications Claiming Priority (1)
| Application Number | Priority Date | Filing Date | Title |
|---|---|---|---|
| JP2004111731A JP2005291480A (ja) | 2004-04-06 | 2004-04-06 | 電動式リニアアクチュエータ |
Publications (1)
| Publication Number | Publication Date |
|---|---|
| JP2005291480A true JP2005291480A (ja) | 2005-10-20 |
Family
ID=35324622
Family Applications (1)
| Application Number | Title | Priority Date | Filing Date |
|---|---|---|---|
| JP2004111731A Withdrawn JP2005291480A (ja) | 2004-04-06 | 2004-04-06 | 電動式リニアアクチュエータ |
Country Status (1)
| Country | Link |
|---|---|
| JP (1) | JP2005291480A (ja) |
Cited By (5)
| Publication number | Priority date | Publication date | Assignee | Title |
|---|---|---|---|---|
| JP2009173192A (ja) * | 2008-01-25 | 2009-08-06 | Honda Motor Co Ltd | 後輪操舵装置 |
| DE112008003490T5 (de) | 2007-12-27 | 2010-10-14 | Ntn Corp. | Elektrisch angetriebener Linearstellantrieb |
| WO2013122158A1 (ja) * | 2012-02-17 | 2013-08-22 | Ntn株式会社 | 電動リニアアクチュエータ |
| WO2016132833A1 (ja) * | 2015-02-16 | 2016-08-25 | Ntn株式会社 | 電動アクチュエータ及びそれを使用したvベルト式無段変速機 |
| CN108063519A (zh) * | 2017-12-28 | 2018-05-22 | 广东东辉恒力电机有限公司 | 无槽电机及驱动装置 |
-
2004
- 2004-04-06 JP JP2004111731A patent/JP2005291480A/ja not_active Withdrawn
Cited By (10)
| Publication number | Priority date | Publication date | Assignee | Title |
|---|---|---|---|---|
| DE112008003490T5 (de) | 2007-12-27 | 2010-10-14 | Ntn Corp. | Elektrisch angetriebener Linearstellantrieb |
| US8485054B2 (en) | 2007-12-27 | 2013-07-16 | Ntn Corporation | Electrically driven linear actuator |
| JP2009173192A (ja) * | 2008-01-25 | 2009-08-06 | Honda Motor Co Ltd | 後輪操舵装置 |
| WO2013122158A1 (ja) * | 2012-02-17 | 2013-08-22 | Ntn株式会社 | 電動リニアアクチュエータ |
| JP2013167334A (ja) * | 2012-02-17 | 2013-08-29 | Ntn Corp | 電動リニアアクチュエータ |
| CN104160176A (zh) * | 2012-02-17 | 2014-11-19 | Ntn株式会社 | 电动线性致动器 |
| US9574648B2 (en) | 2012-02-17 | 2017-02-21 | Ntn Corporation | Electric linear actuator |
| WO2016132833A1 (ja) * | 2015-02-16 | 2016-08-25 | Ntn株式会社 | 電動アクチュエータ及びそれを使用したvベルト式無段変速機 |
| CN108063519A (zh) * | 2017-12-28 | 2018-05-22 | 广东东辉恒力电机有限公司 | 无槽电机及驱动装置 |
| CN108063519B (zh) * | 2017-12-28 | 2024-04-02 | 山西东辉新能源汽车研究院有限公司 | 无槽电机及驱动装置 |
Similar Documents
| Publication | Publication Date | Title |
|---|---|---|
| JP4182726B2 (ja) | リニアアクチュエータ | |
| JP5829394B2 (ja) | 電動式直動アクチュエータおよび電動式ディスクブレーキ装置 | |
| CN104024695B (zh) | 线性电动致动器 | |
| US20140202821A1 (en) | Modified sprag assemblies for one-and two-way clutch applications | |
| CN103946587A (zh) | 电动线性致动器 | |
| JP2005083474A (ja) | 電動リニアアクチュエータ | |
| JP2014007789A (ja) | 電動リニアアクチュエータ | |
| JPH08322189A (ja) | 電動式リニアアクチュエータ | |
| JP5496836B2 (ja) | 電動式直動アクチュエータおよび電動式ディスクブレーキ装置 | |
| JP3959872B2 (ja) | 電動式リニアアクチュエータ | |
| JP2011047448A (ja) | 電動アクチュエータ | |
| JP2015102185A (ja) | 断続装置及びこの断続装置を用いたデファレンシャル装置 | |
| JP2005291480A (ja) | 電動式リニアアクチュエータ | |
| JP3800719B2 (ja) | 電動式リニアアクチュエータ | |
| JP3807043B2 (ja) | ボールねじ式リニアアクチュエータ | |
| JP7262174B2 (ja) | 回転制動装置 | |
| WO2023276727A1 (ja) | クラッチアクチュエータ | |
| JP2002227947A (ja) | 無段変速機用プーリ幅調整装置 | |
| JP2014214752A (ja) | 電動式ディスクブレーキ装置 | |
| JPH09303514A (ja) | リニアアクチュエータ | |
| JP6247519B2 (ja) | 断続装置 | |
| JPH0942408A (ja) | リニアアクチュエータ | |
| JP2022170458A (ja) | クラッチアクチュエータ | |
| US10837538B2 (en) | Transmission and driving apparatus provided with transmission | |
| JP2007032703A (ja) | 電動リニアアクチュエータ |
Legal Events
| Date | Code | Title | Description |
|---|---|---|---|
| A621 | Written request for application examination |
Free format text: JAPANESE INTERMEDIATE CODE: A621 Effective date: 20070227 |
|
| RD04 | Notification of resignation of power of attorney |
Effective date: 20070227 Free format text: JAPANESE INTERMEDIATE CODE: A7424 |
|
| A761 | Written withdrawal of application |
Effective date: 20090625 Free format text: JAPANESE INTERMEDIATE CODE: A761 |