JP2005291271A - 安全弁装置 - Google Patents

安全弁装置 Download PDF

Info

Publication number
JP2005291271A
JP2005291271A JP2004104186A JP2004104186A JP2005291271A JP 2005291271 A JP2005291271 A JP 2005291271A JP 2004104186 A JP2004104186 A JP 2004104186A JP 2004104186 A JP2004104186 A JP 2004104186A JP 2005291271 A JP2005291271 A JP 2005291271A
Authority
JP
Japan
Prior art keywords
cracking pressure
valve
bellows
valve holder
spring receiver
Prior art date
Legal status (The legal status is an assumption and is not a legal conclusion. Google has not performed a legal analysis and makes no representation as to the accuracy of the status listed.)
Granted
Application number
JP2004104186A
Other languages
English (en)
Other versions
JP4548823B2 (ja
Inventor
Koichi Abe
晃一 阿部
Current Assignee (The listed assignees may be inaccurate. Google has not performed a legal analysis and makes no representation or warranty as to the accuracy of the list.)
Surpass Industry Co Ltd
Original Assignee
Surpass Industry Co Ltd
Priority date (The priority date is an assumption and is not a legal conclusion. Google has not performed a legal analysis and makes no representation as to the accuracy of the date listed.)
Filing date
Publication date
Application filed by Surpass Industry Co Ltd filed Critical Surpass Industry Co Ltd
Priority to JP2004104186A priority Critical patent/JP4548823B2/ja
Priority to DE200560001076 priority patent/DE602005001076T2/de
Priority to EP20050006803 priority patent/EP1582787B1/en
Priority to AT05006803T priority patent/ATE362068T1/de
Priority to KR1020050026710A priority patent/KR101180126B1/ko
Priority to US11/094,243 priority patent/US7284568B2/en
Publication of JP2005291271A publication Critical patent/JP2005291271A/ja
Application granted granted Critical
Publication of JP4548823B2 publication Critical patent/JP4548823B2/ja
Anticipated expiration legal-status Critical
Expired - Fee Related legal-status Critical Current

Links

Images

Classifications

    • FMECHANICAL ENGINEERING; LIGHTING; HEATING; WEAPONS; BLASTING
    • F16ENGINEERING ELEMENTS AND UNITS; GENERAL MEASURES FOR PRODUCING AND MAINTAINING EFFECTIVE FUNCTIONING OF MACHINES OR INSTALLATIONS; THERMAL INSULATION IN GENERAL
    • F16KVALVES; TAPS; COCKS; ACTUATING-FLOATS; DEVICES FOR VENTING OR AERATING
    • F16K17/00Safety valves; Equalising valves, e.g. pressure relief valves
    • F16K17/02Safety valves; Equalising valves, e.g. pressure relief valves opening on surplus pressure on one side; closing on insufficient pressure on one side
    • F16K17/04Safety valves; Equalising valves, e.g. pressure relief valves opening on surplus pressure on one side; closing on insufficient pressure on one side spring-loaded
    • F16K17/06Safety valves; Equalising valves, e.g. pressure relief valves opening on surplus pressure on one side; closing on insufficient pressure on one side spring-loaded with special arrangements for adjusting the opening pressure
    • EFIXED CONSTRUCTIONS
    • E03WATER SUPPLY; SEWERAGE
    • E03CDOMESTIC PLUMBING INSTALLATIONS FOR FRESH WATER OR WASTE WATER; SINKS
    • E03C1/00Domestic plumbing installations for fresh water or waste water; Sinks
    • E03C1/12Plumbing installations for waste water; Basins or fountains connected thereto; Sinks
    • E03C1/122Pipe-line systems for waste water in building
    • YGENERAL TAGGING OF NEW TECHNOLOGICAL DEVELOPMENTS; GENERAL TAGGING OF CROSS-SECTIONAL TECHNOLOGIES SPANNING OVER SEVERAL SECTIONS OF THE IPC; TECHNICAL SUBJECTS COVERED BY FORMER USPC CROSS-REFERENCE ART COLLECTIONS [XRACs] AND DIGESTS
    • Y10TECHNICAL SUBJECTS COVERED BY FORMER USPC
    • Y10TTECHNICAL SUBJECTS COVERED BY FORMER US CLASSIFICATION
    • Y10T137/00Fluid handling
    • Y10T137/7722Line condition change responsive valves
    • Y10T137/7837Direct response valves [i.e., check valve type]
    • Y10T137/7854In couplings for coaxial conduits, e.g., drill pipe check valves
    • Y10T137/7856Valve seat formed on or carried by a coupling element
    • YGENERAL TAGGING OF NEW TECHNOLOGICAL DEVELOPMENTS; GENERAL TAGGING OF CROSS-SECTIONAL TECHNOLOGIES SPANNING OVER SEVERAL SECTIONS OF THE IPC; TECHNICAL SUBJECTS COVERED BY FORMER USPC CROSS-REFERENCE ART COLLECTIONS [XRACs] AND DIGESTS
    • Y10TECHNICAL SUBJECTS COVERED BY FORMER USPC
    • Y10TTECHNICAL SUBJECTS COVERED BY FORMER US CLASSIFICATION
    • Y10T137/00Fluid handling
    • Y10T137/7722Line condition change responsive valves
    • Y10T137/7837Direct response valves [i.e., check valve type]
    • Y10T137/7904Reciprocating valves
    • Y10T137/7922Spring biased
    • Y10T137/7929Spring coaxial with valve

Landscapes

  • Engineering & Computer Science (AREA)
  • General Engineering & Computer Science (AREA)
  • Mechanical Engineering (AREA)
  • Life Sciences & Earth Sciences (AREA)
  • Environmental & Geological Engineering (AREA)
  • Health & Medical Sciences (AREA)
  • Structural Engineering (AREA)
  • Hydrology & Water Resources (AREA)
  • Public Health (AREA)
  • Water Supply & Treatment (AREA)
  • Safety Valves (AREA)
  • Compressor (AREA)
  • Glass Compositions (AREA)
  • Control Of Combustion (AREA)

Abstract

【課題】ラインから外すことなく、また、部分的分解操作も要さずに、インライン接続したままで、外部から容易且つ適切にクラッキング圧を調節することが可能な安全弁装置を提供することを課題とする。
【解決手段】外部から回転操作可能な回転胴1を備え、前記回転胴1にて内蔵のクラッキング圧調節部4〜8を駆動することによってクラッキング圧の調節を行なうようにし、前記回転胴はメネジ部2を備え、そこに前記クラッキング圧調節部に形成したオネジ部を噛合させ、前記回転胴1の回転に伴なって前記オネジ部形成部4を直線的に変位させることによってクラッキング圧の調節を可能にする。
【選択図】図1

Description

本発明は安全弁装置、より詳細には、液体又は気体の流路にインライン接続され、流路に所定圧以上の圧がかかった場合にバルブが開いて液体又は気体の通流を許容する機能と、液体又は気体の逆流を防止する機能とを有していて、上記バルブのクラッキング圧を外部から調節可能にした安全弁装置に関するものである。
一般に安全弁は、ボディ内にバルブと該バルブを付勢するスプリングとを備えて成り、クラッキング圧、即ち、バルブを開閉するための圧力は、そのスプリングの弾発力によって決まる。従って、クラッキング圧を調節するためには、スプリングの弾発力を変えればよいことになる。
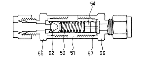
従来クラッキング圧を調節可能にした安全弁装置としては、図6に示すようなものがある。これは、スプリング50の弾発力を変えるためにバルブ52と反対側のスプリング端面を受けるスプリング受け54の位置を変更可能にしたものである。
しかるに、この場合スプリング受け54は、図6から明らかなように、ボディ51内にネジ込まれているため、その位置を変える操作は、安全弁装置をラインから外して行なわなければならず、また、操作後再びインライン接続しなければならない煩わしさがある。
また、継手を有するハウジング55、56が両側からボディ51にネジ付けられるが、このハウジング55、56とボディ51との間に液密又は気密保持のためのシール57を配備する必要がある。このシール57は、摩耗等により経時的に劣化し、そこから液だれやエア漏れが発生するおそれがある。
特開2003−329155号公報 特開2003−322267号公報
上記従来のクラッキング圧の調節が可能な安全弁装置には、上記のような欠点があったので、本発明はそのような欠点のない、即ち、ラインから外すことなく、また、部分的分解操作も要さずに、インライン接続したままで、外部から容易且つ適切にクラッキング圧を調節することが可能な安全弁装置を提供することを課題とする。
本発明はまた、液シールないしエアシールが不要で、液だれないしエア漏れのおそれのない安全弁装置を提供することを課題とする。
本発明は、クラッキング圧の調節が可能な安全弁装置であって、前記クラッキング圧の調節は、何らの分解も伴わずに外部から行なうことを可能にしたことを特徴とする安全弁装置、を以て上記課題を解決した。
好ましくは、外部から回転操作可能な回転胴を備え、前記回転胴にて内蔵のクラッキング圧調節部を駆動することによってクラッキング圧の調節を行なうようにし、前記回転胴はメネジ部を備え、そこに前記クラッキング圧調節部に形成したオネジ部を噛合させ、前記回転胴の回転に伴なって前記オネジ部形成部を直線的に変位させることによってクラッキング圧の調節を可能にする。
好ましくは、前記クラッキング圧調節部は、バルブハウジングに被装されるバルブホルダーと、外周面に前記オネジを有していてベローズを介して前記バルブホルダーに連設される可動スプリング受けと、ライン接続口を有していてベローズを介して前記可動スプリング受けに連設されるベローズボディとから構成し、前記バルブホルダーと前記可動スプリング受けと前記ベローズボディと前記2つのベローズとを一体成形する。
あるいは、前記クラッキング圧調節部は、バルブハウジングに被装されるバルブホルダーと、外周面に前記オネジを有していてベローズを介して前記バルブホルダーに連設されると共に、ライン接続口を有していてベローズを介して前記バルブホルダーに連設される可動スプリング受けとから構成し、前記バルブホルダーと前記ベローズと前記可動スプリング受けとを一体成形する。
更に好ましくは、内周面に前記回転胴の一半部外周面に形成されるオネジに噛合するメネジを有するストッパーリングを設け、前記ストッパーリングの一側面側の円開口の一部に直線部を形成し、前記ストッパーリング内に挿入される前記バルブホルダーの外周面に、前記直線部に対応する平坦部を設け、また、前記平坦面に目盛りを表示する。
本発明に係る安全弁装置は、何らの分解操作も伴わずに、インライン接続したままで、外部から容易に、即ち、単に回転胴を回転させるだけでクラッキング圧の調節作業を行なうことができるので、当該作業を効率よく迅速に行ない得る効果がある。
また、請求項5、7、9及び11に記載の発明においては、各部品が一体成形され且つ部品間がベローズを介して連結されるため、可動部があるにも関わらず、各部品間にシール手段を設ける必要がなく、各部品間からの液体又は気体の漏れを確実に防止することができる効果がある。
請求項12及び13に記載の発明においては、クラッキング圧の加減操作を容易且つ適切になし得る効果がある。
本発明の好ましい実施の形態につき、添付図面を参照しつつ説明する。本発明は、クラッキング圧の調節が可能な安全弁であって、前記クラッキング圧の調節は、何らの分解操作も伴わずに外部から行なうことを可能にしたことを特徴とするものである。
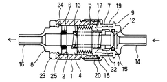
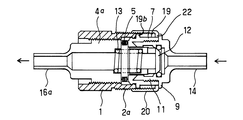
その好ましい実施形態においては、外部から回転操作可能な回転胴を備え、前記回転胴にて内蔵のクラッキング圧調節部を駆動することによってクラッキング圧の調節を行なう。添付図面はその実施形態を示すもので、図中1は回転胴で、その内周面にメネジ2が切られると共に、その一半部の外周面にオネジ2aが切られる。回転胴1の一端側には、逆止弁の機能を兼ねた安全弁3が配備され、回転胴1内には、回転胴1と協働して安全弁3のクラッキング圧を調節するクラッキング圧調節部が組み込まれる。
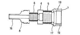
1つの実施形態において、このクラッキング圧調節部は、周面にオネジが切られていて回転胴1のメネジ2に噛合する可動スプリング受け4と、可動スプリング受け4の両面に設置されるベローズ5、6と、一方のベローズ5の外端部に設置されるバルブホルダー7と、他方のべローズ6の外端部に設置されるベローズボディ8とから成る。ベローズボディ8には出口側接続口16が突設される。
本発明の大きな特徴として、これらクラッキング圧調節機構を構成する可動スプリング受け4、ベローズ5、6、バルブホルダー7及びベローズボディ8の5つの部分が、例えばフッ素樹脂にて一体成形される点を挙げることができる。これらの部分を一体成形することにより、各部分間から液体又は気体の漏れが生ずるおそれがなくなり、可動部を含むにも関わらず、各部分間におけるシールのための配慮が不要となるという大きなメリットがある。
安全弁3それ自体の構成は一般的なものであり、バルブホルダー7内にネジ込まれるバルブハウジング11と、バルブハウジング11内に可動状態に保持されるバルブ12と、バルブ12とスプリング受け4との間に配置されるスプリング13とを備えて成る。バルブハウジング11は、バルブホルダー7の端面が当接するフランジ9と、インライン接続するための入口側接続口14を有する。
バルブ12は、常時スプリング13によって押圧され、その頭面が、バルブハウジング11内に嵌着されたOリング15に圧接することによりその部分を閉塞し、安全弁3内への液体又は気体の流入を阻止するように作用する。そして、バルブ12の頭面に、スプリング13による弾発力を上回る圧がかかると、その圧が作用している間、スプリング13による押圧力に抗して移動してその部分を開き、液体又は気体の本装置内への流入を許容するよう作用する。スプリング13による弾発力は、後述するように、回転胴1を操作して可動スプリング受け4を移動させることによって調節することができる。
バルブホルダー7は、そのベローズ5設置側端部が回転胴1内に収まるが、その部分に係止溝17が形成される(図1、図3参照)。回転胴1の端部には、この係止溝17に摺動可能に係合するツメ環18が形成される。
回転胴1は、そのツメ環18が係止溝17に係止されることによってバルブホルダー7から外れず、また、回転胴1は、ツメ環18が係止溝17内に摺動可能に収まっていることにより、バルブホルダー7に対して回動自在となる。
バルブホルダー7の係止溝17より外側は太径化され、その上下面は、一部を残してカットされて平坦面19とされ、その残された部分が規制壁19bとされる。好ましくは平坦面19に、後記ストッパーリング20の移動量を指示するための目盛り19aが表示される。バルブホルダー7を内に収めるストッパーリング20は、内面にメネジを切った円筒体で、一面の円開口21は、バルブホルダー7の平坦面19を設けた部分を進入させるための、平坦面19に対応する直線部22を有する2面取り形状とされる。
ストッパーリング20には、内部にバルブホルダー7を進入させた状態で、円開口21の反対面側から、回転胴1のオネジ2a形成部がネジ込まれる。その際、バルブホルダー7の平坦面19は、円開口21の直線部22に面接触する。
ベローズボディ8にはホールドカラー23がネジ付けられ、ベローズボディ8の端部がこのホールドカラー23によって回転胴1の外端部内に支持される。即ち、回転胴1の外端部の内周面に係止溝24が形成され、回転胴1内に臨むホールドカラー23の端部に、係止溝24内に摺動可能に係合するツメ環25が形成される。
ホールドカラー23は、そのツメ環25が係止溝24に係止されることによって回転胴1から抜けず、また、回転胴1は、ツメ環25が係止溝24内に摺動可能に収まっていることにより、ホールドカラー23に対して回動自在となる。
上記構成において、インライン接続したままの状態において外部から回転胴1を回転させると、回転胴1の係止溝24に摺動可能に係合するツメ環25を備えたホールドカラー23と、回転胴1のツメ環18が摺動可能に係合する係止溝17を備えたバルブホルダー7には、その回転胴1の回転力が伝達されず、所謂空回り状態となる。従って、ホールドカラー23とバルブホルダー7は、回転胴1の回転に伴って回転することはなく、また、ホールドカラー23にネジ込まれているベローズボディ8も回転しない。
回転胴1のメネジ2に内接噛合している可動スプリング受け4は、それとベローズ5、6を介して一体となっているバルブホルダー7及びベローズボディ8が回転しないため、やはり回転胴1の回転に追随して回転することはないが、上記噛合関係にあるため、スプリング13の軸線方向に変位させられることになる。この可動スプリング受け4の変位により、クラッキング圧の調節が可能となる。
また、同様に、回転胴1のオネジ2aに外接噛合するストッパーリング20は、その直線部22がバルブホルダー7の平坦面19に面接触しているため、回転胴1の回転に追随して回転することはないが、上記噛合関係にあるために、やはりスプリング13の軸線方向に変位する。
ストッパーリング20が変位してその直線部22が平坦面19の端部の規制壁19bに当たると、それ以上回転胴1を右回転(時計回り)させることができなくなる。これにより、可動スプリング受け4の一方向への移動が規制を受ける(図2の状態)。
また、回転胴1の逆回転に伴ない、ストッパーリング20が逆方向に変位して直線部22がバルブハウジング11のフランジ9に当たると、それ以上回転胴1を左回転(反時計回り)させることができなくなる。これにより、可動スプリング受け4の他方向への移動が規制を受ける(図1の状態)。ストッパーリング20は、このようなストッパー機能を果たす。
このストッパーリング20の変位量は、可動スプリング受け4の変位量に対応させることができる。従って、ストッパーリング20の変位に対応して露出したり隠れたりすることになる平坦面19に目盛り19aを表示しておけば、外からは見えない可動スプリング受け4の位置を知ることができる。換言すれば、これにより、クラッキング圧の加減操作を容易且つ適切に行なうことが可能となる。
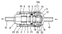
図4に示す実施形態は、クラッキング圧調節部の構成が上記実施形態の場合と異なる。この場合のクラッキング圧調節部においては上記ベローズ6がなく、上記ベローズボディ8が可動スプリング受け4に一体に成形される。従って、この実施形態の場合は、可動スプリング受け4aに出口側接続口16aが設けられることになり、可動スプリング受け4aの動きに伴って出口側接続口16aも変位することになる。
この実施形態の場合も、可動スプリング受け4とベローズ5とバルブホルダー7とが一体成形されることにより、各部分の間からの液体又は気体の漏れが防止される等、出口側接続口16aが変位すること以外、基本的には上記実施形態の場合と同様の作用効果を奏する。
この発明をある程度詳細にその最も好ましい実施態様について説明してきたが、この発明の精神と範囲に反することなしに広範に異なる実施態様を構成することができることは明白なので、この発明は添付請求の範囲において限定した以外はその特定の実施態様に制約されるものではない。
本発明の一実施形態の縦断面図である(可動スプリング受けの右方向変位端)。 本発明の一実施形態の縦断面図である(可動スプリング受けの左方向変位端)。 本発明の一実施形態の分解斜視図である。 本発明の一実施形態におけるクラッキング圧調節部の形状例を示す図である。 本発明の他の実施形態におけるクラッキング圧調節部の形状例を示す図である。 従来のクラッキング圧調節機能を有する安全弁の構成例を示す図である。
符号の説明
1 回転胴
2 メネジ
2a オネジ
3 安全弁
4 可動スプリング受け
5 ベローズ
6 ベローズ
7 バルブホルダー
8 ベローズボディ
9 フランジ
11 バルブハウジング
12 バルブ
13 スプリング
14 入口側接続口
15 Oリング
16 出口側接続口
17 係止溝
18 ツメ環
19 平坦面
19a 目盛り
19b 規制壁
20 リング
21 開口
22 直線部
23 ホールドカラー
24 係止溝
25 ツメ環

Claims (13)

  1. クラッキング圧の調節が可能な安全弁装置であって、前記クラッキング圧の調節は、何らの分解操作も伴わずに外部から行なうことを可能にしたことを特徴とする安全弁装置。
  2. 外部から回転操作可能な回転胴を備え、前記回転胴にて内蔵のクラッキング圧調節部を駆動することによってクラッキング圧の調節を行なう請求項1に記載の安全弁装置。
  3. 前記回転胴はメネジ部を備え、そこに前記クラッキング圧調節部に形成したオネジ部を噛合させ、前記回転胴の回転に伴なって前記オネジ部形成部を直線的に変位させることによってクラッキング圧の調節を可能にした請求項2に記載の安全弁装置。
  4. 前記クラッキング圧調節部は、バルブハウジングに被装されるバルブホルダーと、外周面に前記オネジを有していてベローズを介して前記バルブホルダーに連設される可動スプリング受けと、ライン接続口を有していてベローズを介して前記可動スプリング受けに連設されるベローズボディから成る請求項1乃至3のいずれかに記載の安全弁装置。
  5. 前記バルブホルダーと前記可動スプリング受けと前記ベローズボディと前記2つのベローズとが一体成形されている請求項4に記載の安全弁装置。
  6. 前記クラッキング圧調節部は、バルブハウジングに被装されるバルブホルダーと、外周面に前記オネジを有していてベローズを介して前記バルブホルダーに連設されると共に、ライン接続口を有していてベローズを介して前記バルブホルダーに連設される可動スプリング受けとから成る請求項1乃至3のいずれかに記載の安全弁装置。
  7. 前記バルブホルダーと前記ベローズと前記可動スプリング受けとが一体成形されている請求項6に記載の安全弁装置。
  8. 内周面にメネジを切った回転胴と、中間部が前記回転胴内に収まるクラッキング圧調節部と、前記クラッキング圧調節部の端部に形成されるバルブホルダーと、前記バルブホルダー内に収まるバルブハウジングと、前記バルブハウジング内に設置されるバルブと、前記バルブホルダーに被せられるリングとを備え、前記クラッキング圧調節部は、前記バルブホルダーと、外周面に前記回転胴のメネジに噛合するオネジを有していて前記バルブホルダーにべローズを介して連設される可動スプリング受けと、ライン接続口を有していて前記可動スプリング受けにベローズを介して連設されるベローズボディとから成ることを特徴とする安全弁装置。
  9. 前記バルブホルダーと前記可動スプリング受けと前記ベローズボディと前記2つのベローズとが一体成形されている請求項8に記載の安全弁装置。
  10. 内周面にメネジを切った回転胴と、中間部が前記回転胴内に収まるクラッキング圧調節部と、前記クラッキング圧調節部の端部に形成されるバルブホルダーと、前記バルブホルダー内に収まるバルブハウジングと、前記バルブハウジング内に設置されるバルブと、前記バルブホルダーに被せられるリングとを備え、前記クラッキング圧調節部は、前記バルブホルダーと、外周面に前記回転胴のメネジに噛合するオネジを有すると共にライン接続口を有していて、前記バルブホルダーにべローズを介して連設される可動スプリング受けとから成ることを特徴とする安全弁装置。
  11. 前記バルブホルダーと前記可動スプリング受けと前記ベローズとが一体成形されている請求項10に記載の安全弁装置。
  12. 内周面に前記回転胴の一半部外周面に形成されるオネジに噛合するメネジを有するストッパーリングを設け、前記ストッパーリングの一側面側の円開口の一部に直線部を形成し、前記ストッパーリング内に挿入される前記バルブホルダーの外周面に、前記直線部に対応する平坦部を設けた請求項8又は10に記載の安全弁装置。
  13. 前記平坦面に目盛りを表示した請求項12に記載の安全弁装置。
JP2004104186A 2004-03-31 2004-03-31 安全弁装置 Expired - Fee Related JP4548823B2 (ja)

Priority Applications (6)

Application Number Priority Date Filing Date Title
JP2004104186A JP4548823B2 (ja) 2004-03-31 2004-03-31 安全弁装置
DE200560001076 DE602005001076T2 (de) 2004-03-31 2005-03-29 Sicherheitsventil
EP20050006803 EP1582787B1 (en) 2004-03-31 2005-03-29 Safety valve unit
AT05006803T ATE362068T1 (de) 2004-03-31 2005-03-29 Sicherheitsventil
KR1020050026710A KR101180126B1 (ko) 2004-03-31 2005-03-30 안전밸브장치
US11/094,243 US7284568B2 (en) 2004-03-31 2005-03-31 Safety valve unit

Applications Claiming Priority (1)

Application Number Priority Date Filing Date Title
JP2004104186A JP4548823B2 (ja) 2004-03-31 2004-03-31 安全弁装置

Publications (2)

Publication Number Publication Date
JP2005291271A true JP2005291271A (ja) 2005-10-20
JP4548823B2 JP4548823B2 (ja) 2010-09-22

Family

ID=34880049

Family Applications (1)

Application Number Title Priority Date Filing Date
JP2004104186A Expired - Fee Related JP4548823B2 (ja) 2004-03-31 2004-03-31 安全弁装置

Country Status (6)

Country Link
US (1) US7284568B2 (ja)
EP (1) EP1582787B1 (ja)
JP (1) JP4548823B2 (ja)
KR (1) KR101180126B1 (ja)
AT (1) ATE362068T1 (ja)
DE (1) DE602005001076T2 (ja)

Cited By (1)

* Cited by examiner, † Cited by third party
Publication number Priority date Publication date Assignee Title
JP2016516550A (ja) * 2013-05-01 2016-06-09 バイエル メディカル ケア インコーポレーテッド 流体経路セットボーラス制御装置

Families Citing this family (8)

* Cited by examiner, † Cited by third party
Publication number Priority date Publication date Assignee Title
GB2452867B (en) * 2008-10-17 2009-08-05 Cambridge Reactor Design Ltd A valve assembly
SG11201408399YA (en) 2012-06-28 2015-01-29 Saint Gobain Performance Plast Polymer bellows spring
GB2585035B (en) * 2019-06-25 2023-04-26 Intersurgical Ag An adjustable valve
WO2021035625A1 (en) 2019-08-29 2021-03-04 Engineered Controls International, Llc Pressure-relief valve
CN110469700B (zh) * 2019-09-05 2020-12-04 台州市路桥鸿辉水暖厂 一种小型自动启闭式泄压阀门
FR3106508B1 (fr) * 2020-01-28 2022-01-21 Valeo Systemes Dessuyage Systeme de projection de liquide
US11879558B2 (en) * 2021-02-05 2024-01-23 The Boeing Company Hydraulic pressure relief valve with integrated calibration mechanism
KR102556147B1 (ko) * 2022-10-31 2023-07-19 (주) 케이투앤 안전 밸브

Citations (7)

* Cited by examiner, † Cited by third party
Publication number Priority date Publication date Assignee Title
JPS61262274A (ja) * 1985-05-11 1986-11-20 Kioritz Corp 往復動ポンプの調圧弁装置
JPS62242771A (ja) * 1986-02-27 1987-10-23 ヘリツクス・テクノロジ−・コ−ポレ−シヨン 外部から調整可能なインライン圧力逃し弁およびこれを含む低温冷凍機
JPH02135774U (ja) * 1989-04-14 1990-11-13
JPH10122400A (ja) * 1996-10-14 1998-05-15 Shimadzu Corp 圧力制御弁
JPH11305844A (ja) * 1998-04-24 1999-11-05 Max Co Ltd 空気圧レギュレータ
JP2001065723A (ja) * 1999-08-30 2001-03-16 Maruyama Mfg Co Ltd 調圧弁
JP2005316988A (ja) * 2004-03-31 2005-11-10 Daisen Kk 圧力制御弁及び複数の出力口を備えた圧力制御弁ユニット

Family Cites Families (11)

* Cited by examiner, † Cited by third party
Publication number Priority date Publication date Assignee Title
US1322638A (en) * 1919-11-25 Safety-valve
US347213A (en) * 1886-08-10 Safety-valve
US98697A (en) * 1870-01-11 Improvement in safety-valves
US2720890A (en) * 1949-06-07 1955-10-18 Francis H Stroud Control of vacuum in internal combustion engine
US2770255A (en) * 1952-08-16 1956-11-13 Daniel And Florence Guggenheim Dual-range safety valve
US2884952A (en) * 1953-03-23 1959-05-05 Avco Inc Line hydraulic pressure relief valve
US3255774A (en) * 1962-12-20 1966-06-14 Nuclear Products Company Adjustable inline relief valve
US3422840A (en) * 1966-01-17 1969-01-21 Grove Valve & Regulator Co Relief valve with resilient seal means
US4428396A (en) * 1978-07-19 1984-01-31 City Tank Corporation Adjustable valve assembly
US4545405A (en) * 1983-11-09 1985-10-08 Thomas Industries, Inc. Multi-position relief valve
DE19815248A1 (de) * 1998-02-09 1999-09-09 Industriearmaturen Polte Gmbh Überdrucksicherung

Patent Citations (7)

* Cited by examiner, † Cited by third party
Publication number Priority date Publication date Assignee Title
JPS61262274A (ja) * 1985-05-11 1986-11-20 Kioritz Corp 往復動ポンプの調圧弁装置
JPS62242771A (ja) * 1986-02-27 1987-10-23 ヘリツクス・テクノロジ−・コ−ポレ−シヨン 外部から調整可能なインライン圧力逃し弁およびこれを含む低温冷凍機
JPH02135774U (ja) * 1989-04-14 1990-11-13
JPH10122400A (ja) * 1996-10-14 1998-05-15 Shimadzu Corp 圧力制御弁
JPH11305844A (ja) * 1998-04-24 1999-11-05 Max Co Ltd 空気圧レギュレータ
JP2001065723A (ja) * 1999-08-30 2001-03-16 Maruyama Mfg Co Ltd 調圧弁
JP2005316988A (ja) * 2004-03-31 2005-11-10 Daisen Kk 圧力制御弁及び複数の出力口を備えた圧力制御弁ユニット

Cited By (1)

* Cited by examiner, † Cited by third party
Publication number Priority date Publication date Assignee Title
JP2016516550A (ja) * 2013-05-01 2016-06-09 バイエル メディカル ケア インコーポレーテッド 流体経路セットボーラス制御装置

Also Published As

Publication number Publication date
DE602005001076T2 (de) 2008-01-10
US20050217731A1 (en) 2005-10-06
KR20060045038A (ko) 2006-05-16
ATE362068T1 (de) 2007-06-15
DE602005001076D1 (de) 2007-06-21
EP1582787A2 (en) 2005-10-05
KR101180126B1 (ko) 2012-09-05
US7284568B2 (en) 2007-10-23
JP4548823B2 (ja) 2010-09-22
EP1582787A3 (en) 2005-12-07
EP1582787B1 (en) 2007-05-09

Similar Documents

Publication Publication Date Title
JP4548823B2 (ja) 安全弁装置
TWI421426B (zh) 電動針閥
KR20140137298A (ko) 유량 조절 장치
JP2006329367A (ja) 真空バルブ
JP2005172026A (ja) 流体制御器
JP5369065B2 (ja) 三方弁
JP2004362013A (ja) ゲージハンドル形減圧弁
US20160123488A1 (en) Clamped bonnet assembly for an axial flow valve and axial flow valve comprising same
JP5153595B2 (ja) 湯水混合水栓
CN114321445B (zh) 水龙头阀门装置
ITPD20030027U1 (it) Struttura di valvola per la regolazione della portata per fluidi in pa rticolare frigoriferi.
JP2007078144A (ja) 制御弁
JP2008256148A (ja) 流量制御弁
TW201537069A (zh) 節流閥
JP6955952B2 (ja) ボールバルブ
JP2005299836A (ja) 流量調節弁
JP5296743B2 (ja) 空気圧式作動機構、及び空気圧式作動弁
KR101107551B1 (ko) 실링 압력 유지형 버터플라이 밸브
JP7036555B2 (ja) ボールバルブ
JP2005282636A (ja) 逃し弁機能付き開閉弁
JP2000346212A (ja) 液体容器用排出バルブ
KR20210060657A (ko) 밸브 장치 및 가스 공급 시스템
JP2008303902A (ja) 開閉弁の開度表示装置
JP7427165B2 (ja) 水栓装置
JP2006144882A (ja) リリーフ弁及びリリーフ弁用調整器具

Legal Events

Date Code Title Description
A621 Written request for application examination

Free format text: JAPANESE INTERMEDIATE CODE: A621

Effective date: 20061228

A977 Report on retrieval

Free format text: JAPANESE INTERMEDIATE CODE: A971007

Effective date: 20090925

A131 Notification of reasons for refusal

Free format text: JAPANESE INTERMEDIATE CODE: A131

Effective date: 20091106

A521 Request for written amendment filed

Free format text: JAPANESE INTERMEDIATE CODE: A523

Effective date: 20091225

TRDD Decision of grant or rejection written
A01 Written decision to grant a patent or to grant a registration (utility model)

Free format text: JAPANESE INTERMEDIATE CODE: A01

Effective date: 20100604

A01 Written decision to grant a patent or to grant a registration (utility model)

Free format text: JAPANESE INTERMEDIATE CODE: A01

A61 First payment of annual fees (during grant procedure)

Free format text: JAPANESE INTERMEDIATE CODE: A61

Effective date: 20100705

R150 Certificate of patent or registration of utility model

Ref document number: 4548823

Country of ref document: JP

Free format text: JAPANESE INTERMEDIATE CODE: R150

Free format text: JAPANESE INTERMEDIATE CODE: R150

FPAY Renewal fee payment (event date is renewal date of database)

Free format text: PAYMENT UNTIL: 20130716

Year of fee payment: 3

R250 Receipt of annual fees

Free format text: JAPANESE INTERMEDIATE CODE: R250

R250 Receipt of annual fees

Free format text: JAPANESE INTERMEDIATE CODE: R250

R250 Receipt of annual fees

Free format text: JAPANESE INTERMEDIATE CODE: R250

R250 Receipt of annual fees

Free format text: JAPANESE INTERMEDIATE CODE: R250

R250 Receipt of annual fees

Free format text: JAPANESE INTERMEDIATE CODE: R250

R250 Receipt of annual fees

Free format text: JAPANESE INTERMEDIATE CODE: R250

R250 Receipt of annual fees

Free format text: JAPANESE INTERMEDIATE CODE: R250

R250 Receipt of annual fees

Free format text: JAPANESE INTERMEDIATE CODE: R250

LAPS Cancellation because of no payment of annual fees