JP2005291089A - エンジンのシリンダブロック - Google Patents

エンジンのシリンダブロック Download PDF

Info

Publication number
JP2005291089A
JP2005291089A JP2004107224A JP2004107224A JP2005291089A JP 2005291089 A JP2005291089 A JP 2005291089A JP 2004107224 A JP2004107224 A JP 2004107224A JP 2004107224 A JP2004107224 A JP 2004107224A JP 2005291089 A JP2005291089 A JP 2005291089A
Authority
JP
Japan
Prior art keywords
cylinder
partition wall
communication portion
block
engine
Prior art date
Legal status (The legal status is an assumption and is not a legal conclusion. Google has not performed a legal analysis and makes no representation as to the accuracy of the status listed.)
Pending
Application number
JP2004107224A
Other languages
English (en)
Other versions
JP2005291089A5 (ja
Inventor
Kazunari Takenaka
一成 竹中
Seiji Omura
清治 大村
Current Assignee (The listed assignees may be inaccurate. Google has not performed a legal analysis and makes no representation or warranty as to the accuracy of the list.)
Toyota Motor Corp
Original Assignee
Toyota Motor Corp
Priority date (The priority date is an assumption and is not a legal conclusion. Google has not performed a legal analysis and makes no representation as to the accuracy of the date listed.)
Filing date
Publication date
Application filed by Toyota Motor Corp filed Critical Toyota Motor Corp
Priority to JP2004107224A priority Critical patent/JP2005291089A/ja
Priority to US11/077,075 priority patent/US7036479B2/en
Priority to DE102005014548A priority patent/DE102005014548A1/de
Publication of JP2005291089A publication Critical patent/JP2005291089A/ja
Publication of JP2005291089A5 publication Critical patent/JP2005291089A5/ja
Pending legal-status Critical Current

Links

Images

Classifications

    • FMECHANICAL ENGINEERING; LIGHTING; HEATING; WEAPONS; BLASTING
    • F02COMBUSTION ENGINES; HOT-GAS OR COMBUSTION-PRODUCT ENGINE PLANTS
    • F02FCYLINDERS, PISTONS OR CASINGS, FOR COMBUSTION ENGINES; ARRANGEMENTS OF SEALINGS IN COMBUSTION ENGINES
    • F02F7/00Casings, e.g. crankcases
    • F02F7/0002Cylinder arrangements
    • F02F7/0007Crankcases of engines with cylinders in line

Landscapes

  • Engineering & Computer Science (AREA)
  • Chemical & Material Sciences (AREA)
  • Combustion & Propulsion (AREA)
  • Mechanical Engineering (AREA)
  • General Engineering & Computer Science (AREA)
  • Cylinder Crankcases Of Internal Combustion Engines (AREA)

Abstract

【課題】 クランクケースへの不要な連通孔の形成を回避することのできる構造と、クランク室の圧力変動をより効率的に低減することのできる構造とをあわせて備えるシリンダブロックを提供する。
【解決手段】 このエンジンのシリンダブロックは、複数のシリンダ31を含めて形成されたシリンダ構造体3と、シリンダ31を収容する外壁部51、クランクシャフトを収容するクランクケースC及びクランク室を区画する隔壁57Aを含めて一体形成されたブロック本体5との組み合わせにより構成される。こうした構成のシリンダブロック11において、ブロック本体5の隔壁57Aに、隣接したクランク室を連通する隔壁連通部Hw1をシリンダ31側へ開口させて形成した。
【選択図】 図10

Description

本発明は、クランク室の圧力変動の抑制を通じてポンピングロスを低減することのできる構造を備えたエンジンのシリンダブロックに関する。
エンジンにおいては、その運転中、ピストンの往復運動にともなうクランク室(クランク室と連続したシリンダの内部空間を含む)の圧力変動により、ポンピングロスが生じる。
従来、ポンピングロスの低減を図るための技術として、クランクケース内において隣接したクランク室同士を連通する技術が提案されている。
こうした技術を示した特許文献としては、例えば以下の特許文献1〜特許文献4が知られている。
(1)特許文献1には、隔壁に連通孔を形成するとともに、各隔壁の連通孔の中心を偏心させるシリンダブロックが提案されている。
(2)特許文献2には、隔壁に連通孔を形成して隣接するシリンダ間を連通するとともに、連通孔をシリンダ軸線に対して偏倚させて形成する技術が記載されている。
(3)特許文献3には、クランクシャフトの軸線と平行な軸線を有するとともにその一部がシリンダボアの内周に開口した連通孔を形成する技術が記載されている。
(4)特許文献4には、シリンダブロックの車体進行方向後壁内部において、シリンダ配列方向へ連通孔を延設するとともに、この連通孔をクランク室へ連通する技術が記載されている。
隣接するクランク室を連通したシリンダブロックにおいては、ピストンの移動にともなってクランク室側へ押圧される空気が隣接するクランク室へ流出するようになるため、クランク室の圧力変動ひいてはポンピングロスが低減されるようになる。
特開2000−136752号公報 特開2002−180900号公報 特開2003−74408号公報 特開2001−241356号公報
ところで、上記隣接するクランク室を連通したシリンダブロックとして、上記特許文献1〜3のシリンダブロックを含めた従来のシリンダブロックにおいては、その構造上の制約によりクランクケースの外部から連通孔を形成せざるをえないため、隔壁への連通孔の形成に際して、ポンピングロスの低減に寄与しない不要な連通孔がクランクケースの外壁に形成されるようになる。
連通孔の周りには、クランクシャフトへ作用する燃焼圧により応力集中が生じるため、上述のような不要な連通孔は極力形成されないことが望ましいが、従来のシリンダブロックにおいては、そうした連通孔については何ら対策がなされていない。
一方で、近年、エンジンに対してはさらなる高出力化や高燃費化が要求されているため、上述の圧力変動(ポンピングロス)をより効率的に低減するのできる連通構造の提案が望まれる。
しかし、特許文献4のシリンダブロックでは、シリンダの周壁外側に形成された連通孔を連通路によりクランク室へ連通するといった構造を採用しているため、ピストンの往復運動にともなって押圧されたクランク室側の空気が速やかに隣接するクランク室へ押し出されないことも考えられる。この場合、圧力変動の低減効果が十分に得られないようになる。
本発明は、このような実情に鑑みてなされたものであり、その目的は、クランクケースへの不要な連通孔の形成を回避することのできる構造と、クランク室の圧力変動をより効率的に低減することのできる構造とをあわせて備えたシリンダブロックを提供することにある。
以下、上記目的を達成するための手段及びその作用効果について記載する。
<請求項1>
請求項1に記載の発明は、エンジンのシリンダブロックであって、複数のシリンダを含めて形成されたシリンダ構造体と、前記シリンダを収容する外壁部、前記エンジンのクランクシャフトを収容するクランクケース及び前記クランクケースの内部空間を前記シリンダの数に応じた複数のクランク室に区画する隔壁を含めて一体形成されたブロック本体との組み合わせにより構成するとともに、前記隔壁に、隣接したクランク室を連通する隔壁連通部を前記シリンダ側へ開口させて形成したことを要旨としている。
こうした構成においては、成形型に予め隔壁連通部を設定してブロック本体の成形を行うことが可能となるため、従来のシリンダブロックのように、不要な連通孔が形成されるといった事態を回避することができるようになる。
また、隔壁連通部をシリンダ側へ開口させて、即ち隔壁上においても最もシリンダと近くなる位置に隔壁連通部を形成するようにしているため、ピストンを通じてクランク室側(同クランク室と連続したシリンダの内部空間を含む)の空気が押圧されるとき、隣接するクランク室へそうした空気を早期に押し出すことが可能となる。従って、クランク室の圧力変動にともなうポンピングロスをより効率的に低減することができるようになる。
このように、上記請求項1に記載の構造を採用することにより、クランクケースへの不要な連通孔の形成を回避することのできる構造と、クランク室の圧力変動より効率的に低減することのできる構造とをあわせて備えたシリンダブロックを実現することができるようになる。
<請求項2>
請求項2に記載の発明は、エンジンのシリンダブロックであって、複数のシリンダを含めて形成されたシリンダ構造体と、前記シリンダを収容する外壁部、前記エンジンのクランクシャフトを収容するクランクケース及び前記クランクケースの内部空間を前記シリンダの数に応じた複数のクランク室に区画する隔壁を含めて一体形成されたブロック本体との組み合わせにより構成するとともに、前記シリンダに、隣接したシリンダの内部空間を連通するシリンダ連通部を前記ブロック本体側へ開口させて形成したことを要旨としている。
こうした構成を採用することによっても、上記請求項1に記載の発明と同様の効果を奏することができるようになる。なお、シリンダ連通部は、燃焼室が最大容積の状態のときにピストンリングと干渉しない大きさに設定される。
<請求項3>
請求項3に記載の発明は、エンジンのシリンダブロックであって、複数のシリンダを含めて形成されたシリンダ構造体と、前記シリンダを収容する外壁部、前記エンジンのクランクシャフトを収容するクランクケース及び前記クランクケースの内部空間を前記シリンダの数に応じた複数のクランク室に区画する隔壁を含めて一体形成されたブロック本体との組み合わせにより構成するとともに、前記隔壁に、隣接したクランク室を連通する隔壁連通部を前記シリンダ側へ開口させて形成し、前記シリンダに、隣接したシリンダの内部空間を連通するシリンダ連通部を前記ブロック本体側へ開口させて形成したことを要旨としている。
こうした構成を採用することによっても、上記請求項1に記載の発明と同様の効果を奏することができるようになる。なお、シリンダ連通部は、燃焼室が最大容積の状態のときにピストンリングと干渉しない大きさに設定される。
<請求項4>
請求項4に記載の発明は、請求項1または3に記載のエンジンのシリンダブロックにおいて、前記隔壁連通部を前記クランクシャフトの中心軸と直交する断面上で前記シリンダの中心軸を中心線とする軸対称の形状に形成したことを要旨としている。
こうした構成を採用することにより、ピストンによりクランク室側の空気が隣接したクランク室へ押し出されるとき、空気の流れの均一化が図られるため、より効率的にポンピングロスを低減することができるようになる。
<請求項5>
請求項5に記載の発明は、請求項1または3または4に記載のエンジンのシリンダブロックにおいて、ピストンのストローク位置がそれぞれ異なる位置に設定されており、且つ隣接して配設されている2つのシリンダについて、これらシリンダの各々に対応するクランク室の間に設けられた隔壁のみに前記隔壁連通部を形成したことを要旨としている。
シリンダブロックにおいて、隣接したクランク室を連通することはポンピングロスの低減を図るうえで有効な対策となるが、これらクランク室に対応するシリンダについて、ピストンのストローク位置が同じに設定されている場合は、上記クランク室の間の隔壁に連通部を形成してもその連通部を通じて圧力変動の低減が図られるようにはならない。即ち、同連通部は、ポンピングロスの低減に寄与しない不要なものとなる。
この点、上記構成を採用することにより、不要な連通部が形成されなくなるため、シリンダブロックの剛性の低下を回避することができるようになる。
<請求項6>
請求項6に記載の発明は、請求項2または3に記載のエンジンのシリンダブロックにおいて、前記シリンダ連通部を前記クランクシャフトの中心軸と直交する断面上で前記シリンダの中心軸を中心線とする軸対称の形状に形成したことを要旨としている。
こうした構成を採用することにより、ピストンによりクランク室側の空気が隣接したクランク室へ押し出されるとき、空気の流れの均一化が図られるため、より効率的にポンピングロスを低減することができるようになる。
<請求項7>
請求項7に記載の発明は、請求項2または3または6に記載のエンジンのシリンダブロックにおいて、ピストンのストローク位置がそれぞれ異なる位置に設定されており、且つ隣接して配設されている2つのシリンダについて、これらシリンダの間のみに前記シリンダ連通部を形成したことを要旨としている。
上記構成においては、連通部が必要箇所のみに設けられるため、不要な連通部が形成されることによるシリンダブロックの剛性の低下を好適に回避することができるようになる。
<請求項8>
請求項8に記載の発明は、請求項1または3または4または5に記載のエンジンのシリンダブロックにおいて、前記クランクシャフトの中心軸と直交する断面上の前記隔壁連通部について、前記シリンダの軸方向と直交する方向の長さを隔壁連通部幅、前記シリンダの軸方向の長さを隔壁連通部高さとしたときに、前記隔壁連通部幅を前記隔壁連通部高さよりも大きく設定して前記隔壁連通部を形成したことを要旨としている。
こうした構成によれば、シリンダ側へ開口させて隔壁連通部を形成する場合において、連通部幅を連通部高さ以下に設定したときと比べて、隣接するクランク室へより早期に空気が押し出されるようになる。このため、ポンピングロスの低減効果が高められるようになる。
また、隔壁上の限られたスペースを有効に利用して、ポンピングロスの低減により適した連通構造を実現することができるようになる。
<請求項9>
請求項9に記載の発明は、請求項2または3または6または7に記載のエンジンのシリンダブロックにおいて、前記クランクシャフトの中心軸と直交する断面上の前記シリンダ連通部について、前記シリンダの軸方向と直交する方向の長さをシリンダ連通部幅、前記シリンダの軸方向の長さをシリンダ連通部高さとしたときに、前記シリンダ連通部幅を前記シリンダ連通部高さよりも大きく設定して前記シリンダ連通部を形成したことを要旨としている。
こうした構成によれば、ブロック本体側へ開口させてシリンダ連通部を形成する場合において、連通部幅を連通部高さ以下に設定したときと比べて、隣接するクランク室へより早期に空気が押し出されるようになる。このため、ポンピングロスの低減効果が高められるようになる。
また、シリンダ上の限られたスペースを有効に利用して、ポンピングロスの低減により適した連通構造を実現することができるようになる。
(第1実施形態)
本発明の第1実施形態について、図1〜図12を参照して説明する。なお、図4、図6、図9、図10、図11及び図12は、クランクシャフトの中心軸と直交する断面を示している。
本実施形態では、本発明にかかるシリンダブロックを直列4気筒型エンジンのシリンダブロックとして具体化した場合を想定している。
<エンジンの構造>
図1に、本発明のシリンダブロックを含めて構成したエンジンの斜視構造を示す。
エンジン1は、大きくはシリンダブロック11、シリンダヘッド12、オイルパン13及びクランクシャフト14を備えて構成される。
シリンダヘッド12は、シリンダブロック11の頂部に組み付けられる。
オイルパン13は、シリンダブロック11の底部に組み付けられる。
クランクシャフト14は、シリンダブロック11のクランクケースCとオイルパン13との内部に形成された空間に配設される。
<シリンダブロックの構造>
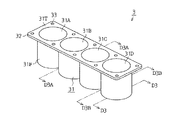
図2にシリンダブロック11の斜視構造を示す。
シリンダブロック11は、シリンダを含めて成形されたシリンダ構造体3と、クランクケースC及び外壁部51を含めて成形されたブロック本体5とを備えて構成される。
シリンダ構造体3は、ブロック本体5の外壁部51に形成された本体フランジ部52への載置を通じてブロック本体5へ組み付けられる。
<シリンダ構造体の構造>
図3に、シリンダ構造体3の斜視構造を示す。
図4に、図3のD3−D3線に沿ったシリンダ構造体3の断面構造を示す。
シリンダ構造体3は、エンジンのピストンを収容するシリンダ31(第1シリンダ31A、第2シリンダ31B、第3シリンダ31C、第4シリンダ31D)と、同シリンダ31の外周面(シリンダ外周面31F)の上端部を取り囲むように形成されたシリンダフランジ部32とを含めて構成される。なお、シリンダ構造体3は、鋳造により一体成形される。
本実施形態のエンジン1では、混合気の点火順序が「第1シリンダ31A→第3シリンダ31C→第4シリンダ31D→第2シリンダ31B」の順に設定されている。
クランクシャフト14においては、この点火順序に応じて、各シリンダのピストンのストローク位置(シリンダ内におけるピストンの位置)が次のように設定されている。即ち、第1シリンダ31Aと第4シリンダ31Dとにおいて、ピストンのストローク位置が同じ位置に設定されている。また、第2シリンダ31Bと第3シリンダ31Cとにおいて、ピストンのストローク位置が同じ位置に設定されている。
シリンダ構造体3において、シリンダフランジ部32側の端面(シリンダデッキ面31T)には、エンジン1のシリンダヘッド12が載置される。なお、シリンダデッキ面31Tと反対側の端面をシリンダ底面31Uとする。
シリンダフランジ部32には、ボルトを挿入するためのボルト孔33がシリンダ31の軸線方向に設けられている。
<ブロック本体の構造>
図5に、ブロック本体5の斜視構造を示す。
図6に、図5のD5−D5線に沿ったブロック本体5の断面構造を示す。
ブロック本体5は、シリンダ31を収容するための外壁部51とクランクシャフト14を収容するためのクランクケースCとを含めて構成される。なお、ブロック本体5は、鋳造により一体成形される。
外壁部51の内周面(外壁部内周面51R)は、シリンダ構造体3のシリンダ外周面31Fと対応した形状に形成されている。
ブロック本体5へシリンダ構造体3を組み付けた状態において、外壁部内周面51Rとシリンダ外周面31Fとは所定の間隔を有して対向する。なお、シリンダブロック11においては、外壁部内周面51Rとシリンダ外周面31Fとの間に形成される空間がウォータージャケットとなる。
外壁部51には、シリンダ構造体3のシリンダフランジ部32を載置するための本体フランジ部52が形成されている。
ブロック本体5の頂面(本体デッキ面51T)は、シリンダ構造体3のシリンダフランジ部32と当接される。
外壁部51には、シリンダ構造体3のボルト孔33と対応した位置にボルト孔53が形成されている。なお、シリンダヘッド12には、これらボルト孔33,53と対応するボルト孔が設けられている。そして、これら各ボルト孔へボルトを挿通させることにより、シリンダブロック11へシリンダヘッド12を組み付けることができる。
ブロック本体5の外壁部51には、ウォータージャケットに対する冷却水の流入/流出に際して用いられる冷却水口54が設けられている。
ブロック本体5の内側において、外壁部51とクランクケースCとの境界には、シリンダ構造体3を載置するためのシリンダ支持部55が形成されている。このシリンダ支持部55は、ブロック本体5の内側の全周にわたって形成されている。
<ブロック本体の内部構造>
図7に、頂面側(図6の矢印VA方向)から見たブロック本体5の平面構造を示す。
図8に、底面側(図6の矢印VB方向)から見たブロック本体5の平面構造を示す。
クランクケースCにおいて、側壁56Aと側壁56Bとの間には複数の隔壁(第1隔壁57A、第2隔壁57B、第3隔壁57C)が設けられている。
側壁56A,56B及び隔壁57A,57B,57Cには、クランクシャフト14の軸受部58が形成されている。なお、クランクシャフト14は、そのジャーナルが軸受部58の内周面と対向する方向からクランクキャップを通じて支持されることにより、ブロック本体5に組み付けられる。
クランクケースCの内部に形成されたクランク室Rは、これら隔壁57A,57B,57Cにより第1クランク室R1、第2クランク室R2、第3クランク室R3、第4クランク室R4に区画されている。
第1クランク室R1は、クランクケースCの側壁56Aと第1隔壁57Aとに囲まれて区画形成されている。なお、第1クランク室R1は、第1シリンダ31Aと対応している。
第2クランク室R2は、第1隔壁57Aと第2隔壁57Bとに囲まれて区画形成されている。なお、第2クランク室R2は、第2シリンダ31Bと対応している。
第3クランク室R3は、第2隔壁57Bと第3隔壁57Cとに囲まれて区画形成されている。なお、第3クランク室R3は、第3シリンダ31Cと対応している。
第4クランク室R4は、クランクケースCの側壁56Bと第3隔壁57Cとに囲まれて区画形成されている。なお、第4クランク室R4は、第4シリンダ31Dと対応している。
第1クランク室R1と第2クランク室R2とは、第1隔壁連通部Hw1により連通されている。この第1隔壁連通部Hw1により、第1クランク室R1から第2クランク室R2へあるいは第2クランク室R2から第1クランク室R1への空気の移動が許容される。
第3クランク室R3と第4クランク室R4とは、第2隔壁連通部Hw2により連通されている。この第2隔壁連通部Hw2により、第3クランク室R3から第4クランク室R4へあるいは第4クランク室R4から第3クランク室R3への空気の移動が許容される。
<連通部が形成されている隔壁>
図9に、図8のD81−D81線に沿ったブロック本体5の断面構造を示す。
図10に、図1のD11−D11線に沿ったシリンダブロック11の断面構造を示す。
第1隔壁連通部Hw1は、第1隔壁57Aの頂部において、凹状をなすように形成されている。即ち、第1隔壁連通部Hw1は、本体デッキ面51T側へ開口した凹部として第1隔壁57Aに形成されている。
これにより、ブロック本体5へシリンダ構造体3を組み付けた状態において(図10)、第1隔壁連通部Hw1はシリンダ31側へ開口した状態となる。また、シリンダ底面31Uと第1隔壁57Aの頂面(隔壁頂面57T)とが、所定の間隔を有して対向した状態となる。
第1隔壁連通部Hw1は、クランクシャフト14の回転中心と直交する断面において、シリンダ31の中心軸Lcを中心線とする軸対称の形状に形成されている。
第1隔壁連通部Hw1の幅Lw1(シリンダ31の中心軸Lcと直交する方向の長さ)は、第1隔壁連通部Hw1の高さLw2(シリンダ31の軸方向における窪みの深さ)よりも大きく設定されている。即ち、第1隔壁連通部Hw1は、シリンダ31の中心軸Lcと直交する方向を長手方向とした形状に形成されている。なお、第1隔壁連通部Hw1は、「Lw1>Lw2」の条件が満たされる範囲において、ブロック本体5に設けられる油路やボルト孔等との干渉を回避できるように最適化された形状に設定される。
なお、図8のD83−D83線に沿ったブロック本体5の断面構造は、図9の断面構造と同様となっている。即ち、第2隔壁連通部Hw2は、第1隔壁連通部Hw1と同様の態様で第3隔壁57Cに形成されている。
<連通部が形成されていない隔壁>
図11に、図8のD82−D82線に沿ったブロック本体5の断面構造を示す。
図12に、図1のD12−D12線に沿ったシリンダブロック11の断面構造を示す。
第2隔壁57Bの頂面(隔壁頂面57T)は、略平滑に形成されている。即ち、第1隔壁57A及び第3隔壁57Cとは異なり、隣接するクランク室間を連通するための凹部(連通部)が形成されていない。これにより、ブロック本体5へシリンダ構造体3を組み付けた状態において(図12)、シリンダ底面31Uと第1隔壁57Aの頂面(隔壁頂面57T)とが接触した状態となる。
なお、図8のD8A−D8A線及びD8B−D8B線に沿ったブロック本体5の断面構造は、図11の断面構造と同様となっている。即ち、各側壁56A,56Bは、第2隔壁57Bと同様に、隣接するクランク室間を連通するための凹部(連通部)が形成されていない構造を有する。
<実施形態の効果>
以上詳述したように、この第1実施形態にかかるシリンダブロックによれば、以下に列記するような効果が得られるようになる。
(1)本実施形態では、各別に形成されたシリンダ構造体3とブロック本体5との組み合わせを通じてシリンダブロック11を構成するとともに、隔壁連通部Hw1,Hw2をシリンダ側へ開口させて形成するようにしている。
これにより、成形型に予め隔壁連通部Hw1,Hw2を設定してブロック本体5の成形を行うことが可能となるため、従来のシリンダブロックのように、不要な連通孔が形成されるといった事態を回避することができるようになる。
また、隔壁連通部Hw1,Hw2をシリンダ側へ開口させて、即ち隔壁上においてシリンダと最も近くなる位置に隔壁連通部Hw1,Hw2を形成するようにしているため、ピストンを通じてクランク室側(同クランク室と連続したシリンダの内部空間を含む)の空気が押圧されるとき、隣接するクランク室へそうした空気が早期に押し出されるようになる。
これにより、クランク室の圧力変動にともなうポンピングロスをより効率的に低減することができるようになる。
このように、上記構造を採用することにより、クランクケースCへの不要な連通孔の形成を回避することのできる構造と、クランク室Rの圧力変動をより効率的に低減することのできる構造とをあわせて備えたシリンダブロック11を実現することができるようになる。
(2)シリンダブロックにおいて、隣接したクランク室を連通することはポンピングロスの低減を図るうえで有効な対策となるが、これらクランク室に対応するシリンダについて、ピストンのストローク位置が同じに設定されている場合は、上記クランク室の間の隔壁に連通部を形成してもその連通部を通じて圧力変動の低減が図られるようにはならない。
そこで、本実施形態では、ピストンのストローク位置が同じとなる第2クランク室R2と第3クランク室R3とを連通しないようにしている。これにより、不要に連通部が形成されることによるシリンダブロック11の剛性の低下を回避することができるようになる。
(3)本実施形態では、連通部Hw1,Hw2を隔壁57A,57Cの最上部(シリンダ31に最も接近した位置)に形成するようにしている。
これにより、ピストンの移動にともなってクランク室側の空気が押圧されたとき、慣性がより大きくなる前にそうした空気が隣接するクランク室へ導入されるようになるため、より効率的にポンピングロスを低減することができるようになる。
(4)隔壁に連通孔が形成されたシリンダブロックにおいては、クランクシャフトへ燃焼圧が作用することにより、連通孔周囲に応力集中が生じるようになる。そして、この応力集中が過度に大きくなることにより、隔壁の破損をまねくことが懸念されている。
この点、本実施形態では、連通孔に代えて連通部Hw1,Hw2を隔壁57A,57Cの最上部に形成するようにしている。これにより、連通部Hw1,Hw2とクランクジャーナルとの距離が長くなるため、連通部Hw1,Hw2への応力集中を極力低減することができるようになる。
(5)本実施形態では、各連通部Hw1,Hw2について、連通部の幅Lw1を連通部の高さLw2よりも大きく設定するようにしている。
こうした構成によれば、シリンダ31側へ開口させて連通部Hw1,Hw2を形成する場合において、幅Lw1を高さLw2以下に設定したときと比べて、隣接するクランク室へより早期に空気が押し出されるようになる。このため、ポンピングロスの低減効果が高められるようになる。
このように、上記構成を採用することで、隔壁上の限られたスペースを有効に利用して、ポンピングロスの低減により適した連通構造を実現することができるようになる。
(6)本実施形態では、クランクシャフト14の回転中心と直交する断面において、第1隔壁連通部Hw1をシリンダ31の中心軸Lcを中心線とする軸対称の形状として形成している。
これにより、ピストンによりクランク室側の空気が隣接したクランク室へ押し出されるとき、空気の流れの均一化が図られるため、より効率的にポンピングロスを低減することができるようになる。
(7)従来のシリンダブロックにおいては、切削加工により連通孔を形成するため、残留応力によりシリンダブロックの破損をまねくことが考えられる。
この点、本実施形態では、シリンダ構造体3とブロック本体5との組み合わせを通じてシリンダブロック11を構成するとともに、隔壁連通部Hw1,Hw2を含めてブロック本体5の成形を行うようにしている。これにより、切削加工による連通構造の形成が不要となるため、シリンダブロックへの残留応力の発生を回避することができるようになる。
(第2実施形態)
本発明の第2実施形態について、図13及び図14を参照して説明する。なお、図13及び図14は、クランクシャフトの中心軸と直交する断面を示している。
本実施形態のシリンダブロックは、前記第1実施形態のシリンダブロックに次のような変更を加えた構造を有する。即ち、シリンダ構造体3において、隣接するシリンダ31の内部空間を連通する連通部をシリンダ底面31U側へ開口させて形成している。
<連通部の形成態様>
図13に、図3のD3A−D3A線に沿った断面構造に相当するシリンダ構造体3の断面構造を示す。
図14に、図1のD11−D11線に沿った断面構造に相当するシリンダブロック11の断面構造を示す。
シリンダ構造体3において、第1シリンダ31Aの周壁と第2シリンダ31Bの周壁とがつながった箇所には、第1シリンダ31Aの内部空間と第2シリンダ31Bの内部空間とを連通するシリンダ連通部Hsが形成されている。
シリンダ連通部Hsは、第1シリンダ31A及び第2シリンダ31Bの底面において、凹状をなすように形成されている。即ち、シリンダ連通部Hsは、シリンダ底面31U側へ開口して形成されている。
これにより、ブロック本体5へシリンダ構造体3を組み付けた状態において(図14)、シリンダ連通部Hsはブロック本体5側へ開口した状態となる。また、シリンダ底面31Uと隔壁頂面57Tとが、所定の間隔を有して対向した状態となる。
シリンダ連通部Hsは、クランクシャフト14の回転中心と直交する断面において、シリンダ31の中心軸Lcを中心とする軸対称の形状に形成されている。
シリンダ連通部Hsの幅Ls1(シリンダ31の中心軸Lcと直交する方向の長さ)は、シリンダ連通部Hsの高さLs2(シリンダ31の軸方向における窪みの高さ)よりも大きく設定されている。即ち、シリンダ連通部Hsは、シリンダ31の中心軸Lcと直交する方向を長手方向とした形状に形成されている。
シリンダ連通部Hsの高さLs2は、燃焼室の容積が最も大きい状態において、シリンダ連通部Hsとピストンリングとが干渉しないように設定される。
なお、図3のD3B−D3B線に沿った断面構造に相当する本実施形態のシリンダ構造体3の断面構造は、図13の断面構造と同様となっている。即ち、第3シリンダ31Cの周壁と第4シリンダ31Dの周壁とがつながった箇所にも、第1シリンダ31A及び第2シリンダ31Bと同様の態様でシリンダ連通部Hsに形成されている。
<作用効果>
以上詳述したように、この第2実施形態にかかるシリンダブロックによれば、先の第1実施形態による前記(1)〜(7)の効果に加えて、以下に示すような効果が得られるようになる。
(8)本実施形態では、隔壁連通部Hw1,Hw2に加えて、シリンダ31にシリンダ連通部Hsを形成するようにしている。これにより、ピストンにより隣接したクランク室へ押し出される空気の量が増量されるため、より効率的にポンピングロスを低減することができるようになる。
<変更例>
なお、上記第2実施形態は、これを適宜変更した、例えば次のような形態として実施することもできる。
・上記第2実施形態では、隔壁連通部Hw1,Hw2及びシリンダ連通部Hsをそれぞれ形成する構成としたが、隔壁連通部Hw1,Hw2を形成せずにシリンダ連通部Hsのみを通じてポンピングロスの低減を図ることもできる。
・上記第2実施形態では、クランクシャフト14の回転中心と直交する断面において、シリンダ連通部Hsを略長方形状に形成する構成としたが、シリンダ連通部Hsをその他の形状に変更することもできる。要するに、シリンダ連通部Hsの幅Ls1がシリンダ連通部Hsの高さLs2よりも大きく設定されている形状であれば、シリンダ連通部Hsの形状は適宜変更可能である。
(その他の実施形態)
その他、上記各実施形態に共通して変更することができる要素を以下に列挙する。
・上記各実施形態では、クランクシャフト14の回転中心と直交する断面において、隔壁連通部Hw1,Hw2を略長方形状に形成する構成としたが、これら隔壁連通部Hw1,Hw2をその他の形状に変更することもできる。要するに、隔壁連通部Hw1,Hw2の幅Lw1が隔壁連通部Hw1,Hw2の高さLw2よりも大きく設定されている形状であれば、隔壁連通部Hw1,Hw2の形状は適宜変更可能である。
・上記各実施形態では、直列4気筒型エンジンのシリンダブロックとして本発明を具体化した場合を想定したが、本発明の適用対象となるシリンダブロックは直列4気筒型エンジンのシリンダブロックに限られるものではない。要するに、複数のシリンダを有するエンジンのシリンダブロックであれば、いずれのシリンダブロックに対しても本発明を適用することができる。
本発明にかかるエンジンのシリンダブロックを具体化した第1実施形態について、同シリンダブロックを含めて構成したエンジンの斜視構造を示す斜視図。 同実施形態のシリンダブロックについて、その斜視構造を示す斜視図。 同実施形態のシリンダブロックを構成するシリンダ構造体について、その斜視構造を示す斜視図。 同実施形態のシリンダ構造体について、図3のD3−D3線に沿った断面構造を示す断面図。 同実施形態のシリンダブロックを構成するブロック本体について、その斜視構造を示す斜視図。 同実施形態のブロック本体について、図5のD5−D5線に沿った断面構造を示す断面図。 同実施形態のブロック本体について、図6の矢印VA方向から見た平面構造を示す平面図。 同実施形態のブロック本体について、図6の矢印VB方向から見た平面構造を示す平面図。 同実施形態のブロック本体について、図8のD81−D81線に沿った断面構造を示す断面図。 同実施形態のシリンダブロックについて、図1のD11−D11線に沿った断面構造を示す断面図。 同実施形態のブロック本体について、図8のD82−D82線に沿った断面構造を示す断面図。 同実施形態のシリンダブロックについて、図1のD12−D12線に沿った断面構造を示す断面図。 本発明にかかるエンジンのシリンダブロックを具体化した第2実施形態について、図3のD3A−D3A線に沿った断面構造に相当するシリンダ構造体の断面構造を示す断面図。 同実施形態のシリンダブロックについて、図1のD11−D11線に沿った断面構造に相当する断面構造を示す断面図。
符号の説明
1…エンジン、11…シリンダブロック、12…シリンダヘッド、13…オイルパン、14…クランクシャフト、C…クランクケース、3…シリンダ構造体、31…シリンダ、31A…第1シリンダ、31B…第2シリンダ、31C…第3シリンダ、31D…第4シリンダ、31F…シリンダ外周面、31T…シリンダデッキ面、31U…シリンダ底面、32…シリンダフランジ部、33…ボルト孔、5…ブロック本体、51…外壁部、51R…外壁部内周面、51T…本体デッキ面、52…本体フランジ部、53…ボルト孔、54…冷却水口、55…シリンダ支持部、55R…シリンダ支持部内周面、56A…側壁、56B…側壁、57A…第1隔壁、57B…第2隔壁、57C…第3隔壁、57T…隔壁頂面、58…軸受部、R…クランク室、R1…第1クランク室、R2…第2クランク室、R3…第3クランク室、R4…第4クランク室、Hw1…第1隔壁連通部、Hw2…第2隔壁連通部、Hs…シリンダ連通部。

Claims (9)

  1. エンジンのシリンダブロックであって、
    複数のシリンダを含めて形成されたシリンダ構造体と、
    前記シリンダを収容する外壁部、前記エンジンのクランクシャフトを収容するクランクケース及び前記クランクケースの内部空間を前記シリンダの数に応じた複数のクランク室に区画する隔壁を含めて一体形成されたブロック本体との組み合わせにより構成するとともに、
    前記隔壁に、隣接したクランク室を連通する隔壁連通部を前記シリンダ側へ開口させて形成した
    ことを特徴とするエンジンのシリンダブロック。
  2. エンジンのシリンダブロックであって、
    複数のシリンダを含めて形成されたシリンダ構造体と、
    前記シリンダを収容する外壁部、前記エンジンのクランクシャフトを収容するクランクケース及び前記クランクケースの内部空間を前記シリンダの数に応じた複数のクランク室に区画する隔壁を含めて一体形成されたブロック本体との組み合わせにより構成するとともに、
    前記シリンダに、隣接したシリンダの内部空間を連通するシリンダ連通部を前記ブロック本体側へ開口させて形成した
    ことを特徴とするエンジンのシリンダブロック。
  3. エンジンのシリンダブロックであって、
    複数のシリンダを含めて形成されたシリンダ構造体と、
    前記シリンダを収容する外壁部、前記エンジンのクランクシャフトを収容するクランクケース及び前記クランクケースの内部空間を前記シリンダの数に応じた複数のクランク室に区画する隔壁を含めて一体形成されたブロック本体との組み合わせにより構成するとともに、
    前記隔壁に、隣接したクランク室を連通する隔壁連通部を前記シリンダ側へ開口させて形成し、
    前記シリンダに、隣接したシリンダの内部空間を連通するシリンダ連通部を前記ブロック本体側へ開口させて形成した
    ことを特徴とするエンジンのシリンダブロック。
  4. 請求項1または3に記載のエンジンのシリンダブロックにおいて、
    前記隔壁連通部を前記クランクシャフトの中心軸と直交する断面上で前記シリンダの中心軸を中心線とする軸対称の形状に形成した
    ことを特徴とするエンジンのシリンダブロック。
  5. 請求項1または3または4に記載のエンジンのシリンダブロックにおいて、
    ピストンのストローク位置がそれぞれ異なる位置に設定されており、且つ隣接して配設されている2つのシリンダについて、これらシリンダの各々に対応するクランク室の間に設けられた隔壁のみに前記隔壁連通部を形成した
    ことを特徴とするエンジンのシリンダブロック。
  6. 請求項2または3に記載のエンジンのシリンダブロックにおいて、
    前記シリンダ連通部を前記クランクシャフトの中心軸と直交する断面上で前記シリンダの中心軸を中心線とする軸対称の形状に形成した
    ことを特徴とするエンジンのシリンダブロック。
  7. 請求項2または3または6に記載のエンジンのシリンダブロックにおいて、
    ピストンのストローク位置がそれぞれ異なる位置に設定されており、且つ隣接して配設されている2つのシリンダについて、これらシリンダの間のみに前記シリンダ連通部を形成した
    ことを特徴とするエンジンのシリンダブロック。
  8. 請求項1または3または4または5に記載のエンジンのシリンダブロックにおいて、
    前記クランクシャフトの中心軸と直交する断面上の前記隔壁連通部について、前記シリンダの軸方向と直交する方向の長さを隔壁連通部幅、前記シリンダの軸方向の長さを隔壁連通部高さとしたときに、前記隔壁連通部幅を前記隔壁連通部高さよりも大きく設定して前記隔壁連通部を形成した
    ことを特徴とするエンジンのシリンダブロック。
  9. 請求項2または3または6または7に記載のエンジンのシリンダブロックにおいて、
    前記クランクシャフトの中心軸と直交する断面上の前記シリンダ連通部について、前記シリンダの軸方向と直交する方向の長さをシリンダ連通部幅、前記シリンダの軸方向の長さをシリンダ連通部高さとしたときに、前記シリンダ連通部幅を前記シリンダ連通部高さよりも大きく設定して前記シリンダ連通部を形成した
    ことを特徴とするエンジンのシリンダブロック。
JP2004107224A 2004-03-31 2004-03-31 エンジンのシリンダブロック Pending JP2005291089A (ja)

Priority Applications (3)

Application Number Priority Date Filing Date Title
JP2004107224A JP2005291089A (ja) 2004-03-31 2004-03-31 エンジンのシリンダブロック
US11/077,075 US7036479B2 (en) 2004-03-31 2005-03-11 Cylinder block for engine
DE102005014548A DE102005014548A1 (de) 2004-03-31 2005-03-30 Motor-Zylinderblock

Applications Claiming Priority (1)

Application Number Priority Date Filing Date Title
JP2004107224A JP2005291089A (ja) 2004-03-31 2004-03-31 エンジンのシリンダブロック

Publications (2)

Publication Number Publication Date
JP2005291089A true JP2005291089A (ja) 2005-10-20
JP2005291089A5 JP2005291089A5 (ja) 2007-05-17

Family

ID=35052896

Family Applications (1)

Application Number Title Priority Date Filing Date
JP2004107224A Pending JP2005291089A (ja) 2004-03-31 2004-03-31 エンジンのシリンダブロック

Country Status (3)

Country Link
US (1) US7036479B2 (ja)
JP (1) JP2005291089A (ja)
DE (1) DE102005014548A1 (ja)

Cited By (3)

* Cited by examiner, † Cited by third party
Publication number Priority date Publication date Assignee Title
JP2008232079A (ja) * 2007-03-22 2008-10-02 Aichi Mach Ind Co Ltd 内燃機関のシリンダブロック及びその製造方法
JP2010174778A (ja) * 2009-01-30 2010-08-12 Honda Motor Co Ltd 多気筒内燃機関
CN116717367A (zh) * 2022-03-07 2023-09-08 丰田自动车株式会社 内燃机

Families Citing this family (2)

* Cited by examiner, † Cited by third party
Publication number Priority date Publication date Assignee Title
JP2004218546A (ja) * 2003-01-15 2004-08-05 Toyota Motor Corp シリンダブロック、シリンダヘッド及びエンジン本体
DE102005030850B4 (de) * 2005-07-01 2008-05-29 Mtu Friedrichshafen Gmbh Kurbelgehäuse mit Bodenplatte

Family Cites Families (4)

* Cited by examiner, † Cited by third party
Publication number Priority date Publication date Assignee Title
JP2000136752A (ja) * 1998-10-31 2000-05-16 Honda Motor Co Ltd 多気筒エンジンのクランクケース
JP3800906B2 (ja) 2000-02-28 2006-07-26 スズキ株式会社 4サイクル多気筒エンジンのシリンダブロック構造
JP3959959B2 (ja) 2000-12-13 2007-08-15 スズキ株式会社 エンジンのシリンダ通気孔構造
JP2003074408A (ja) * 2001-08-31 2003-03-12 Honda Motor Co Ltd 複数気筒エンジンのシリンダブロック

Cited By (4)

* Cited by examiner, † Cited by third party
Publication number Priority date Publication date Assignee Title
JP2008232079A (ja) * 2007-03-22 2008-10-02 Aichi Mach Ind Co Ltd 内燃機関のシリンダブロック及びその製造方法
JP2010174778A (ja) * 2009-01-30 2010-08-12 Honda Motor Co Ltd 多気筒内燃機関
CN116717367A (zh) * 2022-03-07 2023-09-08 丰田自动车株式会社 内燃机
JP7601032B2 (ja) 2022-03-07 2024-12-17 トヨタ自動車株式会社 内燃機関

Also Published As

Publication number Publication date
US20050217628A1 (en) 2005-10-06
US7036479B2 (en) 2006-05-02
DE102005014548A1 (de) 2005-10-27

Similar Documents

Publication Publication Date Title
KR100825366B1 (ko) 엔진의 실린더 블록
JP2009191779A (ja) 内燃機関のピストン
US5850814A (en) Cylinder bore isolator core for casting engine cylinder blocks
JP2015031278A (ja) 内燃機関のエンジンハウジング及びエンジンハウジングを有する内燃機関
JP2021055622A (ja) シリンダヘッド
JP2005291089A (ja) エンジンのシリンダブロック
US6324961B1 (en) Oil passage arrangement in a piston
US6158402A (en) Engine block structure in multi-cylinder engine
JP2007120506A (ja) 多気筒エンジン
CN100422577C (zh) 内燃机的曲轴支撑结构
JP2005351261A (ja) 内燃機関
CN100497922C (zh) 发动机气缸体
JP4586035B2 (ja) 内燃機関のシリンダブロック及びその製造方法
JP2009091989A (ja) バッフルプレート
US8800507B2 (en) Interlocking piston barrels in a V-twin motorcycle engine
JP2005291089A5 (ja)
JP2002242753A (ja) エンジンのシリンダブロック構造
JP4297618B2 (ja) 内燃機関のシリンダブロック冷却構造
JP2006070795A (ja) 内燃機関
CN111648875B (zh) 缸体
EP1869299B1 (en) Internal combustion engine
JP4396390B2 (ja) シリンダブロック構造及びその製造方法
JPH088281Y2 (ja) 内燃機関の一体型シリンダブロック
JP2002242755A (ja) エンジンのシリンダブロック構造
US20200355139A1 (en) Engine piston and method for manufacturing the same

Legal Events

Date Code Title Description
A521 Written amendment

Free format text: JAPANESE INTERMEDIATE CODE: A523

Effective date: 20070327

A621 Written request for application examination

Free format text: JAPANESE INTERMEDIATE CODE: A621

Effective date: 20070327

A131 Notification of reasons for refusal

Free format text: JAPANESE INTERMEDIATE CODE: A131

Effective date: 20081216

A977 Report on retrieval

Free format text: JAPANESE INTERMEDIATE CODE: A971007

Effective date: 20081218

A02 Decision of refusal

Free format text: JAPANESE INTERMEDIATE CODE: A02

Effective date: 20090512