JP2005290700A - 車両スライド扉用動力スライド装置のテンション機構 - Google Patents

車両スライド扉用動力スライド装置のテンション機構 Download PDF

Info

Publication number
JP2005290700A
JP2005290700A JP2004103698A JP2004103698A JP2005290700A JP 2005290700 A JP2005290700 A JP 2005290700A JP 2004103698 A JP2004103698 A JP 2004103698A JP 2004103698 A JP2004103698 A JP 2004103698A JP 2005290700 A JP2005290700 A JP 2005290700A
Authority
JP
Japan
Prior art keywords
tension
cable
guide rail
door
wire cable
Prior art date
Legal status (The legal status is an assumption and is not a legal conclusion. Google has not performed a legal analysis and makes no representation as to the accuracy of the status listed.)
Granted
Application number
JP2004103698A
Other languages
English (en)
Other versions
JP2005290700A5 (ja
JP4181079B2 (ja
Inventor
Hiroshi Sato
洋 佐藤
Kazuto Yokomori
和人 横森
Current Assignee (The listed assignees may be inaccurate. Google has not performed a legal analysis and makes no representation or warranty as to the accuracy of the list.)
Mitsui Kinzoku Co Ltd
Original Assignee
Mitsui Mining and Smelting Co Ltd
Priority date (The priority date is an assumption and is not a legal conclusion. Google has not performed a legal analysis and makes no representation as to the accuracy of the date listed.)
Filing date
Publication date
Application filed by Mitsui Mining and Smelting Co Ltd filed Critical Mitsui Mining and Smelting Co Ltd
Priority to JP2004103698A priority Critical patent/JP4181079B2/ja
Priority to US11/094,472 priority patent/US7159930B2/en
Publication of JP2005290700A publication Critical patent/JP2005290700A/ja
Publication of JP2005290700A5 publication Critical patent/JP2005290700A5/ja
Priority to US11/650,506 priority patent/US7354100B2/en
Application granted granted Critical
Publication of JP4181079B2 publication Critical patent/JP4181079B2/ja
Anticipated expiration legal-status Critical
Expired - Fee Related legal-status Critical Current

Links

Images

Landscapes

  • Power-Operated Mechanisms For Wings (AREA)

Abstract

【目的】 スライド扉のブラケットに取付けられるテンション機構を提供する。
【構成】 ワイヤーケーブル25の開扉用ケーブル25’の先端に第1テンション部52を連結し、前記ワイヤーケーブル25の閉扉用ケーブル25”の先端に第2テンション部53を連結する。スライド扉11のブラケット18の前側には第1ピン55を後側には第2ピン56をそれぞれ設け、前記第1テンション部52の前側を前記第1ピン55に回転自在に軸止し、前記第2テンション部53の後側を前記第2ピン56に回転自在に軸止し、前記第1テンション部52と前記第2テンション部53とは互いに重なり合うように構成させる。
【選択図】 図4

Description

本発明は、車両スライド扉用動力スライド装置のテンション機構に関するものである。
従来、車体に設けた複数のガイドレールにスライド自在に取付けたスライド扉と、モータ動力で回転するワイヤードラムを備えた動力ユニットと、スライド扉と動力ユニットとを連結するワイヤーケーブルとからなり、ワイヤードラムを回転させることでワイヤーケーブルを介してスライド扉を開扉方向及び閉扉方向にスライドさせる車両スライド扉の動力スライド装置は、公知である。
前記動力ユニットは、大別すると、車体のドア開口部近傍の床体に取付けられる場合(実開平3−76982号公報)と、車体のクオータパネルの内側空間に配置される場合(特開平9−273358号公報)とがある。
前者の場合の全体の構成関係は、図7のようになり、車体Aの側面には、スライド扉Bにより閉塞されうるドア開口Cが設けられ、ドア開口Cの下部近傍の車体AにはロワーガイドレールDが固定され、車体Aの後部側面であるクオータパネルEにはセンターガイドレールFが固定される。スライド扉Bには、ロワーガイドレールDにスライド自在に係合するロワーブラケットGと、センターガイドレールFにスライド自在に係合するセンターブラケットHとが設けられる。
動力ユニットJは、ドア開口C近傍の車体の床体に固定され、ワイヤーケーブルKの開扉用ケーブルK’は、ロワーガイドレールDの後方を経由してスライド扉BのロワーブラケットGに連結され、また、ワイヤーケーブルKの閉扉用ケーブルK”は、ロワーガイドレールDの前方を経由して、ロワーブラケットGに連結される。
後者の場合の全体の構成関係は、図8のようになり、動力ユニットJは、クオータパネルEの内側空間Lに配置され、ワイヤーケーブルKの開扉用ケーブルK’は、センターガイドレールFの後方を経由してスライド扉BのセンターブラケットHに連結され、また、閉扉用ケーブルK”は、センターガイドレールFの前方を経由して、センターブラケットHに連結される。
前記動力スライド装置には、スライド扉Bがスライド移動するときに生じるワイヤーケーブルKの配設長の変動を吸収して、ワイヤーケーブルKのテンション圧を一定に保持するテンション機構が設けられる。ガイドレールD、Fの前側部分は室内側に向かって湾曲しており、ワイヤーケーブルKの配設長は、ブラケットG、Hが湾曲部分を通過するときに最も変化する。
前記テンション機構は、通常、動力ユニットJに設けられるが、ワイヤーケーブルのケーブルエンドが連結されるブラケットG、Hに設けられることもある。
実開平3−76982号公報 特開平9−273358号公報
前記テンション機構をブラケットG、Hに設けるときの課題は、ブラケットG、Hがガイドレールの長さ方向において長くなることであり、ブラケットG、Hが長くなると、ガイドレールの両端においてスライド扉Bが移動できないデッドスペースができる。換言すれば、デッドスペースの分だけガイドレールを長くしなければならない。
また、ブラケットG、Hが湾曲部分を通過するとき、ブラケットG、Hに設けたテンション機構のケースに対してワイヤーケーブルが屈曲する課題もある。ワイヤーケーブルが屈曲すると、ワイヤーケーブルに余計な抵抗が作用してテンション機構が初期の機能を奏せなくなると共にワイヤーケーブルが傷むことになる。
よって、本発明は、車体10に設けたガイドレールにスライド自在に取付けたスライド扉11と、モータ動力で回転するワイヤードラム26を備えた動力ユニット20と、前記スライド扉11と前記動力ユニット20とを連結するワイヤーケーブル25とからなり、前記ワイヤードラム26を回転させることで前記ワイヤーケーブル25を介して前記スライド扉11を開扉方向及び閉扉方向にスライドさせる車両スライド扉の動力スライド装置において、前記スライド扉11には前記ガイドレールにスライド自在に係合するブラケットを設け、前記動力ユニット20は前記車体10に取付け、前記ガイドレールの後部近傍には第1反転プーリー45を前部近傍には第2反転プーリー49をそれぞれ設け、前記ワイヤーケーブル25の開扉用ケーブル25’は前記動力ユニット20から後方に伸びた後前記第1反転プーリー45を経由して前方に戻してその先端は第1テンション部52に連結し、前記ワイヤーケーブル25の閉扉用ケーブル25”は前記動力ユニット20から前方に伸びた後前記第2反転プーリー49を経由して後方に戻してその先端は第2テンション部53に連結し、前記第1テンション部52と前記第2テンション部53とは互いに重なり合うように前記ブラケットに取付けた車両スライド扉用動力スライド装置のテンション機構としたものである。
請求項1に掛かる発明では、第1テンション部52と第2テンション部53とは互いに重なり合うように前記ブラケットに取付けてあるため、テンション機構のガイドレールの長さ方向における長さを抑えることができ、従来のようなガイドレールの両端においてスライド扉Bが移動できないデッドスペースの発生を抑制できる。
また、請求項2に掛かる発明では、第1テンション部52と第2テンション部53は、ブラケットに設けたピン55、56を中心に揺動するため、ブラケットがガイドレールの湾曲部分を通過するとは、ワイヤーケーブル25の吊節方向に揺動する。このため、テンション部52、53に対してワイヤーケーブル25が屈曲することが防止され、ワイヤーケーブル25に余計な抵抗が作用したり、ワイヤーケーブル25が傷むことが抑制される。
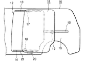
図1には、スライド扉11を備えた典型的な車体10の側面を示す。車体10の側面には、スライド扉11により閉塞されうるドア開口12が設けられ、ドア開口12の上部近傍の車体10にはアッパーガイドレール13が固定され、ドア開口12の下部近傍の車体10にはロワーガイドレール14が固定され、車体10の後部側面であるクオータパネル16にはセンターガイドレール15が固定される。スライド扉11には、アッパーガイドレール13にスライド自在に係合するアッパーブラケット17と、ロワーガイドレール14にスライド自在に係合するロワーブラケット18と、センターガイドレール15にスライド自在に係合するセンターブラケット19とが設けられる。各ブラケット17、18、19は、好適にはスライド扉11に揺動自在に軸止され、これらのブラケットとレールとの係合によりスライド扉11は車体10に開扉方向及び閉扉方向にスライド自在に取付けられる。本発明による動力スライド装置の動力ユニット20は、ドア開口12の床体21に取付けられる(クオータパネル16の室内側空間に配置してもよい)。
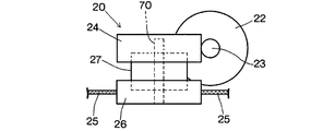
前記動力ユニット20は、図6のように、モータ22と、モータ22の出力軸に固定された円筒ウオーム23と、円筒ウオーム23に噛合するウオームホイール24と、ワイヤーケーブル25の巻取り繰出しを行うワイヤードラム26と、ウオームホイール24とワイヤードラム26との間に設けられるクラッチ機構27とから構成される。
前記ロワーガイドレール14にスライド自在に係合させる前記ロワーブラケット18は、図3のように、スライド扉11に固定されたドアステイ28と、ドアステイ28に縦軸29で軸止されたローラープレート30とを備える。ローラープレート30には、図3、4のように、上部ローラー31が縦ローラー軸32により軸止され、また、下部ローラー33が横ローラー軸34により軸止される。
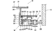
図2はドア開口12近傍の床体21と、床体21に固定される前記ロワーガイドレール14のL型プレート35とが示されている。L型プレート35の縦板部36の上部はボルト締付け又は溶接等により床体21の室内床面を構成するフロアーパネル37に固定される。縦板部36の上下の中程には、フロアーパネル37に対して階段状に一段下がった水平のステップパネル38が固定され、ステップパネル38の下面には、前記上部ローラー31がスライド自在に係合する上部ローラーガイド39が固定される。上部ローラーガイド39は、前記ロワーガイドレール14の一部を構成する。
前記縦板部36の下部側はケーブルガイド面40に形成する。ケーブルガイド面40は上方視において上部ローラーガイド39と同様の形状を呈していて、前側部分には室内側に屈曲した湾曲部分41が形成され、その後方は略直線上に伸びる形状である。縦板部36の下部には、ステップパネル38に対して平行で所定間隔を置いた水平の支持面42が連設され、前記下部ローラー33は支持面42上を転動する。
図2のように、前記動力ユニット20は、好適には、前記ステップパネル38上に、乗降の邪魔にならないように前後の一側に載置するか、ステップパネル38に凹部を形成して邪魔にならないように収納させる。動力ユニット20のハウジングケース43には第1プーリーケース44が一体的又は別体として設けられる。第1プーリーケース44の先端には、第1反転プーリー45が第1横プーリー軸46により軸止される。第1プーリーケース44の先端下部は、ステップパネル38の第1開口部47を介してステップパネル38より下方に突出させる。
前記第1プーリーケース44と対をなす第2プーリーケース48は、ステップパネル38の前後の他側に配置され、第2プーリーケース48内には、第2反転プーリー49が第2横プーリー軸50により軸止される。第2プーリーケース48の下部は、ステップパネル38の第2開口部51を介してステップパネル38より下方に突出させる。
前記ワイヤーケーブル25は、ワイヤードラム26により巻き取られるとスライド扉11を開扉方向に引っ張る開扉用ケーブル25’と、ワイヤードラム26により巻き取られるとスライド扉11を閉扉方向に引っ張る閉扉用ケーブル25”とから構成される。開扉用ケーブル25’は前記動力ユニット20から後方に伸びた後、前記第1反転プーリー45を経由して前記ステップパネル38の下方で前方に戻され、閉扉用ケーブル25”は前記動力ユニット20から前方に伸びた後、前記第2反転プーリー49を経由して前記ステップパネル38の下方で後方に戻され、ワイヤーケーブル25は側方視において全体として環状を呈する。
前記開扉用ケーブル25’の先端は第1テンション部52に連結され、閉扉用ケーブル25”の先端は第2テンション部53に連結される。第1及び第2テンション部52、53の先端には、テンションプレート54に植設した第1及び第2ピン55、56に係止される第1及び第2係止部57、58が設けられる。テンションプレート54に取付ける前のテンション部52、53は、図2のように、前記ステップパネル38に形成したサービスホール59を介して上方に取出して置き、サービスホール59の前後に連設させた第1及び第2仮止め溝60、61に引っ掛けておく。仮止め溝60、61は、好適には、ワイヤーケーブル25の移動方向に長い溝であり、その幅はワイヤーケーブル25よりは広いがテンション部52、53よりは狭いものとなる。
前記テンションプレート54は、前記サービスホール59を通過できる大きさに形成される。仮止め溝60、61に仮止めしたテンション部52、53は、ステップパネル38の上方の広い空間でテンションプレート54に取付けた後、サービスホール59を介してテンションプレート54と共にステップパネル38の下方に戻され、その後、テンションプレート54は、ボルト62とナット63で前記ローラープレート30に取付けられる。
前記テンション部52、53は同一構成で、そのテンションケース64はワイヤーケーブル25の配設方向に伸びる細長い円筒形に形成され、内部にはワイヤーケーブル25のケーブルエンド65に当接するテンションバネ66が設けられる。前記係止部57、58は、テンションケース64の開口端部に螺合するケースキャップ67に設けられる。螺子式のケースキャップ67は、回転させると、テンションバネ66を圧縮させながら容易にテンションケース64に取付けられる。
前記テンションプレート54の前記第1ピン55は、テンションプレート54の前側に配置し、前記第2ピン56はテンションプレート54の後側に配置して、テンションプレート54に取付けられる第1テンション部52と第2テンション部53とは、上下方向において互いに重なり合うようにする。
図2のように、ワイヤーケーブル25のうち、前記ステップパネル38の上面に配設される部分には、弾性ケーブルシース(ケーブルアウター)68が設けられ、これにより、動力ユニット20と第2プーリーケース48との間のワイヤーケーブル25を、テンション圧に影響を与えることなく自由に配索できる。ケーブルシース68は、図3のように、ステップパネル38に形成した長い凹部69内に収納し、ステップパネル38の上面の平坦化を図っている。
前記動力ユニット20のワイヤードラム26は、縦のドラム軸70を中心に回転し、ステップパネル38に対して最近接配置させる。これにより、第1反転プーリー45からワイヤードラム26に至るワイヤーケーブル25と、ワイヤードラム26のドラム軸70とを直角に近い角度に維持できる。
71は樹脂製のステップカバーである。
(作用)
まず、ステップパネル38に第1プーリーケース44を備えた動力ユニット20及び第2プーリーケース48を取付ける。このとき、第2プーリーケース48は長い第2開口部の動力ユニット20寄りに仮止めしておく。次に、ワイヤーケーブル25の先端に取付けたテンション部52、53をステップパネル38のサービスホール59を介してステップパネル38の上方に出して仮止め溝60、61に係止させる。
次に、仮止め溝60、61に仮止めしたテンション部52、53を、ステップパネル38の上方の広い空間で、ローラープレート30(ロワーブラケット18)に固定する前の単体のテンションプレート54に取付け、テンションプレート54及びテンション部52、53をサービスホール59を介してステップパネル38の下方に戻し、テンションプレート54をスライド扉11のドアステイ28に軸止されたローラープレート30にボルト62とナット63で固定する。
この間、第2プーリーケース48は長い第2開口部51の動力ユニット20寄りに仮止めしてあるため、ワイヤーケーブル25は弛んでいて取付は容易となる。また、サービスホール59を介してテンションプレート54をローラープレート30に固定するから、ステップパネル38とその下部のロワーガイドレール14(支持面42)との間が狭くても、テンションプレート54をローラープレート30に固定する作業は容易に行える。
テンションプレート54をローラープレート30に固定したら、仮止めしていた第2プーリーケース48を第2開口部51の反動力ユニット20側に引っ張って、ワイヤーケーブル25に適切な初期テンションを与えてから、第2プーリーケース48をステップパネル38に本固定する。
このように構成された本願の動力スライド装置では、第1テンション部52と第2テンション部53とは互いに重なり合うようにテンションプレート54に取付けてあるため、テンション機構のガイドレールの長さ方向における長さは実質的に1個のテンション部の長さに抑えることができ、このため、テンション機構の長さ及びテンション機構が取付けられるテンションプレート54の長さは短くなって、ロワーガイドレール14の端から端まで最大限移動できる。
また、ステップパネル38より下方に配設されたワイヤーケーブル25は、上部ローラーガイド39と同様の形状を備えたL型プレート35のケーブルガイド面40に沿って移動するが、第1テンション部52と第2テンション部53は、テンションプレート54に設けたピン55、56を中心に揺動するため、テンションプレート54がロワーガイドレール14の前側の湾曲部分41を通過するときは、テンション部52、53はワイヤーケーブル25の吊節方向に揺動し、このため、テンション部52、53に対してワイヤーケーブル25が屈曲することが防止される。
本願においては、ステップパネル38の前後両側に設けられた第1反転プーリー45と第2反転プーリー49は、横プーリー軸46、50を中心に回転する構造で、ワイヤーケーブル25は、ステップパネル38を上下から挟むように配置されている。このように配置すると、ワイヤーケーブル25を配設するのに必要な車両の幅方向のスペースが少なってステップパネル38の横幅を小さくでき、もって、フロアーパネル37の下方空間(ドライブシャフトや、ガソリンタンクや、エアコンダクト等の車両部品が配置される場所)への影響が抑えられる。
ステップパネル38にステップカバー71を取付けると、第1プーリーケース44を備えた動力ユニット20や、第2プーリーケース48や、サービスホール59や、ケーブルシース68は隠され、また、動力ユニット20及び第2プーリーケース48は、ステップパネル38の前後の端部に配置されており、ケーブルシース68は凹部69に埋設されているため、ステップパネル38にはステップカバー71が取付けられた美麗な広いステップ面を確保できる。
スライド扉を備えた車両の側面図。 車両の乗降部分の床体とロワーガイドレールを示す分解斜視図。 車両の乗降部分の床体とロワーガイドレールの断面図。 ローラープレートとテンションプレートとテンション部の分解斜視図。 テンション部の断面図。 動力ユニットの概略構成図。 ロワーガイドレールを利用した従来の動力スライド装置の概略構成図。 センターガイドレールを利用した従来の動力スライド装置の概略構成図。
符号の説明
10…車体、11…スライド扉、12…ドア開口、13…アッパーガイドレール、14…ロワーガイドレール、15…センターガイドレール、16…クオータパネル、17…アッパーブラケット、18…ロワーブラケット、19…センターブラケット、20…動力ユニット、21…床体、22…モータ、23…円筒ウオーム、24…ウオームホイール、25…ワイヤーケーブル、25’…開扉用ケーブル、25”…閉扉用ケーブル、26…ワイヤードラム、27…クラッチ機構、28…ドアステイ、29…縦軸、30…ローラープレート、31…上部ローラー、32…縦ローラー軸、33…下部ローラー、34…縦ローラー軸、35…L型プレート、36…縦板部、37…フロアーパネル、38…ステップパネル、39…上部ローラーガイド、40…ケーブルガイド面、41…湾曲部分、42…支持面、43…ハウジングケース、44…第1プーリーケース、45…第1反転プーリー、46…第1横プーリー軸、47…第1開口部、48…第2プーリーケース、49…第2反転プーリー、50…第2横プーリー軸、51…第2開口部、52…第1テンション部、53…第2テンション部、54…テンションプレート、55…第1ピン、56…第2ピン、57…第1係止部、58…第2係止部、59…サービスホール、60…第1仮止め溝、61…第2仮止め溝、62…ボルト、63…ナット、64…テンションケース、65…ケーブルエンド、66…テンションバネ、67…ケースキャップ、68…ケーブルシース、69…凹部、70…ドラム軸、71…ステップカバー。

Claims (2)

  1. 車体10に設けたガイドレールにスライド自在に取付けたスライド扉11と、モータ動力で回転するワイヤードラム26を備えた動力ユニット20と、前記スライド扉11と前記動力ユニット20とを連結するワイヤーケーブル25とからなり、前記ワイヤードラム26を回転させることで前記ワイヤーケーブル25を介して前記スライド扉11を開扉方向及び閉扉方向にスライドさせる車両スライド扉の動力スライド装置において、前記スライド扉11には前記ガイドレールにスライド自在に係合するブラケットを設け、前記動力ユニット20は前記車体10に取付け、前記ガイドレールの後部近傍には第1反転プーリー45を前部近傍には第2反転プーリー49をそれぞれ設け、前記ワイヤーケーブル25の開扉用ケーブル25’は前記動力ユニット20から後方に伸びた後前記第1反転プーリー45を経由して前方に戻してその先端は第1テンション部52に連結し、前記ワイヤーケーブル25の閉扉用ケーブル25”は前記動力ユニット20から前方に伸びた後前記第2反転プーリー49を経由して後方に戻してその先端は第2テンション部53に連結し、前記第1テンション部52と前記第2テンション部53とは互いに重なり合うように前記ブラケットに取付けた車両スライド扉用動力スライド装置のテンション機構。
  2. 請求項1において、前記ブラケットの前側には第1ピン55を後側には第2ピン56をそれぞれ設け、前記第1テンション部52の前側を前記第1ピン55に回転自在に軸止し、前記第2テンション部53の後側を前記第2ピン56に回転自在に軸止した車両スライド扉用動力スライド装置のテンション機構。
JP2004103698A 2004-03-31 2004-03-31 車両スライド扉用動力スライド装置のテンション機構 Expired - Fee Related JP4181079B2 (ja)

Priority Applications (3)

Application Number Priority Date Filing Date Title
JP2004103698A JP4181079B2 (ja) 2004-03-31 2004-03-31 車両スライド扉用動力スライド装置のテンション機構
US11/094,472 US7159930B2 (en) 2004-03-31 2005-03-31 Power slide device for vehicle sliding door
US11/650,506 US7354100B2 (en) 2004-03-31 2007-01-08 Power slide device for vehicle sliding door

Applications Claiming Priority (1)

Application Number Priority Date Filing Date Title
JP2004103698A JP4181079B2 (ja) 2004-03-31 2004-03-31 車両スライド扉用動力スライド装置のテンション機構

Publications (3)

Publication Number Publication Date
JP2005290700A true JP2005290700A (ja) 2005-10-20
JP2005290700A5 JP2005290700A5 (ja) 2006-03-16
JP4181079B2 JP4181079B2 (ja) 2008-11-12

Family

ID=35323949

Family Applications (1)

Application Number Title Priority Date Filing Date
JP2004103698A Expired - Fee Related JP4181079B2 (ja) 2004-03-31 2004-03-31 車両スライド扉用動力スライド装置のテンション機構

Country Status (1)

Country Link
JP (1) JP4181079B2 (ja)

Cited By (2)

* Cited by examiner, † Cited by third party
Publication number Priority date Publication date Assignee Title
JP2008038403A (ja) * 2006-08-03 2008-02-21 Aisin Seiki Co Ltd 車両用パワースライドドア装置
JP2009235891A (ja) * 2008-03-26 2009-10-15 Arvinmeritor Light Vehicle Systems-France スライドドアキャリッジ、スライドドア駆動システム、車両、スライドドア駆動システムを搭載する方法

Families Citing this family (2)

* Cited by examiner, † Cited by third party
Publication number Priority date Publication date Assignee Title
JP5712952B2 (ja) 2012-03-01 2015-05-07 アイシン精機株式会社 車両用ドア開閉装置
JP2015224531A (ja) * 2014-05-30 2015-12-14 アイシン精機株式会社 ガイドローラユニット及び車両用スライドドア装置

Cited By (2)

* Cited by examiner, † Cited by third party
Publication number Priority date Publication date Assignee Title
JP2008038403A (ja) * 2006-08-03 2008-02-21 Aisin Seiki Co Ltd 車両用パワースライドドア装置
JP2009235891A (ja) * 2008-03-26 2009-10-15 Arvinmeritor Light Vehicle Systems-France スライドドアキャリッジ、スライドドア駆動システム、車両、スライドドア駆動システムを搭載する方法

Also Published As

Publication number Publication date
JP4181079B2 (ja) 2008-11-12

Similar Documents

Publication Publication Date Title
US7354100B2 (en) Power slide device for vehicle sliding door
JP5796238B2 (ja) 車両用ドアの開閉装置
CN105452032B (zh) 门开闭装置
WO2013129206A1 (ja) 車両用ドア開閉装置
JP4508228B2 (ja) スイングスライドドアの開閉装置
US6553719B1 (en) Door mounted power sliding door mechanism
ATE504464T1 (de) Öffnungs- und schliessvorrichtung für kraftfahrzeugschiebetüren
CN105492228A (zh) 门开闭装置
US20060284447A1 (en) Sliding door opening and closing device
JP4181079B2 (ja) 車両スライド扉用動力スライド装置のテンション機構
JP2006009350A (ja) 車両スライド扉用ローラーアームユニット
JP2002309851A (ja) 自動車のスライディングドア用の駆動装置
JP4492550B2 (ja) スイングスライドドアの配索構造
JP4034750B2 (ja) 動力スライド装置のワイヤーケーブルの連結構造および連結方法
JP6164654B2 (ja) スライド構造体用の給電構造
JP2012131457A (ja) スライドドア開閉装置
JP4183650B2 (ja) スライド扉用動力スライド装置
JP7077855B2 (ja) 車両用スライドドア装置
JP2008125252A (ja) スライド構造体用の給電装置
JP2012246618A (ja) 車両用ドア開閉装置及び車両用ドア開閉装置の製造方法
JP5796239B2 (ja) 車両用ドアの開閉装置
JP2009013669A (ja) ウインドレギュレータ
JP5001188B2 (ja) スライドドア
JP3995675B2 (ja) 車両スライド扉用ローラーアームユニット
JP2007278000A (ja) キャリアプレートおよびそれを備えたウインドレギュレータ

Legal Events

Date Code Title Description
A621 Written request for application examination

Free format text: JAPANESE INTERMEDIATE CODE: A621

Effective date: 20051121

A521 Request for written amendment filed

Free format text: JAPANESE INTERMEDIATE CODE: A523

Effective date: 20060127

A711 Notification of change in applicant

Free format text: JAPANESE INTERMEDIATE CODE: A711

Effective date: 20061227

A521 Request for written amendment filed

Free format text: JAPANESE INTERMEDIATE CODE: A821

Effective date: 20061227

A521 Request for written amendment filed

Free format text: JAPANESE INTERMEDIATE CODE: A523

Effective date: 20070625

A521 Request for written amendment filed

Free format text: JAPANESE INTERMEDIATE CODE: A821

Effective date: 20070625

A977 Report on retrieval

Free format text: JAPANESE INTERMEDIATE CODE: A971007

Effective date: 20071004

A131 Notification of reasons for refusal

Free format text: JAPANESE INTERMEDIATE CODE: A131

Effective date: 20071016

A521 Request for written amendment filed

Free format text: JAPANESE INTERMEDIATE CODE: A523

Effective date: 20071120

TRDD Decision of grant or rejection written
A01 Written decision to grant a patent or to grant a registration (utility model)

Free format text: JAPANESE INTERMEDIATE CODE: A01

Effective date: 20080819

A01 Written decision to grant a patent or to grant a registration (utility model)

Free format text: JAPANESE INTERMEDIATE CODE: A01

A61 First payment of annual fees (during grant procedure)

Free format text: JAPANESE INTERMEDIATE CODE: A61

Effective date: 20080828

R150 Certificate of patent or registration of utility model

Ref document number: 4181079

Country of ref document: JP

Free format text: JAPANESE INTERMEDIATE CODE: R150

Free format text: JAPANESE INTERMEDIATE CODE: R150

FPAY Renewal fee payment (event date is renewal date of database)

Free format text: PAYMENT UNTIL: 20110905

Year of fee payment: 3

S111 Request for change of ownership or part of ownership

Free format text: JAPANESE INTERMEDIATE CODE: R313117

FPAY Renewal fee payment (event date is renewal date of database)

Free format text: PAYMENT UNTIL: 20110905

Year of fee payment: 3

R350 Written notification of registration of transfer

Free format text: JAPANESE INTERMEDIATE CODE: R350

FPAY Renewal fee payment (event date is renewal date of database)

Free format text: PAYMENT UNTIL: 20120905

Year of fee payment: 4

FPAY Renewal fee payment (event date is renewal date of database)

Free format text: PAYMENT UNTIL: 20130905

Year of fee payment: 5

R250 Receipt of annual fees

Free format text: JAPANESE INTERMEDIATE CODE: R250

FPAY Renewal fee payment (event date is renewal date of database)

Free format text: PAYMENT UNTIL: 20140905

Year of fee payment: 6

R250 Receipt of annual fees

Free format text: JAPANESE INTERMEDIATE CODE: R250

R250 Receipt of annual fees

Free format text: JAPANESE INTERMEDIATE CODE: R250

R250 Receipt of annual fees

Free format text: JAPANESE INTERMEDIATE CODE: R250

R250 Receipt of annual fees

Free format text: JAPANESE INTERMEDIATE CODE: R250

R250 Receipt of annual fees

Free format text: JAPANESE INTERMEDIATE CODE: R250

R250 Receipt of annual fees

Free format text: JAPANESE INTERMEDIATE CODE: R250

R250 Receipt of annual fees

Free format text: JAPANESE INTERMEDIATE CODE: R250

R250 Receipt of annual fees

Free format text: JAPANESE INTERMEDIATE CODE: R250

R250 Receipt of annual fees

Free format text: JAPANESE INTERMEDIATE CODE: R250

R250 Receipt of annual fees

Free format text: JAPANESE INTERMEDIATE CODE: R250

LAPS Cancellation because of no payment of annual fees