JP2005231663A - キャリアテープの製造装置及び製造方法 - Google Patents
キャリアテープの製造装置及び製造方法 Download PDFInfo
- Publication number
- JP2005231663A JP2005231663A JP2004042648A JP2004042648A JP2005231663A JP 2005231663 A JP2005231663 A JP 2005231663A JP 2004042648 A JP2004042648 A JP 2004042648A JP 2004042648 A JP2004042648 A JP 2004042648A JP 2005231663 A JP2005231663 A JP 2005231663A
- Authority
- JP
- Japan
- Prior art keywords
- tape
- carrier tape
- die
- tape manufacturing
- carrier
- Prior art date
- Legal status (The legal status is an assumption and is not a legal conclusion. Google has not performed a legal analysis and makes no representation as to the accuracy of the status listed.)
- Pending
Links
- 238000004519 manufacturing process Methods 0.000 title claims abstract description 18
- 238000000465 moulding Methods 0.000 claims abstract description 9
- 238000000034 method Methods 0.000 abstract description 10
- 238000005452 bending Methods 0.000 abstract 1
- 238000003860 storage Methods 0.000 description 6
- 238000004049 embossing Methods 0.000 description 3
- 238000010586 diagram Methods 0.000 description 2
- 239000003990 capacitor Substances 0.000 description 1
- 230000000052 comparative effect Effects 0.000 description 1
- 239000012050 conventional carrier Substances 0.000 description 1
- 230000000694 effects Effects 0.000 description 1
- 238000009434 installation Methods 0.000 description 1
- 239000002184 metal Substances 0.000 description 1
- 238000007493 shaping process Methods 0.000 description 1
- 229920001169 thermoplastic Polymers 0.000 description 1
- 239000004416 thermosoftening plastic Substances 0.000 description 1
- 238000004804 winding Methods 0.000 description 1
Images
Landscapes
- Containers And Plastic Fillers For Packaging (AREA)
- Blow-Moulding Or Thermoforming Of Plastics Or The Like (AREA)
Abstract
【課題】
離型をよくするために、テープ受けを設けた成形機を使って、複雑な形状のキャリアテープが製造できる装置及び方法を提供すること。
【解決手段】
運送途中の小型電子部品リード曲がり等の不具合を無くすため、小型電子部品の形状に沿ったデザインのキャリアテープの製造が可能となるように、テープと金型の離型を補助するテープ受けを、テープの流れ方向に対し平行に、少なくとも1つ成形金型の上型に設けたことを特徴としたキャリアテープの製造装置及び製造方法。
【選択図】【図6】
離型をよくするために、テープ受けを設けた成形機を使って、複雑な形状のキャリアテープが製造できる装置及び方法を提供すること。
【解決手段】
運送途中の小型電子部品リード曲がり等の不具合を無くすため、小型電子部品の形状に沿ったデザインのキャリアテープの製造が可能となるように、テープと金型の離型を補助するテープ受けを、テープの流れ方向に対し平行に、少なくとも1つ成形金型の上型に設けたことを特徴としたキャリアテープの製造装置及び製造方法。
【選択図】【図6】
Description
本発明は、小型電子部品などを収納するポケットをエンボス成形によりテープ長手方法に連続的に設けたキャリアテープの製造装置及び製造方法に関する。
キャリアテープはIC、トランジスタ、ダイオード、コンデンサなどの表面実装用小型電子部品を電子機器の自動組立ラインに供給するために、小型電子部品を長尺なテープに設けられた収納ボックスに1個ずつ収納できるようにしたものであって、収納ポケットそれぞれに同じ小型電子部品を収納配置してなるこのキャリアテープを実装機械へ巡回させ、所定位置で前記小型部品を取り出して電子回路基板へ表面実装する自動実装が行えるようにしている。この種のキャリアテープの製造方法としては広幅の熱可塑性樹脂製テープを成形機に間欠的に供給し、予熱工程で所定の温度に加熱し、エンボス成形によって収納ボックスを成形し、スプロケット孔を穿孔し、所定の幅にスリットして巻き取る方法が取られており、特許文献1及び2などに提案されている。
ところで、エンボス成形によって収納ボックスを成形する工程においては、収納ボックスの形状が複雑であった場合に、成形した収納ボックスが成形金型から離型できず潰れが生じる。また、離型が悪いとその部分のテープに弛みが生じテープ送りの際、所定の距離を送れずテープ長手方向の寸法が規格外れとなる問題があった。
特開2002−128018号公報
特開2002−127241号公報
本発明は、このような従来のキャリアテープの欠点を解決するためになされたもので、その目的とするところは、離型をよくすることにより、複雑なデザインのキャリアテープを規格どおりに成形できる製造装置及び製造方法を提供するものである。
本発明は、
(1)キャリアテープの成形機において、成形金型の上型にテープ流れ方向に対し平行に、少なくとも片側にテープ受けを設けたことを特徴とするキャリアテープの製造装置、
(2)(1)項記載の製造装置で製造されるキャリアテープの製造方法、
である。
(1)キャリアテープの成形機において、成形金型の上型にテープ流れ方向に対し平行に、少なくとも片側にテープ受けを設けたことを特徴とするキャリアテープの製造装置、
(2)(1)項記載の製造装置で製造されるキャリアテープの製造方法、
である。
本発明の方法に従うと、複雑な形状の成形が可能となり、小型電子部品の形状に沿ったデザインのキャリアテープの製造装置及び製造方法を提供することができる。
本発明を実施の形態に基づいて図1〜図6に沿って詳細に説明する。
図1は、従来の成形方式を示した模式図であり、図2、図3、図4は図1のA−A、B−B、C−C各部の断面図である。入り口テープガイド1と出口テープガイド2でテープ6が下方に行かないよう保持している。予熱工程で所定の温度に加熱したテープ6が上型3と下型4の間に間欠的に送られた後、下型4が上昇し、テープ6をクランプして上型3より0.1〜0.5MPaの圧縮空気を供給し、テープ6を下型4に沿って成形する。その後、下型4が下降し成形したテープ6と下型4の引き離しを行う。このとき、ポケット形状が多面で複雑な形状の場合、引き離しができず、下型4にテープ6が引っ張られ、上型3と下型4の中間でテープに弛みが生じ、次にテープ6を間欠で送った際、ストロークが安定せず、長手方向の寸法が規格外となる。
図1は、従来の成形方式を示した模式図であり、図2、図3、図4は図1のA−A、B−B、C−C各部の断面図である。入り口テープガイド1と出口テープガイド2でテープ6が下方に行かないよう保持している。予熱工程で所定の温度に加熱したテープ6が上型3と下型4の間に間欠的に送られた後、下型4が上昇し、テープ6をクランプして上型3より0.1〜0.5MPaの圧縮空気を供給し、テープ6を下型4に沿って成形する。その後、下型4が下降し成形したテープ6と下型4の引き離しを行う。このとき、ポケット形状が多面で複雑な形状の場合、引き離しができず、下型4にテープ6が引っ張られ、上型3と下型4の中間でテープに弛みが生じ、次にテープ6を間欠で送った際、ストロークが安定せず、長手方向の寸法が規格外となる。
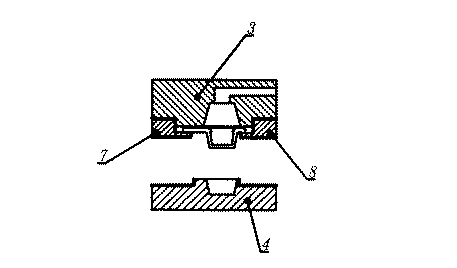
図5、6は本発明のひとつの実施例を示すものである。
テープ流れ方向に対し両側に、テープ受け7,8を設けたものである。テープ受け7,8は上型3に固定し図6のように、コの字状の隙間にテープ6を通すことにより、成形後下型4とテープ6の離型を補助する。
このコの字状の隙間は、テープ厚み0.2〜0.4mmに対し、0.3〜0.6mmが好ましく、あまり隙間が大きすぎてもテープが外れてしまい、効果がない。
また、テープを受ける寸法としては、テープ端面より内側に大きく受けた方が効果あるが、テープの規格幅及びポケット寸法の関係で0.5〜2.0mmが原料のロスも少なく好ましい。
また、片側のみに設置することもでき、設置方向はキャリアテープのスプロケット孔側がテープ端面からポケットまでの距離があり、上型3及び下型4を加工し易い。
テープ流れ方向に対し両側に、テープ受け7,8を設けたものである。テープ受け7,8は上型3に固定し図6のように、コの字状の隙間にテープ6を通すことにより、成形後下型4とテープ6の離型を補助する。
このコの字状の隙間は、テープ厚み0.2〜0.4mmに対し、0.3〜0.6mmが好ましく、あまり隙間が大きすぎてもテープが外れてしまい、効果がない。
また、テープを受ける寸法としては、テープ端面より内側に大きく受けた方が効果あるが、テープの規格幅及びポケット寸法の関係で0.5〜2.0mmが原料のロスも少なく好ましい。
また、片側のみに設置することもでき、設置方向はキャリアテープのスプロケット孔側がテープ端面からポケットまでの距離があり、上型3及び下型4を加工し易い。
<実施例1〜2及び比較例1>
図7、8のキャリアテープ形状での、図6に示した本発明のテープ受け7,8の有無による成形結果を表1にまとめた。ここで、テープ厚みは0.3mm、コの字状隙間0.5mm、テープ受け7の長さ2.0mm、テープ受け8の長さ1.2mmであった。
表1中の記号は下記のような結果を示した。
×:離型できずテープ詰まりが発生
○:離型が良好でテープ送りもスムーズ
図7、8のキャリアテープ形状での、図6に示した本発明のテープ受け7,8の有無による成形結果を表1にまとめた。ここで、テープ厚みは0.3mm、コの字状隙間0.5mm、テープ受け7の長さ2.0mm、テープ受け8の長さ1.2mmであった。
表1中の記号は下記のような結果を示した。
×:離型できずテープ詰まりが発生
○:離型が良好でテープ送りもスムーズ
本発明によると複雑な形状の成形が可能となり、小型電子部品の形状に沿ったデザインのキャリアテープを供給することができ、ついては、小型電子部品を挿入後、運送途中で発生しているリード曲がり等のトラブルを無くすことができる。
1 入り口テープガイド
2 出口テープガイド
3 上型
4 下型
5 予熱ヒーター
6 テープ
7 テープ受け
8 テープ受け
2 出口テープガイド
3 上型
4 下型
5 予熱ヒーター
6 テープ
7 テープ受け
8 テープ受け
Claims (2)
- キャリアテープの成形機において、成形金型の上型にテープ流れ方向に対し平行に、少なくとも片側にテープ受けを設けたことを特徴とするキャリアテープの製造装置。
- 請求項1記載の製造装置で製造されるキャリアテープの製造方法。
Priority Applications (1)
| Application Number | Priority Date | Filing Date | Title |
|---|---|---|---|
| JP2004042648A JP2005231663A (ja) | 2004-02-19 | 2004-02-19 | キャリアテープの製造装置及び製造方法 |
Applications Claiming Priority (1)
| Application Number | Priority Date | Filing Date | Title |
|---|---|---|---|
| JP2004042648A JP2005231663A (ja) | 2004-02-19 | 2004-02-19 | キャリアテープの製造装置及び製造方法 |
Publications (1)
| Publication Number | Publication Date |
|---|---|
| JP2005231663A true JP2005231663A (ja) | 2005-09-02 |
Family
ID=35015032
Family Applications (1)
| Application Number | Title | Priority Date | Filing Date |
|---|---|---|---|
| JP2004042648A Pending JP2005231663A (ja) | 2004-02-19 | 2004-02-19 | キャリアテープの製造装置及び製造方法 |
Country Status (1)
| Country | Link |
|---|---|
| JP (1) | JP2005231663A (ja) |
Citations (3)
| Publication number | Priority date | Publication date | Assignee | Title |
|---|---|---|---|---|
| JPH04239415A (ja) * | 1991-01-09 | 1992-08-27 | Dainippon Printing Co Ltd | シートガイド装置 |
| JP2000128128A (ja) * | 1998-10-30 | 2000-05-09 | Shin Etsu Polymer Co Ltd | エンボスキャリアテープ成形装置 |
| JP2003170913A (ja) * | 2001-12-06 | 2003-06-17 | Ckd Corp | ポケット部形成装置及びブリスターパックの製造装置 |
-
2004
- 2004-02-19 JP JP2004042648A patent/JP2005231663A/ja active Pending
Patent Citations (3)
| Publication number | Priority date | Publication date | Assignee | Title |
|---|---|---|---|---|
| JPH04239415A (ja) * | 1991-01-09 | 1992-08-27 | Dainippon Printing Co Ltd | シートガイド装置 |
| JP2000128128A (ja) * | 1998-10-30 | 2000-05-09 | Shin Etsu Polymer Co Ltd | エンボスキャリアテープ成形装置 |
| JP2003170913A (ja) * | 2001-12-06 | 2003-06-17 | Ckd Corp | ポケット部形成装置及びブリスターパックの製造装置 |
Similar Documents
| Publication | Publication Date | Title |
|---|---|---|
| CN105051405B (zh) | 转向节支架的制造装置以及制造方法 | |
| KR101937683B1 (ko) | 자동차용 브라켓의 제조시스템 | |
| JP2009137621A (ja) | キャリアテープ作製装置、部品挿入装置、及びテーピング装置 | |
| US7320772B2 (en) | System for embossing carrier tape and method for producing carrier tape | |
| JP2005231663A (ja) | キャリアテープの製造装置及び製造方法 | |
| KR101604069B1 (ko) | 다층 시트 부재용 프레스 가공 장치 | |
| JPS59202830A (ja) | 絵付用射出成形金型装置 | |
| JP2013227065A (ja) | 電子部品収納用キャリアテープ、電子部品収納用キャリアテープの製造方法、および包装体 | |
| JP2005255174A (ja) | キャリアテープの製造装置及び製造方法 | |
| JP2011136715A (ja) | キャリアテープの成形方法 | |
| CN206436318U (zh) | 一种模切件加工用多功能五金模具 | |
| JP6076194B2 (ja) | エンボスキャリアテープ及びその製造方法 | |
| KR20190061507A (ko) | 커넥터 제조용 사출장치 | |
| WO2019098364A1 (ja) | キャリアテープ及びキャリアテープの成形方法 | |
| JP2005123222A (ja) | クリップボンダ | |
| CN205414111U (zh) | 一种制造高电流传输连接器五金件产品的连续冲压模具 | |
| JPH08125096A (ja) | リードフレームとその製造方法および製造装置 | |
| CN112453169A (zh) | 一种分步冲压冲床 | |
| CN217252120U (zh) | 应用于谐振杆拉伸成型的连续冲压模 | |
| CN221754418U (zh) | 一种汽车外饰件加工模具 | |
| WO2004028782A1 (ja) | エンボスキャリアテープ成形機 | |
| JP2012140149A (ja) | キャリアテープ製造装置及びキャリアテープ製造方法 | |
| JP2003095211A (ja) | エンボスキャリアテープ、その製造方法及び製造装置 | |
| KR101549402B1 (ko) | 연속 프레스기 및 연속 프레스기의 판소재 가공 방법 | |
| JP2005035553A (ja) | キャリアテープの製造方法 |
Legal Events
| Date | Code | Title | Description |
|---|---|---|---|
| A621 | Written request for application examination |
Free format text: JAPANESE INTERMEDIATE CODE: A621 Effective date: 20070116 |
|
| A131 | Notification of reasons for refusal |
Free format text: JAPANESE INTERMEDIATE CODE: A131 Effective date: 20100223 |
|
| A02 | Decision of refusal |
Free format text: JAPANESE INTERMEDIATE CODE: A02 Effective date: 20100622 |
