JP2005073788A - 積み重ね椅子における肘掛け装置 - Google Patents

積み重ね椅子における肘掛け装置 Download PDF

Info

Publication number
JP2005073788A
JP2005073788A JP2003305378A JP2003305378A JP2005073788A JP 2005073788 A JP2005073788 A JP 2005073788A JP 2003305378 A JP2003305378 A JP 2003305378A JP 2003305378 A JP2003305378 A JP 2003305378A JP 2005073788 A JP2005073788 A JP 2005073788A
Authority
JP
Japan
Prior art keywords
armrest
pivot
holding member
elastic
stacking chair
Prior art date
Legal status (The legal status is an assumption and is not a legal conclusion. Google has not performed a legal analysis and makes no representation as to the accuracy of the status listed.)
Granted
Application number
JP2003305378A
Other languages
English (en)
Other versions
JP4256234B2 (ja
Inventor
Giancarlo Piretti
ジャンカルロ・ピレッティ
Yoshimichi Morino
芳通 森野
Current Assignee (The listed assignees may be inaccurate. Google has not performed a legal analysis and makes no representation or warranty as to the accuracy of the list.)
Okamura Corp
Original Assignee
Okamura Corp
Priority date (The priority date is an assumption and is not a legal conclusion. Google has not performed a legal analysis and makes no representation as to the accuracy of the date listed.)
Filing date
Publication date
Application filed by Okamura Corp filed Critical Okamura Corp
Priority to JP2003305378A priority Critical patent/JP4256234B2/ja
Publication of JP2005073788A publication Critical patent/JP2005073788A/ja
Application granted granted Critical
Publication of JP4256234B2 publication Critical patent/JP4256234B2/ja
Anticipated expiration legal-status Critical
Expired - Fee Related legal-status Critical Current

Links

Images

Landscapes

  • Chairs Characterized By Structure (AREA)

Abstract

【課題】 簡単な手段により、肘掛けを、水平の使用位置と垂直の不使用位置とに保持しうるようにする。
【解決手段】 座体の側方から起立する肘掛け支持杆7の上端に、前後方向を向いてほぼ水平をなす枢支杆15を設け、この枢支杆15に、前後方向を向く肘掛け13を、枢支杆15回りに回動自在に取付けるとともに、枢支杆15と肘掛け13との間に、それらの対向面を押圧しながら肘掛け13と共に回動することにより、肘掛け13の回動に抵抗力を付与し、肘掛け13を、ほぼ水平な使用位置とほぼ垂直な不使用位置に保持しうるようにした弾性保持部材11を挟入する。
【選択図】 図10

Description

本発明は、複数の椅子同士を積み重ねてスタッキングしうる積み重ね椅子における肘掛け装置に関する。
この種の積み重ね椅子の従来の肘掛け装置としては、座席の両側に立設した肘掛け枠の上部の水平枠杆に、肘掛けの側端を、水平をなす使用位置から、垂直をなす不使用位置までの間を回動しうるように設け、肘掛けを不使用位置とすることにより、複数の椅子同士を積み重ねてスタッキングしうるようにしたものがある(例えば特許文献1参照)。
特開平10−179318号公報(図1、図4等)
上記特許文献1に記載されている従来の肘掛け装置においては、不使用位置に回動させた肘掛けが、逆方向の使用位置に回動するのを防止する手段に、肘掛けの内面に突設された可撓性の係止片が用いられ、肘掛けを上向きに回動させた際、係止片が弾性変形しながら、水平枠杆に貫設した係止杆を乗り越えて反対側に位置することにより、肘掛けの逆方向への回動が防止されて垂直に保持されるようになっている。
そのため、長期間の使用により、肘掛けが使用位置と不使用位置とに繰り返し回動されると、係止片にへたりが生じたり、摩耗するなどし、肘掛けを不使用位置に安定して保持することができなくなる恐れがある。
また、従来の肘掛け装置では、肘掛けを水平枠杆に回動自在に嵌合し、水平枠杆に貫設した係止杆が、肘掛けの内面に設けたストッパと当接することにより、水平の使用位置に保持されるようになっているため、肘掛けを勢いよく回動させた際などに、耳障りな当接音が発生することがある。
本発明は、上記問題点に鑑みてなされたもので、簡単な手段により、肘掛けを、水平の使用位置と垂直の不使用位置とに安定して保持しうるようにするとともに、適度の抵抗力を付与して回動させることにより、耳障りな音の発生を防止しうるようにした、積み重ね椅子における肘掛け装置を提供することを目的としている。
本発明によると、上記課題は、次のようにして解決される。
(1)座体の側方から起立する肘掛け支持杆の上端に、前後方向を向いてほぼ水平をなす枢支杆を設け、この枢支杆に、前後方向を向く肘掛けを、枢支杆回りに回動自在に取付けるとともに、枢支杆と肘掛けとの間に、それらの対向面を押圧しながら肘掛けと共に回動することにより、肘掛けの回動に抵抗力を付与し、前記肘掛けを、ほぼ水平な使用位置とほぼ垂直な不使用位置に保持しうるようにした弾性保持部材を挟入する。
(2)上記(1)項において、肘掛けの下面に、枢支杆が収容される上向きの凹部を設け、この凹部内に弾性保持部材を設ける。
(3)上記(1)または(2)項において、弾性保持部材を、前後方向を向く基片と、その上面に突設された上下方向に弾性変形可能な複数の斜め上向きの弾性片とを有する平板状とするとともに、枢支杆の外周面の上面と外側面とに平削面を設け、前記基片が平削面まで移動して停止することにより、肘掛けを水平の使用位置と垂直の不使用位置とに保持するようにする。
(4)上記(3)項において、基片の上面の左右両側端に、上端が肘掛けの下面に当接可能な突条を設ける。
(5)上記(3)または(4)項において、複数の弾性片を、その傾斜方向が前後方向に沿って交互に反対向きとなるように設ける。
(6)上記(5)項において、同じ向きに並ぶ複数の弾性片同士を、互いに離間する左右方向にずらして設ける。
(7)上記(3)〜(6)項のいずれかにおいて、基片における各弾性片と対向する部分を開口する。
(8)上記(1)〜(7)項のいずれかにおいて、枢支杆の中心を、肘掛け支持杆の中心よりも外側方にずらす。
請求項1記載の発明によれば、弾性保持部材により、肘掛けを水平の使用位置と垂直の不使用位置とに安定して保持することができる。
また、肘掛けを回動する際、抵抗力が付与されているので、勢いよく回動しても耳障りな音を発生させる恐れがない。
請求項2記載の発明によれば、弾性保持部材を、肘掛けと共に、安定して回動させることができるとともに、弾性保持部材が外部に露出しないので、見栄えが向上する。
請求項3記載の発明によれば、弾性保持部材を薄くしうるので、枢支杆や肘掛けを設計する際の自由度が増すとともに、肘掛け装置全体を小型化することが可能となる。
また、枢支杆の上面と外側面に平削面を形成するだけで、肘掛けを、使用位置と不使用位置とに容易に停止させて保持することができる。
請求項4記載の発明によれば、弾性保持部材が一方の平削面から他方の平削面に移動する際に、基片も弾性変形するようになり、肘掛けを回動する際の抵抗力が大となるため、使用位置又は不使用位置にある肘掛けが外力により妄りに回動する恐れはなく、それらの位置に安定的に保持される。
請求項5記載の発明によれば、各弾性片がバランスよく肘掛けに圧接するので、弾性保持片が一方に傾くことはなく、安定した保持力が得られる。
請求項6記載の発明によれば、左右の弾性片の上端部間の寸法が大きくなるため、それらが肘掛けに安定して圧接し、弾性保持部材のぐら付きが防止される。
請求項7記載の発明によれば、弾性片を大きく弾性変形させうるので、肘掛けの保持力を大とすることができる。
請求項8記載の発明によれば、肘掛けを不使用位置に回動させた際に、その内側面が外方に偏倚し、左右の肘掛けの対向面間の寸法が大となるので、椅子同士を支障なく積み重ねてスタッキングすることができる。
以下、本発明の実施例を、図面に基づいて説明する。
図1は、本発明の椅子(1)の正面図、図2は、同じく平面図、図3は、同じく側面図で、左右1対の脚体(2)(2)と、座体(3)と、背凭れ(4)と、左右1対の肘掛け装置(5)(5)とを備えている。
左右の脚体(2)は、後傾(以下、図3の左方を前として説明する)状の前脚(2a)と前傾状の後脚(2b)とからなり、それらの上端には、それぞれ同じ傾斜の背凭れ支持杆(6)と肘掛け支持杆(7)とが一体的に連設されている。
前脚(2a)と背凭れ支持杆(6)、及び後脚(2b)と肘掛け支持杆(7)は、上下方向の中間部において、後脚(2b)及び肘掛け支持杆(7)が外方に位置するように、連結部材(8)により側面視X字状に結合されている。
前脚(2a)、背凭れ支持杆(6)、後脚(2b)及び肘掛け支持杆(7)は、概ね楕円形の断面形状をなす金属パイプにより一体的に形成されている。
上記背凭れ(4)は、左右の背凭れ支持杆(6)の対向面間に取付けられている。
左右の連結部材(8)の対向面同士は、左右方向を向く横杆(9)により連結されている。
上記座体(3)の後方寄りの下面の左右両側部は、横杆(9)のやや後方において、連結部材(8)の内側面に、左右方向を向く枢軸(図示略)により枢着され、枢軸の直前の下面が横杆(9)の上面に当接してほぼ水平に保持される使用位置と、上向きに回動して、座面が背凭れ(4)の前面に当接する不使用位置とに回動させうるようになっている。
上記左右の肘掛け装置(5)は、肘掛け支持杆(7)の上端に、次のようにして取付けられている。
図4に示すように、肘掛け装置(5)は(左右対称で同一構造であるため、左方のみ図示する)、肘当て取付部材(10)と、弾性保持部材(11)と、枢軸(12)と、肘掛け(13)とからなっている。
肘掛け取付部材(10)は、肘掛け支持杆(7)の上端部に圧嵌される斜め上方を向く基杆(14)と、その上端に後向き水平として連設された枢支杆(15)とからなり、全体がアルミニウム合金等により一体成形されている。
上記枢支杆(15)は、図5の平面図及び図6の後面図にも示すように、その軸線(L1)が、基杆(14)及び肘掛け支持杆(7)の前後方向の中心線(L2)の外側方において、それに対し、所要の角度(α)(例えば8°)だけ傾斜し、後部側が前部側よりも外側方となるように斜め前後方向に傾斜している。
すなわち、平面視において左右の枢支杆(15)同士がハの字状をなすように、後部側が外開きとなっている。
枢支杆(15)の中心には、枢軸(12)が相対回転可能として挿通される軸孔(16)が貫設され、また外周面の上面と外側面とには、平削面(17)(17)が、長手方向に全長に亘って形成されている。
上記弾性保持部材(11)は、図7及び図8の断面図にも示すように、前後寸法が枢支杆(15)のそれとほぼ等しく、左右の幅が枢支杆(15)の平削面(17)の幅より若干大とされ、かつ長手方向に沿って複数の切欠孔(18)が穿設された平板状の基板(19)における各切欠孔(18)内には、その左右の一方の内端から、やや上向きに傾斜して、切欠孔(18)の他方の内端の近傍まで延びる下向きに弾性変形可能な弾性片(20)が、交互に左右反対方向を向くように基板(19)と一体をなして設けられている。
弾性保持部材(11)全体は、ポリアセタールのような弾性変形可能な合成樹脂又はばね鋼などにより一体成形されている。ばね鋼を用いる際には、各弾性片(20)は、プレス又は切り起こし加工などにより一体的に形成することができる。
上記肘掛け(13)は、合成樹脂により、その前後寸法が肘掛け支持杆(7)の上端と背凭れ支持杆(6)の前面間の離間寸法とほぼ同等をなすように形成され(図3参照)、前端部の下面のやや外側方寄りには、図9〜図11に示すように、肘当て取付部材(10)の枢支杆(15)が余裕をもって、かつ前後方向への移動を規制して収容しうる上向きの凹部(21)が形成されている。なお、凹部(21)は、枢支杆(15)と同方向に傾斜させてある。
凹部(21)における枢支杆(15)の後端及び前端が当接する後壁面(22)と前壁面(23)には、それぞれ上記枢軸(12)の後端部と前端部を支持可能な支持孔(24)(24)が形成され、前部の支持孔(24)は、肘掛け(13)の前端中央部を貫通している。
肘掛け(13)における後部の支持孔(24)の直下の下面には、該支持孔(24)と連通する上下方向を向くめねじ孔(25)が穿設されており、このめねじ孔(25)には、図4に示すように、枢軸(12)の後端部を支持孔(24)に嵌合した際、その外周面の環状溝(26)に突入して枢軸(12)の抜け止めを図る止めねじ(27)が螺合される。
肘掛け装置(5)を脚体(2)に取付けるには、まず肘掛け取付部材(10)の基杆(14)を肘掛け支持杆(7)の上端部に圧嵌して取付けたのち、枢支杆(15)を、その上面の平削面(17)に弾性保持部材(11)を載置した状態で、肘掛け(13)の凹部(21)に挿入する。
ついで、肘掛け(13)の前部の支持孔(24)より挿入した枢軸(12)を、枢支杆(15)の軸孔(16)を貫通して、後端部を後部の支持孔(24)に嵌合する。
この際、肘掛け(13)を押圧し、その凹部(21)の下面と枢支杆(15)の上面との間に挟入された弾性保持部材(11)の各弾性片(20)を若干下方に弾性変形させるようにして、枢軸(12)を枢支杆(15)の軸孔(16)に嵌合し、肘掛け(13)に作用する上向きの付勢力の反力により、弾性保持部材(11)の基片(14)を枢支杆(15)の上面に圧接させる。
最後に、肘掛け(13)の下面のめねじ孔(25)に止めねじ(27)を螺合し、その先端を枢軸(12)の後端の環状溝(26)に突入させることにより、枢軸(12)を抜け止めする。
これにより、肘掛け(13)の前端部が、弾性保持部材(11)と共に枢支杆(15)回りに回動可能に支持され、かつ弾性保持部材(11)の基片(14)が枢支杆(15)の上面の平削面(17)に圧接しているときには、長手方向の広い領域で互いに面接触しているため、肘掛け(13)が妄りに回動する恐れはない。
図10と図11は、肘掛け(13)の回動前と回動後の断面図を示し、回動前において肘掛け(13)は、弾性保持部材(11)の基片(14)が枢支杆(15)の上面の平削面(17)と圧接しているため、水平の使用位置に保持されている。
肘掛け(13)が水平の使用状態にあるときには、その前端部裏面の切欠部(13a)が、肘掛け取付部材(10)における基杆(14)の上部に当接し、それ以上内向きに回動するのが阻止される。
また、この際、枢支杆(15)が収容される凹部(21)を、枢支杆(15)と同方向に傾斜させて形成しているため、左右の肘掛け(13)は、図2の実線で示すように、互いにほぼ平行をなして前後方向を向いている。
図10の使用位置から、肘掛け(13)を手で掴んで外向きに回転させると、図11に示すように、弾性保持部材(11)の基片(14)が枢支杆(15)の外周面に圧接しながら、枢支杆(15)の外側面の平削面(17)まで摺動することにより、肘掛け(13)は90°回転した位置で停止する。
(15a)は、肘掛け(13)の外方への最大回転量を規制するストッパ突部である。
この際、肘掛け(13)は、軸線を外側方に傾斜させた枢支杆(15)回りに回転するため、後部側程外側方に偏倚し、図2の2点鎖線に示すように、左右の肘掛け(13)の後部側が外開き状に拡開し、互いの対向面間の寸法が後部側程大となる。
その結果、図12に示すように、複数の椅子(1)を前後方向に重ねてネスティングする際において、前後の椅子(1)の肘掛け(13)の対向端同士が当接することはく、後方の肘掛け(13)の前半部が、前方の肘掛け(13)の後半部の内方に挿入されることにより、前後の椅子(1)同士を近接させてネスティングすることができる。
また、肘掛け(13)を外向きに90°回転させると、図1、図2及び図11に示すように、
肘掛け(13)の内側面は、後脚(2b)及びそれと一体をなす肘掛け支持杆(7)の内端よりも外方に位置するため、図13に示すように、椅子(1)を積み重ねてスタッキングする際に、上方の椅子における前脚(2a)はもとより、肘掛け支持杆(7)が肘掛け(13)の内側面に当接するのも防止することができる。
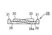
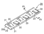
図14及び図15は、弾性保持部材の変形例を示すもので、板厚方向に弾性変形可能な合成樹脂又はばね鋼により形成された弾性保持部材(28)の基板(28a)には、複数の切欠孔(29)が、交互に左右方向にずらして穿設され、かつ各切欠孔(29)内には、その左右の一方の内端から、やや上向き円弧状に傾斜して、切欠孔(29)の他方の内端近傍まで延びる弾性片(30)が、交互に左右反対方向を向くように、基板(28a)と一体をなして設けられている。
また、基板(28a)の上面の左右両側端には、突条(31)(31)がほぼ全長に亘って突設されている。
各弾性片(30)の頂端は、突条(31)の上端とほぼ等高もしくは若干上方に位置するようにしてある。
上記弾性保持部材(28)を枢支杆(15)と肘掛け(13)との間に組付けるには、図16に示すように、弾性保持部材(28)の各弾性片(30)の上端を、肘掛け(13)の凹部(21)の下面と当接又は圧接させて若干下方に弾性変形させることにより、両突条(31)の上端を凹部(21)下面に、かつ基板(28a)の下面を枢支杆(15)の上面の平削面(17)に、それぞれ当接させる。
このような構造の弾性保持部材(28)を用いると、凹部(21)の下面に各弾性片(30)と左右の突条(31)とが広範に圧接するため、肘掛け(13)のぐら付きが防止される。
また、肘掛け(13)を左右いずれか一方に回転させようとすると、基板(28a)が、枢支杆(15)における上面と側面の平削面(17)間の外周面(凸面)又は、上面の平削面(17)の内方の外周面(凸面)を摺動する際に、基板(28a)の左右方向の中央部が、各弾性片(30)の付勢力に抗して外向きに撓もうとするため、肘掛け(13)を回転させるには比較的大きな力を要する。従って、肘掛け(13)は、水平の使用位置と垂直の不使用位置に安定的に保持される。
なお、上記のような突条(31)を、上述した弾性保持部材(11)の基片(14)の上面に設けてもよい。
また、上記弾性保持部材(11)の弾性片(20)を、図14に示す弾性保持部材(28)のように配列してもよい。
弾性片(20)(30)は、同方向に傾斜する左右いずれか一方の列のみとすることもある。
本発明は、肘掛け支持杆(7)がほぼ直立、もしくはやや前傾して立設されている椅子にも適用しうる。
この際には、肘掛け(13)の前後方向の中間部又は後端部を、上述のような傾斜させた枢支杆(15)を有する肘掛け取付部材(10)により回動自在に枢支すればよい。
本発明の肘掛け装置は、例えば大型の会議室等において多数使用される椅子に適用することにより、不使用時に肘掛けを上向きに回動させてスタッキングし、保管又は移動しうるため、室内を他の目的に使用することかできる。
本発明を適用した椅子の正面図である。 同じく、平面図である。 同じく、側面図である。 同じく、肘掛け装置の分解斜視図である。 同じく、肘掛け取付部材の平面図である。 同じく、肘掛け取付部材の後面図である。 図4のVII−VII線の拡大縦断側面図である。 同じく、図4のVIII−VIII線の拡大縦断後面図である。 肘掛けを下方より見た斜視図である。 図3のX−X線の拡大縦断後面図である。 同じく、肘掛けを不使用位置に回動したときの拡大縦断後面図である。 椅子同士をネスティングしたときの側面図である。 同じく、スタッキングしたときの側面図である。 弾性保持部材の変形例を示す斜視図である。 同じく、図14のXV−XV線の拡大縦断正面図である。 同じく、図14の弾性保持部材を取付けた状態の図10と同部位の拡大縦断後面図である。
符号の説明
(1)椅子
(2)脚体
(2a)前脚
(2b)後脚
(3)座体
(4)背凭れ
(5)肘掛け装置
(6)背凭れ支持杆
(7)肘掛け支持杆
(8)連結部材
(9)横杆
(10)肘掛け取付部材
(11)弾性保持部材
(12)枢軸
(13)肘掛け
(14)基杆
(15)枢支杆
(15a)ストッパ突部
(16)軸孔
(17)平削面
(18)切欠孔
(19)基板
(20)弾性片
(21)凹部
(22)後壁面
(23)前壁面
(24)支持孔
(25)めねじ孔
(26)環状溝
(27)止めねじ
(28)弾性保持部材
(28a)基板
(29)切欠孔
(30)弾性片
(31)突条

Claims (8)

  1. 座体の側方から起立する肘掛け支持杆の上端に、前後方向を向いてほぼ水平をなす枢支杆を設け、この枢支杆に、前後方向を向く肘掛けを、枢支杆回りに回動自在に取付けるとともに、枢支杆と肘掛けとの間に、それらの対向面を押圧しながら肘掛けと共に回動することにより、肘掛けの回動に抵抗力を付与し、前記肘掛けを、ほぼ水平な使用位置とほぼ垂直な不使用位置に保持しうるようにした弾性保持部材を挟入したことを特徴とする積み重ね椅子における肘掛け装置。
  2. 肘掛けの下面に、枢支杆が収容される上向きの凹部を設け、この凹部内に弾性保持部材を設けた請求項1記載の積み重ね椅子における肘掛け装置。
  3. 弾性保持部材を、前後方向を向く基片と、その上面に突設された上下方向に弾性変形可能な複数の斜め上向きの弾性片とを有する平板状とするとともに、枢支杆の外周面の上面と外側面とに平削面を設け、前記基片が平削面まで移動して停止することにより、肘掛けを水平の使用位置と垂直の不使用位置とに保持するようにした請求項1または2記載の積み重ね椅子における肘掛け装置。
  4. 基片の上面の左右両側端に、上端が肘掛けの下面に当接可能な突条を設けた請求項3記載の積み重ね椅子における肘掛け装置。
  5. 複数の弾性片を、その傾斜方向が前後方向に沿って交互に反対向きとなるように設けた請求項3または4記載の積み重ね椅子における肘掛け装置。
  6. 同じ向きに並ぶ複数の弾性片同士を、互いに離間する左右方向にずらして設けた請求項5記載の積み重ね椅子における肘掛け装置。
  7. 基片における各弾性片と対向する部分を開口してなる請求項3〜6のいずれかに記載の積み重ね椅子における肘掛け装置。
  8. 枢支杆の中心を、肘掛け支持杆の中心よりも外側方にずらしてなる請求項1〜7のいずれかに記載の積み重ね椅子における肘掛け装置。
JP2003305378A 2003-08-28 2003-08-28 積み重ね椅子における肘掛け装置 Expired - Fee Related JP4256234B2 (ja)

Priority Applications (1)

Application Number Priority Date Filing Date Title
JP2003305378A JP4256234B2 (ja) 2003-08-28 2003-08-28 積み重ね椅子における肘掛け装置

Applications Claiming Priority (1)

Application Number Priority Date Filing Date Title
JP2003305378A JP4256234B2 (ja) 2003-08-28 2003-08-28 積み重ね椅子における肘掛け装置

Publications (2)

Publication Number Publication Date
JP2005073788A true JP2005073788A (ja) 2005-03-24
JP4256234B2 JP4256234B2 (ja) 2009-04-22

Family

ID=34408809

Family Applications (1)

Application Number Title Priority Date Filing Date
JP2003305378A Expired - Fee Related JP4256234B2 (ja) 2003-08-28 2003-08-28 積み重ね椅子における肘掛け装置

Country Status (1)

Country Link
JP (1) JP4256234B2 (ja)

Cited By (4)

* Cited by examiner, † Cited by third party
Publication number Priority date Publication date Assignee Title
JP2012055777A (ja) * 2011-12-26 2012-03-22 Okamura Corp 椅子の肘掛け装置
WO2012060462A1 (ja) * 2010-11-05 2012-05-10 株式会社岡村製作所 椅子
JP2012110668A (ja) * 2010-11-05 2012-06-14 Okamura Corp 椅子
US9161737B2 (en) 2010-06-25 2015-10-20 Kabushiki Kaisha Toshiba Ultrasonic diagnostic apparatus and ultrasonic image processing apparatus

Cited By (4)

* Cited by examiner, † Cited by third party
Publication number Priority date Publication date Assignee Title
US9161737B2 (en) 2010-06-25 2015-10-20 Kabushiki Kaisha Toshiba Ultrasonic diagnostic apparatus and ultrasonic image processing apparatus
WO2012060462A1 (ja) * 2010-11-05 2012-05-10 株式会社岡村製作所 椅子
JP2012110668A (ja) * 2010-11-05 2012-06-14 Okamura Corp 椅子
JP2012055777A (ja) * 2011-12-26 2012-03-22 Okamura Corp 椅子の肘掛け装置

Also Published As

Publication number Publication date
JP4256234B2 (ja) 2009-04-22

Similar Documents

Publication Publication Date Title
KR100637883B1 (ko) 적재식 의자
JP6527623B1 (ja) 椅子
TWI277400B (en) Stackable chair
USD503549S1 (en) Armchair
TWI243661B (en) Mobile joint
JP4256234B2 (ja) 積み重ね椅子における肘掛け装置
JP3751802B2 (ja) 揺動収納式椅子
JP5635277B2 (ja) 椅子における背凭れ取付構造
JP4256233B2 (ja) 肘掛け付き椅子
JP2010094278A (ja) 椅子
JP3958045B2 (ja) 椅子
JP2011255070A (ja) 椅子
JP4874534B2 (ja) 椅子の肘フレーム取付構造
JP3477014B2 (ja) 折り畳み椅子
JP4718975B2 (ja) 椅子のヘッドレスト装置
JP2002136388A (ja) 椅子の背凭れ構造
JPH07184737A (ja) 椅 子
JP5014675B2 (ja) 椅子における肘掛けフレーム取付構造
JP2002136387A (ja) 椅子における背板の取付構造
JP4750535B2 (ja) リクライニング椅子における背凭れのロック装置
JP5378747B2 (ja) 椅子
JP2000139603A (ja) 学校用椅子
CN2912364Y (zh) 办公椅倾仰固定装置
JP2005074097A (ja) いす用ロッキング装置
USD525058S1 (en) Seat and seat support structure

Legal Events

Date Code Title Description
A621 Written request for application examination

Free format text: JAPANESE INTERMEDIATE CODE: A621

Effective date: 20060627

A521 Written amendment

Free format text: JAPANESE INTERMEDIATE CODE: A523

Effective date: 20071108

A521 Written amendment

Free format text: JAPANESE INTERMEDIATE CODE: A821

Effective date: 20071108

A977 Report on retrieval

Free format text: JAPANESE INTERMEDIATE CODE: A971007

Effective date: 20080930

A131 Notification of reasons for refusal

Free format text: JAPANESE INTERMEDIATE CODE: A131

Effective date: 20081007

A521 Written amendment

Free format text: JAPANESE INTERMEDIATE CODE: A523

Effective date: 20081208

TRDD Decision of grant or rejection written
A01 Written decision to grant a patent or to grant a registration (utility model)

Free format text: JAPANESE INTERMEDIATE CODE: A01

Effective date: 20090127

A01 Written decision to grant a patent or to grant a registration (utility model)

Free format text: JAPANESE INTERMEDIATE CODE: A01

A61 First payment of annual fees (during grant procedure)

Free format text: JAPANESE INTERMEDIATE CODE: A61

Effective date: 20090129

FPAY Renewal fee payment (event date is renewal date of database)

Free format text: PAYMENT UNTIL: 20120206

Year of fee payment: 3

R150 Certificate of patent or registration of utility model

Free format text: JAPANESE INTERMEDIATE CODE: R150

FPAY Renewal fee payment (event date is renewal date of database)

Free format text: PAYMENT UNTIL: 20120206

Year of fee payment: 3

FPAY Renewal fee payment (event date is renewal date of database)

Free format text: PAYMENT UNTIL: 20130206

Year of fee payment: 4

FPAY Renewal fee payment (event date is renewal date of database)

Free format text: PAYMENT UNTIL: 20140206

Year of fee payment: 5

R250 Receipt of annual fees

Free format text: JAPANESE INTERMEDIATE CODE: R250

R250 Receipt of annual fees

Free format text: JAPANESE INTERMEDIATE CODE: R250

R250 Receipt of annual fees

Free format text: JAPANESE INTERMEDIATE CODE: R250

R250 Receipt of annual fees

Free format text: JAPANESE INTERMEDIATE CODE: R250

LAPS Cancellation because of no payment of annual fees