JP2005073746A - 超音波処置装置 - Google Patents

超音波処置装置 Download PDF

Info

Publication number
JP2005073746A
JP2005073746A JP2003304709A JP2003304709A JP2005073746A JP 2005073746 A JP2005073746 A JP 2005073746A JP 2003304709 A JP2003304709 A JP 2003304709A JP 2003304709 A JP2003304709 A JP 2003304709A JP 2005073746 A JP2005073746 A JP 2005073746A
Authority
JP
Japan
Prior art keywords
ultrasonic
ultrasonic transducer
cover member
flexible sheath
signal cable
Prior art date
Legal status (The legal status is an assumption and is not a legal conclusion. Google has not performed a legal analysis and makes no representation as to the accuracy of the status listed.)
Granted
Application number
JP2003304709A
Other languages
English (en)
Other versions
JP3999715B2 (ja
Inventor
Norihiro Yamada
典弘 山田
Haruhiko Ueno
晴彦 上野
裕之 ▲高▼橋
Hiroyuki Takahashi
Keita Suzuki
啓太 鈴木
Hiroyoshi Watanabe
浩良 渡辺
Takeaki Nakamura
剛明 中村
Current Assignee (The listed assignees may be inaccurate. Google has not performed a legal analysis and makes no representation or warranty as to the accuracy of the list.)
Olympus Corp
Original Assignee
Olympus Corp
Priority date (The priority date is an assumption and is not a legal conclusion. Google has not performed a legal analysis and makes no representation as to the accuracy of the date listed.)
Filing date
Publication date
Application filed by Olympus Corp filed Critical Olympus Corp
Priority to JP2003304709A priority Critical patent/JP3999715B2/ja
Priority to US10/925,374 priority patent/US7449004B2/en
Priority to EP04020181A priority patent/EP1510178B1/en
Priority to AT04020181T priority patent/ATE511802T1/de
Publication of JP2005073746A publication Critical patent/JP2005073746A/ja
Application granted granted Critical
Publication of JP3999715B2 publication Critical patent/JP3999715B2/ja
Anticipated expiration legal-status Critical
Expired - Fee Related legal-status Critical Current

Links

Images

Classifications

    • AHUMAN NECESSITIES
    • A61MEDICAL OR VETERINARY SCIENCE; HYGIENE
    • A61BDIAGNOSIS; SURGERY; IDENTIFICATION
    • A61B17/00Surgical instruments, devices or methods
    • A61B17/22Implements for squeezing-off ulcers or the like on inner organs of the body; Implements for scraping-out cavities of body organs, e.g. bones; for invasive removal or destruction of calculus using mechanical vibrations; for removing obstructions in blood vessels, not otherwise provided for
    • A61B17/22004Implements for squeezing-off ulcers or the like on inner organs of the body; Implements for scraping-out cavities of body organs, e.g. bones; for invasive removal or destruction of calculus using mechanical vibrations; for removing obstructions in blood vessels, not otherwise provided for using mechanical vibrations, e.g. ultrasonic shock waves
    • A61B17/22012Implements for squeezing-off ulcers or the like on inner organs of the body; Implements for scraping-out cavities of body organs, e.g. bones; for invasive removal or destruction of calculus using mechanical vibrations; for removing obstructions in blood vessels, not otherwise provided for using mechanical vibrations, e.g. ultrasonic shock waves in direct contact with, or very close to, the obstruction or concrement
    • A61B17/2202Implements for squeezing-off ulcers or the like on inner organs of the body; Implements for scraping-out cavities of body organs, e.g. bones; for invasive removal or destruction of calculus using mechanical vibrations; for removing obstructions in blood vessels, not otherwise provided for using mechanical vibrations, e.g. ultrasonic shock waves in direct contact with, or very close to, the obstruction or concrement the ultrasound transducer being inside patient's body at the distal end of the catheter
    • AHUMAN NECESSITIES
    • A61MEDICAL OR VETERINARY SCIENCE; HYGIENE
    • A61BDIAGNOSIS; SURGERY; IDENTIFICATION
    • A61B17/00Surgical instruments, devices or methods
    • A61B17/32Surgical cutting instruments
    • A61B17/320016Endoscopic cutting instruments, e.g. arthroscopes, resectoscopes
    • AHUMAN NECESSITIES
    • A61MEDICAL OR VETERINARY SCIENCE; HYGIENE
    • A61BDIAGNOSIS; SURGERY; IDENTIFICATION
    • A61B17/00Surgical instruments, devices or methods
    • A61B17/22Implements for squeezing-off ulcers or the like on inner organs of the body; Implements for scraping-out cavities of body organs, e.g. bones; for invasive removal or destruction of calculus using mechanical vibrations; for removing obstructions in blood vessels, not otherwise provided for
    • A61B17/22004Implements for squeezing-off ulcers or the like on inner organs of the body; Implements for scraping-out cavities of body organs, e.g. bones; for invasive removal or destruction of calculus using mechanical vibrations; for removing obstructions in blood vessels, not otherwise provided for using mechanical vibrations, e.g. ultrasonic shock waves
    • A61B2017/22027Features of transducers
    • AHUMAN NECESSITIES
    • A61MEDICAL OR VETERINARY SCIENCE; HYGIENE
    • A61BDIAGNOSIS; SURGERY; IDENTIFICATION
    • A61B17/00Surgical instruments, devices or methods
    • A61B17/32Surgical cutting instruments
    • A61B17/320068Surgical cutting instruments using mechanical vibrations, e.g. ultrasonic
    • A61B2017/320089Surgical cutting instruments using mechanical vibrations, e.g. ultrasonic node location
    • AHUMAN NECESSITIES
    • A61MEDICAL OR VETERINARY SCIENCE; HYGIENE
    • A61BDIAGNOSIS; SURGERY; IDENTIFICATION
    • A61B17/00Surgical instruments, devices or methods
    • A61B17/32Surgical cutting instruments
    • A61B17/320068Surgical cutting instruments using mechanical vibrations, e.g. ultrasonic
    • A61B17/320092Surgical cutting instruments using mechanical vibrations, e.g. ultrasonic with additional movable means for clamping or cutting tissue, e.g. with a pivoting jaw
    • A61B2017/320094Surgical cutting instruments using mechanical vibrations, e.g. ultrasonic with additional movable means for clamping or cutting tissue, e.g. with a pivoting jaw additional movable means performing clamping operation
    • AHUMAN NECESSITIES
    • A61MEDICAL OR VETERINARY SCIENCE; HYGIENE
    • A61BDIAGNOSIS; SURGERY; IDENTIFICATION
    • A61B90/00Instruments, implements or accessories specially adapted for surgery or diagnosis and not covered by any of the groups A61B1/00 - A61B50/00, e.g. for luxation treatment or for protecting wound edges
    • A61B90/36Image-producing devices or illumination devices not otherwise provided for
    • A61B90/37Surgical systems with images on a monitor during operation
    • A61B2090/373Surgical systems with images on a monitor during operation using light, e.g. by using optical scanners

Landscapes

  • Health & Medical Sciences (AREA)
  • Surgery (AREA)
  • Engineering & Computer Science (AREA)
  • Life Sciences & Earth Sciences (AREA)
  • Biomedical Technology (AREA)
  • Molecular Biology (AREA)
  • Vascular Medicine (AREA)
  • Orthopedic Medicine & Surgery (AREA)
  • Mechanical Engineering (AREA)
  • Heart & Thoracic Surgery (AREA)
  • Medical Informatics (AREA)
  • Nuclear Medicine, Radiotherapy & Molecular Imaging (AREA)
  • Animal Behavior & Ethology (AREA)
  • General Health & Medical Sciences (AREA)
  • Public Health (AREA)
  • Veterinary Medicine (AREA)
  • Surgical Instruments (AREA)
  • Ultra Sonic Daignosis Equipment (AREA)

Abstract

【課題】本発明は、内視鏡とともに用いて被検体の管腔部に挿入され、内視鏡による患部の観察を行いながら、超音波振動による生体組織の切開・凝固処置等ができる超音波処置装置を提供しようとするものである。
【解決手段】生体組織を処置するための超音波振動を発生可能な超音波振動子22と、超音波振動子を覆う振動子カバー18と、カバー部材に一端が連結される中空の可撓性シース3と、超音波振動子に一端が接続され可撓性シースの内部に挿通される信号ケーブル7と、信号ケーブルの他端に接続され超音波振動子を駆動する駆動信号を発生するための超音波発振装置9と、可撓性シースの他端部に設けられ操作者の操作に応じて振動子カバーとともに超音波振動子を変位可能な操作部6とを具備する。
【選択図】 図1

Description

本発明は、内視鏡とともに用いられる超音波処置装置に関する。
内視鏡用超音波処置具が、[特許文献1]に開示されている。これは、処置部先端にループを持つ超音波振動自在要素としての可撓性ワイヤを備え、アクチュエータを操作することにより前記ループを開放構造と閉鎖構造との間で移動自在としている。前記可撓性ワイヤを内視鏡のチャンネルに挿入し、操作部に内蔵された超音波振動子から発生する超音波振動を可撓性ワイヤに伝達させて被検体の処置を行う。たとえば、ポリープ等の切除に最適である。
一方、[特許文献2]に開示される超音波手術装置は、先端にブレード(刃)を取付けた超音波振動子を保持棒に固定し、これらをトラカールに挿入してなるものであって、先端ブレードにより被検体の処置を行う。前記超音波振動子と手術用ブレードを一体化し、使い捨てに適した構成であるとともに、超音波損失が大幅に減るので無駄な発熱が減り、手術操作の自由度が大幅に向上する、とある。
US 6,231,578 特開平11−56867号公報
しかしながら、[特許文献1]に開示される技術では、処置部がループ形状であるため、ループより大きい腫瘍を切除することができないうえに、突出していない腫瘍、血管の切断・止血等は処置できず、適用範囲が極めて限られている。そして、超音波振動子に発生する超音波振動を長尺の可撓性プローブに伝達させるので、発熱などで振動エネルギーが損失し、先端処置部では所望の振動振幅を得られない可能性もある。
さらに、軟性内視鏡と組み合わせて使用する可撓性プローブは、内視鏡を湾曲させた状態で超音波振動を行うため、軟性内視鏡の先端湾曲部に対応した部分以外においても超音波プローブにかかる振動的応力が大きく、耐性が劣るうえに、チャンネル内径を傷つける恐れがある。
これに対して、[特許文献2]に開示される技術では、前記[特許文献1]の不具合を解決できる可能性はあるが、保持棒は剛体であって可撓性を備えていないので、軟性鏡では使用できない。また、保持棒は超音波振動子における超音波振動の節位置以外の部分に接続されているので、振動エネルギーが損失して、先端ブレードに所望の振動振幅が得られない。
仮に、前記保持棒を可撓性のガイドワイヤに換えた場合でも、患者に対する安全性に大いに問題がある。すなわち、超音波振動子に使用される圧電素子、もしくは磁歪素子は人体に有害である場合が多いが、[特許文献2]では基本的に超音波振動子が被検体に対して露出する構成になっている。
本発明は、上述した点に鑑みてなされたものであり、その目的とするところは、内視鏡とともに用いて被検体の管腔部に挿入し、内視鏡による患部の観察をしながら、超音波振動による生体組織の切開・凝固処置等が可能な超音波処置装置を提供しようとするものである。
請求項1の発明は、生体組織を処置するための超音波振動を発生可能な超音波振動子をカバー部材で覆い、このカバー部材に中空の可撓性シースの一端を連結し、カバー部材に覆われた超音波振動子に信号ケーブルの一端を接続して可撓性シースの内部に挿通し、信号ケーブルの他端に超音波駆動手段を接続し、可撓性シースの他端部に操作者の操作に応じてカバー部材とともに超音波振動子を変位可能な操作部を具備する。
請求項2の発明は、生体組織を処置するための超音波振動を発生可能な超音波振動子をカバー部材で覆い、カバー部材の後方に中空の可撓性シースの一端を連結し、カバー部材に覆われた超音波振動子に信号ケーブルの一端を接続して可撓性シース内部に挿通し、信号ケーブルの他端に超音波駆動手段に接続可能なコネクタ手段を設け、可撓性シースの他端部に操作者の操作に応じてカバー部材とともに超音波振動子を変位可能な操作部を具備する。
請求項3の発明は、生体組織を処置するための超音波振動を発生可能な超音波振動子をカバー部材で覆い、カバー部材の後方に中空の可撓性シースの一端を連結し、超音波振動子に信号ケーブルの一端を接続して可撓性シースの内部に挿通し、信号ケーブルの他端を取出し可能なケーブル取出し口を有し、可撓性シースの他端に操作者の操作に応じてカバー部材とともに超音波振動子を変位可能な操作部を備え、ケーブル取出し口から取出された信号ケーブルの他端に超音波駆動手段を接続して超音波振動子を駆動する駆動信号を発生させる。
請求項4の発明は、生体組織を処置するための超音波振動を発生可能な超音波振動子をカバー部材で覆い、カバー部材の後方に中空の可撓性シースの一端を連結して内部に超音波振動子から延出された信号ケーブルを挿通可能とし、可撓性シースの他端に操作者の操作に応じてカバー部材とともに超音波振動子を変位可能な操作部を設け、信号ケーブルの端部を取出し可能なケーブル取出し口を操作部に設け、ケーブル取出し口から取出された信号ケーブルの端部に超音波駆動手段に接続可能なコネクタ手段を具備する。
請求項5の発明は、生体組織を処置するための超音波振動を発生可能な超音波振動子を有し、超音波振動子を駆動するための駆動装置に接続可能な超音波処置装置において、超音波振動子をカバー部材で覆い、カバー部材の後方に中空の可撓性シースの一端を連結して内部に超音波振動子から延出される信号ケーブルを挿通し、信号ケーブルを駆動装置に接続するためのケーブル取出し口を有し、可撓性シースの他端に操作者の操作に応じてカバー部材とともに超音波振動子を変位可能な操作部を具備する。
請求項1ないし請求項5の発明によれば、振動子カバーに覆われた超音波振動子および可撓性シースを内視鏡のチャンネル内に挿通して、超音波振動子先端を内視鏡先端から突没操作できるとともに、超音波振動による被検体の切開・凝固などができる。
請求項6の発明は、生体組織を処置するための超音波振動を発生可能な超音波振動子をカバー部材で覆い、カバー部材の後方に中空の可撓性シースの一端を連結し、カバー部材に覆われる超音波振動子に信号ケーブルの一端を接続して可撓性シースの内部に挿通させ、信号ケーブルの他端に超音波振動子を駆動する駆動信号を発生するための超音波駆動手段を接続し、可撓性シースの他端部に操作者の操作に応じてカバー部材とともに超音波振動子を変位可能な操作部を設け、カバー部材に鉗子部材を回動自在に設け、鉗子部材に操作ワイヤの一端を接続して可撓性シースの内部に挿通させ、操作ワイヤの他端に操作部に対して移動可能なハンドル手段を具備する。
請求項7の発明は、生体組織を処置するための超音波振動を発生可能な超音波振動子をカバー部材で覆い、カバー部材の後方に中空の可撓性シースの一端を連結し、カバー部材に覆われた超音波振動子に信号ケーブルの一端を接続して可撓性シースの内部に挿通し、信号ケーブルの他端に超音波駆動手段に接続可能なコネクタ手段を設け、可撓性シースの他端部に操作者の操作に応じてカバー部材とともに超音波振動子を変位可能な操作部を設け、カバー部材に鉗子部材を回動自在に設け、鉗子部材に操作ワイヤの一端を接続して可撓性シースの内部に挿通し、操作ワイヤの他端に操作部に対して移動可能なハンドル手段を具備する。
請求項8の発明は、請求項6および請求項7のいずれかに記載の前記鉗子部材は、超音波振動子の先端部との間に生体組織を挟持するように支持されている。
請求項9の発明は、請求項6および請求項7のいずれかに記載の前記鉗子部材は一対備えられ、超音波振動子の先端部に対向する部位の生体組織を挟持するように支持されている。
請求項6ないし請求項9の発明によれば、超音波振動子の先端部に対向した状態で鉗子部材で生体組織を確実に挟持し、超音波処置が行える。
本発明によれば、内視鏡とともに用いて被検体の管腔部に挿入され、内視鏡による患部の観察を行いながら、超音波振動による生体組織の切開・凝固処置等ができるという効果を奏する。
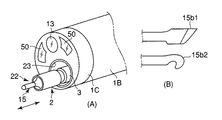
図1〜図17は本発明の実施例1に係る。図1は超音波処置装置を備えた内視鏡の全体構成を示す図、図2は図1のA部を拡大した断面図、図3(A)は超音波処置装置と内視鏡の先端の斜視図、図3(B)はホーン先端の正面図、図4はホーンのフランジ部と振動子カバーとの嵌合い部の断面図、図5は図2のB−B’線に沿う断面図、図6〜図8は互いに異なる超音波振動子の構成を示す図、図9は振動子カバーの変形した断面図、図10はさらに異なる超音波振動子の構成を示す図、図11(A)(B)は積層圧電体の構成を示す斜視図、図12〜図14は屈曲(横)振動する超音波振動子の構成を示す断面図と斜視図、図15はねじり振動する超音波振動子の構成を示す断面図、図16はねじり振動する超音波振動子の構成を示す斜視図、図17はねじり圧電素子の構成を示す斜視図である。
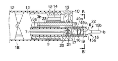
図1に示す内視鏡1は、手元操作部1Aと、この手元操作部1Aに連設される可撓管部1Bと、この可撓管部1Bの先端に一体に設けられる先端部1Cとから構成される。図2および図3(A)に示すように、先端部1C内部には、観察系レンズ(観察手段)13と、照明系レンズ(照明手段)50が収容固定される。先端部1Cから可撓管部1Bに亘って、イメージガイド14および複数の湾曲駒12が収容され、これら湾曲駒12によって可撓管部1Bが湾曲変形自在となっている。
手元操作部1Aから可撓管部1Bを介して先端部1Cまで、チャンネル23が収容される。このチャンネル23には手元操作部1Aから鉗子等の処置具が挿入可能であるとともに、後述する超音波処置装置2を構成する超音波振動子22が挿入可能である。手元操作部1Aには、処置具あるいは超音波振動子22を外部から出し入れ可能な口金部4が設けられる。さらに、手元操作部1Aには、図示しない光源およびビデオに接続されるビデオ端子10が設けられる。
図1、図2および図3(A)に示す内視鏡1の観察下で超音波による処置を行う機能を備えた超音波処置装置2は、超音波振動子22と、この超音波振動子22を駆動する駆動信号を送る信号ケーブル7と、超音波振動子22に接続され、かつ超音波振動子22から延出された信号ケーブル7を内部に挿通する中空の可撓性シース3と、この可撓性シース3の端部に設けられた操作部6と、信号ケーブル7の端部を取出し可能な信号ケーブル取出口5と、信号ケーブル7の一端に設けられるコネクタ(コネクタ手段)8と、このコネクタ8に着脱自在に接続される超音波発振装置(超音波駆動手段)9から構成される。
前記可撓性シース3は、内層3aと外層3bとの2重構造であり、これらの間に補強部材を介在あるいは埋設する2重チューブシースが用いられる。前記超音波振動子22の先端部と可撓性シース3の外径寸法は前記チャンネル23の内径寸法よりも小さく形成され、これら超音波振動子22と可撓性シース3はチャンネル23内に挿通可能となっている。そして、可撓性シース3の全長はチャンネル23全長よりも若干長く形成されていて、可撓性シース3の端部に設けられる前記操作部6を前後方向に移動操作することで、内視鏡先端部1Cに対して超音波振動子22の突没移動が可能である。
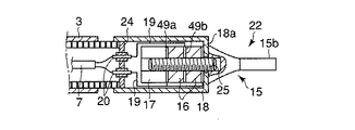
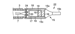
図2に示す前記超音波振動子22は、振動の節に位置するフランジ部15aおよび先端面bが振動の腹に位置する先端処置部15bを有するホーン15と、このホーン15のフランジ部15a側端面に取付けられ軸方向に沿って縦振動する圧電素子16と、この圧電素子16をホーン15端面に強固に取付け固定する金属部材である裏打板17を備えている。
さらに、超音波振動子22は、ホーン15以外の超音波振動子22全体を覆う円筒形の振動子カバー18と、圧電素子16における−電極49aおよび+電極49bに接続され圧電素子16に電気を供給する導線19と、これら導線19と接続され振動子カバー(カバー部材)18後端に設けられる2つの孔にそれぞれ挿入固定される導電ピン20と、各導電ピン20の周囲を被覆し振動子カバー18後端の孔との隙間を埋める絶縁材からなる絶縁被覆21を備えている。
前記振動子カバー18に可撓性シース3が接続されていて、これら振動子カバー18と可撓性シース3の外径寸法は互いに略同一に設定されチャンネル23内に挿通可能であることは、先に説明したとおりである。前記導電ピン20の一端に信号ケーブル7が接続されていて、この信号ケーブル7は可撓性シース3内に挿通される。そして、信号ケーブル7はケーブル取出し口5から延出して超音波発振装置9に接続され、超音波振動子22は前記超音波発振装置9が発生する駆動信号を受けるようになっている。
前記ホーン15の先端処置部15bの形状は、図3(B)に示すようにメス型15b1であったり、フック型15b2であったり、その他多様な形状を選択できる。図2に示すように、ホーン15において、振動の腹である先端処置部15bの先端面bは、振動子カバー18に固定される振動の節であるフランジ部15aから 1/4 波長の距離に位置するように設定されている。
つぎに、図4〜図8を用いて、振動子カバー18に対するホーン15の取付け構造について説明する。
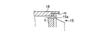
図4に示すように、フランジ部15aの周端部分をホーン15の軸方向に沿ってある程度長く成形し、この周面に軸方向に沿ってねじ部kを設け、振動子カバー18の先端部内周面に設けられるねじ孔mに螺合することにより、ホーン15のフランジ部15aを振動子カバー18に取付け固定できる。
あるいは、フランジ部15aと振動子カバー18の互いに嵌め込まれる周面をレーザー等で溶接して、ホーン15を振動子カバー18に取付け固定してもよい。この場合、図5に示すように、互いの嵌合面一部を平坦面とすることにより、溶接時の位置決めが容易になる。あるいは、図6に示すように、振動子カバー18とフランジ部15aに取付けねじ54を挿通して取付け固定してもよい。
あるいは、図7に示すように、振動子カバー18の先端を折曲げて、この折曲げ部18aをホーン15と圧電素子16との間に挟持する構成としてもよい。そして、ホーン15、振動子カバー18、圧電素子16、電極49a、49bおよび裏打板17を埋込ボルト25で固定することにより、超音波振動子22の構成部品の締結と、振動子カバー18の固定を一本のボルトで行うことができる。あるいは、図8に示すように、ホーン15の後端部に円筒状のカバー部15cを一体に設けることで、ホーン15と振動子カバー18の機能を一部品に集約させ構造の単純化を図ることもできる。その際、ホーン15のカバー部15cの後端は導電ピン20挿通用の2つの孔を有する遮蔽板24で塞がれる。
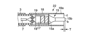
なお、手技によってはホーン15の先端処置部15bを所定深さの範囲内で処置したい場合がある。このような要求を満たすために、図9に示すように、振動子カバー18をホーン15のフランジ部15aよりもさらに先端処置部15b側に延出する延出部18aを一体に設ける。この振動子カバー延出部18aの先端縁cとホーン15の先端処置部15bの先端面bとの距離Tを適宜調整することで、常に所望の処置深さを保持できる。
これまで説明したように超音波振動子22は、ホーン15と、圧電素子16と、電極49a,49bおよび裏打板17を、ボルトで一体に締結固定するボルト締めランジュバン型振動子が一般的であるが、図10に示すように、積層圧電体26をホーン15に接着する超音波振動子22の構成とすれば、さらなる構造の単純化を図れる。前記積層圧電体26は、図11(A)および(B)に示すように、圧電層27と、内部電極28と、外部電極29と、絶縁保護層30が一体に焼結形成されたものであり、外部電極29への電気信号により超音波振動する。
なお、上述の超音波振動子22は軸方向に沿って振動する縦振動であるが、処置対象の形状や、状態によっては縦以外の振動が有効な場合もある。図12〜図14に示す超音波振動子22は、軸方向に対して垂直な方向に振動する屈曲(横)振動を発生させることができる。
すなわち、図12および図13に示す超音波振動子22は、ホーン15の後端面に軸芯に沿って板状の素子支持部15dが一体に設けられ、この素子支持部15dの上下両面に板状の平板振動子31,32が取付けられて構成される。したがって、平板振動子31、32は素子支持部15dを挟んで対向配置され、平板振動子31、32は図12および図13に示す矢印の方向に分極されることになる。
素子支持部15dに接する−電極31b、32aに−導線19bが接続され、振動子カバー18と向き合う+電極31a、32bに+導線19aが接続されることで、屈曲振動が発生する。このような屈曲振動を得ることができれば、たとえば結石の粉砕に極めて有効である。
図14に示す超音波振動子22は、対向配置した2つの積層圧電体33、34をホーン15に接着した構成である。積層圧電体33、34は図に矢印に示すように、それぞれ反対方向に分極されている。各積層圧電体33、34における一方の外部電極35、36に+導線19aを接続し、図示しない反対側の外部電極には−導線19bを接続することで屈曲振動が発生する。
図15および図16に示す超音波振動子22では、外周方向にねじり振動を発生させることができる。
すなわち、図15に示す超音波振動子22は、図17に示すように圧電素子37を径方向に分割して、各分割片fを図中矢印に示す方向に分極したあと、再び貼り合わせてねじり振動子37を構成している。このねじり振動子37をホーン15に取付けることにより、超音波振動子22のねじり振動を可能にしている。
図16に示す超音波振動子22は、図中矢印方向に分極した4つの積層圧電体38、39、40、41を互いに対向して配置させることにより、超音波振動子22のねじり振動を可能にしている。なお、積層圧電体38、39および40、41に設けられる外部電極51は+導線19aに接続され、積層圧電体38、39および40、41間に挟まれた−電極52は−導線19bに接続される。
つぎに、実施例1に記載の内視鏡1の作用を説明する。
被検体の管腔部内に図1に示す内視鏡1を先端部1Cから挿入し、照明系レンズ50で周囲を照らしながら、観察系レンズ13を介してビデオで観察する。患部を確認したら、内視鏡1の口金部4から超音波処置装置2を構成する超音波振動子22を挿入する。すなわち、ホーン15、振動子カバー18および可撓性シース3の順で、口金部4からチャンネル23内に挿入する。観察を継続しながら操作部6を前後方向に移動操作して、超音波による処置を行うとする処置部位にホーン15の先端処置部15bを当てる。
そして、図示しない超音波発生操作手段(例えばフットスイッチやハンドスイッチ)を操作し、超音波発振装置9から信号ケーブル7を通じて駆動信号を圧電素子16に印加する。圧電素子16の作用が超音波振動子22で機械的振動に変換されて超音波振動が発生し、ホーン15の先端処置部15b側に伝達される。したがって、内視鏡1による観察を継続したまま、ホーン15の先端処置部15bに発生する超音波振動によって生体組織の粉砕・乳化・止血等の処置を行える。
このようにして、ホーン15を覆う振動子カバー18と、この振動子カバー18の後方に一端が連結された中空の可撓性シース3の外径寸法を、内視鏡1を構成するチャンネル23の内径寸法よりも小さく形成してチャンネル23内に挿通し、可撓性シース3の他端に接続された操作部6を前後方向に操作することにより、ホーン15の先端処置部15bがチャンネル23先端から突没自在となり、超音波振動による生体組織の切開・凝固などの処置ができる。可撓管部1Bの湾曲状態に可撓性シース3が追従変形して、可撓管部1Bの動作の円滑性を保持でき、しかも超音波振動子22におけるホーン先端処置部15bの内視鏡先端部1Cに対する突没操作が容易である。
図18〜図20は本発明の実施例2に係る。図18は超音波処置装置における超音波振動子の断面図、図19は超音波振動子の斜視図、図20は超音波処置装置の操作部およびハンドルの一部を切欠した側面図である。なお、先に説明した実施例1と同一部品については同番号を付して新たな説明は省略する。ここでは、実施例1との相違点についてのみ説明する。
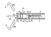
図18および図19に示すように、超音波振動子22はホーン15等の他、鉗子42を備えている。この鉗子42は、ホーン15の先端処置部15bに接する把持面fを有する把持部42aと、この把持部42aの後端に一体に設けられる後端突出部42cおよび、把持部42aの側部に一体に設けられる支持部42bから構成される。
前記後端突起部42cには操作ワイヤ43の一端部が接続されていて、この操作ワイヤ43はホーン15に設けられる操作ワイヤ孔44に挿通する。この操作ワイヤ孔44は、ホーン先端処置部15bの後方に一体に設けられるカバー部15cに開口されている。カバー部15cは、先に図2で説明した振動子カバー18の代用をなす。当然、振動子カバー18を備えて操作ワイヤ43を挿通するようにしてもよい。操作ワイヤ43は、図21に示すように内視鏡1の口金部4を介して操作部6に設けられるハンドル53に接続される。
前記鉗子42の支持部42bは、図19に示すように支持ピン45を介してホーン15のカバー部15cに回転自在に支持される。前記ハンドル53は、操作部6に沿ってスライド自在である。ハンドル53を前後方向に移動操作することにより、操作ワイヤ43は鉗子後端突起部42cを前後方向に移動させ、支持ピン45を支点として鉗子42を回動させる。すなわち、ホーン15の先端処置部15bに対し鉗子42の把持部42aが開閉可能となっている。
つぎに、実施例2の作用を説明する。
被検体の管腔部内に図1に示す内視鏡1を先端部1Cから挿入し、照明系レンズ50で周囲を照らしながら、観察系レンズ13を介してビデオで観察する。患部を確認したら、内視鏡1の口金部4から超音波処置装置2を構成する超音波振動子22を挿入する。すなわち、ホーン15、振動子カバー18および可撓性シース3の順で、口金部4からチャンネル23内に挿入する。観察を継続しながら操作部6を前後方向に移動操作して、超音波による処置を行うとする処置部位にホーン15の先端処置部15bを当てる。
つぎに、ハンドル53を引いて鉗子42を回動し、この把持部42aをホーン15の先端処置部15bに対して開放する。開放状態のまま操作部6を押し込み、処置対象部位となる生体組織を先端処置部15bと把持部42aとの間に介在させる。図示しない超音波発生操作手段(例えばフットスイッチやハンドスイッチ)を操作し、超音波発振装置9から信号ケーブル7を通じて駆動信号を圧電素子16に印加する。
圧電素子16の作用が超音波振動子22で機械的振動に変換されて超音波振動が発生し、ホーン15の先端処置部15b側に伝達する。内視鏡1による観察を継続し、ホーン15の先端処置部15bを超音波振動させながらハンドル53を押す。鉗子42が回動してホーン先端処置部15bと鉗子把持部42aとの間に生体組織を挟持し、その状態を保持して粉砕・乳化・止血等の処置が行える。
このようにして、可撓管部1Bの湾曲状態に可撓性シース3が追従変形して、可撓管部1Bの動作の円滑性を保持でき、しかも超音波振動子22におけるホーン先端処置部15bの内視鏡先端部1Cに対する突没操作が容易であるとともに、鉗子42と先端処置部15bとで生体組織を挟持しながら超音波処置でき、より確実な処置が可能となる。
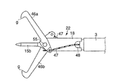
図21、図22は本発明の実施例3に係る。図21は超音波処置装置における超音波振動子先端の正面図、図22は超音波振動子先端の断面図である。なお、先に説明した実施例1と同一部品については同番号を付して新たな説明は省略する。ここでは、実施例1との相違点についてのみ説明する。
超音波振動子22はホーン15等の他、2つ(一対)の鉗子46a,46bを備えている。それぞれの鉗子46a,46bは先端爪部gを自由端とし、後端部が支持ピン55を介して振動子カバー18に回動自在に支持される。鉗子46a,46bの後端部には操作ワイヤ47の一端部が接続されていて、この操作ワイヤ47は振動子カバー18に設けられるワイヤ用切欠部48を介して、先に[実施例2」で説明したハンドル53に接続されている。前記ハンドル53は、操作部6に沿ってスライド可能であり、ハンドル53を前後方向に移動操作することにより一対の鉗子46a,46bは支持ピン45を支点として互いに反対方向に回動し、ホーン15の先端処置部15bに対して鉗子42a,42bの先端爪部gを開閉可能としている。
つぎに、実施例3の作用を説明する。
被検体の管腔部内に図1に示す内視鏡1を先端部1Cから挿入し、照明系レンズ50で周囲を照らしながら、観察系レンズ13を介してビデオで観察する。患部を確認したら、内視鏡1の口金部4から超音波処置装置2を構成する超音波振動子22を挿入する。すなわち、ホーン15、振動子カバー18および可撓性シース3の順で、口金部4からチャンネル23内に挿入する。観察を継続しながら操作部6を前後方向に移動操作して、超音波による処置を行うとする処置部位にホーン15の先端処置部15bを当てる。
そして、ハンドル53を押して鉗子46a,46bを回動させ、ホーン15の先端処置部15bに対して鉗子46a,46bを開放する。この状態を保持したまま操作部6を押し込み、処置対象部位を鉗子46a,46b相互の先端爪部g間に介在させる。つぎに、図示しない超音波発生操作手段(例えばフットスイッチやハンドスイッチ)を操作し、超音波発振装置9から信号ケーブル7を通じて駆動信号を圧電素子16に印加する。
超音波発振装置9が駆動されホーン15の先端処置部15bを超音波振動させながら、ハンドル53を後ろに引き鉗子46a,46bの先端相互を閉める。そうすることで、処置対象となる生体組織を鉗子46a,46bの爪部gで摘んだまま、切断・止血などの超音波処置を行える。
このようにして、可撓管部1Bの湾曲状態に可撓性シース3が追従変形して、可撓管部1Bの動作の円滑性を保持でき、しかも超音波振動子22におけるホーン先端処置部15bの内視鏡先端部1Cに対する突没操作が容易であるとともに、一対の鉗子46a,46bで生体組織を確実に挟持しながら超音波処置することができ、より確実な処置が可能となる。
さらに、本発明は前記実施例の形態に限定されるものではなく、本発明の要旨を逸脱しない範囲で種々変形実施できることは勿論である。
つぎに、本発明の他の特徴的な技術事項を下記の通り付記する。

(付記項1) 超音波振動を発生させ、その超音波振動を先端処置部に伝達させることで被検体の処置をする超音波振動子と、超音波振動子の処置部以外を覆う振動子カバーと、前記振動子カバーの後端に接続された長尺の可撓性シースと、前記可撓性シースの一端に接続された操作部と、前記可撓性シースの内部に埋設され、前記超音波振動子に電気信号を伝達する配線ケーブルと、電気信号を発生して前記超音波振動子を駆動させる電源とを備えることを特徴とする超音波処置装置。
(付記項2) 付記項1記載の超音波処置装置において、前記振動子カバー及び可撓性シースの外径は、内視鏡のチャンネル内径より小さく、前記振動子カバーに覆われた超音波振動子は、一端がシースに接続された操作部を前後することにより、内視鏡のチャンネル内を出し入れ可能であることを特徴とする超音波処置装置。
(付記項3) 付記項1記載の超音波処置装置において、前記振動子カバーは、前記超音波振動子の振動の節位置に固定されたことを特徴とする超音波処置装置。
(付記項4) 付記項1記載の超音波処置装置において、前記超音波振動子の処置部先端は、前記振動子カバーが固定される節位置から、1/4波長の距離にあることを特徴とする超音波処置装置。
(付記項5) 付記項1記載の超音波処置装置において、前記超音波振動子は、先端処置部を含むホーンと、電気信号を機械的振動に変換する複数の圧電素子と、圧電素子に電気信号を供給する複数の電極と、裏打板とから構成され、前記振動子カバーを振動の節位置にあたるホーンと圧電素子との間に挟持し、ホーン、振動子カバー、圧電素子、電極、及び裏打板を埋め込みボルトで固定したことを特徴とする超音波処置装置。
(付記項6) 付記項1記載の超音波処置装置において、前記超音波振動子のホーンと振動子カバーが一体に形成されていることを特徴とする超音波処置装置。
(付記項7) 付記項1記載の超音波処置装置において、前記超音波振動子は、先端処置部を含むホーンと、圧電層と内部電極を交互に積層した積層圧電体とから構成されることを特徴とする超音波処置装置。
(付記項8) 付記項1記載の超音波処置装置において、前記超音波振動子は、振動子の中心軸に対して垂直方向に振動する屈曲(横)振動することを特徴とする超音波処置装置。
(付記項9) 付記項1記載の超音波処置装置において、前記超音波振動子は、振動子の中心軸に対して円周方向に振動するねじり振動することを特徴とする超音波処置装置。
(付記項10) 超音波振動を発生させ、その超音波振動を先端処置部に伝達させることで被検体の処置をする超音波振動子と、超音波振動子の処置部以外を覆う振動子カバーと、振動子カバーに回転自由に固定され、一端が操作ワイヤに接続されている鉗子と、操作ワイヤの一端に接続されたハンドルと、前記振動子カバーの後端に接続された長尺の可撓性シースと、前記可撓性シースの一端に接続された操作部と、前記可撓性シースの内部に埋設され、前記超音波振動子に電気信号を伝達する配線ケーブルと、電気信号を発生して前記超音波振動子を駆動させる電源とを備えることを特徴とする超音波処置装置。
(付記項11) 付記項10記載の超音波処置装置において、前記鉗子、振動子カバー及び可撓性シースの外形は、内視鏡のチャンネル内径より小さく、前記振動子カバーに覆われた超音波振動子と、振動子カバーに回転自由に固定された鉗子は、一端がシースに接続された操作部を前後することにより、内視鏡のチャンネル内を出し入れ可能であることを特徴とする超音波処置装置。
(付記項12) 付記項10記載の超音波処置装置において、操作ワイヤの一端に接続されているハンドルを前後することで、鉗子が開閉自在になることを特徴とする超音波処置装置。
(付記項13) 付記項10記載の超音波処置装置において、複数の鉗子を有することを特徴とする超音波処置装置。
本発明の実施例1に係る、超音波処置装置を備えた内視鏡の全体構成を示す図。 同実施例1に係る、内視鏡と超音波振動子の先端を拡大した断面図。 同実施例1に係る、内視鏡と超音波振動子の先端の斜視図と、超音波振動子先端の正面図。 同実施例1に係る、ホーンのフランジ部と振動子カバーとの嵌合い部の断面図。 同実施例1に係る、[図2]のB−B’線に沿う一部の断面図。 同実施例1に係る、超音波振動子の構成を示す図。 同実施例1に係る、さらに異なる超音波振動子の構成を示す図。 同実施例1に係る、さらに異なる超音波振動子の構成を示す図。 同実施例1に係る、ホーン先端処置部に対する振動子カバーの変形した断面図。 同実施例1に係る、さらに異なる超音波振動子の構成を示す図。 同実施例1に係る、積層圧電体の構成を示す斜視図。 同実施例1に係る、屈曲振動する超音波振動子の構成を示す断面図。 同実施例1に係る、さらに異なる屈曲振動する超音波振動子の構成を示す斜視図。 同実施例1に係る、さらに異なる屈曲振動する超音波振動子の構成を示す斜視図。 同実施例1に係る、ねじり振動する超音波振動子の構成を示す断面図。 同実施例1に係る、さらに異なるねじり振動する超音波振動子の構成を示す斜視図。 同実施例1に係る、ねじり圧電素子の構成を示す斜視図。 本発明の実施例2に係る、超音波振動子の断面図。 同実施例2に係る、超音波振動子の斜視図。 同実施例2に係る、超音波処置装置の操作部およびハンドルの一部を切欠した側面図。 本発明の実施例3に係る、超音波処置装置先端の正面図。 同実施例3に係る、超音波処置装置先端の断面図。
符号の説明
22…超音波振動子、18…振動子カバー(カバー部材)、3…可撓性シース、7…信号ケーブル、9…超音波発振装置(超音波駆動手段)、6…操作部、8…コネクタ(コネクタ手段)、5…ケーブル取出し口、42,46…鉗子(鉗子部材)、43,47…操作ワイヤ、53…ハンドル(ハンドル手段)。

Claims (9)

  1. 生体組織を処置するための超音波振動を発生可能な超音波振動子と、
    前記超音波振動子を覆うカバー部材と、
    前記カバー部材に一端が連結される中空の可撓性シースと、
    前記カバー部材に覆われた前記超音波振動子に一端が接続され、前記可撓性シースの内部に挿通される信号ケーブルと、
    前記信号ケーブルの他端に接続され、前記超音波振動子を駆動する駆動信号を発生するための超音波駆動手段と、
    前記可撓性シースの他端部に設けられ、操作者の操作に応じて前記カバー部材とともに前記超音波振動子を変位可能な操作部と
    を具備することを特徴とする超音波処置装置。
  2. 生体組織を処置するための超音波振動を発生可能な超音波振動子と、
    前記超音波振動子を覆うカバー部材と、
    前記カバー部材の後方に一端が連結される中空の可撓性シースと、
    前記カバー部材に覆われる前記超音波振動子に一端が接続され、前記可撓性シースの内部に挿通される信号ケーブルと、
    前記信号ケーブルの他端に設けられ、前記超音波振動子を駆動する駆動信号を発生するための超音波駆動手段に接続可能なコネクタ手段と、
    前記可撓性シースの他端部に設けられ、操作者の操作に応じて前記カバー部材とともに前記超音波振動子を変位可能な操作部と
    を具備することを特徴とする超音波処置装置。
  3. 生体組織を処置するための超音波振動を発生可能な超音波振動子を覆うカバー部材と、
    前記カバー部材の後方に一端が連結される中空の可撓性シースと、
    前記カバー部材に覆われた前記超音波振動子に一端が接続され、前記可撓性シースの内部に挿通される信号ケーブルと、
    前記可撓性シースに挿通される前記信号ケーブルの他端を取出し可能なケーブル取出し口を有し、前記可撓性シースの他端に設けられ、操作者の操作に応じて前記カバー部材とともに前記超音波振動子を変位可能な操作部と、
    前記操作部の前記ケーブル取出し口から取出された信号ケーブルの他端に接続され、前記超音波振動子を駆動する駆動信号を発生するための超音波駆動手段と
    を具備することを特徴とする超音波処置装置。
  4. 生体組織を処置するための超音波振動を発生可能な超音波振動子を覆うためのカバー部材と、
    前記カバー部材の後方に一端が連結され、内部に前記超音波振動子から延出された信号ケーブルを挿通可能な中空の可撓性シースと、
    前記可撓性シースの他端に設けられ、操作者の操作に応じて前記カバー部材とともに前記超音波振動子を変位可能な操作部と、
    前記操作部に設けられ、前記可撓性シースに挿通される前記信号ケーブルの端部を取出し可能なケーブル取出し口と、
    前記ケーブル取出し口から取出された前記信号ケーブルの端部に設けられ、前記超音波振動子を駆動する駆動信号を発生するための超音波駆動手段に接続可能なコネクタ手段とを具備することを特徴とする超音波処置装置。
  5. 生体組織を処置するための超音波振動を発生可能な超音波振動子を有し、該超音波振動子を駆動するための駆動装置に接続可能な超音波処置装置において、
    前記超音波振動子を覆うカバー部材と、
    前記カバー部材の後方に一端が連結され、内部に前記超音波振動子から延出される信号ケーブルを挿通する中空の可撓性シースと、
    前記可撓性シース内部に挿通される前記信号ケーブルを前記駆動装置に接続するためのケーブル取出し口を有し、前記可撓性シースの他端に設けられ操作者の操作に応じて前記カバー部材とともに前記超音波振動子を変位可能な操作部と
    を具備することを特徴とする超音波処置装置。
  6. 生体組織を処置するための超音波振動を発生可能な超音波振動子と、
    前記超音波振動子を覆うカバー部材と、
    前記カバー部材の後方に一端が連結される中空の可撓性シースと、
    前記カバー部材に覆われる前記超音波振動子に一端が接続され、前記可撓性シースの内部に挿通される信号ケーブルと、
    前記信号ケーブルの他端に接続され、前記超音波振動子を駆動する駆動信号を発生するための超音波駆動手段と、
    前記可撓性シースの他端部に設けられ、操作者の操作に応じて前記カバー部材とともに前記超音波振動子を変位可能な操作部と、
    前記カバー部材に回動自在に設けられた鉗子部材と、
    前記鉗子部材に一端が接続され、前記可撓性シースの内部に挿通される操作ワイヤと、
    前記操作ワイヤの他端に接続され、前記操作部に対して移動可能なハンドル手段と
    を具備することを特徴とする超音波処置装置。
  7. 生体組織を処置するための超音波振動を発生可能な超音波振動子と、
    前記超音波振動子を覆うためのカバー部材と、
    前記カバー部材の後方に一端が連結される中空の可撓性シースと、
    前記カバー部材に覆われる前記超音波振動子に一端が接続され、前記可撓性シースの内部に挿通される信号ケーブルと、
    前記信号ケーブルの他端に設けられ、前記超音波振動子を駆動する駆動信号を発生するための超音波駆動手段に接続可能なコネクタ手段と、
    前記可撓性シースの他端部に設けられ、操作者の操作に応じて前記カバー部材とともに前記超音波振動子を変位可能な操作部と、
    前記カバー部材に回動自在に設けられた鉗子部材と、
    前記鉗子部材に一端が接続され、可撓性シースの内部に挿通される操作ワイヤと、
    前記操作ワイヤの他端に接続され、前記操作部に対して移動可能なハンドル手段と
    を具備することを特徴とする超音波処置装置。
  8. 上記鉗子部材は、上記超音波振動子の先端部との間に生体組織を挟持するように支持されることを特徴とする請求項6および請求項7のいずれかに記載の超音波処置装置。
  9. 上記鉗子部材は一対備えられ、上記超音波振動子の先端部に対向する部位の生体組織を挟持するように支持されることを特徴とする請求項6および請求項7のいずれかに記載の超音波処置装置。
JP2003304709A 2003-08-28 2003-08-28 超音波処置装置 Expired - Fee Related JP3999715B2 (ja)

Priority Applications (4)

Application Number Priority Date Filing Date Title
JP2003304709A JP3999715B2 (ja) 2003-08-28 2003-08-28 超音波処置装置
US10/925,374 US7449004B2 (en) 2003-08-28 2004-08-24 Ultrasonic treatment device and ultrasonic treatment system
EP04020181A EP1510178B1 (en) 2003-08-28 2004-08-25 Ultrasonic treatment device and ultrasonic treatment system
AT04020181T ATE511802T1 (de) 2003-08-28 2004-08-25 Ultraschallgerät und ultraschall- behandlungssystem

Applications Claiming Priority (1)

Application Number Priority Date Filing Date Title
JP2003304709A JP3999715B2 (ja) 2003-08-28 2003-08-28 超音波処置装置

Publications (2)

Publication Number Publication Date
JP2005073746A true JP2005073746A (ja) 2005-03-24
JP3999715B2 JP3999715B2 (ja) 2007-10-31

Family

ID=34101222

Family Applications (1)

Application Number Title Priority Date Filing Date
JP2003304709A Expired - Fee Related JP3999715B2 (ja) 2003-08-28 2003-08-28 超音波処置装置

Country Status (4)

Country Link
US (1) US7449004B2 (ja)
EP (1) EP1510178B1 (ja)
JP (1) JP3999715B2 (ja)
AT (1) ATE511802T1 (ja)

Cited By (7)

* Cited by examiner, † Cited by third party
Publication number Priority date Publication date Assignee Title
WO2013061738A1 (en) * 2011-10-24 2013-05-02 Olympus Corporation Ultrasonic vibration apparatus
WO2015001822A1 (ja) * 2013-07-03 2015-01-08 オリンパス株式会社 超音波振動デバイス、超音波振動デバイスの製造方法および超音波医療装置
JP2015524683A (ja) * 2012-06-29 2015-08-27 エシコン・エンド−サージェリィ・インコーポレイテッドEthicon Endo−Surgery,Inc. 遠位に配置されたジョーアセンブリを有する超音波外科用器具
WO2016051486A1 (ja) * 2014-09-30 2016-04-07 オリンパス株式会社 超音波振動子及び超音波医療装置
JP2018167075A (ja) * 2012-09-19 2018-11-01 エシコン・エンド−サージェリィ・インコーポレイテッドEthicon Endo−Surgery,Inc. 埋め込まれた圧電アクチュエータを伴う微細加工超音波メス
JP2019534058A (ja) * 2016-08-25 2019-11-28 エシコン エルエルシーEthicon LLC 超音波トランスデューサの導波管への音響連結、接続、及び構成
KR20200037777A (ko) * 2017-06-30 2020-04-09 인라이튼뷰 엘엘씨 내시경 시스템 및 그것의 사용 방법

Families Citing this family (187)

* Cited by examiner, † Cited by third party
Publication number Priority date Publication date Assignee Title
US11229472B2 (en) 2001-06-12 2022-01-25 Cilag Gmbh International Modular battery powered handheld surgical instrument with multiple magnetic position sensors
US8182501B2 (en) 2004-02-27 2012-05-22 Ethicon Endo-Surgery, Inc. Ultrasonic surgical shears and method for sealing a blood vessel using same
BRPI0518171B8 (pt) 2004-10-08 2021-06-22 Ethicon Endo Surgery Inc aparelho coagulador de pinça ultra-sônico
US20060116610A1 (en) * 2004-11-30 2006-06-01 Omnisonics Medical Technologies, Inc. Apparatus and method for an ultrasonic medical device with variable frequency drive
US20070191713A1 (en) 2005-10-14 2007-08-16 Eichmann Stephen E Ultrasonic device for cutting and coagulating
US7621930B2 (en) 2006-01-20 2009-11-24 Ethicon Endo-Surgery, Inc. Ultrasound medical instrument having a medical ultrasonic blade
EP2111166B1 (en) * 2007-01-16 2021-03-03 Ethicon LLC Ultrasonic device for cutting and coagulating
US8142461B2 (en) 2007-03-22 2012-03-27 Ethicon Endo-Surgery, Inc. Surgical instruments
US8226675B2 (en) 2007-03-22 2012-07-24 Ethicon Endo-Surgery, Inc. Surgical instruments
US8057498B2 (en) 2007-11-30 2011-11-15 Ethicon Endo-Surgery, Inc. Ultrasonic surgical instrument blades
US8911460B2 (en) 2007-03-22 2014-12-16 Ethicon Endo-Surgery, Inc. Ultrasonic surgical instruments
JP2008264253A (ja) * 2007-04-20 2008-11-06 Olympus Medical Systems Corp 医療用処置具及び内視鏡処置システム
US20090044880A1 (en) * 2007-06-16 2009-02-19 Jody Jones Log cutting
US8187168B2 (en) * 2007-07-09 2012-05-29 David George Wuchinich Retractable ultrasonic endoscopic aspirator
US8808319B2 (en) 2007-07-27 2014-08-19 Ethicon Endo-Surgery, Inc. Surgical instruments
US8882791B2 (en) 2007-07-27 2014-11-11 Ethicon Endo-Surgery, Inc. Ultrasonic surgical instruments
US8523889B2 (en) 2007-07-27 2013-09-03 Ethicon Endo-Surgery, Inc. Ultrasonic end effectors with increased active length
US8430898B2 (en) 2007-07-31 2013-04-30 Ethicon Endo-Surgery, Inc. Ultrasonic surgical instruments
US8512365B2 (en) 2007-07-31 2013-08-20 Ethicon Endo-Surgery, Inc. Surgical instruments
US9044261B2 (en) 2007-07-31 2015-06-02 Ethicon Endo-Surgery, Inc. Temperature controlled ultrasonic surgical instruments
EP2796102B1 (en) 2007-10-05 2018-03-14 Ethicon LLC Ergonomic surgical instruments
US10010339B2 (en) 2007-11-30 2018-07-03 Ethicon Llc Ultrasonic surgical blades
US9089360B2 (en) 2008-08-06 2015-07-28 Ethicon Endo-Surgery, Inc. Devices and techniques for cutting and coagulating tissue
US8974477B2 (en) * 2008-08-29 2015-03-10 Olympus Medical Systems Corp. Ultrasonic operating apparatus
US9700339B2 (en) 2009-05-20 2017-07-11 Ethicon Endo-Surgery, Inc. Coupling arrangements and methods for attaching tools to ultrasonic surgical instruments
US8334635B2 (en) 2009-06-24 2012-12-18 Ethicon Endo-Surgery, Inc. Transducer arrangements for ultrasonic surgical instruments
US8663220B2 (en) 2009-07-15 2014-03-04 Ethicon Endo-Surgery, Inc. Ultrasonic surgical instruments
US10172669B2 (en) 2009-10-09 2019-01-08 Ethicon Llc Surgical instrument comprising an energy trigger lockout
US10441345B2 (en) 2009-10-09 2019-10-15 Ethicon Llc Surgical generator for ultrasonic and electrosurgical devices
US9060776B2 (en) 2009-10-09 2015-06-23 Ethicon Endo-Surgery, Inc. Surgical generator for ultrasonic and electrosurgical devices
USRE47996E1 (en) 2009-10-09 2020-05-19 Ethicon Llc Surgical generator for ultrasonic and electrosurgical devices
US9168054B2 (en) 2009-10-09 2015-10-27 Ethicon Endo-Surgery, Inc. Surgical generator for ultrasonic and electrosurgical devices
US11090104B2 (en) 2009-10-09 2021-08-17 Cilag Gmbh International Surgical generator for ultrasonic and electrosurgical devices
US8376970B2 (en) * 2009-10-29 2013-02-19 Eilaz Babaev Ultrasound apparatus and methods for mitigation of neurological damage
US8469981B2 (en) 2010-02-11 2013-06-25 Ethicon Endo-Surgery, Inc. Rotatable cutting implement arrangements for ultrasonic surgical instruments
US8579928B2 (en) 2010-02-11 2013-11-12 Ethicon Endo-Surgery, Inc. Outer sheath and blade arrangements for ultrasonic surgical instruments
US8486096B2 (en) 2010-02-11 2013-07-16 Ethicon Endo-Surgery, Inc. Dual purpose surgical instrument for cutting and coagulating tissue
US8961547B2 (en) 2010-02-11 2015-02-24 Ethicon Endo-Surgery, Inc. Ultrasonic surgical instruments with moving cutting implement
US8951272B2 (en) 2010-02-11 2015-02-10 Ethicon Endo-Surgery, Inc. Seal arrangements for ultrasonically powered surgical instruments
US8834518B2 (en) 2010-04-12 2014-09-16 Ethicon Endo-Surgery, Inc. Electrosurgical cutting and sealing instruments with cam-actuated jaws
GB2480498A (en) 2010-05-21 2011-11-23 Ethicon Endo Surgery Inc Medical device comprising RF circuitry
US8795327B2 (en) 2010-07-22 2014-08-05 Ethicon Endo-Surgery, Inc. Electrosurgical instrument with separate closure and cutting members
US9192431B2 (en) 2010-07-23 2015-11-24 Ethicon Endo-Surgery, Inc. Electrosurgical cutting and sealing instrument
US8979890B2 (en) 2010-10-01 2015-03-17 Ethicon Endo-Surgery, Inc. Surgical instrument with jaw member
US9259265B2 (en) 2011-07-22 2016-02-16 Ethicon Endo-Surgery, Llc Surgical instruments for tensioning tissue
JP5851147B2 (ja) * 2011-08-05 2016-02-03 オリンパス株式会社 超音波振動装置
US9044243B2 (en) 2011-08-30 2015-06-02 Ethcon Endo-Surgery, Inc. Surgical cutting and fastening device with descendible second trigger arrangement
US10085762B2 (en) 2011-10-21 2018-10-02 Ethicon Llc Ultrasonic device for cutting and coagulating
US9314292B2 (en) 2011-10-24 2016-04-19 Ethicon Endo-Surgery, Llc Trigger lockout mechanism
WO2013119545A1 (en) 2012-02-10 2013-08-15 Ethicon-Endo Surgery, Inc. Robotically controlled surgical instrument
US9439668B2 (en) 2012-04-09 2016-09-13 Ethicon Endo-Surgery, Llc Switch arrangements for ultrasonic surgical instruments
US9241731B2 (en) 2012-04-09 2016-01-26 Ethicon Endo-Surgery, Inc. Rotatable electrical connection for ultrasonic surgical instruments
US9237921B2 (en) 2012-04-09 2016-01-19 Ethicon Endo-Surgery, Inc. Devices and techniques for cutting and coagulating tissue
US9724118B2 (en) 2012-04-09 2017-08-08 Ethicon Endo-Surgery, Llc Techniques for cutting and coagulating tissue for ultrasonic surgical instruments
US9226766B2 (en) 2012-04-09 2016-01-05 Ethicon Endo-Surgery, Inc. Serial communication protocol for medical device
US20140005705A1 (en) 2012-06-29 2014-01-02 Ethicon Endo-Surgery, Inc. Surgical instruments with articulating shafts
US20140005702A1 (en) 2012-06-29 2014-01-02 Ethicon Endo-Surgery, Inc. Ultrasonic surgical instruments with distally positioned transducers
US9198714B2 (en) 2012-06-29 2015-12-01 Ethicon Endo-Surgery, Inc. Haptic feedback devices for surgical robot
US9820768B2 (en) 2012-06-29 2017-11-21 Ethicon Llc Ultrasonic surgical instruments with control mechanisms
US9393037B2 (en) * 2012-06-29 2016-07-19 Ethicon Endo-Surgery, Llc Surgical instruments with articulating shafts
US9326788B2 (en) 2012-06-29 2016-05-03 Ethicon Endo-Surgery, Llc Lockout mechanism for use with robotic electrosurgical device
US9408622B2 (en) * 2012-06-29 2016-08-09 Ethicon Endo-Surgery, Llc Surgical instruments with articulating shafts
US9226767B2 (en) 2012-06-29 2016-01-05 Ethicon Endo-Surgery, Inc. Closed feedback control for electrosurgical device
US9283045B2 (en) 2012-06-29 2016-03-15 Ethicon Endo-Surgery, Llc Surgical instruments with fluid management system
US9492224B2 (en) 2012-09-28 2016-11-15 EthiconEndo-Surgery, LLC Multi-function bi-polar forceps
US10201365B2 (en) 2012-10-22 2019-02-12 Ethicon Llc Surgeon feedback sensing and display methods
US9095367B2 (en) 2012-10-22 2015-08-04 Ethicon Endo-Surgery, Inc. Flexible harmonic waveguides/blades for surgical instruments
DE102012219354A1 (de) * 2012-10-23 2014-04-24 Olympus Winter & Ibe Gmbh Aktuator für ein chirurgisches Instrument
US20140135804A1 (en) 2012-11-15 2014-05-15 Ethicon Endo-Surgery, Inc. Ultrasonic and electrosurgical devices
US10265119B2 (en) * 2013-02-15 2019-04-23 Covidien Lp Electrosurgical forceps
US10226273B2 (en) 2013-03-14 2019-03-12 Ethicon Llc Mechanical fasteners for use with surgical energy devices
US9241728B2 (en) 2013-03-15 2016-01-26 Ethicon Endo-Surgery, Inc. Surgical instrument with multiple clamping mechanisms
DE102013011964A1 (de) * 2013-07-15 2015-01-15 SRH Wald-Klinikum Gera gGmbH Anordnung und Verfahren zur in-vitro und in-vivo- Behandlung von Lungentumoren
GB201315755D0 (en) * 2013-09-04 2013-10-16 Univ Glasgow Device and method for causing aggregation of blood cells and method of treating bleeding from an injury.
US9814514B2 (en) 2013-09-13 2017-11-14 Ethicon Llc Electrosurgical (RF) medical instruments for cutting and coagulating tissue
US9265926B2 (en) 2013-11-08 2016-02-23 Ethicon Endo-Surgery, Llc Electrosurgical devices
GB2521229A (en) 2013-12-16 2015-06-17 Ethicon Endo Surgery Inc Medical device
GB2521228A (en) 2013-12-16 2015-06-17 Ethicon Endo Surgery Inc Medical device
US9795436B2 (en) 2014-01-07 2017-10-24 Ethicon Llc Harvesting energy from a surgical generator
US9554854B2 (en) 2014-03-18 2017-01-31 Ethicon Endo-Surgery, Llc Detecting short circuits in electrosurgical medical devices
US10463421B2 (en) 2014-03-27 2019-11-05 Ethicon Llc Two stage trigger, clamp and cut bipolar vessel sealer
US10092310B2 (en) 2014-03-27 2018-10-09 Ethicon Llc Electrosurgical devices
US10524852B1 (en) 2014-03-28 2020-01-07 Ethicon Llc Distal sealing end effector with spacers
US9737355B2 (en) 2014-03-31 2017-08-22 Ethicon Llc Controlling impedance rise in electrosurgical medical devices
US9913680B2 (en) 2014-04-15 2018-03-13 Ethicon Llc Software algorithms for electrosurgical instruments
US9757186B2 (en) 2014-04-17 2017-09-12 Ethicon Llc Device status feedback for bipolar tissue spacer
US9700333B2 (en) 2014-06-30 2017-07-11 Ethicon Llc Surgical instrument with variable tissue compression
US10285724B2 (en) 2014-07-31 2019-05-14 Ethicon Llc Actuation mechanisms and load adjustment assemblies for surgical instruments
US9877776B2 (en) 2014-08-25 2018-01-30 Ethicon Llc Simultaneous I-beam and spring driven cam jaw closure mechanism
US10194976B2 (en) 2014-08-25 2019-02-05 Ethicon Llc Lockout disabling mechanism
US10194972B2 (en) 2014-08-26 2019-02-05 Ethicon Llc Managing tissue treatment
US10639092B2 (en) 2014-12-08 2020-05-05 Ethicon Llc Electrode configurations for surgical instruments
US10159524B2 (en) 2014-12-22 2018-12-25 Ethicon Llc High power battery powered RF amplifier topology
US10092348B2 (en) 2014-12-22 2018-10-09 Ethicon Llc RF tissue sealer, shear grip, trigger lock mechanism and energy activation
US9848937B2 (en) 2014-12-22 2017-12-26 Ethicon Llc End effector with detectable configurations
US10111699B2 (en) 2014-12-22 2018-10-30 Ethicon Llc RF tissue sealer, shear grip, trigger lock mechanism and energy activation
US10245095B2 (en) 2015-02-06 2019-04-02 Ethicon Llc Electrosurgical instrument with rotation and articulation mechanisms
US10342602B2 (en) 2015-03-17 2019-07-09 Ethicon Llc Managing tissue treatment
US10321950B2 (en) 2015-03-17 2019-06-18 Ethicon Llc Managing tissue treatment
US10595929B2 (en) 2015-03-24 2020-03-24 Ethicon Llc Surgical instruments with firing system overload protection mechanisms
US10314638B2 (en) 2015-04-07 2019-06-11 Ethicon Llc Articulating radio frequency (RF) tissue seal with articulating state sensing
US10117702B2 (en) 2015-04-10 2018-11-06 Ethicon Llc Surgical generator systems and related methods
US10130410B2 (en) 2015-04-17 2018-11-20 Ethicon Llc Electrosurgical instrument including a cutting member decouplable from a cutting member trigger
US9872725B2 (en) 2015-04-29 2018-01-23 Ethicon Llc RF tissue sealer with mode selection
US10034684B2 (en) 2015-06-15 2018-07-31 Ethicon Llc Apparatus and method for dissecting and coagulating tissue
US11020140B2 (en) 2015-06-17 2021-06-01 Cilag Gmbh International Ultrasonic surgical blade for use with ultrasonic surgical instruments
US11051873B2 (en) 2015-06-30 2021-07-06 Cilag Gmbh International Surgical system with user adaptable techniques employing multiple energy modalities based on tissue parameters
US11129669B2 (en) 2015-06-30 2021-09-28 Cilag Gmbh International Surgical system with user adaptable techniques based on tissue type
US10357303B2 (en) 2015-06-30 2019-07-23 Ethicon Llc Translatable outer tube for sealing using shielded lap chole dissector
US10034704B2 (en) 2015-06-30 2018-07-31 Ethicon Llc Surgical instrument with user adaptable algorithms
US11141213B2 (en) 2015-06-30 2021-10-12 Cilag Gmbh International Surgical instrument with user adaptable techniques
US10898256B2 (en) 2015-06-30 2021-01-26 Ethicon Llc Surgical system with user adaptable techniques based on tissue impedance
US10154852B2 (en) 2015-07-01 2018-12-18 Ethicon Llc Ultrasonic surgical blade with improved cutting and coagulation features
US9913570B2 (en) 2015-08-07 2018-03-13 Enlightenvue Llc Endoscope with variable profile tip
US11058475B2 (en) 2015-09-30 2021-07-13 Cilag Gmbh International Method and apparatus for selecting operations of a surgical instrument based on user intention
US10959771B2 (en) 2015-10-16 2021-03-30 Ethicon Llc Suction and irrigation sealing grasper
US10595930B2 (en) 2015-10-16 2020-03-24 Ethicon Llc Electrode wiping surgical device
EP3313301A1 (en) * 2015-10-23 2018-05-02 Boston Scientific Scimed, Inc. Ultrasonic treatment devices and systems
US10179022B2 (en) 2015-12-30 2019-01-15 Ethicon Llc Jaw position impedance limiter for electrosurgical instrument
US10959806B2 (en) 2015-12-30 2021-03-30 Ethicon Llc Energized medical device with reusable handle
US10575892B2 (en) 2015-12-31 2020-03-03 Ethicon Llc Adapter for electrical surgical instruments
US11129670B2 (en) 2016-01-15 2021-09-28 Cilag Gmbh International Modular battery powered handheld surgical instrument with selective application of energy based on button displacement, intensity, or local tissue characterization
US12193698B2 (en) 2016-01-15 2025-01-14 Cilag Gmbh International Method for self-diagnosing operation of a control switch in a surgical instrument system
US11229471B2 (en) 2016-01-15 2022-01-25 Cilag Gmbh International Modular battery powered handheld surgical instrument with selective application of energy based on tissue characterization
US10716615B2 (en) 2016-01-15 2020-07-21 Ethicon Llc Modular battery powered handheld surgical instrument with curved end effectors having asymmetric engagement between jaw and blade
US10537351B2 (en) 2016-01-15 2020-01-21 Ethicon Llc Modular battery powered handheld surgical instrument with variable motor control limits
US10555769B2 (en) 2016-02-22 2020-02-11 Ethicon Llc Flexible circuits for electrosurgical instrument
US10485607B2 (en) 2016-04-29 2019-11-26 Ethicon Llc Jaw structure with distal closure for electrosurgical instruments
US10856934B2 (en) 2016-04-29 2020-12-08 Ethicon Llc Electrosurgical instrument with electrically conductive gap setting and tissue engaging members
US10987156B2 (en) 2016-04-29 2021-04-27 Ethicon Llc Electrosurgical instrument with electrically conductive gap setting member and electrically insulative tissue engaging members
US10702329B2 (en) 2016-04-29 2020-07-07 Ethicon Llc Jaw structure with distal post for electrosurgical instruments
US10646269B2 (en) 2016-04-29 2020-05-12 Ethicon Llc Non-linear jaw gap for electrosurgical instruments
US10456193B2 (en) 2016-05-03 2019-10-29 Ethicon Llc Medical device with a bilateral jaw configuration for nerve stimulation
US10543013B2 (en) * 2016-05-19 2020-01-28 Ethicon Llc Passive dissection features for ultrasonic surgical instrument
US10245064B2 (en) 2016-07-12 2019-04-02 Ethicon Llc Ultrasonic surgical instrument with piezoelectric central lumen transducer
US10893883B2 (en) * 2016-07-13 2021-01-19 Ethicon Llc Ultrasonic assembly for use with ultrasonic surgical instruments
US10842522B2 (en) 2016-07-15 2020-11-24 Ethicon Llc Ultrasonic surgical instruments having offset blades
US10376305B2 (en) 2016-08-05 2019-08-13 Ethicon Llc Methods and systems for advanced harmonic energy
US10285723B2 (en) 2016-08-09 2019-05-14 Ethicon Llc Ultrasonic surgical blade with improved heel portion
USD847990S1 (en) 2016-08-16 2019-05-07 Ethicon Llc Surgical instrument
US10952759B2 (en) 2016-08-25 2021-03-23 Ethicon Llc Tissue loading of a surgical instrument
US10751117B2 (en) 2016-09-23 2020-08-25 Ethicon Llc Electrosurgical instrument with fluid diverter
US10603064B2 (en) 2016-11-28 2020-03-31 Ethicon Llc Ultrasonic transducer
US11266430B2 (en) 2016-11-29 2022-03-08 Cilag Gmbh International End effector control and calibration
US11033325B2 (en) 2017-02-16 2021-06-15 Cilag Gmbh International Electrosurgical instrument with telescoping suction port and debris cleaner
US10799284B2 (en) 2017-03-15 2020-10-13 Ethicon Llc Electrosurgical instrument with textured jaws
US11497546B2 (en) 2017-03-31 2022-11-15 Cilag Gmbh International Area ratios of patterned coatings on RF electrodes to reduce sticking
US10603117B2 (en) 2017-06-28 2020-03-31 Ethicon Llc Articulation state detection mechanisms
US10820920B2 (en) 2017-07-05 2020-11-03 Ethicon Llc Reusable ultrasonic medical devices and methods of their use
CN107320156B (zh) * 2017-07-31 2021-04-13 成都博恩思医学机器人有限公司 一种超声刀的控制装置及微创手术机器人
US11484358B2 (en) 2017-09-29 2022-11-01 Cilag Gmbh International Flexible electrosurgical instrument
US11033323B2 (en) 2017-09-29 2021-06-15 Cilag Gmbh International Systems and methods for managing fluid and suction in electrosurgical systems
US11490951B2 (en) 2017-09-29 2022-11-08 Cilag Gmbh International Saline contact with electrodes
US10327736B1 (en) * 2018-04-17 2019-06-25 William L. Puskas Ultrasound transducer arrays and associated systems and methods
US10687698B2 (en) 2018-09-12 2020-06-23 Enlightenvue Llc Direct endoluminal- and/or endovascular-illumination systems and methods of use thereof
JP7297489B2 (ja) * 2019-03-26 2023-06-26 キヤノン株式会社 振動型アクチュエータおよび振動型アクチュエータの駆動装置
US11950797B2 (en) 2019-12-30 2024-04-09 Cilag Gmbh International Deflectable electrode with higher distal bias relative to proximal bias
US12023086B2 (en) 2019-12-30 2024-07-02 Cilag Gmbh International Electrosurgical instrument for delivering blended energy modalities to tissue
US12076006B2 (en) 2019-12-30 2024-09-03 Cilag Gmbh International Surgical instrument comprising an orientation detection system
US11660089B2 (en) 2019-12-30 2023-05-30 Cilag Gmbh International Surgical instrument comprising a sensing system
US11723716B2 (en) 2019-12-30 2023-08-15 Cilag Gmbh International Electrosurgical instrument with variable control mechanisms
US12053224B2 (en) 2019-12-30 2024-08-06 Cilag Gmbh International Variation in electrode parameters and deflectable electrode to modify energy density and tissue interaction
US12262937B2 (en) 2019-12-30 2025-04-01 Cilag Gmbh International User interface for surgical instrument with combination energy modality end-effector
US12114912B2 (en) 2019-12-30 2024-10-15 Cilag Gmbh International Non-biased deflectable electrode to minimize contact between ultrasonic blade and electrode
US11786291B2 (en) 2019-12-30 2023-10-17 Cilag Gmbh International Deflectable support of RF energy electrode with respect to opposing ultrasonic blade
US12082808B2 (en) 2019-12-30 2024-09-10 Cilag Gmbh International Surgical instrument comprising a control system responsive to software configurations
US12349961B2 (en) 2019-12-30 2025-07-08 Cilag Gmbh International Electrosurgical instrument with electrodes operable in bipolar and monopolar modes
US12064109B2 (en) 2019-12-30 2024-08-20 Cilag Gmbh International Surgical instrument comprising a feedback control circuit
US11911063B2 (en) 2019-12-30 2024-02-27 Cilag Gmbh International Techniques for detecting ultrasonic blade to electrode contact and reducing power to ultrasonic blade
US11937863B2 (en) 2019-12-30 2024-03-26 Cilag Gmbh International Deflectable electrode with variable compression bias along the length of the deflectable electrode
US20210196362A1 (en) 2019-12-30 2021-07-01 Ethicon Llc Electrosurgical end effectors with thermally insulative and thermally conductive portions
US11684412B2 (en) 2019-12-30 2023-06-27 Cilag Gmbh International Surgical instrument with rotatable and articulatable surgical end effector
US11759251B2 (en) 2019-12-30 2023-09-19 Cilag Gmbh International Control program adaptation based on device status and user input
US11812957B2 (en) 2019-12-30 2023-11-14 Cilag Gmbh International Surgical instrument comprising a signal interference resolution system
US12343063B2 (en) 2019-12-30 2025-07-01 Cilag Gmbh International Multi-layer clamp arm pad for enhanced versatility and performance of a surgical device
US11986201B2 (en) 2019-12-30 2024-05-21 Cilag Gmbh International Method for operating a surgical instrument
US12336747B2 (en) 2019-12-30 2025-06-24 Cilag Gmbh International Method of operating a combination ultrasonic / bipolar RF surgical device with a combination energy modality end-effector
US11696776B2 (en) 2019-12-30 2023-07-11 Cilag Gmbh International Articulatable surgical instrument
US11452525B2 (en) 2019-12-30 2022-09-27 Cilag Gmbh International Surgical instrument comprising an adjustment system
US11944366B2 (en) 2019-12-30 2024-04-02 Cilag Gmbh International Asymmetric segmented ultrasonic support pad for cooperative engagement with a movable RF electrode
US11779387B2 (en) 2019-12-30 2023-10-10 Cilag Gmbh International Clamp arm jaw to minimize tissue sticking and improve tissue control
US11779329B2 (en) 2019-12-30 2023-10-10 Cilag Gmbh International Surgical instrument comprising a flex circuit including a sensor system
EP4101416A1 (en) * 2020-02-05 2022-12-14 Olympus Corporation Ultrasonic probe and treatment system
US12471982B2 (en) 2020-12-02 2025-11-18 Cilag Gmbh International Method for tissue treatment by surgical instrument
CN112603468A (zh) * 2020-12-16 2021-04-06 刘奇为 用于软性内窥镜的超声刀
US12508021B2 (en) 2021-11-01 2025-12-30 Cilag Gmbh International Devices, systems, and methods for detecting tissue and foreign objects during a surgical operation
US11957342B2 (en) 2021-11-01 2024-04-16 Cilag Gmbh International Devices, systems, and methods for detecting tissue and foreign objects during a surgical operation

Family Cites Families (9)

* Cited by examiner, † Cited by third party
Publication number Priority date Publication date Assignee Title
US5139496A (en) * 1990-12-20 1992-08-18 Hed Aharon Z Ultrasonic freeze ablation catheters and probes
JPH08117240A (ja) 1994-10-20 1996-05-14 Alps Electric Co Ltd 治療装置
US6056735A (en) * 1996-04-04 2000-05-02 Olympus Optical Co., Ltd. Ultrasound treatment system
FR2764516B1 (fr) * 1997-06-11 1999-09-03 Inst Nat Sante Rech Med Applicateur intratissulaire ultrasonore pour l'hyperthermie
JPH1156867A (ja) 1997-08-12 1999-03-02 Yasuto Takeuchi 超音波手術装置
US6231578B1 (en) * 1998-08-05 2001-05-15 United States Surgical Corporation Ultrasonic snare for excising tissue
JP3699846B2 (ja) 1998-12-24 2005-09-28 オリンパス株式会社 超音波処置装置
JP2003052711A (ja) 2001-08-09 2003-02-25 Olympus Optical Co Ltd 超音波処置具
JP2004000336A (ja) * 2002-05-31 2004-01-08 Olympus Corp 超音波処置装置

Cited By (15)

* Cited by examiner, † Cited by third party
Publication number Priority date Publication date Assignee Title
JP2013090695A (ja) * 2011-10-24 2013-05-16 Olympus Corp 超音波振動装置
WO2013061738A1 (en) * 2011-10-24 2013-05-02 Olympus Corporation Ultrasonic vibration apparatus
JP2015524683A (ja) * 2012-06-29 2015-08-27 エシコン・エンド−サージェリィ・インコーポレイテッドEthicon Endo−Surgery,Inc. 遠位に配置されたジョーアセンブリを有する超音波外科用器具
JP2018167075A (ja) * 2012-09-19 2018-11-01 エシコン・エンド−サージェリィ・インコーポレイテッドEthicon Endo−Surgery,Inc. 埋め込まれた圧電アクチュエータを伴う微細加工超音波メス
JPWO2015001822A1 (ja) * 2013-07-03 2017-02-23 オリンパス株式会社 超音波振動デバイス、超音波振動デバイスの製造方法および超音波医療装置
WO2015001822A1 (ja) * 2013-07-03 2015-01-08 オリンパス株式会社 超音波振動デバイス、超音波振動デバイスの製造方法および超音波医療装置
WO2016051486A1 (ja) * 2014-09-30 2016-04-07 オリンパス株式会社 超音波振動子及び超音波医療装置
JP2019534058A (ja) * 2016-08-25 2019-11-28 エシコン エルエルシーEthicon LLC 超音波トランスデューサの導波管への音響連結、接続、及び構成
JP2022008423A (ja) * 2016-08-25 2022-01-13 エシコン エルエルシー 超音波トランスデューサの導波管への音響連結、接続、及び構成
JP7234321B2 (ja) 2016-08-25 2023-03-07 エシコン エルエルシー 超音波トランスデューサの導波管への音響連結、接続、及び構成
KR20200037777A (ko) * 2017-06-30 2020-04-09 인라이튼뷰 엘엘씨 내시경 시스템 및 그것의 사용 방법
JP2020526278A (ja) * 2017-06-30 2020-08-31 エンライトンビュー エルエルシーEnlightenvue Llc 内視鏡システムおよびその使用方法
JP7197179B2 (ja) 2017-06-30 2022-12-27 エンライトンビュー エルエルシー 内視鏡システムおよびその使用方法
US11812985B2 (en) 2017-06-30 2023-11-14 Enlightenvue, Inc. Endoscopy systems and methods of use thereof
KR102651931B1 (ko) * 2017-06-30 2024-03-29 인라이튼뷰 엘엘씨 내시경 시스템 및 그것의 사용 방법

Also Published As

Publication number Publication date
EP1510178A1 (en) 2005-03-02
US7449004B2 (en) 2008-11-11
US20050049525A1 (en) 2005-03-03
ATE511802T1 (de) 2011-06-15
EP1510178B1 (en) 2011-06-08
JP3999715B2 (ja) 2007-10-31

Similar Documents

Publication Publication Date Title
JP3999715B2 (ja) 超音波処置装置
JP4128496B2 (ja) 超音波処置装置
EP3484382B1 (en) Ultrasonic assembly for use with ultrasonic surgical instruments
JP4896056B2 (ja) 超音波手術器具
JP4284179B2 (ja) 積層された小さい刃から形成された、長い超音波切断刃
US6893434B2 (en) Ultrasonic soft tissue cutting and coagulation systems including a retractable grasper
JP6615861B2 (ja) 超音波ブレードオーバーモールド
JP2005040222A (ja) 超音波処置装置
JP2010005460A (ja) 柔組織の切断及び凝固のための超音波システム
JPWO2010076873A1 (ja) 外科手術装置
JPH1147143A (ja) 超音波套管針アセンブリ
CN108472054A (zh) 用于内窥镜手术的手持器械
CN100522086C (zh) 超声波处置装置
US20170258487A1 (en) Surgical treatment instrument and surgical treatment instrument apparatus
CN101277653B (zh) 超声波治疗装置
JP6965263B2 (ja) 管状の音響導波管セグメントを備えた超音波外科器具
JPH10248854A (ja) 超音波治療装置
CN108472065A (zh) 医疗器械和医疗器械系统
JP6084100B2 (ja) 超音波処置装置
JPH09276274A (ja) 超音波治療用プローブ
JP2001037771A (ja) 超音波処置装置
JP2001087278A (ja) 超音波手術装置
WO2003103504A2 (en) Ultrasonic cutter
JPS6111032A (ja) 超音波破砕装置

Legal Events

Date Code Title Description
A621 Written request for application examination

Free format text: JAPANESE INTERMEDIATE CODE: A621

Effective date: 20050524

A977 Report on retrieval

Free format text: JAPANESE INTERMEDIATE CODE: A971007

Effective date: 20070129

A131 Notification of reasons for refusal

Free format text: JAPANESE INTERMEDIATE CODE: A131

Effective date: 20070424

A521 Request for written amendment filed

Free format text: JAPANESE INTERMEDIATE CODE: A523

Effective date: 20070625

TRDD Decision of grant or rejection written
A01 Written decision to grant a patent or to grant a registration (utility model)

Free format text: JAPANESE INTERMEDIATE CODE: A01

Effective date: 20070731

A61 First payment of annual fees (during grant procedure)

Free format text: JAPANESE INTERMEDIATE CODE: A61

Effective date: 20070809

R151 Written notification of patent or utility model registration

Ref document number: 3999715

Country of ref document: JP

Free format text: JAPANESE INTERMEDIATE CODE: R151

FPAY Renewal fee payment (event date is renewal date of database)

Free format text: PAYMENT UNTIL: 20100817

Year of fee payment: 3

FPAY Renewal fee payment (event date is renewal date of database)

Free format text: PAYMENT UNTIL: 20100817

Year of fee payment: 3

FPAY Renewal fee payment (event date is renewal date of database)

Free format text: PAYMENT UNTIL: 20110817

Year of fee payment: 4

FPAY Renewal fee payment (event date is renewal date of database)

Free format text: PAYMENT UNTIL: 20120817

Year of fee payment: 5

FPAY Renewal fee payment (event date is renewal date of database)

Free format text: PAYMENT UNTIL: 20130817

Year of fee payment: 6

S531 Written request for registration of change of domicile

Free format text: JAPANESE INTERMEDIATE CODE: R313531

R350 Written notification of registration of transfer

Free format text: JAPANESE INTERMEDIATE CODE: R350

R250 Receipt of annual fees

Free format text: JAPANESE INTERMEDIATE CODE: R250

LAPS Cancellation because of no payment of annual fees