JP2004246306A - 光量調節部材の製造方法 - Google Patents
光量調節部材の製造方法 Download PDFInfo
- Publication number
- JP2004246306A JP2004246306A JP2003039391A JP2003039391A JP2004246306A JP 2004246306 A JP2004246306 A JP 2004246306A JP 2003039391 A JP2003039391 A JP 2003039391A JP 2003039391 A JP2003039391 A JP 2003039391A JP 2004246306 A JP2004246306 A JP 2004246306A
- Authority
- JP
- Japan
- Prior art keywords
- adjusting member
- light amount
- amount adjusting
- light
- light quantity
- Prior art date
- Legal status (The legal status is an assumption and is not a legal conclusion. Google has not performed a legal analysis and makes no representation as to the accuracy of the status listed.)
- Granted
Links
Images
Landscapes
- Optical Elements Other Than Lenses (AREA)
- Diaphragms For Cameras (AREA)
- Blocking Light For Cameras (AREA)
Abstract
【解決手段】着色液を吸収し得る材料からなる層を有する透明基材を用意する工程と、該層に液体噴射記録法を用いて色材を含む着色液を付与し、特定の光学濃度をもつ光量調節領域を形成する工程とを有する光量調節部材の製造方法。
【選択図】 なし
Description
【発明の属する技術分野】
本発明は、デジタルカメラ、ビデオカメラ等の光学機器等、或いは電子写真方式記録装置等の、多種多様な分野で有効に使用できる光量調節部材が簡便に得られる、光量調節部材の製造方法に関し、更には、該方法によって得られる優れた光量調節部材、該光量調節部材を用いた光量調節装置および撮影装置に関する。
【0002】
【従来の技術】
カメラ等の光学機器に用いられる結像(撮影)光学系には、一般に入射光束の光量を調節する光量調節装置、いわゆる絞り装置が内蔵されている。かかる絞り装置においては、複数の絞り羽根が所定面積の開口部を形成し、アクチュエータで該開口部の開口径を調節することで、開口部を通過する光束の量を調節している。しかし、該開口部の開口径を小さくするに従って、絞り羽根の端部で生ずる回折の影響が大きくなり、結像光学系の結像性能が低下する。これに対し、かかる欠点を回避するために、上記絞り羽根の一部に光量調節部材としてのフィルタを設け、開口径を小さくする代わりに光学フィルタで、開口部を通過する光束の量(光量)を減衰させる技術が知られている。このような目的に用いられる光学フィルタには、光の散乱、屈折異常、分光透過率偏差等の光学的欠陥が少ないものであることが要求される。
【0003】
従来より、上記の光量調節部材として一般的に使用されているのは、光透過性のフィルム形成材料中に光を吸収する顔料や染料等の色材を混合して練り込んで着色フィルムとしたタイプのものである。しかしながら、この方式によって製造される光量調節部材は高価であり、拡大している需要に対して要求されているコストダウンに十分に応えられるものではなかった。また、光透過性のフィルム材料中に色材を練り込んで着色フィルムとする方式では、連続的な、或いは段階的な濃度分布を有する(以下、「多濃度の」と呼ぶ)光量調節部材を製造することは著しく困難であるという問題もある。
【0004】
他に知られている光量調節部材の製造方法としては、銀塩フィルムを用いる方法があり、かかる方法によれば多濃度の光量調節部材を製造できる(例えば、特許文献1等参照)。しかし、この方法で得られた光量調節部材の場合には、フィルタに内在する銀粒子表面での光束の反射や、銀粒子端部を通過する光束の回折によって、該フィルタを通過した光線の直進性が損なわれて光学系の結像性能が低下する、といった銀塩フィルムを用いることによる特有の問題が生じる。
【0005】
また、蒸着法により、多濃度の光量調節部材を製造する方法についての提案もある(例えば、特許文献2等参照)。しかし、この方法の場合には、製造コストがかかり高価なものとなるのに加えて、濃度によって膜厚が変化するために、濃度の高いところと低いところで膜厚差が生じ、結果として光路差が生じて、解像力が低下するといった問題を生ずる。更に、この方式では、連続的な濃度分布を有するものを製造することは非常に困難であり、製造したとしても濃度分布が段階的に変化したものになる。
【0006】
また、先ず光によって褪色する有機色素をフィルム材料中に練り込み、得られたフィルムに部分的に高エネルギーの光を照射することで照射部分の有機色素を分解させ、これによって多濃度の光量調節部材を製造する方法についての提案もある(例えば、特許文献3等参照)。しかしながら、この方式では、使用可能な色材が、光によって褪色するものに限定されてしまうため、十分な光学的特性を有する製品を得ることが非常に困難である。更に、その煩雑な製法から、得られる製品が非常に高価なものになってしまうであろうことは容易に推測できる。
【0007】
更に、蒸着或いは写真製版等の印刷工程によって単一濃度の膜を網点状に形成し、網点パターンを場所によって変えることで、透過率が無段階に変わる光量調節部材としてのフィルタを製造する方法についての提案がある(例えば、特許文献4等参照)。しかしながら、かかる方法は、写真製版或いは蒸着で所定濃度の膜を形成するものであり、何れの工程を採用したとしても、装置が大型化し、高価であり、フィルタの製造コストが高くなってしまうという課題がある。
【0008】
【特許文献1】
特開平5−173004号公報
【特許文献2】
特開平10−133254号公報
【特許文献3】
特開平10−96971号公報
【特許文献4】
特開2000−352736号公報
【0009】
【発明が解決しようとする課題】
従って、本発明の目的は、上記した従来技術の課題を解決し、光学特性を十分に満足し得る光量調節部材を、製造コストが低く、歩留まりの高い簡便な操作によって経済的に製造することが可能な光量調節部材の製造方法を提供することにある。また、本発明の目的は、上記に加えて、特に、連続的な、或いは段階的な濃度分布を有する光量調節部材を簡便に得ることができる光量調節部材の製造方法を提供することにある。更に、本発明の目的は、上記した簡便な製造方法によって、光学特性を十分に満足できる光量調節部材を安価に簡便に製造することで、光量調節部材を具備する多種多様な光量調節装置及び撮影装置を、十分な光学特性を達成しつつ安価に提供することにある。
【0010】
【課題を解決するための手段】
上記の目的は、以下の本発明によって達成される。即ち、本発明の第1の態様は、[1]着色液を吸収し得る材料からなる層を有する透明基材を用意する工程と、該層に液体噴射記録法を用いて色材を含む着色液を付与し、特定の光学濃度をもつ光量調節領域を形成する工程とを有することを特徴とする光量調節部材の製造方法である。
【0011】
上記した本発明の第1の態様にかかる光量調節部材の製造方法の好ましい形態としては、下記の[2]〜[4]を挙げることができる。[2]前記光量調節領域が、連続的に或いは段階的に濃度分布を有するものとなるように着色液を付与する上記[1]に記載の光量調節部材の製造方法。[3]前記光量調節領域を形成する工程の後に、更に、前記光量調節領域表面上に透明の平坦化層を設ける工程を有する上記[1]または[2]に記載の光量調節部材の製造方法。[4]前記層上に着色液が付与されて形成される該着色液の1ドット面積が、前記光量調節領域の面積の20分の1以下となるように着色液を付与する上記[1]〜[3]のいずれかに記載の光量調節部材の製造方法。
【0012】
本発明の第2の態様は、[5]透明基材上に液体噴出記録方法を用いて透明樹脂材料及び色材を少なくとも含有する着色液を付与する工程と、該透明樹脂材料を硬化して、特定の光学濃度をもつ光量調節領域を形成する工程とを有することを特徴とする光量調節部材の製造方法である。
【0013】
上記した本発明の第2の態様にかかる光量調節部材の製造方法の好ましい形態としては、下記の[6]〜[9]を挙げることができる。[6]前記光量調節領域が、連続的に或いは段階的に濃度分布を有するものとなるように着色液を付与する上記[5]に記載の光量調節部材の製造方法。[7]前記光量調節領域を形成する工程の後に、光量調節領域表面上に透明の平坦化層を設ける工程を有する上記[5]または[6]に記載の光量調節部材の製造方法。[8]前記光量調節領域を形成する工程の後に、該光量調節領域表面を研磨する工程を有する上記[5]または[6]に記載の光量調節部材の製造方法。[9]前記透明基材上に着色液が付与されて形成される着色液の1ドット面積が、前記光量調節領域の面積の20分の1以下となるように着色液を付与する上記[5]〜[8]のいずれかに記載の光量調節部材の製造方法。
【0014】
本発明の別の実施態様としては、下記の[10]〜[12]を挙げることができる。[10]上記[1]〜[9]のいずれかに記載の光量調節部材の製造方法によって製造されたことを特徴とする光量調節部材。[11]所定の開口径を有する開口部を通過する光束の状態を調節するための光量調節装置において、前記光束に所定の透過率を与えるための第1の領域と、前記光束を遮断するための第2の領域を備え、且つ、前記第1の領域が、上記[10]に記載の光量調節部材からなることを特徴とする光量調節装置。[12]上記[11]に記載の光量調節装置と、被写体像を形成する撮影光学系と、形成した被写体像を光電変換する撮像手段と、上記光電変換された信号を記録する記録手段とを有し、且つ、上記光量調節装置が撮影光学系に配置されていることを特徴とする撮影装置。
【0015】
【発明の実施の形態】
以下に、本発明にかかる光量調節部材の製造方法の好ましい実施の形態を挙げて本発明を更に詳細に説明する。
<第1の態様>
本発明の第1の態様にかかる光量調節部材の製造方法は、着色液を吸収し得る材料からなる層を有する透明基材を用意する工程と、該基材の層に対して、液体噴射記録法により色材を含む着色液を付与して受容させて、光束の透過量を調節し得る、特定の光学濃度をもつ光量調節領域を形成する工程とを有することを特徴とするが、この場合に、透明基材に着色液を吸収し得る材料からなる層を形成する工程に引き続き、光量調節領域となる着色層を形成する工程を行なって、透明基材に、連続的に光量調節領域を形成するように構成してもよい。以下、透明基材上に着色液を吸収し得る材料からなる層を形成する場合に使用するコーティング方法、更には、この場合に使用する材料について説明する。
【0016】
透明基材上に着色液を受容し得る層を形成するためには、先ず、後述する材料を必要により他の添加剤と共に、水、或いはアルコール、多価アルコール類、又は他の適当な有機溶媒に溶解または分散し、塗工液を調製する。次いで得られた塗工液を、例えば、ロールコーター法、ブレードコーター法、エアナイフコーター法、ゲートロールコーター法、バーコーター法、サイズプレス法、スプレーコート法、グラビアコーター法、カーテンコーター法、スピンコート法等により基材表面に塗工する。その後、例えば、熱風乾燥炉、熱ドラム、ホットプレート等を用いて乾燥を行って、着色液を吸収・受容し得る受容層を形成する。
【0017】
本発明において用いることのできる透明基材としては、光量調節部材としての機械的強度及び光学的特性等の必要特性を有していれば、特に限られるものではない。例えば、ポリエチレンテレフタレート、ジアセテート、トリアセテート、セロハン、セルロイド、ポリカーボネート、ポリイミド、ポリビニルクロライド、ポリビニリデンクロライド、ポリアクリレート、ポリエチレン、ポリプロピレン等からなる透明フィルム基材を挙げることができる。また、上記必要特性を満たすものであれば、ガラス基材を使用することも可能である。
【0018】
また、上記のような透明基材上に設ける着色液を吸収し得る層を形成する場合の塗工液材料としては、該材料によって形成された層に着色液が吸収され、該着色液中の色材を受容し定着できるものであればよく、特に限られるものではない。例えば、このようなものとして、下記に挙げるような水溶性樹脂及び水分散性樹脂を好ましく用いることができる。
【0019】
水溶性樹脂としては、例えば、ポリビニルアルコール、及びアニオン変性ポリビニルアルコール、カチオン変性ポリビニルアルコール、アセタール変性ポリビニルアルコール等のポリビニルアルコールの変性物;水系ポリウレタン;ポリビニルピロリドン、及びビニルピロリドンと酢酸ビニル共重合体、ビニルピロリドンとジメチルアミノエチル・メタクリル酸の共重合体、4級化したビニルピロリドンとジメチルアミノエチル・メタクリル酸の共重合体、ビニルピロリドンとメタクリルアミドプロピル塩化トリメチルアンモニウム共重合体等のポリビニルピロリドンの変性物;カルボキシメチルセルロース、ヒドロキシエチルセルロース、ヒドロキシプロピルセルロース等のセルロース系水溶性樹脂、及びカチオン化ヒドロキシエチルセルロース等のセルロースの変性物;ポリエステル、ポリアクリル酸(エステル)、メラミン樹脂、或いはこれらの変性物、少なくともポリエステルとポリウレタンとを含むグラフト共重合体等の合成樹脂、また、アルブミン、ゼラチン、カゼイン、でんぷん、カチオン化でんぷん、アラビアゴム、アルギン酸ソーダ等の天然樹脂等を挙げることができる。
【0020】
また、水分散性樹脂としては、例えば、ポリ酢酸ビニル、エチレン−酢酸ビニル共重合体、ポリスチレン、スチレン−(メタ)アクリル酸エステル共重合体、(メタ)アクリル酸エステル系重合体、酢酸ビニル−(メタ)アクリル酸(エステル)共重合体、ポリ(メタ)アクリルアミド、(メタ)アクリルアミド系共重合体、スチレン−イソプレン共重合体、スチレン−ブタジエン共重合体、スチレン−プロピレン共重合体、ポリビニルエーテル、シリコーン−アクリル系共重合体等、多数列挙することができるが、勿論、本発明は、これらに限定されるものではない。
【0021】
また、上記の水溶性樹脂或いは水分散性樹脂をバインダーとし、これらの材料に、例えば、アルミナ水和物、シリカ、炭酸カルシウム等の顔料を混合させた隙間吸収タイプのものも、光学的特性を満たす範囲内で使用できる。
【0022】
更に、塗工液中には上記材料に加えて、コーティング性、着色液の吸収性能の制御、機械的特性の向上等のために、必要に応じて、各種の界面活性剤、架橋剤、染料固着剤(耐水化剤)、消泡剤、酸化防止剤、粘度調整剤、pH調整剤、防カビ剤、可塑剤等を含有させてもよい。
【0023】
本発明においては、上記のような透明基材上の着色液を吸収し得る層に対して液体噴射記録法により色材を含む着色液を付与し、着色液を層中に吸収・受容させて特定濃度をもつ光量調節領域を形成して光量調節部材を形成するが、この際に用いる着色液としては、微小液滴噴出装置により吐出可能なものであれば特に限定されない。例えば、着色液として、色材を水系及び油系の液媒体に溶解或いは分散させてなるものが使用できる。
【0024】
本発明においては、水系及び油系の何れの着色液も用いることができるが、吐出信頼性の点から、水系の着色液を使用することが好ましい。着色液中の色材としては、各種染料、顔料を用いることができるが、各種金属、無機、有機の微粒子等も使用可能である。尚、本発明において、着色液を構成する色材とは、可視光、紫外光、赤外光を含む所定波長帯の光の透過率を制御する材料を指す。即ち、本発明の光量調節部材の製造方法によってNDフィルタ(Neutral Density Filter)を製造する場合には、例えば、色材として、可視光帯域全体に渡って均一な透過特性を与えるものを利用したが、本発明は、これに限定されるものではない。例えば、赤外線カメラ用の光量調節装置に用いる光量調節部材を形成する場合には、赤外域の特定波長のみを透過する材料を用いることが必要となるが、これも色材に含まれる。更に、透過光量を制御する際の光の吸収が、材料内部で生じるもの、材料表面で生じるもの等、何れも、本発明で使用する色材に含まれる。
【0025】
本発明において使用する水系の着色液の形成材料である液媒体としては、下記に挙げるような各種の水溶性有機溶剤を用いることができる。具体的には、例えば、メチルアルコール、エチルアルコール、n−プロピルアルコール、イソプロピルアルコール、n−ブチルアルコール、sec−ブチルアルコール、tert−ブチルアルコール、イソブチルアルコール、n−ペンタノール等の炭素数1〜5のアルキルアルコール類;ジメチルホルムアミド、ジメチルアセトアミド等のアミド類;アセトン、ジアセトンアルコール等のケトンまたはケトアルコール類;テトラヒドロフラン、ジオキサン等のエーテル類;ジエチレングリコール、トリエチレングリコール、テトラエチレングリコール、ジプロピレングリコール、トリプロピレングリコール、ポリエチレングリコール、ポリプロピレングリコール等のオキシエチレンまたはオキシプロピレン共重合体;エチレングリコール、プロピレングリコール、トリメチレングリコール、トリエチレングリコール、1,2,6−ヘキサントリオール等のアルキレン基が2〜6個の炭素原子を含むアルキレングリコール類;グリセリン;エチレングリコールモノメチル(またはエチル)エーテル、ジエチレングリコールモノメチル(またはエチル)エーテル、トリエチレングリコールモノメチル(またはエチル)エーテル等の低級アルキルエーテル類;トリエチレングリコールジメチル(またはエチル)エーテル、テトラエチレングリコールジメチル(またはエチル)エーテル等の多価アルコールの低級ジアルキルエーテル類;モノエタノールアミン、ジエタノールアミン、トリエタノールアミン等のアルカノールアミン類;スルホラン、N−メチル−2−ピロリドン、2−ピロリドン、1,3−ジメチル−2−イミダゾリジノン等が挙げられる。上記の如き水溶性有機溶剤は、単独でも或いは混合物としても使用することができる。
【0026】
本発明において使用する着色液は、更に、上記の成分の他に、必要に応じて所望の物性値を持つ着色液とするために、各種の界面活性剤、消泡剤、防腐剤等が添加されたものであってもよい。
【0027】
本発明では、先に説明したような方法で形成した着色液を吸収して受容し得る層が表面にコーティングされている透明基材上に、上記のような材料からなる着色液を微小液滴噴出装置を用いて付与して、特定の光学濃度をもつ光量調節領域を有する光量調節部材を形成する。その際に使用する微小液滴吐出装置による着色液の付与方式は特に限定されず、例えば、エネルギー発生素子として電気熱変換体を用いたバブルジェット(登録商標)タイプ、或いは圧電素子を用いたピエゾジェットタイプ等のものが使用可能である。プリント装置としての微小液滴吐出装置としては、市販の汎用プリンタを用いることができるが、本発明はこれに限定されず、本発明のために特別に製造されたプリント装置であってもよい。
【0028】
着色液を付与するパターンとしては特に限定されず、目的によって、例えば、全面に均一濃度に付与してもよいし、図4に示したような、段階的に濃度勾配をつけたグラデーションパターンでもよい。更に、連続的に濃度勾配をつけた濃淡の段階が不明瞭な状態のグラデーションパターンであってもよい。特に、本発明による製造方法によれば、連続的な、或いは段階的な濃度勾配を持つ光量調節部材を簡便に作成することが可能となる。また、その濃度勾配パターンを形成する方法の自由度が高いので、光学上の最適化が容易であるという利点もある。
【0029】
また、得られる光量調節部材の、光学的厚さや表面粗さによって影響され得る光学特性を好適に保つためには、液滴噴出記録法によって付与される着色液の液滴体積、着弾ドット径が小さい方が、局部的な着色液の付与量の差によって生じる受容層厚の差が小さくなるので好ましい。そのため、本発明においては、光量調節領域の面積と、前記層上に着色液が付与されて形成される着色液の1ドット面積との関係が、着色液の1ドット面積が、該光量調節領域の面積の20分の1以下となるように着色液を付与することが好ましく、より好ましくは50分の1以下となるようにする。更に、形成される光量調節領域は、調節する光束の径と同等か、やや大きいことが望まれるが、ここでの光束の径は該光量調節装置が適用される光学系の焦点距離やFナンバ等の光学的仕様によっても異なるが、5mm程度以下であると考えられる。
【0030】
また、形成された光量調節領域の表面粗さ(Ra)が、該光量を調節する光の波長の1/5以下、更には1/10以下であることが好ましい。具体的には、例えば、表面粗さ(Ra)が50nm以下となるように構成することが好ましい。
【0031】
図1に、本発明の第1の態様にかかる製造方法によって得られる光量調節部材を具備した絞り羽根を示したが、以下に、透明基材上に設けた着色液を吸収し得る材料からなる層に、液体噴射記録法によって色材を含む着色液を付与して光量調節領域を形成する具体的な方法について説明する。
【0032】
図1に例示した絞り羽根は、所定の透過率が付与された光量調節領域をもつ光量調節部101P(図1のグラデーション部)と、光を遮断する光遮断部101Q(グラデーション以外の部分)とで構成されている。先ず、透明基材を用意し、かかる透明基材の少なくとも一方の面上に、先に述べたような方法で着色液を吸収・受容し得る材料からなる層を設ける。次に、微小液滴吐出装置としての、例えば、インクジェットプリント装置で、上記の透明基材上に設けられた層に、色材を含む着色液を段階的に濃度勾配をつけて付与して、グラデーションパターンを有する光量調節部101Pを形成する。光遮断部101Qは、光量調節部101Pを形成する際に同時に、微小液滴吐出装置で形成することもできるし、予め、或いは光量調節部101Pを形成後に光遮断部101Qを形成してもよい。図1(b)には、光遮断部101Qと光量調節部101Pとが一体に形成された例を示したが、本発明はこれに限定されず、上記記載の方法により光量調節部材101Pを形成し、該光量調節部材101Pを、別に形成した光遮断部材101Qに組み合わせてもよい。上記の方法で、光量調節部材の一例である絞り羽根を容易に製造することができる。
【0033】
本態様の方法では、上記のようにして着色液を付与した後、必要に応じて、熱風乾燥炉、熱ドラム、ホットプレート等を用いた乾燥を行ってもよい。特に、着色液を吸収し得る層の形成材料中に架橋剤を混合させた態様とし、加熱或いは光照射を行うことで透明基材上の被膜を硬化させて光量調節領域を完成させる方法も有効である。
【0034】
また、本態様においては、上記のような方法で着色液が付与されて形成された光量調節領域の表面上に、更に、必要に応じて透明の平坦化層114を設けてもよい。平坦化層の形成に用いることのできる材料としては、前記したような着色液を受容し得る材料の他、該層との密着性、機械的強度、光学的特性等の必要性能を満たしていれば、特に限られるものではない。
【0035】
具体的には、例えば、アクリル系やエポキシ系の、熱硬化型樹脂や光硬化型樹脂を用い、これらの樹脂形成材料からなる塗工液を、該光量調節領域の表面上に塗布して塗工膜を形成した後、該基材を、オーブン、ホットプレート等を用いてべーキングを行うことにより硬化被膜を形成させる方法や、或いは、上記基材に、電子線や紫外線等を照射して硬化被膜を形成させる方法等を用いることができる。この際に形成する平坦化層の厚みは、要求性能等にもよるが、例えば、0.1〜30μm程度とすることが適当である。
【0036】
更に、このようにして得られた光量調節部材の両面に反射防止膜113を形成してもよい。この反射防止膜は、可視光帯域において反射防止特性が優れる、及び水分や有害ガスの遮断特性に優れる、という特性が必要とされる。この要求を満たすためには、無機材料の蒸着多層膜を用いるのが好適である。例えば、本出願人による特開平06−273601号公報に記載された反射防止膜を用いることで、フィルタの表面反射による迷光の発生を防止するとともに、水分や有害ガスの色材への浸入を遮断し、色材の劣化を防止することができる。
【0037】
即ち、上記した無機材料の蒸着多層膜からなる反射防止膜として、下記に挙げるような、光量調節部材の両表面に蒸着させたアンダーコート層と、これに積層させた繰返し多層膜からなる構成のものを用いることが好ましい。具体的には、例えば、上記アンダーコート層としては、光量調節部材の最表層を構成している合成樹脂製材料に対して良好な密着性を有し、且つ、耐薬品性及び耐摩耗性に優れたケイ素酸化物SiOX(2>x>1)を主成分とする屈折率n=1.49〜1.59の低屈折率の材料からなる膜厚d=200nm〜300nmの薄膜とすることが好ましい。また、このアンダーコート層に積層させる多層膜が、酸化チタンTiO2または酸化ジルコニウムZrO2またはこれらの混合物を主成分とする高屈折率の材料からなる第1層の薄膜と、この上に積層させたケイ素酸化物SiOx(2≧x≧1)を主成分とする低屈折率材料からなる第2層の薄膜と、この上に積層させた酸化チタンTiO2または酸化ジルコニウムZrO2またはこれらの混合物を主成分とする高屈折率材料からなる第3層の薄膜と、更に、この上に積層させたケイ素酸化物SiOx(2≧x≧1)を主成分とする低屈折率材料からなる第4層の薄膜によって構成されたものとすることが好ましい。
【0038】
光量調節部材の光学濃度を、段階的或いは連続的に変化させた場合の光学的優位性は、例えば、特開平6−95208号公報、特開平11−15042号公報等に記載されている。これに対して、本発明者らの検討によれば、本態様の方法によって簡便に製造される光学濃度が段階的或いは連続的に変化する光量調節部材を絞り装置に適用すれば、上記した公知技術と同様の効果を得ることができることがわかった。
【0039】
以下に、本発明の第1の態様にかかる製造方法によって得られる光量調節部材を用いた光量調節装置について説明する。尚、本態様は、以下に記載する構成に限定されるものではない。図1は、本態様の光量調節部材を具備した絞り羽根を示し、図2は、かかる光量調節部材を具備した絞り羽根装置を示す図である。図1(a)は、絞り羽根の平面図であり、図1(b)は、図1(a)のA−A’で切断し、矢印方向に見た時の断面図である。尚、ここでは光量調節装置として、ビデオカメラ等で使用される絞り装置を例にとって説明する。図1(a)中の101は絞り羽根全体を示すが、図に示したように、所定の透過率が付与された光量調節部材101P(図1のグラデーション部)と、光を遮断する光遮断部材101Q(グラデーション以外の部分)とで構成されている。図1(b)に示したように、例示した絞り羽根では、光量調節部材101Pと、光遮断部材101Qとが一体に構成されている。図1(b)中の111は、着色液を吸収し得る材料からなる層を有する透明基材を示し、112は先に説明したようにして形成した光量調節領域を有する着色層である。更に、図示した光量調節部材では、その着色層112及び光遮断部材101Qの表面には透明樹脂層からなる平坦化層114が設けられており、更に、その表裏の最表面には、反射防止膜113が設けられている。尚、図1(a)及び図2中、光遮断部材101Qについては、光量調節部材101Pとの境界を明確にするために彩色を施していないが、本来は、光を遮断するためのものであるので黒色等で形成されている。
【0040】
図2は、図1の絞り羽根を用いた光量調節装置の図である。図2において、100は光量調節装置全体を示している。101は、図1で示した第1の絞り羽根であり、102は第2の絞り羽根である。第2の絞り羽根102は、第1の絞り羽根と同様の方法で製造され、光量調節部材102Pと光遮断部材102Qを有している。103は、不図示のモータの軸に孔103aにおいて嵌着されて該孔103aを中心として回動される絞り羽根駆動レバーである。第1の絞り羽根101及び第2の絞り羽根102は、絞り羽根駆動レバー103の両端の突設ピン103b及び103cにそれぞれの溝穴101a及び102aにおいて係合している。105は、第1及び第2の絞り羽根101及び102のそれぞれの側縁部の溝101b及び102bに相対摺動可能に係合している不図示の地板のガイドピン、106は、該地板に貫設されている光路孔、101c及び102cは、第1及び第2の絞り羽根101及び102のそれぞれの絞り開口縁である。
【0041】
図2は、絞りが全開の時の状態を示している。絞りが全開の状態から絞りを絞っていくと、絞りの開口部である光路孔106は、第1及び第2のそれぞれの絞り羽根の、所定の光の透過率が付与された光量調節部材101P及び102Pで遮蔽されて開口径が小さくなるため、光路孔106を通る光束の透過率(光量)が徐々に低くなる。
【0042】
図3は、図2で示した光量調節装置を光学装置に配置した場合における概略配置図である。本実施例では、光学装置は動画像若しくは静止画像を撮像手段で電気信号に光電変換し、これをデジタルデータとして記録するビデオカメラを例として説明する。400は、複数のレンズ群からなる撮影光学系で、第1レンズ群401、第2レンズ群402、第3レンズ群403、及び、図2で示した絞り装置100で構成される。401は固定の前玉レンズ群、402はバリエータレンズ群、403はフォーカシングレンズ群である。404は光学ローパスフィルタである。また、撮影光学系400の焦点位置(予定結像面)には、撮像手段411が配置される。これは照射された光エネルギを電荷に変換する複数の光電変換部、該電荷を蓄える電荷蓄積部、及び該電荷を転送し、外部に送出する電荷転送部からなる2次元CCD等の光電変換手段が用いられる。
【0043】
421は、液晶ディスプレイ等の表示器で、CCD等の撮像手段411で取得した被写体像や、光学装置の動作状況を表示する。422は、操作スイッチ群であり、ズームスイッチ、撮影準備スイッチ、撮影開始スイッチ、及びシャッター秒時等を設定する撮影条件スイッチで構成される。423はアクチュエータであり、これによりフォーカス駆動を行い撮影光学系400の焦点状態を調節したり、その他の部材を駆動する。
【0044】
CPU431では、取り込まれた平均濃度の大きさが、自身内にメモリーされている適正露出に相当する数値と一致しているかどうかを算出し、差のある場合は、その差分との絶対符号との絶対値に応じて絞り開口を変化させ、若しくは、撮像手段411への電荷蓄積時間を変化させることになる。絞りを動かす場合には、絞り駆動回路432により、図3に示した絞り羽根駆動レバー103が103aを回転中心とし回動することで、絞り羽根101及び102が上下にスライドする。これにより、開口部である光路孔106の大きさが変化する。このように絞り開口面積或いは、電荷蓄積時間を変化させて最適の露出を得ることができる。
【0045】
最適露出にて、撮像手段411上に結像した被写体の像は、その明るさの強弱に応じた画素毎の電荷量として、電気信号に変換され、アンプ回路441で増幅された後、カメラ信号処理回路442で所定のγ補正等の処理を施される。尚、この処理は、A/D変換後のデジタル信号処理で行われてもよい。そして、このようにして作られた映像信号は、レコーダ443にて記録される。
【0046】
<第2の態様>
本発明の第2の態様にかかる光量調節部材の製造方法は、透明基材上に液体噴出記録方法を用いて透明樹脂材料及び色材を少なくとも含有する着色液を付与する工程と、該透明樹脂を硬化して、特定の光学濃度をもつ光量調節領域を形成する工程とを有することを特徴とする。以下、本態様にかかる製造方法に使用する材料について説明する。
【0047】
本態様において用いることのできる透明基材としては、前記した第1の態様の場合と同様に、光量調節部材としての機械的強度及び光学的特性等の必要特性を有していれば、特に限られるものではない。例えば、ポリエチレンテレフタレート、ジアセテート、トリアセテート、セロハン、セルロイド、ポリカーボネート、ポリイミド、ポリビニルクロライド、ポリビニリデンクロライド、ポリアクリレート、ポリエチレン、ポリプロピレン等からなる透明フィルムを挙げることができる。また、上記した必要特性を満たすものであれば、透明ガラスも、基材に使用可能である。更に、上記に列挙した材料から適宜に選択される透明基材は、その表面を、プラズマ処理やUV処理、UVオゾン処理、コロナ処理、シランカップリング処理等の各種の処理を施すことで、透明基材の表面を改質したものであってもよい。これらの処理は、当該透明基材上に着色液を付与して着色部を形成した場合に、着色液の広がりを制御したり、密着性を向上させるのに役立つ場合がある。
【0048】
次に、上記透明基材に付与する着色液について説明する。本態様では、着色液に、少なくとも透明樹脂材料と色材とを含むものを使用することを要する。この際に用いる透明樹脂材料としては、被膜化した場合に可視領域で着色の少ないものであることが望ましい。しかし、着色液が透明基材に付与された後に、着色液を構成している透明樹脂材料が硬化、更には被膜化することで着色液中に含まれる顔料等の色材の結着剤として機能し、色材を透明基材上に定着させ、且つ、着色液を構成している色材によって透明基材に付与される光学的な特性を損ねるものでなければ、特に限られるものではない。
【0049】
透明樹脂材料としては、例えば、ポリエステル樹脂、アルキド樹脂、ポリウレタン樹脂、ポリスチレン樹脂、アクリル樹脂、ナイロン樹脂、エポキシ樹脂、塩化ビニル樹脂、ブチラール樹脂、ポリイミド樹脂等の樹脂材料が挙げられる。本態様においては、着色液を前記したような透明基材上に付与する場合に、着色液を、例えば、インクジェット記録装置等の微小液滴吐出装置から吐出させることが好ましいため、透明樹脂材料としては、下記に挙げるような親水性の樹脂材料を用いることがより好ましい。
【0050】
親水性の透明樹脂材料としては、例えば、リグニンスルホン酸塩、セラック等の天然高分子、ポリアクリル酸塩、スチレン−アクリル酸共重合塩、スチレン−アクリル酸−アクリル酸エチル共重合物塩等の、スチレン−アクリル酸−アクリル酸アルキルエステル共重合物塩、スチレン−マレイン酸共重合物塩、スチレン−マレイン酸−アクリル酸アルキルエステル共重合物塩、スチレン−マレイン酸ハーフエステル共重合物塩、スチレン−メタクリル酸共重合物塩、ビニルナフタレン−アクリル酸共重合塩ビニルナフタレン−マレイン酸共重合物塩、β−ナフタレンスルホン酸ホルマリン縮合塩、ポリリン酸塩等の陰イオン性高分子、ポリビニルアルコール、メチロール化メラミンポリビニルピロリドン、メチルセルロース、ヒドロキシメチルセルロース、ヒドロキシプロピルセルロース、カルボキシメチルセルロース等のセルロース誘導体等が挙げられる。本態様においては、これらの樹脂のうちから1種類を選択して、或いは、これらの中の2種類以上を混合して用いることができる。その他のものとしては、例えば、アルブミン、ゼラチン、カゼイン、でんぷん、カチオン化でんぷん、アラビアゴム、及びアルギン酸ソーダ等の天然樹脂等、多数を列挙することができる。勿論、本態様は、これらに限定されるものではない。
【0051】
本態様においては、先に述べたように、上記のような透明樹脂材料を含有してなる着色液を、微小液滴吐出装置等によって吐出させて透明基材上に付与することが好ましいため、本態様で使用する着色液は、上記した透明樹脂材料を含有させる以外は、前記第1の態様において記載した着色液と同様の着色液を用いることができる。
【0052】
本態様において用いる着色液には、その他に、先に説明した透明樹脂材料や色材を溶解或いは分散させる目的で、通常、液媒体が含まれる。液媒体としては、水系では、水、或いは水と各種水溶性有機溶剤との混合物が用いられる。この際に用いる水溶性有機溶剤としては、前記第1の態様で記載した有機溶剤と同様の物を用いることができる。
【0053】
更に、本態様において用いる着色液には、上記の成分の他、必要に応じて所望の物性値を持つ着色液とするために、前記第1の態様で記載した各種添加剤を本態様で所望する光学的特性を満たす範囲内で、適宜に使用できる。
【0054】
本発明の第2の態様にかかる光量調節部材の製造方法では、上記のような構成を有する着色液を、先に列挙したような透明基材上に、微小液滴吐出装置等の装置を用いて吐出し、透明基材上に着色液を付与して、特定の光学濃度を有する領域である着色部を形成する。この際に使用できる着色液を吐出して透明基材上に付与するために適用可能な微小液滴吐出方式としては、エネルギー発生素子として電気熱変換体を用いたバブルジェット(登録商標)タイプ、或いは圧電素子を用いたピエゾジェットタイプ等があり、本態様においては、これらの機能を有する微小液滴吐出装置を何れも使用できる。プリント装置としての微小液滴吐出装置としては、既に市販されている種々のプリンタがあるが、本態様においては、これらを何れも用いることができる。勿論、これに限定されず、本態様のために特別に製造されたプリント装置を用いてもよい。
【0055】
本態様の製造方法で透明基材上に形成する着色部は、特定の光学濃度を有する領域となるように、目的によって各種のパターンとすることができる。例えば、均一の光学濃度を有する領域としてもよいし、図4に示したような、段階的に濃度勾配をつけたグラデーションパターンでもよい。更に、連続的に濃度勾配をつけた濃淡の段階が不明瞭な状態のグラデーションパターン(不図示)であってもよい。この連続的に、或いは段階的に光学濃度を変化させた領域は、上記に挙げたようなプリント装置に搭載する着色液として、濃度が段階的に異なるインクを複数搭載させることで、或いは、これらのインクを用い、且つインクの吐出量を適宜に制御すること等で、容易に形成することができる。
【0056】
また、得られる光量調節部材の光学的厚さや表面粗さに影響され得る光学特性を好適に保つためには、液滴噴出記録法によって付与される着色液の液滴体積、着弾ドット径が小さい方が、局部的な着色液の付与量の差によって生じる着色層厚の差を小さくできるため好ましい。そのため、光量調節領域と、着色液が付与されて形成される着色液の1ドット面積との関係が、該光量調節領域の面積の20分の1以下となるように着色液を付与することが好ましい。より好ましくは、50分の1以下となるように着色液を付与する。光量調節領域は調節する光束の径と同等か、やや大きいことが望まれるが、ここでの光束の径は該光量調節装置が適用される光学系の焦点距離やFナンバ等の光学的仕様によっても異なるが、5mm程度以下であると考えられる。
【0057】
特に、本態様による光量調節部材の製造方法によれば、光学濃度が、連続的に、或いは段階的に変化する濃度勾配を有する光量調節領域を持つ光量調節部材を簡便に作製することができる。更に、本態様の方法は、形成できる光学濃度勾配パターンの自由度が高いので、光量調節部材に所望される特性に対して、光学上の最適化が容易であるという利点もある。
【0058】
本態様の光量調節部材の製造方法では、上記のようにして透明基材上に着色液を付与した後、着色液中の透明樹脂材料が硬化させ、好ましくは被膜化させることを要する。かかる透明樹脂の硬化の際には、熱風乾燥炉、熱ドラム、及びホットプレート等を用いることができる。特に、着色液中に、使用する透明樹脂の架橋剤を混合させた場合には、透明基材上に着色液を付与した後に、架橋剤の種類に応じて加熱或いは光照射を行って、着色液中に含有されている透明樹脂材料の架橋硬化処理を行なって被膜を形成することが好ましい。
【0059】
ところで、本態様の方法では、上記のようにして、透明基材上に着色樹脂被膜が形成され光量調節領域となるが、形成される光量調節領域表面に部分的な凹凸ができる場合には、平坦化層を設けて、光学的特性の均一化を図ることは、本態様にかかる光量調節部材の性能をより一層の向上させるうえで有効である。
【0060】
この際、平坦化層の形成に用いられる材料としては、光量調節領域を形成している樹脂との密着性、機械的強度、光学的特性等の必要性能を満たしていれば、特に限られるものではない。具体的には、例えば、アクリル系やエポキシ系の、熱硬化型樹脂や光硬化型樹脂が好適に使用できる。平坦化層の形成方法としては、これらの樹脂形成材料からなる塗工液を、該光量調節領域の表面に塗布して塗工膜を形成した後、該基材を、オーブン、ホットプレート等を用いてべーキングして硬化被膜を形成させる方法や、或いは、上記基材に、電子線や紫外線等を照射して硬化被膜を形成させる方法等を用いることができる。この際に形成する平坦化層の厚みは、要求性能等にもよるが、例えば、0.1〜30μm程度とすることが適当である。
【0061】
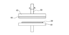
更に、本態様の光量調節部材の製造方法においては、光量調節領域の表面に生じる部分的な凹凸の解消手段として、表面を研磨処理して平坦化させる方法も好適に利用できる。その際に行う平坦化を目的にした研磨方法としては、テープ研磨、バフ研磨等の方法が考えられるが、本態様においては、特に、バフ(buff)研磨を好適に用いることができる。尚、バフ研磨とは、研磨母材表面に研磨材を設置し、この研磨母材を回転させた状態で基材の研磨すべき部分を、上記研磨母材に当接させることで、表層を研磨材によって研磨する方法である。
【0062】
図5は、バフ研磨による平坦化方法を実施するための研磨装置の構成を示す図である。図5に示したように、研磨装置50は、光量調節部材20を吸着保持するための下方保持部40と、この下方保持部40に対向して設けられた上方保持部42とを備えている。図5に示した例では、上方保持部42の下面には、多孔質状の研磨母材に微粒子状の研磨材を浸み込ませた研磨部材44が取り付けられている。そして、上方保持部42の下面に設置した研磨部材44が、下方保持部40に吸着保持されている光量調節部材20の表面に接触するようにした状態で、上方保持部42を回転させる。これによって、光量調節部材20の表面は、研磨材によって表面が研磨されて、凹凸のない平坦面となる。研磨部材44に使用する研磨母材には、例えば、不織布やスウェード等の多孔質体を用いることが好ましい。図5に示した装置では、不織布を用いている。また、研磨材としては、無機酸化物微粒子等を用いることができるが、本態様では、アルミナを主成分とした無機酸化物微粒子を好ましく用いることができる。また、用いる研磨部材の粒径としては、例えば、0.001〜0.3μm程度とすることが好ましい。
【0063】
上記のようにして形成される光量調節領域は、その表面粗さ(Ra)が、該光量を調節する光の波長の1/5以下、更には1/10以下となるように構成することが好ましい。具体的には、例えば、表面粗さ(Ra)が50nm以下となるように構成することが好ましい。かかる範囲の表面粗さは、上記した何れかの平坦化処理方法を用いることによって容易に得られる。
【0064】
本態様では、上記のようにして得られた光量調節部材の両面に、前記第1の態様において説明したと同様の反射防止膜を図1(b)に示したように形成してもよい。上記本態様にかかる製造方法によって得られた光量調節部材は、前記第1の態様において記載した光量調節部材を用いた光量調節装置と同様に、光量調節装置および撮影装置に用いることができる。
【0065】
【実施例】
次に、実施例を挙げて本発明を更に詳細に説明する。以下、「部」及び「%」とあるのは特に断りのない限り質量基準である。
【0066】
先ず、光量調節部材の良否を判断する場合、(1)単体で用いた場合に、色材が光束を散乱或いは屈折することによって生じる光学性能の低下、(2)絞り装置等に組み込んで使用した場合の回折防止効果、(3)分光透過率、の3項目の評価が必要である。ここで(3)の評価項目は、使用する色材の種類によってフィルタの特性を自在に調節でき、且つ市販の分光透過率計を用いて簡単に測定できるので、説明は省略する。一方(2)の評価項目は、絞り羽根の形状や評価時の絞り値(Fナンバー)等の因子が評価結果に大きく影響するため、光量調節部材単独の光学特性を評価するのには適していない。光量調節部材単独の光学特性を評価するためには(1)の評価項目の検討が適している。そこで、後述する各実施例では、それぞれの実施例の製造方法で作成した均一濃度の光量調節部材単独の光学特性についての評価結果を記した。
【0067】
<第1の態様>
(実施例1)
先ず、塗工液として、ポリビニルアルコール(日本合成化学(株)製ゴーセノールGM−14L)を固形分換算で10部からなる水溶液を調製した。次に、得られた塗工液をワイヤーバーを用いて、透明基材としての5mm径のポリエチレンテレフタレートフィルム上に塗工し、熱風乾燥オーブンにより100℃、5分の条件で乾燥を行って、透明基材上に、着色液を吸収・受容し得る層(以下、受容層と呼ぶ)を形成した。このようにして作成した受容層の厚みは、7μmであった。
【0068】
次いで、エネルギー発生素子として電気熱変換体を用いたバブルジェット(登録商標)タイプのインクジェットプリンタ:キヤノン(株)製BJS600のインクタンクに、以下の組成からなる着色液を充填し、上記で作成した透明基材上の受容層上に付与した。その際、光学濃度0.5(透過率32%)が均一濃度になるように付与した。
【0069】
【0070】
次いで、上記のようにして、着色液を、透明基板上に形成した受容層に付与及び受容させることで形成した光量調節領域上に、以下のようにして透明の平坦化層を設けた。先ず、平坦化層を形成するための塗工液を、下記のようにして調製した。スチレン−ブタジエン共重合体(JSR(株)製TR2000C)を用いて、固形分換算で10部からなるトルエン/メチルエチルケトン溶液からなる塗工液を調製した。次に、この塗工液をワイヤーバーを用いて着色層上に塗工した。更に、熱風乾燥オーブンにより、100℃、5分の条件で、該塗工液の乾燥を行うことによって平坦化層を形成した。このようにして作成した平坦化層の厚みを測定したところ、5μmであった。また、表面粗さ(Ra)は20nmであった。
【0071】
上記のようにして、本実施例の方法で作製された光量調節部材を、キヤノン(株)製デジタルカメラPower Shot G1の撮影レンズの前方に配置し、ISO規格電子スチルカメラ用解像力チャートを撮影した。露出制御モードは絞り開放による絞り優先AEを使用し、光量調節部材の有無に係わらず適正露出が得られるようにした。この撮影画像から白黒バーチャート(像面上での空間周波数:14.5 line pairs/mm)を切り出し、画像の白部のレベルと黒部のレベルの差分を求め、これを評価コントラストとした。次いで、光量調節部材を外して同様の撮影を行ない、画像の白部のレベルと黒部のレベルの差分を求め、これを参照コントラストとした。
【0072】
そして、上記のようにして得られた参照コントラストに対する評価コントラストの比率を求め、これをフィルタコントラストと定義した。本実施例で得られた光量調節部材の場合は、この値は0.93であった。フィルタコントラストの許容下限値は、撮影装置の用途や価格帯によって異なるが、一般的に、普及クラスの撮影装置では0.9以上、高級クラスでは0.92以上が好ましいことがわかっている。このことから、本実施例にかかる製造方法で得られた光量調節部材のフィルタコントラスト値0.93は、充分に高性能であることがわかる。また、得られた受容層上の着色液1ドット径は20μmであり、1ドット面積は、光量調節領域の面積の100分の1であった。
【0073】
(実施例2)
先ず、塗工液として、ポリビニルピロリドン(東京化成工業(株)製K−30)を用いて、固形分換算で10部からなる水溶液を調製した。次に、得られた塗工液をワイヤーバーを用いて、透明基材としてのポリエチレンテレフタレートフィルム上に塗工し、その後、熱風乾燥オーブンにより120℃、10分の条件で乾燥を行って、受容層を形成した。このようにして作成した受容層の厚みは10μmであった。
【0074】
次いで、エネルギー発生素子として電気熱変換体を用いたバブルジェット(登録商標)タイプのインクジェットプリンタ:キヤノン(株)製BJS600のインクタンクに、以下の組成からなる着色液を充填した。そして、このインクジェットプリンタを用いて、上記で作成した受容層上に、光学濃度0.5(透過率32%)の均一濃度になるように着色液を付与した。
【0075】
【0076】
次いで、上記のようにして着色液が付与されて得られた着色層上に、透明の平坦化層を以下のようにして設けた。先ず、塗工液として、スチレン−ブタジエン共重合体(JSR(株)製TR2000C)を用いて、固形分換算で10部からなるトルエン/メチルエチルケトン溶液を調製する。次に、ワイヤーバーを用いて、この塗工液を上記で形成した着色層上に塗工し、更に、熱風乾燥オーブンにより100℃、5分の条件で乾燥を行って平坦化層を形成した。このようにして形成した平坦化層の厚みを測定したところ、5μmであった。また、表面粗さ(Ra)は25nmであった。
【0077】
上記した本実施例にかかる方法で作製された光量調節部材について、実施例1で行なったと同様の方法でコントラスト値を求めた。この結果、コントラスト値は0.92であり、高性能なものであることがわかった。
【0078】
(実施例3)
実施例1と同様の方法で光量調節部材を作成した。但し、着色液を付与する場合に、透明基材の全面にわたって着色液を均一に付与するのではなく、段階的な濃度勾配を与えて、着色部が、図4に示したようなグラデーションパターンとなるようにした。上記した本実施例にかかる方法で作製した光量調節部材について、実施例1で行なったと同様の方法でコントラスト値を求めて評価を行った。この結果、コントラストの値は0.93であり、高性能なものであった。
【0079】
(実施例4)
実施例1と同様の方法で光量調節部材を作成した。但し、着色液を付与する場合に、透明基材の全面にわたって着色液を均一に付与するのではなく、連続的に濃度勾配をつけ、濃淡の段階が不明瞭な状態のグラデーションパターンとなるようにした。上記した本実施例にかかる方法で作製した光量調節部材について、実施例1で行なったと同様の方法でコントラスト値を求めて評価を行った。この結果、得られたコントラストの値は0.93であり、高性能なものであった。
【0080】
(実施例5)
本実施例では、実施例1と同様の方法で得られた光量調節部材の両面に、更に特開平06−273601号公報の実施例に記載されたものと同様の方法で、無機材料の蒸着多層膜からなる反射防止膜を形成した(図1(b)参照)。この反射防止膜は、それぞれの表面に蒸着したアンダーコート層と、これに積層した繰返し多層膜である多層膜からなるが、具体的には、上記アンダーコート層は、表面に対して良好な密着性を有し、且つ、耐薬品性、及び耐摩耗性に優れたケイ素酸化物SiOx(2>x>1)を主成分とする屈折率n=1.5程度の低屈折率材料からなる膜厚が300nm程度の薄膜であり、この上に積層させた多層膜は、酸化チタンTiO2と酸化ジルコニウムZrO2の混合物を主成分とする高屈折率材料からなる第1層の薄膜と、ケイ素酸化物SiOx(2≧x≧1)を主成分とする低屈折率材料からなる第2層の薄膜と、酸化チタンTiO2と酸化ジルコニウムZrO2の混合物を主成分とする高屈折率材料からなる第3層の薄膜と、ケイ素酸化物SiOx(2≧x≧1)を主成分とする低屈折率材料からなる第4層の薄膜によりなる。上記した本実施例にかかる方法で作製された光量調節部材について、実施例1で行なったと同様の方法でコントラスト値を求めて評価を行った。この結果、得られたコントラストの値は0.93であり、高性能なものであった。
【0081】
<第2の態様>
(実施例6)
本実施例では、透明基材に、厚さ100μmの、透明ポリエチレンテレフタレートフィルムを用いた。このフィルムの上に、エネルギー発生素子として電気熱変換体を用いたバブルジェット(登録商標)タイプのインクジェットプリンタであるキヤノン(株)製BJS600のインクタンクに、透明樹脂材料を有する以下の組成の着色液を充填し、これらを用いて上記の透明基材上に着色部を形成した。この際、上記プリンタによって着色液を付与する場合には、形成される着色部が、光学濃度が0.5(透過率32%)の均一濃度領域となるようにした。また、着色液を付与した後、120℃、20分間熱風乾燥オーブンで加熱乾燥することで、着色液中に含まれる透明樹脂材料であるスチレン−マレイン酸樹脂により着色液を被膜化して、着色部を形成した。ここで形成される着色部は、被膜化したスチレン−マレイン酸樹脂によって、カーボンブラックが結着されてなる着色樹脂層からなる。
【0082】
・黒色顔料(水分散性カーボンブラック)(キャボット
社製IJX−102B) 4%
・スチレン−マレイン酸樹脂のモノエタノールアミン
塩(平均分子量2万、酸価300) 3%
・エチレングリコール 10%
・ジエチレングリコール 15%
・イソプロピルアルコール 2%
・イオン交換水 66%
【0083】
本実施例では、上記のようにして形成した着色部である着色樹脂層の表面に、更に、以下の手順で平坦化層を設けた。先ず、スチレン−ブタジエン共重合体(JSR(株)製TR2000C)を含む塗工液を、固形分換算で上記共重合体が10部となるようにトルエン/メチルエチルケトン溶液を用いて調製した。この塗工液を、ワイヤーバーを用いて着色部上に塗工し、熱風乾燥オーブンにより100℃、10分の条件で乾燥を行った。このようにして作成された平坦化層の厚みは5μmであった。また、表面粗さ(Ra)は25nmであった。
【0084】
上記した本実施例にかかる方法で作製された光量調節部材について、実施例1で行なったと同様の方法でコントラスト値を求めた。この結果、フィルタコントラスト値は0.92であり、充分に高性能であることがわかった。
【0085】
(実施例7)
実施例6で用いたと同様のインクジェットプリンタに、下記の組成からなる着色液を充填した以外は、実施例6とほぼ同様にして、厚さ100μmの透明ポリエチレンテレフタレートフィルム上に着色部を形成した。形成した着色部は、実施例6の場合と同様に、光学濃度が0.5(透過率32%)の均一濃度領域からなるものである。
【0086】
・黒色染料(フードブラック2) 5%
・ヒドロキシプロピルセルロースHPC−H(日本曹
達製) 1%
・エチレングリコール 10%
・ジエチレングリコール 15%
・イソプロピルアルコール 2%
・アセチレノールEH(川研ファインケミカル製)1%
・イオン交換水 66%
【0087】
次に、上記で形成した着色部である着色樹脂層上に、下記の方法で平坦化層を設けた。先ず、塗工液として、スチレン−ブタジエン共重合体(JSR(株)製TR2000C)を固形分換算で10%含むトルエン/メチルエチルケトン溶液を調製し、この塗工液をワイヤーバーを用いて着色部上に塗工した。その後、熱風乾燥オーブンにより100℃、10分の条件で乾燥を行った。このようにして作成された平坦化層の厚みは5μmであった。また、表面粗さ(Ra)は25nmであった。以上の本実施例にかかる方法で作製した光量調節部材を用い、実施例1で行なったと同様の方法でコントラスト値を求めたところ0.93であり、高性能なものであった。
【0088】
(実施例8)
実施例6と同様の方法で光量調節部材を作製した。但し、インクジェットプリンタによって行うインクの付与を、着色部の光学濃度が、実施例6の場合のように均一ではなく、図4に示したように、段階的に変化する濃度勾配を有するものにした。本実施例にかかる方法で作製した光量調節部材を、実施例1で行なったと同様の方法で評価したところ、得られたコントラストの値は0.93と、高性能なものであった。
【0089】
(実施例9)
実施例6と同様の方法で光量調節部材を作製した。但し、インクジェットプリンタによって行うインクの付与を、実施例6の場合のように均一ではなく、着色部の光学濃度が連続的に変化する濃度勾配を与えるものとした。本実施例にかかる方法で作製した光量調節部材を、実施例1で行なったと同様の方法で評価したところ、得られたコントラストの値は0.92と、高性能なものであった。
【0090】
(実施例10)
実施例6と同様にして透明基材上に着色部を形成した。本実施例では、形成した着色部である着色樹脂層の表面を、図5に示した表面研磨装置を用いて研磨して、表面粗さRaが0.2μm以下になるようにした。この際、研磨部材44には、研磨母材である不織布に、研磨材としてアルミナを主成分とした無機酸化物微粒子を浸み込ませたものを用いた。また、研磨材には、0.1μmの粒径のものを使用した。
【0091】
上記のようにして作製した本実施例にかかる光量調節部材を、実施例1と同様の方法にて評価した。その結果、フィルタコントラスト値は0.92であり、高性能なものであった。
【0092】
(実施例11)
実施例10と同様の方法で光量調節部材を作製した。但し、インクジェットプリンタによって行うインクの付与を、着色部の光学濃度が、実施例6の場合のように均一ではなく、図4に示したように、段階的に変化して濃度勾配を有するものとなるようにした。本実施例にかかる方法で作製した光量調節部材を実施例1と同様にして評価したところ、得られたコントラストの値は0.92と、高性能なものであった。
【0093】
(実施例12)
実施例10と同様の方法で光量調節部材を作製した。但し、インクジェットプリンタによって行うインクの付与を、実施例6の場合のように均一ではなく、着色部の光学濃度が連続的に変化する濃度勾配を与えるものとした。本実施例にかかる方法で作製した光量調節部材について、実施例1と同様にして評価したところ、得られたコントラストの値は0.92と、高性能なものであった。
【0094】
(実施例13)
実施例6と同様の方法で得られた光量調節部材の両面に、更に、特開平06−273601号公報の実施例に記載されたものと同様の方法で、無機材料の蒸着多層膜からなる反射防止膜を形成した(図1(b)参照)。この反射防止膜は、それぞれの表面に蒸着したアンダーコート層と、これに積層した繰返し多層膜である多層膜からなるが、具体的には、上記アンダーコート層は、表面に対して良好な密着性を有し、且つ、耐薬品性、及び耐摩耗性に優れたケイ素酸化物SiOX(2>x>1)を主成分とする屈折率n=1.5程度の低屈折率材料からなる膜厚が300nm程度の薄膜であり、この上に積層させた多層膜は、酸化チタンTiO2と酸化ジルコニウムZrO2の混合物を主成分とする高屈折率材料からなる第1層の薄膜と、ケイ素酸化物SiOx(2≧x≧1)を主成分とする低屈折率材料からなる第2層の薄膜と、酸化チタンTiO2と酸化ジルコニウムZrO2の混合物を主成分とする高屈折率材料からなる第3層の薄膜と、ケイ素酸化物SiOx(2≧x≧1)を主成分とする低屈折率材料からなる第4層の薄膜によりなる。このようにして、本実施例にかかる方法で作製した光量調節部材について、実施例1と同様にしてコントラスト値を求めて評価を行ったところ、得られたコントラストの値は0.92と高性能なものであった。
【0095】
【発明の効果】
以上述べたように、本発明によれば、光学特性を十分に満足し得る光量調節部材を、非常に簡便な操作で、歩留まりよく安価に製造することができる光量調節部材の製造方法が提供される。また、本発明によれば、他の製造方式では著しく困難であった、連続的な、或いは段階的な濃度分布を有する光量調節部材を、十分に満足し得る光学特性を達成しつつ簡便に製造することができる光量調節部材の製造方法を提供することができる。また、本発明によれば、光学特性に優れる光量調節部材を具備する多種多様な光量調節装置及び撮影装置を、十分な光学特性を達成しつつ安価に提供することができる。
【図面の簡単な説明】
【図1】本発明による光量調節部材を具備した絞り羽根の図である。
【図2】図1の絞り羽根を用いた光量調節装置の図である。
【図3】図2の光量調節装置を組み込んだ撮影装置の構成図である。
【図4】段階的に濃度勾配を有する光量調節部材の図である。
【図5】光量調節部材の作成に用いた研磨装置の模式的な構成図である。
【符号の説明】
100:光量調節装置
101、102:絞り羽根
101a、102a:溝穴
101b、102b:溝
101c、102c:絞り開口縁
103、903:絞り羽根駆動レバー
103a:孔
103b、103c:突設ピン
101P、102P:光量調節部材
101Q、102Q:光遮断部材
105、905:ガイドピン
106、906:地板の光路孔
111:透明基材
112:着色層
113:反射防止膜
114:平坦化層
400:撮影光学系
401:第1レンズ群
402:第2レンズ群
403:第3レンズ群
404:光学ローパスフィルタ
411:撮像手段
421:表示器
422:操作スイッチ群
423:アクチュエータ
431:CPU
432:絞り駆動回路
433:CCD駆動回路
441:アンプ回路
442:カメラ信号処理回路
443:レコーダ
Claims (1)
- 着色液を吸収し得る材料からなる層を有する透明基材を用意する工程と、該層に液体噴射記録法を用いて色材を含む着色液を付与し、特定の光学濃度をもつ光量調節領域を形成する工程とを有することを特徴とする光量調節部材の製造方法。
Priority Applications (1)
| Application Number | Priority Date | Filing Date | Title |
|---|---|---|---|
| JP2003039391A JP4208598B2 (ja) | 2002-02-19 | 2003-02-18 | 光量調節部材の製造方法、光量調節部材、光量調節装置及び撮影装置 |
Applications Claiming Priority (5)
| Application Number | Priority Date | Filing Date | Title |
|---|---|---|---|
| JP2002041623 | 2002-02-19 | ||
| JP2002041634 | 2002-02-19 | ||
| JP2002365745 | 2002-12-17 | ||
| JP2002365746 | 2002-12-17 | ||
| JP2003039391A JP4208598B2 (ja) | 2002-02-19 | 2003-02-18 | 光量調節部材の製造方法、光量調節部材、光量調節装置及び撮影装置 |
Publications (3)
| Publication Number | Publication Date |
|---|---|
| JP2004246306A true JP2004246306A (ja) | 2004-09-02 |
| JP2004246306A5 JP2004246306A5 (ja) | 2006-03-30 |
| JP4208598B2 JP4208598B2 (ja) | 2009-01-14 |
Family
ID=33033325
Family Applications (1)
| Application Number | Title | Priority Date | Filing Date |
|---|---|---|---|
| JP2003039391A Expired - Fee Related JP4208598B2 (ja) | 2002-02-19 | 2003-02-18 | 光量調節部材の製造方法、光量調節部材、光量調節装置及び撮影装置 |
Country Status (1)
| Country | Link |
|---|---|
| JP (1) | JP4208598B2 (ja) |
Cited By (1)
| Publication number | Priority date | Publication date | Assignee | Title |
|---|---|---|---|---|
| US7113318B2 (en) | 2003-04-30 | 2006-09-26 | Canon Kabushiki Kaisha | Light amount control apparatus, photographing apparatus, and filter |
-
2003
- 2003-02-18 JP JP2003039391A patent/JP4208598B2/ja not_active Expired - Fee Related
Cited By (1)
| Publication number | Priority date | Publication date | Assignee | Title |
|---|---|---|---|---|
| US7113318B2 (en) | 2003-04-30 | 2006-09-26 | Canon Kabushiki Kaisha | Light amount control apparatus, photographing apparatus, and filter |
Also Published As
| Publication number | Publication date |
|---|---|
| JP4208598B2 (ja) | 2009-01-14 |
Similar Documents
| Publication | Publication Date | Title |
|---|---|---|
| JP6317954B2 (ja) | レンズユニット、撮像モジュール、及び電子機器 | |
| EP1336871B1 (en) | Production process of a graded neutral density filter, diaphragm with graded neutral density filter and photographing apparatus comprising the diaphragm | |
| JP2012137649A (ja) | 光学フィルタ | |
| CN107113372A (zh) | 光学滤波器和摄像装置 | |
| JP4227459B2 (ja) | 光学フィルタ、光学フィルタの製造方法、光量調節装置および光学機器 | |
| JP4438056B2 (ja) | 光量調節部材の製造方法 | |
| JP3893391B2 (ja) | Ndフィルタの製造方法 | |
| US7901732B2 (en) | Production process of light amount adjustment member, light amount adjustment member, light amount adjustment device and photographing apparatus | |
| JP4227434B2 (ja) | 光量調節部材の製造方法 | |
| JP2006284947A (ja) | 遮光膜用感光性樹脂組成物、遮光膜の作製方法、転写材料及びその製造方法 | |
| JP4208598B2 (ja) | 光量調節部材の製造方法、光量調節部材、光量調節装置及び撮影装置 | |
| JP2004101956A (ja) | 光学フィルタ、光学フィルタの製造方法、光量調節装置及び撮影装置 | |
| JP4323893B2 (ja) | 光量調節部材の製造方法、光量調節部材、光量調節装置及び撮影装置 | |
| JP2004198654A (ja) | 光量調節部材 | |
| JP2016071278A (ja) | 光学フィルタ及び光量調整装置並びに撮像装置 | |
| JP2005013877A (ja) | 皮膜形成方法、光量調節部材の製造方法、光量調節部材、光量調節装置及び撮影装置 | |
| JP2005055682A (ja) | 光量調節部材の製造方法、光量調節部材、光量調節装置及び撮影装置 | |
| JP2005052752A (ja) | 光量調節部材の製造方法、光量調節部材、光量調節装置及び撮影装置 | |
| JP2005055494A (ja) | 光量調節部材、光量調節部材の製造方法、光量調節装置及び撮影装置 | |
| JP2005055493A (ja) | 光量調節部材の製造方法、光量調節装置及び撮影装置 | |
| JP2005055685A (ja) | 光量調節部材、光量調節部材の製造方法、光量調節装置及び撮影装置 | |
| JP2005055684A (ja) | 光量調節部材の製造方法、光量調節部材、光量調節装置及び撮影装置 | |
| JP2005017679A (ja) | 光量調節部材の製造方法、光量調節部材、光量調節装置及び撮影装置 | |
| JP2004354784A (ja) | 光学フィルタ、光学フィルタの製造方法、光量調節装置及び撮影装置 | |
| JP2004354857A (ja) | 光学フィルタとその製造方法、光量調節部材とその製造方法、光量調節装置及び及び撮影装置 |
Legal Events
| Date | Code | Title | Description |
|---|---|---|---|
| A521 | Written amendment |
Free format text: JAPANESE INTERMEDIATE CODE: A523 Effective date: 20060209 |
|
| A621 | Written request for application examination |
Free format text: JAPANESE INTERMEDIATE CODE: A621 Effective date: 20060209 |
|
| A977 | Report on retrieval |
Free format text: JAPANESE INTERMEDIATE CODE: A971007 Effective date: 20080612 |
|
| A131 | Notification of reasons for refusal |
Free format text: JAPANESE INTERMEDIATE CODE: A131 Effective date: 20080617 |
|
| A521 | Written amendment |
Free format text: JAPANESE INTERMEDIATE CODE: A523 Effective date: 20080811 |
|
| TRDD | Decision of grant or rejection written | ||
| A01 | Written decision to grant a patent or to grant a registration (utility model) |
Free format text: JAPANESE INTERMEDIATE CODE: A01 Effective date: 20081014 |
|
| A01 | Written decision to grant a patent or to grant a registration (utility model) |
Free format text: JAPANESE INTERMEDIATE CODE: A01 |
|
| A61 | First payment of annual fees (during grant procedure) |
Free format text: JAPANESE INTERMEDIATE CODE: A61 Effective date: 20081021 |
|
| R150 | Certificate of patent or registration of utility model |
Free format text: JAPANESE INTERMEDIATE CODE: R150 |
|
| FPAY | Renewal fee payment (event date is renewal date of database) |
Free format text: PAYMENT UNTIL: 20111031 Year of fee payment: 3 |
|
| FPAY | Renewal fee payment (event date is renewal date of database) |
Free format text: PAYMENT UNTIL: 20111031 Year of fee payment: 3 |
|
| FPAY | Renewal fee payment (event date is renewal date of database) |
Free format text: PAYMENT UNTIL: 20121031 Year of fee payment: 4 |
|
| FPAY | Renewal fee payment (event date is renewal date of database) |
Free format text: PAYMENT UNTIL: 20131031 Year of fee payment: 5 |
|
| LAPS | Cancellation because of no payment of annual fees |
