JP2004227979A - 有機el素子およびその製造方法 - Google Patents
有機el素子およびその製造方法 Download PDFInfo
- Publication number
- JP2004227979A JP2004227979A JP2003015941A JP2003015941A JP2004227979A JP 2004227979 A JP2004227979 A JP 2004227979A JP 2003015941 A JP2003015941 A JP 2003015941A JP 2003015941 A JP2003015941 A JP 2003015941A JP 2004227979 A JP2004227979 A JP 2004227979A
- Authority
- JP
- Japan
- Prior art keywords
- lower electrode
- layer
- organic
- electrode
- substrate
- Prior art date
- Legal status (The legal status is an assumption and is not a legal conclusion. Google has not performed a legal analysis and makes no representation as to the accuracy of the status listed.)
- Withdrawn
Links
- 238000004519 manufacturing process Methods 0.000 title claims description 49
- 239000010410 layer Substances 0.000 claims abstract description 171
- 239000012044 organic layer Substances 0.000 claims abstract description 73
- 239000000758 substrate Substances 0.000 claims abstract description 72
- 239000011810 insulating material Substances 0.000 claims abstract description 24
- 239000000463 material Substances 0.000 claims abstract description 18
- 238000000034 method Methods 0.000 claims description 67
- 238000005530 etching Methods 0.000 claims description 38
- 238000005498 polishing Methods 0.000 claims description 27
- CBENFWSGALASAD-UHFFFAOYSA-N Ozone Chemical compound [O-][O+]=O CBENFWSGALASAD-UHFFFAOYSA-N 0.000 claims description 7
- 238000010030 laminating Methods 0.000 claims description 4
- 229910010272 inorganic material Inorganic materials 0.000 abstract description 2
- 239000011147 inorganic material Substances 0.000 abstract description 2
- 239000007789 gas Substances 0.000 description 11
- 238000003877 atomic layer epitaxy Methods 0.000 description 10
- PNEYBMLMFCGWSK-UHFFFAOYSA-N aluminium oxide Inorganic materials [O-2].[O-2].[O-2].[Al+3].[Al+3] PNEYBMLMFCGWSK-UHFFFAOYSA-N 0.000 description 8
- 238000000059 patterning Methods 0.000 description 7
- 238000004544 sputter deposition Methods 0.000 description 7
- 230000015572 biosynthetic process Effects 0.000 description 6
- PQXKHYXIUOZZFA-UHFFFAOYSA-M lithium fluoride Chemical compound [Li+].[F-] PQXKHYXIUOZZFA-UHFFFAOYSA-M 0.000 description 6
- QZPSXPBJTPJTSZ-UHFFFAOYSA-N aqua regia Chemical compound Cl.O[N+]([O-])=O QZPSXPBJTPJTSZ-UHFFFAOYSA-N 0.000 description 5
- 238000001259 photo etching Methods 0.000 description 5
- QEMXHQIAXOOASZ-UHFFFAOYSA-N tetramethylammonium Chemical compound C[N+](C)(C)C QEMXHQIAXOOASZ-UHFFFAOYSA-N 0.000 description 5
- 230000015556 catabolic process Effects 0.000 description 4
- 238000006243 chemical reaction Methods 0.000 description 4
- 238000011161 development Methods 0.000 description 4
- 230000018109 developmental process Effects 0.000 description 4
- 238000010586 diagram Methods 0.000 description 4
- 230000000694 effects Effects 0.000 description 4
- 239000011368 organic material Substances 0.000 description 4
- 238000005192 partition Methods 0.000 description 4
- 238000010926 purge Methods 0.000 description 4
- 238000007740 vapor deposition Methods 0.000 description 4
- 230000006866 deterioration Effects 0.000 description 3
- 239000011521 glass Substances 0.000 description 3
- 239000000126 substance Substances 0.000 description 3
- 238000012546 transfer Methods 0.000 description 3
- 230000002411 adverse Effects 0.000 description 2
- 239000011248 coating agent Substances 0.000 description 2
- 238000000576 coating method Methods 0.000 description 2
- 238000006731 degradation reaction Methods 0.000 description 2
- 238000005516 engineering process Methods 0.000 description 2
- 238000001704 evaporation Methods 0.000 description 2
- 239000004744 fabric Substances 0.000 description 2
- 230000012447 hatching Effects 0.000 description 2
- 230000001681 protective effect Effects 0.000 description 2
- 239000011347 resin Substances 0.000 description 2
- 229920005989 resin Polymers 0.000 description 2
- TVIVIEFSHFOWTE-UHFFFAOYSA-K tri(quinolin-8-yloxy)alumane Chemical compound [Al+3].C1=CN=C2C([O-])=CC=CC2=C1.C1=CN=C2C([O-])=CC=CC2=C1.C1=CN=C2C([O-])=CC=CC2=C1 TVIVIEFSHFOWTE-UHFFFAOYSA-K 0.000 description 2
- 238000001771 vacuum deposition Methods 0.000 description 2
- XLYOFNOQVPJJNP-UHFFFAOYSA-N water Substances O XLYOFNOQVPJJNP-UHFFFAOYSA-N 0.000 description 2
- 101000679365 Homo sapiens Putative tyrosine-protein phosphatase TPTE Proteins 0.000 description 1
- 239000004642 Polyimide Substances 0.000 description 1
- 102100022578 Putative tyrosine-protein phosphatase TPTE Human genes 0.000 description 1
- NIXOWILDQLNWCW-UHFFFAOYSA-N acrylic acid group Chemical group C(C=C)(=O)O NIXOWILDQLNWCW-UHFFFAOYSA-N 0.000 description 1
- 229910052782 aluminium Inorganic materials 0.000 description 1
- XAGFODPZIPBFFR-UHFFFAOYSA-N aluminium Chemical compound [Al] XAGFODPZIPBFFR-UHFFFAOYSA-N 0.000 description 1
- 238000000231 atomic layer deposition Methods 0.000 description 1
- 239000012159 carrier gas Substances 0.000 description 1
- 238000000151 deposition Methods 0.000 description 1
- 238000009792 diffusion process Methods 0.000 description 1
- 239000000975 dye Substances 0.000 description 1
- 238000005401 electroluminescence Methods 0.000 description 1
- 239000007850 fluorescent dye Substances 0.000 description 1
- 238000000227 grinding Methods 0.000 description 1
- RBTKNAXYKSUFRK-UHFFFAOYSA-N heliogen blue Chemical compound [Cu].[N-]1C2=C(C=CC=C3)C3=C1N=C([N-]1)C3=CC=CC=C3C1=NC([N-]1)=C(C=CC=C3)C3=C1N=C([N-]1)C3=CC=CC=C3C1=N2 RBTKNAXYKSUFRK-UHFFFAOYSA-N 0.000 description 1
- 230000005525 hole transport Effects 0.000 description 1
- AMGQUBHHOARCQH-UHFFFAOYSA-N indium;oxotin Chemical compound [In].[Sn]=O AMGQUBHHOARCQH-UHFFFAOYSA-N 0.000 description 1
- 238000002347 injection Methods 0.000 description 1
- 239000007924 injection Substances 0.000 description 1
- 239000012212 insulator Substances 0.000 description 1
- 239000007769 metal material Substances 0.000 description 1
- 238000012986 modification Methods 0.000 description 1
- 230000004048 modification Effects 0.000 description 1
- 229920001721 polyimide Polymers 0.000 description 1
- 239000002994 raw material Substances 0.000 description 1
- 239000000243 solution Substances 0.000 description 1
- 238000012360 testing method Methods 0.000 description 1
- YVJYDECLDWHYHD-UHFFFAOYSA-N tri(quinolin-8-yl)alumane Chemical compound C1=CN=C2C([Al](C=3C4=NC=CC=C4C=CC=3)C=3C4=NC=CC=C4C=CC=3)=CC=CC2=C1 YVJYDECLDWHYHD-UHFFFAOYSA-N 0.000 description 1
Images
Landscapes
- Electroluminescent Light Sources (AREA)
Abstract
【課題】基板上に、下部電極、有機層、上部電極が順次形成されてなり、互いに直交するストライプ形状をなす下部電極と上部電極との重なり部にて発光を行うようにした有機EL素子において、有機層のカバレッジ性および開口率を適切に向上させる。
【解決手段】基板10の上にストライプ形状をなす下部電極20が形成され、その上に下部電極20と直交するストライプ形状をなす上部電極40が形成され、上下電極の間に有機EL材料からなる有機層30が介在しており、基板10の上にて下部電極20の間には、下部電極20のスペース幅の範囲内にて無機絶縁材料からなる第1の絶縁層51が形成され、下部電極20のうち上部電極40の間に位置する部位には、下部電極20の上面から厚さ方向の途中部まで凹んだ凹部21が形成され、この凹部21内には、凹部21の幅の範囲内にて無機絶縁材料からなる第2の絶縁層52が形成されている。
【選択図】 図2
【解決手段】基板10の上にストライプ形状をなす下部電極20が形成され、その上に下部電極20と直交するストライプ形状をなす上部電極40が形成され、上下電極の間に有機EL材料からなる有機層30が介在しており、基板10の上にて下部電極20の間には、下部電極20のスペース幅の範囲内にて無機絶縁材料からなる第1の絶縁層51が形成され、下部電極20のうち上部電極40の間に位置する部位には、下部電極20の上面から厚さ方向の途中部まで凹んだ凹部21が形成され、この凹部21内には、凹部21の幅の範囲内にて無機絶縁材料からなる第2の絶縁層52が形成されている。
【選択図】 図2
Description
【0001】
【発明の属する技術分野】
本発明は、基板上に、下部電極、有機EL(エレクトロルミネッセンス)材料からなる有機層、上部電極が順次形成されてなる有機EL素子およびその製造方法に関し、特に、互いに直交するストライプ形状をなす下部電極と上部電極との重なり部にて発光を行うようにした有機EL素子に関する。
【0002】
【従来の技術】
この種の有機EL素子は、基板の上にストライプ形状をなす下部電極を形成し、下部電極の上にて基板全域に有機EL材料からなる有機層を形成し、その上に下部電極と直交するストライプ形状をなす上部電極を形成してなる。
【0003】
ここで、従来では、上部電極と下部電極との重なり部にて有機層を発光させるために、下部電極と有機層との間に当該重なり部に開口部を有する絶縁層を設け、それによって当該重なり部にて選択的な発光を可能としている(例えば、特許文献1参照)。
【0004】
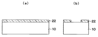
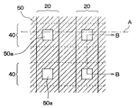
そのようなストライプ状の上下電極および絶縁層を有する有機EL素子の一般的な構成を図27、図28に示す。
【0005】
図27は、そのような有機EL素子の概略平面構成図であり、下部電極20は実線、上部電極40は破線、絶縁層50は斜線ハッチングにて示し、有機層30は省略してある。また、図28(a)は図27中の一点鎖線Aに沿った概略断面図、図28(b)は図27中のB−B線に沿った概略断面図である。
【0006】
これら図に示すように、ガラス等の基板10の上に、ストライプ状の下部電極20およびこれと直交するストライプ状の上部電極40が形成されており、これら上下電極20、40の間には有機EL材料からなる有機層30が、基板10の全域に渡って形成されている。
【0007】
そして、下部電極20と上部電極40との重なり部が、発光部である画素として構成されており、上下電極20、40間に電圧を印加することで有機層30が発光するようになっている。
【0008】
ここで、図28に示すように、下部電極20と有機層30との間に、無機または有機の絶縁材料からなる絶縁層50が形成されている。この絶縁層50は、図27に示すように、下部電極20と上部電極40との重なり部に開口部50aを有する膜である。
【0009】
そして、絶縁層50は、下部電極20の間においては基板10の上および下部電極20の一部に重なるように形成されるとともに(図28(a)参照)、下部電極20の上面のうち上部電極40の間に位置する部位に重なって形成されている(図28(b)参照)。
【0010】
そして、この絶縁層50が介在する領域では、上下電極20、40の間が電気的に絶縁されるため、上下電極20、40間に電圧を印加しても有機層30が発光することはなく、当該絶縁層50の介在する領域は非発光部として構成されている。
【0011】
このような絶縁層50は、基板10上に下部電極20をパターニング形成した後であって有機層30を形成する前に、フォトリソグラフ技術を用いてパターニング形成される。これは、有機EL素子に使用される有機層30は水分が混じると発光しなかったり、輝度寿命が短いことから、有機層30の成膜後に現像、エッチングのような溶液を使用したパターニングができないためである。
【0012】
【特許文献1】
特許第2911552号公報(第3頁、第1−第2図)
【0013】
【発明が解決しようとする課題】
ところで、上記図27、図28に示した従来の有機EL素子において、絶縁層50を無機絶縁材料にて形成する場合には、蒸着等によって絶縁層50を基板10の全域に形成した後、開口部50aを形成するため絶縁層50の上にレジストを塗布し、露光、現像後にエッチングした上で、レジストを剥離することが必要となる。そのため、莫大な設備投資が必要となるという問題がある。
【0014】
また、従来では、下部電極20の上面に絶縁層50が存在した形となるが、エッチングされた無機絶縁層50のエッジ形状は、なだらかな順テーパ形状とはなりにくい。そのため、その上に形成される有機層30は、絶縁層50のエッジ部ではカバレッジが悪く、耐圧が弱くなり、上下電極20、40間で短絡するという問題がある。
【0015】
この問題を解決するために、絶縁層50として、ポリイミドやアクリル等といった有機レジスト等の有機絶縁材料を使用し、露光、現像で開口部を形成する方法が一般的に用いられている。
【0016】
このように、絶縁層50に有機絶縁材料を用いた場合には、無機絶縁層50に比べて、絶縁層50のエッジ部における有機層30のカバレッジ性は多少改善され、また、エッチングが無い分、多少の設備投資は削減できる。
【0017】
しかしながら、下部電極20の上面に形成された有機絶縁層50の開口部50aでは、有機レジスト等の残渣が残りやすく、下部電極20と有機層30との界面で電荷の授受が阻害されるため、経時的に輝度が低下する等の悪影響がある。
【0018】
また、有機絶縁材料からなる絶縁層50は、層内にガスや水分が比較的多く存在するため、ガスや水分が発生しやすい。そのため、有機絶縁層50の開口部50aの境界より有機層30側にこれらガスや水分が拡散し、開口部50aの内周にダークエリアが発生し、表示品質に悪影響が出るという問題がある。
【0019】
さらに、このように絶縁層50に有機絶縁材料を用いたとしても、従来の絶縁層50のパターニング形状では、図27、図28に示したように、上下電極20、40の重なり部において、下部電極20の上面に絶縁層50が存在し入り込んだ形となっているため、画素領域が狭くなる。つまり、絶縁層50のために開口率が低くなってしまうという問題がある。
【0020】
本発明は上記問題に鑑み、基板上に、下部電極、有機層、上部電極が順次形成されてなり、互いに直交するストライプ形状をなす下部電極と上部電極との重なり部にて発光を行うようにした有機EL素子において、有機層のカバレッジ性および開口率を適切に向上させることを目的とする。
【0021】
【課題を解決するための手段】
上記目的を達成するため、請求項1に記載の発明では、基板(10)の上にストライプ形状をなす下部電極(20)が形成され、下部電極の上に下部電極と直交するストライプ形状をなす上部電極(40)が形成され、下部電極と上部電極との間に有機EL材料からなる有機層(30)が介在して形成されており、上部電極と下部電極との重なり部にて有機層を発光させるようにした有機EL素子において、基板の上にて下部電極の間には、当該下部電極の間の幅の範囲内にて無機絶縁材料からなる第1の絶縁層(51)が形成されており、下部電極のうち上部電極の間に位置する部位には、下部電極の上面から厚さ方向の途中部まで凹んだ凹部(21)が形成されており、凹部内には、凹部の幅の範囲内にて無機絶縁材料からなる第2の絶縁層(52)が形成されていることを特徴とする。
【0022】
それによれば、上部電極と下部電極との重なり部を除く領域に第1および第2の絶縁層が介在するため、当該重なり部以外の部位を適切に非発光領域とすることができる。また、絶縁層として無機絶縁材料を用いているため、上述した有機絶縁材料を用いた場合に発生する諸問題を解消することができる。
【0023】
そして、下部電極の間に設けられる第1の絶縁層は、下部電極の間の幅の範囲内にて形成されるので、従来の絶縁層のパターンのように下部電極の上面にまではみ出して存在することはない。
【0024】
また、下部電極のうち上部電極の間に位置する部位に設けられる第2の絶縁層も、凹部内にて当該凹部の幅の範囲内にて形成されるので、凹部からはみ出して下部電極の上面に存在することはない。このように、第1、第2の絶縁層による段差を従来構造に比べて大幅に低減することができる。
【0025】
それに伴い、下部電極と上部電極との重なり部において、これら絶縁層が下部電極の上面にはみ出すこともなくなるため、開口率を向上させることができる。その結果、より低い電流密度で所定の輝度を出すことができるので、輝度劣化の防止には有利である。
【0026】
このように、本発明によれば、有機層のカバレッジ性および開口率を適切に向上させることができる。
【0027】
請求項2に記載の発明では、第1の絶縁層(51)の上面および第2の絶縁層(52)の上面と下部電極(20)の上面とは、同一平面上に位置することを特徴とする。
【0028】
このように、第1および第2の絶縁層の上面と下部電極の上面とを同一平面とすることにより、有機層のカバレッジ性をより高いレベルに確保することができ、好ましい。
【0029】
請求項3に記載の発明では、第1の絶縁層(51)および第2の絶縁層(52)は、原子層成長法により成膜されたものであることを特徴とする。
【0030】
絶縁層の形成方法にはいくつかの製法があるが、原子層成長法(AtomicLayer Epitaxy、略してALE)による膜を使用するとピンホールが少なく異物へのカバレージが良好であるため、上下電極の短絡には極めて有効である。
【0031】
また、請求項4に記載の発明では、基板(10)の上にストライプ形状をなす下部電極(20)を形成し、下部電極の上に有機EL材料からなる有機層(30)を形成し、有機層の上に下部電極と直交するストライプ形状をなす上部電極(40)を形成してなり、上部電極と下部電極との重なり部にて有機層を発光させるようにした有機EL素子の製造方法において、基板の上に下部電極を形成するとともに、下部電極のうち上部電極の間に位置する予定の部位に下部電極の上面から厚さ方向の途中部まで凹んだ凹部(21)を形成した後、基板および下部電極の上に無機絶縁材料からなる無機絶縁膜(55)を形成し、次に、下部電極の間および凹部内では無機絶縁膜を残しそれ以外の無機絶縁膜を除去するように、無機絶縁膜の上面から研磨を行うことにより下部電極の上面を露出させ、続いて、有機層および上部電極を形成することを特徴とする。
【0032】
それによれば、下部電極の間、下部電極の凹部内に残った無機絶縁膜がそれぞれ、第1の絶縁層、第2の絶縁層となるので、請求項1に記載の有機EL素子を適切に製造することができる。
【0033】
また、研磨の条件等を調整することによって請求項2に記載の有機EL素子のように、第1および第2の絶縁層の上面と下部電極の上面とを同一平面とすることも可能である。
【0034】
また、本製造方法によれば、無機絶縁膜を研磨するだけでパターニングすることができるため、従来の無機絶縁層を形成する場合のような絶縁膜のパターニングに必要なフォトエッチングの技術が不要となり、結果、高額な設備投資が不要となる。
【0035】
さらに、研磨の際に下部電極の上面も削られるので、下部電極を形成する際に行うフォトエッチングによって生じたレジスト残渣を、同時に削り取ることができる。そのため、その上に成膜される有機層と下部電極との界面における電荷の授受がスムーズになる。
【0036】
このように、本発明によれば、請求項1、請求項2に記載の有機EL素子を適切に製造し得る製造方法を提供することができる。
【0037】
請求項5に記載の発明では、無機絶縁膜(55)を原子層成長法により成膜することを特徴としており、それによれば、請求項3に記載の有機EL素子を適切に製造し得る製造方法を提供することができる。
【0038】
請求項6に記載の発明では、下部電極(20)に凹部(21)を形成する工程では、下部電極の上面から厚さ方向の途中部まで下部電極をハーフエッチングすることにより凹部を形成することを特徴とする。
【0039】
それによれば、下部電極におけるハーフエッチングされた部位が凹部として適切に形成される。
【0040】
請求項7に記載の発明では、下部電極(20)を基板(10)側から第1層(22)、第2層(23)が積層されたものとし、下部電極に凹部(21)を形成する工程では、基板の上に形成された第1層のうち凹部となる予定の部位をエッチングして除去した後、第1層の上に第2層を形成することにより、凹部を形成することを特徴とする。
【0041】
それによれば、2層からなる下部電極において、第1層のうちのエッチングされた部分は、そのエッチングで除去された分だけ厚さが薄くなり凹んだ凹部として形成される。
【0042】
また、本製造方法によれば、凹部の深さは第1層の厚さ分に相当するので、ハーフエッチングで下部電極に凹部を形成する場合に比べて、凹部の深さをより均一にすることができるという利点がある。
【0043】
請求項8に記載の発明では、下部電極(20)に凹部(21)を形成する工程では、下部電極をその上面からエッチングすることにより凹部を形成するようにし、下部電極として基板(10)側から第1層(24)、第1層よりもエッチングレートの速い第2層(25)が積層されたものを用いることを特徴とする。
【0044】
それによれば、エッチング時間を調整することにより、下部電極のうち凹部を形成する部分にて実質的に第2層のみを除去することができ、除去された部分が凹部として形成される。
【0045】
この場合も、凹部の深さはエッチングで除去された第2層の厚さ分に相当するので、ハーフエッチングで下部電極に凹部を形成する場合に比べて、凹部の深さをより均一にすることができるという利点がある。
【0046】
ところで、上記製造方法においては、絶縁層として無機絶縁材料からなる無機絶縁膜を用いている。このように、絶縁層を無機材料とすれば、有機層を成膜する前に、有機絶縁膜を用いた場合よりも高温で基板を加熱することができ、水分の除去を十分に行うことができる。
【0047】
そのため、絶縁層から有機層側への水分の拡散を少なくすることができ、画素周辺に発生するダークエリアの発生を極力抑制することができる。
【0048】
具体的に、本発明者らの検討によれば、請求項9に記載の発明のように、無機絶縁膜(55)の上面から研磨を行う工程と、有機層(30)および上部電極(40)を形成する工程との間に、200℃以上の基板温度で下部電極(20)の上面および無機絶縁膜の上面をUVオゾン処理することが好ましい。
【0049】
それにより、従来に比べて、大幅にダークエリアの発生を抑制することができ、輝度劣化の少ない有機EL素子を提供することができる。
【0050】
なお、上記各手段の括弧内の符号は、後述する実施形態に記載の具体的手段との対応関係を示す一例である。
【0051】
【発明の実施の形態】
以下、本発明を図に示す実施形態について説明する。なお、以下の各実施形態相互において同一部分には、同一符号を付してある。
【0052】
(第1実施形態)
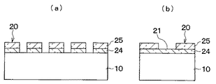
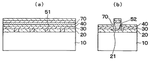
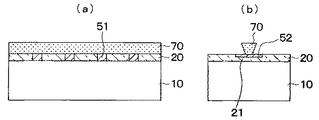
図1は、本発明の第1実施形態に係る有機EL素子S1の概略平面構成図である。ここで、下部電極20は実線、上部電極40は破線、絶縁層51、52は斜線ハッチングにて示し、第1の絶縁層51と第2の絶縁層52ではハッチングの向きを変えている。なお、有機層30は上部電極40と同一形状である。
【0053】
また、図2(a)は図1中の一点鎖線Aに沿った概略断面図、図2(b)は図1中のB−B線に沿った概略断面図である。
【0054】
本有機EL素子S1は、基本的には、基板10の上にストライプ形状をなす下部電極20が形成され、下部電極20の上に下部電極20と直交するストライプ形状をなす上部電極40が形成され、下部電極20と上部電極40との間に有機EL材料からなる有機層30が介在して形成されているものである。そして、上下電極20、40の重なり部にて有機層30が発光するようになっている。
【0055】
基板10は、ガラス等からなる透明な基板である。下部電極20は、ここでは陽極として構成されており、ITO(インジウムチンオキサイド)等の透明導電膜をスパッタ等にて成膜してなるものである。例えば、下部電極20の幅(線幅)W1は300μm程度、厚さT1は150nm程度、個々の下部電極20の間の幅(スペース幅)W2は15μm程度にすることができる。
【0056】
ここで、本実施形態では、基板10の上にて下部電極20の間には、個々の下部電極20の間の幅W2の範囲内にて無機絶縁材料からなる第1の絶縁層51が形成されている。つまり、第1の絶縁層51は、下部電極20の上面側へはみ出すことなく下部電極20のスペース幅W2の範囲内に収まって位置している。
【0057】
具体的に、第1の絶縁層51は、原子層成長法(ALE)や蒸着法等により成膜されたアルミナ等から構成することができる。その膜厚は、下部電極20と同程度であり、例えば150nm程度にすることができる。
【0058】
また、下部電極20のうち上部電極40の間に位置する部位には、下部電極20の上面から厚さ方向の途中部まで凹んだ凹部21が形成されている。そして、凹部21内には、凹部21の幅W3の範囲内にて無機絶縁材料からなる第2の絶縁層52が形成されている。
【0059】
このように、第2の絶縁層52も、下部電極20の上面側へはみ出すことなく下部電極20の凹部21の幅W3の範囲内に収まって位置している。ここで、下部電極20の凹部21は後述するようにハーフエッチング等にて形成することができる。
【0060】
また、第2の絶縁層52も、第1の絶縁層51と同様に、ALE法や蒸着法等により成膜されたアルミナ等から構成することができる。そして、その膜厚は、下部電極20の凹部21の深さT2と同程度である。
【0061】
ここで、例えば、下部電極20の厚さT1が150nm程度である場合、凹部21の深さT2は90nm程度にすることができる。また、上部電極40の幅(線幅)W5は320μm程度、上部電極40の間の幅(スペース幅)W4は20μm程度、凹部21の幅(つまり第2の絶縁層52の幅)W3は40μm程度にすることができる。
【0062】
なお、図1や図2(b)では、第2の絶縁層52および凹部21は、上部電極40の直下に入り込むように多少はみ出している。つまり、上部電極40の間の幅W4よりも、凹部21の幅W3の方が大きい。これは、製造上の位置合わせ精度を考慮したものであり、そのはみ出し長さは例えば10μm程度と小さいものである。
【0063】
このように、下部電極20、第1の絶縁層51および第2の絶縁層52の上面は、若干の高低はあるものの略同一平面上にある。そして、これら下部電極20および絶縁層51、52の上には、上部電極40と同一形状すなわち下部電極20と直交するストライプ形状をなす有機層30が形成されている。
【0064】
この有機層30は、通常の有機EL素子に用いられるか若しくは用いられる可能性のある有機EL材料から構成される。例えば、有機層30は陽極である下部電極20側から順に、ホール輸送性有機材料からなるホール輸送層、ホール輸送性有機材料や電子輸送性有機材料に蛍光色素をドープした有機EL材料からなる発光層、電子輸送性有機材料からなる電子輸送層を積層したものにできる。
【0065】
そして、上部電極40は、有機層30の上にストライプ状に形成されている。ここでは、上部電極40は陰極として構成され、例えば、Al(アルミ)等の金属材料を採用したり、Alに加えて更に有機層30側にLiF(フッ化リチウム)膜を設けたもの等を採用することができる。なお、これら有機層30や上部電極40は真空蒸着法等にて形成することができる。
【0066】
このような有機EL素子S1においては、下部電極20と上部電極40との重なり部が、発光部である画素として構成されており、上下電極20、40間に電圧を印加することで有機層30が発光するようになっている。
【0067】
そして、上部電極40と下部電極20との重なり部を除く領域に第1および第2の絶縁層51、52が介在するため、当該重なり部以外の部位を適切に非発光領域とすることができる。その結果、クロストークを極力抑制した表示が可能となる。
【0068】
また、絶縁層51、52として無機絶縁材料を用いているため、上述した有機絶縁材料を絶縁層として用いた場合に発生する諸問題、例えば有機物の残渣の問題や絶縁層から発生するガスや水分によるダークエリアの問題等を解消することができる。
【0069】
ところで、本実施形態では、下部電極20の間に設けられる第1の絶縁層51は、下部電極20の間の幅W2の範囲内にて形成されるので、従来の絶縁層のパターン(上記図27、図28参照)のように下部電極20の上面にまではみ出して存在することはない。
【0070】
また、本実施形態では、下部電極20のうち上部電極40の間に位置する部位に設けられる第2の絶縁層52も、凹部21内にて当該凹部21の幅W3の範囲内にて形成されるので、凹部21からはみ出して下部電極20の上面に存在することはない。したがって、第1、第2の絶縁層51、52による段差を従来構造に比べて大幅に低減することができる。
【0071】
それに伴い、下部電極20と上部電極40との重なり部において、これら絶縁層51、52が下部電極20の上面にはみ出すこともなくなるため、開口率を向上させることができる。その結果、より低い電流密度で所定の輝度を出すことができるので、輝度劣化の防止には有利である。
【0072】
このように、本実施形態によれば、有機層30のカバレッジ性および開口率を適切に向上させることのできる有機EL素子S1を提供することができる。
【0073】
ここで、第1および第2の絶縁層51、52の上面と下部電極20の上面とは、多少段差があっても良いが、望ましくは、これら両上面が同一平面上に位置することにより、有機層30のカバレッジ性をより高いレベルに確保することができ、好ましい。ここで、上記両上面が同一平面となっていることとは、後述する研磨により実現可能なレベルで同一平面となっていることである。
【0074】
また、第1の絶縁層51および第2の絶縁層52は、ALE法により成膜されたものであることが好ましい。ALE法による膜を使用するとピンホールが少なく異物へのカバレージが良好であるため、上下電極20、40の短絡には極めて有効である。
【0075】
次に、上記有機EL素子S1の製造方法の具体例について、図3〜図9を参照して述べる。図3〜図9は本製造方法の工程図であり、各図の(a)、(b)はそれぞれ上記図2の(a)、(b)に対応した断面を概略的に示したものである。
【0076】
まず、基板10の上に下部電極20を形成するとともに、下部電極20のうち上部電極40の間に位置する予定の部位に下部電極20の上面から厚さ方向の途中部まで凹んだ凹部21を形成する。
【0077】
具体的には、図3に示すように、基板10としてのガラス基板全域上に、下部電極20となるITO膜20’をスパッタ法により成膜する。本例では、基板温度は200℃、10−1Paオーダーとし、ITO膜20’の膜厚T1’は180nmとした。
【0078】
次に、図4に示すように、ITO膜20’をフォトリソグラフ技術を用いてエッチングすることによりストライプ状の下部電極20を形成する。ここでは、下部電極20の線幅W1は300μm、下部電極間の幅W2は15μmとした。
【0079】
そして、レジスト塗布、露光、現像を経てレジストを形成した後、レジストにおける幅15μmの複数の開口から剥き出しになったITO膜20’を、基板1の表面に至るまで王水によりエッチングした。その後、レジストを剥離することでストライプ状の下部電極20が形成される。
【0080】
次に、図5に示すように、下部電極20に凹部21を形成する。本例では、王水を用いて予め求めてあるITOのエッチングレートを基にして、下部電極20の上面から厚さ方向の途中部まで下部電極20をハーフエッチングすることにより凹部21を形成した。
【0081】
具体的には、レジスト塗布、露光、現像の手順で、凹部21の形成予定部に開口部を有するレジストマスクを形成し、マスク開口部から剥き出しになった下部電極20を、王水にてエッチングした。ここでは、凹部21の幅W3を40μm、深さT2’を120nmとした。その後、上記レジストを剥離することで、凹部21が形成される。
【0082】
こうして、基板10の上に、ストライプ状の下部電極20が形成されるとともに、下部電極20に凹部21が形成される。なお、上記例とは逆に、先に凹部21をハーフエッチングにて形成し、その後、ITO膜20’をエッチングしてストライプ状の下部電極20を形成するようにしても良い。
【0083】
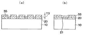
次に、図6に示すように、基板10および下部電極20の上に、第1及び第2の絶縁層51、52となる無機絶縁材料からなる無機絶縁膜55を形成する。具体的には、ALE法にて基板10の全面にアルミナ(Al2O3)からなる無機絶縁膜55を形成した。
【0084】
このアルミナからなる無機絶縁膜55の製法について詳細を述べる。反応炉を40Pa程度の真空にし、N2ガスを400sccm程度流しながら基板10を加熱し基板温度を100℃に安定させた。その後、TMA(テトラメチルアンモニウム)およびH2Oを原料ボトル内にて室温で気化し、キャリアガスであるN2ガスを400sccmで反応炉に交互に導入した。
【0085】
反応炉へのガスは、まず気化したTMAを0.6sec導入した後、基板10の表面に吸着した分子以外の気相に存在する過剰のTMAを取り除くためのパージとしてN2ガスを2.4sec導入した。その後、同様に気化したH2Oを1.0sec、N2パージが4.0secのガス導入時間にて成膜した。
【0086】
このTMA導入→パージ→H2O導入→パージのサイクルを2250回繰り返し成膜を行った。この間、反応炉の圧力は150〜300Paであり、基板温度は反応炉内のヒータによって100℃に保持した。成膜が終了した後は、N2ガスを400sccm導入しながら、放置冷却を行い、基板温度が70℃になった時点で反応炉を大気圧にし、基板を取り出した。この手法により、膜厚T3が約180nmのアルミナ(Al2O3)からなる無機絶縁膜55が得られた。
【0087】
次に、図7に示すように、下部電極20の間および凹部21内では無機絶縁膜55を残し、それ以外の無機絶縁膜55を除去するように、無機絶縁膜55の上面から研磨を行うことにより下部電極20の上面を露出させる。ここでは、研磨は次のようなラップ研磨法で行った。
【0088】
研磨装置は常陽工学製のTLCF−800II(商品名)を使用し、研磨布はMAT製のSUBA−400(商品名)、研磨材にフジミインコーポレート製のPOLIPURA−103H(商品名)を使用した。そして、凹部21内および下部電極20のスペース間以外の無機絶縁膜55を研磨し、その後剥き出された下部電極20の表面(上面)をさらに厚さ30nm分、研磨した。
【0089】
こうして、基板10の上にて下部電極20の間には、下部電極間の幅W2の範囲内にて第1の絶縁層51が形成され、下部電極20の凹部21内には、凹部21の幅W3の範囲内にて第2の絶縁層52が形成される。そして、研磨後における下部電極20の厚さT1は150nm、凹部21の深さT2は90nm程度となる。
【0090】
また、このように下部電極20の上面を研磨することによって、下部電極20の上面の平滑性が増し、上下電極20、40がショートしにくくなる。なお、研磨レートは一般にITOよりも絶縁膜55のほうが遅いため、研磨布を調整することにより、絶縁膜55の上面と下部電極20の上面とが同一平面か若しくは絶縁膜55の上面の方が上方に位置した形とすることができる。
【0091】
次に、基板10を洗浄した後、200℃以上の基板温度で下部電極20の上面および第1及び第2の絶縁層51、52の上面をUVオゾン処理する。本例では、基板温度300℃で行った。ここまでの工程では、ワークは無機物のみからなるので、高温で処理を行うことができ、その結果、基板10上の有機物や水分の除去や清浄化を効果的に行うことができる。
【0092】
次に、図8に示すように、マスクを用いた蒸着を行うことにより、ストライプ状の有機層30および上部電極40を形成する。
【0093】
ここでは、ストライプ形状をなす上部電極40および有機層30において、線幅W5を320μm、スペース幅W4を20μmとする。これら幅W4、W5は上記図1を参照のこと。
【0094】
このような寸法とした場合、有機層30および上部電極40を一度に成膜しようとすると、成膜用マスクとして、ストライプ状の開口部の幅が320μm、当該開口部間に位置する非開口部の幅が20μmのものを用いることになる。このようなマスクでは、非開口部の幅が細すぎてマスクの剛性を確保することが難しくなる。
【0095】
そこで、本例では、図10に示すようなマスクMを用いて、有機層30、上部電極40の成膜を行った。このマスクMは、ストライプ形状の上部電極40において1本おきの上部電極40に対応した開口部Kを有し、非開口部Hの幅を広くしている。開口部Kの幅は上部電極40の幅W5と同じであり、非開口部Hの幅は、上部電極40の幅と2個のスペース幅W4とを足し合わせた幅(W5+2・W4)である。
【0096】
そして、このマスクMを用いて、一度、有機層30および上部電極40を成膜し、その後、マスクMを340μmずらして再度、有機層30および上部電極40を成膜する。これにより、本実施形態におけるストライプ状の有機層30および上部電極40が形成される。
【0097】
本例では、有機層30は、下部電極20側から順に、CuPc(銅フタロシアニン錯体)からなるホール注入層、TPTE(テトラトリフェニルアミン)からなるホール輸送層、Alq3(トリス(8−キノリール)アルミニウム)を母材とし、色素であるジメチルキナクリドン(Dq)をドープしてなる発光層、Alq3からなる電子輸送層を蒸着法にて積層したものとした。
【0098】
また、有機層30の上にLiFおよびAlを積層し、これを上部電極40とした。さらに、本例では、上部電極40の形成後、図9に示すように、ALE法によりアルミナ(Al2O3)膜を保護膜60として成膜し、これを有機EL素子S1として完成させた。
【0099】
上述したような、ストライプ状の下部電極20および凹部21の形成工程、無機絶縁膜55の形成工程、研磨工程、有機層および上部電極の形成工程を備えた製造方法によれば、下部電極20の間、下部電極20の凹部21内に残った無機絶縁膜55がそれぞれ、第1の絶縁層51、第2の絶縁層52となるので、上記有機EL素子S1を適切に製造することができる。
【0100】
また、研磨の条件等を調整することによって第1および第2の絶縁層51、52の上面と下部電極20の上面とを同一平面とすることも可能である。
【0101】
また、上記製造方法によれば、無機絶縁膜55を研磨するだけでパターニングすることができるため、従来の無機絶縁層を形成する場合のような絶縁膜のパターニングに必要なフォトエッチングの技術が不要となり、結果、高額な設備投資が不要となる。
【0102】
さらに、研磨の際に下部電極20の上面も削られるので、下部電極20を形成する際に行うフォトエッチングにて生じたレジスト残渣を、同時に削り取ることができる。そのため、その上に成膜される有機層30と下部電極20との界面における電荷の授受がスムーズになる。
【0103】
また、上記製造方法においては、絶縁層として無機絶縁材料からなる無機絶縁膜55を用いているため、有機層30の成膜前において、有機絶縁膜を用いた場合よりも高温で基板10を加熱することができ、水分の除去を十分に行うことができる。
【0104】
具体的には、上述したように、200℃以上(好ましくは300℃以上)の基板温度で下部電極20の上面および無機絶縁膜55(つまり第1及び第2の絶縁層51、52)の上面をUVオゾン処理する。それにより、従来に比べて、大幅にダークエリアの発生を抑制することができ、輝度劣化の少ない有機EL素子を提供することができる。
【0105】
ちなみに、上記図27に示したような従来構造の有機EL素子においては、素子の完成後に200時間放置した後には画素内に20μmのダークエリアが出ていた。しかし、上記製造方法で作製した本例の有機EL素子S1では、ダークエリアは5μm以内に抑えられ、輝度劣化の少ない良好な結果が得られた。
【0106】
(第2実施形態)
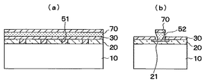
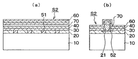
上記第1実施形態では、有機層30および上部電極40をマスクを用いた蒸着法にて成膜していた。本実施形態はマスク成膜をせずに、従来より知られている上部電極および有機層分離用の隔壁70を用いて形成する変形例を示すものである。
【0107】
図11〜図14は、本実施形態に係る有機EL素子の製造方法を示す工程図であり、各図の(a)、(b)はそれぞれ上記図2の(a)、(b)に相当する断面を概略的に示したものである。
【0108】
本実施形態の製造方法は、上記実施形態と同様、図3〜図7に示したストライプ状の下部電極20および凹部21の形成工程、無機絶縁膜55の形成工程、研磨工程を行う。
【0109】
その後、図11に示すように、有機層30および上部電極40の非形成部に、樹脂レジスト材料等を用いフォトリソグラフ技術によって隔壁70を形成する。なお、この隔壁70の形成後、さらに上記実施形態と同様に200℃以上の基板温度でのUVオゾン処理を行うため、隔壁70の材料としては高耐熱性のものが好ましく、例えばポリイミド等のUV硬化性の樹脂材料等を採用できる。
【0110】
その後、真空蒸着法等を用いて、図12に示すように有機層30を形成し、続いて、図13に示すように上部電極40を形成する。その後、図14に示すように、上記同様に保護膜60を成膜し、これを本実施形態の有機EL素子S2として完成させた。
【0111】
このような本実施形態の有機EL素子S2においても、上記第1実施形態と同様の作用効果を奏する有機EL素子およびその製造方法が提供される。また、本実施形態の製造方法では、有機層30および上部電極40の形成にあたって、微細マスクを使用して塗り分ける必要が無くなる点で上記実施形態よりも有利である。
【0112】
(第3実施形態)
上記第1実施形態に述べた製造方法では、下部電極20に凹部21を形成する工程では、下部電極20の上面から厚さ方向の途中部まで下部電極20をハーフエッチングし、下部電極20におけるハーフエッチングされた部位が凹部21として形成されるようにしていた。
【0113】
図15〜図20は本実施形態に係る有機EL素子の製造方法を示す工程図であり、各図の(a)、(b)はそれぞれ上記図2の(a)、(b)に相当する断面を概略的に示したものである。
【0114】
本実施形態では、下部電極20を基板10側から第1層22、第2層23が積層されたものとし、下部電極20に凹部21を形成する工程に特徴を持たせたものである。以下、限定するものではないが、具体的な寸法例を挙げながら説明していく。
【0115】
まず、図15に示すように、基板10の上にスパッタ法等により厚さが120nmのITOからなる第1層22を成膜する。次に、図16に示すように、マスクを用いたエッチングによって、第1層22のうち凹部21となる予定の部位を選択的にエッチングして除去する。
【0116】
このエッチングで除去する部分の幅は40μm程度であり、この幅は最終的に形成される凹部21の幅にほぼ相当するものである。また、このエッチングは、上記と同様、王水等を用いて行うことができる。
【0117】
その後、図17に示すように、第1層22の上に厚さが60nmのITOからなる第2層23をスパッタ等により成膜し、さらに、図18に示すように、これら第1及び第2層22、23をストライプ形状にエッチングする。これにより、上記実施形態と同様のストライプ形状を有し且つ凹部21が形成された下部電極20が形成される。
【0118】
このように、2層22、23からなる下部電極20において、下側の第1層22のうちのエッチングされた部分は、そのエッチングで除去された分だけ厚さが薄くなり凹んだ凹部21として形成される。ここまでの段階では、本例では凹部21の深さは、第1層22の厚さの120nm程度である。
【0119】
次に、図19に示すように、アルミナからなる無機絶縁膜55を基板10の全面にALE法にて厚さ180nmに成膜する。
【0120】
そして、上記実施形態と同様にラップ研磨を行うことにより、図20に示すように、基板10の上にて下部電極20の間には、下部電極間の幅の範囲内にて第1の絶縁層51が形成され、下部電極20の凹部21内には、凹部21の幅の範囲内にて第2の絶縁層52が形成される。
【0121】
そして、研磨後においては、下部電極20および第1の絶縁層51の厚さは150nm程度、凹部21の深さおよび第2の絶縁層52の厚さは90nm程度となる。
【0122】
その後は、上記実施形態と同様に、UVオゾン処理、有機層30および上部電極40の形成等の工程を行うことにより、上記実施形態と同様の作用効果を奏する有機EL素子を製造することができる。
【0123】
ところで、本実施形態によれば、上述したハーフエッチングで下部電極20に凹部21を形成する場合に比べて、成膜・フォトエッチ工程が増える。しかし、ハーフエッチングの場合はエッチングばらつきが存在するのに対して、本実施形態では、凹部21の深さは第1層22の厚さ分に相当するので、凹部21の深さをより均一にすることができ、耐圧が安定するという利点がある。
【0124】
(第4実施形態)
図21〜図26は、本実施形態に係る有機EL素子の製造方法を示す工程図であり、各図の(a)、(b)はそれぞれ上記図2の(a)、(b)に相当する断面を概略的に示したものである。
【0125】
本実施形態は、下部電極20として基板10側から第1層24、第1層24よりもエッチングレートの速い第2層25が積層されたものを用い、下部電極20に凹部21を形成する工程では、下部電極20をその上面からすなわち第2層25の上面からエッチングすることにより凹部21を形成するようにしたものである。
【0126】
具体的には、下部電極20の第1層24を多結晶ITOから構成し、エッチングレートの速い第2層25をアモルファスITOから構成する。多結晶ITOは、スパッタによるITOの成膜時の基板温度を200℃とすることにより実現でき、アモルファスITOは当該基板温度を室温とすることで実現できる。そして、膜質の差によってエッチングレートに差が生じる。
【0127】
以下、限定するものではないが、具体的な寸法例を挙げながら説明していく。まず、図21に示すように、基板10の上にスパッタ法により基板温度200℃にて、厚さ60nmの多結晶ITOからなる第1層24を成膜する。次に、図22に示すように、第1層24の上にスパッタ法により基板温度を室温として、厚さ120nmのアモルファスITOからなる第2層25を成膜する。
【0128】
次に、図23に示すように、マスクを用いた王水によるエッチングを行い、第2層25において凹部21となる予定の部位を選択的に除去する。第1層24よりも第2層25の方がエッチングレートが速いので、エッチング時間を調整することにより、下部電極のうち凹部を形成する部分にて実質的に第2層25のみを除去できる。そして、除去された部分が幅40μmの凹部21として形成される。
【0129】
その後、図24に示すように、第1及び第2層24、25をストライプ形状にエッチングする。これにより、上記実施形態と同様のストライプ形状を有し且つ凹部21が形成された下部電極20が形成される。なお、本実施形態では、凹部21を形成するエッチングとストライプ形状とするエッチングとを、上記順序とは逆の順序で行っても良い。
【0130】
このように、2層24、25からなる下部電極20において、上側の第2層25のうちのエッチングで除去された分だけ厚さが薄くなり凹んだ凹部21として形成される。ここまでの段階では、本例では凹部21の深さは、第2層25の厚さ120nm程度である。
【0131】
次に、図25に示すように、アルミナからなる無機絶縁膜55を基板10の全面にALE法にて厚さ180nmに成膜する。
【0132】
そして、上記実施形態と同様にラップ研磨を行うことにより、図26に示すように、基板10の上にて下部電極20の間には、下部電極間の幅の範囲内にて第1の絶縁層51が形成され、下部電極20の凹部21内には、凹部21の幅の範囲内にて第2の絶縁層52が形成される。
【0133】
そして、研磨後においては、下部電極20および第1の絶縁層51の厚さは150nm程度、凹部21の深さおよび第2の絶縁層52の厚さは90nm程度となる。
【0134】
その後は、上記実施形態と同様に、UVオゾン処理、有機層30および上部電極40の形成等の工程を行うことにより、上記実施形態と同様の作用効果を奏する有機EL素子を製造することができる。
【0135】
ところで、本実施形態よれば、凹部21の深さはエッチングで除去された第2層25の厚さ分に相当する。そのため、上記第3実施形態と同様に、上述したハーフエッチングで下部電極20に凹部21を形成する場合に比べて、凹部21の深さをより均一にすることができ、耐圧が安定するという利点がある。
【図面の簡単な説明】
【図1】本発明の第1実施形態に係る有機EL素子の概略平面図である。
【図2】(a)は図1中の一点鎖線Aに沿った概略断面図、図2(b)は図1中のB−B線に沿った概略断面図である。
【図3】第1実施形態に係る有機EL素子の製造方法を示す工程図である。
【図4】図3に続く製造方法を示す工程図である。
【図5】図4に続く製造方法を示す工程図である。
【図6】図5に続く製造方法を示す工程図である。
【図7】図6に続く製造方法を示す工程図である。
【図8】図7に続く製造方法を示す工程図である。
【図9】図8に続く製造方法を示す工程図である。
【図10】第1実施形態において有機層および上部電極の成膜に用いるマスクの概略平面図である。
【図11】本発明の第2実施形態に係る有機EL素子の製造方法を示す工程図である。
【図12】図11に続く製造方法を示す工程図である。
【図13】図12に続く製造方法を示す工程図である。
【図14】図13に続く製造方法を示す工程図である。
【図15】本発明の第3実施形態に係る有機EL素子の製造方法を示す工程図である。
【図16】図15に続く製造方法を示す工程図である。
【図17】図16に続く製造方法を示す工程図である。
【図18】図17に続く製造方法を示す工程図である。
【図19】図18に続く製造方法を示す工程図である。
【図20】図19に続く製造方法を示す工程図である。
【図21】本発明の第4実施形態に係る有機EL素子の製造方法を示す工程図である。
【図22】図21に続く製造方法を示す工程図である。
【図23】図22に続く製造方法を示す工程図である。
【図24】図23に続く製造方法を示す工程図である。
【図25】図24に続く製造方法を示す工程図である。
【図26】図25に続く製造方法を示す工程図である。
【図27】従来の一般的な有機EL素子の概略平面構成図である。
【図28】(a)は図27中の一点鎖線Aに沿った概略断面図、(b)は図27中のB−B線に沿った概略断面図である。
【符号の説明】
10…基板、20…下部電極、21…下部電極の凹部、22、24…下部電極の第1層、23、25…下部電極の第2層、30…有機層、40…上部電極、51…第1の絶縁層、52…第2の絶縁層、55…無機絶縁膜。
【発明の属する技術分野】
本発明は、基板上に、下部電極、有機EL(エレクトロルミネッセンス)材料からなる有機層、上部電極が順次形成されてなる有機EL素子およびその製造方法に関し、特に、互いに直交するストライプ形状をなす下部電極と上部電極との重なり部にて発光を行うようにした有機EL素子に関する。
【0002】
【従来の技術】
この種の有機EL素子は、基板の上にストライプ形状をなす下部電極を形成し、下部電極の上にて基板全域に有機EL材料からなる有機層を形成し、その上に下部電極と直交するストライプ形状をなす上部電極を形成してなる。
【0003】
ここで、従来では、上部電極と下部電極との重なり部にて有機層を発光させるために、下部電極と有機層との間に当該重なり部に開口部を有する絶縁層を設け、それによって当該重なり部にて選択的な発光を可能としている(例えば、特許文献1参照)。
【0004】
そのようなストライプ状の上下電極および絶縁層を有する有機EL素子の一般的な構成を図27、図28に示す。
【0005】
図27は、そのような有機EL素子の概略平面構成図であり、下部電極20は実線、上部電極40は破線、絶縁層50は斜線ハッチングにて示し、有機層30は省略してある。また、図28(a)は図27中の一点鎖線Aに沿った概略断面図、図28(b)は図27中のB−B線に沿った概略断面図である。
【0006】
これら図に示すように、ガラス等の基板10の上に、ストライプ状の下部電極20およびこれと直交するストライプ状の上部電極40が形成されており、これら上下電極20、40の間には有機EL材料からなる有機層30が、基板10の全域に渡って形成されている。
【0007】
そして、下部電極20と上部電極40との重なり部が、発光部である画素として構成されており、上下電極20、40間に電圧を印加することで有機層30が発光するようになっている。
【0008】
ここで、図28に示すように、下部電極20と有機層30との間に、無機または有機の絶縁材料からなる絶縁層50が形成されている。この絶縁層50は、図27に示すように、下部電極20と上部電極40との重なり部に開口部50aを有する膜である。
【0009】
そして、絶縁層50は、下部電極20の間においては基板10の上および下部電極20の一部に重なるように形成されるとともに(図28(a)参照)、下部電極20の上面のうち上部電極40の間に位置する部位に重なって形成されている(図28(b)参照)。
【0010】
そして、この絶縁層50が介在する領域では、上下電極20、40の間が電気的に絶縁されるため、上下電極20、40間に電圧を印加しても有機層30が発光することはなく、当該絶縁層50の介在する領域は非発光部として構成されている。
【0011】
このような絶縁層50は、基板10上に下部電極20をパターニング形成した後であって有機層30を形成する前に、フォトリソグラフ技術を用いてパターニング形成される。これは、有機EL素子に使用される有機層30は水分が混じると発光しなかったり、輝度寿命が短いことから、有機層30の成膜後に現像、エッチングのような溶液を使用したパターニングができないためである。
【0012】
【特許文献1】
特許第2911552号公報(第3頁、第1−第2図)
【0013】
【発明が解決しようとする課題】
ところで、上記図27、図28に示した従来の有機EL素子において、絶縁層50を無機絶縁材料にて形成する場合には、蒸着等によって絶縁層50を基板10の全域に形成した後、開口部50aを形成するため絶縁層50の上にレジストを塗布し、露光、現像後にエッチングした上で、レジストを剥離することが必要となる。そのため、莫大な設備投資が必要となるという問題がある。
【0014】
また、従来では、下部電極20の上面に絶縁層50が存在した形となるが、エッチングされた無機絶縁層50のエッジ形状は、なだらかな順テーパ形状とはなりにくい。そのため、その上に形成される有機層30は、絶縁層50のエッジ部ではカバレッジが悪く、耐圧が弱くなり、上下電極20、40間で短絡するという問題がある。
【0015】
この問題を解決するために、絶縁層50として、ポリイミドやアクリル等といった有機レジスト等の有機絶縁材料を使用し、露光、現像で開口部を形成する方法が一般的に用いられている。
【0016】
このように、絶縁層50に有機絶縁材料を用いた場合には、無機絶縁層50に比べて、絶縁層50のエッジ部における有機層30のカバレッジ性は多少改善され、また、エッチングが無い分、多少の設備投資は削減できる。
【0017】
しかしながら、下部電極20の上面に形成された有機絶縁層50の開口部50aでは、有機レジスト等の残渣が残りやすく、下部電極20と有機層30との界面で電荷の授受が阻害されるため、経時的に輝度が低下する等の悪影響がある。
【0018】
また、有機絶縁材料からなる絶縁層50は、層内にガスや水分が比較的多く存在するため、ガスや水分が発生しやすい。そのため、有機絶縁層50の開口部50aの境界より有機層30側にこれらガスや水分が拡散し、開口部50aの内周にダークエリアが発生し、表示品質に悪影響が出るという問題がある。
【0019】
さらに、このように絶縁層50に有機絶縁材料を用いたとしても、従来の絶縁層50のパターニング形状では、図27、図28に示したように、上下電極20、40の重なり部において、下部電極20の上面に絶縁層50が存在し入り込んだ形となっているため、画素領域が狭くなる。つまり、絶縁層50のために開口率が低くなってしまうという問題がある。
【0020】
本発明は上記問題に鑑み、基板上に、下部電極、有機層、上部電極が順次形成されてなり、互いに直交するストライプ形状をなす下部電極と上部電極との重なり部にて発光を行うようにした有機EL素子において、有機層のカバレッジ性および開口率を適切に向上させることを目的とする。
【0021】
【課題を解決するための手段】
上記目的を達成するため、請求項1に記載の発明では、基板(10)の上にストライプ形状をなす下部電極(20)が形成され、下部電極の上に下部電極と直交するストライプ形状をなす上部電極(40)が形成され、下部電極と上部電極との間に有機EL材料からなる有機層(30)が介在して形成されており、上部電極と下部電極との重なり部にて有機層を発光させるようにした有機EL素子において、基板の上にて下部電極の間には、当該下部電極の間の幅の範囲内にて無機絶縁材料からなる第1の絶縁層(51)が形成されており、下部電極のうち上部電極の間に位置する部位には、下部電極の上面から厚さ方向の途中部まで凹んだ凹部(21)が形成されており、凹部内には、凹部の幅の範囲内にて無機絶縁材料からなる第2の絶縁層(52)が形成されていることを特徴とする。
【0022】
それによれば、上部電極と下部電極との重なり部を除く領域に第1および第2の絶縁層が介在するため、当該重なり部以外の部位を適切に非発光領域とすることができる。また、絶縁層として無機絶縁材料を用いているため、上述した有機絶縁材料を用いた場合に発生する諸問題を解消することができる。
【0023】
そして、下部電極の間に設けられる第1の絶縁層は、下部電極の間の幅の範囲内にて形成されるので、従来の絶縁層のパターンのように下部電極の上面にまではみ出して存在することはない。
【0024】
また、下部電極のうち上部電極の間に位置する部位に設けられる第2の絶縁層も、凹部内にて当該凹部の幅の範囲内にて形成されるので、凹部からはみ出して下部電極の上面に存在することはない。このように、第1、第2の絶縁層による段差を従来構造に比べて大幅に低減することができる。
【0025】
それに伴い、下部電極と上部電極との重なり部において、これら絶縁層が下部電極の上面にはみ出すこともなくなるため、開口率を向上させることができる。その結果、より低い電流密度で所定の輝度を出すことができるので、輝度劣化の防止には有利である。
【0026】
このように、本発明によれば、有機層のカバレッジ性および開口率を適切に向上させることができる。
【0027】
請求項2に記載の発明では、第1の絶縁層(51)の上面および第2の絶縁層(52)の上面と下部電極(20)の上面とは、同一平面上に位置することを特徴とする。
【0028】
このように、第1および第2の絶縁層の上面と下部電極の上面とを同一平面とすることにより、有機層のカバレッジ性をより高いレベルに確保することができ、好ましい。
【0029】
請求項3に記載の発明では、第1の絶縁層(51)および第2の絶縁層(52)は、原子層成長法により成膜されたものであることを特徴とする。
【0030】
絶縁層の形成方法にはいくつかの製法があるが、原子層成長法(AtomicLayer Epitaxy、略してALE)による膜を使用するとピンホールが少なく異物へのカバレージが良好であるため、上下電極の短絡には極めて有効である。
【0031】
また、請求項4に記載の発明では、基板(10)の上にストライプ形状をなす下部電極(20)を形成し、下部電極の上に有機EL材料からなる有機層(30)を形成し、有機層の上に下部電極と直交するストライプ形状をなす上部電極(40)を形成してなり、上部電極と下部電極との重なり部にて有機層を発光させるようにした有機EL素子の製造方法において、基板の上に下部電極を形成するとともに、下部電極のうち上部電極の間に位置する予定の部位に下部電極の上面から厚さ方向の途中部まで凹んだ凹部(21)を形成した後、基板および下部電極の上に無機絶縁材料からなる無機絶縁膜(55)を形成し、次に、下部電極の間および凹部内では無機絶縁膜を残しそれ以外の無機絶縁膜を除去するように、無機絶縁膜の上面から研磨を行うことにより下部電極の上面を露出させ、続いて、有機層および上部電極を形成することを特徴とする。
【0032】
それによれば、下部電極の間、下部電極の凹部内に残った無機絶縁膜がそれぞれ、第1の絶縁層、第2の絶縁層となるので、請求項1に記載の有機EL素子を適切に製造することができる。
【0033】
また、研磨の条件等を調整することによって請求項2に記載の有機EL素子のように、第1および第2の絶縁層の上面と下部電極の上面とを同一平面とすることも可能である。
【0034】
また、本製造方法によれば、無機絶縁膜を研磨するだけでパターニングすることができるため、従来の無機絶縁層を形成する場合のような絶縁膜のパターニングに必要なフォトエッチングの技術が不要となり、結果、高額な設備投資が不要となる。
【0035】
さらに、研磨の際に下部電極の上面も削られるので、下部電極を形成する際に行うフォトエッチングによって生じたレジスト残渣を、同時に削り取ることができる。そのため、その上に成膜される有機層と下部電極との界面における電荷の授受がスムーズになる。
【0036】
このように、本発明によれば、請求項1、請求項2に記載の有機EL素子を適切に製造し得る製造方法を提供することができる。
【0037】
請求項5に記載の発明では、無機絶縁膜(55)を原子層成長法により成膜することを特徴としており、それによれば、請求項3に記載の有機EL素子を適切に製造し得る製造方法を提供することができる。
【0038】
請求項6に記載の発明では、下部電極(20)に凹部(21)を形成する工程では、下部電極の上面から厚さ方向の途中部まで下部電極をハーフエッチングすることにより凹部を形成することを特徴とする。
【0039】
それによれば、下部電極におけるハーフエッチングされた部位が凹部として適切に形成される。
【0040】
請求項7に記載の発明では、下部電極(20)を基板(10)側から第1層(22)、第2層(23)が積層されたものとし、下部電極に凹部(21)を形成する工程では、基板の上に形成された第1層のうち凹部となる予定の部位をエッチングして除去した後、第1層の上に第2層を形成することにより、凹部を形成することを特徴とする。
【0041】
それによれば、2層からなる下部電極において、第1層のうちのエッチングされた部分は、そのエッチングで除去された分だけ厚さが薄くなり凹んだ凹部として形成される。
【0042】
また、本製造方法によれば、凹部の深さは第1層の厚さ分に相当するので、ハーフエッチングで下部電極に凹部を形成する場合に比べて、凹部の深さをより均一にすることができるという利点がある。
【0043】
請求項8に記載の発明では、下部電極(20)に凹部(21)を形成する工程では、下部電極をその上面からエッチングすることにより凹部を形成するようにし、下部電極として基板(10)側から第1層(24)、第1層よりもエッチングレートの速い第2層(25)が積層されたものを用いることを特徴とする。
【0044】
それによれば、エッチング時間を調整することにより、下部電極のうち凹部を形成する部分にて実質的に第2層のみを除去することができ、除去された部分が凹部として形成される。
【0045】
この場合も、凹部の深さはエッチングで除去された第2層の厚さ分に相当するので、ハーフエッチングで下部電極に凹部を形成する場合に比べて、凹部の深さをより均一にすることができるという利点がある。
【0046】
ところで、上記製造方法においては、絶縁層として無機絶縁材料からなる無機絶縁膜を用いている。このように、絶縁層を無機材料とすれば、有機層を成膜する前に、有機絶縁膜を用いた場合よりも高温で基板を加熱することができ、水分の除去を十分に行うことができる。
【0047】
そのため、絶縁層から有機層側への水分の拡散を少なくすることができ、画素周辺に発生するダークエリアの発生を極力抑制することができる。
【0048】
具体的に、本発明者らの検討によれば、請求項9に記載の発明のように、無機絶縁膜(55)の上面から研磨を行う工程と、有機層(30)および上部電極(40)を形成する工程との間に、200℃以上の基板温度で下部電極(20)の上面および無機絶縁膜の上面をUVオゾン処理することが好ましい。
【0049】
それにより、従来に比べて、大幅にダークエリアの発生を抑制することができ、輝度劣化の少ない有機EL素子を提供することができる。
【0050】
なお、上記各手段の括弧内の符号は、後述する実施形態に記載の具体的手段との対応関係を示す一例である。
【0051】
【発明の実施の形態】
以下、本発明を図に示す実施形態について説明する。なお、以下の各実施形態相互において同一部分には、同一符号を付してある。
【0052】
(第1実施形態)
図1は、本発明の第1実施形態に係る有機EL素子S1の概略平面構成図である。ここで、下部電極20は実線、上部電極40は破線、絶縁層51、52は斜線ハッチングにて示し、第1の絶縁層51と第2の絶縁層52ではハッチングの向きを変えている。なお、有機層30は上部電極40と同一形状である。
【0053】
また、図2(a)は図1中の一点鎖線Aに沿った概略断面図、図2(b)は図1中のB−B線に沿った概略断面図である。
【0054】
本有機EL素子S1は、基本的には、基板10の上にストライプ形状をなす下部電極20が形成され、下部電極20の上に下部電極20と直交するストライプ形状をなす上部電極40が形成され、下部電極20と上部電極40との間に有機EL材料からなる有機層30が介在して形成されているものである。そして、上下電極20、40の重なり部にて有機層30が発光するようになっている。
【0055】
基板10は、ガラス等からなる透明な基板である。下部電極20は、ここでは陽極として構成されており、ITO(インジウムチンオキサイド)等の透明導電膜をスパッタ等にて成膜してなるものである。例えば、下部電極20の幅(線幅)W1は300μm程度、厚さT1は150nm程度、個々の下部電極20の間の幅(スペース幅)W2は15μm程度にすることができる。
【0056】
ここで、本実施形態では、基板10の上にて下部電極20の間には、個々の下部電極20の間の幅W2の範囲内にて無機絶縁材料からなる第1の絶縁層51が形成されている。つまり、第1の絶縁層51は、下部電極20の上面側へはみ出すことなく下部電極20のスペース幅W2の範囲内に収まって位置している。
【0057】
具体的に、第1の絶縁層51は、原子層成長法(ALE)や蒸着法等により成膜されたアルミナ等から構成することができる。その膜厚は、下部電極20と同程度であり、例えば150nm程度にすることができる。
【0058】
また、下部電極20のうち上部電極40の間に位置する部位には、下部電極20の上面から厚さ方向の途中部まで凹んだ凹部21が形成されている。そして、凹部21内には、凹部21の幅W3の範囲内にて無機絶縁材料からなる第2の絶縁層52が形成されている。
【0059】
このように、第2の絶縁層52も、下部電極20の上面側へはみ出すことなく下部電極20の凹部21の幅W3の範囲内に収まって位置している。ここで、下部電極20の凹部21は後述するようにハーフエッチング等にて形成することができる。
【0060】
また、第2の絶縁層52も、第1の絶縁層51と同様に、ALE法や蒸着法等により成膜されたアルミナ等から構成することができる。そして、その膜厚は、下部電極20の凹部21の深さT2と同程度である。
【0061】
ここで、例えば、下部電極20の厚さT1が150nm程度である場合、凹部21の深さT2は90nm程度にすることができる。また、上部電極40の幅(線幅)W5は320μm程度、上部電極40の間の幅(スペース幅)W4は20μm程度、凹部21の幅(つまり第2の絶縁層52の幅)W3は40μm程度にすることができる。
【0062】
なお、図1や図2(b)では、第2の絶縁層52および凹部21は、上部電極40の直下に入り込むように多少はみ出している。つまり、上部電極40の間の幅W4よりも、凹部21の幅W3の方が大きい。これは、製造上の位置合わせ精度を考慮したものであり、そのはみ出し長さは例えば10μm程度と小さいものである。
【0063】
このように、下部電極20、第1の絶縁層51および第2の絶縁層52の上面は、若干の高低はあるものの略同一平面上にある。そして、これら下部電極20および絶縁層51、52の上には、上部電極40と同一形状すなわち下部電極20と直交するストライプ形状をなす有機層30が形成されている。
【0064】
この有機層30は、通常の有機EL素子に用いられるか若しくは用いられる可能性のある有機EL材料から構成される。例えば、有機層30は陽極である下部電極20側から順に、ホール輸送性有機材料からなるホール輸送層、ホール輸送性有機材料や電子輸送性有機材料に蛍光色素をドープした有機EL材料からなる発光層、電子輸送性有機材料からなる電子輸送層を積層したものにできる。
【0065】
そして、上部電極40は、有機層30の上にストライプ状に形成されている。ここでは、上部電極40は陰極として構成され、例えば、Al(アルミ)等の金属材料を採用したり、Alに加えて更に有機層30側にLiF(フッ化リチウム)膜を設けたもの等を採用することができる。なお、これら有機層30や上部電極40は真空蒸着法等にて形成することができる。
【0066】
このような有機EL素子S1においては、下部電極20と上部電極40との重なり部が、発光部である画素として構成されており、上下電極20、40間に電圧を印加することで有機層30が発光するようになっている。
【0067】
そして、上部電極40と下部電極20との重なり部を除く領域に第1および第2の絶縁層51、52が介在するため、当該重なり部以外の部位を適切に非発光領域とすることができる。その結果、クロストークを極力抑制した表示が可能となる。
【0068】
また、絶縁層51、52として無機絶縁材料を用いているため、上述した有機絶縁材料を絶縁層として用いた場合に発生する諸問題、例えば有機物の残渣の問題や絶縁層から発生するガスや水分によるダークエリアの問題等を解消することができる。
【0069】
ところで、本実施形態では、下部電極20の間に設けられる第1の絶縁層51は、下部電極20の間の幅W2の範囲内にて形成されるので、従来の絶縁層のパターン(上記図27、図28参照)のように下部電極20の上面にまではみ出して存在することはない。
【0070】
また、本実施形態では、下部電極20のうち上部電極40の間に位置する部位に設けられる第2の絶縁層52も、凹部21内にて当該凹部21の幅W3の範囲内にて形成されるので、凹部21からはみ出して下部電極20の上面に存在することはない。したがって、第1、第2の絶縁層51、52による段差を従来構造に比べて大幅に低減することができる。
【0071】
それに伴い、下部電極20と上部電極40との重なり部において、これら絶縁層51、52が下部電極20の上面にはみ出すこともなくなるため、開口率を向上させることができる。その結果、より低い電流密度で所定の輝度を出すことができるので、輝度劣化の防止には有利である。
【0072】
このように、本実施形態によれば、有機層30のカバレッジ性および開口率を適切に向上させることのできる有機EL素子S1を提供することができる。
【0073】
ここで、第1および第2の絶縁層51、52の上面と下部電極20の上面とは、多少段差があっても良いが、望ましくは、これら両上面が同一平面上に位置することにより、有機層30のカバレッジ性をより高いレベルに確保することができ、好ましい。ここで、上記両上面が同一平面となっていることとは、後述する研磨により実現可能なレベルで同一平面となっていることである。
【0074】
また、第1の絶縁層51および第2の絶縁層52は、ALE法により成膜されたものであることが好ましい。ALE法による膜を使用するとピンホールが少なく異物へのカバレージが良好であるため、上下電極20、40の短絡には極めて有効である。
【0075】
次に、上記有機EL素子S1の製造方法の具体例について、図3〜図9を参照して述べる。図3〜図9は本製造方法の工程図であり、各図の(a)、(b)はそれぞれ上記図2の(a)、(b)に対応した断面を概略的に示したものである。
【0076】
まず、基板10の上に下部電極20を形成するとともに、下部電極20のうち上部電極40の間に位置する予定の部位に下部電極20の上面から厚さ方向の途中部まで凹んだ凹部21を形成する。
【0077】
具体的には、図3に示すように、基板10としてのガラス基板全域上に、下部電極20となるITO膜20’をスパッタ法により成膜する。本例では、基板温度は200℃、10−1Paオーダーとし、ITO膜20’の膜厚T1’は180nmとした。
【0078】
次に、図4に示すように、ITO膜20’をフォトリソグラフ技術を用いてエッチングすることによりストライプ状の下部電極20を形成する。ここでは、下部電極20の線幅W1は300μm、下部電極間の幅W2は15μmとした。
【0079】
そして、レジスト塗布、露光、現像を経てレジストを形成した後、レジストにおける幅15μmの複数の開口から剥き出しになったITO膜20’を、基板1の表面に至るまで王水によりエッチングした。その後、レジストを剥離することでストライプ状の下部電極20が形成される。
【0080】
次に、図5に示すように、下部電極20に凹部21を形成する。本例では、王水を用いて予め求めてあるITOのエッチングレートを基にして、下部電極20の上面から厚さ方向の途中部まで下部電極20をハーフエッチングすることにより凹部21を形成した。
【0081】
具体的には、レジスト塗布、露光、現像の手順で、凹部21の形成予定部に開口部を有するレジストマスクを形成し、マスク開口部から剥き出しになった下部電極20を、王水にてエッチングした。ここでは、凹部21の幅W3を40μm、深さT2’を120nmとした。その後、上記レジストを剥離することで、凹部21が形成される。
【0082】
こうして、基板10の上に、ストライプ状の下部電極20が形成されるとともに、下部電極20に凹部21が形成される。なお、上記例とは逆に、先に凹部21をハーフエッチングにて形成し、その後、ITO膜20’をエッチングしてストライプ状の下部電極20を形成するようにしても良い。
【0083】
次に、図6に示すように、基板10および下部電極20の上に、第1及び第2の絶縁層51、52となる無機絶縁材料からなる無機絶縁膜55を形成する。具体的には、ALE法にて基板10の全面にアルミナ(Al2O3)からなる無機絶縁膜55を形成した。
【0084】
このアルミナからなる無機絶縁膜55の製法について詳細を述べる。反応炉を40Pa程度の真空にし、N2ガスを400sccm程度流しながら基板10を加熱し基板温度を100℃に安定させた。その後、TMA(テトラメチルアンモニウム)およびH2Oを原料ボトル内にて室温で気化し、キャリアガスであるN2ガスを400sccmで反応炉に交互に導入した。
【0085】
反応炉へのガスは、まず気化したTMAを0.6sec導入した後、基板10の表面に吸着した分子以外の気相に存在する過剰のTMAを取り除くためのパージとしてN2ガスを2.4sec導入した。その後、同様に気化したH2Oを1.0sec、N2パージが4.0secのガス導入時間にて成膜した。
【0086】
このTMA導入→パージ→H2O導入→パージのサイクルを2250回繰り返し成膜を行った。この間、反応炉の圧力は150〜300Paであり、基板温度は反応炉内のヒータによって100℃に保持した。成膜が終了した後は、N2ガスを400sccm導入しながら、放置冷却を行い、基板温度が70℃になった時点で反応炉を大気圧にし、基板を取り出した。この手法により、膜厚T3が約180nmのアルミナ(Al2O3)からなる無機絶縁膜55が得られた。
【0087】
次に、図7に示すように、下部電極20の間および凹部21内では無機絶縁膜55を残し、それ以外の無機絶縁膜55を除去するように、無機絶縁膜55の上面から研磨を行うことにより下部電極20の上面を露出させる。ここでは、研磨は次のようなラップ研磨法で行った。
【0088】
研磨装置は常陽工学製のTLCF−800II(商品名)を使用し、研磨布はMAT製のSUBA−400(商品名)、研磨材にフジミインコーポレート製のPOLIPURA−103H(商品名)を使用した。そして、凹部21内および下部電極20のスペース間以外の無機絶縁膜55を研磨し、その後剥き出された下部電極20の表面(上面)をさらに厚さ30nm分、研磨した。
【0089】
こうして、基板10の上にて下部電極20の間には、下部電極間の幅W2の範囲内にて第1の絶縁層51が形成され、下部電極20の凹部21内には、凹部21の幅W3の範囲内にて第2の絶縁層52が形成される。そして、研磨後における下部電極20の厚さT1は150nm、凹部21の深さT2は90nm程度となる。
【0090】
また、このように下部電極20の上面を研磨することによって、下部電極20の上面の平滑性が増し、上下電極20、40がショートしにくくなる。なお、研磨レートは一般にITOよりも絶縁膜55のほうが遅いため、研磨布を調整することにより、絶縁膜55の上面と下部電極20の上面とが同一平面か若しくは絶縁膜55の上面の方が上方に位置した形とすることができる。
【0091】
次に、基板10を洗浄した後、200℃以上の基板温度で下部電極20の上面および第1及び第2の絶縁層51、52の上面をUVオゾン処理する。本例では、基板温度300℃で行った。ここまでの工程では、ワークは無機物のみからなるので、高温で処理を行うことができ、その結果、基板10上の有機物や水分の除去や清浄化を効果的に行うことができる。
【0092】
次に、図8に示すように、マスクを用いた蒸着を行うことにより、ストライプ状の有機層30および上部電極40を形成する。
【0093】
ここでは、ストライプ形状をなす上部電極40および有機層30において、線幅W5を320μm、スペース幅W4を20μmとする。これら幅W4、W5は上記図1を参照のこと。
【0094】
このような寸法とした場合、有機層30および上部電極40を一度に成膜しようとすると、成膜用マスクとして、ストライプ状の開口部の幅が320μm、当該開口部間に位置する非開口部の幅が20μmのものを用いることになる。このようなマスクでは、非開口部の幅が細すぎてマスクの剛性を確保することが難しくなる。
【0095】
そこで、本例では、図10に示すようなマスクMを用いて、有機層30、上部電極40の成膜を行った。このマスクMは、ストライプ形状の上部電極40において1本おきの上部電極40に対応した開口部Kを有し、非開口部Hの幅を広くしている。開口部Kの幅は上部電極40の幅W5と同じであり、非開口部Hの幅は、上部電極40の幅と2個のスペース幅W4とを足し合わせた幅(W5+2・W4)である。
【0096】
そして、このマスクMを用いて、一度、有機層30および上部電極40を成膜し、その後、マスクMを340μmずらして再度、有機層30および上部電極40を成膜する。これにより、本実施形態におけるストライプ状の有機層30および上部電極40が形成される。
【0097】
本例では、有機層30は、下部電極20側から順に、CuPc(銅フタロシアニン錯体)からなるホール注入層、TPTE(テトラトリフェニルアミン)からなるホール輸送層、Alq3(トリス(8−キノリール)アルミニウム)を母材とし、色素であるジメチルキナクリドン(Dq)をドープしてなる発光層、Alq3からなる電子輸送層を蒸着法にて積層したものとした。
【0098】
また、有機層30の上にLiFおよびAlを積層し、これを上部電極40とした。さらに、本例では、上部電極40の形成後、図9に示すように、ALE法によりアルミナ(Al2O3)膜を保護膜60として成膜し、これを有機EL素子S1として完成させた。
【0099】
上述したような、ストライプ状の下部電極20および凹部21の形成工程、無機絶縁膜55の形成工程、研磨工程、有機層および上部電極の形成工程を備えた製造方法によれば、下部電極20の間、下部電極20の凹部21内に残った無機絶縁膜55がそれぞれ、第1の絶縁層51、第2の絶縁層52となるので、上記有機EL素子S1を適切に製造することができる。
【0100】
また、研磨の条件等を調整することによって第1および第2の絶縁層51、52の上面と下部電極20の上面とを同一平面とすることも可能である。
【0101】
また、上記製造方法によれば、無機絶縁膜55を研磨するだけでパターニングすることができるため、従来の無機絶縁層を形成する場合のような絶縁膜のパターニングに必要なフォトエッチングの技術が不要となり、結果、高額な設備投資が不要となる。
【0102】
さらに、研磨の際に下部電極20の上面も削られるので、下部電極20を形成する際に行うフォトエッチングにて生じたレジスト残渣を、同時に削り取ることができる。そのため、その上に成膜される有機層30と下部電極20との界面における電荷の授受がスムーズになる。
【0103】
また、上記製造方法においては、絶縁層として無機絶縁材料からなる無機絶縁膜55を用いているため、有機層30の成膜前において、有機絶縁膜を用いた場合よりも高温で基板10を加熱することができ、水分の除去を十分に行うことができる。
【0104】
具体的には、上述したように、200℃以上(好ましくは300℃以上)の基板温度で下部電極20の上面および無機絶縁膜55(つまり第1及び第2の絶縁層51、52)の上面をUVオゾン処理する。それにより、従来に比べて、大幅にダークエリアの発生を抑制することができ、輝度劣化の少ない有機EL素子を提供することができる。
【0105】
ちなみに、上記図27に示したような従来構造の有機EL素子においては、素子の完成後に200時間放置した後には画素内に20μmのダークエリアが出ていた。しかし、上記製造方法で作製した本例の有機EL素子S1では、ダークエリアは5μm以内に抑えられ、輝度劣化の少ない良好な結果が得られた。
【0106】
(第2実施形態)
上記第1実施形態では、有機層30および上部電極40をマスクを用いた蒸着法にて成膜していた。本実施形態はマスク成膜をせずに、従来より知られている上部電極および有機層分離用の隔壁70を用いて形成する変形例を示すものである。
【0107】
図11〜図14は、本実施形態に係る有機EL素子の製造方法を示す工程図であり、各図の(a)、(b)はそれぞれ上記図2の(a)、(b)に相当する断面を概略的に示したものである。
【0108】
本実施形態の製造方法は、上記実施形態と同様、図3〜図7に示したストライプ状の下部電極20および凹部21の形成工程、無機絶縁膜55の形成工程、研磨工程を行う。
【0109】
その後、図11に示すように、有機層30および上部電極40の非形成部に、樹脂レジスト材料等を用いフォトリソグラフ技術によって隔壁70を形成する。なお、この隔壁70の形成後、さらに上記実施形態と同様に200℃以上の基板温度でのUVオゾン処理を行うため、隔壁70の材料としては高耐熱性のものが好ましく、例えばポリイミド等のUV硬化性の樹脂材料等を採用できる。
【0110】
その後、真空蒸着法等を用いて、図12に示すように有機層30を形成し、続いて、図13に示すように上部電極40を形成する。その後、図14に示すように、上記同様に保護膜60を成膜し、これを本実施形態の有機EL素子S2として完成させた。
【0111】
このような本実施形態の有機EL素子S2においても、上記第1実施形態と同様の作用効果を奏する有機EL素子およびその製造方法が提供される。また、本実施形態の製造方法では、有機層30および上部電極40の形成にあたって、微細マスクを使用して塗り分ける必要が無くなる点で上記実施形態よりも有利である。
【0112】
(第3実施形態)
上記第1実施形態に述べた製造方法では、下部電極20に凹部21を形成する工程では、下部電極20の上面から厚さ方向の途中部まで下部電極20をハーフエッチングし、下部電極20におけるハーフエッチングされた部位が凹部21として形成されるようにしていた。
【0113】
図15〜図20は本実施形態に係る有機EL素子の製造方法を示す工程図であり、各図の(a)、(b)はそれぞれ上記図2の(a)、(b)に相当する断面を概略的に示したものである。
【0114】
本実施形態では、下部電極20を基板10側から第1層22、第2層23が積層されたものとし、下部電極20に凹部21を形成する工程に特徴を持たせたものである。以下、限定するものではないが、具体的な寸法例を挙げながら説明していく。
【0115】
まず、図15に示すように、基板10の上にスパッタ法等により厚さが120nmのITOからなる第1層22を成膜する。次に、図16に示すように、マスクを用いたエッチングによって、第1層22のうち凹部21となる予定の部位を選択的にエッチングして除去する。
【0116】
このエッチングで除去する部分の幅は40μm程度であり、この幅は最終的に形成される凹部21の幅にほぼ相当するものである。また、このエッチングは、上記と同様、王水等を用いて行うことができる。
【0117】
その後、図17に示すように、第1層22の上に厚さが60nmのITOからなる第2層23をスパッタ等により成膜し、さらに、図18に示すように、これら第1及び第2層22、23をストライプ形状にエッチングする。これにより、上記実施形態と同様のストライプ形状を有し且つ凹部21が形成された下部電極20が形成される。
【0118】
このように、2層22、23からなる下部電極20において、下側の第1層22のうちのエッチングされた部分は、そのエッチングで除去された分だけ厚さが薄くなり凹んだ凹部21として形成される。ここまでの段階では、本例では凹部21の深さは、第1層22の厚さの120nm程度である。
【0119】
次に、図19に示すように、アルミナからなる無機絶縁膜55を基板10の全面にALE法にて厚さ180nmに成膜する。
【0120】
そして、上記実施形態と同様にラップ研磨を行うことにより、図20に示すように、基板10の上にて下部電極20の間には、下部電極間の幅の範囲内にて第1の絶縁層51が形成され、下部電極20の凹部21内には、凹部21の幅の範囲内にて第2の絶縁層52が形成される。
【0121】
そして、研磨後においては、下部電極20および第1の絶縁層51の厚さは150nm程度、凹部21の深さおよび第2の絶縁層52の厚さは90nm程度となる。
【0122】
その後は、上記実施形態と同様に、UVオゾン処理、有機層30および上部電極40の形成等の工程を行うことにより、上記実施形態と同様の作用効果を奏する有機EL素子を製造することができる。
【0123】
ところで、本実施形態によれば、上述したハーフエッチングで下部電極20に凹部21を形成する場合に比べて、成膜・フォトエッチ工程が増える。しかし、ハーフエッチングの場合はエッチングばらつきが存在するのに対して、本実施形態では、凹部21の深さは第1層22の厚さ分に相当するので、凹部21の深さをより均一にすることができ、耐圧が安定するという利点がある。
【0124】
(第4実施形態)
図21〜図26は、本実施形態に係る有機EL素子の製造方法を示す工程図であり、各図の(a)、(b)はそれぞれ上記図2の(a)、(b)に相当する断面を概略的に示したものである。
【0125】
本実施形態は、下部電極20として基板10側から第1層24、第1層24よりもエッチングレートの速い第2層25が積層されたものを用い、下部電極20に凹部21を形成する工程では、下部電極20をその上面からすなわち第2層25の上面からエッチングすることにより凹部21を形成するようにしたものである。
【0126】
具体的には、下部電極20の第1層24を多結晶ITOから構成し、エッチングレートの速い第2層25をアモルファスITOから構成する。多結晶ITOは、スパッタによるITOの成膜時の基板温度を200℃とすることにより実現でき、アモルファスITOは当該基板温度を室温とすることで実現できる。そして、膜質の差によってエッチングレートに差が生じる。
【0127】
以下、限定するものではないが、具体的な寸法例を挙げながら説明していく。まず、図21に示すように、基板10の上にスパッタ法により基板温度200℃にて、厚さ60nmの多結晶ITOからなる第1層24を成膜する。次に、図22に示すように、第1層24の上にスパッタ法により基板温度を室温として、厚さ120nmのアモルファスITOからなる第2層25を成膜する。
【0128】
次に、図23に示すように、マスクを用いた王水によるエッチングを行い、第2層25において凹部21となる予定の部位を選択的に除去する。第1層24よりも第2層25の方がエッチングレートが速いので、エッチング時間を調整することにより、下部電極のうち凹部を形成する部分にて実質的に第2層25のみを除去できる。そして、除去された部分が幅40μmの凹部21として形成される。
【0129】
その後、図24に示すように、第1及び第2層24、25をストライプ形状にエッチングする。これにより、上記実施形態と同様のストライプ形状を有し且つ凹部21が形成された下部電極20が形成される。なお、本実施形態では、凹部21を形成するエッチングとストライプ形状とするエッチングとを、上記順序とは逆の順序で行っても良い。
【0130】
このように、2層24、25からなる下部電極20において、上側の第2層25のうちのエッチングで除去された分だけ厚さが薄くなり凹んだ凹部21として形成される。ここまでの段階では、本例では凹部21の深さは、第2層25の厚さ120nm程度である。
【0131】
次に、図25に示すように、アルミナからなる無機絶縁膜55を基板10の全面にALE法にて厚さ180nmに成膜する。
【0132】
そして、上記実施形態と同様にラップ研磨を行うことにより、図26に示すように、基板10の上にて下部電極20の間には、下部電極間の幅の範囲内にて第1の絶縁層51が形成され、下部電極20の凹部21内には、凹部21の幅の範囲内にて第2の絶縁層52が形成される。
【0133】
そして、研磨後においては、下部電極20および第1の絶縁層51の厚さは150nm程度、凹部21の深さおよび第2の絶縁層52の厚さは90nm程度となる。
【0134】
その後は、上記実施形態と同様に、UVオゾン処理、有機層30および上部電極40の形成等の工程を行うことにより、上記実施形態と同様の作用効果を奏する有機EL素子を製造することができる。
【0135】
ところで、本実施形態よれば、凹部21の深さはエッチングで除去された第2層25の厚さ分に相当する。そのため、上記第3実施形態と同様に、上述したハーフエッチングで下部電極20に凹部21を形成する場合に比べて、凹部21の深さをより均一にすることができ、耐圧が安定するという利点がある。
【図面の簡単な説明】
【図1】本発明の第1実施形態に係る有機EL素子の概略平面図である。
【図2】(a)は図1中の一点鎖線Aに沿った概略断面図、図2(b)は図1中のB−B線に沿った概略断面図である。
【図3】第1実施形態に係る有機EL素子の製造方法を示す工程図である。
【図4】図3に続く製造方法を示す工程図である。
【図5】図4に続く製造方法を示す工程図である。
【図6】図5に続く製造方法を示す工程図である。
【図7】図6に続く製造方法を示す工程図である。
【図8】図7に続く製造方法を示す工程図である。
【図9】図8に続く製造方法を示す工程図である。
【図10】第1実施形態において有機層および上部電極の成膜に用いるマスクの概略平面図である。
【図11】本発明の第2実施形態に係る有機EL素子の製造方法を示す工程図である。
【図12】図11に続く製造方法を示す工程図である。
【図13】図12に続く製造方法を示す工程図である。
【図14】図13に続く製造方法を示す工程図である。
【図15】本発明の第3実施形態に係る有機EL素子の製造方法を示す工程図である。
【図16】図15に続く製造方法を示す工程図である。
【図17】図16に続く製造方法を示す工程図である。
【図18】図17に続く製造方法を示す工程図である。
【図19】図18に続く製造方法を示す工程図である。
【図20】図19に続く製造方法を示す工程図である。
【図21】本発明の第4実施形態に係る有機EL素子の製造方法を示す工程図である。
【図22】図21に続く製造方法を示す工程図である。
【図23】図22に続く製造方法を示す工程図である。
【図24】図23に続く製造方法を示す工程図である。
【図25】図24に続く製造方法を示す工程図である。
【図26】図25に続く製造方法を示す工程図である。
【図27】従来の一般的な有機EL素子の概略平面構成図である。
【図28】(a)は図27中の一点鎖線Aに沿った概略断面図、(b)は図27中のB−B線に沿った概略断面図である。
【符号の説明】
10…基板、20…下部電極、21…下部電極の凹部、22、24…下部電極の第1層、23、25…下部電極の第2層、30…有機層、40…上部電極、51…第1の絶縁層、52…第2の絶縁層、55…無機絶縁膜。
Claims (9)
- 基板(10)の上にストライプ形状をなす下部電極(20)が形成されており、
前記下部電極の上に前記下部電極と直交するストライプ形状をなす上部電極(40)が形成されており、
前記下部電極と前記上部電極との間に有機EL材料からなる有機層(30)が介在して形成されており、
前記上部電極と前記下部電極との重なり部にて前記有機層を発光させるようにした有機EL素子において、
前記基板の上にて前記下部電極の間には、当該下部電極の間の幅の範囲内にて無機絶縁材料からなる第1の絶縁層(51)が形成されており、
前記下部電極のうち前記上部電極の間に位置する部位には、前記下部電極の上面から厚さ方向の途中部まで凹んだ凹部(21)が形成されており、
前記凹部内には、前記凹部の幅の範囲内にて無機絶縁材料からなる第2の絶縁層(52)が形成されていることを特徴とする有機EL素子。 - 前記第1の絶縁層(51)の上面および前記第2の絶縁層(52)の上面と前記下部電極(20)の上面とは、同一平面上に位置することを特徴とする請求項1に記載の有機EL素子。
- 前記第1の絶縁層(51)および前記第2の絶縁層(52)は、原子層成長法により成膜されたものであることを特徴とする請求項1または2に記載の有機EL素子。
- 基板(10)の上にストライプ形状をなす下部電極(20)を形成し、前記下部電極の上に有機EL材料からなる有機層(30)を形成し、前記有機層の上に前記下部電極と直交するストライプ形状をなす上部電極(40)を形成してなり、前記上部電極と前記下部電極との重なり部にて前記有機層を発光させるようにした有機EL素子の製造方法において、
前記基板の上に前記下部電極を形成するとともに、前記下部電極のうち前記上部電極の間に位置する予定の部位に前記下部電極の上面から厚さ方向の途中部まで凹んだ凹部(21)を形成する工程と、
この後、前記基板および前記下部電極の上に無機絶縁材料からなる無機絶縁膜(55)を形成する工程と、
次に、前記下部電極の間および前記凹部内では前記無機絶縁膜を残し、それ以外の前記無機絶縁膜を除去するように、前記無機絶縁膜の上面から研磨を行うことにより前記下部電極の上面を露出させる工程と、
続いて、前記有機層および前記上部電極を形成する工程とを備えることを特徴とする有機EL素子の製造方法。 - 前記無機絶縁膜(55)を原子層成長法により成膜することを特徴とする請求項4に記載の有機EL素子の製造方法。
- 前記下部電極(20)に前記凹部(21)を形成する工程では、前記下部電極の上面から厚さ方向の途中部まで前記下部電極をハーフエッチングすることにより前記凹部を形成することを特徴とする請求項4または5に記載の有機EL素子の製造方法。
- 前記下部電極(20)を前記基板(10)側から第1層(22)、第2層(23)が積層されたものとし、
前記下部電極に前記凹部(21)を形成する工程では、前記基板の上に形成された前記第1層のうち前記凹部となる予定の部位をエッチングして除去した後、前記第1層の上に前記第2層を形成することにより、前記凹部を形成することを特徴とする請求項4または5に記載の有機EL素子の製造方法。 - 前記下部電極(20)に前記凹部(21)を形成する工程では、前記下部電極をその上面からエッチングすることにより前記凹部を形成するようにし、
前記下部電極として前記基板(10)側から第1層(24)、前記第1層よりもエッチングレートの速い第2層(25)が積層されたものを用いることを特徴とする請求項4または5に記載の有機EL素子の製造方法。 - 前記無機絶縁膜(55)の上面から研磨を行う工程と、前記有機層(30)および前記上部電極(40)を形成する工程との間に、200℃以上の基板温度で前記下部電極(20)の上面および前記無機絶縁膜の上面をUVオゾン処理することを特徴とする請求項4ないし8のいずれか一つに記載の有機EL素子の製造方法。
Priority Applications (1)
| Application Number | Priority Date | Filing Date | Title |
|---|---|---|---|
| JP2003015941A JP2004227979A (ja) | 2003-01-24 | 2003-01-24 | 有機el素子およびその製造方法 |
Applications Claiming Priority (1)
| Application Number | Priority Date | Filing Date | Title |
|---|---|---|---|
| JP2003015941A JP2004227979A (ja) | 2003-01-24 | 2003-01-24 | 有機el素子およびその製造方法 |
Publications (1)
| Publication Number | Publication Date |
|---|---|
| JP2004227979A true JP2004227979A (ja) | 2004-08-12 |
Family
ID=32903548
Family Applications (1)
| Application Number | Title | Priority Date | Filing Date |
|---|---|---|---|
| JP2003015941A Withdrawn JP2004227979A (ja) | 2003-01-24 | 2003-01-24 | 有機el素子およびその製造方法 |
Country Status (1)
| Country | Link |
|---|---|
| JP (1) | JP2004227979A (ja) |
Cited By (5)
| Publication number | Priority date | Publication date | Assignee | Title |
|---|---|---|---|---|
| JP2006253106A (ja) * | 2004-07-20 | 2006-09-21 | Denso Corp | カラー有機elディスプレイおよびその製造方法 |
| JP2007042499A (ja) * | 2005-08-04 | 2007-02-15 | Denso Corp | カラー有機elディスプレイの製造方法 |
| JP2008243664A (ja) * | 2007-03-28 | 2008-10-09 | Denso Corp | 有機el素子の製造方法 |
| JP2013511808A (ja) * | 2009-11-19 | 2013-04-04 | ゼネラル・エレクトリック・カンパニイ | 電流適応性の改善のための磁気構造を備える有機発光ダイオード |
| CN110137384A (zh) * | 2019-06-28 | 2019-08-16 | 昆山国显光电有限公司 | 显示面板及显示装置 |
-
2003
- 2003-01-24 JP JP2003015941A patent/JP2004227979A/ja not_active Withdrawn
Cited By (5)
| Publication number | Priority date | Publication date | Assignee | Title |
|---|---|---|---|---|
| JP2006253106A (ja) * | 2004-07-20 | 2006-09-21 | Denso Corp | カラー有機elディスプレイおよびその製造方法 |
| JP2007042499A (ja) * | 2005-08-04 | 2007-02-15 | Denso Corp | カラー有機elディスプレイの製造方法 |
| JP2008243664A (ja) * | 2007-03-28 | 2008-10-09 | Denso Corp | 有機el素子の製造方法 |
| JP2013511808A (ja) * | 2009-11-19 | 2013-04-04 | ゼネラル・エレクトリック・カンパニイ | 電流適応性の改善のための磁気構造を備える有機発光ダイオード |
| CN110137384A (zh) * | 2019-06-28 | 2019-08-16 | 昆山国显光电有限公司 | 显示面板及显示装置 |
Similar Documents
| Publication | Publication Date | Title |
|---|---|---|
| CN1162052C (zh) | 制造有机场致发光显示板的方法 | |
| JP3641963B2 (ja) | 有機el素子とその製造方法 | |
| JP4187367B2 (ja) | 有機発光素子、その製造装置およびその製造方法 | |
| JP3247388B2 (ja) | 有機エレクトロルミネッセンス素子及びその製造方法 | |
| US5953587A (en) | Method for deposition and patterning of organic thin film | |
| US20010019807A1 (en) | Deposition mask and manufacturing method thereof, and electroluminescence display device and manufacturing method thereof | |
| JP2003100466A (ja) | 有機エレクトロルミネセンス素子及びその製造方法 | |
| JPH11111465A (ja) | 有機el素子及びその製造方法 | |
| JP4206075B2 (ja) | 有機エレクトロルミネッセンス表示装置及びその製造方法 | |
| JPH09320760A (ja) | 有機薄膜エレクトロルミネッセンス素子のパターニング方法 | |
| US20010049030A1 (en) | Organic electroluminescence (el) device | |
| JP2009110710A (ja) | 有機elディスプレイおよびその製造方法 | |
| KR100762121B1 (ko) | 유기 전계 발광 소자의 제조 방법 | |
| JP2004227979A (ja) | 有機el素子およびその製造方法 | |
| US6617254B2 (en) | Method for manufacturing cathode electrodes of electroluminescent display device | |
| JP2007073353A (ja) | 有機エレクトロルミネッセンス素子の製造方法 | |
| CN109994530A (zh) | 显示装置、显示面板及其制作方法 | |
| KR100612118B1 (ko) | 다층 구조의 격벽 구조물을 포함하는 유기 전계발광소자및 그의 제조 방법 | |
| JPH11312583A (ja) | El素子の製造方法 | |
| JP2007503686A (ja) | 有機電子デバイスの製造方法および有機電子デバイス | |
| WO1999026730A1 (en) | Method of fabricating and patterning oleds | |
| JP3755727B2 (ja) | 有機薄膜発光ディスプレイパネルおよびその製造方法 | |
| KR20090019207A (ko) | 티자형 격벽과 이를 포함하는 유기전계발광 소자 및 그의제조방법 | |
| JP2013101857A (ja) | 有機el表示装置及びその製造方法 | |
| JP3062637B2 (ja) | 蛍光表示管の製造方法 |
Legal Events
| Date | Code | Title | Description |
|---|---|---|---|
| A300 | Application deemed to be withdrawn because no request for examination was validly filed |
Free format text: JAPANESE INTERMEDIATE CODE: A300 Effective date: 20060404 |