JP2004166370A - 電圧変換装置 - Google Patents
電圧変換装置 Download PDFInfo
- Publication number
- JP2004166370A JP2004166370A JP2002328288A JP2002328288A JP2004166370A JP 2004166370 A JP2004166370 A JP 2004166370A JP 2002328288 A JP2002328288 A JP 2002328288A JP 2002328288 A JP2002328288 A JP 2002328288A JP 2004166370 A JP2004166370 A JP 2004166370A
- Authority
- JP
- Japan
- Prior art keywords
- voltage
- converter
- output
- command value
- battery
- Prior art date
- Legal status (The legal status is an assumption and is not a legal conclusion. Google has not performed a legal analysis and makes no representation as to the accuracy of the status listed.)
- Withdrawn
Links
Images
Landscapes
- Dc-Dc Converters (AREA)
- Inverter Devices (AREA)
Abstract
【課題】出力側における電圧降下を出力側において検出された1つの電圧により補償して電圧変換を行なう電圧変換装置を提供する。
【解決手段】電圧指令値演算回路263は、DC/DCコンバータ25の出力端子264,265における出力電圧Vmと、配線27および端子266を介して受けた補機バッテリ26のプラス端子における電圧Vs1とに基づいて、出力端子264,265から補機バッテリ26までの間における電圧降下を補償して電圧変換を行なうための電圧指令値を演算する。MOSFET駆動制御回路262は、電圧指令値演算回路263からの電圧指令値に基づいて、DC/DCコンバータ25が電圧指令値によって指令された電圧を出力するようにMOSトランジスタ251〜254を駆動する。
【選択図】 図4
【解決手段】電圧指令値演算回路263は、DC/DCコンバータ25の出力端子264,265における出力電圧Vmと、配線27および端子266を介して受けた補機バッテリ26のプラス端子における電圧Vs1とに基づいて、出力端子264,265から補機バッテリ26までの間における電圧降下を補償して電圧変換を行なうための電圧指令値を演算する。MOSFET駆動制御回路262は、電圧指令値演算回路263からの電圧指令値に基づいて、DC/DCコンバータ25が電圧指令値によって指令された電圧を出力するようにMOSトランジスタ251〜254を駆動する。
【選択図】 図4
Description
【0001】
【発明の属する技術分野】
この発明は、直流電圧の電圧レベルを変える電圧変換装置に関し、特に、出力側における電圧降下を補償して電圧変換を行なう電圧変換装置に関する。
【0002】
【従来の技術】
最近、環境に配慮した自動車としてハイブリッド自動車(Hybrid Vehicle)および電気自動車(Electric Vehicle)が大きな注目を集めている。そして、ハイブリッド電気自動車は、一部、実用化されている。
【0003】
このハイブリッド自動車は、従来のエンジンに加え、直流電源およびインバータによって駆動されるモータを動力源とする自動車である。つまり、エンジンを駆動することにより動力源を得るとともに、直流電源からの直流電圧をインバータによって交流電圧に変換し、その変換した交流電圧によりモータを回転することによって動力源を得るものである。また、電気自動車は、直流電源とインバータとインバータによって駆動されるモータとを動力源とする自動車である。
【0004】
このようなハイブリッド自動車または電気自動車においては、直流電源からの直流電圧を昇圧コンバータによって昇圧し、その昇圧した直流電圧がモータを駆動するインバータに供給されるように構成したシステムについても検討されている。
【0005】
また、ハイブリッド自動車または電気自動車においては、直流電源からの直流電圧を降圧し、その降圧した直流電圧をライト等の負荷に供給することが行なわれている。
【0006】
すなわち、ハイブリッド自動車または電気自動車は図8に示す電気システム500を搭載している。図8を参照して、電気システム500は、直流電源Bと、システムリレーSR1,SR2と、電圧センサー501,505と、コンデンサ502,504,510と、コンバータ503と、インバータ506と、電流センサー507と、DC/DCコンバータ509と、補機バッテリ511と、制御装置520とを含む。
【0007】
直流電源Bは、直流電圧を出力する。電圧センサー501は、直流電源Bから出力された直流電圧を検出して制御装置520へ出力する。システムリレーSR1,SR2は、制御装置520によってオンされると、直流電源Bからの直流電圧をコンデンサ502およびDC/DCコンバータ509に供給する。コンデンサ502は、直流電源BからシステムリレーSR1,SR2を介して供給された直流電圧を平滑化し、その平滑化した直流電圧をコンバータ503へ供給する。
【0008】
コンバータ503は、コンデンサ502から供給された直流電圧を制御装置520からの制御に従って昇圧し、その昇圧した直流電圧をコンデンサ504へ供給する。コンデンサ504は、コンバータ503から供給された直流電圧を平滑化してインバータ506へ供給する。電圧センサー505は、コンデンサ504の両側の電圧、すなわち、インバータ506への入力電圧を検出する。
【0009】
インバータ506は、コンデンサ504から直流電圧が供給されると制御装置520からの制御に基づいて直流電圧を交流電圧に変換してモータ508を駆動する。これにより、モータ508は、トルク指令値によって指定されたトルクを発生するように駆動される。電流センサー507は、モータ508の各相に流れるモータ電流を検出し、その検出したモータ電流を制御装置520へ出力する。
【0010】
DC/DCコンバータ509は、直流電源BからシステムリレーSR1,SR2を介して供給された直流電圧を、制御装置520からの制御信号に応じて降圧し、その降圧した直流電圧をコンデンサ510へ供給する。コンデンサ510は、DC/DCコンバータ509から供給された直流電圧を平滑化し、その平滑化した直流電圧を補機バッテリ511に供給する。そして、補機バッテリ511は、供給された直流電圧を蓄積するとともに補機(図示せず)を駆動するための直流電圧を出力する。
【0011】
制御装置520は、電圧センサー501からの電圧、および電流センサー507からのモータ電流等に基づいて、コンバータ503およびインバータ506を制御するための制御信号を生成し、その生成した制御信号をコンバータ503およびインバータ506へ出力する。また、制御装置520は、DC/DCコンバータ509を制御するための制御信号を生成してDC/DCコンバータ509へ出力する。
【0012】
モータ508および補機バッテリ511を駆動するとき、制御装置520は、システムリレーSR1,SR2をオンする。そして、直流電源Bは直流電圧を出力し、システムリレーSR1,SR2は、直流電源Bから出力された直流電圧をコンデンサ502およびDC/DCコンバータ509に供給する。また、電圧センサー501は、直流電源Bの直流電圧を検出して制御装置520へ出力し、電圧センサー505は、コンデンサ504の両端の電圧、すなわち、インバータ506への入力電圧を検出して制御装置520へ出力し、電流センサー507はモータ電流を検出して制御装置520へ出力する。
【0013】
制御装置520は、直流電源の直流電圧、インバータ506への入力電圧、およびモータ電流等に基づいて、コンバータ503およびインバータ506を駆動するための制御信号を生成し、その生成した制御信号をコンバータ503およびインバータ506へ出力する。
【0014】
一方、コンデンサ502は、システムリレーSR1,SR2から供給された直流電圧を平滑化してコンバータ503へ供給する。コンバータ503は、コンデンサ502から供給された直流電圧を、制御装置520からの制御信号に応じて昇圧し、その昇圧した直流電圧をコンデンサ504へ供給する。コンデンサ504は、コンバータ503から供給された直流電圧を平滑化してインバータ506へ供給する。そして、インバータ506は、コンデンサ504から供給された直流電圧を、制御装置520からの制御信号に応じて交流電圧に変換し、その変換した交流電圧をモータ508へ供給してモータ508を駆動する。これにより、モータ508は、所定のトルクを発生する。
【0015】
また、制御装置520は、直流電源Bからの直流電圧を降圧するようにDC/DCコンバータ509を制御し、DC/DCコンバータ509は、直流電源Bからの直流電圧を降圧してコンデンサ510に供給する。コンデンサ510は、DC/DCコンバータ509により降圧された直流電圧を平滑化して補機バッテリ511に供給する。これにより、補機バッテリ511は充電される。
【0016】
このように、ハイブリッド自動車または電気自動車に搭載された電気システム500は、直流電源Bからの直流電圧を昇圧して、所定のトルクを発生するようにモータ508を駆動するとともに、直流電源Bからの直流電圧を降圧して補機バッテリ511を充電する。
【0017】
そして、DC/DC/コンバータの出力電圧を検出し、出力電圧が所定の電圧レベルになるように直流電圧を出力電圧に降圧する技術が、特開2002−101648号公報に開示されている。すなわち、図9を参照して、DC/DCコンバータ600は、入力端子601を介して直流電源604から直流電圧を受け、その受けた直流電圧を制御手段603からの制御に基づいて降圧する。そして、DC/DCコンバータ600は、降圧した出力電圧を出力端子602を介して負荷605へ供給する。制御手段603は、出力端子602の近傍における出力電圧を検出し、その検出した出力電圧の電圧レベルに応じてDC/DCコンバータ600を制御する。
【0018】
より具体的には、制御手段603は、検出した出力電圧の電圧レベルが基準値よりも低いか否かを判定し、出力電圧の電圧レベルが基準値よりも低いとき、DC/DCコンバータ600を構成するMOSトランジスタのオン時間を長くし、出力電圧の電圧レベルが基準値よりも高いとき、DC/DCコンバータ600を構成するMOSトランジスタのオフ時間を長くするようにMOSトランジスタを制御する。
【0019】
これにより、DC/DCコンバータ600は、直流電源604から供給された直流電圧を、所定の電圧レベルを有する出力電圧に降圧する。
【0020】
【特許文献1】
特開2002−101648号公報
【0021】
【特許文献2】
特開2002−176770号公報
【0022】
【特許文献3】
特開平5−344712号公報
【0023】
【発明が解決しようとする課題】
しかし、DC/DCコンバータによる従来の電圧降圧方法では、DC/DCコンバータの出力端子の近傍における出力電圧を検出し、その検出した出力電圧をDC/DCコンバータにおける電圧降圧にフィードバックするため、出力端子から負荷までの間で電圧が降圧する場合、所望の電圧を負荷に供給することができないという問題がある。
【0024】
そこで、この発明は、かかる問題を解決するためになされたものであり、その目的は、出力側における電圧降下を出力側において検出された1つの電圧により補償して電圧変換を行なう電圧変換装置を提供することである。
【0025】
また、この発明の別の目的は、1本の配線を介して検出された1つの電圧を用いて出力側における電圧降下を補償する電圧変換装置を提供することである。
【0026】
【課題を解決するための手段および発明の効果】
この発明によれば、電圧変換装置は、電圧変換器と、演算回路と、駆動回路とを備える。電圧変換器は、第1のバッテリから出力された直流電圧を出力電圧に変換し、その変換した出力電圧を第2のバッテリに供給する。演算回路は、電圧変換器の出力端における第1の電圧と、第2のバッテリのいずれか一方の端子における第2の電圧とに基づいて出力端と第2のバッテリとの間の電圧降下を演算し、その演算した電圧降下を補償して電圧変換を行なうための電圧指令値を演算する。駆動回路は、出力電圧が演算した電圧指令値になるように電圧変換器を駆動する。
【0027】
好ましくは、電圧変換装置は、入力端子をさらに備える。入力端子は、1つの配線を介して第2の電圧を受け、その受けた第2の電圧を演算回路に供給する。
【0028】
好ましくは、1つの配線は、その一方端が第2のバッテリのプラス端子に接続される。そして、演算回路は、第1の電圧と第2の電圧との電圧差を演算し、その演算した電圧差と第2のバッテリのバッテリ電圧との和を電圧指令値として演算する。
【0029】
好ましくは、1つの配線は、その一方端が第2のバッテリのマイナス端子に接続される。そして、演算回路は、第1の電圧と第2の電圧との差を電圧指令値として演算する。
【0030】
好ましくは、電圧変換器は、直流電圧を出力電圧に降圧する。
好ましくは、第2のバッテリは、車両の補機を駆動するためのバッテリである。
【0031】
この発明による電圧変換装置においては、出力側に接続された第2のバッテリのいずれか一方の端子における電圧が検出され、その検出された1つの電圧を用いて出力側における電圧降下が演算される。そして、演算された電圧降下が補償されるように電圧変換が行なわれる。また、出力側における電圧降下は、1つの配線によって検出された電圧を用いて補償される。
【0032】
したがって、この発明によれば、出力側において検出された1つの電圧を用いて電圧降下を補償して電圧変換できる。
【0033】
【発明の実施の形態】
本発明の実施の形態について図面を参照しながら詳細に説明する。なお、図中同一または相当部分には同一符号を付してその説明は繰返さない。
【0034】
[実施の形態1]
図1を参照して、この発明の実施の形態1による電圧変換装置を備えた電気システム100は、直流電源Bと、電圧センサー10,13と、システムリレーSR1,SR2と、コンデンサC1,C2と、昇圧コンバータ12と、インバータ14と、電流センサー24と、DC/DCコンバータ25と、補機バッテリ26と、配線27と、制御装置30とを備える。
【0035】
モータM1は、ハイブリッド自動車または電気自動車の駆動輪を駆動するためのトルクを発生するための駆動モータである。あるいは、このモータはエンジンにて駆動される発電機の機能を持つように、そして、エンジンに対して電動機として動作し、たとえば、エンジン始動を行ない得るようなものとしてハイブリッド自動車に組み込まれるようにしてもよい。
【0036】
また、補機バッテリ26は、ハイブリッド自動車または電気自動車に搭載されるライトおよびエアコン用のインバータ等の車に搭載される各種補機類または電装品を駆動するための電源である。
【0037】
昇圧コンバータ12は、リアクトルL1と、NPNトランジスタQ1,Q2と、ダイオードD1,D2とを含む。リアクトルL1の一方端は直流電源Bの電源ラインに接続され、他方端はNPNトランジスタQ1とNPNトランジスタQ2との中間点、すなわち、NPNトランジスタQ1のエミッタとNPNトランジスタQ2のコレクタとの間に接続される。NPNトランジスタQ1,Q2は、電源ラインとアースラインとの間に直列に接続される。そして、NPNトランジスタQ1のコレクタは電源ラインに接続され、NPNトランジスタQ2のエミッタはアースラインに接続される。また、各NPNトランジスタQ1,Q2のコレクタ−エミッタ間には、エミッタ側からコレクタ側へ電流を流すダイオードD1,D2が配置されている。
【0038】
インバータ14は、U相アーム15と、V相アーム16と、W相アーム17とから成る。U相アーム15、V相アーム16、およびW相アーム17は、電源ラインとアースとの間に並列に設けられる。
【0039】
U相アーム15は、直列接続されたNPNトランジスタQ3,Q4から成り、V相アーム16は、直列接続されたNPNトランジスタQ5,Q6から成り、W相アーム17は、直列接続されたNPNトランジスタQ7,Q8から成る。また、各NPNトランジスタQ3〜Q8のコレクタ−エミッタ間には、エミッタ側からコレクタ側へ電流を流すダイオードD3〜D8がそれぞれ接続されている。
【0040】
各相アームの中間点は、モータM1の各相コイルの各相端に接続されている。すなわち、モータM1は、3相の永久磁石モータであり、U,V,W相の3つのコイルの一端が中点に共通接続されて構成され、U相コイルの他端がNPNトランジスタQ3,Q4の中間点に、V相コイルの他端がNPNトランジスタQ5,Q6の中間点に、W相コイルの他端がNPNトランジスタQ7,Q8の中間点にそれぞれ接続されている。
【0041】
直流電源Bは、ニッケル水素またはリチウムイオン等の二次電池から成る。そして、直流電源Bは、たとえば、280V程度の直流電圧を出力する。電圧センサー10は、直流電源Bから出力される直流電圧V1を検出し、その検出した直流電圧V1を制御装置30へ出力する。システムリレーSR1,SR2は、制御装置30からの信号SEによりオン/オフされる。より具体的には、システムリレーSR1,SR2は、制御装置30からのH(論理ハイ)レベルの信号SEによりオンされ、制御装置30からのL(論理ロー)レベルの信号SEによりオフされる。
【0042】
コンデンサC1は、直流電源Bから供給された直流電圧V1を平滑化し、その平滑化した直流電圧を昇圧コンバータ12へ供給する。昇圧コンバータ12は、コンデンサC1から供給された直流電圧を昇圧してコンデンサC2へ供給する。より具体的には、昇圧コンバータ12は、制御装置30から信号PWMUを受けると、信号PWMUによってNPNトランジスタQ2がオンされた期間に応じて直流電圧を昇圧してコンデンサC2に供給する。この場合、NPNトランジスタQ1は、信号PWMUによってオフされている。また、昇圧コンバータ12は、制御装置30から信号PWMDを受けると、コンデンサC2を介してインバータ14から供給された直流電圧を降圧して直流電源Bを充電する。昇圧コンバータ12は、たとえば、コンデンサC1から供給された280V程度の直流電圧を500V程度に昇圧してコンデンサC2に供給する。
【0043】
コンデンサC2は、昇圧コンバータ12からの直流電圧を平滑化し、その平滑化した直流電圧をインバータ14へ供給する。電圧センサー13は、コンデンサC2の両端の電圧、すなわち、インバータ14への入力電圧IVVを検出し、その検出した入力電圧IVVを制御装置30へ出力する。
【0044】
インバータ14は、コンデンサC2から直流電圧が供給されると制御装置30からの信号PWMIに基づいて直流電圧を交流電圧に変換してモータM1を駆動する。これにより、モータM1は、トルク指令値TRによって指定されたトルクを発生するように駆動される。また、インバータ14は、電気システム100が搭載されたハイブリッド自動車または電気自動車の回生制動時、モータM1が発電した交流電圧を制御装置30からの信号PWMCに基づいて直流電圧に変換し、その変換した直流電圧をコンデンサC2を介して昇圧コンバータ12へ供給する。なお、ここで言う回生制動とは、ハイブリッド自動車または電気自動車を運転するドライバーによるフットブレーキ操作があった場合の回生発電を伴う制動や、フットブレーキを操作しないものの、走行中にアクセルペダルをオフすることで回生発電をさせながら車両を減速(または加速の中止)させることを含む。
【0045】
電流センサー24は、モータM1に流れるモータ電流MCRTを検出し、その検出したモータ電流MCRTを制御装置30へ出力する。
【0046】
DC/DCコンバータ25は、補機バッテリ26のプラス端子における電圧Vs1を配線27を介して受け、その受けた電圧Vs1に基づいて、出力側における電圧降下を補償するように直流電源Bから供給された直流電圧を降圧する。そして、DC/DCコンバータ25は、降圧した直流電圧を補機バッテリ26へ供給する。この場合、DC/DCコンバータ25は、たとえば、280V程度の入力電圧を14V程度に降圧して補機バッテリ26に供給する。
【0047】
配線27は、補機バッテリ26のプラス端子における電圧Vs1をDC/DCコンバータ25へ供給する。
【0048】
制御装置30は、外部に設けられたECU(Electrical Control Unit)から入力されたトルク指令値TRおよびモータ回転数MRN、電圧センサー10からの直流電圧V1、電圧センサー13からの入力電圧IVV、および電流センサー24からのモータ電流MCRTに基づいて、昇圧コンバータ12を駆動するための信号PWMUとインバータ14を駆動するための信号PWMIとを生成し、その生成した信号PWMUおよび信号PWMIをそれぞれ昇圧コンバータ12およびインバータ14へ出力する。信号PWMUは、昇圧コンバータ12がコンデンサC1からの直流電圧を入力電圧IVVに変換する場合に昇圧コンバータ12を駆動するための信号である。
【0049】
また、制御装置30は、ハイブリッド自動車または電気自動車が回生制動モードに入ったことを示す信号RGEを外部ECUから受けると、モータM1で発電された交流電圧を直流電圧に変換するための信号PWMCを生成してインバータ14へ出力する。この場合、インバータ14のNPNトランジスタQ4,Q6,Q8は信号PWMCによってスイッチング制御される。これにより、インバータ14は、モータM1で発電された交流電圧を直流電圧に変換して昇圧コンバータ12へ供給する。
【0050】
さらに、制御装置30は、システムリレーSR1,SR2をオン/オフするための信号SEを生成してシステムリレーSR1,SR2へ出力する。
【0051】
図2は、制御装置30の機能ブロック図である。図2を参照して、制御装置30は、モータトルク制御手段301と、電圧変換制御手段302とを含む。モータトルク制御手段301は、トルク指令値TR、直流電源Bから出力された直流電圧V1、モータ電流MCRT、モータ回転数MRNおよびインバータ14への入力電圧IVVに基づいて、モータM1の駆動時、昇圧コンバータ12のNPNトランジスタQ1,Q2をオン/オフするための信号PWMUと、インバータ14のNPNトランジスタQ3〜Q8をオン/オフするための信号PWMIとを生成し、その生成した信号PWMUおよび信号PWMIをそれぞれ昇圧コンバータ12およびインバータ14へ出力する。
【0052】
電圧変換制御手段302は、回生制動時、ハイブリッド自動車または電気自動車が回生制動モードに入ったことを示す信号RGEを外部ECUから受けると、インバータ14から供給された直流電圧を降圧するための信号PWMDを生成して昇圧コンバータ12へ出力する。このように、昇圧コンバータ12は、直流電圧を降圧するための信号PWMDにより電圧を降下させることもできるので、双方向コンバータの機能を有するものである。さらに、電圧変換制御手段302は、回生制動時、信号RGEを外部ECUから受けると、モータM1が発電した交流電圧を直流電圧に変換するための信号PWMCを生成してインバータ14へ出力する。
【0053】
図3は、モータトルク制御手段301の機能ブロック図である。図3を参照して、モータトルク制御手段301は、モータ制御用相電圧演算部40と、インバータ用PWM信号変換部42と、インバータ入力電圧指令演算部50と、コンバータ用デューティー比演算部52と、コンバータ用PWM信号変換部54とを含む。
【0054】
モータ制御用相電圧演算部40は、インバータ14への入力電圧IVVを電圧センサー13から受け、モータM1の各相に流れるモータ電流MCRTを電流センサー24から受け、トルク指令値TRを外部ECUから受ける。そして、モータ制御用相電圧演算部40は、これらの入力される信号に基づいて、モータM1の各相のコイルに印加する電圧を計算し、その計算した結果をインバータ用PWM信号変換部42へ出力する。インバータ用PWM信号変換部42は、モータ制御用相電圧演算部40から受けた計算結果に基づいて、実際にインバータ14の各NPNトランジスタQ3〜Q8をオン/オフする信号PWMIを生成し、その生成した信号PWMIをインバータ14の各NPNトランジスタQ3〜Q8へ出力する。
【0055】
これにより、各NPNトランジスタQ3〜Q8は、スイッチング制御され、モータM1が指令されたトルクを出すようにモータM1の各相に流す電流を制御する。このようにして、モータ駆動電流が制御され、トルク指令値TRに応じたモータトルクが出力される。
【0056】
一方、インバータ入力電圧指令演算部50は、トルク指令値TRおよびモータ回転数MRNに基づいてインバータ入力電圧の最適値(目標値)を演算し、その演算した最適値をコンバータ用デューティー比演算部52へ出力する。
【0057】
コンバータ用デューティー比演算部52は、電圧センサー10からの出力電圧V1(バッテリ電圧V1)に基づいて、電圧センサー13からの入力電圧IVVを、インバータ入力電圧指令演算部50から出力される最適値に設定するためのデューティー比を演算する。コンバータ用PWM信号変換部54は、コンバータ用デューティー比演算部52からのデューティー比に基づいて昇圧コンバータ12のNPNトランジスタQ1,Q2をオン/オフするための信号PWMUを生成する。そして、コンバータ用PWM信号変換部54は、生成した信号PWMUを昇圧コンバータ12のNPNトランジスタQ1,Q2へ出力する。そして、昇圧コンバータ12のNPNトランジスタQ1,Q2は、信号PWMUに基づいてオン/オフされる。これによって、昇圧コンバータ12は、入力電圧IVVが最適値になるように直流電圧を変換する。
【0058】
なお、昇圧コンバータ12の下側のNPNトランジスタQ2のオンデューティーを大きくすることによりリアクトルL1における電力蓄積が大きくなるため、より高電圧の出力を得ることができる。一方、上側のNPNトランジスタQ1のオンデューティーを大きくすることにより電源ラインの電圧が下がる。そこで、NPNトランジスタQ1,Q2のデューティー比を制御することで、電源ラインの電圧を直流電源Bの出力電圧以上の任意の電圧に制御可能である。
【0059】
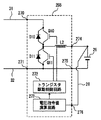
図4を参照して、DC/DCコンバータ25は、入力端子248,249と、MOSトランジスタ251〜254と、トランス255,256と、ダイオード257,258と、コイル259と、コンデンサ260と、MOSFET駆動制御回路262と、電圧指令値演算回路263と、出力端子264,265と、端子266とを含む。
【0060】
入力端子248,249は、直流電源Bから直流電圧V1を受け、その受けた直流電圧V1をMOSトランジスタ251,252およびMOSトランジスタ253,254の両端に供給する。MOSトランジスタ251,252は、電源ライン31とアースライン32との間に直列に接続される。また、MOSトランジスタ253,254は、電源ライン31とアースライン32との間に直列に接続される。MOSトランジスタ251,252は、電源ライン31とアースライン32との間にMOSトランジスタ253,254と並列に接続される。
【0061】
トランス255は、その一方端がMOSトランジスタ251とMOSトランジスタ252との間のノードN1に接続され、他方端がMOSトランジスタ253とMOSトランジスタ254との間のノードN2に接続される。
【0062】
トランス256は、トランス255に対向して設けられる。ダイオード257は、トランス256からコイル259へ出力電流Ioを流すようにトランス256とコイル259との間に接続される。
【0063】
ダイオード258は、ダイオード257とコイル259との間のノードN3からトランス256の低圧側への電流を阻止するようにトランス256とノードN3との間に接続される。コイル259は、ダイオード257と出力端子264との間に接続される。
【0064】
コンデンサ260は、コイル259の出力側と接地ノード261との間に接続され、コイル259からの出力電圧を平滑化して出力端子264に供給する。
【0065】
MOSFET駆動制御回路262は、電圧指令値演算回路263からの電圧指令値Vcomに基づいて、DC/DCコンバータ25が電圧指令値Vcomによって指令された電圧を出力するようにMOSトランジスタ251〜254を駆動する。
【0066】
電圧指令値演算回路263は、DC/DCコンバータ25の出力端子264,265における出力電圧Vmを受け、補機バッテリ26のプラス端子における電圧Vs1を配線27および端子266を介して受ける。そして、電圧指令値演算回路263は、その受けた出力電圧Vmおよび電圧Vs1に基づいて、出力端子264,265から補機バッテリ26までの間における電圧降下を補償して電圧変換を行なうための電圧指令値Vcomを演算する。
【0067】
より具体的には、電圧指令値演算回路263は、出力電圧Vmと電圧Vs1との差Vm−Vsを出力端子264から補機バッテリ26までの電圧降下v1として演算する。そして、電圧指令値演算回路263は、出力端子265から補機バッテリ26までの電圧降下v2が、電圧降下v1と等しいものとし、電圧指令値VcomをVcom=Vbat+Vm−Vsにより演算する。なお、電圧Vbatは、補機バッテリ26を充電する際の目標電圧である。
【0068】
このように、電圧指令値演算回路263は、補機バッテリ26のプラス端子に接続された配線27を介して電圧Vs1を受け、その受けた電圧Vs1を用いて出力端子264,265から補機バッテリ26までの電圧降下v1,v2を補償して電圧変換を行なうための電圧指令値Vcomを演算する。
【0069】
出力端子264,265は、DC/DCコンバータ25によって降圧された出力電圧Vmを補機バッテリ26に供給する。端子266は、電圧Vs1を配線27を介して受け、その受けた電圧Vs1をMOSFET駆動制御回路262および電圧指令値演算回路263へ供給する。
【0070】
MOSトランジスタ251,254がオンされ、MOSトランジスタ252,253がオフされると、電源ライン31、MOSトランジスタ251、ノードN1、トランス255、ノードN2、MOSトランジスタ254およびアースライン32の経路で入力電流Iinが流れる。そして、トランス255,256は、巻線比に応じて入力電圧Vinを降圧して出力電圧Vmを出力する。
【0071】
DC/DCコンバータ25の二次側では、トランス256、ダイオード257、コイル259、補機バッテリ26、および接地ノード261の経路で出力電流Ioが流れる。
【0072】
MOSトランジスタ251,254がオン/オフされる割合、つまり、デューティー比に応じて、入力電流Iinが変化し、トランス255に印加される電圧が変化する。すなわち、MOSトランジスタ251,254のオンデューティーが大きくなると、入力電流Iinが増加し、トランス255に印加される電圧が増加する。また、MOSトランジスタ251,254のオンデューティーが小さくなると、入力電流Iinが減少し、トランス255に印加される電圧が減少する。
【0073】
そして、トランス255,256は、トランス255に印加される電圧を、その電圧レベルに応じて降圧するので、DC/DCコンバータ25の二次側の出力電圧Vmは、トランス255に印加される電圧に応じて変化する。
【0074】
したがって、MOSFET駆動制御回路262は、電圧指令値Vcomによって、より高い出力電圧Vmを指令されたとき、MOSトランジスタ251,254のオンデューティーを大きくしてMOSトランジスタ251,254を駆動し、電圧指令値Vcomによって、より低い出力電圧Vmを指令されたとき、MOSトランジスタ251,254のオンデューティーを小さくしてMOSトランジスタ251,254を駆動する。
【0075】
このように、DC/DCコンバータ25は、補機バッテリ26のプラス端子における電圧Vs1を1つの配線27を介して受け、その受けた電圧Vs1を用いて出力端子264,265から補機バッテリ26までの間における電圧降下v1,v2を補償するように電圧指令値Vcomを演算する。そして、DC/DCコンバータ25は、出力電圧Vmが演算した電圧指令値Vcomになるように直流電源Bからの直流電圧V1を降圧する。
【0076】
これにより、DC/DCコンバータ25の端子266を補機バッテリ26のプラス端子に配線27によって接続すれば、出力端子264,265と補機バッテリ26との間の電圧降下を補償して、所望の電圧が補機バッテリ26に供給されるように直流電源Bからの直流電圧V1を降圧できる。
【0077】
また、補機バッテリ26のプラス端子における電圧Vs1は、補機バッテリ26の現在の動作特性が反映された電圧であるため、補機バッテリ26の劣化等により補機バッテリ26の動作特性が変化しても、その変化した動作特性に合致して補機バッテリ26を充電できる。
【0078】
再び、図1を参照して、電気システム100における動作について説明する。制御装置30は、外部ECUからトルク指令値TRが入力されると、システムリレーSR1,SR2をオンするためのHレベルの信号SEを生成してシステムリレーSR1,SR2へ出力するとともに、モータM1がトルク指令値TRを発生するように昇圧コンバータ12およびインバータ14を制御するための信号PWMUおよび信号PWMIを生成してそれぞれ昇圧コンバータ12およびインバータ14へ出力する。
【0079】
そして、直流電源Bは直流電圧V1を出力し、システムリレーSR1,SR2は直流電圧V1をコンデンサC1およびDC/DCコンバータ25へ供給する。コンデンサC1は、供給された直流電圧V1を平滑化し、その平滑化した直流電圧を昇圧コンバータ12へ供給する。
【0080】
そうすると、昇圧コンバータ12のNPNトランジスタQ1,Q2は、制御装置30からの信号PWMUに応じてオン/オフされ、直流電圧を変換してコンデンサC2に供給する。電圧センサー13は、コンデンサC2の両端の電圧であるインバータ14への入力電圧IVVを検出し、その検出した入力電圧IVVを制御装置30へ出力する。
【0081】
コンデンサC2は、昇圧コンバータ12からの直流電圧を平滑化し、その平滑化した直流電圧をインバータ14に供給する。インバータ14は、制御装置30からの信号PWMIに基づいて、コンデンサC2から供給された直流電圧を交流電圧に変換してモータM1を駆動する。これにより、モータM1は、トルク指令値TRによって指定されたトルクを発生する。
【0082】
また、DC/DCコンバータ25は、出力端子264,265から補機バッテリ26までの間における電圧降下を補償して直流電源Bから供給された直流電圧V1を出力電圧Vmに降圧し、その降圧した出力電圧Vmを補機バッテリ26に供給する。これにより、補機バッテリ26は、所望の電圧に充電される。
【0083】
電気システム100が搭載されたハイブリッド自動車または電気自動車の回生制動時、制御装置30は、回生制動モードに入ったことを示す信号RGEを外部ECUから受け、その受けた信号RGEに応じて、上述した方法によって信号PWMCおよび信号PWMDを生成し、その生成した信号PWMCおよび信号PWMDをそれぞれインバータ14および昇圧コンバータ12へ出力する。
【0084】
モータM1は、交流電圧を発電してインバータ14へ供給する。インバータ14は、制御装置30からの信号PWMCに応じて交流電圧を直流電圧に変換し、その変換した直流電圧をコンデンサC2を介して昇圧コンバータ12へ供給する。そうすると、昇圧コンバータ12は、制御装置30からの信号PWMDに応じて、インバータ14から供給された直流電圧を降圧してコンデンサC1およびシステムリレーSR1,SR2を介して直流電源Bを充電する。
【0085】
なお、この発明においては、MOSトランジスタ251〜254、トランス255,256、ダイオード257,258、コイル259およびコンデンサ260は、「電圧変換器」を構成する。
【0086】
また、MOSFET駆動制御回路262は、「駆動回路」を構成する。さらに、電圧指令値演算回路263は、「演算回路」を構成する。
【0087】
実施の形態1によれば、電圧変換装置は、補機バッテリのプラス端子における電圧を用いて、出力端子から補機バッテリまでの間における電圧降下を補償するように直流電源からの直流電圧を出力電圧に変換するので、補機バッテリ側の1つの電圧を用いて出力側の電圧降下を補償できる。そして、補機バッテリを所望の電圧に正確に充電できる。
【0088】
[実施の形態2]
図5を参照して、実施の形態2による電圧変換装置を備えた電気システム100Aについて説明する。電気システム100Aは、電気システム100のDC/DCコンバータ25をDC/DCコンバータ25Aに代え、配線27を配線28に代えたものであり、その他は、電気システム100と同じである。
【0089】
DC/DCコンバータ25Aは、補機バッテリ26のマイナス端子における電圧Vs2を配線28を介して受け、その受けた電圧Vs2に基づいて、出力側における電圧降下を補償するように直流電源Bから供給された直流電圧V1を降圧する。そして、DC/DCコンバータ25Aは、降圧した直流電圧を補機バッテリ26へ供給する。
【0090】
配線28は、DC/DCコンバータ25Aと補機バッテリ26のマイナス端子との間に接続される。
【0091】
図6を参照して、DC/DCコンバータ25Aは、DC/DCコンバータ25の電圧指令値演算回路263を電圧指令値演算回路263Aに代えたものであり、その他は、DC/DCコンバータ25と同じである。なお、DC/DCコンバータ25Aにおいては、端子266は、配線28に接続される。
【0092】
電圧指令値演算回路263Aは、配線28および端子266を介して受けた電圧Vs2に基づいて、補機バッテリ26のプラス端子における電圧Vs1を演算する。出力端子265は、接地ノード261に接続され、補機バッテリ26のマイナス端子も接地ノード261に接続される。この場合、補機バッテリ26のマイナス端子における電圧Vs2は、0Vよりも高い。したがって、補機バッテリ26のプラス端子における電圧Vs1は、Vs1=Vs2+Vbatとなる。
【0093】
そうすると、出力端子264と補機バッテリ26のプラス端子までの間における電圧降下v1は、v1=Vm−(Vs2+Vbat)となる。そして、電圧指令値Vcomは、Vcom=v1+Vbat=Vm−Vs2となる。
【0094】
このように、電圧指令値演算回路263Aは、補機バッテリ26のマイナス端子における電圧Vs2を用いて電圧指令値Vcomを演算し、その演算した電圧指令値VcomをMOSFET駆動制御回路262へ出力する。そして、MOSFET駆動制御回路262は、電圧指令値Vcom=Vm−Vs2に基づいて、MOSトランジスタ251〜254を駆動する。
【0095】
その他は、実施の形態1と同じである。
この発明においては、電圧指令値演算回路263Aは、「演算回路」を構成する。
【0096】
実施の形態2によれば、電圧変換装置は、補機バッテリのマイナス端子における電圧を用いて、出力端子から補機バッテリまでの間における電圧降下を補償するように直流電源からの直流電圧を出力電圧に変換するので、補機バッテリ側の1つの電圧を用いて出力側の電圧降下を補償できる。そして、補機バッテリを所望の電圧に正確に充電できる。
【0097】
上記においては、DC/DCコンバータはトランス型のDC/DCコンバータ25,25Aであるとして説明したが、この発明においては、DC/DCコンバータは図7に示すチョッパ型のDC/DCコンバータ25Bであってもよい。
【0098】
DC/DCコンバータ25Bは、入力端子270,271と、NPNトランジスタQ10,Q11と、ダイオードD10,D11と、リアクトルL2と、トランジスタ駆動制御回路272と、電圧指令値演算回路273と、出力端子274,275と、端子276とを含む。
【0099】
リアクトルL2の一方端は補機バッテリ26の電源ラインに接続され、他方端はNPNトランジスタQ10とNPNトランジスタQ11との中間点、すなわち、NPNトランジスタQ10のエミッタとNPNトランジスタQ11のコレクタとの間に接続される。NPNトランジスタQ10,Q11は、電源ライン31とアースライン32との間に直列に接続される。そして、NPNトランジスタQ10のコレクタは電源ライン31に接続され、NPNトランジスタQ11のエミッタはアースライン32に接続される。また、各NPNトランジスタQ10,Q11のコレクタ−エミッタ間には、エミッタ側からコレクタ側へ電流を流すダイオードD10,D11が配置されている。
【0100】
入力端子270,271は、直流電源Bからの直流電圧V1を受け、その受けた直流電圧V1を直列接続されたNPNトランジスタQ10,Q11の両端に供給する。トランジスタ駆動制御回路272は、電圧指令値演算回路273からの電圧指令値Vcomに基づいて、DC/DCコンバータ25Bの出力電圧Vmが電圧指令値VcomになるようにNPNトランジスタQ10,Q11を駆動する。
【0101】
電圧指令値演算回路273は、補機バッテリ26のプラス端子における電圧Vs1を配線28および端子276を介して受け、その受けた電圧Vs1に基づいて、電圧指令値演算回路263と同じ方法により電圧指令値Vcomを演算する。そして、電圧指令値演算回路273は、演算した電圧指令値Vcomをトランジスタ駆動制御回路272へ出力する。
【0102】
出力端子274,275は、降圧された出力電圧Vmを補機バッテリ26に供給する。
【0103】
DC/DCコンバータ25Bが直流電圧を降圧するとき、トランジスタ駆動制御回路272は、NPNトランジスタQ10,Q11をオン/オフするための信号を生成してNPNトランジスタQ10,Q11へ出力する。DC/DCコンバータ25Bが直流電圧を降圧するとき、NPNトランジスタQ10がオンされ、NPNトランジスタQ11がオフされるので、トランジスタ駆動制御回路272は、NPNトランジスタQ10を所定のデューティー比でオン/オフするための信号と、NPNトランジスタQ11をオフするための信号とを生成する。そして、NPNトランジスタQ10を所定のデューティー比でオン/オフするための信号において、直流電圧を降圧する割合が大きいときNPNトランジスタQ10のオン期間は短く設定され、直流電圧を降圧する割合が小さいときNPNトランジスタQ10のオン期間は長く設定される。
【0104】
これにより、DC/DCコンバータ25Bは、出力電圧Vmが出力端子側における電圧降下を補償する電圧指令値Vcomになるように直流電圧を降圧し、その降圧した出力電圧Vmを補機バッテリ26へ供給する。
【0105】
また、DC/DCコンバータ25Bにおいては、電圧指令値演算回路273は、補機バッテリ26のマイナス端子における電圧Vs2を受け、その受けた電圧Vs2を用いて電圧指令値演算回路263Aと同じ方法によって電圧指令値を演算してもよい。
【0106】
また、上記においては、直流電圧を降圧するDC/DCコンバータの出力側における電圧降下を補償して電圧変換する場合について説明したが、この発明は、これに限らず、直流電圧を昇圧するDC/DCコンバータの出力側における電圧降下を補償して電圧変換する電圧変換装置であってもよい。
【0107】
今回開示された実施の形態はすべての点で例示であって制限的なものではないと考えられるべきである。本発明の範囲は、上記した実施の形態の説明ではなくて特許請求の範囲によって示され、特許請求の範囲と均等の意味および範囲内でのすべての変更が含まれることが意図される。
【図面の簡単な説明】
【図1】実施の形態1における電気システムの概略ブロック図である。
【図2】図1に示す制御装置の機能ブロック図である。
【図3】図2に示すモータトルク制御手段の機能を説明するための機能ブロック図である。
【図4】図1に示すDC/DCコンバータの回路図および機能ブロック図である。
【図5】実施の形態2における電気システムの概略ブロック図である。
【図6】図5に示すDC/DCコンバータの回路図および機能ブロック図である。
【図7】チョッパ型のDC/DCコンバータの回路図である。
【図8】ハイブリッド自動車または電気自動車に搭載される電気システムの従来の機能ブロック図である。
【図9】DC/DCコンバータを用いた降圧回路の従来の回路図である。
【符号の説明】
10,13,501,504 電圧センサー、12 昇圧コンバータ、14,506 インバータ、15 U相アーム、16 V相アーム、17 W相アーム、24,507 電流センサー、25,25A,25B,509,600 DC/DCコンバータ、26,511 補機バッテリ、27,28 配線、30,520 制御装置、31 電源ライン、32 アースライン、40 モータ制御用相電圧演算部、42 インバータ用PWM信号変換部、50 インバータ入力電圧指令演算部、52 コンバータ用デューティー比演算部、54 コンバータ用PWM信号変換部、100,500 電気システム、248,249,270,271 入力端子、251〜254 MOSトランジスタ、255,256 トランス、259 コイル、261 接地ノード、262 MOSFET駆動制御回路、263,263A,273 電圧指令値演算回路、264,265,274,275 出力端子、266,276 端子、272 トランジスタ駆動制御回路、301 モータトルク制御手段、302 電圧変換制御手段、601 入力端子、602 出力端子、603 制御手段、605 負荷、B,604 直流電源、SR1,SR2 システムリレー、C1,C2,260,502,504,510 コンデンサ、L1,L2,311 リアクトル、Q1〜Q11,312,313 NPNトランジスタ、D1〜D11,257,258 ダイオード、M1,508 モータ。
【発明の属する技術分野】
この発明は、直流電圧の電圧レベルを変える電圧変換装置に関し、特に、出力側における電圧降下を補償して電圧変換を行なう電圧変換装置に関する。
【0002】
【従来の技術】
最近、環境に配慮した自動車としてハイブリッド自動車(Hybrid Vehicle)および電気自動車(Electric Vehicle)が大きな注目を集めている。そして、ハイブリッド電気自動車は、一部、実用化されている。
【0003】
このハイブリッド自動車は、従来のエンジンに加え、直流電源およびインバータによって駆動されるモータを動力源とする自動車である。つまり、エンジンを駆動することにより動力源を得るとともに、直流電源からの直流電圧をインバータによって交流電圧に変換し、その変換した交流電圧によりモータを回転することによって動力源を得るものである。また、電気自動車は、直流電源とインバータとインバータによって駆動されるモータとを動力源とする自動車である。
【0004】
このようなハイブリッド自動車または電気自動車においては、直流電源からの直流電圧を昇圧コンバータによって昇圧し、その昇圧した直流電圧がモータを駆動するインバータに供給されるように構成したシステムについても検討されている。
【0005】
また、ハイブリッド自動車または電気自動車においては、直流電源からの直流電圧を降圧し、その降圧した直流電圧をライト等の負荷に供給することが行なわれている。
【0006】
すなわち、ハイブリッド自動車または電気自動車は図8に示す電気システム500を搭載している。図8を参照して、電気システム500は、直流電源Bと、システムリレーSR1,SR2と、電圧センサー501,505と、コンデンサ502,504,510と、コンバータ503と、インバータ506と、電流センサー507と、DC/DCコンバータ509と、補機バッテリ511と、制御装置520とを含む。
【0007】
直流電源Bは、直流電圧を出力する。電圧センサー501は、直流電源Bから出力された直流電圧を検出して制御装置520へ出力する。システムリレーSR1,SR2は、制御装置520によってオンされると、直流電源Bからの直流電圧をコンデンサ502およびDC/DCコンバータ509に供給する。コンデンサ502は、直流電源BからシステムリレーSR1,SR2を介して供給された直流電圧を平滑化し、その平滑化した直流電圧をコンバータ503へ供給する。
【0008】
コンバータ503は、コンデンサ502から供給された直流電圧を制御装置520からの制御に従って昇圧し、その昇圧した直流電圧をコンデンサ504へ供給する。コンデンサ504は、コンバータ503から供給された直流電圧を平滑化してインバータ506へ供給する。電圧センサー505は、コンデンサ504の両側の電圧、すなわち、インバータ506への入力電圧を検出する。
【0009】
インバータ506は、コンデンサ504から直流電圧が供給されると制御装置520からの制御に基づいて直流電圧を交流電圧に変換してモータ508を駆動する。これにより、モータ508は、トルク指令値によって指定されたトルクを発生するように駆動される。電流センサー507は、モータ508の各相に流れるモータ電流を検出し、その検出したモータ電流を制御装置520へ出力する。
【0010】
DC/DCコンバータ509は、直流電源BからシステムリレーSR1,SR2を介して供給された直流電圧を、制御装置520からの制御信号に応じて降圧し、その降圧した直流電圧をコンデンサ510へ供給する。コンデンサ510は、DC/DCコンバータ509から供給された直流電圧を平滑化し、その平滑化した直流電圧を補機バッテリ511に供給する。そして、補機バッテリ511は、供給された直流電圧を蓄積するとともに補機(図示せず)を駆動するための直流電圧を出力する。
【0011】
制御装置520は、電圧センサー501からの電圧、および電流センサー507からのモータ電流等に基づいて、コンバータ503およびインバータ506を制御するための制御信号を生成し、その生成した制御信号をコンバータ503およびインバータ506へ出力する。また、制御装置520は、DC/DCコンバータ509を制御するための制御信号を生成してDC/DCコンバータ509へ出力する。
【0012】
モータ508および補機バッテリ511を駆動するとき、制御装置520は、システムリレーSR1,SR2をオンする。そして、直流電源Bは直流電圧を出力し、システムリレーSR1,SR2は、直流電源Bから出力された直流電圧をコンデンサ502およびDC/DCコンバータ509に供給する。また、電圧センサー501は、直流電源Bの直流電圧を検出して制御装置520へ出力し、電圧センサー505は、コンデンサ504の両端の電圧、すなわち、インバータ506への入力電圧を検出して制御装置520へ出力し、電流センサー507はモータ電流を検出して制御装置520へ出力する。
【0013】
制御装置520は、直流電源の直流電圧、インバータ506への入力電圧、およびモータ電流等に基づいて、コンバータ503およびインバータ506を駆動するための制御信号を生成し、その生成した制御信号をコンバータ503およびインバータ506へ出力する。
【0014】
一方、コンデンサ502は、システムリレーSR1,SR2から供給された直流電圧を平滑化してコンバータ503へ供給する。コンバータ503は、コンデンサ502から供給された直流電圧を、制御装置520からの制御信号に応じて昇圧し、その昇圧した直流電圧をコンデンサ504へ供給する。コンデンサ504は、コンバータ503から供給された直流電圧を平滑化してインバータ506へ供給する。そして、インバータ506は、コンデンサ504から供給された直流電圧を、制御装置520からの制御信号に応じて交流電圧に変換し、その変換した交流電圧をモータ508へ供給してモータ508を駆動する。これにより、モータ508は、所定のトルクを発生する。
【0015】
また、制御装置520は、直流電源Bからの直流電圧を降圧するようにDC/DCコンバータ509を制御し、DC/DCコンバータ509は、直流電源Bからの直流電圧を降圧してコンデンサ510に供給する。コンデンサ510は、DC/DCコンバータ509により降圧された直流電圧を平滑化して補機バッテリ511に供給する。これにより、補機バッテリ511は充電される。
【0016】
このように、ハイブリッド自動車または電気自動車に搭載された電気システム500は、直流電源Bからの直流電圧を昇圧して、所定のトルクを発生するようにモータ508を駆動するとともに、直流電源Bからの直流電圧を降圧して補機バッテリ511を充電する。
【0017】
そして、DC/DC/コンバータの出力電圧を検出し、出力電圧が所定の電圧レベルになるように直流電圧を出力電圧に降圧する技術が、特開2002−101648号公報に開示されている。すなわち、図9を参照して、DC/DCコンバータ600は、入力端子601を介して直流電源604から直流電圧を受け、その受けた直流電圧を制御手段603からの制御に基づいて降圧する。そして、DC/DCコンバータ600は、降圧した出力電圧を出力端子602を介して負荷605へ供給する。制御手段603は、出力端子602の近傍における出力電圧を検出し、その検出した出力電圧の電圧レベルに応じてDC/DCコンバータ600を制御する。
【0018】
より具体的には、制御手段603は、検出した出力電圧の電圧レベルが基準値よりも低いか否かを判定し、出力電圧の電圧レベルが基準値よりも低いとき、DC/DCコンバータ600を構成するMOSトランジスタのオン時間を長くし、出力電圧の電圧レベルが基準値よりも高いとき、DC/DCコンバータ600を構成するMOSトランジスタのオフ時間を長くするようにMOSトランジスタを制御する。
【0019】
これにより、DC/DCコンバータ600は、直流電源604から供給された直流電圧を、所定の電圧レベルを有する出力電圧に降圧する。
【0020】
【特許文献1】
特開2002−101648号公報
【0021】
【特許文献2】
特開2002−176770号公報
【0022】
【特許文献3】
特開平5−344712号公報
【0023】
【発明が解決しようとする課題】
しかし、DC/DCコンバータによる従来の電圧降圧方法では、DC/DCコンバータの出力端子の近傍における出力電圧を検出し、その検出した出力電圧をDC/DCコンバータにおける電圧降圧にフィードバックするため、出力端子から負荷までの間で電圧が降圧する場合、所望の電圧を負荷に供給することができないという問題がある。
【0024】
そこで、この発明は、かかる問題を解決するためになされたものであり、その目的は、出力側における電圧降下を出力側において検出された1つの電圧により補償して電圧変換を行なう電圧変換装置を提供することである。
【0025】
また、この発明の別の目的は、1本の配線を介して検出された1つの電圧を用いて出力側における電圧降下を補償する電圧変換装置を提供することである。
【0026】
【課題を解決するための手段および発明の効果】
この発明によれば、電圧変換装置は、電圧変換器と、演算回路と、駆動回路とを備える。電圧変換器は、第1のバッテリから出力された直流電圧を出力電圧に変換し、その変換した出力電圧を第2のバッテリに供給する。演算回路は、電圧変換器の出力端における第1の電圧と、第2のバッテリのいずれか一方の端子における第2の電圧とに基づいて出力端と第2のバッテリとの間の電圧降下を演算し、その演算した電圧降下を補償して電圧変換を行なうための電圧指令値を演算する。駆動回路は、出力電圧が演算した電圧指令値になるように電圧変換器を駆動する。
【0027】
好ましくは、電圧変換装置は、入力端子をさらに備える。入力端子は、1つの配線を介して第2の電圧を受け、その受けた第2の電圧を演算回路に供給する。
【0028】
好ましくは、1つの配線は、その一方端が第2のバッテリのプラス端子に接続される。そして、演算回路は、第1の電圧と第2の電圧との電圧差を演算し、その演算した電圧差と第2のバッテリのバッテリ電圧との和を電圧指令値として演算する。
【0029】
好ましくは、1つの配線は、その一方端が第2のバッテリのマイナス端子に接続される。そして、演算回路は、第1の電圧と第2の電圧との差を電圧指令値として演算する。
【0030】
好ましくは、電圧変換器は、直流電圧を出力電圧に降圧する。
好ましくは、第2のバッテリは、車両の補機を駆動するためのバッテリである。
【0031】
この発明による電圧変換装置においては、出力側に接続された第2のバッテリのいずれか一方の端子における電圧が検出され、その検出された1つの電圧を用いて出力側における電圧降下が演算される。そして、演算された電圧降下が補償されるように電圧変換が行なわれる。また、出力側における電圧降下は、1つの配線によって検出された電圧を用いて補償される。
【0032】
したがって、この発明によれば、出力側において検出された1つの電圧を用いて電圧降下を補償して電圧変換できる。
【0033】
【発明の実施の形態】
本発明の実施の形態について図面を参照しながら詳細に説明する。なお、図中同一または相当部分には同一符号を付してその説明は繰返さない。
【0034】
[実施の形態1]
図1を参照して、この発明の実施の形態1による電圧変換装置を備えた電気システム100は、直流電源Bと、電圧センサー10,13と、システムリレーSR1,SR2と、コンデンサC1,C2と、昇圧コンバータ12と、インバータ14と、電流センサー24と、DC/DCコンバータ25と、補機バッテリ26と、配線27と、制御装置30とを備える。
【0035】
モータM1は、ハイブリッド自動車または電気自動車の駆動輪を駆動するためのトルクを発生するための駆動モータである。あるいは、このモータはエンジンにて駆動される発電機の機能を持つように、そして、エンジンに対して電動機として動作し、たとえば、エンジン始動を行ない得るようなものとしてハイブリッド自動車に組み込まれるようにしてもよい。
【0036】
また、補機バッテリ26は、ハイブリッド自動車または電気自動車に搭載されるライトおよびエアコン用のインバータ等の車に搭載される各種補機類または電装品を駆動するための電源である。
【0037】
昇圧コンバータ12は、リアクトルL1と、NPNトランジスタQ1,Q2と、ダイオードD1,D2とを含む。リアクトルL1の一方端は直流電源Bの電源ラインに接続され、他方端はNPNトランジスタQ1とNPNトランジスタQ2との中間点、すなわち、NPNトランジスタQ1のエミッタとNPNトランジスタQ2のコレクタとの間に接続される。NPNトランジスタQ1,Q2は、電源ラインとアースラインとの間に直列に接続される。そして、NPNトランジスタQ1のコレクタは電源ラインに接続され、NPNトランジスタQ2のエミッタはアースラインに接続される。また、各NPNトランジスタQ1,Q2のコレクタ−エミッタ間には、エミッタ側からコレクタ側へ電流を流すダイオードD1,D2が配置されている。
【0038】
インバータ14は、U相アーム15と、V相アーム16と、W相アーム17とから成る。U相アーム15、V相アーム16、およびW相アーム17は、電源ラインとアースとの間に並列に設けられる。
【0039】
U相アーム15は、直列接続されたNPNトランジスタQ3,Q4から成り、V相アーム16は、直列接続されたNPNトランジスタQ5,Q6から成り、W相アーム17は、直列接続されたNPNトランジスタQ7,Q8から成る。また、各NPNトランジスタQ3〜Q8のコレクタ−エミッタ間には、エミッタ側からコレクタ側へ電流を流すダイオードD3〜D8がそれぞれ接続されている。
【0040】
各相アームの中間点は、モータM1の各相コイルの各相端に接続されている。すなわち、モータM1は、3相の永久磁石モータであり、U,V,W相の3つのコイルの一端が中点に共通接続されて構成され、U相コイルの他端がNPNトランジスタQ3,Q4の中間点に、V相コイルの他端がNPNトランジスタQ5,Q6の中間点に、W相コイルの他端がNPNトランジスタQ7,Q8の中間点にそれぞれ接続されている。
【0041】
直流電源Bは、ニッケル水素またはリチウムイオン等の二次電池から成る。そして、直流電源Bは、たとえば、280V程度の直流電圧を出力する。電圧センサー10は、直流電源Bから出力される直流電圧V1を検出し、その検出した直流電圧V1を制御装置30へ出力する。システムリレーSR1,SR2は、制御装置30からの信号SEによりオン/オフされる。より具体的には、システムリレーSR1,SR2は、制御装置30からのH(論理ハイ)レベルの信号SEによりオンされ、制御装置30からのL(論理ロー)レベルの信号SEによりオフされる。
【0042】
コンデンサC1は、直流電源Bから供給された直流電圧V1を平滑化し、その平滑化した直流電圧を昇圧コンバータ12へ供給する。昇圧コンバータ12は、コンデンサC1から供給された直流電圧を昇圧してコンデンサC2へ供給する。より具体的には、昇圧コンバータ12は、制御装置30から信号PWMUを受けると、信号PWMUによってNPNトランジスタQ2がオンされた期間に応じて直流電圧を昇圧してコンデンサC2に供給する。この場合、NPNトランジスタQ1は、信号PWMUによってオフされている。また、昇圧コンバータ12は、制御装置30から信号PWMDを受けると、コンデンサC2を介してインバータ14から供給された直流電圧を降圧して直流電源Bを充電する。昇圧コンバータ12は、たとえば、コンデンサC1から供給された280V程度の直流電圧を500V程度に昇圧してコンデンサC2に供給する。
【0043】
コンデンサC2は、昇圧コンバータ12からの直流電圧を平滑化し、その平滑化した直流電圧をインバータ14へ供給する。電圧センサー13は、コンデンサC2の両端の電圧、すなわち、インバータ14への入力電圧IVVを検出し、その検出した入力電圧IVVを制御装置30へ出力する。
【0044】
インバータ14は、コンデンサC2から直流電圧が供給されると制御装置30からの信号PWMIに基づいて直流電圧を交流電圧に変換してモータM1を駆動する。これにより、モータM1は、トルク指令値TRによって指定されたトルクを発生するように駆動される。また、インバータ14は、電気システム100が搭載されたハイブリッド自動車または電気自動車の回生制動時、モータM1が発電した交流電圧を制御装置30からの信号PWMCに基づいて直流電圧に変換し、その変換した直流電圧をコンデンサC2を介して昇圧コンバータ12へ供給する。なお、ここで言う回生制動とは、ハイブリッド自動車または電気自動車を運転するドライバーによるフットブレーキ操作があった場合の回生発電を伴う制動や、フットブレーキを操作しないものの、走行中にアクセルペダルをオフすることで回生発電をさせながら車両を減速(または加速の中止)させることを含む。
【0045】
電流センサー24は、モータM1に流れるモータ電流MCRTを検出し、その検出したモータ電流MCRTを制御装置30へ出力する。
【0046】
DC/DCコンバータ25は、補機バッテリ26のプラス端子における電圧Vs1を配線27を介して受け、その受けた電圧Vs1に基づいて、出力側における電圧降下を補償するように直流電源Bから供給された直流電圧を降圧する。そして、DC/DCコンバータ25は、降圧した直流電圧を補機バッテリ26へ供給する。この場合、DC/DCコンバータ25は、たとえば、280V程度の入力電圧を14V程度に降圧して補機バッテリ26に供給する。
【0047】
配線27は、補機バッテリ26のプラス端子における電圧Vs1をDC/DCコンバータ25へ供給する。
【0048】
制御装置30は、外部に設けられたECU(Electrical Control Unit)から入力されたトルク指令値TRおよびモータ回転数MRN、電圧センサー10からの直流電圧V1、電圧センサー13からの入力電圧IVV、および電流センサー24からのモータ電流MCRTに基づいて、昇圧コンバータ12を駆動するための信号PWMUとインバータ14を駆動するための信号PWMIとを生成し、その生成した信号PWMUおよび信号PWMIをそれぞれ昇圧コンバータ12およびインバータ14へ出力する。信号PWMUは、昇圧コンバータ12がコンデンサC1からの直流電圧を入力電圧IVVに変換する場合に昇圧コンバータ12を駆動するための信号である。
【0049】
また、制御装置30は、ハイブリッド自動車または電気自動車が回生制動モードに入ったことを示す信号RGEを外部ECUから受けると、モータM1で発電された交流電圧を直流電圧に変換するための信号PWMCを生成してインバータ14へ出力する。この場合、インバータ14のNPNトランジスタQ4,Q6,Q8は信号PWMCによってスイッチング制御される。これにより、インバータ14は、モータM1で発電された交流電圧を直流電圧に変換して昇圧コンバータ12へ供給する。
【0050】
さらに、制御装置30は、システムリレーSR1,SR2をオン/オフするための信号SEを生成してシステムリレーSR1,SR2へ出力する。
【0051】
図2は、制御装置30の機能ブロック図である。図2を参照して、制御装置30は、モータトルク制御手段301と、電圧変換制御手段302とを含む。モータトルク制御手段301は、トルク指令値TR、直流電源Bから出力された直流電圧V1、モータ電流MCRT、モータ回転数MRNおよびインバータ14への入力電圧IVVに基づいて、モータM1の駆動時、昇圧コンバータ12のNPNトランジスタQ1,Q2をオン/オフするための信号PWMUと、インバータ14のNPNトランジスタQ3〜Q8をオン/オフするための信号PWMIとを生成し、その生成した信号PWMUおよび信号PWMIをそれぞれ昇圧コンバータ12およびインバータ14へ出力する。
【0052】
電圧変換制御手段302は、回生制動時、ハイブリッド自動車または電気自動車が回生制動モードに入ったことを示す信号RGEを外部ECUから受けると、インバータ14から供給された直流電圧を降圧するための信号PWMDを生成して昇圧コンバータ12へ出力する。このように、昇圧コンバータ12は、直流電圧を降圧するための信号PWMDにより電圧を降下させることもできるので、双方向コンバータの機能を有するものである。さらに、電圧変換制御手段302は、回生制動時、信号RGEを外部ECUから受けると、モータM1が発電した交流電圧を直流電圧に変換するための信号PWMCを生成してインバータ14へ出力する。
【0053】
図3は、モータトルク制御手段301の機能ブロック図である。図3を参照して、モータトルク制御手段301は、モータ制御用相電圧演算部40と、インバータ用PWM信号変換部42と、インバータ入力電圧指令演算部50と、コンバータ用デューティー比演算部52と、コンバータ用PWM信号変換部54とを含む。
【0054】
モータ制御用相電圧演算部40は、インバータ14への入力電圧IVVを電圧センサー13から受け、モータM1の各相に流れるモータ電流MCRTを電流センサー24から受け、トルク指令値TRを外部ECUから受ける。そして、モータ制御用相電圧演算部40は、これらの入力される信号に基づいて、モータM1の各相のコイルに印加する電圧を計算し、その計算した結果をインバータ用PWM信号変換部42へ出力する。インバータ用PWM信号変換部42は、モータ制御用相電圧演算部40から受けた計算結果に基づいて、実際にインバータ14の各NPNトランジスタQ3〜Q8をオン/オフする信号PWMIを生成し、その生成した信号PWMIをインバータ14の各NPNトランジスタQ3〜Q8へ出力する。
【0055】
これにより、各NPNトランジスタQ3〜Q8は、スイッチング制御され、モータM1が指令されたトルクを出すようにモータM1の各相に流す電流を制御する。このようにして、モータ駆動電流が制御され、トルク指令値TRに応じたモータトルクが出力される。
【0056】
一方、インバータ入力電圧指令演算部50は、トルク指令値TRおよびモータ回転数MRNに基づいてインバータ入力電圧の最適値(目標値)を演算し、その演算した最適値をコンバータ用デューティー比演算部52へ出力する。
【0057】
コンバータ用デューティー比演算部52は、電圧センサー10からの出力電圧V1(バッテリ電圧V1)に基づいて、電圧センサー13からの入力電圧IVVを、インバータ入力電圧指令演算部50から出力される最適値に設定するためのデューティー比を演算する。コンバータ用PWM信号変換部54は、コンバータ用デューティー比演算部52からのデューティー比に基づいて昇圧コンバータ12のNPNトランジスタQ1,Q2をオン/オフするための信号PWMUを生成する。そして、コンバータ用PWM信号変換部54は、生成した信号PWMUを昇圧コンバータ12のNPNトランジスタQ1,Q2へ出力する。そして、昇圧コンバータ12のNPNトランジスタQ1,Q2は、信号PWMUに基づいてオン/オフされる。これによって、昇圧コンバータ12は、入力電圧IVVが最適値になるように直流電圧を変換する。
【0058】
なお、昇圧コンバータ12の下側のNPNトランジスタQ2のオンデューティーを大きくすることによりリアクトルL1における電力蓄積が大きくなるため、より高電圧の出力を得ることができる。一方、上側のNPNトランジスタQ1のオンデューティーを大きくすることにより電源ラインの電圧が下がる。そこで、NPNトランジスタQ1,Q2のデューティー比を制御することで、電源ラインの電圧を直流電源Bの出力電圧以上の任意の電圧に制御可能である。
【0059】
図4を参照して、DC/DCコンバータ25は、入力端子248,249と、MOSトランジスタ251〜254と、トランス255,256と、ダイオード257,258と、コイル259と、コンデンサ260と、MOSFET駆動制御回路262と、電圧指令値演算回路263と、出力端子264,265と、端子266とを含む。
【0060】
入力端子248,249は、直流電源Bから直流電圧V1を受け、その受けた直流電圧V1をMOSトランジスタ251,252およびMOSトランジスタ253,254の両端に供給する。MOSトランジスタ251,252は、電源ライン31とアースライン32との間に直列に接続される。また、MOSトランジスタ253,254は、電源ライン31とアースライン32との間に直列に接続される。MOSトランジスタ251,252は、電源ライン31とアースライン32との間にMOSトランジスタ253,254と並列に接続される。
【0061】
トランス255は、その一方端がMOSトランジスタ251とMOSトランジスタ252との間のノードN1に接続され、他方端がMOSトランジスタ253とMOSトランジスタ254との間のノードN2に接続される。
【0062】
トランス256は、トランス255に対向して設けられる。ダイオード257は、トランス256からコイル259へ出力電流Ioを流すようにトランス256とコイル259との間に接続される。
【0063】
ダイオード258は、ダイオード257とコイル259との間のノードN3からトランス256の低圧側への電流を阻止するようにトランス256とノードN3との間に接続される。コイル259は、ダイオード257と出力端子264との間に接続される。
【0064】
コンデンサ260は、コイル259の出力側と接地ノード261との間に接続され、コイル259からの出力電圧を平滑化して出力端子264に供給する。
【0065】
MOSFET駆動制御回路262は、電圧指令値演算回路263からの電圧指令値Vcomに基づいて、DC/DCコンバータ25が電圧指令値Vcomによって指令された電圧を出力するようにMOSトランジスタ251〜254を駆動する。
【0066】
電圧指令値演算回路263は、DC/DCコンバータ25の出力端子264,265における出力電圧Vmを受け、補機バッテリ26のプラス端子における電圧Vs1を配線27および端子266を介して受ける。そして、電圧指令値演算回路263は、その受けた出力電圧Vmおよび電圧Vs1に基づいて、出力端子264,265から補機バッテリ26までの間における電圧降下を補償して電圧変換を行なうための電圧指令値Vcomを演算する。
【0067】
より具体的には、電圧指令値演算回路263は、出力電圧Vmと電圧Vs1との差Vm−Vsを出力端子264から補機バッテリ26までの電圧降下v1として演算する。そして、電圧指令値演算回路263は、出力端子265から補機バッテリ26までの電圧降下v2が、電圧降下v1と等しいものとし、電圧指令値VcomをVcom=Vbat+Vm−Vsにより演算する。なお、電圧Vbatは、補機バッテリ26を充電する際の目標電圧である。
【0068】
このように、電圧指令値演算回路263は、補機バッテリ26のプラス端子に接続された配線27を介して電圧Vs1を受け、その受けた電圧Vs1を用いて出力端子264,265から補機バッテリ26までの電圧降下v1,v2を補償して電圧変換を行なうための電圧指令値Vcomを演算する。
【0069】
出力端子264,265は、DC/DCコンバータ25によって降圧された出力電圧Vmを補機バッテリ26に供給する。端子266は、電圧Vs1を配線27を介して受け、その受けた電圧Vs1をMOSFET駆動制御回路262および電圧指令値演算回路263へ供給する。
【0070】
MOSトランジスタ251,254がオンされ、MOSトランジスタ252,253がオフされると、電源ライン31、MOSトランジスタ251、ノードN1、トランス255、ノードN2、MOSトランジスタ254およびアースライン32の経路で入力電流Iinが流れる。そして、トランス255,256は、巻線比に応じて入力電圧Vinを降圧して出力電圧Vmを出力する。
【0071】
DC/DCコンバータ25の二次側では、トランス256、ダイオード257、コイル259、補機バッテリ26、および接地ノード261の経路で出力電流Ioが流れる。
【0072】
MOSトランジスタ251,254がオン/オフされる割合、つまり、デューティー比に応じて、入力電流Iinが変化し、トランス255に印加される電圧が変化する。すなわち、MOSトランジスタ251,254のオンデューティーが大きくなると、入力電流Iinが増加し、トランス255に印加される電圧が増加する。また、MOSトランジスタ251,254のオンデューティーが小さくなると、入力電流Iinが減少し、トランス255に印加される電圧が減少する。
【0073】
そして、トランス255,256は、トランス255に印加される電圧を、その電圧レベルに応じて降圧するので、DC/DCコンバータ25の二次側の出力電圧Vmは、トランス255に印加される電圧に応じて変化する。
【0074】
したがって、MOSFET駆動制御回路262は、電圧指令値Vcomによって、より高い出力電圧Vmを指令されたとき、MOSトランジスタ251,254のオンデューティーを大きくしてMOSトランジスタ251,254を駆動し、電圧指令値Vcomによって、より低い出力電圧Vmを指令されたとき、MOSトランジスタ251,254のオンデューティーを小さくしてMOSトランジスタ251,254を駆動する。
【0075】
このように、DC/DCコンバータ25は、補機バッテリ26のプラス端子における電圧Vs1を1つの配線27を介して受け、その受けた電圧Vs1を用いて出力端子264,265から補機バッテリ26までの間における電圧降下v1,v2を補償するように電圧指令値Vcomを演算する。そして、DC/DCコンバータ25は、出力電圧Vmが演算した電圧指令値Vcomになるように直流電源Bからの直流電圧V1を降圧する。
【0076】
これにより、DC/DCコンバータ25の端子266を補機バッテリ26のプラス端子に配線27によって接続すれば、出力端子264,265と補機バッテリ26との間の電圧降下を補償して、所望の電圧が補機バッテリ26に供給されるように直流電源Bからの直流電圧V1を降圧できる。
【0077】
また、補機バッテリ26のプラス端子における電圧Vs1は、補機バッテリ26の現在の動作特性が反映された電圧であるため、補機バッテリ26の劣化等により補機バッテリ26の動作特性が変化しても、その変化した動作特性に合致して補機バッテリ26を充電できる。
【0078】
再び、図1を参照して、電気システム100における動作について説明する。制御装置30は、外部ECUからトルク指令値TRが入力されると、システムリレーSR1,SR2をオンするためのHレベルの信号SEを生成してシステムリレーSR1,SR2へ出力するとともに、モータM1がトルク指令値TRを発生するように昇圧コンバータ12およびインバータ14を制御するための信号PWMUおよび信号PWMIを生成してそれぞれ昇圧コンバータ12およびインバータ14へ出力する。
【0079】
そして、直流電源Bは直流電圧V1を出力し、システムリレーSR1,SR2は直流電圧V1をコンデンサC1およびDC/DCコンバータ25へ供給する。コンデンサC1は、供給された直流電圧V1を平滑化し、その平滑化した直流電圧を昇圧コンバータ12へ供給する。
【0080】
そうすると、昇圧コンバータ12のNPNトランジスタQ1,Q2は、制御装置30からの信号PWMUに応じてオン/オフされ、直流電圧を変換してコンデンサC2に供給する。電圧センサー13は、コンデンサC2の両端の電圧であるインバータ14への入力電圧IVVを検出し、その検出した入力電圧IVVを制御装置30へ出力する。
【0081】
コンデンサC2は、昇圧コンバータ12からの直流電圧を平滑化し、その平滑化した直流電圧をインバータ14に供給する。インバータ14は、制御装置30からの信号PWMIに基づいて、コンデンサC2から供給された直流電圧を交流電圧に変換してモータM1を駆動する。これにより、モータM1は、トルク指令値TRによって指定されたトルクを発生する。
【0082】
また、DC/DCコンバータ25は、出力端子264,265から補機バッテリ26までの間における電圧降下を補償して直流電源Bから供給された直流電圧V1を出力電圧Vmに降圧し、その降圧した出力電圧Vmを補機バッテリ26に供給する。これにより、補機バッテリ26は、所望の電圧に充電される。
【0083】
電気システム100が搭載されたハイブリッド自動車または電気自動車の回生制動時、制御装置30は、回生制動モードに入ったことを示す信号RGEを外部ECUから受け、その受けた信号RGEに応じて、上述した方法によって信号PWMCおよび信号PWMDを生成し、その生成した信号PWMCおよび信号PWMDをそれぞれインバータ14および昇圧コンバータ12へ出力する。
【0084】
モータM1は、交流電圧を発電してインバータ14へ供給する。インバータ14は、制御装置30からの信号PWMCに応じて交流電圧を直流電圧に変換し、その変換した直流電圧をコンデンサC2を介して昇圧コンバータ12へ供給する。そうすると、昇圧コンバータ12は、制御装置30からの信号PWMDに応じて、インバータ14から供給された直流電圧を降圧してコンデンサC1およびシステムリレーSR1,SR2を介して直流電源Bを充電する。
【0085】
なお、この発明においては、MOSトランジスタ251〜254、トランス255,256、ダイオード257,258、コイル259およびコンデンサ260は、「電圧変換器」を構成する。
【0086】
また、MOSFET駆動制御回路262は、「駆動回路」を構成する。さらに、電圧指令値演算回路263は、「演算回路」を構成する。
【0087】
実施の形態1によれば、電圧変換装置は、補機バッテリのプラス端子における電圧を用いて、出力端子から補機バッテリまでの間における電圧降下を補償するように直流電源からの直流電圧を出力電圧に変換するので、補機バッテリ側の1つの電圧を用いて出力側の電圧降下を補償できる。そして、補機バッテリを所望の電圧に正確に充電できる。
【0088】
[実施の形態2]
図5を参照して、実施の形態2による電圧変換装置を備えた電気システム100Aについて説明する。電気システム100Aは、電気システム100のDC/DCコンバータ25をDC/DCコンバータ25Aに代え、配線27を配線28に代えたものであり、その他は、電気システム100と同じである。
【0089】
DC/DCコンバータ25Aは、補機バッテリ26のマイナス端子における電圧Vs2を配線28を介して受け、その受けた電圧Vs2に基づいて、出力側における電圧降下を補償するように直流電源Bから供給された直流電圧V1を降圧する。そして、DC/DCコンバータ25Aは、降圧した直流電圧を補機バッテリ26へ供給する。
【0090】
配線28は、DC/DCコンバータ25Aと補機バッテリ26のマイナス端子との間に接続される。
【0091】
図6を参照して、DC/DCコンバータ25Aは、DC/DCコンバータ25の電圧指令値演算回路263を電圧指令値演算回路263Aに代えたものであり、その他は、DC/DCコンバータ25と同じである。なお、DC/DCコンバータ25Aにおいては、端子266は、配線28に接続される。
【0092】
電圧指令値演算回路263Aは、配線28および端子266を介して受けた電圧Vs2に基づいて、補機バッテリ26のプラス端子における電圧Vs1を演算する。出力端子265は、接地ノード261に接続され、補機バッテリ26のマイナス端子も接地ノード261に接続される。この場合、補機バッテリ26のマイナス端子における電圧Vs2は、0Vよりも高い。したがって、補機バッテリ26のプラス端子における電圧Vs1は、Vs1=Vs2+Vbatとなる。
【0093】
そうすると、出力端子264と補機バッテリ26のプラス端子までの間における電圧降下v1は、v1=Vm−(Vs2+Vbat)となる。そして、電圧指令値Vcomは、Vcom=v1+Vbat=Vm−Vs2となる。
【0094】
このように、電圧指令値演算回路263Aは、補機バッテリ26のマイナス端子における電圧Vs2を用いて電圧指令値Vcomを演算し、その演算した電圧指令値VcomをMOSFET駆動制御回路262へ出力する。そして、MOSFET駆動制御回路262は、電圧指令値Vcom=Vm−Vs2に基づいて、MOSトランジスタ251〜254を駆動する。
【0095】
その他は、実施の形態1と同じである。
この発明においては、電圧指令値演算回路263Aは、「演算回路」を構成する。
【0096】
実施の形態2によれば、電圧変換装置は、補機バッテリのマイナス端子における電圧を用いて、出力端子から補機バッテリまでの間における電圧降下を補償するように直流電源からの直流電圧を出力電圧に変換するので、補機バッテリ側の1つの電圧を用いて出力側の電圧降下を補償できる。そして、補機バッテリを所望の電圧に正確に充電できる。
【0097】
上記においては、DC/DCコンバータはトランス型のDC/DCコンバータ25,25Aであるとして説明したが、この発明においては、DC/DCコンバータは図7に示すチョッパ型のDC/DCコンバータ25Bであってもよい。
【0098】
DC/DCコンバータ25Bは、入力端子270,271と、NPNトランジスタQ10,Q11と、ダイオードD10,D11と、リアクトルL2と、トランジスタ駆動制御回路272と、電圧指令値演算回路273と、出力端子274,275と、端子276とを含む。
【0099】
リアクトルL2の一方端は補機バッテリ26の電源ラインに接続され、他方端はNPNトランジスタQ10とNPNトランジスタQ11との中間点、すなわち、NPNトランジスタQ10のエミッタとNPNトランジスタQ11のコレクタとの間に接続される。NPNトランジスタQ10,Q11は、電源ライン31とアースライン32との間に直列に接続される。そして、NPNトランジスタQ10のコレクタは電源ライン31に接続され、NPNトランジスタQ11のエミッタはアースライン32に接続される。また、各NPNトランジスタQ10,Q11のコレクタ−エミッタ間には、エミッタ側からコレクタ側へ電流を流すダイオードD10,D11が配置されている。
【0100】
入力端子270,271は、直流電源Bからの直流電圧V1を受け、その受けた直流電圧V1を直列接続されたNPNトランジスタQ10,Q11の両端に供給する。トランジスタ駆動制御回路272は、電圧指令値演算回路273からの電圧指令値Vcomに基づいて、DC/DCコンバータ25Bの出力電圧Vmが電圧指令値VcomになるようにNPNトランジスタQ10,Q11を駆動する。
【0101】
電圧指令値演算回路273は、補機バッテリ26のプラス端子における電圧Vs1を配線28および端子276を介して受け、その受けた電圧Vs1に基づいて、電圧指令値演算回路263と同じ方法により電圧指令値Vcomを演算する。そして、電圧指令値演算回路273は、演算した電圧指令値Vcomをトランジスタ駆動制御回路272へ出力する。
【0102】
出力端子274,275は、降圧された出力電圧Vmを補機バッテリ26に供給する。
【0103】
DC/DCコンバータ25Bが直流電圧を降圧するとき、トランジスタ駆動制御回路272は、NPNトランジスタQ10,Q11をオン/オフするための信号を生成してNPNトランジスタQ10,Q11へ出力する。DC/DCコンバータ25Bが直流電圧を降圧するとき、NPNトランジスタQ10がオンされ、NPNトランジスタQ11がオフされるので、トランジスタ駆動制御回路272は、NPNトランジスタQ10を所定のデューティー比でオン/オフするための信号と、NPNトランジスタQ11をオフするための信号とを生成する。そして、NPNトランジスタQ10を所定のデューティー比でオン/オフするための信号において、直流電圧を降圧する割合が大きいときNPNトランジスタQ10のオン期間は短く設定され、直流電圧を降圧する割合が小さいときNPNトランジスタQ10のオン期間は長く設定される。
【0104】
これにより、DC/DCコンバータ25Bは、出力電圧Vmが出力端子側における電圧降下を補償する電圧指令値Vcomになるように直流電圧を降圧し、その降圧した出力電圧Vmを補機バッテリ26へ供給する。
【0105】
また、DC/DCコンバータ25Bにおいては、電圧指令値演算回路273は、補機バッテリ26のマイナス端子における電圧Vs2を受け、その受けた電圧Vs2を用いて電圧指令値演算回路263Aと同じ方法によって電圧指令値を演算してもよい。
【0106】
また、上記においては、直流電圧を降圧するDC/DCコンバータの出力側における電圧降下を補償して電圧変換する場合について説明したが、この発明は、これに限らず、直流電圧を昇圧するDC/DCコンバータの出力側における電圧降下を補償して電圧変換する電圧変換装置であってもよい。
【0107】
今回開示された実施の形態はすべての点で例示であって制限的なものではないと考えられるべきである。本発明の範囲は、上記した実施の形態の説明ではなくて特許請求の範囲によって示され、特許請求の範囲と均等の意味および範囲内でのすべての変更が含まれることが意図される。
【図面の簡単な説明】
【図1】実施の形態1における電気システムの概略ブロック図である。
【図2】図1に示す制御装置の機能ブロック図である。
【図3】図2に示すモータトルク制御手段の機能を説明するための機能ブロック図である。
【図4】図1に示すDC/DCコンバータの回路図および機能ブロック図である。
【図5】実施の形態2における電気システムの概略ブロック図である。
【図6】図5に示すDC/DCコンバータの回路図および機能ブロック図である。
【図7】チョッパ型のDC/DCコンバータの回路図である。
【図8】ハイブリッド自動車または電気自動車に搭載される電気システムの従来の機能ブロック図である。
【図9】DC/DCコンバータを用いた降圧回路の従来の回路図である。
【符号の説明】
10,13,501,504 電圧センサー、12 昇圧コンバータ、14,506 インバータ、15 U相アーム、16 V相アーム、17 W相アーム、24,507 電流センサー、25,25A,25B,509,600 DC/DCコンバータ、26,511 補機バッテリ、27,28 配線、30,520 制御装置、31 電源ライン、32 アースライン、40 モータ制御用相電圧演算部、42 インバータ用PWM信号変換部、50 インバータ入力電圧指令演算部、52 コンバータ用デューティー比演算部、54 コンバータ用PWM信号変換部、100,500 電気システム、248,249,270,271 入力端子、251〜254 MOSトランジスタ、255,256 トランス、259 コイル、261 接地ノード、262 MOSFET駆動制御回路、263,263A,273 電圧指令値演算回路、264,265,274,275 出力端子、266,276 端子、272 トランジスタ駆動制御回路、301 モータトルク制御手段、302 電圧変換制御手段、601 入力端子、602 出力端子、603 制御手段、605 負荷、B,604 直流電源、SR1,SR2 システムリレー、C1,C2,260,502,504,510 コンデンサ、L1,L2,311 リアクトル、Q1〜Q11,312,313 NPNトランジスタ、D1〜D11,257,258 ダイオード、M1,508 モータ。
Claims (6)
- 第1のバッテリから出力された直流電圧を出力電圧に変換し、その変換した出力電圧を第2のバッテリに供給する電圧変換器と、
前記電圧変換器の出力端における第1の電圧と、前記第2のバッテリのいずれか一方の端子における第2の電圧とに基づいて前記出力端と前記第2のバッテリとの間の電圧降下を演算し、その演算した電圧降下を補償して電圧変換を行なうための電圧指令値を演算する演算回路と、
前記出力電圧が前記演算した電圧指令値になるように前記電圧変換器を駆動する駆動回路とを備える電圧変換装置。 - 1つの配線を介して前記第2の電圧を受け、その受けた第2の電圧を前記演算回路に供給する入力端子をさらに備える、請求項1に記載の電圧変換装置。
- 前記1つの配線は、その一方端が前記第2のバッテリのプラス端子に接続され、
前記演算回路は、前記第1の電圧と前記第2の電圧との電圧差を演算し、その演算した電圧差と前記第2のバッテリのバッテリ電圧との和を前記電圧指令値として演算する、請求項2に記載の電圧変換装置。 - 前記1つの配線は、その一方端が前記第2のバッテリのマイナス端子に接続され、
前記演算回路は、前記第1の電圧と前記第2の電圧との差を前記電圧指令値として演算する、請求項2に記載の電圧変換装置。 - 前記電圧変換器は、前記直流電圧を前記出力電圧に降圧する、請求項1から請求項4のいずれか1項に記載の電圧変換装置。
- 前記第2のバッテリは、車両の補機を駆動するためのバッテリである、請求項5に記載の電圧変換装置。
Priority Applications (1)
| Application Number | Priority Date | Filing Date | Title |
|---|---|---|---|
| JP2002328288A JP2004166370A (ja) | 2002-11-12 | 2002-11-12 | 電圧変換装置 |
Applications Claiming Priority (1)
| Application Number | Priority Date | Filing Date | Title |
|---|---|---|---|
| JP2002328288A JP2004166370A (ja) | 2002-11-12 | 2002-11-12 | 電圧変換装置 |
Publications (1)
| Publication Number | Publication Date |
|---|---|
| JP2004166370A true JP2004166370A (ja) | 2004-06-10 |
Family
ID=32806629
Family Applications (1)
| Application Number | Title | Priority Date | Filing Date |
|---|---|---|---|
| JP2002328288A Withdrawn JP2004166370A (ja) | 2002-11-12 | 2002-11-12 | 電圧変換装置 |
Country Status (1)
| Country | Link |
|---|---|
| JP (1) | JP2004166370A (ja) |
Cited By (10)
| Publication number | Priority date | Publication date | Assignee | Title |
|---|---|---|---|---|
| JP2007143220A (ja) * | 2005-11-15 | 2007-06-07 | Toyota Industries Corp | 多出力電源システム及び多出力電源システムにおけるコンデンサの放電方法 |
| JP2007202353A (ja) * | 2006-01-27 | 2007-08-09 | Denso Corp | 電圧変換回路の制御装置 |
| JP2008259417A (ja) * | 2007-04-06 | 2008-10-23 | Power Integrations Inc | 電力変換器の統合されたケーブル原因の電圧降下の補償のための方法と装置 |
| KR101011530B1 (ko) | 2008-09-01 | 2011-01-28 | 대성전기공업 주식회사 | 차량의 전압 보상 장치 |
| CN101989813A (zh) * | 2009-07-30 | 2011-03-23 | 通用汽车环球科技运作公司 | 多相dc/dc升压变换器 |
| CN102377331A (zh) * | 2010-08-09 | 2012-03-14 | 欧姆龙汽车电子株式会社 | Dc-dc转换器 |
| CN102403891A (zh) * | 2010-09-10 | 2012-04-04 | 欧姆龙汽车电子株式会社 | Dc-dc转换器 |
| JP2012231580A (ja) * | 2011-04-25 | 2012-11-22 | Toyota Motor Corp | 電源システム |
| KR101526666B1 (ko) * | 2013-06-10 | 2015-06-05 | 현대자동차주식회사 | 저전압 dc-dc 컨버터 듀티 제어 방법 |
| JP2022544753A (ja) * | 2020-07-20 | 2022-10-21 | エルジー エナジー ソリューション リミテッド | バッテリー装置、バッテリー管理システムおよび測定電圧補償方法 |
-
2002
- 2002-11-12 JP JP2002328288A patent/JP2004166370A/ja not_active Withdrawn
Cited By (17)
| Publication number | Priority date | Publication date | Assignee | Title |
|---|---|---|---|---|
| JP2007143220A (ja) * | 2005-11-15 | 2007-06-07 | Toyota Industries Corp | 多出力電源システム及び多出力電源システムにおけるコンデンサの放電方法 |
| JP2007202353A (ja) * | 2006-01-27 | 2007-08-09 | Denso Corp | 電圧変換回路の制御装置 |
| US9065346B2 (en) | 2007-04-06 | 2015-06-23 | Power Integrations, Inc. | Method and apparatus for integrated cable drop compensation of a power converter |
| JP2008259417A (ja) * | 2007-04-06 | 2008-10-23 | Power Integrations Inc | 電力変換器の統合されたケーブル原因の電圧降下の補償のための方法と装置 |
| US9293996B2 (en) | 2007-04-06 | 2016-03-22 | Power Integrations, Inc. | Method and apparatus for integrated cable drop compensation of a power converter |
| KR101011530B1 (ko) | 2008-09-01 | 2011-01-28 | 대성전기공업 주식회사 | 차량의 전압 보상 장치 |
| CN101989813A (zh) * | 2009-07-30 | 2011-03-23 | 通用汽车环球科技运作公司 | 多相dc/dc升压变换器 |
| US8829718B2 (en) | 2010-08-09 | 2014-09-09 | Omron Automotive Electronics Co., Ltd. | DC-DC converter |
| CN102377331A (zh) * | 2010-08-09 | 2012-03-14 | 欧姆龙汽车电子株式会社 | Dc-dc转换器 |
| EP2418763A3 (en) * | 2010-08-09 | 2017-05-17 | OMRON Automotive Electronics Co., Ltd. | DC-DC converter |
| US8674653B2 (en) | 2010-09-10 | 2014-03-18 | Omron Automotive Electronics Co., Ltd. | DC-DC converter |
| CN102403891A (zh) * | 2010-09-10 | 2012-04-04 | 欧姆龙汽车电子株式会社 | Dc-dc转换器 |
| JP2012231580A (ja) * | 2011-04-25 | 2012-11-22 | Toyota Motor Corp | 電源システム |
| KR101526666B1 (ko) * | 2013-06-10 | 2015-06-05 | 현대자동차주식회사 | 저전압 dc-dc 컨버터 듀티 제어 방법 |
| JP2022544753A (ja) * | 2020-07-20 | 2022-10-21 | エルジー エナジー ソリューション リミテッド | バッテリー装置、バッテリー管理システムおよび測定電圧補償方法 |
| JP7368059B2 (ja) | 2020-07-20 | 2023-10-24 | エルジー エナジー ソリューション リミテッド | バッテリー装置、バッテリー管理システムおよび測定電圧補償方法 |
| US12026030B2 (en) | 2020-07-20 | 2024-07-02 | Lg Energy Solution, Ltd. | Battery apparatus, battery management system, and method for correcting measured voltage |
Similar Documents
| Publication | Publication Date | Title |
|---|---|---|
| JP4280573B2 (ja) | 負荷駆動装置 | |
| JP4623065B2 (ja) | 電圧変換装置および電圧変換方法 | |
| JP4802849B2 (ja) | モータ駆動装置 | |
| CN100536295C (zh) | 电压转换设备、动力输出设备以及电压转换器的控制方法 | |
| JP3928559B2 (ja) | 電圧変換装置、故障処理をコンピュータに実行させるプログラムを記録したコンピュータ読取り可能な記録媒体および故障処理方法 | |
| JP4023171B2 (ja) | 負荷駆動装置、負荷駆動装置における電力貯蔵装置の充電制御方法および充電制御をコンピュータに実行させるためのプログラムを記録したコンピュータ読取可能な記録媒体 | |
| JP4193704B2 (ja) | 電源装置およびそれを搭載する自動車 | |
| JP4052195B2 (ja) | 電圧変換装置および電圧変換の制御をコンピュータに実行させるためのプログラムを記録したコンピュータ読取り可能な記録媒体 | |
| JP4001120B2 (ja) | 電圧変換装置 | |
| JP2007166874A (ja) | 電圧変換装置 | |
| JP2007166875A (ja) | 昇圧コンバータの制御装置 | |
| JP4013739B2 (ja) | 電圧変換装置、電圧変換方法および電圧変換をコンピュータに実行させるためのプログラムを記録したコンピュータ読み取り可能な記録媒体 | |
| JPWO2011080818A1 (ja) | 電源装置 | |
| JP3879528B2 (ja) | 電圧変換装置 | |
| JP2004072892A (ja) | 電気負荷駆動装置、電気負荷駆動方法、電気負荷の駆動をコンピュータに実行させるプログラムを記録したコンピュータ読取り可能な記録媒体 | |
| JP2004166370A (ja) | 電圧変換装置 | |
| JP2004194475A (ja) | インバータ装置 | |
| JP4172203B2 (ja) | 電源システム、電源制御方法、および電源制御をコンピュータに実行させるプログラムを記録したコンピュータ読取り可能な記録媒体 | |
| JP2006006073A (ja) | 電源装置 | |
| JP2010098819A (ja) | 電圧変換装置および電圧変換装置の制御方法 | |
| JP5206489B2 (ja) | 電圧変換装置 | |
| JP3994846B2 (ja) | 電圧変換装置、および電圧変換の制御をコンピュータに実行させるためのプログラムを記録したコンピュータ読取り可能な記録媒体 | |
| JP3931734B2 (ja) | 電気負荷駆動装置 | |
| JP2004201439A (ja) | 電圧変換システム、残留電荷消費方法および残留電荷の消費をコンピュータに実行させるためのプログラムを記録したコンピュータ読取り可能な記録媒体 | |
| JP2003284330A (ja) | 制御装置、制御方法、電圧変換の制御をコンピュータに実行させるプログラムを記録したコンピュータ読取り可能な記録媒体 |
Legal Events
| Date | Code | Title | Description |
|---|---|---|---|
| A300 | Withdrawal of application because of no request for examination |
Free format text: JAPANESE INTERMEDIATE CODE: A300 Effective date: 20060207 |