JP2004149727A - エチレン・α−オレフィンゴム組成物と繊維との接着体の製造方法及び伝動ベルト - Google Patents
エチレン・α−オレフィンゴム組成物と繊維との接着体の製造方法及び伝動ベルト Download PDFInfo
- Publication number
- JP2004149727A JP2004149727A JP2002319062A JP2002319062A JP2004149727A JP 2004149727 A JP2004149727 A JP 2004149727A JP 2002319062 A JP2002319062 A JP 2002319062A JP 2002319062 A JP2002319062 A JP 2002319062A JP 2004149727 A JP2004149727 A JP 2004149727A
- Authority
- JP
- Japan
- Prior art keywords
- ethylene
- olefin
- rubber composition
- fiber
- rubber
- Prior art date
- Legal status (The legal status is an assumption and is not a legal conclusion. Google has not performed a legal analysis and makes no representation as to the accuracy of the status listed.)
- Pending
Links
- 229920001971 elastomer Polymers 0.000 title claims abstract description 130
- 239000005060 rubber Substances 0.000 title claims abstract description 124
- 239000004711 α-olefin Substances 0.000 title claims abstract description 59
- 239000000203 mixture Substances 0.000 title claims abstract description 52
- 239000000835 fiber Substances 0.000 title claims abstract description 44
- 238000004519 manufacturing process Methods 0.000 title claims abstract description 15
- 239000012948 isocyanate Substances 0.000 claims abstract description 23
- -1 isocyanate compound Chemical class 0.000 claims abstract description 22
- 150000001993 dienes Chemical class 0.000 claims abstract description 20
- 235000014113 dietary fatty acids Nutrition 0.000 claims abstract description 20
- 239000000194 fatty acid Substances 0.000 claims abstract description 20
- 229930195729 fatty acid Natural products 0.000 claims abstract description 20
- 150000004665 fatty acids Chemical class 0.000 claims abstract description 20
- 239000006057 Non-nutritive feed additive Substances 0.000 claims abstract description 19
- 229920000126 latex Polymers 0.000 claims abstract description 19
- 229920001577 copolymer Polymers 0.000 claims abstract description 15
- VGGSQFUCUMXWEO-UHFFFAOYSA-N Ethene Chemical compound C=C VGGSQFUCUMXWEO-UHFFFAOYSA-N 0.000 claims description 58
- 239000005977 Ethylene Substances 0.000 claims description 58
- 239000000853 adhesive Substances 0.000 claims description 52
- 230000001070 adhesive effect Effects 0.000 claims description 52
- 230000005540 biological transmission Effects 0.000 claims description 23
- QIQXTHQIDYTFRH-UHFFFAOYSA-N octadecanoic acid Chemical compound CCCCCCCCCCCCCCCCCC(O)=O QIQXTHQIDYTFRH-UHFFFAOYSA-N 0.000 claims description 14
- 239000004593 Epoxy Substances 0.000 claims description 10
- 150000001875 compounds Chemical class 0.000 claims description 10
- 239000007788 liquid Substances 0.000 claims description 10
- 235000021355 Stearic acid Nutrition 0.000 claims description 9
- OQCDKBAXFALNLD-UHFFFAOYSA-N octadecanoic acid Natural products CCCCCCCC(C)CCCCCCCCC(O)=O OQCDKBAXFALNLD-UHFFFAOYSA-N 0.000 claims description 9
- 239000008117 stearic acid Substances 0.000 claims description 9
- 239000003795 chemical substances by application Substances 0.000 claims description 7
- 230000006835 compression Effects 0.000 claims description 5
- 238000007906 compression Methods 0.000 claims description 5
- 239000011248 coating agent Substances 0.000 claims description 3
- 238000000576 coating method Methods 0.000 claims description 3
- 238000002156 mixing Methods 0.000 claims description 2
- 238000013329 compounding Methods 0.000 abstract description 6
- 239000002759 woven fabric Substances 0.000 abstract description 2
- 229920002943 EPDM rubber Polymers 0.000 description 15
- 238000000034 method Methods 0.000 description 13
- WSFSSNUMVMOOMR-UHFFFAOYSA-N Formaldehyde Chemical compound O=C WSFSSNUMVMOOMR-UHFFFAOYSA-N 0.000 description 12
- GHMLBKRAJCXXBS-UHFFFAOYSA-N resorcinol Chemical compound OC1=CC=CC(O)=C1 GHMLBKRAJCXXBS-UHFFFAOYSA-N 0.000 description 12
- 150000002513 isocyanates Chemical class 0.000 description 11
- YXFVVABEGXRONW-UHFFFAOYSA-N Toluene Chemical compound CC1=CC=CC=C1 YXFVVABEGXRONW-UHFFFAOYSA-N 0.000 description 9
- 238000004132 cross linking Methods 0.000 description 9
- VYPSYNLAJGMNEJ-UHFFFAOYSA-N Silicium dioxide Chemical compound O=[Si]=O VYPSYNLAJGMNEJ-UHFFFAOYSA-N 0.000 description 8
- 239000004816 latex Substances 0.000 description 8
- 229920000181 Ethylene propylene rubber Polymers 0.000 description 7
- NINIDFKCEFEMDL-UHFFFAOYSA-N Sulfur Chemical compound [S] NINIDFKCEFEMDL-UHFFFAOYSA-N 0.000 description 7
- 239000011593 sulfur Substances 0.000 description 7
- 229910052717 sulfur Inorganic materials 0.000 description 7
- ZWEHNKRNPOVVGH-UHFFFAOYSA-N 2-Butanone Chemical compound CCC(C)=O ZWEHNKRNPOVVGH-UHFFFAOYSA-N 0.000 description 6
- 239000000806 elastomer Substances 0.000 description 6
- 229920000642 polymer Polymers 0.000 description 6
- 238000004073 vulcanization Methods 0.000 description 6
- VTYYLEPIZMXCLO-UHFFFAOYSA-L Calcium carbonate Chemical compound [Ca+2].[O-]C([O-])=O VTYYLEPIZMXCLO-UHFFFAOYSA-L 0.000 description 4
- 239000006229 carbon black Substances 0.000 description 4
- 230000007423 decrease Effects 0.000 description 4
- 230000000694 effects Effects 0.000 description 4
- 125000001570 methylene group Chemical group [H]C([H])([*:1])[*:2] 0.000 description 4
- 150000001451 organic peroxides Chemical class 0.000 description 4
- 229920000139 polyethylene terephthalate Polymers 0.000 description 4
- 239000005020 polyethylene terephthalate Substances 0.000 description 4
- 239000000377 silicon dioxide Substances 0.000 description 4
- LYCAIKOWRPUZTN-UHFFFAOYSA-N Ethylene glycol Chemical compound OCCO LYCAIKOWRPUZTN-UHFFFAOYSA-N 0.000 description 3
- 230000000052 comparative effect Effects 0.000 description 3
- 239000002184 metal Substances 0.000 description 3
- 229910052751 metal Inorganic materials 0.000 description 3
- 230000035699 permeability Effects 0.000 description 3
- 229920001228 polyisocyanate Polymers 0.000 description 3
- 239000005056 polyisocyanate Substances 0.000 description 3
- 229920005989 resin Polymers 0.000 description 3
- 239000011347 resin Substances 0.000 description 3
- 150000003839 salts Chemical class 0.000 description 3
- RRKODOZNUZCUBN-CCAGOZQPSA-N (1z,3z)-cycloocta-1,3-diene Chemical compound C1CC\C=C/C=C\C1 RRKODOZNUZCUBN-CCAGOZQPSA-N 0.000 description 2
- PRBHEGAFLDMLAL-GQCTYLIASA-N (4e)-hexa-1,4-diene Chemical compound C\C=C\CC=C PRBHEGAFLDMLAL-GQCTYLIASA-N 0.000 description 2
- OJOWICOBYCXEKR-KRXBUXKQSA-N (5e)-5-ethylidenebicyclo[2.2.1]hept-2-ene Chemical compound C1C2C(=C/C)/CC1C=C2 OJOWICOBYCXEKR-KRXBUXKQSA-N 0.000 description 2
- VXNZUUAINFGPBY-UHFFFAOYSA-N 1-Butene Chemical compound CCC=C VXNZUUAINFGPBY-UHFFFAOYSA-N 0.000 description 2
- LIKMAJRDDDTEIG-UHFFFAOYSA-N 1-hexene Chemical compound CCCCC=C LIKMAJRDDDTEIG-UHFFFAOYSA-N 0.000 description 2
- KWKAKUADMBZCLK-UHFFFAOYSA-N 1-octene Chemical compound CCCCCCC=C KWKAKUADMBZCLK-UHFFFAOYSA-N 0.000 description 2
- HECLRDQVFMWTQS-RGOKHQFPSA-N 1755-01-7 Chemical compound C1[C@H]2[C@@H]3CC=C[C@@H]3[C@@H]1C=C2 HECLRDQVFMWTQS-RGOKHQFPSA-N 0.000 description 2
- 229920000742 Cotton Polymers 0.000 description 2
- PEDCQBHIVMGVHV-UHFFFAOYSA-N Glycerine Chemical compound OCC(O)CO PEDCQBHIVMGVHV-UHFFFAOYSA-N 0.000 description 2
- ZRALSGWEFCBTJO-UHFFFAOYSA-N Guanidine Chemical compound NC(N)=N ZRALSGWEFCBTJO-UHFFFAOYSA-N 0.000 description 2
- ISWSIDIOOBJBQZ-UHFFFAOYSA-N Phenol Chemical compound OC1=CC=CC=C1 ISWSIDIOOBJBQZ-UHFFFAOYSA-N 0.000 description 2
- QAOWNCQODCNURD-UHFFFAOYSA-N Sulfuric acid Chemical compound OS(O)(=O)=O QAOWNCQODCNURD-UHFFFAOYSA-N 0.000 description 2
- 238000005299 abrasion Methods 0.000 description 2
- 239000004760 aramid Substances 0.000 description 2
- 238000005452 bending Methods 0.000 description 2
- IAQRGUVFOMOMEM-UHFFFAOYSA-N butene Natural products CC=CC IAQRGUVFOMOMEM-UHFFFAOYSA-N 0.000 description 2
- 229910000019 calcium carbonate Inorganic materials 0.000 description 2
- 125000004432 carbon atom Chemical group C* 0.000 description 2
- 239000007795 chemical reaction product Substances 0.000 description 2
- 239000003086 colorant Substances 0.000 description 2
- UKMSUNONTOPOIO-UHFFFAOYSA-N docosanoic acid Chemical compound CCCCCCCCCCCCCCCCCCCCCC(O)=O UKMSUNONTOPOIO-UHFFFAOYSA-N 0.000 description 2
- POULHZVOKOAJMA-UHFFFAOYSA-N dodecanoic acid Chemical compound CCCCCCCCCCCC(O)=O POULHZVOKOAJMA-UHFFFAOYSA-N 0.000 description 2
- 239000004744 fabric Substances 0.000 description 2
- 239000002657 fibrous material Substances 0.000 description 2
- 239000000945 filler Substances 0.000 description 2
- 238000000227 grinding Methods 0.000 description 2
- 229910052736 halogen Inorganic materials 0.000 description 2
- 150000002367 halogens Chemical class 0.000 description 2
- IPCSVZSSVZVIGE-UHFFFAOYSA-N hexadecanoic acid Chemical compound CCCCCCCCCCCCCCCC(O)=O IPCSVZSSVZVIGE-UHFFFAOYSA-N 0.000 description 2
- 239000000463 material Substances 0.000 description 2
- 239000003960 organic solvent Substances 0.000 description 2
- 230000002093 peripheral effect Effects 0.000 description 2
- 150000002978 peroxides Chemical class 0.000 description 2
- 239000004014 plasticizer Substances 0.000 description 2
- 229920001084 poly(chloroprene) Polymers 0.000 description 2
- 229920003207 poly(ethylene-2,6-naphthalate) Polymers 0.000 description 2
- 229920000728 polyester Polymers 0.000 description 2
- 239000011112 polyethylene naphthalate Substances 0.000 description 2
- QQONPFPTGQHPMA-UHFFFAOYSA-N propylene Natural products CC=C QQONPFPTGQHPMA-UHFFFAOYSA-N 0.000 description 2
- 125000004805 propylene group Chemical group [H]C([H])([H])C([H])([*:1])C([H])([H])[*:2] 0.000 description 2
- 239000012744 reinforcing agent Substances 0.000 description 2
- 239000002904 solvent Substances 0.000 description 2
- 239000003381 stabilizer Substances 0.000 description 2
- 239000000454 talc Substances 0.000 description 2
- 229910052623 talc Inorganic materials 0.000 description 2
- WRIDQFICGBMAFQ-UHFFFAOYSA-N (E)-8-Octadecenoic acid Natural products CCCCCCCCCC=CCCCCCCC(O)=O WRIDQFICGBMAFQ-UHFFFAOYSA-N 0.000 description 1
- UBRWPVTUQDJKCC-UHFFFAOYSA-N 1,3-bis(2-tert-butylperoxypropan-2-yl)benzene Chemical compound CC(C)(C)OOC(C)(C)C1=CC=CC(C(C)(C)OOC(C)(C)C)=C1 UBRWPVTUQDJKCC-UHFFFAOYSA-N 0.000 description 1
- NOSXUFXBUISMPR-UHFFFAOYSA-N 1-tert-butylperoxyhexane Chemical compound CCCCCCOOC(C)(C)C NOSXUFXBUISMPR-UHFFFAOYSA-N 0.000 description 1
- XMNIXWIUMCBBBL-UHFFFAOYSA-N 2-(2-phenylpropan-2-ylperoxy)propan-2-ylbenzene Chemical compound C=1C=CC=CC=1C(C)(C)OOC(C)(C)C1=CC=CC=C1 XMNIXWIUMCBBBL-UHFFFAOYSA-N 0.000 description 1
- BIISIZOQPWZPPS-UHFFFAOYSA-N 2-tert-butylperoxypropan-2-ylbenzene Chemical compound CC(C)(C)OOC(C)(C)C1=CC=CC=C1 BIISIZOQPWZPPS-UHFFFAOYSA-N 0.000 description 1
- LQJBNNIYVWPHFW-UHFFFAOYSA-N 20:1omega9c fatty acid Natural products CCCCCCCCCCC=CCCCCCCCC(O)=O LQJBNNIYVWPHFW-UHFFFAOYSA-N 0.000 description 1
- VXPSQDAMFATNNG-UHFFFAOYSA-N 3-[2-(2,5-dioxopyrrol-3-yl)phenyl]pyrrole-2,5-dione Chemical compound O=C1NC(=O)C(C=2C(=CC=CC=2)C=2C(NC(=O)C=2)=O)=C1 VXPSQDAMFATNNG-UHFFFAOYSA-N 0.000 description 1
- UPMLOUAZCHDJJD-UHFFFAOYSA-N 4,4'-Diphenylmethane Diisocyanate Chemical compound C1=CC(N=C=O)=CC=C1CC1=CC=C(N=C=O)C=C1 UPMLOUAZCHDJJD-UHFFFAOYSA-N 0.000 description 1
- DBCAQXHNJOFNGC-UHFFFAOYSA-N 4-bromo-1,1,1-trifluorobutane Chemical compound FC(F)(F)CCCBr DBCAQXHNJOFNGC-UHFFFAOYSA-N 0.000 description 1
- ZCYVEMRRCGMTRW-UHFFFAOYSA-N 7553-56-2 Chemical compound [I] ZCYVEMRRCGMTRW-UHFFFAOYSA-N 0.000 description 1
- QSBYPNXLFMSGKH-UHFFFAOYSA-N 9-Heptadecensaeure Natural products CCCCCCCC=CCCCCCCCC(O)=O QSBYPNXLFMSGKH-UHFFFAOYSA-N 0.000 description 1
- 235000021357 Behenic acid Nutrition 0.000 description 1
- 239000004342 Benzoyl peroxide Substances 0.000 description 1
- OMPJBNCRMGITSC-UHFFFAOYSA-N Benzoylperoxide Chemical compound C=1C=CC=CC=1C(=O)OOC(=O)C1=CC=CC=C1 OMPJBNCRMGITSC-UHFFFAOYSA-N 0.000 description 1
- DPUOLQHDNGRHBS-UHFFFAOYSA-N Brassidinsaeure Natural products CCCCCCCCC=CCCCCCCCCCCCC(O)=O DPUOLQHDNGRHBS-UHFFFAOYSA-N 0.000 description 1
- BRLQWZUYTZBJKN-UHFFFAOYSA-N Epichlorohydrin Chemical compound ClCC1CO1 BRLQWZUYTZBJKN-UHFFFAOYSA-N 0.000 description 1
- URXZXNYJPAJJOQ-UHFFFAOYSA-N Erucic acid Natural products CCCCCCC=CCCCCCCCCCCCC(O)=O URXZXNYJPAJJOQ-UHFFFAOYSA-N 0.000 description 1
- 244000043261 Hevea brasiliensis Species 0.000 description 1
- 239000005057 Hexamethylene diisocyanate Substances 0.000 description 1
- 239000006237 Intermediate SAF Substances 0.000 description 1
- 239000005639 Lauric acid Substances 0.000 description 1
- CHJJGSNFBQVOTG-UHFFFAOYSA-N N-methyl-guanidine Natural products CNC(N)=N CHJJGSNFBQVOTG-UHFFFAOYSA-N 0.000 description 1
- 239000004677 Nylon Substances 0.000 description 1
- 239000005642 Oleic acid Substances 0.000 description 1
- ZQPPMHVWECSIRJ-UHFFFAOYSA-N Oleic acid Natural products CCCCCCCCC=CCCCCCCCC(O)=O ZQPPMHVWECSIRJ-UHFFFAOYSA-N 0.000 description 1
- 235000021314 Palmitic acid Nutrition 0.000 description 1
- 239000002202 Polyethylene glycol Substances 0.000 description 1
- OKKRPWIIYQTPQF-UHFFFAOYSA-N Trimethylolpropane trimethacrylate Chemical compound CC(=C)C(=O)OCC(CC)(COC(=O)C(C)=C)COC(=O)C(C)=C OKKRPWIIYQTPQF-UHFFFAOYSA-N 0.000 description 1
- 229920002978 Vinylon Polymers 0.000 description 1
- 230000002411 adverse Effects 0.000 description 1
- 150000001336 alkenes Chemical class 0.000 description 1
- 150000001408 amides Chemical class 0.000 description 1
- 229940053200 antiepileptics fatty acid derivative Drugs 0.000 description 1
- 229920006231 aramid fiber Polymers 0.000 description 1
- 229920003235 aromatic polyamide Polymers 0.000 description 1
- 239000012298 atmosphere Substances 0.000 description 1
- 229940116226 behenic acid Drugs 0.000 description 1
- KVBYPTUGEKVEIJ-UHFFFAOYSA-N benzene-1,3-diol;formaldehyde Chemical compound O=C.OC1=CC=CC(O)=C1 KVBYPTUGEKVEIJ-UHFFFAOYSA-N 0.000 description 1
- 235000019400 benzoyl peroxide Nutrition 0.000 description 1
- IISBACLAFKSPIT-UHFFFAOYSA-N bisphenol A Chemical compound C=1C=C(O)C=CC=1C(C)(C)C1=CC=C(O)C=C1 IISBACLAFKSPIT-UHFFFAOYSA-N 0.000 description 1
- 239000002981 blocking agent Substances 0.000 description 1
- 150000001733 carboxylic acid esters Chemical class 0.000 description 1
- 150000001735 carboxylic acids Chemical class 0.000 description 1
- 208000018747 cerebellar ataxia with neuropathy and bilateral vestibular areflexia syndrome Diseases 0.000 description 1
- LSXWFXONGKSEMY-UHFFFAOYSA-N di-tert-butyl peroxide Chemical compound CC(C)(C)OOC(C)(C)C LSXWFXONGKSEMY-UHFFFAOYSA-N 0.000 description 1
- 125000005442 diisocyanate group Chemical group 0.000 description 1
- SWSQBOPZIKWTGO-UHFFFAOYSA-N dimethylaminoamidine Natural products CN(C)C(N)=N SWSQBOPZIKWTGO-UHFFFAOYSA-N 0.000 description 1
- LRCFXGAMWKDGLA-UHFFFAOYSA-N dioxosilane;hydrate Chemical compound O.O=[Si]=O LRCFXGAMWKDGLA-UHFFFAOYSA-N 0.000 description 1
- 230000007613 environmental effect Effects 0.000 description 1
- DPUOLQHDNGRHBS-KTKRTIGZSA-N erucic acid Chemical compound CCCCCCCC\C=C/CCCCCCCCCCCC(O)=O DPUOLQHDNGRHBS-KTKRTIGZSA-N 0.000 description 1
- 150000002148 esters Chemical class 0.000 description 1
- STVZJERGLQHEKB-UHFFFAOYSA-N ethylene glycol dimethacrylate Substances CC(=C)C(=O)OCCOC(=O)C(C)=C STVZJERGLQHEKB-UHFFFAOYSA-N 0.000 description 1
- 238000011156 evaluation Methods 0.000 description 1
- 235000011187 glycerol Nutrition 0.000 description 1
- 239000000383 hazardous chemical Substances 0.000 description 1
- RRAMGCGOFNQTLD-UHFFFAOYSA-N hexamethylene diisocyanate Chemical compound O=C=NCCCCCCN=C=O RRAMGCGOFNQTLD-UHFFFAOYSA-N 0.000 description 1
- 229910052740 iodine Inorganic materials 0.000 description 1
- 239000011630 iodine Substances 0.000 description 1
- IQPQWNKOIGAROB-UHFFFAOYSA-N isocyanate group Chemical group [N-]=C=O IQPQWNKOIGAROB-UHFFFAOYSA-N 0.000 description 1
- QXJSBBXBKPUZAA-UHFFFAOYSA-N isooleic acid Natural products CCCCCCCC=CCCCCCCCCC(O)=O QXJSBBXBKPUZAA-UHFFFAOYSA-N 0.000 description 1
- 239000000178 monomer Substances 0.000 description 1
- 238000000465 moulding Methods 0.000 description 1
- WQEPLUUGTLDZJY-UHFFFAOYSA-N n-Pentadecanoic acid Natural products CCCCCCCCCCCCCCC(O)=O WQEPLUUGTLDZJY-UHFFFAOYSA-N 0.000 description 1
- 229920003052 natural elastomer Polymers 0.000 description 1
- 229920001194 natural rubber Polymers 0.000 description 1
- 229920001778 nylon Polymers 0.000 description 1
- JRZJOMJEPLMPRA-UHFFFAOYSA-N olefin Natural products CCCCCCCC=C JRZJOMJEPLMPRA-UHFFFAOYSA-N 0.000 description 1
- ZQPPMHVWECSIRJ-KTKRTIGZSA-N oleic acid Chemical compound CCCCCCCC\C=C/CCCCCCCC(O)=O ZQPPMHVWECSIRJ-KTKRTIGZSA-N 0.000 description 1
- 235000021313 oleic acid Nutrition 0.000 description 1
- 150000002923 oximes Chemical class 0.000 description 1
- 239000002245 particle Substances 0.000 description 1
- WXZMFSXDPGVJKK-UHFFFAOYSA-N pentaerythritol Chemical compound OCC(CO)(CO)CO WXZMFSXDPGVJKK-UHFFFAOYSA-N 0.000 description 1
- 150000002989 phenols Chemical class 0.000 description 1
- 230000000704 physical effect Effects 0.000 description 1
- 229920002589 poly(vinylethylene) polymer Polymers 0.000 description 1
- 229920001515 polyalkylene glycol Polymers 0.000 description 1
- 229920001223 polyethylene glycol Polymers 0.000 description 1
- 229920006389 polyphenyl polymer Polymers 0.000 description 1
- 230000001105 regulatory effect Effects 0.000 description 1
- 238000010058 rubber compounding Methods 0.000 description 1
- 150000003333 secondary alcohols Chemical class 0.000 description 1
- 229960004029 silicic acid Drugs 0.000 description 1
- 239000007787 solid Substances 0.000 description 1
- 229920003048 styrene butadiene rubber Polymers 0.000 description 1
- 239000000126 substance Substances 0.000 description 1
- 150000005846 sugar alcohols Polymers 0.000 description 1
- 230000002123 temporal effect Effects 0.000 description 1
- 150000003509 tertiary alcohols Chemical class 0.000 description 1
- DVKJHBMWWAPEIU-UHFFFAOYSA-N toluene 2,4-diisocyanate Chemical compound CC1=CC=C(N=C=O)C=C1N=C=O DVKJHBMWWAPEIU-UHFFFAOYSA-N 0.000 description 1
- 239000004636 vulcanized rubber Substances 0.000 description 1
- XLYOFNOQVPJJNP-UHFFFAOYSA-N water Substances O XLYOFNOQVPJJNP-UHFFFAOYSA-N 0.000 description 1
Images
Landscapes
- Manufacture Of Macromolecular Shaped Articles (AREA)
Abstract
【課題】エチレン・α−オレフィンゴム組成物と伝動ベルトの心線となる繊維コードやカバー帆布のような織物等とを良好に接着することができるエチレン・α−オレフィンゴム組成物と繊維との接着体の製造方法及び伝動ベルトを提供することを目的とする。
【解決手段】繊維を、ジエン含量が8〜20%であるエチレン・α−オレフィン−ジエン共重合体ゴムラテックス100質量部に、加工助剤として脂肪酸もしくは/および脂肪酸誘導体を2〜20質量部、イソシアネート化合物を5〜35質量部配合したゴム糊でオーバーコート処理した後、エチレン・α−オレフィンゴムの未加硫ゴム組成物と密着加硫せしめたことを特徴とするエチレン・α−オレフィンゴム組成物と繊維との接着体の製造方法にある。
【選択図】 なし
【解決手段】繊維を、ジエン含量が8〜20%であるエチレン・α−オレフィン−ジエン共重合体ゴムラテックス100質量部に、加工助剤として脂肪酸もしくは/および脂肪酸誘導体を2〜20質量部、イソシアネート化合物を5〜35質量部配合したゴム糊でオーバーコート処理した後、エチレン・α−オレフィンゴムの未加硫ゴム組成物と密着加硫せしめたことを特徴とするエチレン・α−オレフィンゴム組成物と繊維との接着体の製造方法にある。
【選択図】 なし
Description
【0001】
【発明の属する技術分野】
本発明はエチレン・α−オレフィンゴム組成物と繊維との接着体の製造方法及び伝動ベルトに係り、詳しくは、接着力を改善したエチレン・α−オレフィンゴム組成物と繊維との接着体の製造方法及び伝動ベルトに関する。
【0002】
【従来の技術】
近年、省エネルギー化、コンパクト化の社会的要請を背景に、自動車のエンジンルーム周辺の雰囲気温度は従来に比べて上昇してきている。これにともない伝動ベルトの使用環境温度が高くなり、ベルト寿命が低下することが指摘されている。即ち、従来、伝動ベルトには天然ゴム、スチレン−ブタジエンゴム、クロロプレンゴムなどのゴム材料が使用されてきたが、高温雰囲気下では圧縮ゴム層が硬化し、早期にクラックを生じ易いという問題が発生したるものである。
【0003】
このようなベルトの早期破壊現象に対し、従来からクロロプレンゴムの耐熱性の改善が検討されてきたが、これに代わり最近ではエチレン−プロピレン系ゴム(EPR)あるいはエチレン−プロピレン−ジエン共重合体ゴム(EPDM)等のエチレン−α−オレフィンエラストマーが優れた耐熱性、耐寒性を有し、比較的に安価であるだけでなく、環境負荷物質の含有量が少ないポリマーであるとして注目されている。このポリマーは伝動ベルトへの使用も検討されつつあり、例えば特開平6−345948号公報に開示されている。
【0004】
しかしながら、エチレン−プロピレン系ゴムは引き裂き力が低く、パーオキサイド架橋系を用いると、更に引き裂き力が低下して、走行時に心線がポップアウトしやすいという問題があった。一方、硫黄架橋系を用いたものは、加硫度を十分に上げるのが困難であるため、走行時に摩耗が多くなり、特にVリブドベルトでは、摩耗紛がリブ部間の底部で蓄積され粘着摩耗を起こしやすく、これが発音を引き起こす大きな問題になっていた。また、加硫度を上げるために、分子内の二重結合量の極めて多いEPDMを用いると、粘着摩耗はある程度改善できるが、耐熱性が低下するという不具合が発生した。
【0005】
更に、問題になる点は、エチレン・α−オレフィンエラストマーと繊維コードとの接着方法にある。具体的には、繊維材料をレゾルシン−ホルマリン−スチレン−ブタジエン−ビニルピリジンラテックスとを含有するディップ液に浸漬処理した後、EPDMゴム組成物と加硫接着する方法(特許文献1参照)、またレゾルシン−ホルマリン−ゴムラテックス接着液で接着処理した繊維材料と、メチレン供与体、メチレン受容体及び珪酸化合物と配合したEPDMゴム組成物と加硫接着する方法(特許文献2参照)などが試みられてきた。また、ハロゲン化ポリマーを配合したエチレン・α−オレフィンエラストマー用接着処理剤が上市されている。それ以外にも、繊維をエチレン・α−オレフィンエラストマーラテックスからなるレゾルシン−ホルマリン−ゴムラテックス液で付着処理した後、エチレン・α−オレフィンゴムの未加硫ゴム組成物を溶剤に溶かしたゴム糊でオーバーコート処理し密着加硫せしめたエチレン・α−オレフィンゴム組成物と繊維との接着体の製造方法にあって、レゾルシン−ホルマリン−ゴムラテックス液(RFL液)に使用するエチレン・α−オレフィンゴムのジエン含量とオーバーコート処理液に使用するエチレン・α−オレフィンのジエン含量の総和が15重量%以上とした接着処理方法も提案されている。(特許文献3)
【0006】
【特許文献1】
特開平8−113657号公報
【特許文献2】
特開平8−113656号公報
【特許文献3】
特開2002−88658号公報
【0007】
【発明が解決しようとする課題】
しかし、レゾルシン−ホルマリン−スチレン−ブタジエン−ビニルピリジンラテックスを含有するディップ液で処理する場合には、接着力が改善されるが、これを伝動ベルトの心線のような繰り返し屈曲疲労をうける部位に使用した場合には、心線と接着ゴム層とが早期に剥離することがあった。
【0008】
また、メチレン供与体、メチレン受容体及び珪酸化合物と配合したEPDMゴム組成物を使用した場合でも、同様に繰り返し屈曲疲労をうける部位に使用すると、心線と接着ゴム層とが早期に剥離することがあった。
【0009】
更に、エチレン・α−オレフィンエラストマー用接着処理剤に含有されるハロゲン化ポリマーは環境負荷物質として知られており、環境問題の重要性が増す近年において好ましくない。
【0010】
またRFL、オーバーコート処理液に用いるエチレン・α−オレフィンゴムのジエン含量を規定することにより接着性は向上するが、その効果は2段階以上の接着処理を必須とするため、工程の簡略化という観点から更なる改良の余地がある。
【0011】
本発明は、これらの点を考慮し、エチレン・α−オレフィンゴム組成物と伝動ベルトの心線となる繊維コードやカバー帆布のような織物等とを良好に接着することができるエチレン・α−オレフィンゴム組成物と繊維との接着体の製造方法及び伝動ベルトを提供することを目的とする。
【0012】
【課題を解決するための手段】
即ち、本願請求項1記載の発明は、エチレン・α−オレフィンゴム組成物と繊維との接着物において、繊維を、ジエン含量が8〜20%であるエチレン・α−オレフィン−ジエン共重合体ゴムラテックス100質量部に、加工助剤として脂肪酸もしくは/および脂肪酸誘導体を2〜20質量部、イソシアネート化合物を5〜35質量部配合したゴム糊でオーバーコート処理した後、エチレン・α−オレフィンゴムの未加硫ゴム組成物と密着加硫せしめたことを特徴とする。オーバーコート処理液に、特定の加工助剤とイソシアネートを特定量配合したエチレン・α−オレフィンゴム組成物を使用することによって、繊維とエチレン・α−オレフィンゴム組成物との加硫接着力を高めることができる。またハロゲン化ポリマーを用いない為に、環境への負荷が少ないといった効果がある。
【0013】
本願請求項2記載の発明は、請求項1記載のエチレン・α−オレフィンゴム組成物と繊維との接着体の製造方法にあって、繊維はオーバーコート処理の前に、イソシアネートもしくは/およびエポキシを含む処理液で前処理が行われてなることを特徴とする。
【0014】
本願請求項3記載の発明は、請求項1または2に記載のエチレン・α−オレフィンゴム組成物と繊維との接着体の製造方法にあって、加工助剤がステアリン酸もしくは/およびステアリン酸誘導体であることを特徴とする。
【0015】
本願請求項4記載の発明は、ベルト長手方向に沿って心線を埋設した接着ゴム層と、圧縮ゴム層を含む弾性体層からなる伝動ベルトにおいて、心線として、ジエン含量が8〜20%であるエチレン・α−オレフィン−ジエン共重合体ゴムラテックス100質量部に、加工助剤として脂肪酸もしくは/および脂肪酸誘導体を2〜20質量部、イソシアネート化合物を5〜35質量部配合した接着処理剤により形成した被膜を有するコードを、エチレン・α−オレフィンゴム組成物からなる接着ゴム層に埋設したことを特徴とする。
【0016】
本願請求項5記載の発明は、請求項4記載の伝動ベルトにあって、心線は、イソシアネートもしくは/およびエポキシを含む前処理剤が含浸されてなることを特徴とする。
【0017】
本願請求項6記載の発明は、請求項4または5に記載の伝動ベルトにあって、加工助剤が、ステアリン酸もしくは/およびステアリン酸誘導体であることを特徴とする。
【0018】
本願請求項7記載の発明は、請求項4乃至6のいずれかに記載の伝動ベルトにあって、伝動ベルトが、ベルト長さ方向に沿って繊維コードをエチレン・α−オレフィンゴム組成物中に埋設した接着ゴム層と、エチレン・α−オレフィンゴム組成物で構成されたベルト長さ方向に延びる複数のリブ部を有するVリブドベルトであることを特徴とする。
【0019】
【発明の実施の形態】
本発明で使用するエチレン・α−オレフィンゴムとしては、エチレンとα−オレフィン(プロピレン、ブテン、ヘキセン、あるいはオクテン)の共重合体、あるいは、エチレンと上記α−オレフィンと非共役ジエンの共重合体であり、具体的にはエチレン−プロピレンゴム(EPM)やエチレン−プロピレン−ジエンターポリマー(EPDM)からなるゴムをいう。上記ジエン成分としては、エチリデンノルボルネン、ジシクロペンタジエン、1,4−ヘキサジエン、シクロオクタジエン、メチレンノルボルネンなどの炭素原子数5〜15の非共役ジエンが挙げられる。
【0020】
上記ゴムの架橋には、硫黄や有機過酸化物が使用される。有機過酸化物としては、例えばジクミルパーオキサイド、ジ−t−ブチルパーオキサイド、t−ブチルクミルパーオキサイド、ベンゾイルパーオキサイド、1,3−ビス(t−ブチルパーオキシイソプロピル)ベンゼン、2,5−ジメチル−2,5−ジ(t−ブチルパーオキシ)ヘキシン−3、2,5−ジメチル−2,5−(ベンゾイルパーオキシ)ヘキサン、2,5−ジメチル−2,5−モノ(t−ブチルパーオキシ)ヘキサン等を挙げることができる。この有機過酸化物は、単独もしくは混合物として、通常エチレン−α−オレフィンエラストマー100gに対して0.005〜0.02モルgの範囲で使用される。
【0021】
また、架橋助剤(co−agent)を配合することによって、架橋度を上げて粘着摩耗等の問題を防止することができる。架橋助剤として挙げられるものとしては、TIAC、TAC、1,2ポリブタジエン、不飽和カルボン酸の金属塩、オキシム類、グアニジン、トリメチロールプロパントリメタクリレート、エチレングリコールジメタクリレート、N−N’−m−フェニレンビスマレイミド、硫黄など通常パーオキサイド架橋に用いるものである。
【0022】
そして、それ以外に必要に応じてカーボンブラック、シリカのような増強剤、炭酸カルシウム、タルクのような充填剤、可塑剤、安定剤、加工助剤、着色剤のような通常のゴム配合物に使用されるものが使用される。
【0023】
本発明で使用する繊維は、アラミド繊維、ポリエチレンテレフタレート繊維(PET繊維)、ポリエチレンナフタレート繊維(PEN繊維)のようなポリエステル繊維であり、その形態としてのコード、織物が使用される。
【0024】
使用する繊維は、下記方法によって接着処理される。
即ち、繊維を、ジエン含量が8〜20%であるエチレン・α−オレフィン−ジエン共重合体ゴムラテックス100質量部に、加工助剤として脂肪酸もしくは/および脂肪酸誘導体を2〜25質量部、イソシアネート化合物を5〜35質量部配合したゴム糊でオーバーコート処理した後、エチレン・α−オレフィンゴムの未加硫ゴム組成物と密着加硫せしめる。尚、オーバーコート処理の前に、イソシアネートもしくは/およびエポキシを含む処理液で前処理することが接着力を高める上で好ましい。前処理では、未処理の繊維を室温に設定したイソシアネートもしくは/およびエポキシを含む処理液に0.5〜30秒間浸漬した後、150〜190℃に調節したオーブンに2〜5分間通して乾燥される。
【0025】
エチレン・α−オレフィン−ジエン共重合体ゴムとは、エチレンとα−オレフィン(プロピレン、ブテン、ヘキセン、あるいはオクテン)の共重合体、あるいは、エチレンと上記α−オレフィンと非共役ジエンの共重合体であり、具体的にはエチレン−プロピレンゴム(EPM)やエチレン−プロピレン−ジエンターポリマー(EPDM)からなるゴムをいう。上記ジエン成分としては、エチリデンノルボルネン、ジシクロペンタジエン、1,4−ヘキサジエン、シクロオクタジエン、メチレンノルボルネンなどの炭素原子数5〜15の非共役ジエンが挙げられる。尚、エチレン・α−オレフィン−ジエン共重合体ゴムとしては、ジエン含量が8〜20%のものを用いられる。8%未満では、接着性の改善がみられず、一方20%を超えると、ゴム物性の低下がみられる。
【0026】
上記ゴムラテックスの製造方法としては以下の2種類あり、一つは、固形ポリマーを溶剤に溶かした後、相変化させて水に乳化分散させ、ラテックスとする方法で、もう一つは、乳化させたモノマーを重合してそのままラテックスとする方法である。後述の実施例では前者の方法で製造したエチレン−プロピレン−ジエンモノマーラテックスを用いているが、いずれの方法で製造したものでもよい。
【0027】
イソシアネートとしては、例えば4,4’−ジフェニルメタンジイソシアネート、トリレン2,4−ジイソシアネート、ポリメチレンポリフェニルジイソシアネート、ヘキサメチレンジイソシアネート、ポリアリールポリイソシアネート(例えば商品名としてPAPIがある)等がある。また、上記イソシアネートにフェノール類、第3級アルコール類、第2級アルコール類等のブロック化剤を反応させてポリイソシアネートのイソシアネート基をブロック化したブロック化ポリイソシアネートも使用可能である。その配合量はエチレン・α−オレフィンゴム100質量部に対して5〜35質量部である。5質量部未満では、高温時における未加硫ゴムとの接着が不十分であり、一方35質量部を超えると、接着力の低下を招く。
【0028】
加工助剤としては、脂肪酸もしくは/および脂肪酸誘導体が用いられる。具体的には、ラウリル酸、パルチミン酸、ステアリン酸、ベヘン酸、オレイン酸、エルカ酸などの高級脂肪酸、ならびにこれら脂肪酸の金属塩、エステル、アマイドなどが挙げられ、これらは単独に限らず併用することができる。なかでもステアリン酸、およびステアリン酸誘導体が汎用的である。また脂肪酸金属塩に加えて、パラフィン類、多価カルボン酸エステルを混合した加工助剤などを用いることも接着性を高める上で好適である。該加工助剤は、ゴム配合剤の分散性並びにゴム組成物の作業性を向上させるとともに、前記加工助剤を配合したエチレン・α−オレフィン組成物をオーバーコート処理に用いた場合、接着性の改善に効果がある。その配合量はエチレン・α−オレフィンゴム100質量部に対して2〜20質量部添加することが好ましい。2質量部未満では、未加硫ゴムとの接着が不十分であり、一方20質量部を超えると、逆に接着力の低下を招く。
【0029】
また必要に応じてシリカ、カーボンブラック、加硫促進剤等を含めることができる。シリカとしては、含水シリカを含み、粒子径、PH等は限定しない。その添加量はエチレン・α−オレフィンゴム100質量部に対して、5〜40質量部である。5質量部未満では、未加硫ゴムとの接着が不十分であり、一方40質量部を超えると、ゴムの粘度が上昇して繊維への浸透性が劣り、接着力が低下する。
【0030】
カーボンブラックの種類としては、SAF、ISAF、HAF、FF、FEF、GPF、SRF、FT、MT等があり、特に規定しない。その添加量はエチレン・α−オレフィンゴム100質量部に対して、5〜50質量部である。5質量部未満では、処理繊維の経時接着力の低下が大きく、また50質量部を超えると、ゴムの粘度が上昇して繊維への浸透性が劣り、接着力が低下する。
【0031】
またレゾルシンとホルマリンの初期縮合物を添加しても良い。この場合レゾルシンとホルマリンのモル比は1:2〜2:1にすることが接着力を高める上で好適である。モル比が1/2未満では、レゾルシン−ホルマリン樹脂の三次元化反応が進み過ぎてゲル化し、一方2/1を超えると、逆にレゾルシンとホルマリンの反応があまり進まないため、接着力が低下する。
【0032】
オーバーコート処理液に使用するゴム組成物中のエチレン・α−オレフィンゴム分は60〜90質量%である。60質量%未満では、繊維への浸透性が劣り、接着力が低下し、他方90質量%を超えると、処理繊維の経時接着力の低下が大きくなる。
【0033】
前処理液で使用するイソシアネート化合物としては、上記に例示したものがある。このイソシアネート化合物はトルエン、メチルエチルケトン等の有機溶剤に混合して使用される。
【0034】
前処理液で使用するエポキシ化合物としては、例えばエチレングリコール、グリセリン、ペンタエリスリトール等の多価アルコールや、ポリエチレングリコール等のポリアルキレングリコールとエピクロルヒドリンのようなハロゲン含有エポキシ化合物との反応生成物や、レゾルシン、ビス(4−ヒドロキシフェニル)ジメチルメタン、フェノール.ホルムアルデヒド樹脂、レゾルシン.ホルムアルデヒド樹脂等の多価フェノール類やハロゲン含有エポキシ化合物との反応生成物などである。上記エポキシ化合物はトルエン、メチルエチルケトン等の有機溶剤に混合して使用される。
【0035】
上記接着処理を施した繊維の用途として、例えば図1に示すVリブドベルトの心線に使用される。このVリブドベルト1によると、接着ゴム層3中の撚糸コードを素材とする高強度で低伸度のコードよりなる心線2を接着ゴム層3中に埋設し、その下側に弾性体層である圧縮ゴム層4を有している。この圧縮ゴム層4にはベルト長手方向にのびる断面略三角形の複数のリブ7が設けられている。また、ベルト表面にはゴム付帆布5を設けてもよいが、設ける必要もない。
【0036】
前記圧縮ゴム層4に使用されるゴム組成物は、エチレン・α−オレフィンゴム100質量部に対して、アラミド、ナイロン、ポリステル、ビニロン、綿など短繊維を1〜50質量部、好ましくは5〜25質量部含有してもよい。
【0037】
一方、接着ゴム層3には耐熱性を有し、そして心線との接着を良好にするためにも、上記エチレン・α−オレフィンゴム組成物であって硫黄により架橋できるものを使用する。そして、それ以外に必要に応じてカーボンブラック、シリカのような増強剤、炭酸カルシウム、タルクのような充填剤、可塑剤、安定剤、加工助剤、着色剤のような通常のゴム配合に用いるものが使用される。
【0038】
上記接着ゴム層3における硫黄の添加量は、エチレン・α−オレフィンゴム100質量部に対して0.5〜3.0質量部である。
【0039】
尚、この接着ゴム層3に使用するエチレン・α−オレフィンゴムのうちEPDMは、ヨウ素価が4以上で40未満であることが好ましい。4未満であるとゴム組成物の硫黄による架橋が充分でなく、心線のポップアウトの問題が発生する。一方、40を超えると、ゴム組成物のスコーチが短くなって取扱にくくなり、また耐熱性が悪くなる。
【0040】
Vリブドベルトの製造方法の一例は以下の通りである。まず、円筒状の成形ドラムの周面に1〜複数枚のカバー帆布と接着ゴム層とを巻き付けた後、この上にロープからなる心線を螺旋状にスピニングし、更に圧縮ゴム層を順次巻きつけて積層体を得た後、これを硫黄や有機過酸化物により架橋して架橋スリーブを得る。
【0041】
次に、架橋スリーブを駆動ロールと従動ロールに掛架され所定の張力下で走行させ、更に回転させた研削ホイールを走行中の架橋スリーブに当接するように移動して架橋スリーブの圧縮ゴム層表面に3〜100個の複数の溝状部を一度に研磨する。
【0042】
このようにして得られた架橋スリーブを駆動ロールと従動ロールから取り外し、該架橋スリーブを他の駆動ロールと従動ロールに掛架して走行させ、カッターによって所定の幅に切断して個々のVリブドベルトに仕上げる。
【0043】
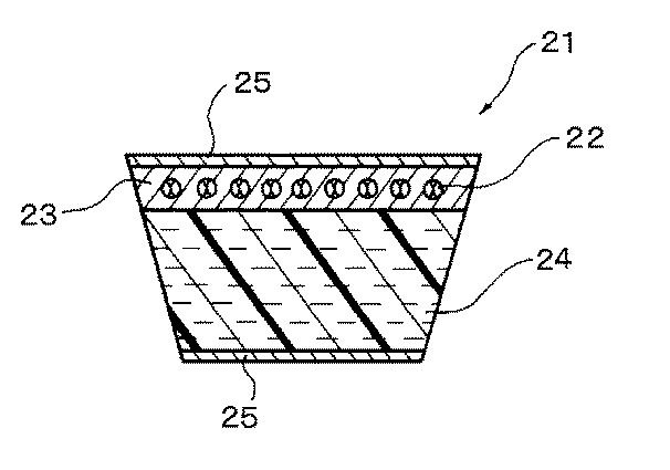
また、本発明においては、上記のVリブドベルト以外にも、図2に示すようにベルトの上下表面のみにゴム付帆布25を付着したVベルト21などの伝動ベルトも含む。このVベルト21は、心線22を接着ゴム層23中に埋設し、その下側に弾性体層である圧縮ゴム層24を有している。この圧縮ゴム層24には、コグを長手方向に沿って所定間隔で設けてもよい。
【0044】
【実施例】
以下、本発明を実施例により更に詳細に説明する。
実施例1〜3、比較例1〜5
1220dtex/1×5のポリエチレンテレフタレート(PET)の未処理撚糸コードを準備し、表1に示すプレディップ液に浸漬した後、180℃で4分間熱処理した。次に、表5に示すオーバーコート処理液に浸漬し、150℃で4分間熱処理した。オーバーコート処理液は、表2の配合ゴム並びにイソシアネートをトルエンに溶解して、作製したものである。
【0045】
【表1】
【0046】
【表2】
【0047】
【表3】
【0048】
【表4】
【0049】
【表5】
【0050】
得られたコードを表3に示す配合をもつ厚さ4mmのゴムシートの上に25mm幅に並べ、プレス板で2.0MPaの圧力をかけ、163℃で30分間加硫し、剥離試験用の試料を作製した。そして、JISK6256に従い剥離力を測定した。その結果を表6に示す。尚、表6中のステアリン酸配合量、イソシアネート配合量とは、オーバーコート処理液中のEPDMゴム成分100質量部に対する各配合量をいう。
【0051】
【表6】
【0052】
また、得られた処理コードを心線とし、接着ゴム層として表4のゴム配合、また圧縮ゴム層として表3のゴム配合を用意した。そして、円筒状の成型ドラムの周面にゴム付綿帆布を2プライと接着ゴム層を積層し、上記心線をピッチ1.03mm、張力50Nでピニングした後に圧縮ゴム層を積層し、この積層物を加硫した。加硫スリーブを駆動ロールと従動ロールに掛架して所定の張力下で走行させながら、回転中の研削ホイールを圧縮ゴム層表面に当てて複数の溝状部を研磨加工し、そして所定幅に切断してVリブドベルトを得た。
【0053】
得られたVリブドベルトはRMA規格による長さ975mmのK型3リブドベルトであり、リブピッチ3.56mm、リブ高さ2.0mm、ベルト厚さ4.3mm、リブ角度40°である。得られたベルトの接着性評価として、ベルト周方向に埋設した心線を2本引き起こし、50mm/分の速度で剥離したときの応力を求めた。その結果を表6に併記する。
【0054】
これらの結果、実施例では充分な接着性が得られるものの、ジエン含量が5%のEPDMを用いた比較例1では、ステアリン酸、イソシアネートを適量配合しても接着性が低いことが判明した。一方、ジエン含量が12.5%のEPDMを用いても、ステアリン酸、イソシアネートを適量配合していない比較例2〜5では接着性に難があることが判る。
【0055】
【発明の効果】
以上のように本願請求項記載の発明は、エチレン・α−オレフィンゴム組成物と繊維との接着物において、繊維を、ジエン含量が8〜20%であるエチレン・α−オレフィン−ジエン共重合体ゴムラテックス100質量部に、加工助剤として脂肪酸もしくは/および脂肪酸誘導体を2〜20質量部、イソシアネート化合物を5〜35質量部配合したゴム糊でオーバーコート処理した後、エチレン・α−オレフィンゴムの未加硫ゴム組成物と密着加硫せしめたことを特徴とするエチレン・α−オレフィンゴム組成物と繊維との接着体の製造方法であり、繊維とエチレン・α−オレフィンゴム組成物との加硫接着力を高めることができる。
【0056】
また、ベルト長手方向に沿って心線を埋設した接着ゴム層と、圧縮ゴム層を含む弾性体層からなる伝動ベルトにおいて、心線として、ジエン含量が8〜20%であるエチレン・α−オレフィン−ジエン共重合体ゴムラテックス100質量部に、加工助剤として脂肪酸もしくは/および脂肪酸誘導体を2〜20質量部、イソシアネート化合物を5〜35質量部配合した接着処理剤により形成した被膜を有するコードを、エチレン・α−オレフィンゴム組成物からなる接着ゴム層に埋設したことを特徴とする伝動ベルトであり、ゴム組成物と心線の接着力が高く、ひいてはベルト走行寿命が長くなる効果が期待できる。
【図面の簡単な説明】
【図1】Vリブドベルトの断面図である。
【図2】Vベルトの断面図である。
【符号の説明】
1 Vリブドベルト
2 心線
3 接着ゴム層
4 圧縮ゴム層
5 ゴム付帆布
7 リブ
【発明の属する技術分野】
本発明はエチレン・α−オレフィンゴム組成物と繊維との接着体の製造方法及び伝動ベルトに係り、詳しくは、接着力を改善したエチレン・α−オレフィンゴム組成物と繊維との接着体の製造方法及び伝動ベルトに関する。
【0002】
【従来の技術】
近年、省エネルギー化、コンパクト化の社会的要請を背景に、自動車のエンジンルーム周辺の雰囲気温度は従来に比べて上昇してきている。これにともない伝動ベルトの使用環境温度が高くなり、ベルト寿命が低下することが指摘されている。即ち、従来、伝動ベルトには天然ゴム、スチレン−ブタジエンゴム、クロロプレンゴムなどのゴム材料が使用されてきたが、高温雰囲気下では圧縮ゴム層が硬化し、早期にクラックを生じ易いという問題が発生したるものである。
【0003】
このようなベルトの早期破壊現象に対し、従来からクロロプレンゴムの耐熱性の改善が検討されてきたが、これに代わり最近ではエチレン−プロピレン系ゴム(EPR)あるいはエチレン−プロピレン−ジエン共重合体ゴム(EPDM)等のエチレン−α−オレフィンエラストマーが優れた耐熱性、耐寒性を有し、比較的に安価であるだけでなく、環境負荷物質の含有量が少ないポリマーであるとして注目されている。このポリマーは伝動ベルトへの使用も検討されつつあり、例えば特開平6−345948号公報に開示されている。
【0004】
しかしながら、エチレン−プロピレン系ゴムは引き裂き力が低く、パーオキサイド架橋系を用いると、更に引き裂き力が低下して、走行時に心線がポップアウトしやすいという問題があった。一方、硫黄架橋系を用いたものは、加硫度を十分に上げるのが困難であるため、走行時に摩耗が多くなり、特にVリブドベルトでは、摩耗紛がリブ部間の底部で蓄積され粘着摩耗を起こしやすく、これが発音を引き起こす大きな問題になっていた。また、加硫度を上げるために、分子内の二重結合量の極めて多いEPDMを用いると、粘着摩耗はある程度改善できるが、耐熱性が低下するという不具合が発生した。
【0005】
更に、問題になる点は、エチレン・α−オレフィンエラストマーと繊維コードとの接着方法にある。具体的には、繊維材料をレゾルシン−ホルマリン−スチレン−ブタジエン−ビニルピリジンラテックスとを含有するディップ液に浸漬処理した後、EPDMゴム組成物と加硫接着する方法(特許文献1参照)、またレゾルシン−ホルマリン−ゴムラテックス接着液で接着処理した繊維材料と、メチレン供与体、メチレン受容体及び珪酸化合物と配合したEPDMゴム組成物と加硫接着する方法(特許文献2参照)などが試みられてきた。また、ハロゲン化ポリマーを配合したエチレン・α−オレフィンエラストマー用接着処理剤が上市されている。それ以外にも、繊維をエチレン・α−オレフィンエラストマーラテックスからなるレゾルシン−ホルマリン−ゴムラテックス液で付着処理した後、エチレン・α−オレフィンゴムの未加硫ゴム組成物を溶剤に溶かしたゴム糊でオーバーコート処理し密着加硫せしめたエチレン・α−オレフィンゴム組成物と繊維との接着体の製造方法にあって、レゾルシン−ホルマリン−ゴムラテックス液(RFL液)に使用するエチレン・α−オレフィンゴムのジエン含量とオーバーコート処理液に使用するエチレン・α−オレフィンのジエン含量の総和が15重量%以上とした接着処理方法も提案されている。(特許文献3)
【0006】
【特許文献1】
特開平8−113657号公報
【特許文献2】
特開平8−113656号公報
【特許文献3】
特開2002−88658号公報
【0007】
【発明が解決しようとする課題】
しかし、レゾルシン−ホルマリン−スチレン−ブタジエン−ビニルピリジンラテックスを含有するディップ液で処理する場合には、接着力が改善されるが、これを伝動ベルトの心線のような繰り返し屈曲疲労をうける部位に使用した場合には、心線と接着ゴム層とが早期に剥離することがあった。
【0008】
また、メチレン供与体、メチレン受容体及び珪酸化合物と配合したEPDMゴム組成物を使用した場合でも、同様に繰り返し屈曲疲労をうける部位に使用すると、心線と接着ゴム層とが早期に剥離することがあった。
【0009】
更に、エチレン・α−オレフィンエラストマー用接着処理剤に含有されるハロゲン化ポリマーは環境負荷物質として知られており、環境問題の重要性が増す近年において好ましくない。
【0010】
またRFL、オーバーコート処理液に用いるエチレン・α−オレフィンゴムのジエン含量を規定することにより接着性は向上するが、その効果は2段階以上の接着処理を必須とするため、工程の簡略化という観点から更なる改良の余地がある。
【0011】
本発明は、これらの点を考慮し、エチレン・α−オレフィンゴム組成物と伝動ベルトの心線となる繊維コードやカバー帆布のような織物等とを良好に接着することができるエチレン・α−オレフィンゴム組成物と繊維との接着体の製造方法及び伝動ベルトを提供することを目的とする。
【0012】
【課題を解決するための手段】
即ち、本願請求項1記載の発明は、エチレン・α−オレフィンゴム組成物と繊維との接着物において、繊維を、ジエン含量が8〜20%であるエチレン・α−オレフィン−ジエン共重合体ゴムラテックス100質量部に、加工助剤として脂肪酸もしくは/および脂肪酸誘導体を2〜20質量部、イソシアネート化合物を5〜35質量部配合したゴム糊でオーバーコート処理した後、エチレン・α−オレフィンゴムの未加硫ゴム組成物と密着加硫せしめたことを特徴とする。オーバーコート処理液に、特定の加工助剤とイソシアネートを特定量配合したエチレン・α−オレフィンゴム組成物を使用することによって、繊維とエチレン・α−オレフィンゴム組成物との加硫接着力を高めることができる。またハロゲン化ポリマーを用いない為に、環境への負荷が少ないといった効果がある。
【0013】
本願請求項2記載の発明は、請求項1記載のエチレン・α−オレフィンゴム組成物と繊維との接着体の製造方法にあって、繊維はオーバーコート処理の前に、イソシアネートもしくは/およびエポキシを含む処理液で前処理が行われてなることを特徴とする。
【0014】
本願請求項3記載の発明は、請求項1または2に記載のエチレン・α−オレフィンゴム組成物と繊維との接着体の製造方法にあって、加工助剤がステアリン酸もしくは/およびステアリン酸誘導体であることを特徴とする。
【0015】
本願請求項4記載の発明は、ベルト長手方向に沿って心線を埋設した接着ゴム層と、圧縮ゴム層を含む弾性体層からなる伝動ベルトにおいて、心線として、ジエン含量が8〜20%であるエチレン・α−オレフィン−ジエン共重合体ゴムラテックス100質量部に、加工助剤として脂肪酸もしくは/および脂肪酸誘導体を2〜20質量部、イソシアネート化合物を5〜35質量部配合した接着処理剤により形成した被膜を有するコードを、エチレン・α−オレフィンゴム組成物からなる接着ゴム層に埋設したことを特徴とする。
【0016】
本願請求項5記載の発明は、請求項4記載の伝動ベルトにあって、心線は、イソシアネートもしくは/およびエポキシを含む前処理剤が含浸されてなることを特徴とする。
【0017】
本願請求項6記載の発明は、請求項4または5に記載の伝動ベルトにあって、加工助剤が、ステアリン酸もしくは/およびステアリン酸誘導体であることを特徴とする。
【0018】
本願請求項7記載の発明は、請求項4乃至6のいずれかに記載の伝動ベルトにあって、伝動ベルトが、ベルト長さ方向に沿って繊維コードをエチレン・α−オレフィンゴム組成物中に埋設した接着ゴム層と、エチレン・α−オレフィンゴム組成物で構成されたベルト長さ方向に延びる複数のリブ部を有するVリブドベルトであることを特徴とする。
【0019】
【発明の実施の形態】
本発明で使用するエチレン・α−オレフィンゴムとしては、エチレンとα−オレフィン(プロピレン、ブテン、ヘキセン、あるいはオクテン)の共重合体、あるいは、エチレンと上記α−オレフィンと非共役ジエンの共重合体であり、具体的にはエチレン−プロピレンゴム(EPM)やエチレン−プロピレン−ジエンターポリマー(EPDM)からなるゴムをいう。上記ジエン成分としては、エチリデンノルボルネン、ジシクロペンタジエン、1,4−ヘキサジエン、シクロオクタジエン、メチレンノルボルネンなどの炭素原子数5〜15の非共役ジエンが挙げられる。
【0020】
上記ゴムの架橋には、硫黄や有機過酸化物が使用される。有機過酸化物としては、例えばジクミルパーオキサイド、ジ−t−ブチルパーオキサイド、t−ブチルクミルパーオキサイド、ベンゾイルパーオキサイド、1,3−ビス(t−ブチルパーオキシイソプロピル)ベンゼン、2,5−ジメチル−2,5−ジ(t−ブチルパーオキシ)ヘキシン−3、2,5−ジメチル−2,5−(ベンゾイルパーオキシ)ヘキサン、2,5−ジメチル−2,5−モノ(t−ブチルパーオキシ)ヘキサン等を挙げることができる。この有機過酸化物は、単独もしくは混合物として、通常エチレン−α−オレフィンエラストマー100gに対して0.005〜0.02モルgの範囲で使用される。
【0021】
また、架橋助剤(co−agent)を配合することによって、架橋度を上げて粘着摩耗等の問題を防止することができる。架橋助剤として挙げられるものとしては、TIAC、TAC、1,2ポリブタジエン、不飽和カルボン酸の金属塩、オキシム類、グアニジン、トリメチロールプロパントリメタクリレート、エチレングリコールジメタクリレート、N−N’−m−フェニレンビスマレイミド、硫黄など通常パーオキサイド架橋に用いるものである。
【0022】
そして、それ以外に必要に応じてカーボンブラック、シリカのような増強剤、炭酸カルシウム、タルクのような充填剤、可塑剤、安定剤、加工助剤、着色剤のような通常のゴム配合物に使用されるものが使用される。
【0023】
本発明で使用する繊維は、アラミド繊維、ポリエチレンテレフタレート繊維(PET繊維)、ポリエチレンナフタレート繊維(PEN繊維)のようなポリエステル繊維であり、その形態としてのコード、織物が使用される。
【0024】
使用する繊維は、下記方法によって接着処理される。
即ち、繊維を、ジエン含量が8〜20%であるエチレン・α−オレフィン−ジエン共重合体ゴムラテックス100質量部に、加工助剤として脂肪酸もしくは/および脂肪酸誘導体を2〜25質量部、イソシアネート化合物を5〜35質量部配合したゴム糊でオーバーコート処理した後、エチレン・α−オレフィンゴムの未加硫ゴム組成物と密着加硫せしめる。尚、オーバーコート処理の前に、イソシアネートもしくは/およびエポキシを含む処理液で前処理することが接着力を高める上で好ましい。前処理では、未処理の繊維を室温に設定したイソシアネートもしくは/およびエポキシを含む処理液に0.5〜30秒間浸漬した後、150〜190℃に調節したオーブンに2〜5分間通して乾燥される。
【0025】
エチレン・α−オレフィン−ジエン共重合体ゴムとは、エチレンとα−オレフィン(プロピレン、ブテン、ヘキセン、あるいはオクテン)の共重合体、あるいは、エチレンと上記α−オレフィンと非共役ジエンの共重合体であり、具体的にはエチレン−プロピレンゴム(EPM)やエチレン−プロピレン−ジエンターポリマー(EPDM)からなるゴムをいう。上記ジエン成分としては、エチリデンノルボルネン、ジシクロペンタジエン、1,4−ヘキサジエン、シクロオクタジエン、メチレンノルボルネンなどの炭素原子数5〜15の非共役ジエンが挙げられる。尚、エチレン・α−オレフィン−ジエン共重合体ゴムとしては、ジエン含量が8〜20%のものを用いられる。8%未満では、接着性の改善がみられず、一方20%を超えると、ゴム物性の低下がみられる。
【0026】
上記ゴムラテックスの製造方法としては以下の2種類あり、一つは、固形ポリマーを溶剤に溶かした後、相変化させて水に乳化分散させ、ラテックスとする方法で、もう一つは、乳化させたモノマーを重合してそのままラテックスとする方法である。後述の実施例では前者の方法で製造したエチレン−プロピレン−ジエンモノマーラテックスを用いているが、いずれの方法で製造したものでもよい。
【0027】
イソシアネートとしては、例えば4,4’−ジフェニルメタンジイソシアネート、トリレン2,4−ジイソシアネート、ポリメチレンポリフェニルジイソシアネート、ヘキサメチレンジイソシアネート、ポリアリールポリイソシアネート(例えば商品名としてPAPIがある)等がある。また、上記イソシアネートにフェノール類、第3級アルコール類、第2級アルコール類等のブロック化剤を反応させてポリイソシアネートのイソシアネート基をブロック化したブロック化ポリイソシアネートも使用可能である。その配合量はエチレン・α−オレフィンゴム100質量部に対して5〜35質量部である。5質量部未満では、高温時における未加硫ゴムとの接着が不十分であり、一方35質量部を超えると、接着力の低下を招く。
【0028】
加工助剤としては、脂肪酸もしくは/および脂肪酸誘導体が用いられる。具体的には、ラウリル酸、パルチミン酸、ステアリン酸、ベヘン酸、オレイン酸、エルカ酸などの高級脂肪酸、ならびにこれら脂肪酸の金属塩、エステル、アマイドなどが挙げられ、これらは単独に限らず併用することができる。なかでもステアリン酸、およびステアリン酸誘導体が汎用的である。また脂肪酸金属塩に加えて、パラフィン類、多価カルボン酸エステルを混合した加工助剤などを用いることも接着性を高める上で好適である。該加工助剤は、ゴム配合剤の分散性並びにゴム組成物の作業性を向上させるとともに、前記加工助剤を配合したエチレン・α−オレフィン組成物をオーバーコート処理に用いた場合、接着性の改善に効果がある。その配合量はエチレン・α−オレフィンゴム100質量部に対して2〜20質量部添加することが好ましい。2質量部未満では、未加硫ゴムとの接着が不十分であり、一方20質量部を超えると、逆に接着力の低下を招く。
【0029】
また必要に応じてシリカ、カーボンブラック、加硫促進剤等を含めることができる。シリカとしては、含水シリカを含み、粒子径、PH等は限定しない。その添加量はエチレン・α−オレフィンゴム100質量部に対して、5〜40質量部である。5質量部未満では、未加硫ゴムとの接着が不十分であり、一方40質量部を超えると、ゴムの粘度が上昇して繊維への浸透性が劣り、接着力が低下する。
【0030】
カーボンブラックの種類としては、SAF、ISAF、HAF、FF、FEF、GPF、SRF、FT、MT等があり、特に規定しない。その添加量はエチレン・α−オレフィンゴム100質量部に対して、5〜50質量部である。5質量部未満では、処理繊維の経時接着力の低下が大きく、また50質量部を超えると、ゴムの粘度が上昇して繊維への浸透性が劣り、接着力が低下する。
【0031】
またレゾルシンとホルマリンの初期縮合物を添加しても良い。この場合レゾルシンとホルマリンのモル比は1:2〜2:1にすることが接着力を高める上で好適である。モル比が1/2未満では、レゾルシン−ホルマリン樹脂の三次元化反応が進み過ぎてゲル化し、一方2/1を超えると、逆にレゾルシンとホルマリンの反応があまり進まないため、接着力が低下する。
【0032】
オーバーコート処理液に使用するゴム組成物中のエチレン・α−オレフィンゴム分は60〜90質量%である。60質量%未満では、繊維への浸透性が劣り、接着力が低下し、他方90質量%を超えると、処理繊維の経時接着力の低下が大きくなる。
【0033】
前処理液で使用するイソシアネート化合物としては、上記に例示したものがある。このイソシアネート化合物はトルエン、メチルエチルケトン等の有機溶剤に混合して使用される。
【0034】
前処理液で使用するエポキシ化合物としては、例えばエチレングリコール、グリセリン、ペンタエリスリトール等の多価アルコールや、ポリエチレングリコール等のポリアルキレングリコールとエピクロルヒドリンのようなハロゲン含有エポキシ化合物との反応生成物や、レゾルシン、ビス(4−ヒドロキシフェニル)ジメチルメタン、フェノール.ホルムアルデヒド樹脂、レゾルシン.ホルムアルデヒド樹脂等の多価フェノール類やハロゲン含有エポキシ化合物との反応生成物などである。上記エポキシ化合物はトルエン、メチルエチルケトン等の有機溶剤に混合して使用される。
【0035】
上記接着処理を施した繊維の用途として、例えば図1に示すVリブドベルトの心線に使用される。このVリブドベルト1によると、接着ゴム層3中の撚糸コードを素材とする高強度で低伸度のコードよりなる心線2を接着ゴム層3中に埋設し、その下側に弾性体層である圧縮ゴム層4を有している。この圧縮ゴム層4にはベルト長手方向にのびる断面略三角形の複数のリブ7が設けられている。また、ベルト表面にはゴム付帆布5を設けてもよいが、設ける必要もない。
【0036】
前記圧縮ゴム層4に使用されるゴム組成物は、エチレン・α−オレフィンゴム100質量部に対して、アラミド、ナイロン、ポリステル、ビニロン、綿など短繊維を1〜50質量部、好ましくは5〜25質量部含有してもよい。
【0037】
一方、接着ゴム層3には耐熱性を有し、そして心線との接着を良好にするためにも、上記エチレン・α−オレフィンゴム組成物であって硫黄により架橋できるものを使用する。そして、それ以外に必要に応じてカーボンブラック、シリカのような増強剤、炭酸カルシウム、タルクのような充填剤、可塑剤、安定剤、加工助剤、着色剤のような通常のゴム配合に用いるものが使用される。
【0038】
上記接着ゴム層3における硫黄の添加量は、エチレン・α−オレフィンゴム100質量部に対して0.5〜3.0質量部である。
【0039】
尚、この接着ゴム層3に使用するエチレン・α−オレフィンゴムのうちEPDMは、ヨウ素価が4以上で40未満であることが好ましい。4未満であるとゴム組成物の硫黄による架橋が充分でなく、心線のポップアウトの問題が発生する。一方、40を超えると、ゴム組成物のスコーチが短くなって取扱にくくなり、また耐熱性が悪くなる。
【0040】
Vリブドベルトの製造方法の一例は以下の通りである。まず、円筒状の成形ドラムの周面に1〜複数枚のカバー帆布と接着ゴム層とを巻き付けた後、この上にロープからなる心線を螺旋状にスピニングし、更に圧縮ゴム層を順次巻きつけて積層体を得た後、これを硫黄や有機過酸化物により架橋して架橋スリーブを得る。
【0041】
次に、架橋スリーブを駆動ロールと従動ロールに掛架され所定の張力下で走行させ、更に回転させた研削ホイールを走行中の架橋スリーブに当接するように移動して架橋スリーブの圧縮ゴム層表面に3〜100個の複数の溝状部を一度に研磨する。
【0042】
このようにして得られた架橋スリーブを駆動ロールと従動ロールから取り外し、該架橋スリーブを他の駆動ロールと従動ロールに掛架して走行させ、カッターによって所定の幅に切断して個々のVリブドベルトに仕上げる。
【0043】
また、本発明においては、上記のVリブドベルト以外にも、図2に示すようにベルトの上下表面のみにゴム付帆布25を付着したVベルト21などの伝動ベルトも含む。このVベルト21は、心線22を接着ゴム層23中に埋設し、その下側に弾性体層である圧縮ゴム層24を有している。この圧縮ゴム層24には、コグを長手方向に沿って所定間隔で設けてもよい。
【0044】
【実施例】
以下、本発明を実施例により更に詳細に説明する。
実施例1〜3、比較例1〜5
1220dtex/1×5のポリエチレンテレフタレート(PET)の未処理撚糸コードを準備し、表1に示すプレディップ液に浸漬した後、180℃で4分間熱処理した。次に、表5に示すオーバーコート処理液に浸漬し、150℃で4分間熱処理した。オーバーコート処理液は、表2の配合ゴム並びにイソシアネートをトルエンに溶解して、作製したものである。
【0045】
【表1】
【0046】
【表2】
【0047】
【表3】
【0048】
【表4】
【0049】
【表5】
【0050】
得られたコードを表3に示す配合をもつ厚さ4mmのゴムシートの上に25mm幅に並べ、プレス板で2.0MPaの圧力をかけ、163℃で30分間加硫し、剥離試験用の試料を作製した。そして、JISK6256に従い剥離力を測定した。その結果を表6に示す。尚、表6中のステアリン酸配合量、イソシアネート配合量とは、オーバーコート処理液中のEPDMゴム成分100質量部に対する各配合量をいう。
【0051】
【表6】
【0052】
また、得られた処理コードを心線とし、接着ゴム層として表4のゴム配合、また圧縮ゴム層として表3のゴム配合を用意した。そして、円筒状の成型ドラムの周面にゴム付綿帆布を2プライと接着ゴム層を積層し、上記心線をピッチ1.03mm、張力50Nでピニングした後に圧縮ゴム層を積層し、この積層物を加硫した。加硫スリーブを駆動ロールと従動ロールに掛架して所定の張力下で走行させながら、回転中の研削ホイールを圧縮ゴム層表面に当てて複数の溝状部を研磨加工し、そして所定幅に切断してVリブドベルトを得た。
【0053】
得られたVリブドベルトはRMA規格による長さ975mmのK型3リブドベルトであり、リブピッチ3.56mm、リブ高さ2.0mm、ベルト厚さ4.3mm、リブ角度40°である。得られたベルトの接着性評価として、ベルト周方向に埋設した心線を2本引き起こし、50mm/分の速度で剥離したときの応力を求めた。その結果を表6に併記する。
【0054】
これらの結果、実施例では充分な接着性が得られるものの、ジエン含量が5%のEPDMを用いた比較例1では、ステアリン酸、イソシアネートを適量配合しても接着性が低いことが判明した。一方、ジエン含量が12.5%のEPDMを用いても、ステアリン酸、イソシアネートを適量配合していない比較例2〜5では接着性に難があることが判る。
【0055】
【発明の効果】
以上のように本願請求項記載の発明は、エチレン・α−オレフィンゴム組成物と繊維との接着物において、繊維を、ジエン含量が8〜20%であるエチレン・α−オレフィン−ジエン共重合体ゴムラテックス100質量部に、加工助剤として脂肪酸もしくは/および脂肪酸誘導体を2〜20質量部、イソシアネート化合物を5〜35質量部配合したゴム糊でオーバーコート処理した後、エチレン・α−オレフィンゴムの未加硫ゴム組成物と密着加硫せしめたことを特徴とするエチレン・α−オレフィンゴム組成物と繊維との接着体の製造方法であり、繊維とエチレン・α−オレフィンゴム組成物との加硫接着力を高めることができる。
【0056】
また、ベルト長手方向に沿って心線を埋設した接着ゴム層と、圧縮ゴム層を含む弾性体層からなる伝動ベルトにおいて、心線として、ジエン含量が8〜20%であるエチレン・α−オレフィン−ジエン共重合体ゴムラテックス100質量部に、加工助剤として脂肪酸もしくは/および脂肪酸誘導体を2〜20質量部、イソシアネート化合物を5〜35質量部配合した接着処理剤により形成した被膜を有するコードを、エチレン・α−オレフィンゴム組成物からなる接着ゴム層に埋設したことを特徴とする伝動ベルトであり、ゴム組成物と心線の接着力が高く、ひいてはベルト走行寿命が長くなる効果が期待できる。
【図面の簡単な説明】
【図1】Vリブドベルトの断面図である。
【図2】Vベルトの断面図である。
【符号の説明】
1 Vリブドベルト
2 心線
3 接着ゴム層
4 圧縮ゴム層
5 ゴム付帆布
7 リブ
Claims (7)
- エチレン・α−オレフィンゴム組成物と繊維との接着物において、繊維を、ジエン含量が8〜20%であるエチレン・α−オレフィン−ジエン共重合体ゴムラテックス100質量部に、加工助剤として脂肪酸もしくは/および脂肪酸誘導体を2〜20質量部、イソシアネート化合物を5〜35質量部配合したゴム糊でオーバーコート処理した後、エチレン・α−オレフィンゴムの未加硫ゴム組成物と密着加硫せしめたことを特徴とするエチレン・α−オレフィンゴム組成物と繊維との接着体の製造方法。
- 繊維はオーバーコート処理の前に、イソシアネート化合物もしくは/およびエポキシ化合物を含む処理液で前処理が行われてなる請求項1記載のエチレン・α−オレフィンゴム組成物と繊維との接着体の製造方法。
- 加工助剤が、ステアリン酸もしくは/およびステアリン酸誘導体である請求項1または2に記載のエチレン・α−オレフィンゴム組成物と繊維との接着体の製造方法。
- ベルト長手方向に沿って心線を埋設した接着ゴム層と、圧縮ゴム層を含む弾性体層からなる伝動ベルトにおいて、心線として、ジエン含量が8〜20%であるエチレン・α−オレフィン−ジエン共重合体ゴムラテックス100質量部に、加工助剤として脂肪酸もしくは/および脂肪酸誘導体を2〜20質量部、イソシアネート化合物を5〜35質量部配合した接着処理剤により形成した被膜を有するコードを、エチレン・α−オレフィンゴム組成物からなる接着ゴム層に埋設したことを特徴とする伝動ベルト。
- 心線は、イソシアネート化合物もしくは/およびエポキシ化合物を含む前処理剤が含浸されてなる請求項6記載の伝動ベルト。
- 加工助剤が、ステアリン酸もしくは/およびステアリン酸誘導体である請求項4または5に記載の伝動ベルト。
- 伝動ベルトが、ベルト長さ方向に沿って繊維コードをエチレン・α−オレフィンゴム組成物中に埋設した接着ゴム層と、エチレン・α−オレフィンゴム組成物で構成されたベルト長さ方向に延びる複数のリブ部を有するVリブドベルトである請求項4乃至6のいずれかに記載の伝動ベルト。
Priority Applications (1)
| Application Number | Priority Date | Filing Date | Title |
|---|---|---|---|
| JP2002319062A JP2004149727A (ja) | 2002-10-31 | 2002-10-31 | エチレン・α−オレフィンゴム組成物と繊維との接着体の製造方法及び伝動ベルト |
Applications Claiming Priority (1)
| Application Number | Priority Date | Filing Date | Title |
|---|---|---|---|
| JP2002319062A JP2004149727A (ja) | 2002-10-31 | 2002-10-31 | エチレン・α−オレフィンゴム組成物と繊維との接着体の製造方法及び伝動ベルト |
Related Child Applications (1)
| Application Number | Title | Priority Date | Filing Date |
|---|---|---|---|
| JP2008012137A Division JP4685888B2 (ja) | 2008-01-23 | 2008-01-23 | 伝動ベルト |
Publications (1)
| Publication Number | Publication Date |
|---|---|
| JP2004149727A true JP2004149727A (ja) | 2004-05-27 |
Family
ID=32462005
Family Applications (1)
| Application Number | Title | Priority Date | Filing Date |
|---|---|---|---|
| JP2002319062A Pending JP2004149727A (ja) | 2002-10-31 | 2002-10-31 | エチレン・α−オレフィンゴム組成物と繊維との接着体の製造方法及び伝動ベルト |
Country Status (1)
| Country | Link |
|---|---|
| JP (1) | JP2004149727A (ja) |
Cited By (1)
| Publication number | Priority date | Publication date | Assignee | Title |
|---|---|---|---|---|
| US7824284B2 (en) | 2007-11-29 | 2010-11-02 | The Gates Corporation | Power transmission belt and cord adhesive system and adhesion method |
-
2002
- 2002-10-31 JP JP2002319062A patent/JP2004149727A/ja active Pending
Cited By (1)
| Publication number | Priority date | Publication date | Assignee | Title |
|---|---|---|---|---|
| US7824284B2 (en) | 2007-11-29 | 2010-11-02 | The Gates Corporation | Power transmission belt and cord adhesive system and adhesion method |
Similar Documents
| Publication | Publication Date | Title |
|---|---|---|
| JP5236980B2 (ja) | ベルト及びベルトの製造方法 | |
| US6524417B2 (en) | Method of bonding an ethylene•α-olefin rubber composition and a fiber and a power transmission belt made using the method | |
| JP2008261473A (ja) | 動力伝動ベルト | |
| CN100591948C (zh) | 传动带 | |
| WO2005116482A1 (ja) | 伝動ベルトとその製造方法 | |
| JP3403938B2 (ja) | ゴム組成物およびこれを用いた伝動ベルト | |
| JP2003012871A (ja) | 短繊維含有ゴム組成物及びこれを用いた動力伝動用ベルト | |
| JP2004292735A (ja) | エチレン・α−オレフィンゴム組成物と繊維との接着体の製造方法及び伝動ベルト | |
| JP2003314624A (ja) | 動力伝動用ベルト及びその製造方法 | |
| JP4685888B2 (ja) | 伝動ベルト | |
| JP2003194152A (ja) | Vリブドベルト | |
| JP4907807B2 (ja) | エチレン・α−オレフィンゴム組成物と繊維との接着体の製造方法及び伝動ベルト | |
| JP2004149728A (ja) | エチレン・α−オレフィンゴム組成物と繊維との接着体の製造方法及び伝動ベルト | |
| JP2002257199A (ja) | 動力伝動ベルト | |
| JP2004149727A (ja) | エチレン・α−オレフィンゴム組成物と繊維との接着体の製造方法及び伝動ベルト | |
| JP2006064015A (ja) | 摩擦伝動ベルト及び摩擦伝動ベルトの製造方法 | |
| JP4820107B2 (ja) | 伝動ベルト | |
| JP2007009966A (ja) | 伝動ベルト | |
| JP2003027376A (ja) | エチレン・α−オレフィンゴム組成物と繊維との接着物及びこれを用いた伝動ベルト | |
| JP2006124484A (ja) | エチレン・α−オレフィンゴム組成物と繊維との接着体の製造方法及び動力伝動ベルト | |
| JP4886223B2 (ja) | 伝動ベルト | |
| JP2003292634A (ja) | エチレン・α−オレフィンゴム組成物と繊維との接着体の製造方法及び伝動ベルト | |
| JP4416060B2 (ja) | 動力伝動用ベルト | |
| JP2002088658A (ja) | エチレン・α−オレフィンゴム組成物と繊維との接着体の製造方法及び動力伝動ベルト | |
| JP2000234277A (ja) | エチレン・α−オレフィンゴム組成物と繊維コードとの接着方法 |
Legal Events
| Date | Code | Title | Description |
|---|---|---|---|
| A621 | Written request for application examination |
Effective date: 20051017 Free format text: JAPANESE INTERMEDIATE CODE: A621 |
|
| A977 | Report on retrieval |
Free format text: JAPANESE INTERMEDIATE CODE: A971007 Effective date: 20071026 |
|
| A131 | Notification of reasons for refusal |
Effective date: 20071127 Free format text: JAPANESE INTERMEDIATE CODE: A131 |
|
| A02 | Decision of refusal |
Free format text: JAPANESE INTERMEDIATE CODE: A02 Effective date: 20080422 |
