JP2004088748A - 自動車用高周波ガラスアンテナ - Google Patents

自動車用高周波ガラスアンテナ Download PDF

Info

Publication number
JP2004088748A
JP2004088748A JP2003181065A JP2003181065A JP2004088748A JP 2004088748 A JP2004088748 A JP 2004088748A JP 2003181065 A JP2003181065 A JP 2003181065A JP 2003181065 A JP2003181065 A JP 2003181065A JP 2004088748 A JP2004088748 A JP 2004088748A
Authority
JP
Japan
Prior art keywords
conductor
loop
main antenna
glass plate
ground
Prior art date
Legal status (The legal status is an assumption and is not a legal conclusion. Google has not performed a legal analysis and makes no representation as to the accuracy of the status listed.)
Granted
Application number
JP2003181065A
Other languages
English (en)
Other versions
JP4055665B2 (ja
Inventor
Masahito Kubota
窪田 聖人
Current Assignee (The listed assignees may be inaccurate. Google has not performed a legal analysis and makes no representation or warranty as to the accuracy of the list.)
AGC Inc
Original Assignee
Asahi Glass Co Ltd
Priority date (The priority date is an assumption and is not a legal conclusion. Google has not performed a legal analysis and makes no representation as to the accuracy of the date listed.)
Filing date
Publication date
Application filed by Asahi Glass Co Ltd filed Critical Asahi Glass Co Ltd
Priority to JP2003181065A priority Critical patent/JP4055665B2/ja
Publication of JP2004088748A publication Critical patent/JP2004088748A/ja
Application granted granted Critical
Publication of JP4055665B2 publication Critical patent/JP4055665B2/ja
Anticipated expiration legal-status Critical
Expired - Lifetime legal-status Critical Current

Links

Images

Landscapes

  • Fittings On The Vehicle Exterior For Carrying Loads, And Devices For Holding Or Mounting Articles (AREA)
  • Details Of Aerials (AREA)

Abstract

【課題】充分な視野が確保され、FM放送帯の感度の平坦性が向上する。
【解決手段】給電点3aとアース点4aとは窓ガラス板1の周縁部近傍に配設され、主アンテナ導体3は給電点3aを起点として、窓ガラス板1の略中心が内側になるように反時計回り方向に伸長され、主アンテナ導体3の2箇所がループ構成導体5aにより接続され主アンテナ導体1とループ構成導体5aとでループ状導体を構成しており、アース導体4aが主アンテナ導体3及びループ構成導体5aと近接して容量結合される。
【選択図】図1

Description

【0001】
【発明の属する技術分野】
本発明は、日本のFM放送帯(76〜90MHz)、米国のFM放送帯(88〜108MHz)の受信に適している自動車用高周波ガラスアンテナに関する。以下、日本のラジオFM放送帯及び米国のラジオFM放送帯を単にFM放送帯という。
【0002】
【従来の技術】
図2に示す放送受信用の自動車の後部サイド窓ガラス板1に設けられた自動車用高周波ガラスアンテナが従来より実施されている。図2において、後部サイド窓ガラス板1には、アンテナ導体23及び給電点23aが設けられている。アンテナ導体23は、導電性銀ペーストなどの導電性金属含有ペーストを後部サイド窓ガラス板1の車内側表面にプリントし、焼き付けて形成するなどの方法により製造される導体パターンであり、アンテナ導体23をアンテナとして利用する。
【0003】
この従来例では、アンテナ導体23が受信した信号は、給電点23aから同軸ケーブル(不図示)にてFM用の前置増幅器(不図示)まで伝送される。この前置増幅器は受信信号を増幅して、同軸ケーブルにて受信機(不図示)まで伝送している。アンテナ導体23はFM放送用アンテナのみならず、AM放送用アンテナとしても機能している。
【0004】
なお、受信の際、図2に示す自動車用高周波ガラスアンテナは、給電点の受信信号を受信機に送る単極アンテナとして機能する。図2に示す自動車用高周波ガラスアンテナでは、給電点と同軸ケーブルの内部導体を接続し、金属製の車体に同軸ケーブルの外部導体を接続する。
【0005】
図2に示す自動車用高周波ガラスアンテナでは、アンテナ導体23の導体長が充分でなく、FM放送帯の感度が悪い問題があった。さらに、後部サイド窓ガラス板1の略中心近傍にアンテナ導体23のパターンが配設されているため、視界が悪い問題があった。
【0006】
さらに、自動車の後部窓ガラス板にアンテナ導体とアース導体とを設けた双極アンテナも報告されているが(例えば、特許文献1参照)、アンテナ導体とアース導体との間の視野が悪い問題があった。
【0007】
【特許文献1】
特開平7−240614号公報
【0008】
【発明が解決しようとする課題】
本発明は、従来技術の有する前述の欠点を解消する自動車用高周波ガラスアンテナの提供を目的とする。
【0009】
【課題を解決するための手段】
本発明は、主アンテナ導体、アース導体、主アンテナ導体の給電点及びアース導体のアース点が自動車の窓ガラス板に設けられている自動車用高周波ガラスアンテナにおいて、
給電点とアース点とは窓ガラス板の周縁部近傍又は車体開口縁近傍に配設され、
車内側又は車外側から見て、
主アンテナ導体は給電点を起点として反時計回り方向に伸長されており、
主アンテナ導体の2箇所がループ構成導体により接続されて主アンテナ導体及びループ構成導体でループ状導体を構成しているか、又は、主アンテナ導体の1箇所及び給電点がループ構成導体により接続されて主アンテナ導体、ループ構成導体及び給電点でループ状導体を構成しているかしており、
アース導体の一部又は全部が主アンテナ導体、ループ構成導体及び給電点から選ばれる少なくとも一つと近接して容量結合されていることを特徴とする自動車用高周波ガラスアンテナを提供する。
【0010】
また、本発明は、主アンテナ導体、アース導体、主アンテナ導体の給電点及びアース導体のアース点が自動車の窓ガラス板に設けられている自動車用高周波ガラスアンテナにおいて、
給電点とアース点とは窓ガラス板の周縁部近傍又は車体開口縁近傍に配設され、
車内側又は車外側から見て、
主アンテナ導体は給電点を起点として反時計回り方向に伸長されており、
主アンテナ導体の2箇所が第1のループ構成導体により接続されて主アンテナ導体及び第1のループ構成導体でループ状導体を構成しているか、又は、主アンテナ導体の1箇所及び給電点が第1のループ構成導体により接続されて主アンテナ導体、第1のループ構成導体及び給電点で第1のループ状導体を構成しており、
第1のループ状導体に含まれない主アンテナ導体の2箇所が第2のループ構成導体により接続されて、主アンテナ導体と第2のループ構成導体とで第2のループ状導体を構成しており、
アース導体の一部又は全部が、主アンテナ導体、第1のループ構成導体、第2のループ構成導体及び給電点から選ばれる少なくとも一つと近接して容量結合されていることを特徴とする自動車用高周波ガラスアンテナを提供する。
【0011】
また、本発明は、主アンテナ導体、アース導体、主アンテナ導体の給電点及びアース導体のアース点が自動車の窓ガラス板に設けられている自動車用高周波ガラスアンテナにおいて、
給電点及びアース点は窓ガラス板の周縁部近傍又は車体開口縁近傍に配設され、
車内側又は車外側から見て、
主アンテナ導体は給電点を起点として窓ガラス板の周縁部又は車体開口縁にほぼ沿って反時計回り方向に、少なくとも窓ガラス板の下辺まで伸長されており、主アンテナ導体の2箇所がループ構成導体により接続されて主アンテナ導体及びループ構成導体でループ状導体を構成しているか、又は、主アンテナ導体の1箇所及び給電点がループ構成導体により接続されて主アンテナ導体、ループ構成導体及び給電点でループ状導体を構成しているかしており、
アース点を起点として伸長されているアース導体の一部又は全部が、主アンテナ導体の下辺及びループ構成導体から選ばれる少なくとも一つと近接して容量結合されていることを特徴とする自動車用高周波ガラスアンテナを提供する。
【0012】
また、本発明は、主アンテナ導体、アース導体、主アンテナ導体の給電点及びアース導体のアース点が自動車の窓ガラス板に設けられている自動車用高周波ガラスアンテナにおいて、
給電点及びアース点は窓ガラス板の周縁部近傍又は車体開口縁近傍に配設され、給電点は前記窓ガラス板の上下略中心より上方に配されており、
車内側又は車外側から見て、
主アンテナ導体は給電点を起点として窓ガラス板の周縁部又は車体開口縁にほぼ沿って反時計回り方向に、少なくとも窓ガラス板の下辺まで伸長されており、窓ガラス板の上下略中心より上方の主アンテナ導体の2箇所が第1のループ構成導体により接続されて主アンテナ導体及び第1のループ構成導体でループ状導体を構成しているか、又は、窓ガラス板の上下略中心より上方の主アンテナ導体の1箇所及び給電点が第1のループ構成導体により接続されて主アンテナ導体、第1のループ構成導体及び給電点で第1のループ状導体を構成しており、
第1のループ状導体に含まれない、かつ、窓ガラス板の上下略中心より、下方の主アンテナ導体の2箇所が第2のループ構成導体により接続されて、主アンテナ導体と第2のループ構成導体とで第2のループ状導体を構成しており、
アース点を起点として伸長されているアース導体の一部又は全部が、主アンテナ導体の下辺、第1のループ構成導体及び第2のループ構成導体から選ばれる少なくとも一つと近接して容量結合されていることを特徴とする自動車用高周波ガラスアンテナを提供する。
【0013】
【発明の実施の形態】
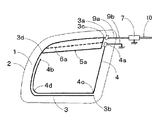
以下、本発明を図面に従って詳細に説明する。図1は本発明の自動車用高周波ガラスアンテナの一実施例の構成図である。図1及び後述する各図において、方向は図面上での方向をいうものとする。
【0014】
本発明の自動車用窓ガラスアンテナが設けられる窓ガラス板は、前部サイド窓ガラス板、後部窓ガラス板、前部窓ガラス板、ルーフ窓ガラス板等どのようなものであってもよいが、図1では窓ガラス板として後部サイド窓ガラス板を用いることとする。したがって、後述する説明中で後部サイド窓ガラス板を上記他の窓ガラス板で読み替えることができるものとする。
【0015】
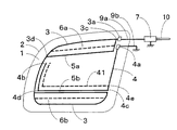
図1において、1は自動車の後部サイド窓ガラス板、2は車体開口縁、3は主アンテナ導体、3aは主アンテナ導体3の給電点、3bは主アンテナ導体3の先端部(開放端)、3cは主アンテナ導体3の第1の箇所、3dは主アンテナ導体3の第2の箇所、4はアース導体、4aはアース点、4bはアース導体4の先端部(開放端)、4cはアース導体4の曲折していう箇所、4dはアース導体4が曲がっている箇所、5aはループ構成導体、6aは補助ループ構成導体(点線)、7はアンテナ周辺回路、9aは給電点3a側のリード線、9bはアース点4a側のリード線、10は同軸ケーブルである。
【0016】
なお、以下の説明において、特記しない場合には、方向は図面上での方向をいうものとする。また、本発明において、通常、車体開口縁2は後部サイド窓ガラス板1の周縁部より若干小さい寸法(通常数cm)となり、後部サイド窓ガラス板1の周縁部に沿って形状が定められるため、主アンテナ導体3、給電点3a、アース導体4及びアース点4aの配置の以下の説明において、車体開口縁2を後部サイド窓ガラス板1の周縁部で読み替えることができるものとする。
【0017】
本発明では、主アンテナ導体3、アース導体4、給電点3a及びアース点4aが後部サイド窓ガラス板1に設けられている。給電点3aとアース点4aとは車体開口縁2近傍に配設されている。
【0018】
主アンテナ導体3は給電点3aを起点として、サイド窓ガラス板1の略中心が内側になるように反時計回り方向に伸長されている。図1に示す例では、主アンテナ導体3は給電点3aを起点として後部サイド窓ガラス板1の周縁部にほぼ沿って反時計回り方向に、車体開口縁2の下辺まで伸長され、その先端部3bは車体開口縁2の右下角近傍まで達している。しかし、これに限定されず、主アンテナ導体3が車体開口縁2の左辺まで伸長されていれば使用できる。
【0019】
図1に示す例では、主アンテナ導体3の第1の箇所3cと第2の箇所3dとの2箇所がループ構成導体5aにより接続されて主アンテナ導体3とループ構成導体5aとでループ状導体を構成している。しかし、これに限定されず、給電点3aと第2の箇所3dとの2箇所とがループ構成導体5aにより接続されて主アンテナ導体3、給電点3a及びループ構成導体5aとでループ状導体を構成してもよい。図1に示す例では、所望の受信周波数帯の中域及び高域の感度を向上させることができる。補助ループ構成導体6aは必要に応じて設けられ、主アンテナ導体3の箇所とループ構成導体5aの箇所とを結線している。補助ループ構成導体を設ける理由については、後述する。
【0020】
給電点3aと第2の箇所3dとの2箇所とがループ構成導体5aにより接続される場合には、主アンテナ導体3の任意箇所又はループ構成導体5aの任意箇所と、給電点3aとを補助ループ構成導体6aにより結線してもよい。
【0021】
本発明において、ループ状導体を備える理由は、通常、一つのガラスアンテナで所望の受信周波数帯の全域をカバーすることは困難であり、所望の受信周波数帯の中心付近の周波数の感度を上昇させようとすると、所望の受信周波数帯の低域及び高域の感度が下降する。
【0022】
本発明において、仮に主アンテナ導体3を半分に分割し、給電点3aに近い領域と、主アンテナ導体3の先端部3bに近い領域とに分けるとすると、給電点3aに近い領域に配設されているループ状導体は、所望の受信周波数帯の高域の感度向上に寄与する。主アンテナ導体3の先端部3bに近い領域に配設されているループ状導体は、所望の受信周波数帯の低域の感度向上に寄与する。
【0023】
本発明において、必要に応じて補助ループ構成導体が設けられる。補助ループ構成導体はループ状導体の2箇所を結び接続する。補助ループ構成導体が一つ設けられることにより、ループ状導体が2つに分割され、2つのループが構成される。補助ループ構成導体は、複数本設けられてもよい。補助ループ構成導体が複数本設けられる場合には、新たに設けられる補助ループ構成導体が、ループ状導体の2箇所、既に設けられている補助ループ構成導体の箇所とループ状導体の箇所又は補助ループ構成導体の2箇所を結び接続するものであってもよい。補助ループ状導体を備えることにより、所望の受信周波数帯の低域又は高域の感度が上昇する。
【0024】
本発明において、給電点3aが配設される後部サイド窓ガラス板1の好ましい箇所は、感度向上の観点から言えば、後部サイド窓ガラス板1の後方側の上側車体開口縁2近傍、後部サイド窓ガラス板1の前方側の上側車体開口縁2近傍、後部サイド窓ガラス板1の後方側の下側車体開口縁2近傍、後部サイド窓ガラス板1の前方側の下側車体開口縁2近傍、の順である。
【0025】
ただし、後部サイド窓ガラス板1の後方側の上側車体開口縁2近傍、又は、後部サイド窓ガラス板1の後方側の下側車体開口縁2近傍に給電点3aが設けられる場合には、同軸ケーブル10が長くなる欠点がある。
【0026】
図1に示す例では、アース点4aは給電点3aの略下方に配設されているが、これに限定されず、アース点4aが配設される後部サイド窓ガラス板1の箇所は給電点3aの略上方、略左方及び略右方から選ばれる少なくとも一つであってもよい。
【0027】
図1に示す例では、給電点3aとアース点4aとは、相互に近接しており、アース導体4の長さを確保するためにはこのようにすることが好ましいが、これに限定されず、給電点3aとアース点4aとが離れていても使用できる。
【0028】
給電点3aとアース点4aとが離れている例としては、図12に示す例が挙げられる。図12に示す例では、給電点3aが後部サイド窓ガラス板1の右上角近傍に設けられており、アース点4aは後部サイド窓ガラス板1の右下角近傍に設けられている。アース点4aから左方にアース導体4が伸長されている。
【0029】
図12に示す例のようにした場合には、左右の視野は向上する利点があるが、アース導体4の長さを確保することが困難となる。図1に示す例と、図12に示す例とを比較すると、アース導体4の長さを確保するために図12に示す先端部4bは、図1に示す先端部4bより上方に配設されていることがわかる。
【0030】
図1に示す例では、アース導体4はアース点4aを起点として車体開口縁2の右辺に沿って略下方に伸長された後、車体開口縁2の右下角近傍の曲折箇所4cにて曲折され、略左方に主アンテナ導体3の下辺に略沿って伸長され、箇所4dにて曲がって略上方に伸長され、その先端部4bは第2の箇所3d近傍まで達している。
【0031】
図1に示す例では、後部サイド窓ガラス板1の形状は略平行四辺形である。しかし、本発明では、これに限定されず、後部サイド窓ガラス板1の形状は、略台形、略菱形等の略四角形、略多角形、略三角形、略円形、略楕円形等であってもよい。
【0032】
図1に示す例では、アース導体4の一部(車体開口縁2の下辺近傍のアース導体4の一部及び車体開口縁2の左辺近傍のアース導体4の一部)は、車体開口縁2の下辺近傍及び車体開口縁2の左辺近傍の主アンテナ導体3の一部と近接して容量結合されている。しかし、これに限定されず、アース導体4の一部又は全部が車体開口縁2の上辺近傍の主アンテナ導体3の一部、車体開口縁2の左辺近傍の主アンテナ導体3の一部、車体開口縁2の下辺近傍の主アンテナ導体3の一部及びループ構成導体5aから選ばれる少なくとも一つと近接して容量結合されていれば使用できる。
【0033】
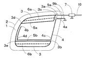
図3は図1に示す実施例とは別の実施例の構成図である。図1に示す例では、後部サイド窓ガラス板1の上下略中心より上方にループ構成導体5aが配設されている。これに対して、図3に示す例では、後部サイド窓ガラス板1の上下略中心より下方にループ構成導体5bが配設されている。
【0034】
図3に示す例では、主アンテナ導体3は、給電点3aを起点としてサイド窓ガラス板1の略中心が内側になるように反時計回り方向に伸長されて車体開口縁2の下辺まで伸長された後、車体開口縁2の右下角近傍にて略上方にやや伸長される。
【0035】
図3に示す例では、先端部3bと箇所3eとは、ループ構成導体5bにより接続される。ループ構成導体5bは車体開口縁2の下辺と略平行になっている。箇所3eは車体開口縁2の左下角近傍に配されている。
【0036】
図3に示す例では、アース点4aは給電点3aの略下方に配設されている。アース導体4はアース点4aを起点として車体開口縁2の右辺に沿って略下方に伸長された後、車体開口縁2の右下角近傍の箇所4cにて曲折して、略左方にループ構成導体5bに略沿って伸長され、箇所4dにて曲がって略上方に伸長され、その先端部4bは車体開口縁2の左上角近傍まで達している。
【0037】
図3に示す例では、アース導体4の一部(アース導体4の下辺及びアース導体4の左辺)は、ループ構成導体5b及び主アンテナ導体3の左辺と近接して容量結合されている。しかし、これに限定されず、アース導体4の一部又は全部が主アンテナ導体3の上辺、主アンテナ導体3の左辺、主アンテナ導体3の下辺、ループ構成導体5b及び給電点3aから選ばれる少なくとも一つと近接して容量結合されていれば使用できる。図3に示す例では、所望の受信周波数帯の低域及び中域の感度を向上させることができる。図3に示す例においても、必要に応じて補助ループ構成導体6bが設けられる。補助ループ構成導体6bはループ状導体の2箇所を結び接続する。
【0038】
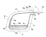
図4は図3に示す実施例とは別の実施例の構成図である。図4に示す例は、図3に示す例に図1に示すループ構成導体5aを追加した以外は図3に示す例と同様の仕様とした自動車用高周波ガラスアンテナである。図4に示す例では、所望の受信周波数帯の低域、中域及び高域の感度を向上でき、所望の受信周波数帯において、平坦な周波数−感度特性が得ることができる。
【0039】
図5は図4に示す実施例とは別の実施例の構成図である。図4に示す例では、アース導体4が主アンテナ導体3の内側に時計回り方向に伸長されている。これに対して、図5に示す例では、アース導体4が主アンテナ導体3の外側に時計回り方向に伸長されており、アース導体4は主に主アンテナ導体の下辺と容量結合している。
【0040】
図6は、後部サイド窓ガラス板1を上下方向等間隔(L)に3分割し、上から順にA領域、B領域、C領域とする場合を表した平面図である。視野をできるだけ広くするために、図1、3に示す例において、ループ構成導体がB領域に配設されていないことが好ましい。同様に視野をできるだけ広くするために、図4、5及び後述する図7、8に示す例において、第1のループ構成導体及び第2のループ構成導体がB領域に配設されていないことが好ましい。
【0041】
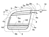
図7、8は図4に示す実施例とは別の実施例の構成図である。図7、8に示す例は、図4に示す例のアース導体4に補助アース導体を付設したものである。図7に示す例において、補助アース導体41は箇所4c近傍上方のアース導体4の箇所4eを起点としてアース導体4の下辺に沿って左方に伸長され、箇所4d近傍で曲折して略上方に伸長され、補助アース導体41の先端部は第2の箇所3d近傍まで達している。
【0042】
図8に示す例において、補助アース導体42はアース導体4の箇所4eを起点としてアース導体4の下辺に沿って左方に伸長されて、補助アース導体42の先端部はアース導体4に接続されており、アース導体4の下辺と補助アース導体42とでループを構成している。補助アース導体41又は補助アース導体42とがアース導体4に付設されることにより、所望の受信周波数帯の全域の感度が向上する。
【0043】
本発明において、主アンテナ導体3の導体長(給電点3aを含まず)は、所望の受信周波数帯の中心周波数Fの波長をλ、所望の受信周波数帯の最低周波数Fの波長をλとするとき、0.7・(1/4)・(λ+λ)×K〜1.2・(1/4)・(λ+λ)×Kとすることが好ましい。この範囲内である場合にはこの範囲外である場合と比較して所望の受信周波数帯の低域又は中域の感度が向上する。なお、Kはガラス短縮率であって、通常0.64である。日本のFM放送帯の中心周波数Fは、83.0MHzである。
【0044】
リード線9aの長さは100〜300mm、特には150〜250mmが好ましい。リード線9aの長さが100mm以上である場合には実装が容易となり、リード線9aの長さが300mm以下である場合にはS/N比が向上し、周波数−感度特性が安定する。
【0045】
本発明において、アース導体4の導体長は、0.8・(λ/3)×K〜1.2・(λ/3)×Kとすることが好ましい。この範囲内である場合にはこの範囲外である場合と比較して所望の放送帯の感度が向上する。リード線9bの長さは100〜300mm、特には150〜250mmが好ましい。リード線9bの長さが100mm以上である場合には実装が容易となり、リード線9bの長さが300mm以下である場合には、周波数−感度特性が安定する。
【0046】
図1におけるループ状導体の導体長及び図3における第1のループ状導体の導体長は、所望の受信周波数帯の最高周波数Fの波長をλとするとき、0.6・((λ+λ)/4)×K〜1.2・((λ+λ)/4)×Kとすることが好ましい。この範囲内である場合にはこの範囲外である場合と比較して所望の放送帯の高域の感度が向上する。
【0047】
図2におけるループ状導体の導体長及び図3における第2のループ状導体の導体長は、0.5・((λ+λ)/4)×K〜((λ+λ)/4)×Kとすることが好ましい。この範囲内である場合にはこの範囲外である場合と比較して所望の受信周波数帯の低域の感度が向上する。
【0048】
図4、5、7、8に示す例において、第1のループ状導体と第2のループ状導体との間(箇所3dと箇所3eとの間)の主アンテナ導体3の導体長は、(1/4)・(λ/4)×K〜(1/2)・(λ/4)×Kとすることが好ましい。この範囲内である場合にはこの範囲外である場合と比較して所望の受信周波数帯の感度の平坦性が向上する。感度の平坦性とは、所望の受信周波数帯内で最高感度と最低感度との差をいう。
【0049】
本発明において、仮に容量結合部を短絡させたものと仮定して、給電点3aとアース点4aとを結線する導体の最大外周の導体長(例えば、図4に示す例では、先端部3bと箇所4cにて主アンテナ導体3とアース導体4とを短絡させたものと仮定した場合において、主アンテナ導体3の導体長と、アース点4aから箇所4cまでのアース導体4の導体長(アース点4aを含まず)と、容量結合部の間隔との和の長さ)は、0.8・(λ/2)×K〜1.4・(λ/2)×Kとすることが好ましい。この範囲内である場合にはこの範囲外である場合と比較して所望の放送帯の感度が向上する。
【0050】
本発明において、給電点3aとアース点4aとの間隔、主アンテナ導体3とアース点4aとの最短間隔、及び、ループ状導体とアース点4aとの最短間隔は、6.0mm以上、特には、10mm以上が好ましい。6.0mm以上である場合には6.0mm未満と比較して感度が向上する。
【0051】
本発明において、容量結合部の間隔、すなわち、例えば、図1、3、4、5、7、8における主アンテナ導体3の左辺とアース導体4の左辺との間隔、図3、4、6、7、8におけるアース導体4とループ構成導体5bとの間隔、及び、図5における主アンテナ導体3の下辺とアース導体4との間隔は、0.5〜8.0mm、特には0.5〜6.0mmが好ましい。後述する図11に示すとおり、この間隔が0.5mm以上であると、主アンテナ導体、アース導体及びループ構成導体が含む金属のマイグレーション等が起こりにくく、両者が短絡する危険性が少ない。この間隔が8.0mm以下では両者が効果的な容量結合となり易く、急激に感度が向上する。
【0052】
本発明において、主アンテナ導体、アース導体及びループ構成導体が方向を変えるとき、湾曲して方向を変えても又は曲折して方向を変えても、どちらでもよい。例えば、アース導体4が箇所4cで曲折して方向を変えているが、湾曲して方向を変えてもよい。
【0053】
また、パターンとして見る場合には、図1、3、4、5、7、8における自動車用高周波ガラスアンテナは、車内側から見ている。しかし、これに限定されず、図1、3、4、5、7、8における自動車用高周波ガラスアンテナのパターンが車外側から見るものであってもよい。
【0054】
本発明において、第1のループ状導体と第2のループ状導体とは別に主アンテナ導体に1つ以上のループ状導体を設けてもよい。また、図1、3、4、5、7、8における主アンテナ導体、給電点、アース導体、アース点、ループ構成導体及び補助ループ構成導体には補助導体は付設されていないが、これに限定されず、位相調整及び指向性調整のために、主アンテナ導体、給電点、アース導体、アース点、ループ構成導体及び補助ループ構成導体に、接続導体を介して又は介さずに、略T字状、略L字状、ループ状等の補助導体が付設されていてもよい。
【0055】
本発明において、所望の受信周波数帯としては、FM放送帯の他、短波放送帯(2.3〜26.1MHz)、テレビVHF帯(90〜108MHz、170〜222MHz)、テレビUHF帯(470〜770MHz)、北米及び欧州のテレビVHF帯(45〜86MHz、175〜225MHz)、自動車電話用の800MHz帯(810〜960MHz)、自動車電話用の1.5GHz帯(1.429〜1.501GHz)、UHF帯(300MHz〜3GHz)及びGPS(Global Positioning System、人工衛星のGPS信号1575.42MHz)、VICS(Vehicle Information and Communication System、ヴィークル インフォメーション アンド コミュニケーション システム)等が該当する。
【0056】
本発明の自動車用高周波ガラスアンテナは、所望の受信周波数帯の他に、短波放送帯、中波放送帯(520〜1700kHz)及び長波放送帯(150〜280kHz)から選ばれる少なくとも一つの周波数帯との兼用のアンテナとして利用できる。
【0057】
本発明において、アンテナ周辺回路7は、必要に応じて設けられる。アンテナ周辺回路7としては、インピーダンスマッチング回路、前置増幅回路、共振回路等が挙げられ、特に限定されない。
【0058】
本発明において、主アンテナ導体、給電点、アース導体、アース点、ループ構成導体及び補助ループ構成導体は、通常、銀ペースト等の、導電性金属を含有するペーストを後部サイド窓ガラス板の車内側表面にプリントし、焼付けて形成される。しかし、この形成方法に限定されず、銅等の導電性物質からなる、線状体又は箔状体を、後部サイド窓ガラス板の車内側表面又は車外側表面に形成してもよく、後部サイド窓ガラス板自身の内部に設けてもよい。
【0059】
【実施例】
以下、図面にしたがって、実施例を詳細に説明する。
【0060】
「例1(実施例)」
自動車の後部サイド窓ガラス板を使用し、図4に示すような自動車用高周波ガラスアンテナを製作した。補助ループ構成導体6a、6bは設けた。アンテナ周辺回路7は前置増幅器とした。この前置増幅器のFM放送帯での増幅度は、+5.0dBであった。各部の寸法、定数は以下のとおりである。また、後部窓ガラス板1は自動車の左側のものであり、車内側から見たパターンであって、図面右側が自動車前方である。前置増幅器の出力端での、FM放送帯の周波数−感度特性を図9に実線で示す。
【0061】
後部サイド窓ガラス板1の縦の最大値            380mm、
後部サイド窓ガラス板1の横の最大値            400mm、
車体開口縁2の縦の最大値                 360mm、
車体開口縁2の横の最大値                 380mm、
主アンテナ導体3の導体長(給電点3aを含まず)     1080mm、
主アンテナ導体3の第1の箇所3cと第2の箇所3dとの間の導体長425mm、
主アンテナ導体3の箇所3eと第2の箇所3dとの間の導体長 200mm、
主アンテナ導体3の箇所3eと先端部3bとの間の導体長   450mm、
アース導体4の導体長(アース点4aを含まず)       725mm、
アース点4aから箇所4cまでのアース導体4の導体長(アース点を含まず)215mm、
アース導体4の箇所4cから箇所4dまでの導体長      345mm、
アース導体4の箇所4dから先端部4bまでの導体長     150mm、
ループ構成導体5a                    435mm
ループ構成導体5b                    350mm。
【0062】
補助ループ構成導体6a                  360mm、
補助ループ構成導体6b                  345mm、
主アンテナ導体3の左辺とアース導体4の左辺との最短間隔  2.0mm、
アース導体4の下辺とループ構成導体5bとの最短間隔    2.0mm、
主アンテナ導体3の上辺と補助ループ構成導体6aとの最大間隔 35mm、
ループ構成導体5aと補助ループ構成導体6aとの最大間隔   35mm、
主アンテナ導体3の下辺と補助ループ構成導体6bとの最大間隔 35mm、
ループ構成導体5bと補助ループ構成導体6bとの最大間隔   35mm。
【0063】
リード線9aの長さ                    250mm、
リード線9bの長さ                    250mm、
給電点3aとアース点4aとの間隔              15mm、
アース点4aとループ構成導体5aの右辺との最短間隔     15mm、
給電点3aの縦×横(最大値)の寸法          30×15mm、
アース点4aの縦×横(最大値)の寸法         30×15mm、
アース導体4の下辺とループ構成導体5bとの間隔      2.0mm、
アース導体4の左辺と主アンテナ導体3の左辺との間隔    2.0mm。
【0064】
「例2(実施例)」
容量結合部の間隔(アース導体4の下辺とループ構成導体5bとの間隔、及び、アース導体4の左辺と主アンテナ導体の左辺との間隔)を変更した以外は、例1と同様の仕様とした自動車用高周波ガラスアンテナを製作した。容量結合部の間隔−日本のFM放送帯の平均感度特性を図11に示す。この結果により、容量結合部の間隔が、8.0mm以下では両者が効果的な容量結合となり、急激に感度が向上することがわかる。
【0065】
「例3(比較例)」
自動車の後部サイド窓ガラス板1を使用し、図10に示すような自動車用高周波ガラスアンテナを製作した。各部の寸法、定数は以下のとおりである。FM放送帯の周波数−感度特性を図9に点線で示す。なお、前置増幅器及び測定条件は例1と同様である。
【0066】
主アンテナ導体3の導体長(給電点3aを含まず)     1010mm、
アース導体4の導体長(アース点4aを含まず)       810mm、
主アンテナ導体3とアース導体4との最短間隔        2.0mm、
給電点3aとアース点4aとの間隔              15mm。
【0067】
「例4(実施例)」
補助ループ構成導体6a、6bを設けない以外は、例1と同様の仕様の自動車用高周波ガラスアンテナを製作した。FM放送帯の周波数−感度特性を図13に破線で示す。なお、比較のために、図13に例1のFM放送帯の周波数−感度特性を実線で示した。
【0068】
「例5(実施例)」
自動車の後部サイド窓ガラス板を使用し、図1に示すような自動車用高周波ガラスアンテナを製作した。各部の寸法、定数は例1と同様である。FM放送帯の周波数−感度特性を図14に示す。図14において、実線は補助ループ構成導体6aを設けた場合を示し、破線は補助ループ構成導体6aを設けなかった場合を示す。
【0069】
「例6(実施例)」
自動車の後部サイド窓ガラス板を使用し、図3に示すような自動車用高周波ガラスアンテナを製作した。各部の寸法、定数は例1と同様である。FM放送帯の周波数−感度特性を図15に示す。図1において、実線は補助ループ構成導体6bを設けた場合を示し、破線は補助ループ構成導体6bを設けなかった場合を示す。
【0070】
【発明の効果】
本発明では、主アンテナ導体にループ状導体が設けられており、主アンテナ導体とアース導体とが容量結合されているため、所望の受信周波数帯の中心付近の周波数の感度を上昇させようとした場合であっても、所望の受信周波数帯の低域及び高域の少なくとも一方の感度を向上できる。また、本発明において、第1のループ状導体と第2のループ状導体とを設けた場合には、所望の受信周波数帯の感度の平坦性が向上する。
【0071】
本発明の自動車用高周波ガラスアンテナをサイド窓ガラス板に設けた場合であって、ループ状導体、第1のループ状導体及び第2のループ状導体がB領域に配設されていない場合には、充分な視野が確保される。
【図面の簡単な説明】
【図1】本発明の自動車用高周波ガラスアンテナの一実施例の構成図。
【図2】従来例の構成図。
【図3】別の実施例の構成図。
【図4】別の実施例の構成図。
【図5】別の実施例の構成図。
【図6】後部サイド窓ガラス板1を上下方向等間隔(L)に3分割し、上から順にA領域、B領域、C領域とする場合を表した平面図。
【図7】別の実施例の構成図。
【図8】別の実施例の構成図。
【図9】例1、3のFM放送帯の周波数−感度特性図。
【図10】比較例であって、例3の自動車用高周波ガラスアンテナの構成図。
【図11】例2の容量結合部の間隔−日本のFM放送帯の平均感度特性図。
【図12】図1に示す例とは別の実施例であって、給電点3aとアース点4aとが離れている実施例の構成図。
【図13】例4のFM放送帯の周波数−感度特性図。
【図14】例5のFM放送帯の周波数−感度特性図。
【図15】例6のFM放送帯の周波数−感度特性図。
【符号の説明】
1:自動車の後部サイド窓ガラス板
2:車体開口縁
3:主アンテナ導体
3a:主アンテナ導体3の給電点
3b:主アンテナ導体3の開放端
3c:主アンテナ導体3の第1の箇所
3d:主アンテナ導体3の第2の箇所
4:アース導体
4a:アース点
4b:アース導体4の先端部
4c:アース導体4の曲折していう箇所
4d:アース導体4の湾曲又は曲折している箇所
5a:ループ構成導体
6a:補助ループ構成導体(点線)
7:アンテナ周辺回路
9a、9b:リード線
10:同軸ケーブル

Claims (20)

  1. 主アンテナ導体、アース導体、主アンテナ導体の給電点及びアース導体のアース点が自動車の窓ガラス板に設けられている自動車用高周波ガラスアンテナにおいて、
    給電点とアース点とは窓ガラス板の周縁部近傍又は車体開口縁近傍に配設され、
    車内側又は車外側から見て、
    主アンテナ導体は給電点を起点として反時計回り方向に伸長されており、
    主アンテナ導体の2箇所がループ構成導体により接続されて主アンテナ導体及びループ構成導体でループ状導体を構成しているか、又は、主アンテナ導体の1箇所及び給電点がループ構成導体により接続されて主アンテナ導体、ループ構成導体及び給電点でループ状導体を構成しているかしており、
    アース導体の一部又は全部が主アンテナ導体、ループ構成導体及び給電点から選ばれる少なくとも一つと近接して容量結合されていることを特徴とする自動車用高周波ガラスアンテナ。
  2. 主アンテナ導体、アース導体、主アンテナ導体の給電点及びアース導体のアース点が自動車の窓ガラス板に設けられている自動車用高周波ガラスアンテナにおいて、
    給電点とアース点とは窓ガラス板の周縁部近傍又は車体開口縁近傍に配設され、
    車内側又は車外側から見て、
    主アンテナ導体は給電点を起点として反時計回り方向に伸長されており、
    主アンテナ導体の2箇所が第1のループ構成導体により接続されて主アンテナ導体及び第1のループ構成導体でループ状導体を構成しているか、又は、主アンテナ導体の1箇所及び給電点が第1のループ構成導体により接続されて主アンテナ導体、第1のループ構成導体及び給電点で第1のループ状導体を構成しており、
    第1のループ状導体に含まれない主アンテナ導体の2箇所が第2のループ構成導体により接続されて、主アンテナ導体と第2のループ構成導体とで第2のループ状導体を構成しており、
    アース導体の一部又は全部が、主アンテナ導体、第1のループ構成導体、第2のループ構成導体及び給電点から選ばれる少なくとも一つと近接して容量結合されていることを特徴とする自動車用高周波ガラスアンテナ。
  3. 主アンテナ導体、アース導体、主アンテナ導体の給電点及びアース導体のアース点が自動車の窓ガラス板に設けられている自動車用高周波ガラスアンテナにおいて、
    給電点及びアース点は窓ガラス板の周縁部近傍又は車体開口縁近傍に配設され、
    車内側又は車外側から見て、
    主アンテナ導体は給電点を起点として窓ガラス板の周縁部又は車体開口縁にほぼ沿って反時計回り方向に、少なくとも窓ガラス板の下辺まで伸長されており、主アンテナ導体の2箇所がループ構成導体により接続されて主アンテナ導体及びループ構成導体でループ状導体を構成しているか、又は、主アンテナ導体の1箇所及び給電点がループ構成導体により接続されて主アンテナ導体、ループ構成導体及び給電点でループ状導体を構成しているかしており、
    アース点を起点として伸長されているアース導体の一部又は全部が、主アンテナ導体の下辺及びループ構成導体から選ばれる少なくとも一つと近接して容量結合されていることを特徴とする自動車用高周波ガラスアンテナ。
  4. 窓ガラス板の上下略中心より上方にループ構成導体が配設されている請求項1又は3に記載の自動車用高周波ガラスアンテナ。
  5. 窓ガラス板の上下略中心より下方にループ構成導体が配設されている請求項1又は3に記載の自動車用高周波ガラスアンテナ。
  6. 前記窓ガラス板を上下方向等間隔に3分割し、上から順にA領域、B領域、C領域とした場合に、前記ループ構成導体がB領域に配設されていない請求項1、3、4又は5に記載の自動車用高周波ガラスアンテナ。
  7. 主アンテナ導体、アース導体、主アンテナ導体の給電点及びアース導体のアース点が自動車の窓ガラス板に設けられている自動車用高周波ガラスアンテナにおいて、
    給電点及びアース点は窓ガラス板の周縁部近傍又は車体開口縁近傍に配設され、給電点は前記窓ガラス板の上下略中心より上方に配されており、
    車内側又は車外側から見て、
    主アンテナ導体は給電点を起点として窓ガラス板の周縁部又は車体開口縁にほぼ沿って反時計回り方向に、少なくとも窓ガラス板の下辺まで伸長されており、窓ガラス板の上下略中心より上方の主アンテナ導体の2箇所が第1のループ構成導体により接続されて主アンテナ導体及び第1のループ構成導体でループ状導体を構成しているか、又は、窓ガラス板の上下略中心より上方の主アンテナ導体の1箇所及び給電点が第1のループ構成導体により接続されて主アンテナ導体、第1のループ構成導体及び給電点で第1のループ状導体を構成しており、
    第1のループ状導体に含まれない、かつ、窓ガラス板の上下略中心より、下方の主アンテナ導体の2箇所が第2のループ構成導体により接続されて、主アンテナ導体と第2のループ構成導体とで第2のループ状導体を構成しており、
    アース点を起点として伸長されているアース導体の一部又は全部が、主アンテナ導体の下辺、第1のループ構成導体及び第2のループ構成導体から選ばれる少なくとも一つと近接して容量結合されていることを特徴とする自動車用高周波ガラスアンテナ。
  8. 前記窓ガラス板を上下方向等間隔に3分割し、上から順にA領域、B領域、C領域とした場合に、前記第1のループ構成導体及び前記第2のループ構成導体のいずれもがB領域に配設されていない請求項2又は7に記載の自動車用高周波ガラスアンテナ。
  9. 前記窓ガラス板を上下方向等間隔に3分割し、上から順にA領域、B領域、C領域とした場合に、第1のループ状導体の全部がA領域に配設されており、第2のループ状導体の全部がC領域に配設されている請求項8に記載の自動車用高周波ガラスアンテナ。
  10. ループ状導体の複数の点が1本又は複数本の補助ループ構成導体により接続されている請求項1、3、4、5又は6に記載の自動車用高周波ガラスアンテナ。
  11. 第1のループ状導体の複数の点が1本又は複数本の補助ループ構成導体により接続されている請求項2、7、8又は9に記載の自動車用高周波ガラスアンテナ。
  12. 第2のループ状導体の複数の点が1本又は複数本の補助ループ構成導体により接続されている請求項2、7、8、9又は11に記載の自動車用高周波ガラスアンテナ。
  13. 車内側又は車外側から見て給電点及びアース点は、窓ガラス板の右側縁部近傍又は窓ガラス板の上側縁部近傍に配設され、かつ、アース点が給電点の略下方に配設されている請求項1から12のいずれかに記載の自動車用高周波ガラスアンテナ。
  14. ループ構成導体がループ状導体を構成している主アンテナ導体の部分より窓ガラス板の中心側に配設されている請求項1、3、4、5又は6に記載の自動車用高周波ガラスアンテナ。
  15. ループ構成導体がループ状導体を構成している主アンテナ導体の部分より窓ガラス板の周縁部側に配設されている請求項1、3、4、5又は6に記載の自動車用高周波ガラスアンテナ。
  16. アース導体の一部又は全部と、主アンテナ導体の一部又は全部との間隔が、0.5〜8.0mmに近接して、アース導体と主アンテナ導体とが容量結合されている請求項1、3、4、5又は6に記載の自動車用高周波ガラスアンテナ。
  17. アース導体の一部又は全部と、第2のループ構成導体の一部又は全部との間隔が、0.5〜8.0mmに近接して、アース導体と第2のループ構成導体とが容量結合されている請求項項2、7、8、9、11又は12に記載の自動車用高周波ガラスアンテナ。
  18. 所望の受信周波数帯の中心周波数Fの波長をλとし、Kをガラス短縮率とするとき、
    第1のループ状導体と第2のループ状導体との間の主アンテナ導体3の導体長が、(1/4)・(λ/4)×K〜(1/2)・(λ/4)×Kである請求項項2、7、8、9、11、12又は17に記載の自動車用高周波ガラスアンテナ。
  19. アース導体がアース点を起点として時計回り方向に伸長されている請求項1から18のいずれかに記載の自動車用高周波ガラスアンテナ。
  20. 窓ガラス板が後部サイド窓ガラス板である請求項1から19のいずれかに記載の自動車用高周波ガラスアンテナ。
JP2003181065A 2002-07-03 2003-06-25 自動車用高周波ガラスアンテナ Expired - Lifetime JP4055665B2 (ja)

Priority Applications (1)

Application Number Priority Date Filing Date Title
JP2003181065A JP4055665B2 (ja) 2002-07-03 2003-06-25 自動車用高周波ガラスアンテナ

Applications Claiming Priority (2)

Application Number Priority Date Filing Date Title
JP2002194886 2002-07-03
JP2003181065A JP4055665B2 (ja) 2002-07-03 2003-06-25 自動車用高周波ガラスアンテナ

Publications (2)

Publication Number Publication Date
JP2004088748A true JP2004088748A (ja) 2004-03-18
JP4055665B2 JP4055665B2 (ja) 2008-03-05

Family

ID=32071956

Family Applications (1)

Application Number Title Priority Date Filing Date
JP2003181065A Expired - Lifetime JP4055665B2 (ja) 2002-07-03 2003-06-25 自動車用高周波ガラスアンテナ

Country Status (1)

Country Link
JP (1) JP4055665B2 (ja)

Cited By (12)

* Cited by examiner, † Cited by third party
Publication number Priority date Publication date Assignee Title
JP2006080999A (ja) * 2004-09-10 2006-03-23 Fujitsu Ten Ltd テレビ電波用アンテナ
WO2010038485A1 (ja) * 2008-10-02 2010-04-08 セントラル硝子株式会社 車両用のガラスアンテナ
JP2010088057A (ja) * 2008-10-02 2010-04-15 Central Glass Co Ltd 車両用のガラスアンテナ
JP2010109958A (ja) * 2008-10-02 2010-05-13 Central Glass Co Ltd 車両用のガラスアンテナ
WO2011058878A1 (ja) * 2009-11-16 2011-05-19 セントラル硝子株式会社 車両用ガラスアンテナ
JP2011109399A (ja) * 2009-11-17 2011-06-02 Asahi Glass Co Ltd 車両用ガラスアンテナ及び車両用窓ガラス
WO2012011354A1 (ja) * 2010-07-23 2012-01-26 セントラル硝子株式会社 車両用アンテナ
WO2012020605A1 (ja) * 2010-08-12 2012-02-16 セントラル硝子株式会社 車両用アンテナ
WO2013094470A1 (ja) * 2011-12-21 2013-06-27 セントラル硝子株式会社 車両用ガラスアンテナ
JP2016111556A (ja) * 2014-12-08 2016-06-20 日本板硝子株式会社 車両ガラス用アンテナ
JP2016111611A (ja) * 2014-12-09 2016-06-20 日本板硝子株式会社 車両用ガラスアンテナ
US10777906B2 (en) 2017-05-25 2020-09-15 Fujitsu Limited Antenna device and electronic apparatus

Cited By (17)

* Cited by examiner, † Cited by third party
Publication number Priority date Publication date Assignee Title
JP2006080999A (ja) * 2004-09-10 2006-03-23 Fujitsu Ten Ltd テレビ電波用アンテナ
US8421691B2 (en) 2008-10-02 2013-04-16 Central Glass Company, Limited Vehicular glass antenna
WO2010038485A1 (ja) * 2008-10-02 2010-04-08 セントラル硝子株式会社 車両用のガラスアンテナ
JP2010088057A (ja) * 2008-10-02 2010-04-15 Central Glass Co Ltd 車両用のガラスアンテナ
JP2010109958A (ja) * 2008-10-02 2010-05-13 Central Glass Co Ltd 車両用のガラスアンテナ
KR101340742B1 (ko) 2009-11-16 2013-12-12 샌트랄 글래스 컴퍼니 리미티드 차량용 유리 안테나
JP2011109330A (ja) * 2009-11-16 2011-06-02 Central Glass Co Ltd 車両用ガラスアンテナ
WO2011058878A1 (ja) * 2009-11-16 2011-05-19 セントラル硝子株式会社 車両用ガラスアンテナ
US8692727B2 (en) 2009-11-16 2014-04-08 Central Glass Company, Limited Glass antenna for vehicle
JP2011109399A (ja) * 2009-11-17 2011-06-02 Asahi Glass Co Ltd 車両用ガラスアンテナ及び車両用窓ガラス
WO2012011354A1 (ja) * 2010-07-23 2012-01-26 セントラル硝子株式会社 車両用アンテナ
WO2012020605A1 (ja) * 2010-08-12 2012-02-16 セントラル硝子株式会社 車両用アンテナ
JP2012044254A (ja) * 2010-08-12 2012-03-01 Central Glass Co Ltd 車両用アンテナ
WO2013094470A1 (ja) * 2011-12-21 2013-06-27 セントラル硝子株式会社 車両用ガラスアンテナ
JP2016111556A (ja) * 2014-12-08 2016-06-20 日本板硝子株式会社 車両ガラス用アンテナ
JP2016111611A (ja) * 2014-12-09 2016-06-20 日本板硝子株式会社 車両用ガラスアンテナ
US10777906B2 (en) 2017-05-25 2020-09-15 Fujitsu Limited Antenna device and electronic apparatus

Also Published As

Publication number Publication date
JP4055665B2 (ja) 2008-03-05

Similar Documents

Publication Publication Date Title
US6822613B2 (en) High frequency wave glass antenna for an automobile
JP2010154504A (ja) 車両用ガラスアンテナ及び車両用窓ガラス
JP4055665B2 (ja) 自動車用高周波ガラスアンテナ
JP4803004B2 (ja) 自動車用高周波ガラスアンテナ及び窓ガラス板
JP4946639B2 (ja) 自動車用高周波ガラスアンテナ
EP0411963B1 (en) Window antenna
JP2000174529A (ja) 自動車用高周波ガラスアンテナ
JP2010041256A (ja) 車両用ガラスアンテナ及び車両用窓ガラス
JP5387317B2 (ja) 車両用ガラスアンテナ
JP2000286625A (ja) 自動車用高周波ガラスアンテナ
JP4225373B2 (ja) 車両用のガラスアンテナ
JPH0113643B2 (ja)
JP2000216613A (ja) 自動車電話用サイド窓ガラスアンテナ
JP5499810B2 (ja) 車両用ガラスアンテナ及び車両用窓ガラス
JP3630616B2 (ja) 車両用ガラスアンテナ
JP2001127519A (ja) 自動車用サイド窓ガラスアンテナ
JP2001102836A (ja) 車両用ガラスアンテナ
JPH10303625A (ja) 車両用ガラスアンテナ
US20040080460A1 (en) Antenna
JPH11145717A (ja) 車両用ガラスアンテナ
JP3829523B2 (ja) 自動車用サイド窓ガラスアンテナ
JP2003101318A (ja) 自動車用窓ガラスアンテナ
JP2002204112A (ja) 車両用アンテナ装置
JP2003017919A (ja) 自動車用窓ガラスアンテナ
JP2000174528A (ja) 自動車用サイド窓ガラスアンテナ

Legal Events

Date Code Title Description
A621 Written request for application examination

Free format text: JAPANESE INTERMEDIATE CODE: A621

Effective date: 20060516

A977 Report on retrieval

Free format text: JAPANESE INTERMEDIATE CODE: A971007

Effective date: 20070517

A131 Notification of reasons for refusal

Free format text: JAPANESE INTERMEDIATE CODE: A131

Effective date: 20070529

A521 Request for written amendment filed

Free format text: JAPANESE INTERMEDIATE CODE: A523

Effective date: 20070724

TRDD Decision of grant or rejection written
A01 Written decision to grant a patent or to grant a registration (utility model)

Free format text: JAPANESE INTERMEDIATE CODE: A01

Effective date: 20071120

A61 First payment of annual fees (during grant procedure)

Free format text: JAPANESE INTERMEDIATE CODE: A61

Effective date: 20071203

R151 Written notification of patent or utility model registration

Ref document number: 4055665

Country of ref document: JP

Free format text: JAPANESE INTERMEDIATE CODE: R151

FPAY Renewal fee payment (event date is renewal date of database)

Free format text: PAYMENT UNTIL: 20101221

Year of fee payment: 3

FPAY Renewal fee payment (event date is renewal date of database)

Free format text: PAYMENT UNTIL: 20101221

Year of fee payment: 3

FPAY Renewal fee payment (event date is renewal date of database)

Free format text: PAYMENT UNTIL: 20111221

Year of fee payment: 4

FPAY Renewal fee payment (event date is renewal date of database)

Free format text: PAYMENT UNTIL: 20111221

Year of fee payment: 4

FPAY Renewal fee payment (event date is renewal date of database)

Free format text: PAYMENT UNTIL: 20121221

Year of fee payment: 5

FPAY Renewal fee payment (event date is renewal date of database)

Free format text: PAYMENT UNTIL: 20121221

Year of fee payment: 5

S531 Written request for registration of change of domicile

Free format text: JAPANESE INTERMEDIATE CODE: R313531

FPAY Renewal fee payment (event date is renewal date of database)

Free format text: PAYMENT UNTIL: 20121221

Year of fee payment: 5

R371 Transfer withdrawn

Free format text: JAPANESE INTERMEDIATE CODE: R371

S531 Written request for registration of change of domicile

Free format text: JAPANESE INTERMEDIATE CODE: R313531

FPAY Renewal fee payment (event date is renewal date of database)

Free format text: PAYMENT UNTIL: 20121221

Year of fee payment: 5

R350 Written notification of registration of transfer

Free format text: JAPANESE INTERMEDIATE CODE: R350

FPAY Renewal fee payment (event date is renewal date of database)

Free format text: PAYMENT UNTIL: 20131221

Year of fee payment: 6

S533 Written request for registration of change of name

Free format text: JAPANESE INTERMEDIATE CODE: R313533

R350 Written notification of registration of transfer

Free format text: JAPANESE INTERMEDIATE CODE: R350

R250 Receipt of annual fees

Free format text: JAPANESE INTERMEDIATE CODE: R250

R250 Receipt of annual fees

Free format text: JAPANESE INTERMEDIATE CODE: R250

R250 Receipt of annual fees

Free format text: JAPANESE INTERMEDIATE CODE: R250

R250 Receipt of annual fees

Free format text: JAPANESE INTERMEDIATE CODE: R250

R250 Receipt of annual fees

Free format text: JAPANESE INTERMEDIATE CODE: R250

EXPY Cancellation because of completion of term