EP3440293B1 - Schliesskeilsystem zur lösbaren kopplung einer fahrzeugklappe mit einem strukturteil einer fahrzeugkarosserie - Google Patents

Schliesskeilsystem zur lösbaren kopplung einer fahrzeugklappe mit einem strukturteil einer fahrzeugkarosserie Download PDF

Info

Publication number
EP3440293B1
EP3440293B1 EP17716125.4A EP17716125A EP3440293B1 EP 3440293 B1 EP3440293 B1 EP 3440293B1 EP 17716125 A EP17716125 A EP 17716125A EP 3440293 B1 EP3440293 B1 EP 3440293B1
Authority
EP
European Patent Office
Prior art keywords
wedge
locking
module
displacement unit
retaining
Prior art date
Legal status (The legal status is an assumption and is not a legal conclusion. Google has not performed a legal analysis and makes no representation as to the accuracy of the status listed.)
Active
Application number
EP17716125.4A
Other languages
English (en)
French (fr)
Other versions
EP3440293A1 (de
Inventor
Marion Schoch
Manfred Schindler
Current Assignee (The listed assignees may be inaccurate. Google has not performed a legal analysis and makes no representation or warranty as to the accuracy of the list.)
Audi AG
Original Assignee
Audi AG
Priority date (The priority date is an assumption and is not a legal conclusion. Google has not performed a legal analysis and makes no representation as to the accuracy of the date listed.)
Filing date
Publication date
Application filed by Audi AG filed Critical Audi AG
Publication of EP3440293A1 publication Critical patent/EP3440293A1/de
Application granted granted Critical
Publication of EP3440293B1 publication Critical patent/EP3440293B1/de
Active legal-status Critical Current
Anticipated expiration legal-status Critical

Links

Images

Classifications

    • EFIXED CONSTRUCTIONS
    • E05LOCKS; KEYS; WINDOW OR DOOR FITTINGS; SAFES
    • E05BLOCKS; ACCESSORIES THEREFOR; HANDCUFFS
    • E05B85/00Details of vehicle locks not provided for in groups E05B77/00 - E05B83/00
    • E05B85/04Strikers
    • EFIXED CONSTRUCTIONS
    • E05LOCKS; KEYS; WINDOW OR DOOR FITTINGS; SAFES
    • E05BLOCKS; ACCESSORIES THEREFOR; HANDCUFFS
    • E05B15/00Other details of locks; Parts for engagement by bolts of fastening devices
    • E05B15/0006Devices for aligning wing and frame; Anti-rattling devices
    • EFIXED CONSTRUCTIONS
    • E05LOCKS; KEYS; WINDOW OR DOOR FITTINGS; SAFES
    • E05BLOCKS; ACCESSORIES THEREFOR; HANDCUFFS
    • E05B15/00Other details of locks; Parts for engagement by bolts of fastening devices
    • E05B15/02Striking-plates; Keepers; Bolt staples; Escutcheons
    • E05B15/0205Striking-plates, keepers, staples
    • E05B15/029Closures, e.g. preventing dirt or paint from entering into the striker
    • EFIXED CONSTRUCTIONS
    • E05LOCKS; KEYS; WINDOW OR DOOR FITTINGS; SAFES
    • E05BLOCKS; ACCESSORIES THEREFOR; HANDCUFFS
    • E05B85/00Details of vehicle locks not provided for in groups E05B77/00 - E05B83/00
    • E05B85/20Bolts or detents
    • E05B85/22Rectilinearly moving bolts
    • EFIXED CONSTRUCTIONS
    • E05LOCKS; KEYS; WINDOW OR DOOR FITTINGS; SAFES
    • E05BLOCKS; ACCESSORIES THEREFOR; HANDCUFFS
    • E05B63/00Locks or fastenings with special structural characteristics
    • E05B63/14Arrangement of several locks or locks with several bolts, e.g. arranged one behind the other
    • EFIXED CONSTRUCTIONS
    • E05LOCKS; KEYS; WINDOW OR DOOR FITTINGS; SAFES
    • E05BLOCKS; ACCESSORIES THEREFOR; HANDCUFFS
    • E05B77/00Vehicle locks characterised by special functions or purposes
    • E05B77/34Protection against weather or dirt, e.g. against water ingress
    • EFIXED CONSTRUCTIONS
    • E05LOCKS; KEYS; WINDOW OR DOOR FITTINGS; SAFES
    • E05BLOCKS; ACCESSORIES THEREFOR; HANDCUFFS
    • E05B81/00Power-actuated vehicle locks
    • E05B81/12Power-actuated vehicle locks characterised by the function or purpose of the powered actuators
    • E05B81/20Power-actuated vehicle locks characterised by the function or purpose of the powered actuators for assisting final closing or for initiating opening

Definitions

  • the invention relates to a closing wedge system for the detachable coupling of a vehicle flap with a structural part of a vehicle body according to the preamble of patent claim 1.
  • a generic closing wedge system is from the DE 10 2012 011 420 A1 known.
  • FIG. 1 shown and from the DE 10 2012 011 420 A1 known Sch spakeilsystem 1 of a vehicle for releasably connecting a vehicle door 11 of a vehicle body 10 with its side wall frame 12 as a vehicle structural part comprises a parallel with two mutually slidably mounted locking wedges 2.1 and 2.2 formed with wedge surfaces lock wedge 2 and cooperating with this closing jaw module 3, wherein in the coupled state of Lock wedge system 1 via adjacent wedge surfaces the locking wedge module 2 and the holding jaw module 3 are coupled without play.
  • the holding jaw module 3 is formed with two, the closing jaw module 2 receiving retaining jaws between 3.1 and 3.2 with wedge-shaped splines 3.11 and 3.21, so that by means of a motor drive device, the strikers 2.1 and 2.2 by dislocation with their wedge surfaces in the keyways 3.11 and 3.21 under investment be pressed at the wedge surfaces and thereby an effective form and adhesion of the two locking wedges 2.1 and 2.2 with the holding jaws 3.1 and 3.2 is achieved.
  • Another embodiment of the holding jaw module according to this DE 10 2012 011 420 A1 provides that, for facilitated insertion of the locking wedges between the holding jaws these are pivoted ⁇ at an angle relative to a horizontal center line, so that the two keyways taper conically. At this conical course of these two splines and the side edges of the two locking wedges are adjusted.
  • Such a displacement unit of a closing wedge system is also known from DE 10 2012 025 392 B3 known, which is designed as a flat cover with a flange with adapted to the wedge shape of the keyways of the holding jaws noses to cover also provided for introducing the striker module Ein Industriesstirnseite the holding jaw module.
  • the DE 10 2012 025 336 A1 describes a vehicle lock device, in which the from DE 10 2012 011 420 A1 known coupling device in addition to the function of coupling the vehicle door with a body pillar also performs the function of a vehicle lock, so that is dispensable on a conventional vehicle lock.
  • a coupling device known which is used as a so-called power joint for releasably connecting a vehicle door with a door pillar.
  • This vehicle door is hinged stop side with a power joint on the local door pillar and has a the power joint with the power lock connecting Mataussteifung so that forces from the door pillars on the power and the power steering can be introduced into the vehicle door and thereby the rigidity of the vehicle body is increased.
  • the starting slope of the holding jaw is compensated. If the vehicle door is closed as a vehicle flap, the closing wedge module is introduced into the holding jaw module for this purpose and at the same time the displacement unit is moved from the closed position in the direction of the vehicle interior between the guide rails into the open position. Since the holding jaws at the Ein Industriesstirnseite of the holding jaw module have a greater distance than the vehicle interior facing end side, the displacement unit is pushed together like a fan overlapping. Conversely, the vehicle door is opened, so the Latching module led out of the holding jaw module, the displacement unit is moved from lying between the guide rails open position in the closed position between the holding jaws and fanned out again, so that the holding jaws are bridged.
  • the two lamellar elements biasing in Auffamba mecanicscardi spring element is formed as arranged on the pivot axis leg spring whose ends are each supported against a lamella element of the displacement unit.
  • the starting slope of the holding jaw is compensated and fulfills the same function as the displacement unit described above.
  • a tension spring is used, which simultaneously connects the two plate elements.
  • the spring element is designed as an omega spring. With such an omega spring, the two lamellar elements are connected simultaneously.
  • the starting slope of the holding jaw is compensated and fulfills the same function as the displacement unit described above.
  • the difference from the above-described displacement unit lies in the fact that the two lamellar elements are connected by means of an elastic central element which, in the closed position, presses apart the two lamellar elements, so that these rest against the holding jaws. By moving into the open position, the two lamellar elements are compressed due to the elasticity of the central element.
  • a one-piece displacement unit can be created with an elastic central element.
  • a spring element is arranged in the region of the guide rails, with which the displacement unit is biased in the direction of the closure position. With such a spring element ensures that the displacement unit remains in its closed position. The displacement unit is moved against the spring force of this spring element in its open position.
  • a last advantageous development of the invention provides that the lamellar elements cover with an end face of the holding jaw module Flanges are formed with adapted to the wedge shape of the keyways lugs. This ensures that the Ein Industriesstirnseite the holding jaw module is covered with the vehicle door open and gives an optimal design impression.
  • FIG. 1 illustrated and known closing wedge system 1 represents a coupling device, with which - as described above - by means of a striker module 2 and a holding jaw module 3, a vehicle door 11 is coupled to a side wall frame 12 of a vehicle body 10.
  • a coupling device is usually in addition a conventional vehicle lock (in FIG. 1 not shown), this coupling device leads to a stiffening of the vehicle body 10.
  • FIG. 2 show a lock wedge module 2 and a holding jaw module 3 of a locking wedge system 1 according to the invention.
  • a closing wedge holder 2.3 of the striker module 2 on opposite sides in the vertical direction R (z-direction) to a symmetry axis S each have a closing wedge 2.1 and 2.2 slidably disposed.
  • These two closing wedges 2.1 and 2.2 have corresponding wedge surfaces to form a wedge edge 2.10 and 2.20.
  • FIG. 3 comprises the holding jaw module 3 two spaced apart on a base plate 3.5 holding jaws 3.1 and 3.2, each with a keyway 3.11 and 3.21.
  • the striker module 2 is introduced via an insertion end 3.3 of the holding jaw module 3 in the insertion direction E, so that the striker module 2 is located between the two holding jaws 3.1 and 3.2.
  • the two locking wedges 2.1 and 2.2 are extended in opposite directions R (z-direction) from a non-coupling position in a coupling position, whereby the two locking wedges 2.1 and 2.2 with their end-side wedge surfaces in each of the adapted to the contour of these wedge surfaces keyways 3.11 and 3.21 are pressed and thus a non-positive and positive connection between the locking wedge module 2 and the holding jaw module 3 is produced.
  • the wedges 2.1 and 2.2 of the striker module 2 are not aligned parallel to each other, more precisely, the wedge edges 2.10 and 2.20 of these strikers 2.1 and 2.2 are not parallel to the axis of symmetry S of the striker module 2, but extend in the insertion direction E obliquely toward each other.
  • the wedge edge 2.10 of the closing wedge 2.1 and the wedge edge 2.20 of the closing wedge 2.2 each have an inclination angle ⁇ with the axis of symmetry S. This means that the end-side distance a of the two wedge edges 2.10 and 2.20 at the insertion-side end 2.4 of the striker module 2 is smaller than that Distance A at the opposite end 2.5.
  • locking wedges 2.1 and 2.2 are also the splines 3.11 and 3.21 of the two holding jaws 3.1 and 3.2 running obliquely to the axis of symmetry S of the striker module 3 running.
  • the holding jaw surface 3.12 receiving the keyway 3.12 has an inclination angle ⁇ relative to the symmetry axis S and the holding jaw surface 3.22 receiving the keyway 3.21 also has an inclination angle ⁇ with respect to the symmetry axis S, wherein the distance B of these two holding jaw surfaces 3.12 and 3.22 at the insertion end side 3.3 is greater than the distance b at the opposite end of the two holding jaws 3.1 and 3.2.
  • a displacement unit 4 between a closure position between the two holding jaws 3.1 and 3.2 and a space between the two holding jaws 3.1 and 3.2 releasing open position between the guide rails 3.10 and 3.20 displaceable. Therefore, the holding jaw surfaces 3.12 and 3.22 of the holding jaws 3.1 and 3.2 together with the adjoining end faces of the two guide rails 3.10 and 3.20 form a uniform surface.
  • the two guide rails 3.10 and 3.20 are frontally and frontally covered by an angle-shaped cover plate 3.6, wherein on the front side of a spring element 3.4 is arranged, the function will be explained below.
  • a displacement unit 4 in different embodiments will be described below with reference to FIGS. 4 to 14 described.
  • the displacement unit 4 consists of a first strip-shaped thin plate element 4.1, a second strip-shaped thin plate element 4.2 and a leg spring as a spring element 4.3.
  • Each of the lamellar elements 4.1 and 4.2 is L-shaped with a strip-shaped element 4.10 or 4.20 as a long leg of the L-shape and one of the strip-shaped element 4.10 or 4.20 at right angles projecting flange 4.11 or 4.21 designed as a short leg of the L-shape ,
  • a circular connecting flange 4.13 with a short pivot axis 4.14 via which the two plate elements 4.1 and 4.2 are pivotally connected to each other.
  • the first lamellar element 4.1 also has an outgoing from the connecting flange 4.13 and widening cone-shaped overlap region 4.12, which is delimited by means of a running into the flange 4.11 shoulder 4.120 with a thickness of the second fin element 4.2 corresponding shoulder height.
  • this overlap area is 4.12 fan-like overlapped by the second blade element 4.2. If this overlapping area 4.12 is completely overlapped by the second lamella element 4.2, its side edge rests directly against the shoulder 4.120 and defines the open position of the displacement unit 4 in which it follows FIG. 9 located between the guide rails 3.10 and 3.20.
  • FIG. 8 the free edge of the overlap region 4.12 at a running on the back of the second fin element 4.2 4.220 shoulder, which also has an overlap 4.22 of the second fin element 4.2 according to FIG. 5 Are defined.
  • the leg spring is arranged as a spring element 4.3 on the pivot axis 4.14, wherein the ends are each fixed in a holding 4.16 of the first fin element 4.1 and in a holding 4.26 of the second fin element 4.2 such that the two fin elements 4.1 and 4.2 are pivoted against each other, so are biased in Auffambatationscardi D1 and D2.
  • the closing wedge module 2 is clamped between the two holding jaws 3.1 and 3.2.
  • the striker module 2 is extended from the holding jaw module 3, whereby the displacement unit 4 pushed from its open position between the guide rails 3.10 and 3.20 by a prestressed spring element 3.4 forward in the direction of Ein Industriesstirnseite 3.3 becomes.
  • the closing unit 4 is fanned out due to the spring bias of the spring element 4.3, ie the two lamellar elements 4.1 and 4.2 are fanned out in their Auff kau ceremoniesscardi D1 or D2 until the outer edges positively abut positively against the holding jaw surfaces 3.12 and 3.22 of the two holding jaws 3.1 and 3.2 , wherein also on the flanges 4.11 and 4.21 together with their lugs 4.15 and 4.25 a positive connection of the holding jaws 3.1 and 3.2 is achieved at the Ein slaughterstirnseite 3.3 of the holding jaw module 3, as in FIG. 7 is shown.
  • the striker module 2 is inserted via the insertion end 3.3 of the holding jaw module 3 between the holding jaws 3.1 and 3.2 while the displacement unit 4 against the spring force of the spring element 3.4 in the area of the guide rails 3.10 and 3.20 moved until this is in accordance with their open position FIG. 9 reached.
  • the two plate elements 4.1 and 4.2 are compressed due to the oblique holding jaw surfaces 3.12 and 3.22 of the two holding jaws 3.1 and 3.2 until the overlap areas 4.12 and 4.23 are completely overlapped and therefore in the front view according to FIG. 9 only the shoulder 4.120 is visible.
  • the displacement unit has 4 according to the FIGS. 4 and 5 of course, the same structure.
  • FIG. 10 shows an alternative embodiment of the displacement unit 4.
  • This displacement unit 4 according to FIG. 10 differs from the one according to the FIGS. 4 and 5 in that, instead of a leg spring as the spring element 4.3, an omega spring is provided. Otherwise, the structure of this displacement unit 4 corresponds to FIG. 10 the one according to the FIGS. 4 and 5 ,
  • This displacement unit 4 also comprises a first plate element 4.1 and a second plate element 4.2.
  • the omega spring as the spring element 4.3 connects the two plate elements 4.1 and 4.2, characterized in that one leg of the omega spring frictionally with the first fin element 4.1 and the other leg of the omega spring are positively connected to the second fin element 4.2.
  • the two blade elements 4.1 and 4.2 are biased by means of this omega spring in Auff kau ceremoniesscardi, so that these blade elements 4.1 and 4.2 both in the open position according to FIG. 9 as well as in the closed position according to FIG. 3 pressed against the guide rails 3.10 and 3.20 or to the holding jaws 3.1 and 3.2.
  • the first plate element 4.1 and the second plate element 4.2 each have no connecting flange 4.13 or 4.23 with associated pivot axis 4.14 or 4.24 axis opening and no holding 4.16 or 4.26.
  • FIGS. 11 and 12 show a further alternative embodiment of a displacement unit 4, wherein instead of the omega spring of the displacement unit 4 after FIG. 10 an arcuate tension spring is used as the spring element 4.3.
  • This spring element 4.3 connects the two fin elements 4.1 and 4.2 in the region of the flanges 4.11 and 4.21, wherein the convex Side of the tension spring in the direction of the flanges 4.11 and 4.21 shows.
  • the connection of the two plate elements 4.1 and 4.2 is carried out to produce a direction of the fanning direction in D1 and D2 directed spring preload.
  • the two blade elements 4.1 and 4.2 according to their structure that of the displacement unit 4 according to FIG. 10 ,
  • the FIG. 11 shows the displacement unit 4 in its open position as shown FIG. 9 and the representation after FIG. 12 corresponds to the closing position according to FIG. 4 ,
  • FIGS. 13 and 14 show a last alternative embodiment of a displacement unit 4, which also includes a first fin elements 4.1 and a second fin elements 4.2, but which are cuboid with a thickness of the locking wedges 3.1 and 3.2 and the thickness of the guide rails 3.10 and 3.20 example.
  • a displacement unit 4 also includes a first fin elements 4.1 and a second fin elements 4.2, but which are cuboid with a thickness of the locking wedges 3.1 and 3.2 and the thickness of the guide rails 3.10 and 3.20 example.
  • the two lamellar elements 4.1 and 4.2 are connected by means of an elastic middle element 4.4 made of a plastic material form-locking and surface-locking in such a way that in the closed position of the sliding element 4 according to FIG. 13 due to the elastic property of the middle element 4.4, the two plate elements 4.1 and 4.2 pressed apart and pressed against the holding jaws 3.1 and 3.2 of the holding jaw module 3. If this displacement unit 4 is pushed out of this closure position into the open position between the guide rails 3.10 and 3.20, the two lamellar elements 4.1 and 4.2 due to the obliquely extending holding jaw surfaces 3.12 and 3.22 using the elastic property of the central element 4.4 in the closed position according to FIG. 14 pressed together.
  • an elastic middle element 4.4 made of a plastic material form-locking and surface-locking in such a way that in the closed position of the sliding element 4 according to FIG. 13 due to the elastic property of the middle element 4.4, the two plate elements 4.1 and 4.2 pressed apart and pressed against the

Landscapes

  • Lock And Its Accessories (AREA)

Description

  • Die Erfindung betrifft ein Schließkeilsystem zur lösbaren Kopplung einer Fahrzeugklappe mit einem Strukturteil einer Fahrzeugkarosserie gemäß dem Oberbegriff des Patentanspruchs 1.
  • Ein gattungsbildendes Schließkeilsystem ist aus der DE 10 2012 011 420 A1 bekannt.
  • Das in Figur 1 dargestellte und aus der DE 10 2012 011 420 A1 bekannte Schließkeilsystem 1 eines Fahrzeugs zur lösbaren Verbindung einer Fahrzeugtüre 11 einer Fahrzeugkarosserie 10 mit deren Seitenwandrahmen 12 als Fahrzeugstrukturteil umfasst ein mit zwei parallel gegeneinander verschiebbar gelagerten Schließkeilen 2.1 und 2.2 mit Keilflächen ausgebildetes Schließkeilmodul 2 und ein mit diesem zusammenwirkendes Schließbackenmodul 3, wobei im gekoppelten Zustand des Schließkeilsystems 1 über aneinander liegende Keilflächen das Schließkeilmodul 2 und das Haltebackenmodul 3 spielfrei gekoppelt sind. Das Haltebackenmodul 3 ist mit zwei, das Schließbackenmodul 2 zwischen sich aufnehmenden Haltebacken 3.1 und 3.2 mit Keilflächen aufweisenden Keilnuten 3.11 und 3.21 ausgebildet, derart dass mittels einer motorischen Antriebsvorrichtung die Schließkeile 2.1 und 2.2 durch Auseinanderverlagern mit ihren Keilflächen in die Keilnuten 3.11 und 3.21 unter Anlage an deren Keilflächen gedrückt werden und dadurch ein wirksamer Form- und Kraftschluss der beiden Schließkeile 2.1 und 2.2 mit den Haltebacken 3.1 und 3.2 erzielt wird.
  • Ferner ist in dieser DE 10 2012 011 420 A1 ein Haltebackenmodul beschrieben, bei welchem die beiden Haltebacken von einer verfahrbaren bzw. verschiebbaren Verschiebeeinheit überbrückbar sind, um das Eindringen von Schmutz in dieses Schließkeilmodul zu verhindern. Durch das Einschieben des Schließkeilmoduls in das Haltebackenmodul wird die Verschiebeeinheit aus ihrer geschlossenen Position in eine die Haltebackenmodul freigebende offene Position geschoben. Bei diesem mit einer verschiebbaren Verschiebeeinheit ausgeführten Haltebackenmodul sind jedoch die beiden Haltebacken waagrecht angeordnet.
  • Eine andere Ausführung des Haltebackenmoduls gemäß dieser DE 10 2012 011 420 A1 sieht vor, dass zum erleichterten Einführen der Schließkeile zwischen die Haltebacken diese um einen Winkel α gegenüber einer waagrechten Mittellinie verschwenkt sind, so dass die beiden Keilnuten konisch zueinander verlaufen. An diesen konischen Verlauf dieser beiden Keilnuten sind auch die Seitenkanten der beiden Schließkeile angepasst.
  • Eine solche Verschiebeeinheit eines Schließkeilsystems ist auch aus der DE 10 2012 025 392 B3 bekannt, die als flächig ausgebildete Abdeckung mit einem Flansch mit an die Keilform der Keilnuten der Haltebacken angepassten Nasen ausgebildet ist, um auch die zum Einführen des Schließkeilmoduls vorgesehene Einführstirnseite des Haltebackenmoduls abzudecken.
  • Die DE 10 2012 025 336 A1 beschreibt eine Fahrzeugschlosseinrichtung, bei welcher die aus der DE 10 2012 011 420 A1 bekannte Kupplungsvorrichtung neben der Funktion der Kopplung der Fahrzeugtüre mit einer Karosseriesäule auch die Funktion eines Fahrzeugschlosses übernimmt, so dass auf ein herkömmliches Fahrzeugschloss verzichtbar ist.
  • Schließlich ist aus der DE 103 15 565 A1 eine Kupplungsvorrichtung bekannt, welche als sogenanntes Kraftgelenk zur lösbaren Verbindung einer Fahrzeugtüre mit einer Türsäule verwendet wird. Diese Fahrzeugtüre ist anschlagseitig mit einem Kraftgelenk an der dortigen Türsäule angelenkt und weist eine das Kraftgelenk mit dem Kraftschloss verbindende Türaussteifung auf, so dass Kräfte aus den Türsäulen über das Kraftgelenkt und das Kraftschloss in die Fahrzeugtüre eingeleitet werden können und dadurch die Steifigkeit der Fahrzeugkarosserie erhöht wird.
  • Es ist Aufgabe der Erfindung ein gegenüber dem Stand der Technik verbessertes Schließkeilsystem anzugeben.
  • Diese Aufgabe wird gelöst durch ein Schließkeilsystem mit den Merkmalen des Patentanspruchs 1, mit den Merkmalen des Patentanspruchs 3 und mit den Merkmalen des Patentanspruchs 5.
  • Ein solches Schließkeilsystem zur lösbaren Kopplung einer Fahrzeugklappe mit einem Strukturteil einer Fahrzeugkarosserie umfasst:
    • ein Schließkeilmodul mit zwei gegeneinander in senkrechter Richtung zu einer Symmetrieachse verschiebbar gelagerten Schließkeilen mit jeweils einer Keilkante und mit einem Schließkeilhalter zur verschiebbaren Aufnahme der Schließkeile, und
    • ein Haltebackenmodul mit zwei, das Schließkeilmodul zwischen sich aufnehmenden Haltebacken mit jeweils einer Keilnut, wobei durch Auseinanderverlagern der Schließkeile ein Kraftschluss zwischen den Schließkeilen und den Haltebacken hergestellt ist, wobei
    eine Keilkante wenigstens eines Schließkeils sowie die diese Keilkante aufnehmende Keilnut eines Haltebackens gegenüber einer Symmetrieachse der Schließkeile und der Haltebacken geneigt verlaufend ausgebildet sind.
  • Erfindungsgemäß ist gemäß der erstgenannten Lösung vorgesehen, dass
    • das Haltebackenmodul mit Führungsschienen zur Führung einer Verschiebeeinheit zwischen einer die Haltebacken überbrückenden Verschlussposition und einer die Führungsschienen überbrückenden und die Aufnahme des Schließkeilmodul zulassenden Offenposition ausgebildet ist,
    • die Verschiebeeinheit aus wenigstens zwei streifenförmigen Lamellenelementen gebildet ist, die fächerartig überlappend mittels einer an einem Ende der Lamellenelementen angeordneten Schwenkachse gegeneinander verschwenkbar verbunden sind, und
    • die Verschiebeeinheit mit einem Federelement ausgebildet ist, mit welchem die Lamellenelemente beim Verschieben aus der Offenposition zwischen den Führungsschienen in die Verschlussposition zwischen den Haltebacken aufgefächert werden.
  • Bei einer Fahrzeugtüre als Fahrzeugklappe, die mittels des Schließkeilsystems mit einem Seitentürrahmen als Strukturteil einer Fahrzeugkarosserie gekoppelt wird, stellt die nunmehr gegenüber der Symmetrieachse des Haltebackenmoduls schräg verlaufende Keilnut des Haltebackens eine Anlaufschräge für den zugehörigen Schließkeil dar, wenn dieser Haltebacken bezogen auf die Fahrzeughochrichtung der untere der beiden Haltebacken des Haltebackenmoduls ist. Mit einer solchen Anlaufschräge wird erreicht, dass eine schief nach unten hängende Fahrzeugtüre mit dieser Anlaufschräge automatisch in die richtige Position gebracht wird.
  • Es bietet sich natürlich an, nicht nur einen Haltebacken mit einer Anlaufschräge auszubilden, sondern beide Haltebacken eines Haltebackenmoduls mit einer Anlaufschräge, so dass die beiden Anlaufschrägen konisch aufeinander zu gerichtet sind. Die Schließkeile sind hieran mit schräg aufeinander zu verlaufenden Keilkanten angepasst.
  • Mit einer solchen Verschiebeeinheit wird erfindungsgemäß die Anlaufschräge der Haltebacke ausgeglichen. Wird die Fahrzeugtüre als Fahrzeugklappe geschlossen, wird hierzu das Schließkeilmodul in das Haltebackenmodul eingeführt und gleichzeitig die Verschiebeeinheit aus der Verschlussposition in Richtung des Fahrzeuginneren zwischen die Führungsschienen in die Offenposition verschoben. Da die Haltebacken an der Einführstirnseite des Haltebackenmoduls einen größeren Abstand aufweisen als die zum Fahrzeuginneren zeigende Stirnseite wird die Verschiebeeinheit fächerartig überlappend zusammengeschoben. Wird umgekehrt die Fahrzeugtüre geöffnet, also das Schließkeilmodul aus dem Haltebackenmodul herausgeführt, wird die Verschiebeeinheit aus der zwischen den Führungsschienen liegenden Offenposition in die Verschlussposition zwischen den Haltebacken verschoben und dabei wieder aufgefächert, so dass die Haltebacken überbrückt werden.
  • Vorzugsweise ist bei dieser Ausgestaltung der Erfindung das die beiden Lamellenelemente in Auffächerungsrichtung vorspannende Federelement als auf der Schwenkachse angeordnete Schenkelfeder ausgebildet, deren Enden sich jeweils gegen ein Lamellenelement der Verschiebeeinheit abstützen.
  • Erfindungsgemäß ist nach der zweitgenannten Lösung vorgesehen, dass
    • das Haltebackenmodul mit Führungsschienen zur Führung einer Verschiebeeinheit zwischen einer die Haltebacken überbrückenden Verschlussposition und einer die Führungsschienen überbrückenden und die Aufnahme des Schließkeilmodul zulassenden Offenposition ausgebildet ist, und
    • die Verschiebeeinheit aus wenigstens zwei streifenförmigen Lamellenelementen gebildet ist, die fächerartig überlappend mittels einer an einem Ende der Lamellenelemente angeordneten Spannfeder gegeneinander verschwenkbar verbunden sind, wobei die Lamellenelemente beim Verschieben aus der Offenposition zwischen den Führungsschienen in die Verschlussposition zwischen den Haltebacken aufgefächert werden.
  • Auch mit einer solchen Verschiebeeinheit wird erfindungsgemäß die Anlaufschräge der Haltebacke ausgeglichen und erfüllt die gleiche Funktion wie die oben beschriebene Verschiebeeinheit. Der Unterschied zur oben beschriebenen Verschiebeeinheit liegt darin, dass anstelle einer Schenkelfeder eine Spannfeder eingesetzt wird, die gleichzeitig die beiden Lamellenelemente verbindet. Vorzugsweise ist das Federelement als Omega-Feder ausgebildet. Mit einer solchen Omega-Feder werden gleichzeitig die beiden Lamellenelemente verbunden.
  • Erfindungsgemäß ist nach der drittgenannten Lösung vorgesehen, dass
    • das Haltebackenmodul mit Führungsschienen zur Führung einer Verschiebeeinheit zwischen einer die Haltebacken überbrückenden Verschlussposition und einer die Führungsschienen überbrückenden und die Aufnahme des Schließkeilmodul zulassenden Offenposition ausgebildet ist, und
    • die Verschiebeeinheit aus wenigstens zwei streifenförmigen Lamellenelementen gebildet ist, die mittels eines elastischen Mittelelementes derart verbunden sind, dass unter Nutzung der elastischen Eigenschaft des Mittelelementes die Lamellenelemente aus der Offenposition auffächerbar oder aus der Verschlussposition wieder zusammenlegbar sind.
  • Auch mit einer solchen Verschiebeeinheit wird erfindungsgemäß die Anlaufschräge der Haltebacke ausgeglichen und erfüllt die gleiche Funktion wie die oben beschriebene Verschiebeeinheit. Der Unterschied zur oben beschriebenen Verschiebeeinheit liegt darin, dass die beiden Lamellenelemente mittels eines elastischen Mittelelementes verbunden sind, welches in der Verschlussposition die beiden Lamellenelemente auseinanderdrückt, so dass diese an den Haltebacken anliegen. Mit dem Verschieben in die Offenstellung werden die beiden Lamellenelemente aufgrund der Elastizität des Mittelelementes zusammengedrückt. Damit kann eine einteilige Verschiebeeinheit mit einem elastischen Mittelelement geschaffen werden.
  • Zudem ist es besonders vorteilhaft, wenn weiterbildungsgemäß im Bereich der Führungsschienen ein Federelement angeordnet ist, mit welchem die Verschiebeeinheit in Richtung der Verschlussstellung vorgespannt ist. Mit einem solchen Federelement wird sichergestellt, dass die Verschiebeeinheit in ihrer Verschlussposition verbleibt. Die Verschiebeeinheit wird gegen die Federkraft dieses Federelementes in ihre Offenposition verschoben.
  • Schließlich sieht eine letzte vorteilhafte Weiterbildung der Erfindung vor, dass die Lamellenelemente mit eine Stirnseite des Haltebackenmoduls abdeckende Flansche mit an die Keilform der Keilnuten angepassten Nasen ausgebildet sind. Damit ist sichergestellt, dass auch die Einführstirnseite des Haltebackenmoduls bei offener Fahrzeugtür abgedeckt ist und einen optimalen Designeindruck vermittelt.
  • Die Erfindung wird nachfolgend anhand von Ausführungsbeispielen unter Bezugnahme auf die beigefügten Figuren ausführlich beschrieben. Es zeigen:
  • Figur 1
    eine schematische Darstellung einer Fahrzeugkarosserie mit einem Schließkeilsystem gemäß Stand der Technik,
    Figur 2
    ein Schließkeilmodul eines Schließkeilsystems gemäß der Erfindung,
    Figur 3
    ein mit dem Schließkeilmodul gemäß Figur 2 zusammenwirkendes Haltebackenmodul gemäß der Erfindung,
    Figur 4
    eine perspektivische Darstellung einer Verschiebeeinheit des Schließkeilmoduls gemäß Figur 3 in einer Vorderansicht,
    Figur 5
    eine perspektivische Darstellung einer Verschiebeeinheit gemäß Figur 4 in einer Rückansicht,
    Figur 6
    eine Darstellung der Verschiebeeinheit gemäß den Figuren 4 und 5 in ihrer Verschlussposition,
    Figur 7
    eine perspektivische Darstellung des Haltebackenmoduls mit der Verschiebeeinheit gemäß Figur 6,
    Figur 8
    eine Darstellung der Verschiebeeinheit gemäß den Figuren 4 und 5 in ihre Offenposition,
    Figur 9
    eine perspektivische Darstellung des Haltebackenmoduls mit der Verschiebeeinheit gemäß Figur 8,
    Figur 10
    eine perspektivische Darstellung einer weiteren Verschiebeeinheit des Schließkeilmoduls gemäß Figur 3 in einer Rückansicht,
    Figur 11
    eine schematische Darstellung einer weiteren Verschiebeeinheit des Schließkeilmoduls gemäß Figur 3 im Zustand einer Offenposition,
    Figur 12
    eine schematische Darstellung der Verschiebeeinheit nach Figur 11 im Zustand einer Verschlussposition,
    Figur 13
    eine schematische Darstellung einer weiteren Verschiebeeinheit des Schließkeilmoduls gemäß Figur 3 im Zustand einer Offenposition, und
    Figur 14
    eine schematische Darstellung der Verschiebeeinheit nach Figur 13 im Zustand einer Verschlussposition.
  • Das in Figur 1 dargestellte und bekannte Schließkeilsystem 1 stellt eine Kopplungseinrichtung dar, mit welcher - wie eingangs beschrieben - mittels eines Schließkeilmoduls 2 und eines Haltebackenmoduls 3 eine Fahrzeugtür 11 mit einem Seitenwandrahmen 12 einer Fahrzeugkarosserie 10 gekoppelt wird. Neben einer solchen Kopplungseinrichtung ist in der Regel zusätzlich ein übliches Fahrzeugschloss (in Figur 1 nicht dargestellt) vorgesehen, wobei diese Kopplungseinrichtung zu einer Versteifung der Fahrzeugkarosserie 10 führt.
  • Die Figuren 2 und 3 zeigen ein Schließkeilmodul 2 und ein Haltebackenmodul 3 eines Schließkeilsystems 1 gemäß der Erfindung. Nach Figur 2 sind in einem Schließkeilhalter 2.3 des Schließkeilmoduls 2 an gegenüberliegenden Seiten in senkrechter Richtung R (z-Richtung) zu einer Symmetrieachse S jeweils ein Schließkeil 2.1 und 2.2 verschiebbar angeordnet. Diese beiden Schließkeile 2.1 und 2.2 weisen unter Bildung einer Keilkante 2.10 und 2.20 entsprechende Keilflächen auf.
  • Nach Figur 3 umfasst das Haltebackenmodul 3 zwei beabstandet auf einer Grundplatte 3.5 angeordnete Haltebacken 3.1 und 3.2 mit jeweils einer Keilnut 3.11 und 3.21. Zur Kopplung des Schließkeilmoduls 2 mit dem Haltebackenmodul 3 wird das Schließkeilmodul 2 über eine Einführstirnseite 3.3 des Haltebackenmoduls 3 in Einführrichtung E eingeführt, so dass sich das Schließkeilmodul 2 zwischen den beiden Haltebacken 3.1 und 3.2 befindet.
  • Mittels einer nicht dargestellten Antriebseinrichtung werden die beiden Schließkeile 2.1 und 2.2 in entgegengesetzten Richtungen R (z-Richtung) aus einer Nichtkoppelstellung in eine Koppelstellung ausgefahren, wodurch die beiden Schließkeile 2.1 und 2.2 mit ihren endseitigen Keilflächen jeweils in die an die Kontur dieser Keilflächen angepassten Keilnuten 3.11 und 3.21 gedrückt werden und damit eine kraft- und formschlüssige Verbindung zwischen dem Schließkeilmodul 2 und dem Haltebackenmodul 3 hergestellt wird.
  • Die Schließkeile 2.1 und 2.2 des Schließkeilmoduls 2 sind jedoch nicht parallel zueinander ausgerichtet, genauer gesagt die Keilkanten 2.10 und 2.20 dieser Schließkeile 2.1 und 2.2 verlaufen nicht parallel zur Symmetrieachse S des Schließkeilmoduls 2, sondern verlaufen in Einführrichtung E schräg aufeinander zu. So bildet die Keilkante 2.10 des Schließkeils 2.1 sowie die Keilkante 2.20 des Schließkeils 2.2 jeweils einen Neigungswinkel α mit der Symmetrieachse S. Dies bedeutet, dass der endseitige Abstand a der beiden Keilkanten 2.10 und 2.20 an der einführseitigen Stirnseite 2.4 des Schließkeilmoduls 2 kleiner ist als der Abstand A an der gegenüberliegenden Stirnseite 2.5. In Anpassung an diese schräg gegenüber der Symmetrieachse S verlaufenden Schließkeile 2.1 und 2.2 sind auch die Keilnuten 3.11 und 3.21 der beiden Haltebacken 3.1 und 3.2 schräg zur Symmetrieachse S des Schließkeilmoduls 3 verlaufend ausgeführt. Dies bedeutet, dass die die Keilnut 3.11 aufnehmende Haltebackenfläche 3.12 gegenüber der Symmetrieachse S einen Neigungswinkel α und ebenso die die Keilnut 3.21 aufnehmende Haltebackenfläche 3.22 ebenso gegenüber der Symmetrieachse S einen Neigungswinkel α aufweist, wobei der Abstand B dieser beiden Haltebackenflächen 3.12 und 3.22 an der Einführstirnseite 3.3 größer ist als der Abstand b am gegenüberliegenden Ende der beiden Haltebacken 3.1 und 3.2. Somit passen bei der Einführung des Schließkeilmoduls 2 in das Haltebackenmodul 3 die jeweiligen konusförmigen Verläufe der beiden Schließkeile 2.1 und 2.2 sowie der beiden Haltebacken 3.1 und 3.2 zusammen.
  • Es ist natürlich auch möglich, bezogen auf die Fahrzeughochrichtung (z-Richtung) nur den unteren Schließkeil 2.2 des Schließkeilmoduls 2 mit einer gegenüber der Symmetrieachse S schräg verlaufenden Keilkante 2.20 auszubilden. Die Keilkante 2.10 des oberen Schließkeils 2. 1 verläuft dann entsprechend dem Stand der Technik parallel zur Symmetrieachse S. Hieran angepasst sind die Haltebacken 3.1 und 3.2 des Haltebackenmoduls 3, wobei bezogen auf die Fahrzeughochrichtung (z-Richtung) nur der untere Haltebacken 3.2 gegenüber der Symmetrieachse S eine schräg verlaufende Keilnut 3.21 bzw. Haltebackenfläche 3.22 aufweist.
  • An den zur Einführstirnseite 3.3 gegenüberliegenden Enden der beiden Haltebacken 3.1 und 3.2 schließen sich jeweils eine Führungsschiene 3.10 und 3.20 zur Aufnahme einer in Figur 3 nicht dargestellten Verschiebeeinheit 4 an, die dazu dient bei offener Fahrzeugtüre 11, wenn also das Schließkeilmodul 2 nicht in das Haltebackenmodul 3 eingefahren ist, den Raum zwischen den beiden Haltebacken 3.1 und 3.2 als auch im Bereich der Einführstirnseite 3.3 formschlüssig abzudecken. Hierzu ist eine solche Verschiebeeinheit 4 zwischen einer Verschlussposition zwischen den beiden Haltebacken 3.1 und 3.2 und einer den Raum zwischen den beiden Haltebacken 3.1 und 3.2 freigebenden Offenposition zwischen den Führungsschienen 3.10 und 3.20 verschiebbar. Daher bilden die Haltebackenflächen 3.12 und 3.22 der Haltebacken 3.1 und 3.2 zusammen mit den sich daran anschließenden Stirnflächen der beiden Führungsschienen 3.10 und 3.20 eine einheitliche Fläche.
  • Die beiden Führungsschienen 3.10 und 3.20 werden stirnseitig und vorderseitig von einer winkelförmigen Abdeckplatte 3.6 abgedeckt, wobei an der Stirnseite ein Federelement 3.4 angeordnet ist, dessen Funktion weiter unten erläutert wird.
  • Eine Verschiebeeinheit 4 in unterschiedlichen Ausführungsformen wird nachfolgend anhand der Figuren 4 bis 14 beschrieben.
  • Die Verschiebeeinheit 4 gemäß den Figuren 4 und 5 besteht aus einem ersten streifenförmigen dünnen Lamellenelement 4.1, einem zweiten streifenförmigen dünnen Lamellenelement 4.2 sowie einer Schenkelfeder als Federelement 4.3. Jedes der Lamellenelemente 4.1 und 4.2 ist L-förmig mit einem streifenförmigen Element 4.10 bzw. 4.20 als langer Schenkel der L-Form und einem von dem streifenförmigen Element 4.10 bzw. 4.20 rechtwinklig abstehenden Flansch 4.11 bzw. 4.21 als kurzer Schenkel der L-Form ausgebildet.
  • An dem zum Flansch 4.11 gegenüberliegenden Ende des streifenförmigen Elementes 4.10 schließt sich ein kreisförmiger Verbindungsflansch 4.13 mit einer kurzen Schwenkachse 4.14 an, über welche die beiden Lamellenelemente 4.1 und 4.2 gegeneinander verschwenkbar verbunden werden. Hierzu weist das zweite Lamellenelement 4.2 gegenüberliegend zum Flansch 4.21 ebenso einen Verbindungsflansch 4.24 mit einer an den Durchmesser der Schwenkachse 4.14 angepassten Achsenöffnung 4.24 auf.
  • Das erste Lamellenelement 4.1 weist ferner einen von dem Verbindungsflansch 4.13 ausgehenden und sich konusförmig verbreiternden Überlappungsbereich 4.12, auf, der mittels einer bis in den Flansch 4.11 laufenden Schulter 4.120 mit einer der Dicke des zweiten Lamellenelementes 4.2 entsprechenden Schulterhöhe abgegrenzt ist. Im über die Schwenkachse 4.14 verbundenen Zustand der beiden Lamellenelemente 4.1 und 4.2 wird dieser Überlappungsbereich 4.12 fächerartig von dem zweiten Lamellenelement 4.2 überlappt. Wird dieser Überlappungsbereich 4.12 vollständig von dem zweiten Lamellenelement 4.2 überlappt, liegt dessen Seitenkante direkt an der Schulter 4.120 an und definiert die Offenposition der Verschiebeeinheit 4, in welcher sie sich gemäß Figur 9 zwischen den Führungsschienen 3.10 und 3.20 befindet. In diesem Zustand liegt gemäß Figur 8 die freie Kante des Überlappungsbereiches 4.12 an einer auf der Rückseite des zweiten Lamellenelementes 4.2 verlaufenden Schulter 4.220 an, die ebenso einen Überlappungsbereich 4.22 des zweiten Lamellenelementes 4.2 gemäß Figur 5 definiert.
  • Im verbundenen Zustand der beiden Lamellenelemente 4.1 und 4.2 ist die Schenkelfeder als Federelement 4.3 auf der Schwenkachse 4.14 angeordnet, wobei deren Enden jeweils in eine Haltenut 4.16 des ersten Lamellenelementes 4.1 und in eine Haltenut 4.26 des zweiten Lamellenelementes 4.2 derart fixiert sind, dass die beiden Lamellenelemente 4.1 und 4.2 gegeneinander verschwenkt werden, also in Auffächerungsrichtung D1 bzw. D2 vorgespannt sind.
  • Befindet sich die Verschiebeeinheit 4 in ihrer Offenposition zwischen den beiden Führungsschienen 3.10 und 3.20 wird das Schließkeilmodul 2 zwischen den beiden Haltebacken 3.1 und 3.2 verspannt. Mit dem Öffnen der Fahrzeugtüre wird das Schließkeilmodul 2 aus dem Haltebackenmodul 3 ausgefahren, wodurch die Verschiebeeinheit 4 aus ihrer Offenposition zwischen den Führungsschienen 3.10 und 3.20 von einem vorgespannten Federelement 3.4 nach vorne in Richtung der Einführstirnseite 3.3 geschoben wird. Hierbei wird die Schließeinheit 4 aufgrund der Federvorspannung des Federelementes 4.3 aufgefächert, d.h. die beiden Lamellenelemente 4.1 und 4.2 werden jeweils in ihre Auffächerungsrichtung D1 bzw. D2 aufgefächert, bis deren äußeren Kanten formschlüssig an den Haltebackenflächen 3.12 und 3.22 der beiden Haltebacken 3.1 und 3.2 formschlüssig anliegen, wobei auch über die Flansche 4.11 und 4.21 zusammen mit deren Nasen 4.15 und 4.25 ein Formschluss der Haltebacken 3.1 und 3.2 an der Einführstirnseite 3.3 des Haltebackenmoduls 3 erreicht wird, wie dies in Figur 7 dargestellt ist. Dies stellt die Verschlussposition der Verschiebeeinheit 4 dar, in welcher der Überlappungsbereich 4.12 in der Vorderansicht gemäß Figur 7 nur teilweise von dem zweiten Lamellenelement 4.2 überlappt wird bzw. der Überlappungsbereich 4.22 des zweiten Lamellenelementes 4.2 in der Rückansicht gemäß Figur 6 nur teilweise von dem ersten Lamellenelemente 4.1 überlappt wird. Mittels des Federelementes 3.4 wird die Verschiebeeinheit 4 in ihrer Verschlussposition gehalten.
  • Zum Schließen der Fahrzeugtüre wird das Schließkeilmodul 2 über die Einführstirnseite 3.3 des Haltebackenmoduls 3 zwischen die Haltebacken 3.1 und 3.2 eingeführt und dabei die Verschiebeeinheit 4 entgegen der Federkraft des Federelementes 3.4 in den Bereich der Führungsschienen 3.10 und 3.20 verschoben, bis diese ihre Offenposition gemäß Figur 9 erreicht. Mit dem Verschieben der Verschiebeeinheit 4 aus ihrer Verschlussposition gemäß Figur 7 in ihre Offenposition gemäß Figur 9 werden die beiden Lamellenelemente 4.1 und 4.2 aufgrund der schräg verlaufenden Haltebackenflächen 3.12 und 3.22 der beiden Haltebacken 3.1 und 3.2 zusammengedrückt, bis die Überlappungsbereiche 4.12 und 4.23 vollständig überlappt sind und daher in der Vorderansicht gemäß Figur 9 lediglich die Schulter 4.120 sichtbar ist.
  • Wenn das Haltebackenmodul 3 nur mit einer einzigen schräg verlaufenden Keilnut 3.21 des unteren Haltebackens 3.1 ausgeführt ist, weist die Verschiebeeinheit 4 gemäß den Figuren 4 und 5 natürlich den gleichen Aufbau auf.
  • Die Figur 10 zeigt eine alternative Ausführungsform der Verschiebeeinheit 4. Diese Verschiebeeinheit 4 gemäß Figur 10 unterscheidet sich von derjenigen gemäß den Figuren 4 und 5 dadurch, dass anstelle einer Schenkelfeder als Federelement 4.3 eine Omega-Feder vorgesehen ist. Ansonsten entspricht der Aufbau dieser Verschiebeeinheit 4 gemäß Figur 10 demjenigen gemäß den Figuren 4 und 5.
  • Diese Verschiebeeinheit 4 umfasst ebenso ein erstes Lamellenelement 4.1 und ein zweites Lamellenelement 4.2. Die Omega-Feder als Federelement 4.3 verbindet die beiden Lamellenelemente 4.1 und 4.2 dadurch, dass ein Schenkel der Omega-Feder kraftschlüssig mit dem ersten Lamellenelement 4.1 und der andere Schenkel der Omega-Feder kraftschlüssig mit dem zweiten Lamellenelement 4.2 verbunden sind. Auch bei dieser Verschiebeeinheit 4 sind die beiden Lamellenelemente 4.1 und 4.2 mittels dieser Omega-Feder in Auffächerungsrichtung vorgespannt, so dass diese Lamellenelemente 4.1 und 4.2 sowohl in der Offenposition gemäß Figur 9 als auch in der Verschlussposition gemäß Figur 3 an die Führungsschienen 3.10 und 3.20 bzw. an die Haltebacken 3.1 und 3.2 gedrückt werden.
  • Mit der Verwendung einer Omega-Feder als Federelement 3.4 weist das erste Lamellenelement 4.1 und das zweite Lamellenelement 4.2 jeweils keinen Verbindungsflansch 4.13 bzw. 4.23 mit zugehöriger Schwenkachse 4.14 bzw. Achsenöffnung 4.24 und keine Haltenut 4.16 bzw. 4.26 auf.
  • Die Figuren 11 und 12 zeigen eine weitere alternative Ausführungsform einer Verschiebeeinheit 4, bei welcher anstelle der Omega-Feder der Verschiebeeinheit 4 nach Figur 10 eine bogenförmige Spannfeder als Federelement 4.3 verwendet wird. Dieses Federelement 4.3 verbindet die beiden Lamellenelemente 4.1 und 4.2 im Bereich der Flansche 4.11 und 4.21, wobei die konvexe Seite der Spannfeder in Richtung der Flansche 4.11 und 4.21 zeigt. Auch bei dieser Verschiebeeinheit 4 erfolgt die Verbindung der beiden Lamellenelemente 4.1 und 4.2 unter Erzeugung einer in Richtung der Auffächerungsrichtung in D1 bzw. D2 gerichteten Federvorspannung. Die beiden Lamellenelemente 4.1 und 4.2 entsprechend in ihrem Aufbau demjenigen der Verschiebeeinheit 4 nach Figur 10. Die Figur 11 zeigt die Verschiebeeinheit 4 in ihrer Offenposition entsprechend der Darstellung nach Figur 9 und die Darstellung nach Figur 12 entspricht der Verschlussposition gemäß Figur 4.
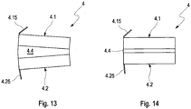
  • Die Figuren 13 und 14 zeigen eine letzte alternative Ausführungsform einer Verschiebeeinheit 4, die ebenso ein erstes Lamellenelemente 4.1 und ein zweites Lamellenelemente 4.2 umfasst, die jedoch quaderförmig mit einer der Dicke der Schließkeile 3.1 und 3.2 sowie der Dicke der Führungsschienen 3.10 und 3.20 bspw. aus einem Kunststoffmaterial hergestellt sind.
  • Die beiden Lamellenelemente 4.1 und 4.2 sind mittels eines elastischen Mittelelementes 4.4 aus einem Kunststoffmaterial form- und flächenschlüssig derart miteinander verbunden, dass in der Verschlussposition des Verschiebeelementes 4 gemäß Figur 13 aufgrund der elastischen Eigenschaft des Mittelelementes 4.4 die beiden Lamellenelemente 4.1 und 4.2 auseinandergedrückt und gegen die Haltebacken 3.1 und 3.2 des Haltebackenmoduls 3 gedrückt werden. Wird diese Verschiebeeinheit 4 aus dieser Verschlussposition in die Offenposition zwischen den Führungsschienen 3.10 und 3.20 geschoben, werden die beiden Lamellenelemente 4.1 und 4.2 aufgrund der schräg verlaufenden Haltebackenflächen 3.12 und 3.22 unter Nutzung der elastischen Eigenschaft des Mittelelementes 4.4 in die Verschlussposition gemäß Figur 14 zusammengedrückt.
  • Mit einem solchen elastischen Mittelelement 4.4 kann die Verschiebeeinheit 4 gemäß den Figuren 13 und 14 aus der Offenposition in die Verschlussposition auf gefaltet und umgekehrt aus der Verschlussposition in die Offenposition wieder zusammengelegt werden.
  • Bezugszeichen
  • 1
    Schließkeilsystem
    2
    Schließkeilmodul
    2.1
    Schließkeil
    2.10
    Keilkante des Schließkeils 2.1
    2.2
    Schließkeil
    2.20
    Keilkante des Schließkeils 2.2
    2.3
    Schließkeilhalter
    2.4
    Stirnseite des Schließkeilmoduls 2
    2.5
    Stirnseite des Schließkeilmoduls 2
    3
    Haltebackenmodul
    3.1
    Haltebacke des Haltebackenmoduls 3
    3.10
    Führungsschiene
    3.11
    Keilnut der Haltebacke 3.1
    3.12
    Haltebackenfläche
    3.2
    Haltebacke des Haltebackenmoduls 3
    3.20
    Führungsschiene
    3.21
    Keilnut der Haltebacke 3.2
    3.22
    Haltebackenfläche
    3.3
    Einführstirnseite des Haltebackenmoduls 3
    3.4
    Federelement
    3.5
    Grundplatte
    3.6
    Abdeckplatte
    4
    Verschiebeeinheit
    4.1
    erstes Lamellenelement
    4.10
    streifenförmiges Element des ersten Lamellenelementes 4.1
    4.11
    Flansch des streifenförmigen Elementes 4.10
    4.12
    Überlappungsbereich des ersten Lamellenelementes 4.10
    4.120
    Schulter des ersten Lamellenelementes 4.1
    4.13
    Verbindungsflansch des streifenförmigen Elementes 4.10
    4.14
    Schwenkachse
    4.15
    Nase des Flansches 4.11
    4.16
    Haltenut
    4.2
    zweites Lamellenelement
    4.20
    streifenförmiges Element des zweiten Lamellenelementes 4.2
    4.21
    Flansch des streifenförmigen Elementes 4.20
    4.22
    Schulter des zweiten Lamellenelementes 4.2
    4.220
    Schulter des zweiten Lamellenelementes 4.2
    4.23
    Verbindungsflansch des streifenförmigen Elementes 4.20
    4.24
    Achsenöffnung des Verbindungsflansches 4.23
    4.25
    Nase des Flansches 4.21
    4.26
    Haltenut
    4.3
    Federelement
    4.4
    Mittelelement
    10
    Fahrzeugkarosserie
    11
    Fahrzeugklappe, Fahrzeugtüre der Fahrzeugkarosserie 10
    12
    Strukturteil, Seitenwandrahmen der Fahrzeugkarosserie 10

Claims (7)

  1. Schließkeilsystem (1) zur lösbaren Kopplung einer Fahrzeugklappe (11) mit einem Strukturteil (12) einer Fahrzeugkarosserie, umfassend
    - ein Schließkeilmodul (2) mit zwei gegeneinander in senkrechter Richtung (R) zu einer Symmetrieachse (S) verschiebbar gelagerten Schließkeilen (2.1, 2.2) mit jeweils einer Keilkante (2.10, 2.20) und mit einem Schließkeilhalter (2.3) zur verschiebbaren Aufnahme der Schließkeile (2.1, 2.2), und
    - ein Haltebackenmodul (3) mit zwei, das Schließkeilmodul (2) zwischen sich aufnehmenden Haltebacken (3.1, 3.2) mit jeweils einer Keilnut (3.11, 3.21), wobei durch Auseinanderverlagern der Schließkeile (2.1, 2.2) ein Kraftschluss zwischen den Schließkeilen (2.1, 2.2) und den Haltebacken (3.1, 3.2) hergestellt ist, wobei
    - eine Keilkante (2.10, 2.20) wenigstens eines Schließkeils (2.1, 2.2) sowie die diese Keilkante (2.10, 2.20) aufnehmende Keilnut (3.11, 3.21) eines Haltebackens (3.1, 3.2) gegenüber der Symmetrieachse (S) der Schließkeile (2.1, 2.2) und der Haltebacken (3.1, 3.2) geneigt verlaufend ausgebildet sind,
    dadurch gekennzeichnet, dass
    - das Haltebackenmodul (3) mit Führungsschienen (3.10, 3.20) zur Führung einer Verschiebeeinheit (4) zwischen einer die Haltebacken (3.1, 3.2) überbrückenden Verschlussposition und einer die Führungsschienen (3.10, 3.20) überbrückenden und die Aufnahme des Schließkeilmoduls (2) zulassenden Offenposition ausgebildet ist,
    - die Verschiebeeinheit (4) aus wenigstens zwei streifenförmigen Lamellenelementen (4.1, 4.2) gebildet ist, die fächerartig überlappend mittels einer an einem Ende der Lamellenelemente (4.1, 4.2) angeordneten Schwenkachse (4.14) gegeneinander verschwenkbar verbunden sind, und
    - die Verschiebeeinheit (4) mit einem Federelement (4.3) ausgebildet ist, mit welchem die Lamellenelemente (4.1, 4.2) beim Verschieben aus der Offenposition zwischen den Führungsschienen (3.10, 3.20) in die Verschlussposition zwischen den Haltebacken (3.1, 3.2) aufgefächert werden.
  2. Schließkeilsystem (1) nach Anspruch 1,
    dadurch gekennzeichnet, dass das Federelement (4.3) als auf der Schwenkachse (4.14) angeordnete Schenkelfeder ausgebildet ist, deren Enden sich jeweils gegen ein Lamellenelement (4.1, 4.2) der Verschiebeeinheit (4) abstützen.
  3. Schließkeilsystem (1) zur lösbaren Kopplung einer Fahrzeugklappe (11) mit einem Strukturteil (12) einer Fahrzeugkarosserie, umfassend
    - ein Schließkeilmodul (2) mit zwei gegeneinander in senkrechter Richtung (R) zu einer Symmetrieachse (S) verschiebbar gelagerten Schließkeilen (2.1, 2.2) mit jeweils einer Keilkante (2.10, 2.20) und mit einem Schließkeilhalter (2.3) zur verschiebbaren Aufnahme der Schließkeile (2.1, 2.2), und
    - ein Haltebackenmodul (3) mit zwei, das Schließkeilmodul (2) zwischen sich aufnehmenden Haltebacken (3.1, 3.2) mit jeweils einer Keilnut (3.11, 3.21), wobei durch Auseinanderverlagern der Schließkeile (2.1, 2.2) ein Kraftschluss zwischen den Schließkeilen (2.1, 2.2) und den Haltebacken (3.1, 3.2) hergestellt ist, wobei
    - eine Keilkante (2.10, 2.20) wenigstens eines Schließkeils (2.1, 2.2) sowie die diese Keilkante (2.10, 2.20) aufnehmende Keilnut (3.11, 3.21) eines Haltebackens (3.1, 3.2) gegenüber der Symmetrieachse (S) der Schließkeile (2.1, 2.2) und der Haltebacken (3.1, 3.2) geneigt verlaufend ausgebildet sind,
    dadurch gekennzeichnet, dass
    - das Haltebackenmodul (3) mit Führungsschienen (3.10, 3.20) zur Führung einer Verschiebeeinheit (4) zwischen einer die Haltebacken (3.1, 3.2) überbrückenden Verschlussposition und einer die Führungsschienen (3.10, 3.20) überbrückenden und die Aufnahme des Schließkeilmoduls (2) zulassenden Offenposition ausgebildet ist, und
    - die Verschiebeeinheit (4) aus wenigstens zwei streifenförmigen Lamellenelementen (4.1, 4.2) gebildet ist, die fächerartig überlappend mittels einer an einem Ende der Lamellenelemente (4.1, 4.2) angeordneten Spannfeder als Federelement (4.3) gegeneinander verschwenkbar verbunden sind, wobei die Lamellenelemente (4.1, 4.2) beim Verschieben aus der Offenposition zwischen den Führungsschienen (3.10, 3.20) in die Verschlussposition zwischen den Haltebacken (3.1, 3.2) aufgefächert werden.
  4. Schließkeilsystem (1) nach Anspruch 3,
    dadurch gekennzeichnet, dass das Federelement (4.3) als Omega-Feder ausgebildet ist.
  5. Schließkeilsystem (1) zur lösbaren Kopplung einer Fahrzeugklappe (11) mit einem Strukturteil (12) einer Fahrzeugkarosserie, umfassend
    - ein Schließkeilmodul (2) mit zwei gegeneinander in senkrechter Richtung (R) zu einer Symmetrieachse (S) verschiebbar gelagerten Schließkeilen (2.1, 2.2) mit jeweils einer Keilkante (2.10, 2.20) und mit einem Schließkeilhalter (2.3) zur verschiebbaren Aufnahme der Schließkeile (2.1, 2.2), und
    - ein Haltebackenmodul (3) mit zwei, das Schließkeilmodul (2) zwischen sich aufnehmenden Haltebacken (3.1, 3.2) mit jeweils einer Keilnut (3.11, 3.21), wobei durch Auseinanderverlagern der Schließkeile (2.1, 2.2) ein Kraftschluss zwischen den Schließkeilen (2.1, 2.2) und den Haltebacken (3.1, 3.2) hergestellt ist, wobei
    - eine Keilkante (2.10, 2.20) wenigstens eines Schließkeils (2.1, 2.2) sowie die diese Keilkante (2.10, 2.20) aufnehmende Keilnut (3.11, 3.21) eines Haltebackens (3.1, 3.2) gegenüber der Symmetrieachse (S) der Schließkeile (2.1, 2.2) und der Haltebacken (3.1, 3.2) geneigt verlaufend ausgebildet sind,
    dadurch gekennzeichnet, dass
    - das Haltebackenmodul (3) mit Führungsschienen (3.10, 3.20) zur Führung einer Verschiebeeinheit (4) zwischen einer die Haltebacken (3.1, 3.2) überbrückenden Verschlussposition und einer die Führungsschienen (3.10, 3.20) überbrückenden und die Aufnahme des Schließkeilmoduls (2) zulassenden Offenposition ausgebildet ist, und
    - die Verschiebeeinheit (4) aus wenigstens zwei streifenförmigen Lamellenelementen (4.1, 4.2) gebildet ist, die mittels eines elastischen Mittelelementes (4.4) derart verbunden sind, dass unter Nutzung der elastischen Eigenschaft des Mittelelementes (4.4) die Lamellenelemente (4.1, 4.2) aus der Offenposition auffächerbar oder aus der Verschlussposition wieder zusammenlegbar sind.
  6. Schließkeilsystem (1) nach einem der Ansprüche 1 bis 5,
    dadurch gekennzeichnet, dass im Bereich der Führungsschienen (3.10, 3.20) ein Federelement (3.4) angeordnet ist, mit welchem die Verschiebeeinheit (4) in Richtung der Verschlussposition vorgespannt ist.
  7. Schließkeilsystem (1) nach einem der Ansprüche 1 bis 6,
    dadurch gekennzeichnet, dass die Lamellenelemente (4.1, 4.2) mit eine Stirnseite des Haltebackenmoduls (3) abdeckenden Flanschen (4.11, 4.21) mit an die Keilform der Keilnuten (3.11, 3.21) angepassten Nasen (4.15, 4.25) ausgebildet sind.
EP17716125.4A 2016-04-07 2017-04-05 Schliesskeilsystem zur lösbaren kopplung einer fahrzeugklappe mit einem strukturteil einer fahrzeugkarosserie Active EP3440293B1 (de)

Applications Claiming Priority (2)

Application Number Priority Date Filing Date Title
DE102016004279.6A DE102016004279A1 (de) 2016-04-07 2016-04-07 Schließkeilsystem zur lösbaren Kopplung einer Fahrzeugklappe mit einem Strukturteil einer Fahrzeugkarosserie
PCT/EP2017/000417 WO2017174186A1 (de) 2016-04-07 2017-04-05 Schliesskeilsystem zur lösbaren kopplung einer fahrzeugklappe mit einem strukturteil einer fahrzeugkarosserie

Publications (2)

Publication Number Publication Date
EP3440293A1 EP3440293A1 (de) 2019-02-13
EP3440293B1 true EP3440293B1 (de) 2019-11-06

Family

ID=58503563

Family Applications (1)

Application Number Title Priority Date Filing Date
EP17716125.4A Active EP3440293B1 (de) 2016-04-07 2017-04-05 Schliesskeilsystem zur lösbaren kopplung einer fahrzeugklappe mit einem strukturteil einer fahrzeugkarosserie

Country Status (3)

Country Link
EP (1) EP3440293B1 (de)
DE (1) DE102016004279A1 (de)
WO (1) WO2017174186A1 (de)

Families Citing this family (1)

* Cited by examiner, † Cited by third party
Publication number Priority date Publication date Assignee Title
DE102018132665A1 (de) 2018-12-18 2020-06-18 Kiekert Aktiengesellschaft Aufstellvorrichtung für ein kraftfahrzeugtürelement

Family Cites Families (5)

* Cited by examiner, † Cited by third party
Publication number Priority date Publication date Assignee Title
JPH10227165A (ja) * 1997-02-14 1998-08-25 Tokyo Magnet Oyo Seihin Kk 扉の開閉ロック装置
DE10315565B4 (de) * 2003-04-05 2006-07-13 Audi Ag Fahrzeugkarosserie und Kraftschloß
DE102012011420A1 (de) 2012-06-08 2013-12-12 Audi Ag Kupplungsvorrichtung zur lösbaren Verbindung eines schwenkbeweglich gelagerten Karosserieteils, wie Fahrzeugtüre, Heck- oder Frontklappe mit einem Fahrzeugstrukturteil einer Fahrzeugkarosserie
DE102012025336A1 (de) * 2012-12-21 2014-06-26 Audi Ag Fahrzeugschlosseinrichtung für ein Fahrzeug unter Verwendung einer Kupplungsvorrichtung
DE102012025392B3 (de) 2012-12-24 2014-02-20 Audi Ag Abdeckvorrichtung für ein mit einem Schließkeilmodul in eine die Verbindung einer Fahrzeugtüre mit einem Seitenwandrahmen einer Fahrzeugkarosserie bewirkende lösbare Kopplung bringbares Haltebackenmodul

Non-Patent Citations (1)

* Cited by examiner, † Cited by third party
Title
None *

Also Published As

Publication number Publication date
WO2017174186A1 (de) 2017-10-12
DE102016004279A1 (de) 2017-10-12
EP3440293A1 (de) 2019-02-13

Similar Documents

Publication Publication Date Title
DE68914595T2 (de) Türscharnier mit Schnellkupplung.
AT519903B1 (de) Schiene zur Führung eines Schlittens einer Möbeltüre
EP2935739B1 (de) Abdeckvorrichtung für ein mit einem schliesskeilmodul in eine die verbindung einer fahrzeugtüre mit einem seitenwandrahmen einer fahrzeugkarosserie bewirkende lösbare kopplung bringbares haltebackenmodul
WO2011095414A1 (de) Verstellvorrichtung mit einer umlenkbaugruppe
DE8309452U1 (de) Tür eines Motorfahrzeuges
EP2935734B1 (de) Fahrzeugschlosseinrichtung für ein fahrzeug unter verwendung einer kupp lungsvorrichtung
DE102009001318A1 (de) Längsführung für Kraftfahrzeugsitze, die sowohl in einer Längsrichtung verstellbar als auch entnehmbar sind
DE202006021264U1 (de) Tür- und Fensterrahmen mit einem hinterschnittenen Eingriffsbereich für eine Getriebeeinheit
EP1275541A1 (de) Modul, insbesondere Schiebedachmodul für ein Fahrzeug
EP3440293B1 (de) Schliesskeilsystem zur lösbaren kopplung einer fahrzeugklappe mit einem strukturteil einer fahrzeugkarosserie
DE2032517A1 (de) Rahmengetriebe für Fenster, Türen oder dergleichen
DE2044198A1 (de) Langenverstellbare Gestangekupplung fur Treibstangenbeschlage
EP3636104B1 (de) Kopplungsvorrichtung für auszugsführung
EP1352143B1 (de) Einstellbarer mitnehmer zum anbinden einer fensterscheibe an eine fensterhebeeinrichtung einer fahrzeugtür
DE10040597A1 (de) Fahrzeugdach mit einem Schiebedeckel
CH697729B1 (de) Halter zur Aufnahme eines auswechselbaren Schildes.
DE102015012101B4 (de) Kupplungsvorrichtung zur lösbaren Verbindung eines schwenkbeweglich gelagerten Karosserieteils, wie Fahrzeugtüre, Heck- oder Frontklappe mit einem Fahrzeugstrukturteil einer Fahrzeugkarosserie
DE3718840C1 (en) Window lifter for motor vehicles
DE3442415A1 (de) Verriegelungsvorrichtung, insbesondere zum verriegeln von klappen an einer fahrzeugplattform
EP3029234B1 (de) Einstellbarer Eckbeschlag
DE2337942A1 (de) Aufbau fuer lastfahrzeuge
DE102010043047B4 (de) Mitnehmer für eine Fensterhebervorrichtung
DE202007008049U1 (de) Führungsbaugruppe eines Kraftfahrzeugfensterhebers
DE20008856U1 (de) Treibstangenbeschlag-System mit Hochkant-Treibstange und Verzahnungsverbindungseinheit
WO2003013934A1 (de) Bewegliche verriegelung für schiebewände

Legal Events

Date Code Title Description
STAA Information on the status of an ep patent application or granted ep patent

Free format text: STATUS: UNKNOWN

STAA Information on the status of an ep patent application or granted ep patent

Free format text: STATUS: THE INTERNATIONAL PUBLICATION HAS BEEN MADE

PUAI Public reference made under article 153(3) epc to a published international application that has entered the european phase

Free format text: ORIGINAL CODE: 0009012

STAA Information on the status of an ep patent application or granted ep patent

Free format text: STATUS: REQUEST FOR EXAMINATION WAS MADE

17P Request for examination filed

Effective date: 20181107

AK Designated contracting states

Kind code of ref document: A1

Designated state(s): AL AT BE BG CH CY CZ DE DK EE ES FI FR GB GR HR HU IE IS IT LI LT LU LV MC MK MT NL NO PL PT RO RS SE SI SK SM TR

AX Request for extension of the european patent

Extension state: BA ME

DAV Request for validation of the european patent (deleted)
DAX Request for extension of the european patent (deleted)
GRAP Despatch of communication of intention to grant a patent

Free format text: ORIGINAL CODE: EPIDOSNIGR1

STAA Information on the status of an ep patent application or granted ep patent

Free format text: STATUS: GRANT OF PATENT IS INTENDED

INTG Intention to grant announced

Effective date: 20190819

GRAS Grant fee paid

Free format text: ORIGINAL CODE: EPIDOSNIGR3

GRAA (expected) grant

Free format text: ORIGINAL CODE: 0009210

STAA Information on the status of an ep patent application or granted ep patent

Free format text: STATUS: THE PATENT HAS BEEN GRANTED

AK Designated contracting states

Kind code of ref document: B1

Designated state(s): AL AT BE BG CH CY CZ DE DK EE ES FI FR GB GR HR HU IE IS IT LI LT LU LV MC MK MT NL NO PL PT RO RS SE SI SK SM TR

REG Reference to a national code

Ref country code: GB

Ref legal event code: FG4D

Free format text: NOT ENGLISH

REG Reference to a national code

Ref country code: CH

Ref legal event code: EP

Ref country code: AT

Ref legal event code: REF

Ref document number: 1198938

Country of ref document: AT

Kind code of ref document: T

Effective date: 20191115

REG Reference to a national code

Ref country code: DE

Ref legal event code: R096

Ref document number: 502017002814

Country of ref document: DE

REG Reference to a national code

Ref country code: IE

Ref legal event code: FG4D

Free format text: LANGUAGE OF EP DOCUMENT: GERMAN

REG Reference to a national code

Ref country code: NL

Ref legal event code: MP

Effective date: 20191106

REG Reference to a national code

Ref country code: LT

Ref legal event code: MG4D

PG25 Lapsed in a contracting state [announced via postgrant information from national office to epo]

Ref country code: PT

Free format text: LAPSE BECAUSE OF FAILURE TO SUBMIT A TRANSLATION OF THE DESCRIPTION OR TO PAY THE FEE WITHIN THE PRESCRIBED TIME-LIMIT

Effective date: 20200306

Ref country code: LV

Free format text: LAPSE BECAUSE OF FAILURE TO SUBMIT A TRANSLATION OF THE DESCRIPTION OR TO PAY THE FEE WITHIN THE PRESCRIBED TIME-LIMIT

Effective date: 20191106

Ref country code: SE

Free format text: LAPSE BECAUSE OF FAILURE TO SUBMIT A TRANSLATION OF THE DESCRIPTION OR TO PAY THE FEE WITHIN THE PRESCRIBED TIME-LIMIT

Effective date: 20191106

Ref country code: BG

Free format text: LAPSE BECAUSE OF FAILURE TO SUBMIT A TRANSLATION OF THE DESCRIPTION OR TO PAY THE FEE WITHIN THE PRESCRIBED TIME-LIMIT

Effective date: 20200206

Ref country code: FI

Free format text: LAPSE BECAUSE OF FAILURE TO SUBMIT A TRANSLATION OF THE DESCRIPTION OR TO PAY THE FEE WITHIN THE PRESCRIBED TIME-LIMIT

Effective date: 20191106

Ref country code: NO

Free format text: LAPSE BECAUSE OF FAILURE TO SUBMIT A TRANSLATION OF THE DESCRIPTION OR TO PAY THE FEE WITHIN THE PRESCRIBED TIME-LIMIT

Effective date: 20200206

Ref country code: PL

Free format text: LAPSE BECAUSE OF FAILURE TO SUBMIT A TRANSLATION OF THE DESCRIPTION OR TO PAY THE FEE WITHIN THE PRESCRIBED TIME-LIMIT

Effective date: 20191106

Ref country code: GR

Free format text: LAPSE BECAUSE OF FAILURE TO SUBMIT A TRANSLATION OF THE DESCRIPTION OR TO PAY THE FEE WITHIN THE PRESCRIBED TIME-LIMIT

Effective date: 20200207

Ref country code: LT

Free format text: LAPSE BECAUSE OF FAILURE TO SUBMIT A TRANSLATION OF THE DESCRIPTION OR TO PAY THE FEE WITHIN THE PRESCRIBED TIME-LIMIT

Effective date: 20191106

Ref country code: NL

Free format text: LAPSE BECAUSE OF FAILURE TO SUBMIT A TRANSLATION OF THE DESCRIPTION OR TO PAY THE FEE WITHIN THE PRESCRIBED TIME-LIMIT

Effective date: 20191106

PG25 Lapsed in a contracting state [announced via postgrant information from national office to epo]

Ref country code: HR

Free format text: LAPSE BECAUSE OF FAILURE TO SUBMIT A TRANSLATION OF THE DESCRIPTION OR TO PAY THE FEE WITHIN THE PRESCRIBED TIME-LIMIT

Effective date: 20191106

Ref country code: IS

Free format text: LAPSE BECAUSE OF FAILURE TO SUBMIT A TRANSLATION OF THE DESCRIPTION OR TO PAY THE FEE WITHIN THE PRESCRIBED TIME-LIMIT

Effective date: 20200306

Ref country code: RS

Free format text: LAPSE BECAUSE OF FAILURE TO SUBMIT A TRANSLATION OF THE DESCRIPTION OR TO PAY THE FEE WITHIN THE PRESCRIBED TIME-LIMIT

Effective date: 20191106

PG25 Lapsed in a contracting state [announced via postgrant information from national office to epo]

Ref country code: AL

Free format text: LAPSE BECAUSE OF FAILURE TO SUBMIT A TRANSLATION OF THE DESCRIPTION OR TO PAY THE FEE WITHIN THE PRESCRIBED TIME-LIMIT

Effective date: 20191106

PG25 Lapsed in a contracting state [announced via postgrant information from national office to epo]

Ref country code: RO

Free format text: LAPSE BECAUSE OF FAILURE TO SUBMIT A TRANSLATION OF THE DESCRIPTION OR TO PAY THE FEE WITHIN THE PRESCRIBED TIME-LIMIT

Effective date: 20191106

Ref country code: EE

Free format text: LAPSE BECAUSE OF FAILURE TO SUBMIT A TRANSLATION OF THE DESCRIPTION OR TO PAY THE FEE WITHIN THE PRESCRIBED TIME-LIMIT

Effective date: 20191106

Ref country code: CZ

Free format text: LAPSE BECAUSE OF FAILURE TO SUBMIT A TRANSLATION OF THE DESCRIPTION OR TO PAY THE FEE WITHIN THE PRESCRIBED TIME-LIMIT

Effective date: 20191106

Ref country code: DK

Free format text: LAPSE BECAUSE OF FAILURE TO SUBMIT A TRANSLATION OF THE DESCRIPTION OR TO PAY THE FEE WITHIN THE PRESCRIBED TIME-LIMIT

Effective date: 20191106

Ref country code: ES

Free format text: LAPSE BECAUSE OF FAILURE TO SUBMIT A TRANSLATION OF THE DESCRIPTION OR TO PAY THE FEE WITHIN THE PRESCRIBED TIME-LIMIT

Effective date: 20191106

REG Reference to a national code

Ref country code: DE

Ref legal event code: R097

Ref document number: 502017002814

Country of ref document: DE

PG25 Lapsed in a contracting state [announced via postgrant information from national office to epo]

Ref country code: SM

Free format text: LAPSE BECAUSE OF FAILURE TO SUBMIT A TRANSLATION OF THE DESCRIPTION OR TO PAY THE FEE WITHIN THE PRESCRIBED TIME-LIMIT

Effective date: 20191106

Ref country code: SK

Free format text: LAPSE BECAUSE OF FAILURE TO SUBMIT A TRANSLATION OF THE DESCRIPTION OR TO PAY THE FEE WITHIN THE PRESCRIBED TIME-LIMIT

Effective date: 20191106

PLBE No opposition filed within time limit

Free format text: ORIGINAL CODE: 0009261

STAA Information on the status of an ep patent application or granted ep patent

Free format text: STATUS: NO OPPOSITION FILED WITHIN TIME LIMIT

26N No opposition filed

Effective date: 20200807

PG25 Lapsed in a contracting state [announced via postgrant information from national office to epo]

Ref country code: SI

Free format text: LAPSE BECAUSE OF FAILURE TO SUBMIT A TRANSLATION OF THE DESCRIPTION OR TO PAY THE FEE WITHIN THE PRESCRIBED TIME-LIMIT

Effective date: 20191106

Ref country code: MC

Free format text: LAPSE BECAUSE OF FAILURE TO SUBMIT A TRANSLATION OF THE DESCRIPTION OR TO PAY THE FEE WITHIN THE PRESCRIBED TIME-LIMIT

Effective date: 20191106

REG Reference to a national code

Ref country code: CH

Ref legal event code: PL

PG25 Lapsed in a contracting state [announced via postgrant information from national office to epo]

Ref country code: LU

Free format text: LAPSE BECAUSE OF NON-PAYMENT OF DUE FEES

Effective date: 20200405

Ref country code: LI

Free format text: LAPSE BECAUSE OF NON-PAYMENT OF DUE FEES

Effective date: 20200430

Ref country code: CH

Free format text: LAPSE BECAUSE OF NON-PAYMENT OF DUE FEES

Effective date: 20200430

REG Reference to a national code

Ref country code: BE

Ref legal event code: MM

Effective date: 20200430

PG25 Lapsed in a contracting state [announced via postgrant information from national office to epo]

Ref country code: BE

Free format text: LAPSE BECAUSE OF NON-PAYMENT OF DUE FEES

Effective date: 20200430

PG25 Lapsed in a contracting state [announced via postgrant information from national office to epo]

Ref country code: IE

Free format text: LAPSE BECAUSE OF NON-PAYMENT OF DUE FEES

Effective date: 20200405

GBPC Gb: european patent ceased through non-payment of renewal fee

Effective date: 20210405

PG25 Lapsed in a contracting state [announced via postgrant information from national office to epo]

Ref country code: GB

Free format text: LAPSE BECAUSE OF NON-PAYMENT OF DUE FEES

Effective date: 20210405

PG25 Lapsed in a contracting state [announced via postgrant information from national office to epo]

Ref country code: TR

Free format text: LAPSE BECAUSE OF FAILURE TO SUBMIT A TRANSLATION OF THE DESCRIPTION OR TO PAY THE FEE WITHIN THE PRESCRIBED TIME-LIMIT

Effective date: 20191106

Ref country code: MT

Free format text: LAPSE BECAUSE OF FAILURE TO SUBMIT A TRANSLATION OF THE DESCRIPTION OR TO PAY THE FEE WITHIN THE PRESCRIBED TIME-LIMIT

Effective date: 20191106

Ref country code: CY

Free format text: LAPSE BECAUSE OF FAILURE TO SUBMIT A TRANSLATION OF THE DESCRIPTION OR TO PAY THE FEE WITHIN THE PRESCRIBED TIME-LIMIT

Effective date: 20191106

PG25 Lapsed in a contracting state [announced via postgrant information from national office to epo]

Ref country code: MK

Free format text: LAPSE BECAUSE OF FAILURE TO SUBMIT A TRANSLATION OF THE DESCRIPTION OR TO PAY THE FEE WITHIN THE PRESCRIBED TIME-LIMIT

Effective date: 20191106

REG Reference to a national code

Ref country code: AT

Ref legal event code: MM01

Ref document number: 1198938

Country of ref document: AT

Kind code of ref document: T

Effective date: 20220405

P01 Opt-out of the competence of the unified patent court (upc) registered

Effective date: 20230530

PG25 Lapsed in a contracting state [announced via postgrant information from national office to epo]

Ref country code: AT

Free format text: LAPSE BECAUSE OF NON-PAYMENT OF DUE FEES

Effective date: 20220405

PGFP Annual fee paid to national office [announced via postgrant information from national office to epo]

Ref country code: DE

Payment date: 20250430

Year of fee payment: 9

PGFP Annual fee paid to national office [announced via postgrant information from national office to epo]

Ref country code: IT

Payment date: 20250428

Year of fee payment: 9

PGFP Annual fee paid to national office [announced via postgrant information from national office to epo]

Ref country code: FR

Payment date: 20250426

Year of fee payment: 9