EP3131137B1 - Battery pack - Google Patents
Battery pack Download PDFInfo
- Publication number
- EP3131137B1 EP3131137B1 EP15776867.2A EP15776867A EP3131137B1 EP 3131137 B1 EP3131137 B1 EP 3131137B1 EP 15776867 A EP15776867 A EP 15776867A EP 3131137 B1 EP3131137 B1 EP 3131137B1
- Authority
- EP
- European Patent Office
- Prior art keywords
- end plate
- recess
- single batteries
- end plates
- battery
- Prior art date
- Legal status (The legal status is an assumption and is not a legal conclusion. Google has not performed a legal analysis and makes no representation as to the accuracy of the status listed.)
- Active
Links
Images
Classifications
-
- H—ELECTRICITY
- H01—ELECTRIC ELEMENTS
- H01M—PROCESSES OR MEANS, e.g. BATTERIES, FOR THE DIRECT CONVERSION OF CHEMICAL ENERGY INTO ELECTRICAL ENERGY
- H01M50/00—Constructional details or processes of manufacture of the non-active parts of electrochemical cells other than fuel cells, e.g. hybrid cells
- H01M50/20—Mountings; Secondary casings or frames; Racks, modules or packs; Suspension devices; Shock absorbers; Transport or carrying devices; Holders
- H01M50/204—Racks, modules or packs for multiple batteries or multiple cells
- H01M50/207—Racks, modules or packs for multiple batteries or multiple cells characterised by their shape
- H01M50/209—Racks, modules or packs for multiple batteries or multiple cells characterised by their shape adapted for prismatic or rectangular cells
-
- H—ELECTRICITY
- H01—ELECTRIC ELEMENTS
- H01M—PROCESSES OR MEANS, e.g. BATTERIES, FOR THE DIRECT CONVERSION OF CHEMICAL ENERGY INTO ELECTRICAL ENERGY
- H01M50/00—Constructional details or processes of manufacture of the non-active parts of electrochemical cells other than fuel cells, e.g. hybrid cells
- H01M50/20—Mountings; Secondary casings or frames; Racks, modules or packs; Suspension devices; Shock absorbers; Transport or carrying devices; Holders
- H01M50/218—Mountings; Secondary casings or frames; Racks, modules or packs; Suspension devices; Shock absorbers; Transport or carrying devices; Holders characterised by the material
- H01M50/22—Mountings; Secondary casings or frames; Racks, modules or packs; Suspension devices; Shock absorbers; Transport or carrying devices; Holders characterised by the material of the casings or racks
- H01M50/222—Inorganic material
- H01M50/224—Metals
-
- H—ELECTRICITY
- H01—ELECTRIC ELEMENTS
- H01M—PROCESSES OR MEANS, e.g. BATTERIES, FOR THE DIRECT CONVERSION OF CHEMICAL ENERGY INTO ELECTRICAL ENERGY
- H01M50/00—Constructional details or processes of manufacture of the non-active parts of electrochemical cells other than fuel cells, e.g. hybrid cells
- H01M50/20—Mountings; Secondary casings or frames; Racks, modules or packs; Suspension devices; Shock absorbers; Transport or carrying devices; Holders
- H01M50/233—Mountings; Secondary casings or frames; Racks, modules or packs; Suspension devices; Shock absorbers; Transport or carrying devices; Holders characterised by physical properties of casings or racks, e.g. dimensions
-
- H—ELECTRICITY
- H01—ELECTRIC ELEMENTS
- H01M—PROCESSES OR MEANS, e.g. BATTERIES, FOR THE DIRECT CONVERSION OF CHEMICAL ENERGY INTO ELECTRICAL ENERGY
- H01M50/00—Constructional details or processes of manufacture of the non-active parts of electrochemical cells other than fuel cells, e.g. hybrid cells
- H01M50/20—Mountings; Secondary casings or frames; Racks, modules or packs; Suspension devices; Shock absorbers; Transport or carrying devices; Holders
- H01M50/262—Mountings; Secondary casings or frames; Racks, modules or packs; Suspension devices; Shock absorbers; Transport or carrying devices; Holders with fastening means, e.g. locks
- H01M50/264—Mountings; Secondary casings or frames; Racks, modules or packs; Suspension devices; Shock absorbers; Transport or carrying devices; Holders with fastening means, e.g. locks for cells or batteries, e.g. straps, tie rods or peripheral frames
-
- Y—GENERAL TAGGING OF NEW TECHNOLOGICAL DEVELOPMENTS; GENERAL TAGGING OF CROSS-SECTIONAL TECHNOLOGIES SPANNING OVER SEVERAL SECTIONS OF THE IPC; TECHNICAL SUBJECTS COVERED BY FORMER USPC CROSS-REFERENCE ART COLLECTIONS [XRACs] AND DIGESTS
- Y02—TECHNOLOGIES OR APPLICATIONS FOR MITIGATION OR ADAPTATION AGAINST CLIMATE CHANGE
- Y02E—REDUCTION OF GREENHOUSE GAS [GHG] EMISSIONS, RELATED TO ENERGY GENERATION, TRANSMISSION OR DISTRIBUTION
- Y02E60/00—Enabling technologies; Technologies with a potential or indirect contribution to GHG emissions mitigation
- Y02E60/10—Energy storage using batteries
Definitions
- the present invention relates to an assembled battery where a plurality of rectangular batteries are stacked through fixing components.
- FIG. 8 is a view showing a conventional assembled battery described in Patent Literature 1.
- This assembled battery has a battery block 23 configured by stacking a plurality of rectangular single batteries 21, and fixing components 24 fixing the plurality of the single batteries 21.
- the fixing components 24 include a pair of end plates 25 disposed at both end surfaces of the plurality of the single batteries 21, and a metal band 26 fixing the stacked single batteries 21 in a compressed state by coupling end parts of the end plates 25.
- US 2013/252063 A1 and JP 2014 010983 A describe an assembled battery with measures to allow swelling of the single batteries of the assembled battery.
- Patent Literature 1 Japanese Laid-Open Patent Publication No. 2008-282582 .
- the present invention provides an assembled battery where an enlargement of an outer size of the assembled battery is suppressed when the single batteries operate.
- An assembled battery of the present invention has a battery block configured by stacking a plurality of single batteries, and fixing components fixing the plurality of the single batteries.
- the fixing components include a pair of end plates disposed at both ends in a stacked direction of the plurality of the single batteries, and a metal band making the plurality of the single batteries in a compressed state by coupling end parts of the pair of the end plates each other.
- the pair of the end plates respectively contact both end single batteries located at both ends in the stacked direction at the peripheral parts, and are respectively separated from both end single batteries at the central parts.
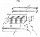
- FIG. 1 is a main configuration view of an assembled battery relating to an embodiment 1 of the present invention.
- Battery block 1 is configured by alternatively stacking single batteries 2 as a plurality of rectangular batteries (rectangular parallelepiped batteries or prismatic batteries) and separators 33.
- both sides of battery block 1 are sandwiched and fixed between end plates 4 as fixing components made of aluminum, and bolts 6 are fixed in screw taps 8 of end plates 4 through holes 7 of metal bands 5 made of steel.
- Separators 33 may be made of resin.
- FIG. 2A and FIG. 2B are front views of the end plates 4.
- recess 9 has a circular shape
- recess 9 has a rectangular shape
- FIG. 2C is a side sectional view of FIG. 2A or FIG. 2B .
- recess 9 is formed at a central location of one surface of end plate 4, and battery block 1 is sandwiched and fixed by the surface where recess 9 are formed in end plates 4.
- end plate 4 has thin part 4A at the central portion. Then, preferably, thin part 4A is formed such that recess 9 is provided at a surface of end plate 4 facing single battery 2.
- recess 9 is shown, but this part is not limited to be recess 9.
- through hole 9A may be provided at the central portion of end plate 4.
- this assembled battery has battery block 1 configured by stacking the plurality of single batteries 2, and fixing components fixing the plurality of single batteries 2.
- the fixing components include a pair of end plates 4 disposed at both ends in a stacked direction of the plurality of single batteries 2, and metal band 5 making the plurality of single batteries 2 in a compressed state by coupling end parts of the pair of end plates 4 each other.
- Each of the pair of end plates 4 has peripheral part 4B and central part 4C.
- the pair of end plates 4 respectively contact both end single batteries 2E located at both ends in the stacked direction of the plurality of single batteries 2 at peripheral parts 4B, and are respectively separated from both end single batteries 2E at central parts 4C.
- FIG. 3 is a schematic view of a state of battery block 1 at the time when single batteries 2 are swollen, showing a sectional view along a line 3-3 in FIG. 1 .
- the central portion of single battery 2 having a high capacity is swollen at the operating time, and separators 33 or central portions of single batteries 2 at both ends, enter into recesses 9 of end plates 4.
- the pressure which is applied to end plates 4 due to the swells at the central portions of single batteries 2 can be suppressed.
- Single battery 2 is configured by being sealed in a state where band-shaped electrodes are wound in a rectangular shape.
- the inner electrodes of single battery 2 are gradually swollen. Since the electrodes are wound so as to be bent up and down, the electrodes push single battery 2 in a rectangular shape due to the swell. Therefore, as the shapes of recess 9 or through hole 9A of end plate 4, the rectangular shape shown in FIG. 2B has a high effect, but even the circular shape shown FIG. 2A has a certain degree of an effect.
- FIG. 4 is a sectional view of a portion including recess 9b of end plate 4.
- the swell amount of single battery 2 is a minimum height of 0.03 mm, depending on the operating state of charge and discharge. In contrast, the bigger the depth of recess 9b is, the bigger the reducing effect of the pressure applied to end plate 4 is.
- the circular or rectangular through hole 9A is provided instead of recess 9b, the pressure by the swell of single batteries 2 is not received at the central portion of end plate 4.
- the depth of recess 9b is preferably 10 % or less of the thickness of a portion except recess 9b. Namely, the depth (maximum depth) of recess 9b is 0.03 mm or more, and is 10 % or less of the thickness t in the portion except thin part 4A of end plate 4.
- the opening area of recess 9 is 30 % or more, and 80 % or less than the area where end plate 4 contacts single battery 2.
- the opening area of recess 9 When single battery 2 is swollen, the area of a portion to which the pressure is applied in contact with end plate 4,is 30 % or more, and the opening area of recess 9 also need be equal to or more than this value. In contrast, when the opening area is large, an area or a region which receives the pressure by the swell of single batteries 2, becomes small. By concentrating the load to this portion, plasticity deformation or damage of end plate 4 may occur. In order to avoid this state, it is necessary that the region of 20 % or more in the area of end plate 4 receives the pressure. Namely, it is preferable that the opening area of recess 9 is 80 % or more.
- the minimum inclination angle at a time of the swell of single battery 2 is one or less degree, and the maximum inclination angle is ten or less degrees. Therefore, in order that the pressure is not received from peripheral part 4B of recess 9b at the time of the swell of single battery 2, when the inclination angle ⁇ at the periphery of recess 9b is ten or more degrees, the inclination angle does not hinder the swell.
- peripheral part 4B of end plate 4 except recess 9b contacts single battery 2.
- the area of peripheral part 4B having a length L receives the pressure from battery block 1.
- the area has a size such that binding force of metal band 5 does not cause plasticity deformation of single battery 2.
- the portion which contacts battery block 1, is adjacent to metal band 5. This prevents end plate 4 from being deformed. Since the pressures generated during the operation are different depending on the capacities of single batteries 2, the minimum value of length L cannot be determined. However, it is preferable that length L is 10 or more mm.
- end plate 4 which receives the pressure
- peripheral part 4B and peripheral part 4B is adjacent to metal bands 5 as the fixing components.
- the high hardness portion of end plate 4 receives the pressure.
- the enlargement of the whole outer size of the assembled battery can be suppressed .
- FIG. 5 is a sectional view of a portion including recess 9c of end plate 4 relating to an embodiment 2 of the present invention.
- the different point from the embodiment 1 is that the shape in the depth direction of recess 9c is a curved surface.
- FIG. 6A is a plan view of end plate 10 in an assembled battery relating to an embodiment 3 of the present invention
- FIG. 6B is a front view of end plate 10.
- the different point from the embodiment 1 is that recess 11 penetrates end plate 10 in the vertical direction and the thick portions in the plate thickness are adjacent to and fixed by metal bands 5.
- FIG. 2A, FIG. 2B when contacting potions remain at four sides in peripheral part 4B of end plate 4, practically recess 9 is formed by mechanical working.
- FIG. 6A in the case where recess 11 penetrates in the one direction, for example, a component made of aluminum can be used as extruded material.
- a component made of aluminum can be used as extruded material.
- the productivity is high, the components are inexpensive.
- the load stress becomes maximized at the adjacent or fixing portions of end plates 10 and metal bands 5. Therefore, the plate thicknesses of those portions of end plate 10 is made thick, and then the hardness is made high, and the deformation can be minimalized.
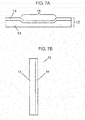
- FIG. 7A is a plan view of end plate 12 relating to an embodiment 4 of the present invention
- FIG. 7B is a side view of end plate 12.
- end plate 12 is configured of two components of end plate 13 made of aluminum and end plate 14 made of steel. End plate 13 and end plate 14 may be jointed, or coupled by a screw.
- End plate 14 made of steel is arranged at the side facing battery block 1. Since single battery 2 as a swelling source is near, this arrangement enhances the hardness. When the outer shapes are the same and end plate 14 made of steel having a higher hardness than that of aluminum is used, the hardness is enhanced, but the weight becomes heavy. However, since recess 15 is provided, the weight is reduced by eliminating a material corresponding to recess 15.
- end plates 13, 14 are not limited to aluminum and steel.
- End plate 12 is configured of two kinds of different materials, and one of the different materials has a higher hardness than that of another of the different materials, and the one of the different materials is disposed at a side contacting battery block 1.
- the assembled battery of the present invention can be used as uses of the assembled batteries of cylindrical or pouch batteries besides rectangular batteries.
Landscapes
- Chemical & Material Sciences (AREA)
- Chemical Kinetics & Catalysis (AREA)
- Electrochemistry (AREA)
- General Chemical & Material Sciences (AREA)
- Inorganic Chemistry (AREA)
- Battery Mounting, Suspending (AREA)
Applications Claiming Priority (3)
| Application Number | Priority Date | Filing Date | Title |
|---|---|---|---|
| JP2014081658 | 2014-04-11 | ||
| JP2015033533A JP6028231B2 (ja) | 2014-04-11 | 2015-02-24 | 組電池 |
| PCT/JP2015/001940 WO2015155981A1 (ja) | 2014-04-11 | 2015-04-07 | 組電池 |
Publications (3)
| Publication Number | Publication Date |
|---|---|
| EP3131137A1 EP3131137A1 (en) | 2017-02-15 |
| EP3131137A4 EP3131137A4 (en) | 2017-02-15 |
| EP3131137B1 true EP3131137B1 (en) | 2018-12-12 |
Family
ID=54287567
Family Applications (1)
| Application Number | Title | Priority Date | Filing Date |
|---|---|---|---|
| EP15776867.2A Active EP3131137B1 (en) | 2014-04-11 | 2015-04-07 | Battery pack |
Country Status (4)
| Country | Link |
|---|---|
| US (1) | US10249856B2 (OSRAM) |
| EP (1) | EP3131137B1 (OSRAM) |
| JP (1) | JP6028231B2 (OSRAM) |
| WO (1) | WO2015155981A1 (OSRAM) |
Families Citing this family (40)
| Publication number | Priority date | Publication date | Assignee | Title |
|---|---|---|---|---|
| WO2016084272A1 (ja) * | 2014-11-28 | 2016-06-02 | 三洋電機株式会社 | 組電池及びそれを搭載した車両 |
| WO2016166972A1 (ja) * | 2015-04-16 | 2016-10-20 | パナソニックIpマネジメント株式会社 | 組電池 |
| KR102507879B1 (ko) * | 2015-11-16 | 2023-03-07 | 삼성에스디아이 주식회사 | 이차 전지 모듈 |
| BR112018067494B1 (pt) | 2016-03-03 | 2022-05-10 | The Procter & Gamble Company | Composição anticaspa em aerossol |
| JP6952768B2 (ja) | 2016-10-21 | 2021-10-20 | ザ プロクター アンド ギャンブル カンパニーThe Procter & Gamble Company | 低粘度であり粘度低減剤を含む、安定なコンパクトシャンプー製品 |
| WO2018075841A1 (en) | 2016-10-21 | 2018-04-26 | The Procter & Gamble Company | Concentrated shampoo dosage of foam for providing hair care benefits |
| WO2018075847A1 (en) | 2016-10-21 | 2018-04-26 | The Procter & Gamble Company | Concentrated shampoo dosage of foam designating hair volume benefits |
| EP3528898A1 (en) | 2016-10-21 | 2019-08-28 | The Procter and Gamble Company | Concentrated shampoo dosage of foam designating hair conditioning benefits |
| US20210143505A1 (en) * | 2017-02-03 | 2021-05-13 | Gs Yuasa International Ltd. | Energy storage apparatus |
| US11224567B2 (en) | 2017-06-06 | 2022-01-18 | The Procter And Gamble Company | Hair compositions comprising a cationic polymer/silicone mixture providing improved in-use wet feel |
| US11141370B2 (en) | 2017-06-06 | 2021-10-12 | The Procter And Gamble Company | Hair compositions comprising a cationic polymer mixture and providing improved in-use wet feel |
| US11679073B2 (en) | 2017-06-06 | 2023-06-20 | The Procter & Gamble Company | Hair compositions providing improved in-use wet feel |
| WO2019003664A1 (ja) * | 2017-06-30 | 2019-01-03 | 株式会社村田製作所 | 電池パック |
| JP6945746B2 (ja) | 2017-10-10 | 2021-10-06 | ザ プロクター アンド ギャンブル カンパニーThe Procter & Gamble Company | サルフェートフリーの界面活性剤を含有するコンパクトなシャンプー組成物 |
| EP3694482B1 (en) | 2017-10-10 | 2022-04-13 | The Procter & Gamble Company | Sulfate free personal cleansing composition comprising low inorganic salt |
| EP3694481B1 (en) | 2017-10-10 | 2024-06-05 | The Procter & Gamble Company | Compact shampoo composition with amino acid based anionic surfactants and cationic polymers |
| MX388492B (es) | 2017-10-10 | 2025-03-20 | Procter & Gamble | Método para tratar el cabello o la piel con una composición para el cuidado personal en forma de espuma. |
| JP7056142B2 (ja) | 2017-12-25 | 2022-04-19 | トヨタ自動車株式会社 | 電池モジュール |
| WO2019187314A1 (ja) * | 2018-03-30 | 2019-10-03 | 三洋電機株式会社 | 電源装置及びこれを備える車両 |
| JP7033255B2 (ja) * | 2018-05-02 | 2022-03-10 | トヨタ自動車株式会社 | 組電池 |
| EP3813774A1 (en) | 2018-06-29 | 2021-05-05 | The Procter & Gamble Company | Low surfactant aerosol antidandruff composition |
| US12226505B2 (en) | 2018-10-25 | 2025-02-18 | The Procter & Gamble Company | Compositions having enhanced deposition of surfactant-soluble anti-dandruff agents |
| JP7298204B2 (ja) * | 2019-03-11 | 2023-06-27 | 株式会社Gsユアサ | 蓄電装置 |
| US11980679B2 (en) | 2019-12-06 | 2024-05-14 | The Procter & Gamble Company | Sulfate free composition with enhanced deposition of scalp active |
| EP4110474A1 (en) | 2020-02-27 | 2023-01-04 | The Procter & Gamble Company | Anti-dandruff compositions with sulfur having enhanced efficacy and aesthetics |
| CN212392341U (zh) * | 2020-06-09 | 2021-01-22 | 比亚迪股份有限公司 | 电池包及车辆 |
| CN212659640U (zh) | 2020-07-28 | 2021-03-05 | 厦门海辰新能源科技有限公司 | 电池模组固定组件及电池包 |
| CN111969144A (zh) * | 2020-08-19 | 2020-11-20 | 刘培君 | 一种高效新能源锂电池及其制备工艺 |
| JP7167103B2 (ja) * | 2020-08-25 | 2022-11-08 | プライムプラネットエナジー&ソリューションズ株式会社 | 蓄電装置およびその製造方法 |
| JP7241052B2 (ja) * | 2020-09-11 | 2023-03-16 | 本田技研工業株式会社 | セル収納体、蓄電モジュール及び車両 |
| US20230207941A1 (en) * | 2020-09-22 | 2023-06-29 | Lg Energy Solution, Ltd. | Battery module, battery pack comprising same, and vehicle |
| MX2023005560A (es) | 2020-11-23 | 2023-05-29 | Procter & Gamble | Composiciones para el cuidado personal libres de surfactantes sulfatados. |
| KR20220072887A (ko) | 2020-11-23 | 2022-06-03 | 주식회사 엘지에너지솔루션 | 열확산 억제 구조를 포함하는 전지팩 |
| CN116568263A (zh) | 2020-12-04 | 2023-08-08 | 宝洁公司 | 包含恶臭减少材料的毛发护理组合物 |
| US12409125B2 (en) | 2021-05-14 | 2025-09-09 | The Procter & Gamble Company | Shampoo compositions containing a sulfate-free surfactant system and sclerotium gum thickener |
| US11986543B2 (en) | 2021-06-01 | 2024-05-21 | The Procter & Gamble Company | Rinse-off compositions with a surfactant system that is substantially free of sulfate-based surfactants |
| JP2023053834A (ja) * | 2021-10-01 | 2023-04-13 | 株式会社Gsユアサ | 蓄電装置 |
| CA3235522A1 (en) | 2021-12-09 | 2023-06-15 | The Procter & Gamble Company | Sulfate free personal cleansing composition comprising effective preservation |
| CN115360464B (zh) * | 2022-09-19 | 2024-03-08 | 厦门海辰储能科技股份有限公司 | 一种端板及储能装置 |
| EP4395027A1 (en) * | 2022-12-30 | 2024-07-03 | Automotive Cells Company SE | Battery module and method for assembling such a battery module |
Family Cites Families (7)
| Publication number | Priority date | Publication date | Assignee | Title |
|---|---|---|---|---|
| JP3271494B2 (ja) * | 1995-10-24 | 2002-04-02 | 松下電器産業株式会社 | 積層密閉形アルカリ蓄電池 |
| JP2008282582A (ja) | 2007-05-08 | 2008-11-20 | Sanyo Electric Co Ltd | 組電池 |
| JP5187400B2 (ja) * | 2010-06-16 | 2013-04-24 | トヨタ自動車株式会社 | 二次電池アセンブリ |
| DE102011076575A1 (de) * | 2011-05-27 | 2012-11-29 | Bmw Ag | Energiespeichermodul aus mehreren insbesondere prismatischen Speicherzellen und Verfahren zur Herstellung eines Energiespeichermoduls sowie Verfahren zur Herstellung einer Endplatte für ein Energiespeichermodul |
| KR101255250B1 (ko) | 2012-03-23 | 2013-04-16 | 삼성에스디아이 주식회사 | 전지 모듈 |
| JP2015111493A (ja) * | 2012-03-28 | 2015-06-18 | 三洋電機株式会社 | 電源装置及びこれを備える車両並びに蓄電装置 |
| JP6073583B2 (ja) * | 2012-06-28 | 2017-02-01 | 三洋電機株式会社 | 電源装置及びこの電源装置を備える車両並びに蓄電装置 |
-
2015
- 2015-02-24 JP JP2015033533A patent/JP6028231B2/ja active Active
- 2015-04-07 US US15/128,929 patent/US10249856B2/en active Active
- 2015-04-07 WO PCT/JP2015/001940 patent/WO2015155981A1/ja not_active Ceased
- 2015-04-07 EP EP15776867.2A patent/EP3131137B1/en active Active
Non-Patent Citations (1)
| Title |
|---|
| None * |
Also Published As
| Publication number | Publication date |
|---|---|
| JP6028231B2 (ja) | 2016-11-16 |
| EP3131137A1 (en) | 2017-02-15 |
| US20170110695A1 (en) | 2017-04-20 |
| JP2015207553A (ja) | 2015-11-19 |
| US10249856B2 (en) | 2019-04-02 |
| WO2015155981A1 (ja) | 2015-10-15 |
| EP3131137A4 (en) | 2017-02-15 |
Similar Documents
| Publication | Publication Date | Title |
|---|---|---|
| EP3131137B1 (en) | Battery pack | |
| EP2988346B1 (en) | Cell case | |
| EP3223333B1 (en) | Rechargeable battery | |
| EP3300136A1 (en) | Clamping member and battery module using same | |
| EP3796417B1 (en) | Secondary battery and battery pack including the same | |
| US11024922B2 (en) | Cap assembly comprising guide member for preventing escape of safety vent | |
| EP3883033A1 (en) | Secondary battery and battery module | |
| EP3800696B1 (en) | Secondary battery, battery module and electric vehicle | |
| EP2804235A2 (en) | Secondary battery | |
| US20180175437A1 (en) | Battery | |
| EP2605310B1 (en) | Secondary battery module | |
| US20240283113A1 (en) | Current blocking structure applied to pouch type secondary battery | |
| JP2016081867A (ja) | 容器の防爆弁の構造 | |
| US20160204482A1 (en) | Rechargeable battery | |
| US12009534B2 (en) | Secondary battery | |
| KR102119704B1 (ko) | 탑 캡 및 그를 포함하는 이차전지용 캡 조립체 | |
| JP7256163B2 (ja) | 電池モジュール | |
| EP4530492A1 (en) | Cushioning sheet | |
| JP7752028B2 (ja) | 緩衝ゴム材 | |
| WO2020059299A1 (ja) | 電池モジュール | |
| US20230061623A1 (en) | Power storage device | |
| US20230041356A1 (en) | Battery | |
| EP4068319A1 (en) | Power storage module | |
| JP2018063884A (ja) | 組電池 |
Legal Events
| Date | Code | Title | Description |
|---|---|---|---|
| STAA | Information on the status of an ep patent application or granted ep patent |
Free format text: STATUS: THE INTERNATIONAL PUBLICATION HAS BEEN MADE |
|
| PUAI | Public reference made under article 153(3) epc to a published international application that has entered the european phase |
Free format text: ORIGINAL CODE: 0009012 |
|
| STAA | Information on the status of an ep patent application or granted ep patent |
Free format text: STATUS: REQUEST FOR EXAMINATION WAS MADE |
|
| 17P | Request for examination filed |
Effective date: 20160929 |
|
| A4 | Supplementary search report drawn up and despatched |
Effective date: 20170102 |
|
| AK | Designated contracting states |
Kind code of ref document: A1 Designated state(s): AL AT BE BG CH CY CZ DE DK EE ES FI FR GB GR HR HU IE IS IT LI LT LU LV MC MK MT NL NO PL PT RO RS SE SI SK SM TR |
|
| AX | Request for extension of the european patent |
Extension state: BA ME |
|
| DAV | Request for validation of the european patent (deleted) | ||
| DAX | Request for extension of the european patent (deleted) | ||
| GRAP | Despatch of communication of intention to grant a patent |
Free format text: ORIGINAL CODE: EPIDOSNIGR1 |
|
| STAA | Information on the status of an ep patent application or granted ep patent |
Free format text: STATUS: GRANT OF PATENT IS INTENDED |
|
| INTG | Intention to grant announced |
Effective date: 20180625 |
|
| GRAS | Grant fee paid |
Free format text: ORIGINAL CODE: EPIDOSNIGR3 |
|
| GRAA | (expected) grant |
Free format text: ORIGINAL CODE: 0009210 |
|
| STAA | Information on the status of an ep patent application or granted ep patent |
Free format text: STATUS: THE PATENT HAS BEEN GRANTED |
|
| AK | Designated contracting states |
Kind code of ref document: B1 Designated state(s): AL AT BE BG CH CY CZ DE DK EE ES FI FR GB GR HR HU IE IS IT LI LT LU LV MC MK MT NL NO PL PT RO RS SE SI SK SM TR |
|
| REG | Reference to a national code |
Ref country code: GB Ref legal event code: FG4D |
|
| REG | Reference to a national code |
Ref country code: CH Ref legal event code: EP |
|
| REG | Reference to a national code |
Ref country code: AT Ref legal event code: REF Ref document number: 1077162 Country of ref document: AT Kind code of ref document: T Effective date: 20181215 |
|
| REG | Reference to a national code |
Ref country code: DE Ref legal event code: R096 Ref document number: 602015021477 Country of ref document: DE |
|
| REG | Reference to a national code |
Ref country code: IE Ref legal event code: FG4D |
|
| REG | Reference to a national code |
Ref country code: NL Ref legal event code: MP Effective date: 20181212 |
|
| REG | Reference to a national code |
Ref country code: LT Ref legal event code: MG4D |
|
| PG25 | Lapsed in a contracting state [announced via postgrant information from national office to epo] |
Ref country code: ES Free format text: LAPSE BECAUSE OF FAILURE TO SUBMIT A TRANSLATION OF THE DESCRIPTION OR TO PAY THE FEE WITHIN THE PRESCRIBED TIME-LIMIT Effective date: 20181212 Ref country code: LT Free format text: LAPSE BECAUSE OF FAILURE TO SUBMIT A TRANSLATION OF THE DESCRIPTION OR TO PAY THE FEE WITHIN THE PRESCRIBED TIME-LIMIT Effective date: 20181212 Ref country code: NO Free format text: LAPSE BECAUSE OF FAILURE TO SUBMIT A TRANSLATION OF THE DESCRIPTION OR TO PAY THE FEE WITHIN THE PRESCRIBED TIME-LIMIT Effective date: 20190312 Ref country code: FI Free format text: LAPSE BECAUSE OF FAILURE TO SUBMIT A TRANSLATION OF THE DESCRIPTION OR TO PAY THE FEE WITHIN THE PRESCRIBED TIME-LIMIT Effective date: 20181212 Ref country code: BG Free format text: LAPSE BECAUSE OF FAILURE TO SUBMIT A TRANSLATION OF THE DESCRIPTION OR TO PAY THE FEE WITHIN THE PRESCRIBED TIME-LIMIT Effective date: 20190312 Ref country code: HR Free format text: LAPSE BECAUSE OF FAILURE TO SUBMIT A TRANSLATION OF THE DESCRIPTION OR TO PAY THE FEE WITHIN THE PRESCRIBED TIME-LIMIT Effective date: 20181212 Ref country code: LV Free format text: LAPSE BECAUSE OF FAILURE TO SUBMIT A TRANSLATION OF THE DESCRIPTION OR TO PAY THE FEE WITHIN THE PRESCRIBED TIME-LIMIT Effective date: 20181212 |
|
| REG | Reference to a national code |
Ref country code: AT Ref legal event code: MK05 Ref document number: 1077162 Country of ref document: AT Kind code of ref document: T Effective date: 20181212 |
|
| PG25 | Lapsed in a contracting state [announced via postgrant information from national office to epo] |
Ref country code: RS Free format text: LAPSE BECAUSE OF FAILURE TO SUBMIT A TRANSLATION OF THE DESCRIPTION OR TO PAY THE FEE WITHIN THE PRESCRIBED TIME-LIMIT Effective date: 20181212 Ref country code: AL Free format text: LAPSE BECAUSE OF FAILURE TO SUBMIT A TRANSLATION OF THE DESCRIPTION OR TO PAY THE FEE WITHIN THE PRESCRIBED TIME-LIMIT Effective date: 20181212 Ref country code: SE Free format text: LAPSE BECAUSE OF FAILURE TO SUBMIT A TRANSLATION OF THE DESCRIPTION OR TO PAY THE FEE WITHIN THE PRESCRIBED TIME-LIMIT Effective date: 20181212 Ref country code: GR Free format text: LAPSE BECAUSE OF FAILURE TO SUBMIT A TRANSLATION OF THE DESCRIPTION OR TO PAY THE FEE WITHIN THE PRESCRIBED TIME-LIMIT Effective date: 20190313 |
|
| PG25 | Lapsed in a contracting state [announced via postgrant information from national office to epo] |
Ref country code: NL Free format text: LAPSE BECAUSE OF FAILURE TO SUBMIT A TRANSLATION OF THE DESCRIPTION OR TO PAY THE FEE WITHIN THE PRESCRIBED TIME-LIMIT Effective date: 20181212 |
|
| PG25 | Lapsed in a contracting state [announced via postgrant information from national office to epo] |
Ref country code: IT Free format text: LAPSE BECAUSE OF FAILURE TO SUBMIT A TRANSLATION OF THE DESCRIPTION OR TO PAY THE FEE WITHIN THE PRESCRIBED TIME-LIMIT Effective date: 20181212 Ref country code: PL Free format text: LAPSE BECAUSE OF FAILURE TO SUBMIT A TRANSLATION OF THE DESCRIPTION OR TO PAY THE FEE WITHIN THE PRESCRIBED TIME-LIMIT Effective date: 20181212 Ref country code: CZ Free format text: LAPSE BECAUSE OF FAILURE TO SUBMIT A TRANSLATION OF THE DESCRIPTION OR TO PAY THE FEE WITHIN THE PRESCRIBED TIME-LIMIT Effective date: 20181212 Ref country code: PT Free format text: LAPSE BECAUSE OF FAILURE TO SUBMIT A TRANSLATION OF THE DESCRIPTION OR TO PAY THE FEE WITHIN THE PRESCRIBED TIME-LIMIT Effective date: 20190412 |
|
| PG25 | Lapsed in a contracting state [announced via postgrant information from national office to epo] |
Ref country code: SK Free format text: LAPSE BECAUSE OF FAILURE TO SUBMIT A TRANSLATION OF THE DESCRIPTION OR TO PAY THE FEE WITHIN THE PRESCRIBED TIME-LIMIT Effective date: 20181212 Ref country code: SM Free format text: LAPSE BECAUSE OF FAILURE TO SUBMIT A TRANSLATION OF THE DESCRIPTION OR TO PAY THE FEE WITHIN THE PRESCRIBED TIME-LIMIT Effective date: 20181212 Ref country code: EE Free format text: LAPSE BECAUSE OF FAILURE TO SUBMIT A TRANSLATION OF THE DESCRIPTION OR TO PAY THE FEE WITHIN THE PRESCRIBED TIME-LIMIT Effective date: 20181212 Ref country code: IS Free format text: LAPSE BECAUSE OF FAILURE TO SUBMIT A TRANSLATION OF THE DESCRIPTION OR TO PAY THE FEE WITHIN THE PRESCRIBED TIME-LIMIT Effective date: 20190412 Ref country code: RO Free format text: LAPSE BECAUSE OF FAILURE TO SUBMIT A TRANSLATION OF THE DESCRIPTION OR TO PAY THE FEE WITHIN THE PRESCRIBED TIME-LIMIT Effective date: 20181212 |
|
| REG | Reference to a national code |
Ref country code: DE Ref legal event code: R097 Ref document number: 602015021477 Country of ref document: DE |
|
| PLBE | No opposition filed within time limit |
Free format text: ORIGINAL CODE: 0009261 |
|
| STAA | Information on the status of an ep patent application or granted ep patent |
Free format text: STATUS: NO OPPOSITION FILED WITHIN TIME LIMIT |
|
| PG25 | Lapsed in a contracting state [announced via postgrant information from national office to epo] |
Ref country code: SI Free format text: LAPSE BECAUSE OF FAILURE TO SUBMIT A TRANSLATION OF THE DESCRIPTION OR TO PAY THE FEE WITHIN THE PRESCRIBED TIME-LIMIT Effective date: 20181212 Ref country code: DK Free format text: LAPSE BECAUSE OF FAILURE TO SUBMIT A TRANSLATION OF THE DESCRIPTION OR TO PAY THE FEE WITHIN THE PRESCRIBED TIME-LIMIT Effective date: 20181212 Ref country code: AT Free format text: LAPSE BECAUSE OF FAILURE TO SUBMIT A TRANSLATION OF THE DESCRIPTION OR TO PAY THE FEE WITHIN THE PRESCRIBED TIME-LIMIT Effective date: 20181212 |
|
| 26N | No opposition filed |
Effective date: 20190913 |
|
| REG | Reference to a national code |
Ref country code: CH Ref legal event code: PL |
|
| REG | Reference to a national code |
Ref country code: BE Ref legal event code: MM Effective date: 20190430 |
|
| PG25 | Lapsed in a contracting state [announced via postgrant information from national office to epo] |
Ref country code: LU Free format text: LAPSE BECAUSE OF NON-PAYMENT OF DUE FEES Effective date: 20190407 Ref country code: MC Free format text: LAPSE BECAUSE OF FAILURE TO SUBMIT A TRANSLATION OF THE DESCRIPTION OR TO PAY THE FEE WITHIN THE PRESCRIBED TIME-LIMIT Effective date: 20181212 |
|
| PG25 | Lapsed in a contracting state [announced via postgrant information from national office to epo] |
Ref country code: CH Free format text: LAPSE BECAUSE OF NON-PAYMENT OF DUE FEES Effective date: 20190430 Ref country code: LI Free format text: LAPSE BECAUSE OF NON-PAYMENT OF DUE FEES Effective date: 20190430 |
|
| PG25 | Lapsed in a contracting state [announced via postgrant information from national office to epo] |
Ref country code: BE Free format text: LAPSE BECAUSE OF NON-PAYMENT OF DUE FEES Effective date: 20190430 |
|
| PG25 | Lapsed in a contracting state [announced via postgrant information from national office to epo] |
Ref country code: TR Free format text: LAPSE BECAUSE OF FAILURE TO SUBMIT A TRANSLATION OF THE DESCRIPTION OR TO PAY THE FEE WITHIN THE PRESCRIBED TIME-LIMIT Effective date: 20181212 |
|
| PG25 | Lapsed in a contracting state [announced via postgrant information from national office to epo] |
Ref country code: IE Free format text: LAPSE BECAUSE OF NON-PAYMENT OF DUE FEES Effective date: 20190407 |
|
| REG | Reference to a national code |
Ref country code: DE Ref legal event code: R079 Ref document number: 602015021477 Country of ref document: DE Free format text: PREVIOUS MAIN CLASS: H01M0002100000 Ipc: H01M0050200000 |
|
| PG25 | Lapsed in a contracting state [announced via postgrant information from national office to epo] |
Ref country code: CY Free format text: LAPSE BECAUSE OF FAILURE TO SUBMIT A TRANSLATION OF THE DESCRIPTION OR TO PAY THE FEE WITHIN THE PRESCRIBED TIME-LIMIT Effective date: 20181212 |
|
| PG25 | Lapsed in a contracting state [announced via postgrant information from national office to epo] |
Ref country code: MT Free format text: LAPSE BECAUSE OF FAILURE TO SUBMIT A TRANSLATION OF THE DESCRIPTION OR TO PAY THE FEE WITHIN THE PRESCRIBED TIME-LIMIT Effective date: 20181212 Ref country code: HU Free format text: LAPSE BECAUSE OF FAILURE TO SUBMIT A TRANSLATION OF THE DESCRIPTION OR TO PAY THE FEE WITHIN THE PRESCRIBED TIME-LIMIT; INVALID AB INITIO Effective date: 20150407 |
|
| PG25 | Lapsed in a contracting state [announced via postgrant information from national office to epo] |
Ref country code: MK Free format text: LAPSE BECAUSE OF FAILURE TO SUBMIT A TRANSLATION OF THE DESCRIPTION OR TO PAY THE FEE WITHIN THE PRESCRIBED TIME-LIMIT Effective date: 20181212 |
|
| PGFP | Annual fee paid to national office [announced via postgrant information from national office to epo] |
Ref country code: DE Payment date: 20250422 Year of fee payment: 11 |
|
| PGFP | Annual fee paid to national office [announced via postgrant information from national office to epo] |
Ref country code: GB Payment date: 20250423 Year of fee payment: 11 |
|
| PGFP | Annual fee paid to national office [announced via postgrant information from national office to epo] |
Ref country code: FR Payment date: 20250425 Year of fee payment: 11 |