EP3067498B1 - Einrichtung zum öffnen und/oder schliessen eines flügels - Google Patents

Einrichtung zum öffnen und/oder schliessen eines flügels Download PDF

Info

Publication number
EP3067498B1
EP3067498B1 EP16154405.1A EP16154405A EP3067498B1 EP 3067498 B1 EP3067498 B1 EP 3067498B1 EP 16154405 A EP16154405 A EP 16154405A EP 3067498 B1 EP3067498 B1 EP 3067498B1
Authority
EP
European Patent Office
Prior art keywords
leaf
sash
side component
wall
covering element
Prior art date
Legal status (The legal status is an assumption and is not a legal conclusion. Google has not performed a legal analysis and makes no representation as to the accuracy of the status listed.)
Active
Application number
EP16154405.1A
Other languages
English (en)
French (fr)
Other versions
EP3067498A1 (de
Inventor
Benjamin Wörner
Dirk Huber
Florian Birkenmayer
Current Assignee (The listed assignees may be inaccurate. Google has not performed a legal analysis and makes no representation or warranty as to the accuracy of the list.)
Geze GmbH
Original Assignee
Geze GmbH
Priority date (The priority date is an assumption and is not a legal conclusion. Google has not performed a legal analysis and makes no representation as to the accuracy of the date listed.)
Filing date
Publication date
Application filed by Geze GmbH filed Critical Geze GmbH
Publication of EP3067498A1 publication Critical patent/EP3067498A1/de
Application granted granted Critical
Publication of EP3067498B1 publication Critical patent/EP3067498B1/de
Active legal-status Critical Current
Anticipated expiration legal-status Critical

Links

Images

Classifications

    • EFIXED CONSTRUCTIONS
    • E05LOCKS; KEYS; WINDOW OR DOOR FITTINGS; SAFES
    • E05FDEVICES FOR MOVING WINGS INTO OPEN OR CLOSED POSITION; CHECKS FOR WINGS; WING FITTINGS NOT OTHERWISE PROVIDED FOR, CONCERNED WITH THE FUNCTIONING OF THE WING
    • E05F1/00Closers or openers for wings, not otherwise provided for in this subclass
    • EFIXED CONSTRUCTIONS
    • E05LOCKS; KEYS; WINDOW OR DOOR FITTINGS; SAFES
    • E05FDEVICES FOR MOVING WINGS INTO OPEN OR CLOSED POSITION; CHECKS FOR WINGS; WING FITTINGS NOT OTHERWISE PROVIDED FOR, CONCERNED WITH THE FUNCTIONING OF THE WING
    • E05F15/00Power-operated mechanisms for wings
    • E05F15/60Power-operated mechanisms for wings using electrical actuators
    • E05F15/603Power-operated mechanisms for wings using electrical actuators using rotary electromotors
    • E05F15/611Power-operated mechanisms for wings using electrical actuators using rotary electromotors for swinging wings
    • EFIXED CONSTRUCTIONS
    • E05LOCKS; KEYS; WINDOW OR DOOR FITTINGS; SAFES
    • E05FDEVICES FOR MOVING WINGS INTO OPEN OR CLOSED POSITION; CHECKS FOR WINGS; WING FITTINGS NOT OTHERWISE PROVIDED FOR, CONCERNED WITH THE FUNCTIONING OF THE WING
    • E05F1/00Closers or openers for wings, not otherwise provided for in this subclass
    • E05F1/08Closers or openers for wings, not otherwise provided for in this subclass spring-actuated, e.g. for horizontally sliding wings
    • E05F1/10Closers or openers for wings, not otherwise provided for in this subclass spring-actuated, e.g. for horizontally sliding wings for swinging wings, e.g. counterbalance
    • EFIXED CONSTRUCTIONS
    • E05LOCKS; KEYS; WINDOW OR DOOR FITTINGS; SAFES
    • E05FDEVICES FOR MOVING WINGS INTO OPEN OR CLOSED POSITION; CHECKS FOR WINGS; WING FITTINGS NOT OTHERWISE PROVIDED FOR, CONCERNED WITH THE FUNCTIONING OF THE WING
    • E05F3/00Closers or openers with braking devices, e.g. checks; Construction of pneumatic or liquid braking devices
    • EFIXED CONSTRUCTIONS
    • E05LOCKS; KEYS; WINDOW OR DOOR FITTINGS; SAFES
    • E05FDEVICES FOR MOVING WINGS INTO OPEN OR CLOSED POSITION; CHECKS FOR WINGS; WING FITTINGS NOT OTHERWISE PROVIDED FOR, CONCERNED WITH THE FUNCTIONING OF THE WING
    • E05F3/00Closers or openers with braking devices, e.g. checks; Construction of pneumatic or liquid braking devices
    • E05F3/22Additional arrangements for closers, e.g. for holding the wing in opened or other position
    • E05F3/227Additional arrangements for closers, e.g. for holding the wing in opened or other position mounted at the top of wings, e.g. details related to closer housings, covers, end caps or rails therefor
    • EFIXED CONSTRUCTIONS
    • E05LOCKS; KEYS; WINDOW OR DOOR FITTINGS; SAFES
    • E05FDEVICES FOR MOVING WINGS INTO OPEN OR CLOSED POSITION; CHECKS FOR WINGS; WING FITTINGS NOT OTHERWISE PROVIDED FOR, CONCERNED WITH THE FUNCTIONING OF THE WING
    • E05F3/00Closers or openers with braking devices, e.g. checks; Construction of pneumatic or liquid braking devices
    • E05F3/22Additional arrangements for closers, e.g. for holding the wing in opened or other position
    • E05F2003/228Arrangements where the end of the closer arm is sliding in a track
    • EFIXED CONSTRUCTIONS
    • E05LOCKS; KEYS; WINDOW OR DOOR FITTINGS; SAFES
    • E05FDEVICES FOR MOVING WINGS INTO OPEN OR CLOSED POSITION; CHECKS FOR WINGS; WING FITTINGS NOT OTHERWISE PROVIDED FOR, CONCERNED WITH THE FUNCTIONING OF THE WING
    • E05F15/00Power-operated mechanisms for wings
    • E05F15/60Power-operated mechanisms for wings using electrical actuators
    • E05F15/603Power-operated mechanisms for wings using electrical actuators using rotary electromotors
    • E05F15/611Power-operated mechanisms for wings using electrical actuators using rotary electromotors for swinging wings
    • E05F15/63Power-operated mechanisms for wings using electrical actuators using rotary electromotors for swinging wings operated by swinging arms
    • E05F2015/631Power-operated mechanisms for wings using electrical actuators using rotary electromotors for swinging wings operated by swinging arms the end of the arm sliding in a track; Slider arms therefor
    • EFIXED CONSTRUCTIONS
    • E05LOCKS; KEYS; WINDOW OR DOOR FITTINGS; SAFES
    • E05YINDEXING SCHEME ASSOCIATED WITH SUBCLASSES E05D AND E05F, RELATING TO CONSTRUCTION ELEMENTS, ELECTRIC CONTROL, POWER SUPPLY, POWER SIGNAL OR TRANSMISSION, USER INTERFACES, MOUNTING OR COUPLING, DETAILS, ACCESSORIES, AUXILIARY OPERATIONS NOT OTHERWISE PROVIDED FOR, APPLICATION THEREOF
    • E05Y2201/00Constructional elements; Accessories therefor
    • E05Y2201/10Covers; Housings
    • E05Y2201/11Covers

Definitions

  • the present invention relates to a device for the self-opening and / or closing of a rotary axis rotatable wing, in particular a door closer or a door drive, with a trained for attachment to the wing wing-side component, designed for attachment to a frame, a wall or the like wall side Component and a movable lever assembly, via which the wing-side component and the wall-side component are coupled together such that they are apart by a lever movement or towards each other, so as to open or close the wing.
  • Such devices are used on doors, gates, windows, skylights and the like to open the respective door or window wing power-operated and / or close.
  • Examples of generic devices are door closers, door drives and window drives.
  • Door closers are known, for example in the form of overhead door closers and serve to automatically close a door or gate wing after its opening and subsequent release.
  • Door and window drives are equipped with a drive system and therefore able to open and close a rotatable wing motor.
  • That component which provides the opening and / or closing force ie the closing body of a door closer or the drive unit of a door drive, attached to the upper edge of the door leaf and one or more articulated levers with a above the door leaf arranged sliding or Coupled guide rail. It may also be that the Sliding or guide rail on the door leaf and the closing body or the drive unit is attached to the frame, the wall or the ceiling.
  • the lever assembly between the wall-side component and the wing-side component is arranged and recognizable as a separate assembly. When the door is closed so for a viewer, the three modules "wall-side component", “wing-side component” and “lever assembly” are visible and disturb the room image.
  • DE19717959A1 discloses a device according to the preamble of claim 1. It is an object of the invention to provide a device for automatically opening and / or closing a rotatable about a rotation axis door, in which the above-mentioned disadvantages are eliminated. The object is achieved by a device having the features of claim 1.
  • a cover element is movably mounted on the wall-side component or on the wing-side component, which in a first position at least partially covers a visible side of the lever arrangement and / or the wing and is moved out of the movement path of the lever arrangement and the wing in a second position.
  • the lever assembly can be covered with the wing closed so that it is no longer recognizable as a separate component.
  • Door closer, door drives and the like can thus be better integrated into the room image.
  • the cover can the Lever arrangement and if necessary even overlap the wing forward, since it can be moved away to open the wing. Due to the cover, it is not necessary to produce the lever assembly in different color variants and to keep in stock.
  • the cover element is mounted pivotably about a pivot axis on the wall-side component or on the wing-side component.
  • Another embodiment of the invention provides that the cover is slidably mounted on the wall-side component or on the wing-side component, in particular wherein the displacement track extends transversely to an opening direction of the wing.
  • the cover can cover or release the visible side of the lever assembly.
  • the cover element In the first position, the cover element preferably covers at least substantially completely an air gap formed between the wing-side component and the wall-side component. Covering this air gap by a fixed cover separates, as this would block a lever movement. Due to the mobility of the cover, however, it is possible to bridge the air gap and thus to create a particularly smooth transition between the wing-side component and the wall-side component.
  • An embodiment of the invention provides that the cover is mounted on the wall-side component and defined in the first position, at least on a front side a flush transition to a housing of the wing-side component or that the cover is mounted on the wing-side component and in the first position defined at least on a front side a flush transition to a housing of the wall-side component.
  • the front of the cover is meant that side which faces away from the door in the mounted state of the door closer or the door drive.
  • the cover may be designed hood-like, so that it covers that component to which it is movably mounted to several sides.
  • a hood-like cover member may have a curved outer side to give the device a particularly appealing design.
  • At least one front side of the cover element is adapted in terms of its surface texture and color to a housing of the wing-side component and / or the wall-side component.
  • a door closer or door drive for a viewer with closed wing acts as a single component.
  • Such a device fits much better in the room image as a device with three separate and clearly recognizable as such individual components.
  • the pivot axis of a pivotably mounted cover member extends in the assembled state of the device at least substantially horizontally.
  • the cover can thus be swung up or down from the path of movement of the lever assembly and / or the wing when the wing is opened laterally.
  • the cover member has an urging surface which is arranged and formed such that upon opening of the wing, a portion of the lever assembly or the wing presses against the loading surface and thus moves the cover member in the direction of the second position.
  • the cover is thus automatically pivoted when opening the wing or shifted without the need for a special drive mechanism is provided.
  • the production cost is particularly low in this embodiment. In principle, however, it is also possible to move the cover motor - for example, sensor-controlled.
  • the covering element has a flat cover section with a front side facing away from the wing in the mounted state of the door device and an opposite rear side, wherein the loading surface is formed on the rear side of the flat cover section.
  • the loading surface may be formed as a sliding surface, d. H. due to the shape, the choice of materials and the surface texture for a slipping of the acting component be particularly suitable.
  • the loading surface may be inclined and / or curved relative to an opening direction of the wing.
  • the corresponding mating surface of the lever arrangement or of the wing may extend obliquely and / or curved with respect to an opening direction of the wing.
  • a further embodiment of the invention provides that the wall-side component or the wing-side component comprises an elongated hollow profile element which is closed at least one open end by an end piece, wherein on the end piece a pivot pin or a pivot pin receptacle is provided for pivotally mounting the cover.
  • both open end faces of the elongated hollow profile element are closed by end pieces with pivot pins or pivot pin receptacles.
  • pivot pin and the associated pivot pin receptacles can be designed such that a clipping or snapping the cover into the associated end piece is possible.
  • the assembly of the cover is particularly simple in this embodiment.
  • a further embodiment of the invention provides that the pivot pin or the pivot pin receptacle is arranged asymmetrically with respect to a mirror plane of the end piece and / or that the end piece has a plurality of pivot pins or pivot pin receptacles. This allows the storage of the cover in different positions, so as to accommodate, for example, different types of door closers or door drives.
  • An inventive device may comprise a damping element which opposes the movement of the cover member a resistance.
  • the damping element may be formed as a rotational damper and interact directly with a pivot pin or a pivot pin receptacle of the cover. This allows a particularly simple construction.
  • a linear damper could be used as a damping element.
  • a further embodiment of the invention provides that the cover element is acted upon by a prestressed spring in the direction of the first position. In this way it is ensured that the cover reliably moves into the covering position as soon as the wing is closed. That is, it is prevented that the cover member unintentionally remains in the aside moved position. In certain applications, it may be sufficient to provide for moving the cover member toward the first position solely by gravity. In this case, no separate spring is necessary.
  • the wing-side component is designed as a housing for accommodating a closing mechanism or a drive of the device and the wall-side component as a slide rail for receiving a slider of the lever arrangement, or vice versa.
  • the cover element can partially or completely cover the slide rail, the lever arrangement and the housing.
  • the cover can be mounted on two opposite end faces of the slide, in particular articulated, be, so that it surrounds the slide rail in a manner of brackets. This allows a particularly simple structure and also ensures lateral coverage of the slide rail.
  • the cover element may comprise a central wall section for covering the visible side of the lever arrangement and / or the wing and two lateral wall sections extending transversely to the central wall section, on the mutually facing inner sides of which respective pivot pins or pivot pin receptacles are arranged.
  • a cover which is composed essentially of three flat wall sections, is particularly simple and inexpensive to produce.
  • the cover element can at least partially cover both a visible side of the wing-side component and a visible side of the wall-side component.
  • the cover member may pivot about a transverse to the axis of rotation of the wing pivot axis on the wall-side component or on the be mounted wing-side component. This is contrary to a mounting on the upper edge of a laterally rotating wing.
  • the invention also relates to a cover member adapted for moveable bearing on a wall-side or wing-side component of a device as described above.
  • a cover member adapted for moveable bearing on a wall-side or wing-side component of a device as described above.
  • Existing door closers, door drives or the like can be retrofitted with such a cover to allow better integration into the room image.
  • Partially illustrated door 11 comprises a wall-fixed frame 13 and a relative to the frame 13 about a vertical axis of rotation R rotatable door leaf 15.
  • an inventive door closer 17 is mounted, which is fixed to the door leaf 15 closer body 19 and attached to the frame 13
  • Sliding rail 21 includes.
  • a lever assembly 23 - here in the form of a single-arm single lever - the closer body 19 and the slide 21 are coupled together.
  • the lever assembly 23 is coupled in the embodiment shown at one end to a projecting out of the closer body 19 closer shaft 25 drivingly effective and at the other end hinged to a run in the slide rail 21 slider 22 (FIG. Fig. 2-4 ) connected.
  • a non-visible locking mechanism is housed, which pivots, for example by means of spring force on the closer shaft 25, the lever assembly 23 so that the door 15 automatically closes after opening and subsequent release.
  • the closer body 19 could also be attached to the frame 13 and the slide rail 21 on the door leaf 15.
  • a cover member 30 is pivotally mounted about a horizontal pivot axis S.
  • the pivot axis S thus extends at right angles to the axis of rotation R and parallel to a longitudinal extent of the slide rail 21.
  • the cover element 30 comprises a central wall portion 31 and two transverse to this extending lateral wall portions 33.
  • the cover 30 is hinged to the two opposite end faces of the slide rail 21. It can be pivoted between a lowered position and a raised position, as will be explained in more detail below.
  • the cover member 30 is adapted in terms of its surface texture and color to the closer body 19 to further enhance the impression of a uniform component.
  • the lever assembly 23 presses against the back 40 of the central wall portion 31, whereby this is slowly pivoted upwards ( Fig. 3 ). After the door leaf 15 has reached an opening angle of about 30 °, the lower edge 41 of the central wall portion 31 is as in Fig. 4 recognizable on the lever assembly 23. Upon further opening of the door leaf 15, the lever arrangement 23 slides along the lower edge 41 of the central wall section 31. The cover 30 is in this case completely out of the Movement path of the lever assembly 23 and the door leaf 15 swung out.
  • the rear side 40 'of the central wall section 31' has a curved contour 42 in order to allow the lever arrangement 23 to slide more easily onto the lower edge 41 of the central wall section 31 '.
  • the slide rail 21 is according to 10 and 11 formed as an elongated hollow profile element which is closed at the two open end faces 45 by respective end pieces 47.
  • Each of the end pieces 47 has a pivot pin receptacle 49 in the form of a recess such as a blind hole or a through hole.
  • the pivot pin receptacles 49 of the end pieces 47 serve to receive respective pivot pins 50 which are arranged on the mutually facing inner sides of the lateral wall sections 33 of the cover element 30.
  • the pivot pin receptacles 49 are each as in FIG Fig. 10 recognizable with respect to a mirror plane E of the tail 47 arranged asymmetrically.
  • the end pieces 47 as in Fig. 13 illustrated with zargennah arranged pivot pin receptacles 49 or as in Fig. 14 shown with zargenfern arranged pivot pin receptacles 49 are inserted into the slide rail 21, different arrangements of the cover 30 relative to the slide rail 21.
  • cover 30 and end pieces 47 are mounted in a different manner to a door closer 17, so that Accordingly, two different variants of door closers 17 can be equipped with the same cover 30.
  • a plurality of spaced-apart pivot pin receptacles 49 may be provided in an end piece 47.
  • FIGS. 15 and 16 show an alternative designed cover member 30 'including an associated end piece 47'.
  • a pivot pin receptacle 53 is provided on the mutually facing inner sides of the lateral wall portions 33.
  • This pivot pin receptacle 53 engages the profiled first shaft end 55 of a rotary damper 57, which is designed for insertion into the end piece 47 '.
  • the opposite second shaft end 59 of the rotary damper 57 which is also profiled, is received in a receptacle 60 at the bottom of the end piece 47 '.
  • a spring such as B. be a leg spring integrated into the pivot bearing.
  • the cover 30, 30 ' not only as in the illustrated embodiments, the slide rail 21 and the lever assembly 23 cover, but if necessary, the closer body 19 and / or the upper edge of the door 15. That is, depending on the size and shape of the Cover member 30, 30 'different designs of the door closer 17 possible.
  • the cover element 30 is not pivotable, but displaceably mounted on the slide rail 21.
  • corresponding linear guides are provided on the opposite end sections of the slide rail, which are arranged in Fig. 17-21 are not shown separately.
  • the linear guides are preferably designed as sliding guides.
  • the displaceable cover element 30 is formed exclusively by a central wall section 31", that is to say there are no lateral wall sections. In the assembled state of the door closer 17 ', the movement path of the sliding movement is vertical.
  • a run-on slope 70 is provided, which is arranged here at the end of the lever arrangement 23, but in principle could also be arranged at another location of the door closer 17 '
  • Wing 15 is the ramp 30 as in Fig. 18 shown at the lower edge 41 of the central wall portion 31 "on and the cover 30" is held by gravity and optionally additionally by spring force in the lower end position.
  • an existing door closer 17 can be retrofitted with a cover in a simple and fast manner.
  • the invention makes it possible to integrate door closers, door drives and the like in a particularly visually appealing manner in a room image.

Landscapes

  • Power-Operated Mechanisms For Wings (AREA)
  • Wing Frames And Configurations (AREA)

Description

  • Die vorliegende Erfindung betrifft eine Einrichtung zum selbsttägigen Öffnen und/oder Schließen eines um eine Drehachse drehbaren Flügels, insbesondere einen Türschließer oder einen Türantrieb, mit einer zur Befestigung am Flügel ausgebildeten flügelseitigen Komponente, einer zur Befestigung an einer Zarge, einer Wand oder dergleichen ausgebildeten wandseitigen Komponente und einer beweglichen Hebelanordnung, über welche die flügelseitige Komponente und die wandseitige Komponente derart miteinander gekoppelt sind, dass sie durch eine Hebelbewegung auseinander oder aufeinander zu bewegbar sind, um so den Flügel zu öffnen oder zu schließen.
  • Derartige Einrichtungen werden an Türen, Toren, Fenstern, Oberlichten und dergleichen dazu eingesetzt, den betreffenden Tür- oder Fensterflügel kraftbetätigt zu öffnen und/oder zu schließen. Beispiele für gattungsgemäße Einrichtungen sind Türschließer, Türantriebe und Fensterantriebe.
  • Türschließer sind beispielsweise in Form von Obentürschließern bekannt und dienen dazu, einen Tür- oder Torflügel nach dessen Öffnen und anschließendem Loslassen selbsttätig wieder zu schließen. Tür- und Fensterantriebe sind mit einem Antriebssystem ausgestattet und daher in der Lage, einen drehbaren Flügel motorisch zu öffnen und zu schließen.
  • Häufig ist diejenige Komponente, welche die Öffnungs- und/oder Schließkraft bereitstellt, also der Schließerkörper eines Türschließers bzw. die Antriebseinheit eines Türantriebs, am oberen Rand des Türblatts befestigt und über einen oder mehrere gelenkig verbundene Hebel mit einer oberhalb des Türblatts angeordneten Gleit- oder Führungsschiene gekoppelt. Es kann jedoch auch sein, dass die Gleit- oder Führungsschiene am Türblatt und der Schließerkörper bzw. die Antriebseinheit an der Zarge, der Wand oder der Decke befestigt ist. In jedem Fall ist die Hebelanordnung zwischen der wandseitigen Komponente und der flügelseitigen Komponente angeordnet und als separate Baugruppe erkennbar.
    Bei geschlossener Tür sind also für einen Betrachter die drei Baugruppen "wandseitige Komponente", "flügelseitige Komponente" und "Hebelanordnung" offen sichtbar und stören das Raumbild. Um ein ansprechenderes Erscheinungsbild zu ermöglichen, werden Türschließer und Türantriebe häufig in verschiedenen Farbvarianten angeboten. Dies bedeutet jedoch, dass alle drei genannten Komponenten in unterschiedlichen Farben lackiert und auf Lager gelegt werden müssen. Dies ist mit einem beträchtlichen Aufwand verbunden. DE19717959A1 offenbart eine Einrichtung nach dem Oberbegriff des Anspruchs 1. Es ist eine Aufgabe der Erfindung, eine Einrichtung zum selbsttätigen Öffnen und/oder Schließen eines um eine Drehachse drehbaren Türflügels anzugeben, bei welcher die vorstehend genannten Nachteile beseitigt sind.
    Die Lösung der Aufgabe erfolgt durch eine Einrichtung mit den Merkmalen des Anspruchs 1.
    Erfindungsgemäß ist an der wandseitigen Komponente oder an der flügelseitigen Komponente ein Abdeckelement beweglich gelagert, welches in einer ersten Stellung eine Sichtseite der Hebelanordnung und/oder des Flügels zumindest bereichsweise überdeckt und in einer zweiten Stellung aus der Bewegungsbahn der Hebelanordnung und des Flügels herausbewegt ist. Mit einem solchen Abdeckelement kann die Hebelanordnung bei geschlossenem Flügel derart abgedeckt werden, dass sie nicht mehr als separate Komponente erkennbar ist. Türschließer, Türantriebe und dergleichen können somit besser in das Raumbild integriert werden. Anders als bei herkömmlichen Systemen kann das Abdeckelement die Hebelanordnung und bei Bedarf sogar den Flügel nach vorn übergreifen, da es zum Öffnen des Flügels wegbewegt werden kann. Aufgrund des Abdeckelements ist es nicht notwendig, die Hebelanordnung in verschiedenen Farbvarianten herzustellen und auf Lager zu halten.
  • Weiterbildungen der Erfindung sind in den abhängigen Ansprüchen, der Beschreibung sowie der beigefügten Zeichnung angegeben.
  • Gemäß einer Ausführungsform der Erfindung ist das Abdeckelement um eine Schwenkachse verschwenkbar an der wandseitigen Komponente oder an der flügelseitigen Komponente gelagert. Eine andere Ausführungsform der Erfindung sieht vor, dass das Abdeckelement verschiebbar an der wandseitigen Komponente oder an der flügelseitigen Komponente gelagert ist, insbesondere wobei die Verschiebebahn quer zu einer Öffnungsrichtung des Flügels verläuft. Je nach Schwenkstellung bzw. Verschiebestellung kann das Abdeckelement die Sichtseite der Hebelanordnung abdecken oder freigeben.
  • Vorzugsweise deckt das Abdeckelement in der ersten Stellung einen zwischen der flügelseitigen Komponente und der wandseitigen Komponente ausgebildeten Luftspalt zumindest im Wesentlichen vollständig ab. Ein Abdecken dieses Luftspalts durch ein feststehendes Abdeckelement scheidet aus, da hierdurch eine Hebelbewegung blockiert wäre. Aufgrund der Beweglichkeit des Abdeckelements ist es hingegen möglich, den Luftspalt zu überbrücken und somit einen besonders glatten Übergang zwischen der flügelseitigen Komponente und der wandseitigen Komponente zu schaffen.
  • Eine Ausgestaltung der Erfindung sieht vor, dass das Abdeckelement an der wandseitigen Komponente gelagert ist und in der ersten Stellung zumindest an einer Vorderseite einen bündigen Übergang zu einem Gehäuse der flügelseitigen Komponente definiert oder dass das Abdeckelement an der flügelseitigen Komponente gelagert ist und in der ersten Stellung zumindest an einer Vorderseite einen bündigen Übergang zu einem Gehäuse der wandseitigen Komponente definiert. Mit der Vorderseite des Abdeckelements ist diejenige Seite gemeint, die im montierten Zustand des Türschließers oder der Türantriebs von der Tür weg weist. Durch einen bündigen Übergang zwischen dem Abdeckelement und einem angrenzenden Gehäuse wie zum Beispiel dem Gehäuse eines Schließerkörpers oder einer Antriebseinheit kann ein besonders ansprechendes Erscheinungsbild des Türschließers oder Türantriebs geschaffen werden.
  • Das Abdeckelement kann haubenartig gestaltet sein, so dass es diejenige Komponente, an der es beweglich gelagert ist, zu mehreren Seiten hin überdeckt. Ein solches haubenartiges Abdeckelement kann eine gewölbte Außenseite aufweisen, um der Einrichtung ein besonders ansprechendes Design zu verleihen.
  • Gemäß einer Ausführungsform der Erfindung ist zumindest eine Vorderseite des Abdeckelements hinsichtlich seiner Oberflächenbeschaffenheit und Farbgebung an ein Gehäuse der flügelseitigen Komponente und/oder der wandseitigen Komponente angepasst. Auf diese Weise kann erzielt werden, dass ein Türschließer oder Türantrieb für einen Betrachter bei geschlossenem Flügel wie eine einzelne Komponente wirkt. Eine derartige Einrichtung fügt sich wesentlich besser in das Raumbild als eine Einrichtung mit drei separaten und deutlich als solche erkennbaren Einzelkomponenten.
  • Vorzugsweise verläuft die Schwenkachse eines verschwenkbar gelagerten Abdeckelements im montierten Zustand der Einrichtung zumindest im Wesentlichen horizontal. Das Abdeckelement kann somit nach oben oder nach unten aus der Bewegungsbahn der Hebelanordnung und/oder des Flügels herausgeschwenkt werden, wenn der Flügel seitlich geöffnet wird.
  • Es ist bevorzugt, dass das Abdeckelement eine Beaufschlagungsfläche aufweist, die derart angeordnet und ausgebildet ist, dass bei einem Öffnen des Flügels ein Abschnitt der Hebelanordnung oder des Flügels gegen die Beaufschlagungsfläche drückt und so das Abdeckelement in Richtung der zweiten Stellung bewegt. Das Abdeckelement wird somit beim Öffnen des Flügels automatisch verschwenkt oder verschoben, ohne dass hierfür ein spezieller Antriebsmechanismus vorzusehen ist. Der Herstellungsaufwand ist bei dieser Ausgestaltung besonders gering. Grundsätzlich ist es jedoch auch möglich, das Abdeckelement motorisch zu bewegen - beispielsweise sensorgesteuert.
  • Es kann vorgesehen sein, dass das Abdeckelement einen flächigen Deckabschnitt mit einer im montierten Zustand der Türeinrichtung vom Flügel weg weisenden Vorderseite und einer entgegengesetzten Rückseite aufweist, wobei die Beaufschlagungsfläche an der Rückseite des flächigen Deckabschnitts ausgebildet ist. Dies ermöglicht eine besonders einfache Konstruktion, da die Hebelanordnung bei einem Öffnen des Flügels das abdeckende Bauteil gewissermaßen direkt von hinten wegdrückt.
  • Die Beaufschlagungsfläche kann als Gleitfläche ausgebildet sein, d. h. aufgrund der Formgebung, der Materialauswahl sowie der Oberflächenbeschaffenheit für ein Entlanggleiten des beaufschlagenden Bauteils in besonderer Weise geeignet sein. Speziell kann die Beaufschlagungsfläche bezüglich einer Öffnungsrichtung des Flügels schräg und/oder gekrümmt verlaufen. Alternativ oder zusätzlich kann die entsprechende Gegenfläche der Hebelanordnung oder des Flügels bezüglich einer Öffnungsrichtung des Flügels schräg und/oder gekrümmt verlaufen.
  • Eine weitere Ausführungsform der Erfindung sieht vor, dass die wandseitige Komponente oder die flügelseitige Komponente ein längliches Hohlprofilelement umfasst, welches an wenigstens einer offenen Stirnseite durch ein Endstück verschlossen ist, wobei an dem Endstück ein Schwenkzapfen oder eine Schwenkzapfenaufnahme zur schwenkbaren Lagerung des Abdeckelements vorgesehen ist. Vorzugsweise sind beide offenen Stirnseiten des länglichen Hohlprofilelements durch Endstücke mit Schwenkzapfen oder Schwenkzapfenaufnahmen verschlossen. Das Vorsehen eines Endstücks oder zweier Endstücke ermöglicht eine besonders einfache Lagerung des Abdeckelements an der betreffenden Komponente. Außerdem sind viele gängige Türschließer und Türantriebe mit länglichen Hohlprofilelementen in Form von Gleit- oder Führungsschienen ausgestattet.
  • Durch Bereitstellung passender Endstücke sowie eines zugehörigen Abdeckelements können derartige Systeme leicht mit einer schwenkbaren Abdeckung nachgerüstet werden. Die Schwenkzapfen und die zugehörigen Schwenkzapfenaufnahmen können derart gestaltet sein, dass ein Einklipsen oder Einschnappen des Abdeckelements in das zugehörige Endstück möglich ist. Die Montage des Abdeckelements ist bei dieser Ausgestaltung besonders einfach.
  • Eine weitere Ausführungsform der Erfindung sieht vor, dass der Schwenkzapfen oder die Schwenkzapfenaufnahme bezüglich einer Spiegelebene des Endstücks asymmetrisch angeordnet ist und/oder dass das Endstück mehrere Schwenkzapfen oder Schwenkzapfenaufnahmen aufweist. Dies ermöglicht die Lagerung des Abdeckelements in verschiedenen Positionen, um so zum Beispiel unterschiedlichen Typen von Türschließern oder Türantrieben Rechnung zu tragen.
  • Eine erfindungsgemäße Einrichtung kann ein Dämpfungselement umfassen, welches der Bewegung des Abdeckelements einen Widerstand entgegensetzt. Dadurch kann ein sanftes Bewegen des Abdeckelements gewährleistet werden. Insbesondere kann das Dämpfungselement als Rotationsdämpfer ausgebildet sein und direkt mit einem Schwenkzapfen oder einer Schwenkzapfenaufnahme des Abdeckelements zusammenwirken. Dies ermöglicht eine besonders einfache Konstruktion. Grundsätzlich könnte auch ein Lineardämpfer als Dämpfungselement eingesetzt werden.
  • Eine weitere Ausführungsform der Erfindung sieht vor, dass das Abdeckelement durch eine vorgespannte Feder in Richtung der ersten Stellung beaufschlagt ist. Auf diese Weise ist sichergestellt, dass sich das Abdeckelement zuverlässig in die abdeckende Stellung bewegt, sobald der Flügel geschlossen wird. Das heißt es wird verhindert, dass das Abdeckelement unbeabsichtigter Weise in der beiseite bewegten Stellung verbleibt. Bei bestimmten Anwendungen kann es ausreichend sein, ein Bewegen des Abdeckelements in Richtung der ersten Stellung ausschließlich aufgrund der Schwerkraft vorzusehen. In diesem Fall ist keine separate Feder notwendig.
  • Gemäß einer speziellen Ausgestaltung der Erfindung ist die flügelseitige Komponente als ein Gehäuse zur Unterbringung eines Schließmechanismus oder eines Antriebs der Einrichtung und die wandseitige Komponente als eine Gleitschiene zur Aufnahme eines Gleitstücks der Hebelanordnung ausgebildet, oder umgekehrt. Das Abdeckelement kann bei einer derartigen Ausgestaltung die Gleitschiene, die Hebelanordnung und das Gehäuse teilweise oder vollständig abdecken.
  • Das Abdeckelement kann an zwei entgegengesetzten Stirnseiten der Gleitschiene gelagert, insbesondere angelenkt, sein, so dass es die Gleitschiene gewissermaßen klammerartig umgreift. Dies ermöglicht einen besonders einfachen Aufbau und sorgt zudem für eine seitliche Abdeckung der Gleitschiene.
  • Das Abdeckelement kann einen zentralen Wandabschnitt zum Abdecken der Sichtseite der Hebelanordnung und/oder des Flügels und zwei sich quer zu dem zentralen Wandabschnitt erstreckende seitliche Wandabschnitte umfassen, an deren einander zugewandten Innenseiten jeweilige Schwenkzapfen oder Schwenkzapfenaufnahmen angeordnet sind. Ein derartiges Abdeckelement, das sich im Wesentlichen aus drei flächigen Wandabschnitten zusammensetzt, ist besonders einfach und kostengünstig herstellbar.
  • Das Abdeckelement kann in der ersten Stellung sowohl eine Sichtseite der flügelseitigen Komponente als auch eine Sichtseite der wandseitigen Komponente zumindest bereichsweise überdecken. Insbesondere kann vorgesehen sein, dass ein - vorzugsweise haubenartiges - Abdeckelement sowohl die flügelseitige Komponente als auch die wandseitige Komponente im Wesentlichen vollständig überdeckt. Dies sorgt für ein besonders ansprechendes Erscheinungsbild des zugehörigen Türschließers, Türantriebs oder dergleichen.
  • Das Abdeckelement kann um eine quer zu der Drehachse des Flügels verlaufende Schwenkachse verschwenkbar an der wandseitigen Komponente oder an der flügelseitigen Komponente gelagert sein. Dies kommt einer Montage am oberen Rand eines seitlich drehenden Flügels entgegen.
  • Die Erfindung betrifft auch ein Abdeckelement, das zum beweglichen Lagern an einer wandseitigen oder flügelseitigen Komponente einer Einrichtung wie vorstehend beschrieben ausgebildet ist. Bestehende Türschließer, Türantriebe oder dergleichen können mit einem solchen Abdeckelement nachgerüstet werden, um eine bessere Integration in das Raumbild zu ermöglichen.
  • Die Erfindung wird nachfolgend beispielhaft unter Bezugnahme auf die Zeichnung beschrieben.
  • Fig. 1
    ist eine perspektivische Teildarstellung einer Tür, an der ein Türschließer gemäß einer ersten Ausführungsform der Erfindung montiert ist.
    Fig. 2
    ist eine seitliche Schnittdarstellung der in Fig. 1 gezeigten Anordnung, wobei sich ein Flügel der Tür in geschlossenem Zustand befindet.
    Fig. 3
    zeigt die Tür gemäß Fig. 2 mit teilweise geöffnetem Flügel.
    Fig. 4
    zeigt die Tür gemäß Fig. 2 mit gegenüber Fig. 3 weiter geöffnetem Flügel.
    Fig. 5
    zeigt die Anordnung gemäß Fig. 2 in perspektivischer Ansicht.
    Fig. 6
    zeigt die Anordnung gemäß Fig. 3 in perspektivischer Ansicht.
    Fig. 7
    zeigt die Anordnung gemäß Fig. 4 in perspektivischer Ansicht.
    Fig. 8
    ist eine seitliche Schnittansicht einer Tür, an der ein Türschließer gemäß einer zweiten Ausführungsform der Erfindung montiert ist, wobei sich ein Flügel der Tür in geschlossenem Zustand befindet.
    Fig. 9
    zeigt die in Fig. 8 dargestellte Anordnung mit teilweise geöffnetem Flügel.
    Fig. 10
    zeigt eine Gleitschiene eines erfindungsgemäßen Türschließers sowie ein Endstück zum Einsetzen in eine offene Stirnseite der Gleitschiene.
    Fig. 11
    zeigt die Gleitschiene gemäß Fig. 10 mit eingesetztem Endstück.
    Fig. 12
    zeigt die Anordnung gemäß Fig. 11 einschließlich eines an der Gleitschiene zu lagernden Abdeckelements.
    Fig. 13
    zeigt eine Gleitschiene mit daran gelagertem Abdeckelement gemäß einer ersten Montage-Variante.
    Fig. 14
    zeigt eine Gleitschiene mit daran gelagertem Abdeckelement gemäß einer alternativen zweiten Montage-Variante.
    Fig. 15
    zeigt ein gegenüber Fig. 10 alternativ gestaltetes Endstück, an welchem über ein Dämpfungselement ein Abdeckelement zu lagern ist.
    Fig. 16
    zeigt die Anordnung gemäß Fig. 15 in teilweise zusammengesetztem Zustand.
    Fig. 17
    ist eine perspektivische Teildarstellung einer Tür, an der ein Türschließer gemäß einer dritten Ausführungsform der Erfindung montiert ist.
    Fig. 18
    ist eine seitliche Schnittdarstellung der in Fig. 17 gezeigten Anordnung, wobei sich ein Flügel der Tür in geschlossenem Zustand befindet.
    Fig. 19
    zeigt die Anordnung gemäß Fig. 18 in perspektivischer Ansicht.
    Fig. 20
    zeigt die Anordnung gemäß Fig. 19 mit teilweise geöffnetem Flügel.
    Fig. 21
    zeigt die Anordnung gemäß Fig. 19 mit gegenüber Fig. 20 weiter geöffnetem Flügel.
  • Die in Fig. 1-7 teilweise dargestellte Tür 11 umfasst eine wandfeste Zarge 13 sowie einen gegenüber der Zarge 13 um eine vertikale Drehachse R drehbaren Türflügel 15. An der Tür 11 ist ein erfindungsgemäßer Türschließer 17 montiert, welcher einen am Türflügel 15 befestigten Schließerkörper 19 sowie eine an der Zarge 13 befestigte Gleitschiene 21 umfasst. Über eine Hebelanordnung 23 - hier in Form eines einarmigen Einzel-Hebels - sind der Schließerkörper 19 und die Gleitschiene 21 miteinander gekoppelt. Die Hebelanordnung 23 ist bei der gezeigten Ausführungsform an einem Ende mit einer aus dem Schließerkörper 19 ragenden Schließerwelle 25 antriebswirksam gekoppelt und am anderen Ende gelenkig mit einem in der Gleitschiene 21 geführten Gleitstück 22 (Fig. 2-4) verbunden. In dem Schließerkörper 19 ist ein nicht sichtbarer Schließmechanismus untergebracht, welcher beispielsweise mittels Federkraft über die Schließerwelle 25 die Hebelanordnung 23 derart verschwenkt, dass sich der Türflügel 15 nach einem Öffnen und anschließendem Loslassen selbsttätig schließt. Grundsätzlich könnte auch der Schließerkörper 19 an der Zarge 13 und die Gleitschiene 21 am Türflügel 15 angebracht sein.
  • An der Gleitschiene 21 ist ein Abdeckelement 30 um eine horizontale Schwenkachse S verschwenkbar gelagert. Die Schwenkachse S verläuft bei dem gezeigten Ausführungsbeispiel also rechtwinklig zu der Rotationsachse R und parallel zu einer Längserstreckung der Gleitschiene 21. Das Abdeckelement 30 umfasst einen zentralen Wandabschnitt 31 sowie zwei sich quer zu diesem erstreckende seitliche Wandabschnitte 33. Über die seitlichen Wandabschnitte 33 ist das Abdeckelement 30 an den beiden entgegengesetzten Stirnseiten der Gleitschiene 21 angelenkt. Es kann zwischen einer herabgeschwenkten Stellung und einer emporgeschwenkten Stellung verschwenkt werden, wie nachfolgend noch genauer ausgeführt wird.
  • Wenn der Türflügel 15 geschlossen ist und sich das Abdeckelement 30 wie in Fig. 2 dargestellt in der herabgeschwenkten Stellung befindet, ist die vom Türflügel 15 weg weisende Vorderseite 35 der Gleitschiene 21 vollständig durch den zentralen Wandabschnitt 31 des Abdeckelements 30 abgedeckt. Zusätzlich überragt der untere Bereich des zentralen Wandabschnitts 31 die Hebelanordnung 23 und schließt bündig mit dem Schließerkörper 19 ab. Somit ist auch die Hebelanordnung 23 für einen vor der Tür 11 stehenden Betrachter vollständig durch den zentralen Wandabschnitt 31 des Abdeckelements 30 abgedeckt. Zwischen der Vorderseite 38 des Abdeckelements 30 und der Vorderseite 39 des Schließerkörpers 19 besteht ein bündiger Übergang. Wie aus Fig. 5 hervorgeht, wirken die Gleitschiene 21 mit dem daran angelenkten Abdeckelement 30 sowie der Schließerkörper 19 im Prinzip wie eine einzelne Komponente. Dieser Eindruck wird dadurch unterstützt, dass der zentrale Wandabschnitt 31 sowie die Vorderseite 39 des Schließerkörpers 19 gewölbt sind und die entsprechenden Wölbungen knickfrei aneinander anschließen. Weiterhin ist das Abdeckelement 30 hinsichtlich seiner Oberflächenbeschaffenheit und Farbgebung an den Schließerkörper 19 angepasst, um den Eindruck einer einheitlichen Komponente weiter zu verstärken.
  • Beim Öffnen des Türflügels 15 drückt die Hebelanordnung 23 gegen die Rückseite 40 des zentralen Wandabschnitts 31, wodurch dieser langsam nach oben geschwenkt wird (Fig. 3). Nachdem der Türflügel 15 einen Öffnungswinkel von etwa 30 ° erreicht hat, liegt die Unterkante 41 des zentralen Wandabschnitts 31 wie in Fig. 4 erkennbar auf der Hebelanordnung 23 auf. Beim weiteren Öffnen des Türflügels 15 gleitet die Hebelanordnung 23 an der Unterkante 41 des zentralen Wandabschnitts 31 entlang. Das Abdeckelement 30 ist hierbei vollständig aus der Bewegungsbahn der Hebelanordnung 23 und des Türflügels 15 herausgeschwenkt. Wenn sich der Türflügel 15 nach dem Loslassen durch den Benutzer infolge der Federkraft des Türschließers 17 wieder schließt, gleitet die Hebelanordnung 23 in umgekehrter Richtung an der Unterkante 41 des zentralen Wandabschnitts 31 entlang, bis das Abdeckelement 30 wieder die Hebelanordnung 23 überragt und schließlich bündig am Gehäuse des Schließerkörpers 19 anliegt. Im Ergebnis sind die Gleitschiene 21 sowie die Hebelanordnung 23 bei geschlossenem Türflügel 15 stets verdeckt. Dennoch ist jederzeit ein ungehindertes Öffnen des Türflügels 15 möglich.
  • Bei der in Fig. 8 und 9 dargestellten alternativen Ausführungsform weist die Rückseite 40' des zentralen Wandabschnitts 31' eine gekrümmte Kontur 42 auf, um ein leichteres Aufgleiten der Hebelanordnung 23 auf die Unterkante 41 des zentralen Wandabschnitts 31' zu ermöglichen.
  • In den Fig. 10 bis 14 ist die schwenkbare Lagerung des Abdeckelements 30 an der Gleitschiene 21 genauer dargestellt. Die Gleitschiene 21 ist gemäß Fig. 10 und 11 als längliches Hohlprofilelement ausgebildet, welches an den beiden offenen Stirnseiten 45 durch jeweilige Endstücke 47 verschlossen ist. Jedes der Endstücke 47 weist eine Schwenkzapfenaufnahme 49 in Form einer Aussparung wie eines Sacklochs oder eines Durchgangslochs auf. Die Schwenkzapfenaufnahmen 49 der Endstücke 47 dienen zur Aufnahme jeweiliger Schwenkzapfen 50, die an den einander zugewandten Innenseiten der seitlichen Wandabschnitte 33 des Abdeckelements 30 angeordnet sind. Nach dem Einsetzen der Endstücke 47 in die Gleitschiene 21 kann das Abdeckelement 30 in einfacher Weise in die Endstücke 47 eingesetzt werden, wie in Fig. 12 veranschaulicht ist. Dieses Einsetzen kann unter geringfügiger Verformung des Abdeckelements 30 erfolgen, wobei aufgrund der Elastizität des Abdeckelements 30 ein Einschnappen oder Einklipsen mit einem nachfolgenden sicheren Halt erfolgt.
  • Die Schwenkzapfenaufnahmen 49 sind jeweils wie in Fig. 10 erkennbar bezüglich einer Spiegelebene E des Endstücks 47 asymmetrisch angeordnet. Je nachdem, ob die Endstücke 47 wie in Fig. 13 dargestellt mit zargennah angeordneten Schwenkzapfenaufnahmen 49 oder wie in Fig. 14 dargestellt mit zargenfern angeordneten Schwenkzapfenaufnahmen 49 in die Gleitschiene 21 eingesetzt sind, ergeben sich unterschiedliche Anordnungen des Abdeckelements 30 relativ zu der Gleitschiene 21. Somit kann ein und dieselbe Anordnung aus Abdeckelement 30 und Endstücken 47 in unterschiedlicher Weise an einem Türschließer 17 angebracht werden, so dass dementsprechend auch zwei verschiedene Varianten von Türschließern 17 mit dem gleichen Abdeckelement 30 bestückt werden können. Alternativ zu der dargestellten asymmetrischen Anordnung einer Schwenkzapfenaufnahme 49 können auch mehrere voneinander beabstandete Schwenkzapfenaufnahmen 49 in einem Endstück 47 vorgesehen sein.
  • Fig. 15 und 16 zeigen ein alternativ gestaltetes Abdeckelement 30' einschließlich eines zugehörigen Endstücks 47'. Bei dieser Ausgestaltung ist an den einander zugewandten Innenseiten der seitlichen Wandabschnitte 33 kein Schwenkzapfen, sondern eine Schwenkzapfenaufnahme 53 vorgesehen. In diese Schwenkzapfenaufnahme 53 greift das profilierte erste Wellenende 55 eines Rotationsdämpfers 57 ein, welcher zum Einsetzen in das Endstück 47' ausgebildet ist. Das entgegengesetzte zweite Wellenende 59 des Rotationsdämpfers 57, welches ebenfalls profiliert ist, ist in einer Aufnahme 60 am Boden des Endstücks 47' aufgenommen. Bei einem Verschwenken des Abdeckelements 30' wird von dem Rotationsdämpfer 57 eine die Schwenkbewegung hemmende Dämpfungskraft erzeugt, wodurch ein sanfterer Bewegungsvorgang erzielt wird.
  • Bei den dargestellten Ausführungsbeispielen verschwenkt das Abdeckelement 30, 30' aufgrund der Schwerkraft in die untere Stellung, sobald die Hebelanordnung 23 die Unterkante 41 des zentralen Wandabschnitts 31,31' nicht mehr stützt. Um diese Rückstellkraft zu verstärken oder bei anderer Einbaulage ebenfalls ein selbsttätiges Verschwenken des Abdeckelements 30, 30' zu ermöglichen, kann eine Feder wie z. B. eine Schenkelfeder in das Schwenklager integriert sein.
  • Das Abdeckelement 30, 30' kann nicht nur wie bei den dargestellten Ausführungsbeispielen die Gleitschiene 21 sowie die Hebelanordnung 23 überdecken, sondern bei Bedarf auch den Schließerkörper 19 und/oder den oberen Rand des Türflügels 15. Das heißt es sind je nach Größe und Formgebung des Abdeckelements 30, 30' verschiedene Gestaltungen des Türschließers 17 möglich.
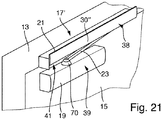
  • Bei dem in Fig. 17-21 dargestellten Türschließer 17' ist das Abdeckelement 30" nicht verschwenkbar, sondern verschiebbar an der Gleitschiene 21 gelagert. Hierfür sind an den gegenüberliegenden Endabschnitten der Gleitschiene entsprechende Linearführungen vorgesehen, welche in Fig. 17-21 nicht eigens dargestellt sind. Die Linearführungen sind vorzugsweise als Gleitführungen ausgebildet. Die Bewegungsbahn der Verschiebebewegung verläuft im montierten Zustand des Türschließers 17' vertikal, also quer zur Öffnungsrichtung des Flügels 15. Wie gezeigt ist das verschiebbare Abdeckelement 30" ausschließlich durch einen zentralen Wandabschnitt 31" gebildet, das heißt es sind keine seitlichen Wandabschnitte vorhanden.
  • Um das Abdeckelement 30" bei einem Öffnen des Flügels 15 nach oben zu drücken, ist eine Auflaufschräge 70 vorgesehen, die hier am Ende der Hebelanordnung 23 angeordnet ist, im Prinzip aber auch an einer anderen Stelle des Türschließers 17' angeordnet sein könnte. Bei geschlossenem Flügel 15 liegt die Auflaufschräge 70 wie in Fig. 18 dargestellt gerade an der Unterkante 41 des zentralen Wandabschnitts 31" an und das Abdeckelement 30" wird durch die Schwerkraft und gegebenenfalls zusätzlich durch Federkraft in der unteren Endstellung gehalten. Wenn der Flügel 15 geöffnet wird, erfolgt aufgrund des Zusammenwirkens zwischen der Auflaufschräge 70 und der Rückseite 40" des zentralen Wandabschnitts 31" im Bereich der Unterkante 41 ein Anheben des Abdeckelements 30", wie aus der Abfolge der Fig. 19-21 hervorgeht.
  • Abgesehen von einer verschiebbaren anstelle einer verschwenkbaren Lagerung des Abdeckelements 30" ist der in Fig. 17-21 gezeigte Türschließer 17' ähnlich wie der in Verbindung mit den Fig. 1-7 beschriebene Türschließer 17 gestaltet.
  • Der Einfachheit halber wurde die vorstehende Beschreibung der Ausführungsbeispiele auf einen Türschließer 17, 17' beschränkt. Es versteht sich jedoch, dass das bewegliche Abdeckelement 30, 30', 30" ebenso in einen Türantrieb oder in einen Fensterantrieb integriert sein könnte, wobei anstelle eines Schließerkörpers 19 eine entsprechende Antriebseinheit vorgesehen wäre. Sämtliche die Ausführungsbeispiele betreffenden Offenbarungen gelten sinngemäß auch für einen Tür- oder Fensterantrieb.
  • Durch Bereitstellen einer Anordnung aus Abdeckelement 30, 30' und jeweils zwei zugehörigen Endstücken 47, 47' kann in einfacher und schneller Weise ein bestehender Türschließer 17 mit einer Abdeckung nachgerüstet werden.
  • Die Erfindung ermöglicht es, Türschließer, Türantriebe und dergleichen in optisch besonders ansprechender Weise in ein Raumbild zu integrieren.
  • Bezugszeichenliste
  • 11
    Tür
    13
    Zarge
    15
    Türflügel
    17, 17'
    Türschließer
    19
    Schließerkörper
    21
    Gleitschiene
    22
    Gleitstück
    23
    Hebelanordnung
    25
    Schließerwelle
    30, 30', 30"
    Abdeckelement
    31, 31', 31"
    zentraler Wandabschnitt
    33,33'
    seitlicher Wandabschnitt
    35
    Vorderseite der Gleitschiene
    38
    Vorderseite des Abdeckelements
    39
    Vorderseite des Schließerkörpers
    40, 40', 40"
    Rückseite des zentralen Wandabschnitts
    41
    Unterkante
    42
    Kontur
    45
    offene Stirnseite
    47, 47'
    Endstück
    49
    Schwenkzapfenaufnahme
    50
    Schwenkzapfen
    53
    Schwenkzapfenaufnahme
    55
    erstes Wellenende
    57
    Rotationsdämpfer
    59
    zweites Wellenende
    60
    Aufnahme
    70
    Auflaufschräge
    R
    Drehachse
    S
    Schwenkachse
    E
    Spiegelebene

Claims (20)

  1. Einrichtung (17, 17') zum selbsttätigen Öffnen und/oder Schließen eines um eine Drehachse (R) drehbaren Flügels (15), insbesondere Türschließer oder Türantrieb, mit einer zur Befestigung am Flügel (15) ausgebildeten flügelseitigen Komponente (19), einer zur Befestigung an einer Zarge (13), einer Wand oder dergleichen ausgebildeten wandseitigen Komponente (21) und einer beweglichen Hebelanordnung (23), über welche die flügelseitige Komponente (19) und die wandseitige Komponente (21) derart miteinander gekoppelt sind, dass sie durch eine Hebelbewegung auseinander oder aufeinander zu bewegbar sind, um so den Flügel (15) zu öffnen oder zu schließen,
    dadurch gekennzeichnet, dass
    an der wandseitigen Komponente (21) oder an der flügelseitigen Komponente (19) ein Abdeckelement (30, 30', 30") beweglich gelagert ist, welches in einer ersten Stellung eine Sichtseite der Hebelanordnung (23) und/oder des Flügels (15) zumindest bereichsweise überdeckt und in einer zweiten Stellung aus der Bewegungsbahn der Hebelanordnung (23) und des Flügels (15) herausbewegt ist.
  2. Einrichtung nach Anspruch 1,
    dadurch gekennzeichnet, dass
    das Abdeckelement (30, 30', 30") in der ersten Stellung einen zwischen der flügelseitigen Komponente (19) und der wandseitigen Komponente (21) ausgebildeten Luftspalt zumindest im Wesentlichen vollständig abdeckt.
  3. Einrichtung nach Anspruch 1 oder 2,
    dadurch gekennzeichnet, dass
    das Abdeckelement (30, 30', 30") an der wandseitigen Komponente (21) gelagert ist und in der ersten Stellung zumindest an einer Vorderseite (38) einen bündigen Übergang zu einem Gehäuse der flügelseitigen Komponente (19) definiert oder dass das Abdeckelement (30, 30', 30") an der flügelseitigen Komponente (19) gelagert ist und in der ersten Stellung zumindest an einer Vorderseite (38) einen bündigen Übergang zu einem Gehäuse der wandseitigen Komponente (21) definiert.
  4. Einrichtung nach einem der vorstehenden Ansprüche,
    dadurch gekennzeichnet, dass
    das Abdeckelement (30, 30') haubenartig gestaltet ist und vorzugsweise eine gewölbte Außenseite aufweist.
  5. Einrichtung nach einem der vorstehenden Ansprüche,
    dadurch gekennzeichnet, dass
    zumindest eine Vorderseite (38) des Abdeckelements (30, 30', 30") hinsichtlich seiner Oberflächenbeschaffenheit und Farbgebung an ein Gehäuse der flügelseitigen Komponente (19) und/oder der wandseitigen Komponente (21) angepasst ist.
  6. Einrichtung nach einem der vorstehenden Ansprüche,
    dadurch gekennzeichnet, dass
    das Abdeckelement (30, 30', 30") eine Beaufschlagungsfläche (40, 40', 40") aufweist, die derart angeordnet und ausgebildet ist, dass bei einem Öffnen des Flügels (15) ein Abschnitt der Hebelanordnung (23) oder des Flügels (15) gegen die Beaufschlagungsfläche (40, 40') drückt und so das Abdeckelement (30, 30', 30") in Richtung der zweiten Stellung bewegt.
  7. Einrichtung nach Anspruch 6,
    dadurch gekennzeichnet, dass
    das Abdeckelement (30, 30', 30") einen flächigen Deckabschnitt (31, 31', 31 ") mit einer im montierten Zustand der Einrichtung (17, 17') vom Flügel (15) weg weisenden Vorderseite (38) und einer entgegengesetzten Rückseite (40, 40', 40") aufweist, wobei die Beaufschlagungsfläche an der Rückseite (40, 40', 40") des flächigen Deckabschnitts (31, 31', 31 ") ausgebildet ist.
  8. Einrichtung nach Anspruch 6 oder 7,
    dadurch gekennzeichnet, dass
    die Beaufschlagungsfläche (40, 40', 40") als Gleitfläche ausgebildet ist und, bevorzugt, bezüglich einer Öffnungsrichtung des Flügels (15) schräg und/oder gekrümmt verläuft.
  9. Einrichtung nach einem der vorstehenden Ansprüche,
    gekennzeichnet durch
    ein Dämpfungselement (57), welches der Bewegung des Abdeckelements (30') einen Widerstand entgegensetzt.
  10. Einrichtung nach einem der vorstehenden Ansprüche,
    dadurch gekennzeichnet, dass
    das Abdeckelement (30, 30', 30") durch eine vorgespannte Feder in Richtung der ersten Stellung beaufschlagt ist.
  11. Einrichtung nach einem der vorstehenden Ansprüche,
    dadurch gekennzeichnet, dass
    die flügelseitige Komponente (19) als ein Gehäuse zur Unterbringung eines Schließmechanismus oder eines Antriebs der Einrichtung (17, 17') und die wandseitige Komponente (21) als eine Gleitschiene zur Aufnahme eines Gleitstücks (22) der Hebelanordnung (23) ausgebildet ist, oder umgekehrt.
  12. Einrichtung nach Anspruch 11,
    dadurch gekennzeichnet, dass
    das Abdeckelement (30, 30') an zwei entgegengesetzten Stirnseiten (45) der Gleitschiene (21) gelagert, insbesondere angelenkt, ist.
  13. Einrichtung nach einem der vorstehenden Ansprüche,
    dadurch gekennzeichnet, dass
    das Abdeckelement in der ersten Stellung sowohl eine Sichtseite der flügelseitigen Komponente (19) als auch eine Sichtseite der wandseitigen Komponente (21) zumindest bereichsweise überdeckt.
  14. Einrichtung nach einem der vorstehenden Ansprüche,
    dadurch gekennzeichnet, dass
    das Abdeckelement (30, 30') um eine Schwenkachse (S) verschwenkbar an der wandseitigen Komponente (21) oder an der flügelseitigen Komponente (19) gelagert ist.
  15. Einrichtung nach Anspruch 14,
    dadurch gekennzeichnet, dass
    die Schwenkachse (S) im montierten Zustand der Einrichtung (17, 17') zumindest im Wesentlichen horizontal verläuft.
  16. Einrichtung nach Anspruch 14 oder 15,
    dadurch gekennzeichnet, dass
    die wandseitige Komponente (21) oder die flügelseitige Komponente (19) ein längliches Hohlprofilelement umfasst, welches an wenigstens einer offenen Stirnseite (45) durch ein Endstück (47, 47') verschlossen ist, wobei an dem Endstück (47, 47') ein Schwenkzapfen (55) oder eine Schwenkzapfenaufnahme (49) zur schwenkbaren Lagerung des Abdeckelements (30, 30') vorgesehen ist.
  17. Einrichtung nach Anspruch 16,
    dadurch gekennzeichnet, dass
    der Schwenkzapfen (55) oder die Schwenkzapfenaufnahme (49) bezüglich einer Spiegelebene (E) des Endstücks (47, 47') asymmetrisch angeordnet ist und/oder dass das Endstück (47, 47') mehrere Schwenkzapfen (55) oder Schwenkzapfenaufnahmen (49) aufweist.
  18. Einrichtung nach einem der Ansprüche 14 bis 17,
    dadurch gekennzeichnet, dass
    das Abdeckelement (30, 30') einen zentralen Wandabschnitt (31, 31') zum Abdecken der Sichtseite der Hebelanordnung (23) und/oder des Flügels (15) und zwei sich quer zu dem zentralen Wandabschnitt (31, 31') erstreckende seitliche Wandabschnitte (33) umfasst, an deren einander zugewandten Innenseiten jeweilige Schwenkzapfen (50) oder Schwenkzapfenaufnahmen (53) angeordnet sind.
  19. Einrichtung nach einem der Ansprüche 14 bis 18,
    dadurch gekennzeichnet, dass
    das Abdeckelement (30, 30') um eine quer zu der Drehachse (R) des Flügels (15) verlaufende Schwenkachse (S) verschwenkbar an der wandseitigen Komponente (21) oder an der flügelseitigen Komponente (19) gelagert ist.
  20. Einrichtung nach einem der Ansprüche 1 bis 13,
    dadurch gekennzeichnet, dass
    das Abdeckelement (30") verschiebbar an der wandseitigen Komponente (21) oder an der flügelseitigen Komponente (19) gelagert ist, insbesondere wobei die Verschiebebahn quer zu einer Öffnungsrichtung des Flügels (15) verläuft.
EP16154405.1A 2015-03-10 2016-02-05 Einrichtung zum öffnen und/oder schliessen eines flügels Active EP3067498B1 (de)

Applications Claiming Priority (1)

Application Number Priority Date Filing Date Title
DE102015204266.9A DE102015204266B3 (de) 2015-03-10 2015-03-10 Einrichtung zum Öffnen und/oder Schließen eines Flügels

Publications (2)

Publication Number Publication Date
EP3067498A1 EP3067498A1 (de) 2016-09-14
EP3067498B1 true EP3067498B1 (de) 2017-09-20

Family

ID=55300442

Family Applications (1)

Application Number Title Priority Date Filing Date
EP16154405.1A Active EP3067498B1 (de) 2015-03-10 2016-02-05 Einrichtung zum öffnen und/oder schliessen eines flügels

Country Status (3)

Country Link
EP (1) EP3067498B1 (de)
CN (1) CN105971432B (de)
DE (1) DE102015204266B3 (de)

Cited By (1)

* Cited by examiner, † Cited by third party
Publication number Priority date Publication date Assignee Title
EP4467760A1 (de) * 2023-05-23 2024-11-27 GEZE GmbH Antrieb für einen flügel

Families Citing this family (4)

* Cited by examiner, † Cited by third party
Publication number Priority date Publication date Assignee Title
CN106837041B (zh) * 2016-12-27 2019-10-18 青岛海尔特种电冰柜有限公司 电控式缓冲闭门器、制冷设备及门体开关控制方法
CN106839045A (zh) * 2017-04-10 2017-06-13 珠海格力电器股份有限公司 吸油烟机的面板开合结构及吸油烟机
DE102018101794A1 (de) * 2018-01-26 2019-08-01 Dormakaba Deutschland Gmbh Feststellvorrichtung
ES2886502T3 (es) 2018-05-17 2021-12-20 Kesseboehmer Holding Kg Herraje de tapa para la fijación pivotante de una tapa de mueble a una carcasa de mueble

Family Cites Families (8)

* Cited by examiner, † Cited by third party
Publication number Priority date Publication date Assignee Title
DE19717959A1 (de) * 1997-04-28 1998-10-29 Geze Gmbh & Co Vorrichtung zum Öffnen, Schließen oder Dämpfen eines Flügels einer Tür, eines Fensters oder dergleichen
US5946772A (en) * 1997-09-16 1999-09-07 Emco Enterprises, Inc. Cover for a door closure
DE19804801C1 (de) * 1998-02-09 1999-07-08 Dorma Gmbh & Co Kg Befestigung von Endkappen an Gehäusen, die aus Profilen bestehen
DE102004012637B4 (de) * 2004-03-12 2008-10-16 Dorma Gmbh + Co. Kg Türschließer
DE102007012152A1 (de) * 2007-03-12 2008-09-18 Eco Schulte Gmbh & Co. Kg Hebelarm sowie ein Türschließsystem oder Türantriebssystem für Türen mit verdeckter Führungsschiene
WO2011057652A1 (de) * 2009-11-13 2011-05-19 Dorma Gmbh + Co. Kg Verkleidung für einen türbetätiger
DE102012100413A1 (de) * 2012-01-19 2013-07-25 Dorma Gmbh + Co. Kg Anordnung für eine Türe mit einem Türbetätiger
DE102013000343A1 (de) * 2013-01-11 2014-07-17 Dorma Gmbh + Co. Kg Befestigungsplatte

Non-Patent Citations (1)

* Cited by examiner, † Cited by third party
Title
None *

Cited By (1)

* Cited by examiner, † Cited by third party
Publication number Priority date Publication date Assignee Title
EP4467760A1 (de) * 2023-05-23 2024-11-27 GEZE GmbH Antrieb für einen flügel

Also Published As

Publication number Publication date
EP3067498A1 (de) 2016-09-14
HK1225774B (zh) 2017-09-15
CN105971432B (zh) 2017-12-05
DE102015204266B3 (de) 2016-06-16
CN105971432A (zh) 2016-09-28

Similar Documents

Publication Publication Date Title
EP3067498B1 (de) Einrichtung zum öffnen und/oder schliessen eines flügels
DE202008018448U1 (de) Parallel abstellbarer Beschlag für einen Schiebeflügel eines Fensters oder einer Tür
AT506828B1 (de) Türband für eine verdeckte anordnung zwischen türzarge und gefälztem türflügel
WO2018206307A1 (de) Fenster oder tür mit einbruchsicherer kippöffnungsbegrenzung
DE102011085177B4 (de) Antriebssystem für ein KFZ-Dachsystem
DE102012017035A1 (de) Beschlag zur verdeckten Anordnung im Falz zwischen einem Flügel und einem Rahmen eines Fensters, einer Tür oder dergleichen
DE202016001634U1 (de) Ausstellvorrichtung für einen zumindest parallelabstellbaren und in dieser Lage horizontal verschiebbaren Flügel eines Fensters oder einer Tür
EP2427617B1 (de) Beschlag
WO2003046324A1 (de) Verschiebbares und verschwenkbares türflügelelement
EP3670805B1 (de) Endbeschlag für eine schubkette
EP3183408B1 (de) Steuerelement für eine beschlaganordnung
EP3293343A1 (de) Auslösehilfe für eine dichtungseinrichtung einer drehtür
DE202012008225U1 (de) Beschlag zur verdeckten Anordnung im Falz zwischen einem Flügel und einem Rahmen eines Fensters, einer Tür oder dergleichen
DE102008028598B4 (de) Insektenschutztür
EP1614844A2 (de) Drehlagervorrichtung
EP3301249B1 (de) Dichtungsvorrichtung mit bewegbarer dichtleiste
DE102014226794A1 (de) Beschlag zum Einbau zwischen einem Flügel und einem festen Rahmen eines Fensters, einer Tür oder dergleichen sowie Fenster, Tür oder dergleichen mit einem derartigen Beschlag
DE10300302A1 (de) Sektionaltor mit verschiebbarer Führungsschiene
EP3680443A1 (de) Drehflügeltor mit klemmschutzsystem
DE69402279T2 (de) Schiebeflügel
DE102015225655B4 (de) Fensterbrett und damit ausgestattetes Fenster
DE102012017038B4 (de) Beschlag zur verdeckten Anordnung im Falz zwischen einem Flügel und einem Rahmen eines Fensters, einer Tür oder dergleichen
EP2302154B1 (de) Schliessfolgeregelung für eine schiebe-drehtür, insbesondere für brandschutzzwecke
DE202009005027U1 (de) Band zur schwenkbaren Verbindung eines Flügels an einem Rahmen
EP1780362B1 (de) Motorischer Antrieb für schwenkbaren Flügel

Legal Events

Date Code Title Description
PUAI Public reference made under article 153(3) epc to a published international application that has entered the european phase

Free format text: ORIGINAL CODE: 0009012

AK Designated contracting states

Kind code of ref document: A1

Designated state(s): AL AT BE BG CH CY CZ DE DK EE ES FI FR GB GR HR HU IE IS IT LI LT LU LV MC MK MT NL NO PL PT RO RS SE SI SK SM TR

AX Request for extension of the european patent

Extension state: BA ME

17P Request for examination filed

Effective date: 20160908

RBV Designated contracting states (corrected)

Designated state(s): AL AT BE BG CH CY CZ DE DK EE ES FI FR GB GR HR HU IE IS IT LI LT LU LV MC MK MT NL NO PL PT RO RS SE SI SK SM TR

GRAP Despatch of communication of intention to grant a patent

Free format text: ORIGINAL CODE: EPIDOSNIGR1

INTG Intention to grant announced

Effective date: 20170404

GRAS Grant fee paid

Free format text: ORIGINAL CODE: EPIDOSNIGR3

GRAA (expected) grant

Free format text: ORIGINAL CODE: 0009210

RBV Designated contracting states (corrected)

Designated state(s): AL AT BE BG CH CY CZ DK EE ES FI FR GB GR HR HU IE IS IT LI LT LU LV MC MK MT NL NO PL PT RO RS SE SI SK SM TR

REG Reference to a national code

Ref country code: DE

Ref legal event code: R108

AK Designated contracting states

Kind code of ref document: B1

Designated state(s): AL AT BE BG CH CY CZ DK EE ES FI FR GB GR HR HU IE IS IT LI LT LU LV MC MK MT NL NO PL PT RO RS SE SI SK SM TR

REG Reference to a national code

Ref country code: GB

Ref legal event code: FG4D

Free format text: NOT ENGLISH

REG Reference to a national code

Ref country code: CH

Ref legal event code: EP

REG Reference to a national code

Ref country code: AT

Ref legal event code: REF

Ref document number: 930267

Country of ref document: AT

Kind code of ref document: T

Effective date: 20171015

REG Reference to a national code

Ref country code: IE

Ref legal event code: FG4D

Free format text: LANGUAGE OF EP DOCUMENT: GERMAN

REG Reference to a national code

Ref country code: SE

Ref legal event code: TRGR

REG Reference to a national code

Ref country code: NL

Ref legal event code: MP

Effective date: 20170920

PG25 Lapsed in a contracting state [announced via postgrant information from national office to epo]

Ref country code: LT

Free format text: LAPSE BECAUSE OF FAILURE TO SUBMIT A TRANSLATION OF THE DESCRIPTION OR TO PAY THE FEE WITHIN THE PRESCRIBED TIME-LIMIT

Effective date: 20170920

Ref country code: HR

Free format text: LAPSE BECAUSE OF FAILURE TO SUBMIT A TRANSLATION OF THE DESCRIPTION OR TO PAY THE FEE WITHIN THE PRESCRIBED TIME-LIMIT

Effective date: 20170920

Ref country code: FI

Free format text: LAPSE BECAUSE OF FAILURE TO SUBMIT A TRANSLATION OF THE DESCRIPTION OR TO PAY THE FEE WITHIN THE PRESCRIBED TIME-LIMIT

Effective date: 20170920

Ref country code: NO

Free format text: LAPSE BECAUSE OF FAILURE TO SUBMIT A TRANSLATION OF THE DESCRIPTION OR TO PAY THE FEE WITHIN THE PRESCRIBED TIME-LIMIT

Effective date: 20171220

REG Reference to a national code

Ref country code: LT

Ref legal event code: MG4D

REG Reference to a national code

Ref country code: FR

Ref legal event code: PLFP

Year of fee payment: 3

PG25 Lapsed in a contracting state [announced via postgrant information from national office to epo]

Ref country code: BG

Free format text: LAPSE BECAUSE OF FAILURE TO SUBMIT A TRANSLATION OF THE DESCRIPTION OR TO PAY THE FEE WITHIN THE PRESCRIBED TIME-LIMIT

Effective date: 20171220

Ref country code: GR

Free format text: LAPSE BECAUSE OF FAILURE TO SUBMIT A TRANSLATION OF THE DESCRIPTION OR TO PAY THE FEE WITHIN THE PRESCRIBED TIME-LIMIT

Effective date: 20171221

Ref country code: RS

Free format text: LAPSE BECAUSE OF FAILURE TO SUBMIT A TRANSLATION OF THE DESCRIPTION OR TO PAY THE FEE WITHIN THE PRESCRIBED TIME-LIMIT

Effective date: 20170920

Ref country code: LV

Free format text: LAPSE BECAUSE OF FAILURE TO SUBMIT A TRANSLATION OF THE DESCRIPTION OR TO PAY THE FEE WITHIN THE PRESCRIBED TIME-LIMIT

Effective date: 20170920

PG25 Lapsed in a contracting state [announced via postgrant information from national office to epo]

Ref country code: NL

Free format text: LAPSE BECAUSE OF FAILURE TO SUBMIT A TRANSLATION OF THE DESCRIPTION OR TO PAY THE FEE WITHIN THE PRESCRIBED TIME-LIMIT

Effective date: 20170920

PG25 Lapsed in a contracting state [announced via postgrant information from national office to epo]

Ref country code: PL

Free format text: LAPSE BECAUSE OF FAILURE TO SUBMIT A TRANSLATION OF THE DESCRIPTION OR TO PAY THE FEE WITHIN THE PRESCRIBED TIME-LIMIT

Effective date: 20170920

Ref country code: CZ

Free format text: LAPSE BECAUSE OF FAILURE TO SUBMIT A TRANSLATION OF THE DESCRIPTION OR TO PAY THE FEE WITHIN THE PRESCRIBED TIME-LIMIT

Effective date: 20170920

Ref country code: ES

Free format text: LAPSE BECAUSE OF FAILURE TO SUBMIT A TRANSLATION OF THE DESCRIPTION OR TO PAY THE FEE WITHIN THE PRESCRIBED TIME-LIMIT

Effective date: 20170920

Ref country code: RO

Free format text: LAPSE BECAUSE OF FAILURE TO SUBMIT A TRANSLATION OF THE DESCRIPTION OR TO PAY THE FEE WITHIN THE PRESCRIBED TIME-LIMIT

Effective date: 20170920

PG25 Lapsed in a contracting state [announced via postgrant information from national office to epo]

Ref country code: IS

Free format text: LAPSE BECAUSE OF FAILURE TO SUBMIT A TRANSLATION OF THE DESCRIPTION OR TO PAY THE FEE WITHIN THE PRESCRIBED TIME-LIMIT

Effective date: 20180120

Ref country code: EE

Free format text: LAPSE BECAUSE OF FAILURE TO SUBMIT A TRANSLATION OF THE DESCRIPTION OR TO PAY THE FEE WITHIN THE PRESCRIBED TIME-LIMIT

Effective date: 20170920

Ref country code: SM

Free format text: LAPSE BECAUSE OF FAILURE TO SUBMIT A TRANSLATION OF THE DESCRIPTION OR TO PAY THE FEE WITHIN THE PRESCRIBED TIME-LIMIT

Effective date: 20170920

Ref country code: SK

Free format text: LAPSE BECAUSE OF FAILURE TO SUBMIT A TRANSLATION OF THE DESCRIPTION OR TO PAY THE FEE WITHIN THE PRESCRIBED TIME-LIMIT

Effective date: 20170920

PLBE No opposition filed within time limit

Free format text: ORIGINAL CODE: 0009261

STAA Information on the status of an ep patent application or granted ep patent

Free format text: STATUS: NO OPPOSITION FILED WITHIN TIME LIMIT

PG25 Lapsed in a contracting state [announced via postgrant information from national office to epo]

Ref country code: DK

Free format text: LAPSE BECAUSE OF FAILURE TO SUBMIT A TRANSLATION OF THE DESCRIPTION OR TO PAY THE FEE WITHIN THE PRESCRIBED TIME-LIMIT

Effective date: 20170920

26N No opposition filed

Effective date: 20180621

PG25 Lapsed in a contracting state [announced via postgrant information from national office to epo]

Ref country code: MC

Free format text: LAPSE BECAUSE OF FAILURE TO SUBMIT A TRANSLATION OF THE DESCRIPTION OR TO PAY THE FEE WITHIN THE PRESCRIBED TIME-LIMIT

Effective date: 20170920

Ref country code: MT

Free format text: LAPSE BECAUSE OF FAILURE TO SUBMIT A TRANSLATION OF THE DESCRIPTION OR TO PAY THE FEE WITHIN THE PRESCRIBED TIME-LIMIT

Effective date: 20170920

REG Reference to a national code

Ref country code: IE

Ref legal event code: MM4A

REG Reference to a national code

Ref country code: BE

Ref legal event code: MM

Effective date: 20180228

PG25 Lapsed in a contracting state [announced via postgrant information from national office to epo]

Ref country code: LU

Free format text: LAPSE BECAUSE OF NON-PAYMENT OF DUE FEES

Effective date: 20180205

Ref country code: SI

Free format text: LAPSE BECAUSE OF FAILURE TO SUBMIT A TRANSLATION OF THE DESCRIPTION OR TO PAY THE FEE WITHIN THE PRESCRIBED TIME-LIMIT

Effective date: 20170920

PG25 Lapsed in a contracting state [announced via postgrant information from national office to epo]

Ref country code: IE

Free format text: LAPSE BECAUSE OF NON-PAYMENT OF DUE FEES

Effective date: 20180205

PG25 Lapsed in a contracting state [announced via postgrant information from national office to epo]

Ref country code: BE

Free format text: LAPSE BECAUSE OF NON-PAYMENT OF DUE FEES

Effective date: 20180228

PGFP Annual fee paid to national office [announced via postgrant information from national office to epo]

Ref country code: IT

Payment date: 20190228

Year of fee payment: 4

REG Reference to a national code

Ref country code: CH

Ref legal event code: PL

PG25 Lapsed in a contracting state [announced via postgrant information from national office to epo]

Ref country code: LI

Free format text: LAPSE BECAUSE OF NON-PAYMENT OF DUE FEES

Effective date: 20190228

Ref country code: CH

Free format text: LAPSE BECAUSE OF NON-PAYMENT OF DUE FEES

Effective date: 20190228

PG25 Lapsed in a contracting state [announced via postgrant information from national office to epo]

Ref country code: TR

Free format text: LAPSE BECAUSE OF FAILURE TO SUBMIT A TRANSLATION OF THE DESCRIPTION OR TO PAY THE FEE WITHIN THE PRESCRIBED TIME-LIMIT

Effective date: 20170920

PG25 Lapsed in a contracting state [announced via postgrant information from national office to epo]

Ref country code: PT

Free format text: LAPSE BECAUSE OF FAILURE TO SUBMIT A TRANSLATION OF THE DESCRIPTION OR TO PAY THE FEE WITHIN THE PRESCRIBED TIME-LIMIT

Effective date: 20170920

PG25 Lapsed in a contracting state [announced via postgrant information from national office to epo]

Ref country code: HU

Free format text: LAPSE BECAUSE OF FAILURE TO SUBMIT A TRANSLATION OF THE DESCRIPTION OR TO PAY THE FEE WITHIN THE PRESCRIBED TIME-LIMIT; INVALID AB INITIO

Effective date: 20160205

Ref country code: MK

Free format text: LAPSE BECAUSE OF NON-PAYMENT OF DUE FEES

Effective date: 20170920

Ref country code: CY

Free format text: LAPSE BECAUSE OF FAILURE TO SUBMIT A TRANSLATION OF THE DESCRIPTION OR TO PAY THE FEE WITHIN THE PRESCRIBED TIME-LIMIT

Effective date: 20170920

PG25 Lapsed in a contracting state [announced via postgrant information from national office to epo]

Ref country code: AL

Free format text: LAPSE BECAUSE OF FAILURE TO SUBMIT A TRANSLATION OF THE DESCRIPTION OR TO PAY THE FEE WITHIN THE PRESCRIBED TIME-LIMIT

Effective date: 20170920

PG25 Lapsed in a contracting state [announced via postgrant information from national office to epo]

Ref country code: IT

Free format text: LAPSE BECAUSE OF NON-PAYMENT OF DUE FEES

Effective date: 20200205

REG Reference to a national code

Ref country code: AT

Ref legal event code: MM01

Ref document number: 930267

Country of ref document: AT

Kind code of ref document: T

Effective date: 20210205

PG25 Lapsed in a contracting state [announced via postgrant information from national office to epo]

Ref country code: AT

Free format text: LAPSE BECAUSE OF NON-PAYMENT OF DUE FEES

Effective date: 20210205

P01 Opt-out of the competence of the unified patent court (upc) registered

Effective date: 20230510

PGFP Annual fee paid to national office [announced via postgrant information from national office to epo]

Ref country code: SE

Payment date: 20250218

Year of fee payment: 10

PGFP Annual fee paid to national office [announced via postgrant information from national office to epo]

Ref country code: FR

Payment date: 20250221

Year of fee payment: 10

PGFP Annual fee paid to national office [announced via postgrant information from national office to epo]

Ref country code: GB

Payment date: 20250219

Year of fee payment: 10