EP2472044B2 - Flügel- und/oder Blendrahmen eines Fensters, einer Tür oder dergleichen - Google Patents

Flügel- und/oder Blendrahmen eines Fensters, einer Tür oder dergleichen Download PDF

Info

Publication number
EP2472044B2
EP2472044B2 EP11195684.3A EP11195684A EP2472044B2 EP 2472044 B2 EP2472044 B2 EP 2472044B2 EP 11195684 A EP11195684 A EP 11195684A EP 2472044 B2 EP2472044 B2 EP 2472044B2
Authority
EP
European Patent Office
Prior art keywords
insulating
catch
sash
web
webs
Prior art date
Legal status (The legal status is an assumption and is not a legal conclusion. Google has not performed a legal analysis and makes no representation as to the accuracy of the status listed.)
Active
Application number
EP11195684.3A
Other languages
English (en)
French (fr)
Other versions
EP2472044A3 (de
EP2472044A2 (de
EP2472044B1 (de
Inventor
Andreas Leistner
Current Assignee (The listed assignees may be inaccurate. Google has not performed a legal analysis and makes no representation or warranty as to the accuracy of the list.)
Schueco International KG
Original Assignee
Schueco International KG
Priority date (The priority date is an assumption and is not a legal conclusion. Google has not performed a legal analysis and makes no representation as to the accuracy of the date listed.)
Filing date
Publication date
Family has litigation
First worldwide family litigation filed litigation Critical https://patents.darts-ip.com/?family=45495675&utm_source=google_patent&utm_medium=platform_link&utm_campaign=public_patent_search&patent=EP2472044(B2) "Global patent litigation dataset” by Darts-ip is licensed under a Creative Commons Attribution 4.0 International License.
Application filed by Schueco International KG filed Critical Schueco International KG
Publication of EP2472044A2 publication Critical patent/EP2472044A2/de
Publication of EP2472044A3 publication Critical patent/EP2472044A3/de
Application granted granted Critical
Publication of EP2472044B1 publication Critical patent/EP2472044B1/de
Publication of EP2472044B2 publication Critical patent/EP2472044B2/de
Active legal-status Critical Current
Anticipated expiration legal-status Critical

Links

Images

Classifications

    • EFIXED CONSTRUCTIONS
    • E06DOORS, WINDOWS, SHUTTERS, OR ROLLER BLINDS IN GENERAL; LADDERS
    • E06BFIXED OR MOVABLE CLOSURES FOR OPENINGS IN BUILDINGS, VEHICLES, FENCES OR LIKE ENCLOSURES IN GENERAL, e.g. DOORS, WINDOWS, BLINDS, GATES
    • E06B3/00Window sashes, door leaves, or like elements for closing wall or like openings; Layout of fixed or moving closures, e.g. windows in wall or like openings; Features of rigidly-mounted outer frames relating to the mounting of wing frames
    • E06B3/04Wing frames not characterised by the manner of movement
    • E06B3/263Frames with special provision for insulation
    • E06B3/26301Frames with special provision for insulation with prefabricated insulating strips between two metal section members
    • EFIXED CONSTRUCTIONS
    • E06DOORS, WINDOWS, SHUTTERS, OR ROLLER BLINDS IN GENERAL; LADDERS
    • E06BFIXED OR MOVABLE CLOSURES FOR OPENINGS IN BUILDINGS, VEHICLES, FENCES OR LIKE ENCLOSURES IN GENERAL, e.g. DOORS, WINDOWS, BLINDS, GATES
    • E06B3/00Window sashes, door leaves, or like elements for closing wall or like openings; Layout of fixed or moving closures, e.g. windows in wall or like openings; Features of rigidly-mounted outer frames relating to the mounting of wing frames
    • E06B3/04Wing frames not characterised by the manner of movement
    • E06B3/263Frames with special provision for insulation
    • E06B3/26301Frames with special provision for insulation with prefabricated insulating strips between two metal section members
    • E06B3/26303Frames with special provision for insulation with prefabricated insulating strips between two metal section members with thin strips, e.g. defining a hollow space between the metal section members
    • EFIXED CONSTRUCTIONS
    • E06DOORS, WINDOWS, SHUTTERS, OR ROLLER BLINDS IN GENERAL; LADDERS
    • E06BFIXED OR MOVABLE CLOSURES FOR OPENINGS IN BUILDINGS, VEHICLES, FENCES OR LIKE ENCLOSURES IN GENERAL, e.g. DOORS, WINDOWS, BLINDS, GATES
    • E06B3/00Window sashes, door leaves, or like elements for closing wall or like openings; Layout of fixed or moving closures, e.g. windows in wall or like openings; Features of rigidly-mounted outer frames relating to the mounting of wing frames
    • E06B3/04Wing frames not characterised by the manner of movement
    • E06B3/263Frames with special provision for insulation
    • E06B3/2632Frames with special provision for insulation with arrangements reducing the heat transmission, other than an interruption in a metal section
    • E06B2003/26325Frames with special provision for insulation with arrangements reducing the heat transmission, other than an interruption in a metal section the convection or radiation in a hollow space being reduced, e.g. by subdividing the hollow space
    • E06B2003/2633Frames with special provision for insulation with arrangements reducing the heat transmission, other than an interruption in a metal section the convection or radiation in a hollow space being reduced, e.g. by subdividing the hollow space the insulating strips between the metal sections having ribs extending into the hollow space
    • EFIXED CONSTRUCTIONS
    • E06DOORS, WINDOWS, SHUTTERS, OR ROLLER BLINDS IN GENERAL; LADDERS
    • E06BFIXED OR MOVABLE CLOSURES FOR OPENINGS IN BUILDINGS, VEHICLES, FENCES OR LIKE ENCLOSURES IN GENERAL, e.g. DOORS, WINDOWS, BLINDS, GATES
    • E06B3/00Window sashes, door leaves, or like elements for closing wall or like openings; Layout of fixed or moving closures, e.g. windows in wall or like openings; Features of rigidly-mounted outer frames relating to the mounting of wing frames
    • E06B3/04Wing frames not characterised by the manner of movement
    • E06B3/263Frames with special provision for insulation
    • E06B3/2632Frames with special provision for insulation with arrangements reducing the heat transmission, other than an interruption in a metal section
    • E06B2003/26332Arrangements reducing the heat transfer in the glazing rabbet or the space between the wing and the casing frame
    • EFIXED CONSTRUCTIONS
    • E06DOORS, WINDOWS, SHUTTERS, OR ROLLER BLINDS IN GENERAL; LADDERS
    • E06BFIXED OR MOVABLE CLOSURES FOR OPENINGS IN BUILDINGS, VEHICLES, FENCES OR LIKE ENCLOSURES IN GENERAL, e.g. DOORS, WINDOWS, BLINDS, GATES
    • E06B3/00Window sashes, door leaves, or like elements for closing wall or like openings; Layout of fixed or moving closures, e.g. windows in wall or like openings; Features of rigidly-mounted outer frames relating to the mounting of wing frames
    • E06B3/04Wing frames not characterised by the manner of movement
    • E06B3/263Frames with special provision for insulation
    • E06B2003/26349Details of insulating strips
    • E06B2003/26387Performing extra functions
    • E06B2003/26389Holding sealing strips or forming sealing abutments
    • EFIXED CONSTRUCTIONS
    • E06DOORS, WINDOWS, SHUTTERS, OR ROLLER BLINDS IN GENERAL; LADDERS
    • E06BFIXED OR MOVABLE CLOSURES FOR OPENINGS IN BUILDINGS, VEHICLES, FENCES OR LIKE ENCLOSURES IN GENERAL, e.g. DOORS, WINDOWS, BLINDS, GATES
    • E06B3/00Window sashes, door leaves, or like elements for closing wall or like openings; Layout of fixed or moving closures, e.g. windows in wall or like openings; Features of rigidly-mounted outer frames relating to the mounting of wing frames
    • E06B3/54Fixing of glass panes or like plates
    • E06B3/58Fixing of glass panes or like plates by means of borders, cleats, or the like
    • E06B3/62Fixing of glass panes or like plates by means of borders, cleats, or the like of rubber-like elastic cleats
    • E06B2003/6238Fixing of glass panes or like plates by means of borders, cleats, or the like of rubber-like elastic cleats having extra functions
    • E06B2003/6244Fixing of glass panes or like plates by means of borders, cleats, or the like of rubber-like elastic cleats having extra functions with extra parts sealing against the bottom of the glazing rebate or against the edge of the pane

Definitions

  • the invention relates to a casement or an arrangement of a casement and frame of a window, a door or the like.
  • the sash frame or the window frame consists of bars made of aluminum hollow profiles, and each aluminum hollow profile is formed from an inner and outer shell, which are connected to one another via at least one insulating strip made of a thermally insulating material.
  • each strut of the casement and the window frame is connected via at least one, preferably via two, spaced insulating bars. These insulating bars are dimensionally stable and are preferably made of a plastic.
  • the pamphlet DE 103 26 503 A1 describes an aluminum composite profile for window or door frames, in which an inner and an outer aluminum half-shell are connected to one another by means of two insulating bars. Snap-in elements are arranged on at least one of the insulating bars, onto which insulating elements can be pushed or clipped. The insulating elements protrude into the chamber formed between the two insulating bars.
  • the invention is based on the object of further optimizing a casement or an arrangement of a casement and a window frame of a window, a door or a comparable component with regard to thermal insulation.
  • the stated object is achieved by a casement of a window, a door or the like according to claim 1 and by an arrangement of casement and frame of a window, a door or the like according to claim 2, wherein at least one of the insulating bars of the casement is provided with at least two latching elements are provided, which engage in porous, easily deformable insulation elements lying against the respective insulating strip, the latching elements pointing towards the surface element.
  • the thermal insulation is improved by the at least one additional insulating element, and these insulating elements can be installed in a particularly advantageous manner, since they are fixed to the insulating bars before a sash frame is inserted. This will prevent them from getting lost during assembly.
  • each locking element is designed as a locking hook or as a locking web and engages in an undercut groove of the insulating element.
  • the insulating element consists of a porous, relatively easily deformable material and can be inherently dimensionally stable.
  • the insulating strip of the casement facing away from a contact strip, which forms the insulating element is designed as a bridge insulating strip in the form of a hollow profile with several chambers.
  • spacer strips are formed or attached on the side facing away from the latching hooks or latching strips, which are directed towards an insulating core inserted between the insulating strips.
  • a plurality of spacer webs are usually arranged at a distance from one another.
  • the insulating web 13 On the side facing away from the surface element 16 , the insulating web 13 is provided with spacer webs 20 which are directed toward the insulating core 15 .
  • the spacer webs 20 are spaced apart from one another.
  • the contact strip 17 On the opposite side, facing the surface element 16 , the contact strip 17 is equipped with spacer webs 21 .
  • the invention is not limited to the illustrated embodiment. It is essential that at least one insulating strip 13 or 25 of the casement profile 10 or of the window frame profile 22 is provided with locking elements, preferably in the form of locking hooks 18, 19 or 29, 30.

Landscapes

  • Engineering & Computer Science (AREA)
  • Civil Engineering (AREA)
  • Structural Engineering (AREA)
  • Wing Frames And Configurations (AREA)
  • Special Wing (AREA)

Description

  • Die Erfindung bezieht sich auf einen Flügelrahmen bzw. eine Anordnung aus einem Flügel- und Blendrahmen eines Fensters, einer Tür oder dergleichen. Der Flügelrahmen bzw. der Blendrahmen besteht jeweils aus Holmen aus Aluminiumhohlprofilen, und jedes Aluminiumhohlprofil ist aus einer Innen- und Außenschale gebildet, die über wenigstens einen aus einem thermisch isolierenden Material gefertigten Isoliersteg miteinander verbunden sind.
  • In Rede stehende Flügel- und/oder Blendrahmen sind bevorzugt so ausgelegt, dass der Flügelrahmen am Blendrahmen mittels eines Beschlages schwenkbar angeschlagen ist. Üblicherweise ist jeder Holm des Flügelrahmens und des Blendrahmens über wenigstens einen, vorzugsweise über zwei beabstandete Isolierstege verbunden. Diese Isolierstege sind in sich formstabil und vorzugsweise aus einem Kunststoff gefertigt.
  • Insbesondere bei Fenstern, Türen, Fassaden und ähnlichen Bauelementen wird besonders auf eine optimale thermische Isolierung Wert gelegt, da bekanntlich metallische Werkstoffe relativ gute Wärmeleiter sind.
  • Die Druckschrift DE 103 26 503 A1 beschreibt ein Aluminium-Verbundprofil für Fenster- oder Türrahmen, bei dem eine innere und eine äußere Aluminiumhalbschale mittels zwei Isolierstegen miteinander verbunden sind. An mindestens einem der Isolierstege sind Rastelemente angeordnet, auf die Dämmelemente aufgeschoben oder aufgeclipst werden können. Die Dämmelemente ragen dabei in die zwischen den beiden Isolierstegen gebildete Kammer.
  • Der Erfindung liegt die Aufgabe zugrunde, einen Flügelrahmen bzw. eine Anordnung aus einem Flügel- und einem Blendrahmen eines Fensters, einer Tür oder eines vergleichbaren Bauelementes hinsichtlich der thermischen Isolierung weiter zu optimieren.
  • Erfindungsgemäß wird die gestellte Aufgabe durch einen Flügelrahmen eines Fensters, einer Tür oder dergleichen gemäss dem Anspruch 1 und durch eine Anordnung aus Flügel- und Blendrahmen eines Fensters, einer Tür oder dergleichen gemäss dem Anspruch 2 gelöst, wobei zumindest einer der Isolierstege des Flügelrahmens mit mindestens zwei Rastelementen versehen ist, die in an den jeweiligen Isoliersteg anliegende poröse, leicht verformbare Dämmelement eingreifen, wobei die Rastelemente zu dem Flächenelement hinweisen.
  • Durch das mindestens eine zusätzliche Dämmelement wird die thermische Isolierung verbessert und in besonders vorteilhafter Weise können diese Dämmelemente montiert werden, da sie vor dem Einsetzen eines Flügelrahmens an den Isolierstegen festgelegt werden. Dadurch wird verhindert, dass sie während der Montage verlorengehen.
  • Erfindungsgemäß ist vorgesehen, dass jedes Rastelement als Rasthaken oder als Raststeg ausgebildet ist und in eine hinterschnittene Nut des Dämmelementes eingreift. Das Dämmelement besteht aus einem porösen, relativ leicht verformbaren Material und kann in sich formstabil sein. Weiter erfindungsgemäß ist der einer Anlageleiste, die das Dämmelement bildet, abgewandte Isoliersteg des Flügelrahmens als Brückenisoliersteg in Form eines Hohlprofiles mit mehreren Kammern ausgebildet.
  • In weiterer Ausgestaltung ist noch vorgesehen, dass an dem die Rasthaken oder die Raststege aufweisenden Isoliersteg des Flügelrahmens bzw. des Flügelrahmenprofils an der den Rasthaken oder Raststegen abgewandten Seite Distanzstege angeformt oder angesetzt sind, die auf einen zwischen den Isolierstegen eingesetzten Isolierkern gerichtet sind.
  • Dadurch können eventuell vorhandene Distanzen ausgeglichen werden, so dass keine Fugen oder Zwischenräume entstehen, die der thermischen Isolierwirkung entgegenstehen.
  • Üblicherweise sind bei den zuvor geschilderten Ausführungen jeweils mehrere Distanzstege im Abstand zueinander angeordnet.
  • Anhand der beiliegenden Zeichnungen wird die Erfindung noch näher erläutert.
  • Es zeigen:
  • Figur 1
    ein Ausführungsbeispiel eines Flügelrahmenprofils und eines Blendrahmenprofils mit einer Dichtungsanordnung im Querschnitt und
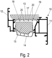
    Figur 2
    ein Flügelrahmenprofil in einer Variante zur Ausführung nach der Figur 1.
  • Die Ausführung gemäß der Figur 1 zeigt ein Flügelrahmenprofil 10 eines nicht dargestellten Flügelrahmens, welches aus einer Innenschale 11 und einer Außenschale 12 gebildet ist, die über zwei Isolierstege 13, 14 miteinander verbunden sind. In den Flügelrahmen ist eine Glasscheibe oder ein flächiges Element 16 eingesetzt. Der zugeordnete Isoliersteg 13 ist in sich formstabil, während der dem Flächenelement abgewandte Isoliersteg als Brückenisoliersteg 14 in Form eines Hohlkammerprofils ausgebildet ist. Zwischen den beiden Isolierstegen 13, 14 ist ein Isolierkern 15 angeordnet.
  • Die Figur 1 zeigt ferner noch, dass an dem dem Flächenelement 16 zugewandt liegenden Isoliersteg 13 eine Anlageleiste 17 festgelegt ist, die aus einem thermisch isolierenden Material besteht. An der dem Flächenelement 16 bzw. dem Glasfalz zugewandten Seite ist der Isoliersteg 13 im dargestellten Ausführungsbeispiel mit zwei im Abstand zueinander angeordneten Rasthaken oder Raststegen 18, 19 versehen, die in entsprechende Ausnehmungen der Anlageleiste 17 eingreifen. Dazu können in der Anlageleiste 17 hinterschnittene Nuten vorgesehen sein.
  • An der dem Flächenelement 16 abgewandten Seite ist der Isoliersteg 13 mit Distanzstegen 20 versehen, die auf den Isolierkern 15 gerichtet sind. Die Distanzstege 20 liegen im Abstand zueinander. An der gegenüberliegenden, dem Flächenelement 16 zugewandten Seite ist die Anlageleiste 17 mit Abstandsstegen 21 ausgestattet.
  • Im Gegensatz zu der dargestellten Ausführung könnte der Isoliersteg 13 auch mit mehreren Rasthaken oder Raststegen ausgestattet sein. Ferner könnten diese Rasthaken oder Raststege 18, 19 auch in Form von Harpunenstegen oder in ähnlicher Form gestaltet sein. Es ergibt sich aus der Figur 1, dass durch die Anlageleiste 17 eine zusätzliche Wärmedämmung erreicht wird, da zwischen dem Isoliersteg 13 und dem zugewandten Rand des Flächenelementes 16 keine undichten Fugen oder Abstandsspalte entstehen, wenn die Gestaltung entsprechend vorgenommen wird.
  • Der Blendrahmen bzw. das Blendrahmenprofil 22 besteht wiederum aus einer Innenschale 23 und einer Außenschale 24, die über zwei Isolierstege 25, 26 miteinander verbunden sind. Diese Isolierstege 25, 26 sind in sich formstabil. Zwischen diesen Isolierstegen 25, 26 liegt ein Isolierkern 27, der an dem dem Flügelrahmenprofil zugewandten Isoliersteg 25 anliegt. Der gegenüberliegende Isoliersteg 26 ist mit Distanzstegen 28 versehen, die auf den Isolierkern 27 gerichtet sind.
  • Wie die Figur 1 zeigt, sind an dem dem Flügelrahmenprofil zugewandten Isoliersteg 25 des Blendrahmenprofils 22 Raststege oder Rasthaken 29, 30 angeformt, die paarweise in einem relativ geringen Abstand zueinander angeordnet sind. Zwischen diesen paarweise angeordneten Rasthaken 29, 30 liegen Rastelemente, die an einer Mitteldichtung 31 angeformt sind. Diese Mitteldichtung 31 ist als Hohlprofildichtung ausgebildet und mit mehreren Hohlkammern 32 ausgestattet, so dass dadurch eine optimale Wärmedämmung erreicht wird.
  • Im Gegensatz zu der dargestellten Ausführung könnten auch andere Rastelemente zur Festlegung der Mitteldichtung 31 verwendet werden.
  • Die Ausführung nach der Figur 2 unterscheidet sich, abgesehen von der geänderten Darstellung dadurch, dass die Anlageleiste 17 keine Abstandsstege 21 aufweist, so dass sie an der dem Isoliersteg 13 abgewandten Seite eine glattflächige Anlagefläche aufweist. Ferner reicht diese Anlageleiste 17 nicht bis zu dem Außenschalenprofil 12 des Flügelrahmens 10.
  • Die Erfindung ist nicht auf das dargestellte Ausführungsbeispiel beschränkt. Wesentlich ist, dass zumindest ein Isoliersteg 13 oder 25 des Flügelrahmenprofils 10 bzw. des Blendrahmenprofils 22 mit Rastelementen, vorzugsweise in Form von Rasthaken 18, 19 oder 29, 30 versehen ist.

Claims (3)

  1. Flügelrahmen eines Fensters, einer Tür oder dergleichen, der aus Holmen aus Aluminiumhohlprofilen (10, 22) besteht, und in den ein Flächenelement (16) eingesetzt ist, wobei jedes Aluminiumhohlprofil (10, 22) aus einer Innen- und einer Außenschale (11, 12, 23, 24) gebildet ist, die über wenigstens einen Isoliersteg aus einem Isoliersteg (13, 14, 25, 26) aus einem thermisch isolierenden Material miteinander verbunden sind, und wobei zumindest einer der Isolierstege (13) des Flügelrahmens mit mindestens zwei Rastelementen (18, 19) versehen ist, die in an den jeweiligen Isoliersteg anliegende poröse, leicht verformbare Dämmelemente (17) eingreifen, wobei die Rastelemente (18, 19) zu dem Flächenelement (16) hinweisen, wobei jedes Rastelement (18, 19) als Rasthaken oder als Raststeg ausgebildet ist und in eine hinterschnittene Rastnut eingreift, und wobei jeder die Rastelemente aufweisende Isoliersteg (13) in eine Anlageleiste eingreift, die das Dämmelement (17) bildet, dadurch gekennzeichnet, dass
    der der Anlageleiste (17) abgewandte Isoliersteg des Flügelrahmens als Brückenisoliersteg in Form eines Hohlprofiles mit mehreren Kammern ausgebildet ist.
  2. Anordnung aus Flügel- und Blendrahmen eines Fensters, einer Tür oder dergleichen, wobei der Flügel- und der Blendrahmen jeweils aus Holmen aus Aluminiumhohlprofilen (10, 22) besteht, wobei in den Flügelrahmen ein Flächenelement (16) eingesetzt ist, wobei jedes Aluminiumhohlprofil (10, 22) aus einer Innen- und einer Außenschale (11, 12, 23, 24) gebildet ist, die über wenigstens einen Isoliersteg aus einem Isoliersteg (13, 14, 25, 26) aus einem thermisch isolierenden Material miteinander verbunden sind, und wobei zumindest einer der Isolierstege (13) des Flügelrahmens mit mindestens zwei Rastelementen (18, 19) versehen ist, die in an den jeweiligen Isoliersteg anliegende poröse, leicht verformbare Dämmelemente (17) eingreifen, wobei die Rastelemente (18, 19) zu dem Flächenelement (16) hinweisen, wobei jedes Rastelement (18, 19) als Rasthaken oder als Raststeg ausgebildet ist und in eine hinterschnittene Rastnut eingreift, und wobei jeder die Rastelemente aufweisende Isoliersteg (13) in eine Anlageleiste eingreift, die das Dämmelement (17) bildet, dadurch gekennzeichnet, dass
    der der Anlageleiste (17) abgewandte Isoliersteg des Flügelrahmens als Brückenisoliersteg in Form eines Hohlprofiles mit mehreren Kammern ausgebildet ist.
  3. Flügelrahmen bzw. Anordnung aus Flügel- und Blendrahmen nach Anspruch 1 bzw. Anspruch 2, dadurch gekennzeichnet, dass der die Rasthaken oder Raststege aufweisenden Isoliersteg (13) an der dem Rasthaken oder Raststegen abgewandten Seite Distanzstege (20) aufweist, die auf einen zwischen den Isolierstegen (13, 14) eingesetzten Isolierkern (27) gerichtet sind.
EP11195684.3A 2010-12-29 2011-12-23 Flügel- und/oder Blendrahmen eines Fensters, einer Tür oder dergleichen Active EP2472044B2 (de)

Applications Claiming Priority (1)

Application Number Priority Date Filing Date Title
DE202010013227U DE202010013227U1 (de) 2010-12-29 2010-12-29 Flügel- und/oder Blendrahmen eines Fensters, einer Tür o.dgl.

Publications (4)

Publication Number Publication Date
EP2472044A2 EP2472044A2 (de) 2012-07-04
EP2472044A3 EP2472044A3 (de) 2014-11-05
EP2472044B1 EP2472044B1 (de) 2019-01-23
EP2472044B2 true EP2472044B2 (de) 2022-03-09

Family

ID=45495675

Family Applications (1)

Application Number Title Priority Date Filing Date
EP11195684.3A Active EP2472044B2 (de) 2010-12-29 2011-12-23 Flügel- und/oder Blendrahmen eines Fensters, einer Tür oder dergleichen

Country Status (2)

Country Link
EP (1) EP2472044B2 (de)
DE (1) DE202010013227U1 (de)

Families Citing this family (5)

* Cited by examiner, † Cited by third party
Publication number Priority date Publication date Assignee Title
DE102012111444A1 (de) * 2012-11-26 2014-05-28 SCHÜCO International KG Fenster, Tür oder Fassadenelement mit einer Glasfalzdämmung mit integriertem Leuchtmittel
DE102013100249A1 (de) * 2013-01-11 2014-07-17 SCHÜCO International KG Glasfalzelemente für ein Fenster, eine Tür oder ein Fassadenelement mit integriertem Leuchtmittel
CN105781334A (zh) * 2016-04-11 2016-07-20 青岛乐克来新型门窗有限公司 带隔热齿的节能门窗
CN105804589A (zh) * 2016-04-11 2016-07-27 青岛乐克来新型门窗有限公司 一种高节能铝合金门窗
CN105715148A (zh) * 2016-04-11 2016-06-29 青岛乐克来新型门窗有限公司 软硬共济型铝合金门窗

Citations (6)

* Cited by examiner, † Cited by third party
Publication number Priority date Publication date Assignee Title
CH678747A5 (en) 1989-08-21 1991-10-31 Hartmann & Co Ag Hinging facade window - has blocking portion pressing glazing via channel-section against supporting seal
FR2725753A1 (fr) 1994-10-14 1996-04-19 Soc Et Des Profiles D Aluminiu Fenetre ou autre element d'huisserie muni d'un appui de vitrage en fond de chambranle
DE20219796U1 (de) 2002-12-19 2003-03-20 Digi Point Gmbh Beleuchtetes Anzeige-/Dekorationselement
DE202005004338U1 (de) 2005-03-17 2005-05-25 SCHÜCO International KG Wärmedämmleiste für einen Glasfalz
DE102006061655A1 (de) 2006-10-13 2008-04-17 Raico Bautechnik Gmbh Wärmedämmleiste
US20100175339A1 (en) 2009-01-13 2010-07-15 Ykk Corporation Of America Thermally efficient window assembly

Family Cites Families (7)

* Cited by examiner, † Cited by third party
Publication number Priority date Publication date Assignee Title
DE19622278A1 (de) 1996-06-03 1997-10-09 Gartner & Co J Wärmegedämmtes Verbundprofil mit Isolierstoffkörper
DE29809323U1 (de) * 1998-05-23 1998-08-13 Götz GmbH, 71636 Ludwigsburg Fenster- oder Türkonstruktion mit einem Rahmen und einer randseitig daran gehaltenen Ausfachung
DE29817976U1 (de) * 1998-10-08 1998-12-24 Schüco International KG, 33609 Bielefeld Blendrahmen für ein Fenster-, Tür- oder Fassadenelement
DE19947601A1 (de) * 1999-05-21 2000-11-23 Woschko Gabriele Profilanordnung für Rahmen oder Flügel von Fenstern oder Türen oder Fassadenanordnungen oder dergleichen Anordnungen
DE20219196U1 (de) * 2002-12-11 2004-05-06 Henkenjohann, Johann Thermisch isoliertes Metallprofil insbesondere für Fassaden, Türen und Fenster
DE10326503A1 (de) * 2003-06-10 2004-12-30 Raico Bautechnik Gmbh Aluminium-Verbundprofil für Fenster- oder Türrahmen
EP1932998A1 (de) 2006-12-08 2008-06-18 Alcoa Aluminium Deutschland, Inc. Verbundprofil und Verfahren zur Herstellung eines Verbundprofils

Patent Citations (6)

* Cited by examiner, † Cited by third party
Publication number Priority date Publication date Assignee Title
CH678747A5 (en) 1989-08-21 1991-10-31 Hartmann & Co Ag Hinging facade window - has blocking portion pressing glazing via channel-section against supporting seal
FR2725753A1 (fr) 1994-10-14 1996-04-19 Soc Et Des Profiles D Aluminiu Fenetre ou autre element d'huisserie muni d'un appui de vitrage en fond de chambranle
DE20219796U1 (de) 2002-12-19 2003-03-20 Digi Point Gmbh Beleuchtetes Anzeige-/Dekorationselement
DE202005004338U1 (de) 2005-03-17 2005-05-25 SCHÜCO International KG Wärmedämmleiste für einen Glasfalz
DE102006061655A1 (de) 2006-10-13 2008-04-17 Raico Bautechnik Gmbh Wärmedämmleiste
US20100175339A1 (en) 2009-01-13 2010-07-15 Ykk Corporation Of America Thermally efficient window assembly

Non-Patent Citations (3)

* Cited by examiner, † Cited by third party
Title
Auszug aus dem Katalog 'Hueck & Hartmann - Fassaden', Stand 5/2004
GUTMANN-KATALOG, March 2010 (2010-03-01), pages 1 - 166
HUECK & HARTMANN: "Einsatzelemente 72E für Fassaden", December 2006 (2006-12-01)

Also Published As

Publication number Publication date
DE202010013227U1 (de) 2012-04-03
EP2472044A3 (de) 2014-11-05
EP2472044A2 (de) 2012-07-04
EP2472044B1 (de) 2019-01-23

Similar Documents

Publication Publication Date Title
EP3221540B1 (de) Dichtungsvorrichtung für einen verschiebbaren flügel als schiebeflügel oder verschiebbaren hebe-schiebeflügel eines fensters oder einer tür
DE19528498C1 (de) Isolierkern für Verbundprofil, insbesondere für Fenster, Türen und Fassadenkonstruktionen
EP2594720B2 (de) Mit unterschiedlichem Werkstoff abdeckbare Fenster- und Türrahmen aus thermoplastischem, schweissbarem Werkstoff
DE102010012159A1 (de) Mehrteiliges Profilrahmensystem für Türen, Tore, Wintergärten und Fenster
EP2472044B2 (de) Flügel- und/oder Blendrahmen eines Fensters, einer Tür oder dergleichen
DE202005004338U1 (de) Wärmedämmleiste für einen Glasfalz
EP2666948B1 (de) Rahmenanordnung für ein Sektionaltorpaneel
EP2472045B1 (de) Flügel- oder Blendrahmen eines Fensters einer Tür oder dergleichen
EP2088276B1 (de) Isolierprofil-Anordnung zwischen Blend- und Flügelrahmen eines Fensters oder einer Tür
EP2327855B1 (de) Isolierglaseinheit und Tragkonstruktion mit mindestens einer derartigen Isolierglaseinheit
DE1509553A1 (de) Fensterkonstruktion
DE202014010902U1 (de) Isolierelement für Fassaden- oder Lichtdachkonstruktionen
EP2476854B1 (de) Außenverkleidung für ein Fenster, eine Tür oder dergleichen
EP1127990B2 (de) Rahmenkonstruktion mit verbesserter Wärmedämmung
DE202013105916U1 (de) Fenster- oder Türflügel mit einer Haltevorrichtung zur Aufnahme eines flügelüberdeckenden Flächenelements
EP2573307A1 (de) Mehrteiliges Profilrahmensytem für Türen, Tore, Wintergärten und Fenster
EP3228798B1 (de) Tür für gehäuse für klimageräte
DE19758464C2 (de) Isolierelement aus wenigstens zwei Glas- oder Kunststoffscheiben und mit Profilschienen oder -teilen zur Montage in einem Rahmen
AT410461B (de) Verbundprofil für fenster oder türen
EP3211147B1 (de) Pfosten-riegel-konstruktion
EP3098361B1 (de) Flächenkonstruktion für die ausbildung von wänden, trennwänden, fassaden und dgl
EP2428633B1 (de) Blendrahmenprofil für Tür-, Fenster- oder Fassadenkonstruktion
DE202007015319U1 (de) Isolator für Fenster-, Tür- und Fassadensysteme
DE202010013228U1 (de) Auflageanordnung für ein Fenster, eine Tür o.dgl.
EP3530860B1 (de) Isolierglaselement für eine glasfassade und glasfassade

Legal Events

Date Code Title Description
AK Designated contracting states

Kind code of ref document: A2

Designated state(s): AL AT BE BG CH CY CZ DE DK EE ES FI FR GB GR HR HU IE IS IT LI LT LU LV MC MK MT NL NO PL PT RO RS SE SI SK SM TR

AX Request for extension of the european patent

Extension state: BA ME

PUAI Public reference made under article 153(3) epc to a published international application that has entered the european phase

Free format text: ORIGINAL CODE: 0009012

PUAL Search report despatched

Free format text: ORIGINAL CODE: 0009013

AK Designated contracting states

Kind code of ref document: A3

Designated state(s): AL AT BE BG CH CY CZ DE DK EE ES FI FR GB GR HR HU IE IS IT LI LT LU LV MC MK MT NL NO PL PT RO RS SE SI SK SM TR

AX Request for extension of the european patent

Extension state: BA ME

RIC1 Information provided on ipc code assigned before grant

Ipc: E06B 3/263 20060101AFI20140930BHEP

17P Request for examination filed

Effective date: 20150415

RBV Designated contracting states (corrected)

Designated state(s): AL AT BE BG CH CY CZ DE DK EE ES FI FR GB GR HR HU IE IS IT LI LT LU LV MC MK MT NL NO PL PT RO RS SE SI SK SM TR

STAA Information on the status of an ep patent application or granted ep patent

Free format text: STATUS: EXAMINATION IS IN PROGRESS

17Q First examination report despatched

Effective date: 20170825

GRAP Despatch of communication of intention to grant a patent

Free format text: ORIGINAL CODE: EPIDOSNIGR1

STAA Information on the status of an ep patent application or granted ep patent

Free format text: STATUS: GRANT OF PATENT IS INTENDED

INTG Intention to grant announced

Effective date: 20180816

GRAS Grant fee paid

Free format text: ORIGINAL CODE: EPIDOSNIGR3

GRAA (expected) grant

Free format text: ORIGINAL CODE: 0009210

STAA Information on the status of an ep patent application or granted ep patent

Free format text: STATUS: THE PATENT HAS BEEN GRANTED

AK Designated contracting states

Kind code of ref document: B1

Designated state(s): AL AT BE BG CH CY CZ DE DK EE ES FI FR GB GR HR HU IE IS IT LI LT LU LV MC MK MT NL NO PL PT RO RS SE SI SK SM TR

REG Reference to a national code

Ref country code: GB

Ref legal event code: FG4D

Free format text: NOT ENGLISH

REG Reference to a national code

Ref country code: CH

Ref legal event code: EP

REG Reference to a national code

Ref country code: AT

Ref legal event code: REF

Ref document number: 1091577

Country of ref document: AT

Kind code of ref document: T

Effective date: 20190215

REG Reference to a national code

Ref country code: IE

Ref legal event code: FG4D

Free format text: LANGUAGE OF EP DOCUMENT: GERMAN

REG Reference to a national code

Ref country code: DE

Ref legal event code: R096

Ref document number: 502011015314

Country of ref document: DE

REG Reference to a national code

Ref country code: NL

Ref legal event code: MP

Effective date: 20190123

PG25 Lapsed in a contracting state [announced via postgrant information from national office to epo]

Ref country code: NL

Free format text: LAPSE BECAUSE OF FAILURE TO SUBMIT A TRANSLATION OF THE DESCRIPTION OR TO PAY THE FEE WITHIN THE PRESCRIBED TIME-LIMIT

Effective date: 20190123

PG25 Lapsed in a contracting state [announced via postgrant information from national office to epo]

Ref country code: NO

Free format text: LAPSE BECAUSE OF FAILURE TO SUBMIT A TRANSLATION OF THE DESCRIPTION OR TO PAY THE FEE WITHIN THE PRESCRIBED TIME-LIMIT

Effective date: 20190423

Ref country code: FI

Free format text: LAPSE BECAUSE OF FAILURE TO SUBMIT A TRANSLATION OF THE DESCRIPTION OR TO PAY THE FEE WITHIN THE PRESCRIBED TIME-LIMIT

Effective date: 20190123

Ref country code: SE

Free format text: LAPSE BECAUSE OF FAILURE TO SUBMIT A TRANSLATION OF THE DESCRIPTION OR TO PAY THE FEE WITHIN THE PRESCRIBED TIME-LIMIT

Effective date: 20190123

Ref country code: PT

Free format text: LAPSE BECAUSE OF FAILURE TO SUBMIT A TRANSLATION OF THE DESCRIPTION OR TO PAY THE FEE WITHIN THE PRESCRIBED TIME-LIMIT

Effective date: 20190523

Ref country code: ES

Free format text: LAPSE BECAUSE OF FAILURE TO SUBMIT A TRANSLATION OF THE DESCRIPTION OR TO PAY THE FEE WITHIN THE PRESCRIBED TIME-LIMIT

Effective date: 20190123

Ref country code: LT

Free format text: LAPSE BECAUSE OF FAILURE TO SUBMIT A TRANSLATION OF THE DESCRIPTION OR TO PAY THE FEE WITHIN THE PRESCRIBED TIME-LIMIT

Effective date: 20190123

Ref country code: PL

Free format text: LAPSE BECAUSE OF FAILURE TO SUBMIT A TRANSLATION OF THE DESCRIPTION OR TO PAY THE FEE WITHIN THE PRESCRIBED TIME-LIMIT

Effective date: 20190123

PG25 Lapsed in a contracting state [announced via postgrant information from national office to epo]

Ref country code: LV

Free format text: LAPSE BECAUSE OF FAILURE TO SUBMIT A TRANSLATION OF THE DESCRIPTION OR TO PAY THE FEE WITHIN THE PRESCRIBED TIME-LIMIT

Effective date: 20190123

Ref country code: RS

Free format text: LAPSE BECAUSE OF FAILURE TO SUBMIT A TRANSLATION OF THE DESCRIPTION OR TO PAY THE FEE WITHIN THE PRESCRIBED TIME-LIMIT

Effective date: 20190123

Ref country code: HR

Free format text: LAPSE BECAUSE OF FAILURE TO SUBMIT A TRANSLATION OF THE DESCRIPTION OR TO PAY THE FEE WITHIN THE PRESCRIBED TIME-LIMIT

Effective date: 20190123

Ref country code: GR

Free format text: LAPSE BECAUSE OF FAILURE TO SUBMIT A TRANSLATION OF THE DESCRIPTION OR TO PAY THE FEE WITHIN THE PRESCRIBED TIME-LIMIT

Effective date: 20190424

Ref country code: IS

Free format text: LAPSE BECAUSE OF FAILURE TO SUBMIT A TRANSLATION OF THE DESCRIPTION OR TO PAY THE FEE WITHIN THE PRESCRIBED TIME-LIMIT

Effective date: 20190523

Ref country code: BG

Free format text: LAPSE BECAUSE OF FAILURE TO SUBMIT A TRANSLATION OF THE DESCRIPTION OR TO PAY THE FEE WITHIN THE PRESCRIBED TIME-LIMIT

Effective date: 20190423

REG Reference to a national code

Ref country code: DE

Ref legal event code: R026

Ref document number: 502011015314

Country of ref document: DE

PLBI Opposition filed

Free format text: ORIGINAL CODE: 0009260

PG25 Lapsed in a contracting state [announced via postgrant information from national office to epo]

Ref country code: DK

Free format text: LAPSE BECAUSE OF FAILURE TO SUBMIT A TRANSLATION OF THE DESCRIPTION OR TO PAY THE FEE WITHIN THE PRESCRIBED TIME-LIMIT

Effective date: 20190123

Ref country code: EE

Free format text: LAPSE BECAUSE OF FAILURE TO SUBMIT A TRANSLATION OF THE DESCRIPTION OR TO PAY THE FEE WITHIN THE PRESCRIBED TIME-LIMIT

Effective date: 20190123

Ref country code: RO

Free format text: LAPSE BECAUSE OF FAILURE TO SUBMIT A TRANSLATION OF THE DESCRIPTION OR TO PAY THE FEE WITHIN THE PRESCRIBED TIME-LIMIT

Effective date: 20190123

Ref country code: CZ

Free format text: LAPSE BECAUSE OF FAILURE TO SUBMIT A TRANSLATION OF THE DESCRIPTION OR TO PAY THE FEE WITHIN THE PRESCRIBED TIME-LIMIT

Effective date: 20190123

Ref country code: AL

Free format text: LAPSE BECAUSE OF FAILURE TO SUBMIT A TRANSLATION OF THE DESCRIPTION OR TO PAY THE FEE WITHIN THE PRESCRIBED TIME-LIMIT

Effective date: 20190123

Ref country code: SK

Free format text: LAPSE BECAUSE OF FAILURE TO SUBMIT A TRANSLATION OF THE DESCRIPTION OR TO PAY THE FEE WITHIN THE PRESCRIBED TIME-LIMIT

Effective date: 20190123

PLAX Notice of opposition and request to file observation + time limit sent

Free format text: ORIGINAL CODE: EPIDOSNOBS2

26 Opposition filed

Opponent name: HUECK SYSTEM GMBH & CO. KG

Effective date: 20191010

PG25 Lapsed in a contracting state [announced via postgrant information from national office to epo]

Ref country code: SM

Free format text: LAPSE BECAUSE OF FAILURE TO SUBMIT A TRANSLATION OF THE DESCRIPTION OR TO PAY THE FEE WITHIN THE PRESCRIBED TIME-LIMIT

Effective date: 20190123

PG25 Lapsed in a contracting state [announced via postgrant information from national office to epo]

Ref country code: SI

Free format text: LAPSE BECAUSE OF FAILURE TO SUBMIT A TRANSLATION OF THE DESCRIPTION OR TO PAY THE FEE WITHIN THE PRESCRIBED TIME-LIMIT

Effective date: 20190123

PLBB Reply of patent proprietor to notice(s) of opposition received

Free format text: ORIGINAL CODE: EPIDOSNOBS3

PG25 Lapsed in a contracting state [announced via postgrant information from national office to epo]

Ref country code: TR

Free format text: LAPSE BECAUSE OF FAILURE TO SUBMIT A TRANSLATION OF THE DESCRIPTION OR TO PAY THE FEE WITHIN THE PRESCRIBED TIME-LIMIT

Effective date: 20190123

REG Reference to a national code

Ref country code: CH

Ref legal event code: PL

PG25 Lapsed in a contracting state [announced via postgrant information from national office to epo]

Ref country code: MC

Free format text: LAPSE BECAUSE OF FAILURE TO SUBMIT A TRANSLATION OF THE DESCRIPTION OR TO PAY THE FEE WITHIN THE PRESCRIBED TIME-LIMIT

Effective date: 20190123

PG25 Lapsed in a contracting state [announced via postgrant information from national office to epo]

Ref country code: IE

Free format text: LAPSE BECAUSE OF NON-PAYMENT OF DUE FEES

Effective date: 20191223

Ref country code: LU

Free format text: LAPSE BECAUSE OF NON-PAYMENT OF DUE FEES

Effective date: 20191223

PG25 Lapsed in a contracting state [announced via postgrant information from national office to epo]

Ref country code: LI

Free format text: LAPSE BECAUSE OF NON-PAYMENT OF DUE FEES

Effective date: 20191231

Ref country code: CH

Free format text: LAPSE BECAUSE OF NON-PAYMENT OF DUE FEES

Effective date: 20191231

REG Reference to a national code

Ref country code: AT

Ref legal event code: MM01

Ref document number: 1091577

Country of ref document: AT

Kind code of ref document: T

Effective date: 20191223

PG25 Lapsed in a contracting state [announced via postgrant information from national office to epo]

Ref country code: CY

Free format text: LAPSE BECAUSE OF FAILURE TO SUBMIT A TRANSLATION OF THE DESCRIPTION OR TO PAY THE FEE WITHIN THE PRESCRIBED TIME-LIMIT

Effective date: 20190123

Ref country code: AT

Free format text: LAPSE BECAUSE OF NON-PAYMENT OF DUE FEES

Effective date: 20191223

PG25 Lapsed in a contracting state [announced via postgrant information from national office to epo]

Ref country code: MT

Free format text: LAPSE BECAUSE OF FAILURE TO SUBMIT A TRANSLATION OF THE DESCRIPTION OR TO PAY THE FEE WITHIN THE PRESCRIBED TIME-LIMIT

Effective date: 20190123

Ref country code: HU

Free format text: LAPSE BECAUSE OF FAILURE TO SUBMIT A TRANSLATION OF THE DESCRIPTION OR TO PAY THE FEE WITHIN THE PRESCRIBED TIME-LIMIT; INVALID AB INITIO

Effective date: 20111223

PUAH Patent maintained in amended form

Free format text: ORIGINAL CODE: 0009272

STAA Information on the status of an ep patent application or granted ep patent

Free format text: STATUS: PATENT MAINTAINED AS AMENDED

27A Patent maintained in amended form

Effective date: 20220309

AK Designated contracting states

Kind code of ref document: B2

Designated state(s): AL AT BE BG CH CY CZ DE DK EE ES FI FR GB GR HR HU IE IS IT LI LT LU LV MC MK MT NL NO PL PT RO RS SE SI SK SM TR

REG Reference to a national code

Ref country code: DE

Ref legal event code: R102

Ref document number: 502011015314

Country of ref document: DE

PG25 Lapsed in a contracting state [announced via postgrant information from national office to epo]

Ref country code: MK

Free format text: LAPSE BECAUSE OF FAILURE TO SUBMIT A TRANSLATION OF THE DESCRIPTION OR TO PAY THE FEE WITHIN THE PRESCRIBED TIME-LIMIT

Effective date: 20190123

P01 Opt-out of the competence of the unified patent court (upc) registered

Effective date: 20230813

PGFP Annual fee paid to national office [announced via postgrant information from national office to epo]

Ref country code: BE

Payment date: 20241115

Year of fee payment: 14

PGFP Annual fee paid to national office [announced via postgrant information from national office to epo]

Ref country code: GB

Payment date: 20241112

Year of fee payment: 14

PGFP Annual fee paid to national office [announced via postgrant information from national office to epo]

Ref country code: FR

Payment date: 20241112

Year of fee payment: 14

PGFP Annual fee paid to national office [announced via postgrant information from national office to epo]

Ref country code: IT

Payment date: 20241216

Year of fee payment: 14

PGFP Annual fee paid to national office [announced via postgrant information from national office to epo]

Ref country code: DE

Payment date: 20251020

Year of fee payment: 15