EP2411182B1 - An einem gehäuse lösbar angeordnete festwalzrolle eines festwalzwerkzeugs - Google Patents
An einem gehäuse lösbar angeordnete festwalzrolle eines festwalzwerkzeugs Download PDFInfo
- Publication number
- EP2411182B1 EP2411182B1 EP10734900A EP10734900A EP2411182B1 EP 2411182 B1 EP2411182 B1 EP 2411182B1 EP 10734900 A EP10734900 A EP 10734900A EP 10734900 A EP10734900 A EP 10734900A EP 2411182 B1 EP2411182 B1 EP 2411182B1
- Authority
- EP
- European Patent Office
- Prior art keywords
- housing
- deep rolling
- receptacle
- lid
- pin head
- Prior art date
- Legal status (The legal status is an assumption and is not a legal conclusion. Google has not performed a legal analysis and makes no representation as to the accuracy of the status listed.)
- Active
Links
Images
Classifications
-
- B—PERFORMING OPERATIONS; TRANSPORTING
- B24—GRINDING; POLISHING
- B24B—MACHINES, DEVICES, OR PROCESSES FOR GRINDING OR POLISHING; DRESSING OR CONDITIONING OF ABRADING SURFACES; FEEDING OF GRINDING, POLISHING, OR LAPPING AGENTS
- B24B39/00—Burnishing machines or devices, i.e. requiring pressure members for compacting the surface zone; Accessories therefor
- B24B39/04—Burnishing machines or devices, i.e. requiring pressure members for compacting the surface zone; Accessories therefor designed for working external surfaces of revolution
-
- B—PERFORMING OPERATIONS; TRANSPORTING
- B21—MECHANICAL METAL-WORKING WITHOUT ESSENTIALLY REMOVING MATERIAL; PUNCHING METAL
- B21H—MAKING PARTICULAR METAL OBJECTS BY ROLLING, e.g. SCREWS, WHEELS, RINGS, BARRELS, BALLS
- B21H7/00—Making articles not provided for in the preceding groups, e.g. agricultural tools, dinner forks, knives, spoons
- B21H7/18—Making articles not provided for in the preceding groups, e.g. agricultural tools, dinner forks, knives, spoons grooved pins; Rolling grooves, e.g. oil grooves, in articles
- B21H7/182—Rolling annular grooves
- B21H7/185—Filet rolling, e.g. of crankshafts
-
- B—PERFORMING OPERATIONS; TRANSPORTING
- B24—GRINDING; POLISHING
- B24B—MACHINES, DEVICES, OR PROCESSES FOR GRINDING OR POLISHING; DRESSING OR CONDITIONING OF ABRADING SURFACES; FEEDING OF GRINDING, POLISHING, OR LAPPING AGENTS
- B24B5/00—Machines or devices designed for grinding surfaces of revolution on work, including those which also grind adjacent plane surfaces; Accessories therefor
- B24B5/36—Single-purpose machines or devices
- B24B5/42—Single-purpose machines or devices for grinding crankshafts or crankpins
-
- Y—GENERAL TAGGING OF NEW TECHNOLOGICAL DEVELOPMENTS; GENERAL TAGGING OF CROSS-SECTIONAL TECHNOLOGIES SPANNING OVER SEVERAL SECTIONS OF THE IPC; TECHNICAL SUBJECTS COVERED BY FORMER USPC CROSS-REFERENCE ART COLLECTIONS [XRACs] AND DIGESTS
- Y10—TECHNICAL SUBJECTS COVERED BY FORMER USPC
- Y10T—TECHNICAL SUBJECTS COVERED BY FORMER US CLASSIFICATION
- Y10T29/00—Metal working
- Y10T29/17—Crankshaft making apparatus
-
- Y—GENERAL TAGGING OF NEW TECHNOLOGICAL DEVELOPMENTS; GENERAL TAGGING OF CROSS-SECTIONAL TECHNOLOGIES SPANNING OVER SEVERAL SECTIONS OF THE IPC; TECHNICAL SUBJECTS COVERED BY FORMER USPC CROSS-REFERENCE ART COLLECTIONS [XRACs] AND DIGESTS
- Y10—TECHNICAL SUBJECTS COVERED BY FORMER USPC
- Y10T—TECHNICAL SUBJECTS COVERED BY FORMER US CLASSIFICATION
- Y10T29/00—Metal working
- Y10T29/47—Burnishing
Definitions
- the invention relates to a releasably arranged on a housing deep-rolling roller of a deep rolling tool, which is freely rotatably mounted on a bolt between a bolt head and a lid, wherein the housing has a recess for the deep rolling roller, a receptacle for the bolt head and a receptacle for the lid.
- US 2,977,669 A describes a deep rolling tool having a housing and a releasably arranged on the housing fixed roller, which is freely rotatably mounted on a bolt between a bolt head and a lid, wherein the housing has a recess for the deep rolling roller, a receptacle for the bolt head and a receptacle for the lid having.
- This type of storage of the deep rolling roller is in the present invention.
- the invention has for its object to design the storage of a deep rolling roller in such a way that the deep rolling roller in addition to the application of large radial forces, namely for deep rolling, at the same time also able to absorb the forces occurring in the feed direction during deep rolling.
- the attachment for the deep rolling roller should be as simple as possible, free of play and inexpensive.
- a quick change of damaged fixed rollers should be possible or from fixed rollers, which have a different design.
- a receptacle for the bolt head which is designed as a partial surface of a truncated cone and concentric with the axis of rotation of the deep rolling a Bund has, while the receptacle for the lid is designed as a partial surface of a circular cylinder.
- the receptacle for the bolt head can be configured as a partial surface of a circular cylinder, while the receptacle for the lid is designed as a truncated cone surface and has a collar concentric with the axis of rotation of the deep rolling.
- each cylinder screws intended to attach the bolt head as well as the lid on the housing. This ensures a sufficiently accurate and secure attachment is achieved.
- the type of attachment also meets the requirement for quick change of the deep rolling roller.
- the deep rolling roller 1 according to Fig. 1 is freely rotatably mounted in a housing 2.
- the housing 2 consists of two housing covers 3 and 4 which extend parallel to one another at a mutual distance 5.
- the distance 5 between the two housing covers 3 and 4 granted space for receiving 6 of the deep rolling roller 1 in the housing 2.
- the bolt head 7 of a bolt (not shown) to see on which the deep rolling roller 1 is freely rotatably mounted.
- the bolt head 7 is intended to be fastened via a cylinder screw 8 in a threaded hole 9 of the lid 4.
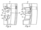
- Fig. 2 shows a perspective view of an enlarged section of the receptacle 10 in the cover 4, which is provided for fastening the bolt head 7. Visible is first a frustoconical surface 11 on which the frustoconical surface 12 of the bolt head 7 comes to rest. The frustoconical surface 13 of the bolt head 7 comes to rest on a corresponding frustoconical surface 14 of the housing cover 4. Between the frustoconical faces 11 and 14 of the receptacle 10 is a recess 15, in the middle of the threaded hole 9 opens, which is provided for fastening the bolt head 7.
- the Fig. 2 represents that portion of the housing cover 4, which is between the lines II and II-II of the Fig. 1 located.
- FIG. 3 A similar section shows the Fig. 3 from the housing cover 3 of the housing 2.
- the receptacle 10 is provided for the arrangement of the bolt head 7 in the housing cover 4
- the receptacle 19 for the arrangement of the cover 20 (FIG. FIGS. 5 and 6 ) provided in the housing cover 3.
- Circular cylindrical faces 21 and 22 of the cover 20 reach the cylindrical faces 16 and 17 of the housing cover 3 to the plant.
- the housing cover 4 also has a collar 23 which extends concentrically around the axis of rotation 24 of the deep rolling roller 1. When installed, the collar surface 25 of the bolt head 7 comes to the collar 23 of the housing cover 4 to the plant.
- the cylinder screw 26 is provided for fixing the lid 20 on the housing cover 3.
- the shape of the cross section 27 of the deep-rolling roller 1 shown is determined by a specific application, which is not important in the context of the present invention. Instead of the cross-sectional shape 27, the deep rolling roller 1 can also have any other cross-sectional shape, in particular the shape of a torus. In the present case, the preferred feed direction of the deep rolling roller 1 is indicated by the arrow 28.
Landscapes
- Engineering & Computer Science (AREA)
- Mechanical Engineering (AREA)
- Life Sciences & Earth Sciences (AREA)
- Agronomy & Crop Science (AREA)
- Perforating, Stamping-Out Or Severing By Means Other Than Cutting (AREA)
- Rolling Contact Bearings (AREA)
- Finish Polishing, Edge Sharpening, And Grinding By Specific Grinding Devices (AREA)
- Gripping On Spindles (AREA)
- Jigs For Machine Tools (AREA)
- Excavating Of Shafts Or Tunnels (AREA)
- Shaping Metal By Deep-Drawing, Or The Like (AREA)
Priority Applications (1)
| Application Number | Priority Date | Filing Date | Title |
|---|---|---|---|
| PL10734900T PL2411182T3 (pl) | 2009-03-25 | 2010-03-24 | Rolka dogniatająca narzędzia dogniatającego, umieszczona rozłącznie na obudowie |
Applications Claiming Priority (3)
| Application Number | Priority Date | Filing Date | Title |
|---|---|---|---|
| DE202009004172 | 2009-03-25 | ||
| DE202009012976U DE202009012976U1 (de) | 2009-03-25 | 2009-09-25 | An einem Gehäuse lösbar angeordnete Festwalzrolle eines Festwalzwerkzeugs |
| PCT/DE2010/000362 WO2010108489A1 (de) | 2009-03-25 | 2010-03-24 | An einem gehäuse lösbar angeordnete festwalzrolle eines festwalzwerkzeugs |
Publications (2)
| Publication Number | Publication Date |
|---|---|
| EP2411182A1 EP2411182A1 (de) | 2012-02-01 |
| EP2411182B1 true EP2411182B1 (de) | 2013-02-20 |
Family
ID=41667990
Family Applications (1)
| Application Number | Title | Priority Date | Filing Date |
|---|---|---|---|
| EP10734900A Active EP2411182B1 (de) | 2009-03-25 | 2010-03-24 | An einem gehäuse lösbar angeordnete festwalzrolle eines festwalzwerkzeugs |
Country Status (11)
| Country | Link |
|---|---|
| US (1) | US8567025B2 (enExample) |
| EP (1) | EP2411182B1 (enExample) |
| JP (1) | JP5636035B2 (enExample) |
| KR (1) | KR101675080B1 (enExample) |
| CN (1) | CN102405126B (enExample) |
| BR (1) | BRPI1014205B1 (enExample) |
| DE (1) | DE202009012976U1 (enExample) |
| PL (1) | PL2411182T3 (enExample) |
| RO (1) | RO129222B1 (enExample) |
| RU (1) | RU2521912C2 (enExample) |
| WO (1) | WO2010108489A1 (enExample) |
Cited By (1)
| Publication number | Priority date | Publication date | Assignee | Title |
|---|---|---|---|---|
| DE102020130537A1 (de) | 2020-11-19 | 2022-05-19 | Hegenscheidt-Mfd Gmbh | Walzrolle zum Walzen, insbesondere zum Festwalzen von Kurbelwellen sowie Verfahren zum Walzen mit einer entsprechenden Walzrolle |
Families Citing this family (2)
| Publication number | Priority date | Publication date | Assignee | Title |
|---|---|---|---|---|
| DE202011103888U1 (de) | 2011-07-28 | 2011-09-07 | Hegenscheidt-Mfd Gmbh & Co. Kg | Festwalzrolle |
| KR102076702B1 (ko) | 2013-07-23 | 2020-02-12 | 대우조선해양 주식회사 | 빌지 웰 일체형 체인 락커 |
Family Cites Families (14)
| Publication number | Priority date | Publication date | Assignee | Title |
|---|---|---|---|---|
| US2053009A (en) * | 1936-02-14 | 1936-09-01 | Victor P Schmidt | Axle burnishing machine |
| DE843822C (de) | 1950-04-27 | 1952-07-14 | Wilhelm Hegenscheidt Kommandit | Vorrichtung zum Praegepolieren zylindrischer Werkstuecke, wie z. B. von Wellenteilen |
| US2977669A (en) * | 1958-03-06 | 1961-04-04 | Bendix Corp | Apparatus for roll-burnishing aircraft wheels and the like |
| SU128269A1 (ru) * | 1959-07-17 | 1959-11-30 | С.В. Стольный | Головка дл калибровани резьб накатным роликом |
| US3566653A (en) * | 1968-11-15 | 1971-03-02 | Wean Ind Inc | Tube reducing and elongating apparatus |
| ES186502Y (es) * | 1972-12-06 | 1974-07-16 | Construcciones Vascas, S. A. | Enderezadora - pulidora de barras redondas. |
| SU779049A1 (ru) * | 1978-11-02 | 1980-11-15 | Предприятие П/Я Р-6131 | Накатник однороликовый |
| US5099558A (en) * | 1988-04-25 | 1992-03-31 | The B. F. Goodrich Company | Burnishing tool holder |
| CN1046484A (zh) * | 1989-04-20 | 1990-10-31 | 物理研究所(别洛露西亚苏维埃社会主义共和国科学院) | 形状复杂的旋转体表面的强化精加工装置 |
| SU1816668A1 (en) * | 1990-02-28 | 1993-05-23 | Novgorodskij Politekhn I | Knurling capstan |
| DE10230526A1 (de) * | 2002-07-05 | 2004-01-22 | Hegenscheidt-Mfd Gmbh & Co. Kg | Festwalzrollenkopf |
| DE10357441B3 (de) * | 2003-12-09 | 2005-03-24 | Hegenscheidt-Mfd Gmbh & Co. Kg | Festwalzrollenkopf für Split-Pin-Kurbelwellen |
| DE202005021529U1 (de) * | 2005-10-18 | 2008-07-17 | Hegenscheidt-Mfd Gmbh & Co. Kg | Festwalzrollenkopf eines Festwalzwerkzeugs |
| KR20070090229A (ko) * | 2007-07-03 | 2007-09-05 | 헤겐샤이트-엠에프데 게엠베하 운트 코. 카게 | 심도 압연 롤러 헤드 |
-
2009
- 2009-09-25 DE DE202009012976U patent/DE202009012976U1/de not_active Expired - Lifetime
-
2010
- 2010-03-24 KR KR1020117025270A patent/KR101675080B1/ko active Active
- 2010-03-24 EP EP10734900A patent/EP2411182B1/de active Active
- 2010-03-24 US US13/257,616 patent/US8567025B2/en not_active Expired - Fee Related
- 2010-03-24 PL PL10734900T patent/PL2411182T3/pl unknown
- 2010-03-24 CN CN201080013602.0A patent/CN102405126B/zh active Active
- 2010-03-24 JP JP2012501132A patent/JP5636035B2/ja active Active
- 2010-03-24 BR BRPI1014205-3A patent/BRPI1014205B1/pt active IP Right Grant
- 2010-03-24 RU RU2011142914/02A patent/RU2521912C2/ru active
- 2010-03-24 WO PCT/DE2010/000362 patent/WO2010108489A1/de not_active Ceased
- 2010-03-24 RO ROA201100980A patent/RO129222B1/ro unknown
Cited By (1)
| Publication number | Priority date | Publication date | Assignee | Title |
|---|---|---|---|---|
| DE102020130537A1 (de) | 2020-11-19 | 2022-05-19 | Hegenscheidt-Mfd Gmbh | Walzrolle zum Walzen, insbesondere zum Festwalzen von Kurbelwellen sowie Verfahren zum Walzen mit einer entsprechenden Walzrolle |
Also Published As
| Publication number | Publication date |
|---|---|
| RO129222A2 (ro) | 2014-02-28 |
| KR101675080B1 (ko) | 2016-11-10 |
| KR20120000101A (ko) | 2012-01-03 |
| EP2411182A1 (de) | 2012-02-01 |
| BRPI1014205A2 (pt) | 2016-04-19 |
| JP2013505840A (ja) | 2013-02-21 |
| DE202009012976U1 (de) | 2010-02-11 |
| PL2411182T3 (pl) | 2013-09-30 |
| RU2011142914A (ru) | 2013-04-27 |
| CN102405126B (zh) | 2014-02-26 |
| US8567025B2 (en) | 2013-10-29 |
| CN102405126A (zh) | 2012-04-04 |
| RU2521912C2 (ru) | 2014-07-10 |
| WO2010108489A1 (de) | 2010-09-30 |
| JP5636035B2 (ja) | 2014-12-03 |
| US20120090141A1 (en) | 2012-04-19 |
| BRPI1014205B1 (pt) | 2020-12-15 |
| RO129222B1 (ro) | 2017-11-29 |
Similar Documents
| Publication | Publication Date | Title |
|---|---|---|
| DE19830903B4 (de) | Einrichtung sowie Verfahren zur Bearbeitung von Bohrungen in einem Werkstück unter Verwendung einer solchen Einrichtung | |
| DE69907611T2 (de) | Anordnung zur befestigung eines stanzwerkzeuges in einer rotationsstanzmaschine für laminiertes material | |
| DE102013107858B4 (de) | Werkzeug zum Dreh-Drehräumen von Werkstücken | |
| DE8321186U1 (de) | Vorrichtung zum Befestigen von Maschinenteilen | |
| DE3809492C1 (enExample) | ||
| EP2411182B1 (de) | An einem gehäuse lösbar angeordnete festwalzrolle eines festwalzwerkzeugs | |
| EP3108999B1 (de) | Vorrichtung zum bearbeiten eines werkstücks | |
| DE102007057157A1 (de) | Werkzeug und Werkzeugaufnahme eines Nutstoßaggregats | |
| EP2213414B1 (de) | Breitschleifmaschine | |
| DE3142663A1 (de) | "spritzrohr mit flachstrahlduesen" | |
| WO2017202509A1 (de) | Schneidplatte für ein fräswerkzeug und fräswerkzeug | |
| DE3511580C2 (enExample) | ||
| EP1833633B1 (de) | Messerkopf mit zwei mit ihren schneidkanten fluchtenden schneidplatten für eine fräsvorrichtung | |
| DE3827077C1 (enExample) | ||
| DE102015107623B4 (de) | Werkzeugmaschine mit Spanförderer | |
| EP2735370B1 (de) | Schleißteilwechselvorrichtung | |
| DE572765C (de) | Trennschleuder mit Einsatztellern | |
| DE3424178A1 (de) | Werkzeugspeicher fuer automatische werkzeugwechseleinrichtung | |
| DE20219338U1 (de) | Spanneinrichtung zur Befestigung eines Einzugsbolzens mit Nuten | |
| DE3021683C2 (de) | Walze für ein Doppel-Duo-Reversier-Walzgerüst | |
| DE112014004828T5 (de) | Gratbeständige Befestigungsmittel-montierte Lageranordnung | |
| DE2560099C2 (de) | Fräswerkzeug zur Bearbeitung von Kugelflächen an Werkstücken | |
| DE4221231C2 (de) | Vorrichtung zur Montage von Maschinenelementen | |
| DE20015059U1 (de) | Kugelrolleneinheit | |
| DE397178C (de) | Gewindebohrer, Ahle oder aehnliches Werkzeug mit verstellbarem Einsatzstueck |
Legal Events
| Date | Code | Title | Description |
|---|---|---|---|
| PUAI | Public reference made under article 153(3) epc to a published international application that has entered the european phase |
Free format text: ORIGINAL CODE: 0009012 |
|
| 17P | Request for examination filed |
Effective date: 20111021 |
|
| AK | Designated contracting states |
Kind code of ref document: A1 Designated state(s): AT BE BG CH CY CZ DE DK EE ES FI FR GB GR HR HU IE IS IT LI LT LU LV MC MK MT NL NO PL PT RO SE SI SK SM TR |
|
| DAX | Request for extension of the european patent (deleted) | ||
| GRAP | Despatch of communication of intention to grant a patent |
Free format text: ORIGINAL CODE: EPIDOSNIGR1 |
|
| RIC1 | Information provided on ipc code assigned before grant |
Ipc: B24B 39/04 20060101AFI20120720BHEP Ipc: B21H 7/18 20060101ALI20120720BHEP |
|
| GRAS | Grant fee paid |
Free format text: ORIGINAL CODE: EPIDOSNIGR3 |
|
| GRAA | (expected) grant |
Free format text: ORIGINAL CODE: 0009210 |
|
| AK | Designated contracting states |
Kind code of ref document: B1 Designated state(s): AT BE BG CH CY CZ DE DK EE ES FI FR GB GR HR HU IE IS IT LI LT LU LV MC MK MT NL NO PL PT RO SE SI SK SM TR |
|
| REG | Reference to a national code |
Ref country code: GB Ref legal event code: FG4D Free format text: NOT ENGLISH |
|
| REG | Reference to a national code |
Ref country code: CH Ref legal event code: EP |
|
| REG | Reference to a national code |
Ref country code: AT Ref legal event code: REF Ref document number: 597324 Country of ref document: AT Kind code of ref document: T Effective date: 20130315 |
|
| REG | Reference to a national code |
Ref country code: IE Ref legal event code: FG4D Free format text: LANGUAGE OF EP DOCUMENT: GERMAN |
|
| REG | Reference to a national code |
Ref country code: DE Ref legal event code: R096 Ref document number: 502010002367 Country of ref document: DE Effective date: 20130418 |
|
| REG | Reference to a national code |
Ref country code: NL Ref legal event code: VDEP Effective date: 20130220 |
|
| REG | Reference to a national code |
Ref country code: LT Ref legal event code: MG4D |
|
| PG25 | Lapsed in a contracting state [announced via postgrant information from national office to epo] |
Ref country code: ES Free format text: LAPSE BECAUSE OF FAILURE TO SUBMIT A TRANSLATION OF THE DESCRIPTION OR TO PAY THE FEE WITHIN THE PRESCRIBED TIME-LIMIT Effective date: 20130531 Ref country code: IS Free format text: LAPSE BECAUSE OF FAILURE TO SUBMIT A TRANSLATION OF THE DESCRIPTION OR TO PAY THE FEE WITHIN THE PRESCRIBED TIME-LIMIT Effective date: 20130620 Ref country code: BG Free format text: LAPSE BECAUSE OF FAILURE TO SUBMIT A TRANSLATION OF THE DESCRIPTION OR TO PAY THE FEE WITHIN THE PRESCRIBED TIME-LIMIT Effective date: 20130520 Ref country code: SE Free format text: LAPSE BECAUSE OF FAILURE TO SUBMIT A TRANSLATION OF THE DESCRIPTION OR TO PAY THE FEE WITHIN THE PRESCRIBED TIME-LIMIT Effective date: 20130220 Ref country code: LT Free format text: LAPSE BECAUSE OF FAILURE TO SUBMIT A TRANSLATION OF THE DESCRIPTION OR TO PAY THE FEE WITHIN THE PRESCRIBED TIME-LIMIT Effective date: 20130220 Ref country code: NO Free format text: LAPSE BECAUSE OF FAILURE TO SUBMIT A TRANSLATION OF THE DESCRIPTION OR TO PAY THE FEE WITHIN THE PRESCRIBED TIME-LIMIT Effective date: 20130520 |
|
| PG25 | Lapsed in a contracting state [announced via postgrant information from national office to epo] |
Ref country code: SI Free format text: LAPSE BECAUSE OF FAILURE TO SUBMIT A TRANSLATION OF THE DESCRIPTION OR TO PAY THE FEE WITHIN THE PRESCRIBED TIME-LIMIT Effective date: 20130220 Ref country code: PT Free format text: LAPSE BECAUSE OF FAILURE TO SUBMIT A TRANSLATION OF THE DESCRIPTION OR TO PAY THE FEE WITHIN THE PRESCRIBED TIME-LIMIT Effective date: 20130620 Ref country code: GR Free format text: LAPSE BECAUSE OF FAILURE TO SUBMIT A TRANSLATION OF THE DESCRIPTION OR TO PAY THE FEE WITHIN THE PRESCRIBED TIME-LIMIT Effective date: 20130521 Ref country code: LV Free format text: LAPSE BECAUSE OF FAILURE TO SUBMIT A TRANSLATION OF THE DESCRIPTION OR TO PAY THE FEE WITHIN THE PRESCRIBED TIME-LIMIT Effective date: 20130220 Ref country code: FI Free format text: LAPSE BECAUSE OF FAILURE TO SUBMIT A TRANSLATION OF THE DESCRIPTION OR TO PAY THE FEE WITHIN THE PRESCRIBED TIME-LIMIT Effective date: 20130220 |
|
| BERE | Be: lapsed |
Owner name: HEGENSCHEIDT-MFD G.M.B.H. & CO. KG Effective date: 20130331 |
|
| PG25 | Lapsed in a contracting state [announced via postgrant information from national office to epo] |
Ref country code: HR Free format text: LAPSE BECAUSE OF FAILURE TO SUBMIT A TRANSLATION OF THE DESCRIPTION OR TO PAY THE FEE WITHIN THE PRESCRIBED TIME-LIMIT Effective date: 20130220 |
|
| REG | Reference to a national code |
Ref country code: PL Ref legal event code: T3 |
|
| PG25 | Lapsed in a contracting state [announced via postgrant information from national office to epo] |
Ref country code: DK Free format text: LAPSE BECAUSE OF FAILURE TO SUBMIT A TRANSLATION OF THE DESCRIPTION OR TO PAY THE FEE WITHIN THE PRESCRIBED TIME-LIMIT Effective date: 20130220 Ref country code: EE Free format text: LAPSE BECAUSE OF FAILURE TO SUBMIT A TRANSLATION OF THE DESCRIPTION OR TO PAY THE FEE WITHIN THE PRESCRIBED TIME-LIMIT Effective date: 20130220 Ref country code: MC Free format text: LAPSE BECAUSE OF NON-PAYMENT OF DUE FEES Effective date: 20130331 Ref country code: SK Free format text: LAPSE BECAUSE OF FAILURE TO SUBMIT A TRANSLATION OF THE DESCRIPTION OR TO PAY THE FEE WITHIN THE PRESCRIBED TIME-LIMIT Effective date: 20130220 Ref country code: NL Free format text: LAPSE BECAUSE OF FAILURE TO SUBMIT A TRANSLATION OF THE DESCRIPTION OR TO PAY THE FEE WITHIN THE PRESCRIBED TIME-LIMIT Effective date: 20130220 Ref country code: RO Free format text: LAPSE BECAUSE OF FAILURE TO SUBMIT A TRANSLATION OF THE DESCRIPTION OR TO PAY THE FEE WITHIN THE PRESCRIBED TIME-LIMIT Effective date: 20130220 |
|
| PLBE | No opposition filed within time limit |
Free format text: ORIGINAL CODE: 0009261 |
|
| STAA | Information on the status of an ep patent application or granted ep patent |
Free format text: STATUS: NO OPPOSITION FILED WITHIN TIME LIMIT |
|
| REG | Reference to a national code |
Ref country code: IE Ref legal event code: MM4A |
|
| 26N | No opposition filed |
Effective date: 20131121 |
|
| PG25 | Lapsed in a contracting state [announced via postgrant information from national office to epo] |
Ref country code: IE Free format text: LAPSE BECAUSE OF NON-PAYMENT OF DUE FEES Effective date: 20130324 Ref country code: BE Free format text: LAPSE BECAUSE OF NON-PAYMENT OF DUE FEES Effective date: 20130331 |
|
| REG | Reference to a national code |
Ref country code: DE Ref legal event code: R097 Ref document number: 502010002367 Country of ref document: DE Effective date: 20131121 |
|
| PG25 | Lapsed in a contracting state [announced via postgrant information from national office to epo] |
Ref country code: MT Free format text: LAPSE BECAUSE OF FAILURE TO SUBMIT A TRANSLATION OF THE DESCRIPTION OR TO PAY THE FEE WITHIN THE PRESCRIBED TIME-LIMIT Effective date: 20130220 |
|
| REG | Reference to a national code |
Ref country code: CH Ref legal event code: PL |
|
| PG25 | Lapsed in a contracting state [announced via postgrant information from national office to epo] |
Ref country code: CH Free format text: LAPSE BECAUSE OF NON-PAYMENT OF DUE FEES Effective date: 20140331 Ref country code: LI Free format text: LAPSE BECAUSE OF NON-PAYMENT OF DUE FEES Effective date: 20140331 |
|
| PG25 | Lapsed in a contracting state [announced via postgrant information from national office to epo] |
Ref country code: SM Free format text: LAPSE BECAUSE OF FAILURE TO SUBMIT A TRANSLATION OF THE DESCRIPTION OR TO PAY THE FEE WITHIN THE PRESCRIBED TIME-LIMIT Effective date: 20130220 |
|
| PG25 | Lapsed in a contracting state [announced via postgrant information from national office to epo] |
Ref country code: TR Free format text: LAPSE BECAUSE OF FAILURE TO SUBMIT A TRANSLATION OF THE DESCRIPTION OR TO PAY THE FEE WITHIN THE PRESCRIBED TIME-LIMIT Effective date: 20130220 Ref country code: CY Free format text: LAPSE BECAUSE OF FAILURE TO SUBMIT A TRANSLATION OF THE DESCRIPTION OR TO PAY THE FEE WITHIN THE PRESCRIBED TIME-LIMIT Effective date: 20130220 |
|
| PG25 | Lapsed in a contracting state [announced via postgrant information from national office to epo] |
Ref country code: HU Free format text: LAPSE BECAUSE OF FAILURE TO SUBMIT A TRANSLATION OF THE DESCRIPTION OR TO PAY THE FEE WITHIN THE PRESCRIBED TIME-LIMIT; INVALID AB INITIO Effective date: 20100324 Ref country code: LU Free format text: LAPSE BECAUSE OF NON-PAYMENT OF DUE FEES Effective date: 20130324 Ref country code: MK Free format text: LAPSE BECAUSE OF FAILURE TO SUBMIT A TRANSLATION OF THE DESCRIPTION OR TO PAY THE FEE WITHIN THE PRESCRIBED TIME-LIMIT Effective date: 20130220 |
|
| REG | Reference to a national code |
Ref country code: FR Ref legal event code: PLFP Year of fee payment: 7 |
|
| REG | Reference to a national code |
Ref country code: FR Ref legal event code: PLFP Year of fee payment: 8 |
|
| REG | Reference to a national code |
Ref country code: FR Ref legal event code: PLFP Year of fee payment: 9 |
|
| PGFP | Annual fee paid to national office [announced via postgrant information from national office to epo] |
Ref country code: AT Payment date: 20240321 Year of fee payment: 15 |
|
| PGFP | Annual fee paid to national office [announced via postgrant information from national office to epo] |
Ref country code: DE Payment date: 20240320 Year of fee payment: 15 Ref country code: CZ Payment date: 20240314 Year of fee payment: 15 Ref country code: GB Payment date: 20240320 Year of fee payment: 15 |
|
| PGFP | Annual fee paid to national office [announced via postgrant information from national office to epo] |
Ref country code: PL Payment date: 20240223 Year of fee payment: 15 Ref country code: IT Payment date: 20240329 Year of fee payment: 15 Ref country code: FR Payment date: 20240327 Year of fee payment: 15 |
|
| REG | Reference to a national code |
Ref country code: DE Ref legal event code: R119 Ref document number: 502010002367 Country of ref document: DE |
|
| PG25 | Lapsed in a contracting state [announced via postgrant information from national office to epo] |
Ref country code: CZ Free format text: LAPSE BECAUSE OF NON-PAYMENT OF DUE FEES Effective date: 20250324 |
|
| REG | Reference to a national code |
Ref country code: AT Ref legal event code: MM01 Ref document number: 597324 Country of ref document: AT Kind code of ref document: T Effective date: 20250324 |
|
| GBPC | Gb: european patent ceased through non-payment of renewal fee |
Effective date: 20250324 |