EP2263508A1 - Flachbeutel für Staubsauger mit mindestens zwei Diffusoren - Google Patents

Flachbeutel für Staubsauger mit mindestens zwei Diffusoren Download PDF

Info

Publication number
EP2263508A1
EP2263508A1 EP20090008065 EP09008065A EP2263508A1 EP 2263508 A1 EP2263508 A1 EP 2263508A1 EP 20090008065 EP20090008065 EP 20090008065 EP 09008065 A EP09008065 A EP 09008065A EP 2263508 A1 EP2263508 A1 EP 2263508A1
Authority
EP
European Patent Office
Prior art keywords
diffusers
flat bag
bag according
bag
strips
Prior art date
Legal status (The legal status is an assumption and is not a legal conclusion. Google has not performed a legal analysis and makes no representation as to the accuracy of the status listed.)
Granted
Application number
EP20090008065
Other languages
English (en)
French (fr)
Other versions
EP2263508B1 (de
Inventor
Jan Schultink
Ralf Sauer
Current Assignee (The listed assignees may be inaccurate. Google has not performed a legal analysis and makes no representation or warranty as to the accuracy of the list.)
Eurofilters NV
Original Assignee
Eurofilters NV
Priority date (The priority date is an assumption and is not a legal conclusion. Google has not performed a legal analysis and makes no representation as to the accuracy of the date listed.)
Filing date
Publication date
Priority to ES09008065.6T priority Critical patent/ES2549756T3/es
Application filed by Eurofilters NV filed Critical Eurofilters NV
Priority to EP09008065.6A priority patent/EP2263508B1/de
Priority to PCT/EP2010/003524 priority patent/WO2010145783A1/de
Priority to ES10728122T priority patent/ES2854836T3/es
Priority to DE202010018516.5U priority patent/DE202010018516U1/de
Priority to US13/377,656 priority patent/US8702827B2/en
Priority to EP10728122.2A priority patent/EP2442703B1/de
Priority to CN201080027321.0A priority patent/CN102802485B/zh
Priority to AU2010262120A priority patent/AU2010262120B2/en
Publication of EP2263508A1 publication Critical patent/EP2263508A1/de
Application granted granted Critical
Publication of EP2263508B1 publication Critical patent/EP2263508B1/de
Active legal-status Critical Current
Anticipated expiration legal-status Critical

Links

Images

Classifications

    • AHUMAN NECESSITIES
    • A47FURNITURE; DOMESTIC ARTICLES OR APPLIANCES; COFFEE MILLS; SPICE MILLS; SUCTION CLEANERS IN GENERAL
    • A47LDOMESTIC WASHING OR CLEANING; SUCTION CLEANERS IN GENERAL
    • A47L9/00Details or accessories of suction cleaners, e.g. mechanical means for controlling the suction or for effecting pulsating action; Storing devices specially adapted to suction cleaners or parts thereof; Carrying-vehicles specially adapted for suction cleaners
    • A47L9/10Filters; Dust separators; Dust removal; Automatic exchange of filters
    • A47L9/14Bags or the like; Rigid filtering receptacles; Attachment of, or closures for, bags or receptacles

Definitions

  • the present invention relates to a flat bag for vacuum cleaner, which has in its interior at least two diffusers of strips of material and / or fabrics with elongated flow openings.
  • Such flat bags are characterized by an excellent dust storage capacity and an extension of the service life.
  • EP 1 787 560 shows flow distributor in the form of attached in the region of the inlet opening of the filter bag boxes or strips of material, which are able to divide the incoming air flow into partial streams and to divert.
  • a second flow distributor complements the function of the first flow distributor. From the DE 20 2008 008 989 and the DE 20 2008 003 248 For example, combinations of two flow distributors with a spacer are known.
  • a filter bag that includes a bag having an interior partitioned into at least two chambers.
  • the subdivision is by a partition defined at three side edges, with a transition between the first and second chambers formed at the fourth side edge.
  • the partition wall is welded to the filter layers only at one side edge for the entire length and is welded at the opposite side to a strip at the upper layer of filter material.
  • the DE 20 2008 007 717 describes a filter bag in which a flat, multi-layer filter insert is arranged in the interior, which is at least partially connected to the filter bag walls.
  • dust is to be stored between the at least two layers of the filter insert.
  • the upper of the two layers can be perforated or slotted.
  • the filter insert can be formed as a continuous strip which is fixed on two opposite edges of the bag.
  • the DE 20 2007 010 692 relates to a filter bag in which extends between the two filter walls, a filling layer of fiber or yarn material, which is connected to both filter walls and is pulled apart during deployment of the bag so that a net-like structure is formed in the bag.
  • Another air distributor is from the DE 10 2006 051 117 known.
  • at least two layers of material are arranged one above the other between the bag walls, the layers having a smaller extent than the two bag walls in a first area direction and having the same extent as the bag walls in the area direction orthogonal to the first area direction.
  • materials microfiber fleece or paper are called.
  • the DE 2006 016 304 discloses a bag with at least one guide element, by means of which the incoming air flow is deflectable.
  • the guide element is fixed adjacent to the inlet opening.
  • a Miele bag already on the market has an arrangement of a deflector mounted just below the inlet opening.
  • This deflection device consists of a sheet which is attached directly to the top of the bag on both sides of the inlet opening. The purpose of this deflection device is to redirect the air flow sucked in through the inlet opening directly in the region of the inlet opening.
  • This deflection device is designed such that, due to a predetermined length or area, it is welded directly to the bag wall at a distance from the inlet opening. The area of this deflector is therefore below about 10% of the bag surface.
  • This filter bag is in Fig. 3 outlined.
  • the problem with these bags is that due to the relatively small dimensioned dimensions of the first deflecting device (SR1), blockages of the bag may occur due to dust accumulated between the inlet opening and the deflecting device, so that the bag becomes unusable.
  • SR1 first deflecting device
  • a flat bag for a vacuum cleaner with a bag top and a bottom bag is provided, the bag walls are formed from an air-permeable filter material and wherein an inlet opening for the air to be filtered is introduced in the bag top, wherein in the interior of the flat bag below the top of the bag in a first Level and between the first level and the bag bottom is provided in at least one other level in each level at least one diffuser, the diffuser consists of at least two mutually arranged strips of material and / or fabrics with elongated flow openings and the diffusers at least on one side are attached to the bag wall, with the proviso that the diffusers are in the form of sheets with elongated flow openings arranged in the first plane in the region of the inlet opening and on both sides of the Bag top are attached with an area of ⁇ 10%, based on the entire bag surface, the width of the strip of material by the diameter of the inflow opening is defined ⁇ 50% are excluded.
  • the diffusers which are formed from strips of material or structures provided with flow openings, thereby cause turbulence of the inflowing, laden with dirt and / or dust particles Air.
  • the service life of the bag can be significantly extended.
  • the flat bag are arranged in the diffuser in the form of sheets with elongated flow openings in the first level directly under the filter bag top in the region of the inlet opening, these diffusers are attached to both sides of the bag top and the surface thereof is less than 10%, based on the total bag surface, with the width of the strips of material defined by the slits being defined as ⁇ 50% of the diameter of the inlet opening.
  • this recessed embodiment of the flat bag thus arranged in level 1 diffuser is shorter than the total length or width of the flat bag. Both ends of the diffuser formed as a slit sheet in level 1 are fixed directly to the bag top. The diffuser completely covers the inlet opening.
  • the filter bags according to the invention have an excellent dust storage capacity and thus have an increased service life. It is also observed that blockages in the region of the air inlet of the bag - as in the known from the prior art bags according to Fig. 3 often the case could be avoided.
  • the strips of material are arranged movably relative to one another; It is also possible that the material strips are spaced apart from each other or that the flow openings of the fabrics are dimensioned so that the resulting strips of material are spaced from each other.
  • the width of the material strips is 2 mm to a maximum of 50% of the width of the bag top.
  • Particularly preferred widths of the material strips are in the range between 5 and 35% of the width of the bag. The same applies to the arrangement of the elongate flow openings in the fabrics to each other, wherein the flow openings determine the strip width.
  • the elongated flow openings of the fabrics are linear.
  • the flow openings may be parallel or meander-shaped or zigzag-shaped, and spiral-shaped linear guides are also conceivable.
  • the line-shaped, elongated flow openings have different lengths within the fabric. This embodiment of the invention comes into play when at least two flow openings are present on the sheet. These flow openings can have different lengths, resulting in improved stability of the diffuser.
  • both diffusers are attached to both sides of the bag wall.
  • both diffusers ie the level 1 and the level 2 respectively fixed to the bag top or bottom bag.
  • the fixation is preferably carried out respectively in the end region of the two diffusers, so that they are only selectively connected to the bag wall and are flexible in the intermediate region due to the pliable material and can be moved by the incoming air.
  • the diffusers have approximately the same length and / or width as the Beutelober- or -unterseite.
  • a fixation of the diffusers in this case can then be conveniently carried out by the fact that the ends of the diffusers are introduced between the top and bottom of the filter bag and are fixed together with the top and bottom of the finished bag.
  • the fixation of the diffusers is thus carried out simultaneously with the adhesive or welding step for the production of the filter bag itself. Insofar, this possibility of fixation allows an extremely cost-effective and simple production of the filter bag.
  • the diffusers are narrower and / or shorter than the bag top and bottom.
  • the diffusers have a greater length and / or width as the Beutelober- or -unterseite and folded.
  • the folding of the diffusers is expediently carried out when the length of the diffusers is greater than the dimension of the length and / or width of the filter bag.
  • the folding is then expediently carried out in a zigzag form, wherein, for example, in the case of a diffuser in strip form, a partial overlapping of the strips of the diffuser takes place one above the other. In this respect, an increase of the attack surface for the incoming air is made possible, which leads to a further improvement of the properties of the filter bag.
  • a further embodiment of the present invention provides that the diffusers are formed in the form of strips of material and / or twisted. Again, there is an increase in the attack surface for the incoming air, with the same advantages come into play, as they have already been described in the folded form of the diffusers.
  • the diffusers in the form of strips of material are formed by filament bundles or bundles of film strips.
  • the strips of material themselves are formed from a plurality of filaments or threads or the like.
  • advantages of the present invention arise when at least one diffuser is arranged in a plane to at least one diffuser in the next plane so that the strips of material and / or the elongated flow openings intersect.
  • the material strips or the arrangements of flat structures of the diffusers in the plane 1 and the plane 2 do not extend parallel to each other in perspective.
  • the intersecting diffusers are arranged orthogonal to each other, but other crossing angles are the Crossing diffusers possible, so the crossing diffusers are arranged in a different from the orthogonal arrangement.
  • At least two diffusers can each be arranged in a plane relative to one another such that the strips of material and / or the elongate flow openings are not arranged parallel to one another.
  • the air streams entering the filter bag can be specifically swirled.
  • the materials of the limp diffusers preferably consist of air-permeable materials and / or of air-impermeable materials.
  • films for example plastic films (for example PE, PP), are suitable as air-impermeable materials.
  • air-permeable materials laminates of air-permeable materials and / or flow-apertured air-impermeable materials are preferably used.
  • the diffusers are connected to the bag wall via a splice and / or welds.
  • the flat bag is formed by two webs welded together in the edge region from the filter material.
  • the flat bag can be designed in any geometric shapes, in particular here are quadrangular, hexagonal or octagonal configurations in question.
  • the diffusers are connected to the edge region of the flat bag.
  • the present flat bag according to the invention is a gusseted bag.
  • the diffusers are preferably connected to the side fold of the flat bag.
  • the inside of the filter bag top side has a foil (for example a PE foil) in the area of the air inlet opening.
  • This film may be glued or welded, for example.
  • the filter bags used in the examples are shown to illustrate the arrangement of the diffusers inside in the figures shown below.
  • the diffusers are arranged on two levels D1 and D2 in the interior of the filter bag, wherein the plane D1 represents the filter bag top facing plane and the plane D2 represents the filter bag bottom facing plane.
  • the bags are viewed in projection from the bottom of the bag, looking at the top of the bag.
  • all diffusers are formed from strips of a three layer nonwoven material.
  • an arrangement of the diffusers means "longitudinally” a vertical arrangement of the diffusers shown in the figures, while “transverse” means a horizontal arrangement of the diffusers within the filter bag. A distinction in this regard is necessary because the inlet opening is asymmetrical with respect to the center of gravity the filter bag is arranged.
  • filter bag type GN from Miele
  • DMT standard dust - type 8 50-400 g, each in 50 g interval steps.
  • the two lower lines of the tables each show the measured pressure loss in% after uptake of 200 or 400 g of DMT standard dust, this value being the measured pressure value after the respective amount of dust, based on the measured pressure, with the dust filter bag in the vacuum cleaner was determined without previous recording of dust.
  • Comparative Examples 1 * dust filter bag without flow straightener or diffusers, see FIG. 1
  • 2 * Filter bag with continuous fleece layer, see FIG. 2
  • a significant improvement in the pressure drop or pressure loss can be observed for all recorded amounts of dust.
  • the dust filter bags according to the invention have a significantly increased service life or dust absorption capacity compared to the filter bags according to Comparative Examples 1 * and 2 *.
  • FIGS. 22 and 23 The basic structure of such filter bag is in the FIGS. 22 and 23 indicated, in FIG. 22 the basic dimensions of this bag type are given.
  • the bag has a characteristic shape and may have in its interior several levels of diffusers.
  • FIGS. 22 and 23 In each case 2 levels of diffusers are shown: In Fig. 22 is in level D1 a longitudinal diffuser (3 x 22 mm) attached and in level D2 a transverse diffuser (10 x 11 mm).
  • the diffusers are arranged in two levels D1 and D2, and here as in the FIGS. 1 to 19 a viewing takes place from the bottom of the bag to the top of the bag.
  • the arranged in the plane D1 diffusers are facing the bag top, while lying in the plane D2 diffusers facing the bottom of the bag.

Landscapes

  • Engineering & Computer Science (AREA)
  • Mechanical Engineering (AREA)
  • Filtering Of Dispersed Particles In Gases (AREA)
  • Filters For Electric Vacuum Cleaners (AREA)
  • Bag Frames (AREA)

Abstract

Die vorliegende Erfindung betrifft einen Flachbeutel für Staubsauger, der in seinem Inneren mindestens zwei Diffusoren aus Materialstreifen und/oder Flächengebilden mit länglich geformten Strömungsöffnungen aufweist. Derartige Flachbeutel zeichnen sich durch eine exzellente Staubspeicherfähigkeit und eine Verlängerung der Nutzungsdauer aus.

Description

  • Die vorliegende Erfindung betrifft einen Flachbeutel für Staubsauger, der in seinem Inneren mindestens zwei Diffusoren aus Materialstreifen und/oder Flächengebilden mit länglich geformten Strömungsöffnungen aufweist. Derartige Flachbeutel zeichnen sich durch eine exzellente Staubspeicherfähigkeit und eine Verlängerung der Nutzungsdauer aus.
  • Die Erhöhung der Staubspeicherfähigkeit - also Verlängerung der Nutzungsdauer (Standzeit) - einer Staubsaugerfiltertüte ist neben der verbesserten Abscheideleistung (Partikelrückhaltung) ein wesentliches Ziel bei der Entwicklung von Filterbeuteln.
  • Dies lässt sich durch innovative Beutelmaterialien oder auch durch den Einbau von die Luftströmung im Filterbeutel beeinflussenden Materialflächen realisieren. So offenbaren die EP 0 960 645 und die EP 1 795 247 Vliesmaterialien für Staubsaugerbeutel mit besonders guter Staubspeicherkapazität.
  • EP 1 787 560 zeigt Strömungsverteiler in Form von im Bereich der Einlassöffnung des Filterbeutels angebrachten Kästchen oder Materialstreifen, die in der Lage sind, den eintretenden Luftstrom in Teilströme aufzuteilen und umzulenken. Bei der EP 1 804 635 wird der Gedanke dahingehend ausgebaut, dass ein zweiter Strömungsverteiler die Funktion des ersten Strömungsverteilers ergänzt. Aus der DE 20 2008 008 989 und der DE 20 2008 003 248 sind Kombinationen aus zwei Strömungsverteilern mit einem Beabstandungsmittel bekannt.
  • Aus der DE 20 2006 016 303 ist ein Filterbeutel bekannt, der einen Beutel mit einem Innenraum umfasst, der in mindestens zwei Kammern unterteilt ist. Bei einer Ausführungsform erfolgt die Unterteilung durch eine Trennwand, die an drei Seitenkanten festgelegt ist, wobei an der vierten Seitenkante ein Übergang zwischen der ersten und der zweiten Kammer gebildet wird. Bei einer anderen Ausführungsform ist die Trennwand nur an einer Seitenkante für die gesamte Länge mit den Filterlagen verschweißt und ist an der gegenüberliegenden Seite mit einem Streifen an der oberen Lage aus Filtermaterial verschweißt.
  • Die DE 20 2008 007 717 beschreibt einen Filterbeutel bei dem im Innenraum eine flächige, mehrlagige Filtereinlage angeordnet ist, die zumindest teilweise mit den Filterbeutelwänden verbunden ist. Dabei soll Staub zwischen die mindestens zwei Lagen der Filtereinlage eingelagert werden. Dazu kann die obere der beiden Lagen gelocht oder geschlitzt sein. Die Filtereinlage kann als ein durchgehender Streifen ausgebildet sein, der an zwei gegenüberliegenden Rändern des Beutels festgelegt ist.
  • Die DE 20 2007 010 692 betrifft einen Filterbeutel, bei dem sich zwischen den beiden Filterwänden eine Fülllage aus Faser- oder Garnmaterial erstreckt, die mit beiden Filterwänden verbunden ist und beim Entfalten des Beutels so auseinander gezogen wird, dass im Beutel ein netzartiges Gebilde entsteht.
  • Aus der DE 20 2006 019 108 ist ein Staubfilterbeutel mit einem im Inneren angebrachten Stauwandstück bekannt. Dieses Stauwandstück ist so vor der Einlassöffnung des Beutels befestigt, dass es sich im Betrieb ausbaucht und zwei Auslassöffnungen bildet, durch die der Luftstrom umgelenkt wird. Erfindungswesentlich ist, dass das Stauwandstück mit Abstand zur Beutelnaht befestigt ist und sich nicht unter dem Druck des Luftstromes an der hinteren Beutelwand anlegt.
  • Ein weiterer Luftverteiler ist aus der DE 10 2006 051 117 bekannt. Dabei sind mindestens zwei Materiallagen übereinander zwischen den Beutelwänden angeordnet, wobei die Lagen in einer ersten Flächenrichtung eine geringere Ausdehnung als die beiden Beutelwände aufweisen und in der zur ersten Flächenrichtung orthogonalen Flächenrichtung die gleiche Ausdehnung wie die Beutelwände aufweisen. Als Materialien werden Mikrofaservlies oder Papier genannt.
  • Die DE 2006 016 304 offenbart einen Beutel mit mindestens einem Leitelement, mittels dem der eintretende Luftstrom umlenkbar ist. Das Leitelement ist benachbart zur Einströmöffnung fixiert.
  • Ein bereits auf dem Markt befindlicher Beutel der Fa. Miele weist eine Anordnung einer Ablenkvorrichtung auf, die unmittelbar unter der Einlassöffnung angebracht ist. Diese Ablenkvorrichtung besteht aus einem Flächengebilde, das unmittelbar mit der Oberseite des Beutels beidseitig von der Einlassöffnung angebracht ist. Der Zweck dieser Ablenkvorrichtung besteht darin, den durch die Einlassöffnung eingesaugten Luftstrom unmittelbar im Bereich der Einlassöffnung umzulenken. Diese Ablenkvorrichtung ist so ausgebildet, dass sie aufgrund einer vorgegebenen Länge bzw. Fläche direkt mit der Beutelwandung beabstandet zur Einlassöffnung angeschweißt ist. Die Fläche dieser Ablenkvorrichtung beträgt deshalb unterhalb ca. 10 % der Beuteloberfläche. Dieser Filterbeutel ist in Fig. 3 skizziert. Problematisch bei diesen Beuteln ist jedoch, dass aufgrund der relativ klein bemessenen Dimensionierung der ersten Ablenkvorrichtung (SR1) es zu Verstopfungen des Beutels durch zwischen der Einströmöffnung und der Ablenkvorrichtung angesammeltem Staub kommen kann, so dass der Beutel unbrauchbar wird.
  • Allen zuvor genannten Staubsaugerbeuteln ist jedoch gemein, dass die einströmenden Schmutzpartikel nur unzulänglich verteilt werden, so dass es zu einer vorzeitigen Verstopfung des Staubsaugerbeutels kommt, was letztendlich zu einer verminderten Staubspeicherfähigkeit und einer deutlich unzulänglichen Standzeit des Staubsaugerbeutels führt.
  • Ausgehend hiervon war es Aufgabe der vorliegenden Erfindung, einen Staubsaugerfilterbeutel bereitzustellen, der eine erhöhte Staubspeicherfähigkeit und somit eine Verlängerung der Nutzungsdauer (Standzeit) gewährleistet. Zudem soll im Inneren des Beutels eine Verstopfung der Einlassöffnung verhindert werden.
  • Diese Aufgabe wird bezüglich des Flachbeutels für einen Staubsauger mit den Merkmalen des Patentanspruchs 1 gelöst, wobei die abhängigen Patentansprüche vorteilhafte Weiterbildungen darstellen.
  • Erfindungsgemäß wird somit ein Flachbeutel für einen Staubsauger mit einer Beuteloberseite und einer Beutelunterseite bereitgestellt, dessen Beutelwandungen aus einem luftdurchlässigen Filtermaterial gebildet sind und wobei in der Beuteloberseite eine Einlassöffnung für die zu filtrierende Luft eingebracht ist, wobei im Inneren des Flachbeutels unterhalb der Beuteloberseite in einer ersten Ebene und zwischen der ersten Ebene und der Beutelunterseite in mindestens einer weiteren Ebene jeweils in jeder Ebene mindestens ein Diffusor vorgesehen ist, wobei der Diffusor aus mindestens zwei zueinander angeordneten Materialstreifen und/oder aus Flächengebilden mit länglich geformten Strömungsöffnungen besteht und die Diffusoren mindestens an einer Seite an der Beutelwand befestigt sind, mit der Maßgabe, dass die Diffusoren in Form von Flächengebilden mit länglich geformten Strömungsöffnungen, die in der ersten Ebene im Bereich der Einlassöffnung angeordnet und beidseitig an der Beuteloberseite befestigt sind mit einer Fläche von < 10 %, bezogen auf die gesamte Beuteloberfläche, wobei die Breite der Materialstreifen durch den Durchmesser der Einströmungsöffnung ± 50 % definiert ist, ausgeschlossen sind.
  • Die Diffusoren, die aus Materialstreifen oder mit Strömungsöffnungen versehenen Flächengebilden gebildet sind, bewirken dabei eine Verwirbelung der einströmenden, mit Schmutz- und/oder Staubpartikeln beladenen Luft. Somit kann überraschenderweise die Standzeit des Beutels maßgeblich verlängert werden.
  • Somit beinhalten die Flachbeutel gemäß der vorliegenden Erfindung Diffusoren in mindestens 2 Ebenen zur Verwirbelung der eingesaugten Staubpartikel. Erfindungsgemäß wird unter einer Ebene eine gekrümmte oder ungekrümmte Fläche verstanden, die zwischen der die Beutelwandung bildenden Beuteloberseite und -unterseite angeordnet ist. Die Ebenen im Sinne der Erfindung werden somit durch die Anordnung der Diffusoren im Inneren des Filterbeutels durch Verbinden des Diffusors an mindestens 1 Stelle der Beutelwandung definiert. Ein Flachbeutel mit 2 Ebenen ist deshalb beispielsweise wie folgt aufgebaut:
    • Als erste Ebene wird dabei der Diffusor verstanden, der der Oberseite des Beutels zugewandt ist, als zweite Ebene der Diffusor, der unterhalb der ersten Ebene angeordnet ist und der Beutelunterseite zugewandt ist. Jede weitere Ebene wird zwischen der 2.
    • Ebene und der Beutelunterseite eingefügt. Die Diffusoren aus einem biegeschlaffem Material sind dabei entweder aus mindestens zwei zueinander angeordneten Materialstreifen gebildet, können aber auch aus Flächengebilden bestehen, die Strömungsöffnungen im Sinne von Schlitzen innerhalb dieser Flächengebilde aufweisen. Derartige Flächengebilde weisen somit mindestens einen Schlitz bzw. eine Durchtrennung auf, die jedoch nicht durchgehend über das gesamte Flächengebilde ausgeprägt ist, so dass an den Enden des Flächengebildes, also da, wo keine Schlitzung vorliegt, ein Zusammenhalt des Flächengebildes gewährleistet ist. Die geometrische Form der Materialstreifen bzw. der durch die Strömungsöffnungen gebildeten geometrischen Formen auf dem Flächengebilde ist dabei im Wesentlichen unerheblich; so können die Flächenstreifen beispielsweise als Streifen bzw. die Flächengebilde durch gerade Schlitze strukturiert sein, jedoch sind ebenso alle anderen möglichen geometrischen Formen an Materialstreifen bzw. Flächengebilden möglich, beispielsweise auch s-förmige Streifen bzw. Schlitzführungen, aber auch Durchlochungen etc.
  • Ausgenommen und daher nicht zur Erfindung gehörend sind Ausführungsformen des Flachbeutels, bei dem Diffusoren in Form von Flächengebilden mit länglich geformten Strömungsöffnungen in der ersten Ebene direkt unter der Filterbeuteloberseite im Bereich der Einlassöffnung angeordnet sind, wobei diese Diffusoren beidseitig an der Beuteloberseite befestigt sind und deren Fläche kleiner 10 %, bezogen auf die gesamte Beuteloberfläche, beträgt, wobei die Breite der durch die Schlitzungen definierten Materialstreifen bezüglich des Durchmessers der Einströmungsöffnung zu ± 50 % definiert ist. Bei dieser ausgenommenen Ausführungsform des Flachbeutels ist somit der in Ebene 1 angeordnete Diffusor kürzer als die Gesamtlänge oder Breite des Flachbeutels. Beide Enden des als geschlitztes Flächengebilde ausgebildeten Diffusors in Ebene 1 sind direkt an der Beuteloberseite fixiert. Der Diffusor überdeckt dabei die Einlassöffnung vollständig.
  • Überraschenderweise wurde gefunden, dass die erfindungsgemäßen Filterbeutel eine hervorragende Staubspeicherkapazität besitzen und damit eine erhöhte Standzeit aufweisen. Ebenso ist zu beobachten, dass Verstopfungen im Bereich des Lufteinlasses des Beutels - wie dies bei den aus dem Stand der Technik bekannten Beuteln gemäß Fig. 3 häufig der Fall sein kann - vermieden werden konnten.
  • In einer vorteilhaften erfindungsgemäßen Ausführungsform sind die Materialstreifen beweglich zueinander angeordnet; ebenso ist es möglich, dass die Materialstreifen zueinander beabstandet sind bzw. dass die Strömungsöffnungen der Flächengebilde so dimensioniert sind, dass die sich ergebenden Materialstreifen beabstandet zueinander sind.
  • Weiter bevorzugt ist, dass die Breite der Materialstreifen 2 mm bis maximal 50 % der Breite der Beuteloberseite beträgt. Besonders bevorzugte Breiten der Materialstreifen liegen dabei in Größenordnungen zwischen 5 und 35 % der Breite des Beutels. Gleiches gilt für die Anordnung der länglichen Strömungsöffnungen bei den Flächengebilden zueinander, wobei die Strömungsöffnungen die Streifenbreite bestimmen.
  • Weiter vorteilhaft ist, wenn die länglich geformten Strömungsöffnungen der Flächengebilde linienförmig sind. Für die länglichen Strömungsöffnungen sind jedoch quasi beliebige geometrische Formen möglich, so können die Strömungsöffnungen beispielsweise parallel oder mäanderförmig bzw. zickzackförmig ausgebildet sein, weiterhin sind ebenso spiralförmige Linienführungen denkbar.
  • In einer weiteren vorteilhaften Ausführungsform weisen die linienförmigen, länglichen Strömungsöffnungen unterschiedliche Länge innerhalb des Flächengebildes auf. Diese Ausführung der Erfindung kommt dann zum Tragen, wenn mindestens zwei Strömungsöffnungen auf dem Flächengebilde vorhanden sind. Diese Strömungsöffnungen können dabei unterschiedliche Länge aufweisen, was zu einer verbesserten Stabilität des Diffusors führt.
  • Bevorzugt ist ebenso, dass die Diffusoren beidseitig an der Beutelwandung befestigt sind. Bei dieser Ausführungsform sind somit beide Diffusoren, also die der Ebene 1 und der Ebene 2, jeweils an der Beuteloberseite bzw. Beutelunterseite fixiert. Die Fixierung erfolgt dabei bevorzugt jeweils im Endbereich der beiden Diffusoren, so dass diese lediglich punktuell mit der Beutelwandung verbunden sind und im dazwischen liegenden Bereich aufgrund des biegeschlaffen Materials flexibel sind und durch die einströmende Luft bewegt werden können.
  • Vorteilhaft ist ebenso, wenn die Diffusoren in etwa die gleiche Länge und/oder Breite wie die Beutelober- bzw. -unterseite aufweisen. Eine Fixierung der Diffusoren in diesem Fall kann dann zweckmäßigerweise dadurch erfolgen, dass die Enden der Diffusoren zwischen die Ober- und Unterseite des Filterbeutels eingebracht werden und zusammen mit der Ober- und Unterseite zum fertigen Beutel fixiert werden. Die Fixierung der Diffusoren erfolgt dabei also gleichzeitig mit dem Klebe- oder Schweißschritt zur Herstellung des Filterbeutels selbst. Insofern ermöglicht diese Möglichkeit der Fixierung eine äußerst kostengünstige und einfache Herstellung des Filterbeutels.
  • Als alternative Ausführungsform hierzu ist es jedoch ebenso möglich, dass die Diffusoren schmaler und/oder kürzer als die Beutelober- bzw. -unterseite sind. Hier ist es weiter möglich, dass die Diffusoren eine größere Länge und/oder Breite wie die Beutelober- bzw. -unterseite aufweisen und gefaltet vorliegen. Die Faltung der Diffusoren erfolgt zweckmäßigerweise dann, wenn die Länge der Diffusoren größer ist als die Abmessung der Länge und/oder Breite des Filterbeutels. Die Faltung erfolgt dann zweckmäßigerweise in Zickzackform, wobei beispielsweise bei einem Diffusor in Streifenform eine teilweise Überlappung der Streifen des Diffusors übereinander erfolgt. Insofern wird eine Erhöhung der Angriffsfläche für die einströmende Luft ermöglicht, was zu einer weiteren Verbesserung der Eigenschaften des Filterbeutels führt.
  • Eine weitere Ausführungsform der vorliegenden Erfindung sieht vor, dass die Diffusoren in Form von Materialstreifen gedreht und/oder gezwirbelt ausgebildet sind. Auch hier erfolgt eine Erhöhung der Angriffsfläche für die einströmende Luft, wobei die gleichen Vorteile zum Tragen kommen, wie sie bereits bei der gefalteten Form der Diffusoren beschrieben wurden.
  • Bevorzugt ist ebenso, dass die Diffusoren in Form von Materialstreifen durch Filamentbündel oder Bündel von Folienstreifen gebildet sind. Bei dieser Ausführungsform werden die Materialstreifen selbst aus einer Vielzahl von Filamenten oder Fäden oder ähnlichem gebildet.
  • Insbesondere ergeben sich Vorteile der vorliegenden Erfindung, wenn mindestens ein Diffusor in einer Ebene zu mindestens einem Diffusor in der nächsten Ebene so angeordnet ist, dass sich die Materialstreifen und/oder die länglich geformten Strömungsöffnungen kreuzen. Bei dieser Ausführungsform verlaufen also die Materialstreifen bzw. die Anordnungen aus Flächengebilden der Diffusoren in der Ebene 1 und der Ebene 2 perspektivisch nicht parallel zueinander.
  • Besonders bevorzugt ist hierbei, wenn die sich kreuzenden Diffusoren orthogonal zueinander angeordnet sind, jedoch sind auch andere Kreuzungswinkel der sich kreuzenden Diffusoren möglich, die sich kreuzenden Diffusoren sind also in einer von der orthogonalen abweichenden Anordnung angeordnet.
  • Ebenso können jeweils in einer Ebene mindestens zwei Diffusoren jeweils so zueinander angeordnet sein, dass die Materialstreifen und/oder die länglichen Strömungsöffnungen nicht parallel zueinander angeordnet sind. Mit einer derartigen Ausführungsform lassen sich die in den Filterbeutel eintretenden Luftströme gezielt verwirbeln.
  • Die Materialien der biegeschlaffen Diffusoren bestehen dabei bevorzugt aus luftdurchlässigen Materialien und/oder aus luftundurchlässigen Materialien. Als luftundurchlässige Materialien kommen dabei insbesondere Folien, beispielsweise Kunststofffolien (z.B. PE, PP), in Betracht. Als luftdurchlässige Materialien werden bevorzugt Laminate von luftdurchlässigen Materialien und/oder mit Strömungsöffnungen versehene luftundurchlässige Materialien verwendet.
  • Bevorzugt ist weiterhin, wenn die Diffusoren über eine Klebestelle und/oder Schweißstellen mit der Beutelwand verbunden sind.
  • In einer weiter bevorzugten Ausführungsform ist der Flachbeutel durch zwei im Randbereich miteinander verschweißte Bahnen aus dem Filtermaterial gebildet.
  • Der Flachbeutel kann dabei in beliebigen geometrischen Formen ausgestaltet sein, insbesondere kommen hierbei viereckige, sechseckige oder achteckige Ausgestaltungen in Frage.
  • Bevorzugt ist ebenso, wenn die Diffusoren mit dem Randbereich des Flachbeutels verbunden sind.
  • Insbesondere ist der vorliegende erfindungsgemäße Flachbeutel ein Seitenfaltenbeutel. Hierbei sind die Diffusoren bevorzugt mit der Seitenfalte des Flachbeutels verbunden.
  • Weitere Vorteile ergeben sich, wenn die Innenseite der Filterbeuteloberseite im Bereich der Lufteinlassöffnung eine Folie (z.B. eine PE-Folie) aufweist. Diese Folie kann beispielsweise aufgeklebt oder - geschweißt sein. Dadurch lassen sich Staubablagerungen beim Betrieb im Bereich der Einlassöffnung nahezu vollständig vermeiden, so dass die Verschlussfunktion der Klappe nicht beeinträchtigt wird.
  • Die in den Beispielen verwendeten Filterbeutel sind zur Illustration der Anordnung der Diffusoren im Inneren in den nachfolgend abgebildeten Figuren dargestellt. Die Diffusoren sind dabei auf zwei Ebenen D1 und D2 im Inneren des Filterbeutels angeordnet, wobei die Ebene D1 die der Filterbeuteloberseite zugewandte Ebene und die Ebene D2 die der Filterbeutelunterseite zugewandte Ebene darstellt. Die Beutel werden dabei in Projektion mit Blick auf die Beuteloberseite von der Beutelunterseite aus betrachtet. Sofern nicht anders angegeben, sind alle Diffusoren aus Streifen eines dreilagigen Vliesmaterials gebildet. Bei den folgenden Figurenbezeichnungen bedeutet eine Anordnung der Diffusoren "längs" eine in den Figuren dargestellte vertikale Anordnung der Diffusoren, während "quer" eine horizontale Anordnung der Diffusoren innerhalb des Filterbeutels bedeutet. Eine diesbezügliche Unterscheidung ist notwendig, da die Einlassöffnung asymmetrisch bezüglich des Schwerpunktes des Filterbeutels angeordnet ist.
  • Die Figuren zeigen im Einzelnen:
    • Figur 1 zeigt einen Filterbeutel ohne Diffusoren im Inneren (Vergleichsbeispiel 1*).
    • Figur 2 zeigt einen Filterbeutel, der eine zusätzliche durchgehende Lage (270 mm Breite) enthält (nicht erfindungsgemäß, Vergleichsbeispiel 2*). Die Lage D1 ist dabei an 2 Rändern durchgehend befestigt.
    • Figur 3 zeigt den eingangs erwähnten Filterbeutel mit zwei Strömungsrichtern SR1 (5 x 15 mm Folie) und SR2 (5 x 25 mm Vliesstoff), wobei beide Strömungsrichter längs im Filterbeutel angeordnet sind.
    • Figur 4 zeigt einen erfindungsgemäßen Filterbeutel mit in zwei Ebenen angeordneten Diffusoren D1 (3 x 22 mm längs) und D2 (10 x 11 mm quer) (Beispiel 4).
    • Figur 5 zeigt einen erfindungsgemäßen Filterbeutel mit in zwei Ebenen angeordneten Diffusoren D1 (10 x 11 mm quer) und D2 (3 x 22 mm längs) (Beispiel 5).
    • Figur 6 zeigt einen erfindungsgemäßen Filterbeutel mit in zwei Ebenen angeordneten Diffusoren D1 (22 x 11 mm quer) und D2 (11 x 22 mm längs) (Beispiel 6).
    • Figur 7 zeigt einen erfindungsgemäßen Filterbeutel mit in zwei Ebenen angeordneten Diffusoren D1 (3 x 22 mm längs) und D2 (5 x 22 mm quer) (Beispiel 7).
    • Figur 8 zeigt einen erfindungsgemäßen Filterbeutel mit in zwei Ebenen jeweils quer angeordneten Diffusoren D1 (10 x 11 mm) und D2 (20 x 11 mm) (Beispiel 8).
    • Figur 9 zeigt einen erfindungsgemäßen Filterbeutel mit in zwei Ebenen jeweils quer angeordneten Diffusoren D1 (8 x 11 mm unten und 4 x 11 mm oben) sowie D2 (20 x 11 mm) (Beispiel 9).
    • Figur 10 zeigt einen erfindungsgemäßen Filterbeutel mit in zwei Ebenen jeweils quer angeordneten Diffusoren D1 (10 x 11 mm unten und 4 x 11 mm oben) sowie D2 (20 x 11 mm), wobei die Diffusoren D2 über eine Länge von 70 mm zickzack-gefaltet sind (Beispiel 10).
    • Figur 11 zeigt einen erfindungsgemäßen Filterbeutel mit in zwei Ebenen jeweils quer angeordneten Diffusoren D1 (10 x 11 mm unten sowie 4 x 11 mm oben), wobei die in der Ebene D1 angeordneten Diffusoren über eine Länge von 70 mm zickzack-gefaltet sind sowie D2 (20 x 11 mm) (Beispiel 11).
    • Figur 12 zeigt einen erfindungsgemäßen Staubfilterbeutel mit in zwei Ebenen jeweils quer angeordneten Diffusoren D1 (10 x 11 mm unten und 4 x 11 mm oben) sowie D2 (20 x 11 mm, mittig angeordnet) (Beispiel 12).
    • Figur 13 zeigt einen erfindungsgemäßen Filterbeutel mit in zwei Ebenen jeweils quer angeordneten Diffusoren D1 (10 x 11 mm unten und 4 x 11 mm oben) sowie D2 (20 x 11 mm, mittig angeordnet), wobei beide Diffusoren aus PE-Folie mit einer Dicke von 70 µm gebildet sind (Beispiel 13).
    • Figur 14 zeigt einen erfindungsgemäßen Filterbeutel mit in zwei Ebenen jeweils quer angeordneten Diffusoren D1 (10 x 11 mm unten und 4 x 11 mm oben) sowie D2 (20 x 11 mm, mittig angeordnet), wobei beide Diffusoren aus einer gelochten PE-Folie gebildet sind (Beispiel 14).
    • Figur 15 zeigt einen erfindungsgemäßen Filterbeutel mit in zwei Ebenen jeweils quer angeordneten Diffusoren D1 (8 x 11 mm unten und 4 x 11 mm oben) sowie D2 (10 x 11 mm, beabstandet angeordnete Diffusoren) (Beispiel 15).
    • Figur 16 zeigt einen erfindungsgemäßen Filterbeutel mit in zwei Ebenen jeweils quer angeordneten Diffusoren D1 (8 x 11 mm unten und 4 x 11 mm oben) sowie D2 (10 x 11 mm, beabstandet angeordnete Diffusoren), wobei das Ende jedes Streifens des Diffusors D2 bezüglich des anderen Endes um 180° gedreht bzw. verzwirbelt angebracht ist (Beispiel 16).
    • Figur 17 zeigt einen erfindungsgemäßen Filterbeutel mit in drei Ebenen angeordneten Diffusoren D1 (10 x 11 mm quer), D2 (20 x 11 mm quer) sowie D3 (3 x 22 mm längs) (Beispiel 17).
    • Figur 18 zeigt einen erfindungsgemäßen Filterbeutel mit in drei Ebenen angeordneten Diffusoren D1 (10 x 11 mm quer), D2 (3 x 22 mm längs) sowie D3 (20 x 11 mm quer) (Beispiel 18).
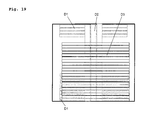
    • Figur 19 zeigt einen erfindungsgemäßen Filterbeutel mit in drei Ebenen angeordneten Diffusoren D1 (8 x 11 mm unten und 4 x 11 mm oben, jeweils quer), D2 (3 x 22 mm längs) sowie D3 (20 x 11 mm quer) (Beispiel 19).
  • Die in den Figuren 1 bis 19 dargestellten Filterbeutel (vom Bautyp GN der Firma Miele) wurden in einer Versuchsreihe (durchgeführt mit einem Staubsauger von Miele, Typ 5210) mit definierten Mengen DMT-Standardstaub - Typ 8 (50-400 g, jeweils in 50 g-Intervallschritten) vermessen. Hierzu wird auf die DIN EN-ISO 60312 verwiesen. Die erhaltenen Messwerte sind in Tabelle 1 (Filterbeutel mit in zwei Ebenen angeordneten Diffusoren, Beispiele 4-16) sowie Tabelle 2 (Filterbeutel mit in drei Ebenen angeordneten Diffusoren, Beispiele 17-19) angegeben. Die beiden unteren Zeilen der Tabellen zeigen jeweils den gemessenen Druckverlust in % nach Aufnahme von 200 bzw. 400 g DMT-Standardstaub auf, wobei dieser Wert durch den gemessenen Druckwert nach Aufnahme der jeweiligen Staubmenge, bezogen auf den gemessenen Druck, bei eingelegtem Staubfilterbeutel im Staubsauger ohne vorherige Aufnahme von Staub ermittelt wurde. Verglichen mit den Vergleichsbeispielen 1* (Staubfilterbeutel ohne Strömungsrichter bzw. Diffusoren, siehe Figur 1) und 2* (Filterbeutel mit durchgängiger Vlieslage, siehe Figur 2), lässt sich eine deutliche Verbesserung des Druckabfalls bzw. Druckverlusts bei allen aufgenommenen Staubmengen beobachten. Insofern weisen die erfindungsgemäßen Staubfilterbeutel eine deutlich erhöhte Standzeit bzw. Staubaufnahmekapazität gegenüber den Filterbeuteln gemäß den Vergleichsbeispielen 1* und 2* auf. Verglichen mit dem aus dem Stand der Technik bekannten Filterbeutel des Vergleichsbeispiels 3* (siehe Figur 3) lassen sich größtenteils ebenso verbesserte Versuchsergebnisse hinsichtlich der Staubspeicherkapazität und Standzeit feststellen, während manche erfindungsgemäßen Filterbeutel hinsichtlich der Staubaufnahmekapazität und Standzeit dem Filterbeutel gemäß Vergleichsbeispiel 3* nahezu ebenbürtig sind. Die erfindungsgemäßen Filterbeutel bieten jedoch gegenüber dem Filterbeutel gemäß Vergleichsbeispiel 3* stets den Vorteil, dass Verstopfungen im Bereich der Einlassöffnung durch den sehr kurz bemessenen Strömungsrichter SR1 des Filterbeutels (siehe Figur 3) nahezu vollständig vermieden werden können.
  • In den Figuren 20 und 21 sind ausgewählte Versuchsergebnisse mit den erfindungsgemäßen Filterbeuteln den Filterbeuteln gemäß den Vergleichsbeispielen 1* bis 3* gegenüber gestellt. In Figur 20 sind die Versuchsergebnisse der Beutel mit in zwei Ebenen angeordneten Diffusoren dargestellt, wobei in Figur 21 die Ergebnisse mit den Beuteln mit in drei Ebenen angeordneten Diffusoren wiedergegeben sind. In beiden Diagrammen findet jeweils ein Vergleich der erhaltenen Messwerte mit den Vergleichsbeispielen 1* bis 3* statt. Deutlich ist zu erkennen, dass die erfindungsgemäßen Filterbeutel den Filterbeuteln gemäß den Vergleichsbeispielen 1* und 2* deutlich hinsichtlich des Druckabfalls bei einer zuvor definierten aufgenommenen Staubmenge überlegen sind, während sich bezüglich des Filterbeutels gemäß Vergleichsbeispiel 3* ebenbürtige Ergebnisse bzw. leichte Verbesserungen beobachten lassen. Vorteilhaft bei den erfindungsgemäßen Staubsaugerfilterbeuteln bezüglich denen des Vergleichsbeispiels 3* ist jedoch, dass die erfindungsgemäßen Filterbeutel weniger zu Verstopfungen im Bereich der Einströmungsöffnung neigen.
  • Eine weitere Versuchsreihe wurde mit achteckigen Filterbeuteln durchgeführt. Der prinzipielle Aufbau derartiger Filterbeutel ist in den Figuren 22 und 23 angegeben, wobei in Figur 22 die prinzipiellen Abmessungen dieses Beuteltyps angegeben sind. Der Beutel besitzt eine charakteristische Form und kann in seinem Inneren mehrere Ebenen an Diffusoren aufweisen. In den Figuren 22 und 23 sind jeweils 2 Ebenen an Diffusoren dargestellt: In Fig. 22 ist in Ebene D1 ein Längsdiffusor (3 x 22 mm) angebracht und in Ebene D2 ein Querdiffusor (10 x 11 mm). Die nachfolgend genannten Beispiele leiten sich von diesem prototypischen Aufbau ab. Auch hier sind die Diffusoren in zwei Ebenen D1 und D2 angeordnet, wobei auch hier wie bei den Figuren 1 bis 19 eine Betrachtung von der Beutelunterseite auf die Beuteloberseite stattfindet. Die in der Ebene D1 angeordneten Diffusoren liegen dabei der Beuteloberseite zugewandt, während die in der Ebene D2 liegenden Diffusoren der Beutelunterseite zugewandt sind.
  • Als Vergleichsfilterbeutel (Beispiel 20*) dient hierbei ein Filterbeutel, der keine Diffusoren im Inneren aufweist. Die weiteren Beispiele sind wie folgt aufgebaut:
    • Beispiel 21
      Einzelner Diffusor (10 x 11 mm quer);
    • Beispiel 22
      Einzelner Diffusor (2 x 22 mm quer);
    • Beispiel 23
      Zwei Diffusoren D1 (3 x 22 mm längs) und D2 (10 x 11 mm quer) ;
    • Beispiel 24
      Zwei Diffusoren D1 (3 x 22 längs) und D2 (10 x 11 mm quer), wobei der Diffusor einen Abstand von 50 mm vom unteren Rand des Beutels aufweist;
    • Beispiel 25
      Zwei Diffusoren D1 (3 x 22 mm längs) und D2 (10 x 11 mm quer), wobei der Diffusor in der Ebene D2 einen Abstand von 80 mm vom unteren Beutelrand aufweist;
    • Beispiel 26
      Zwei Diffusoren D1 (3 x 22 mm längs) und D2 (10 x 11 mm quer), wobei der Diffusor in der Ebene D2 einen Abstand von 30 mm vom unteren Rand der Halteplatte aufweist;
    • Beispiel 27
      Wie Beispiel 26, jedoch wurde die Klappe der Halteplatte entfernt. Dieser Versuch wurde durchgeführt, um zu prüfen, ob die in die Strömung hineinragende Verschlussplatte einen Einfluss hat.
  • Die Versuche mit diesen Filterbeuteln wurden mit einem Staubsauger Vorwerk VK140 wieder nach DIN EN-ISO 60312 durchgeführt. Die gemessenen Ergebnisse sind in Tabelle 3 angegeben, ebenso der Druckverlust als relative Größe bei 200 bzw. 400 g aufgenommenem DMT-Standardstaub. Wie aus Figur 24 ersichtlich ist, weisen die erfindungsgemäßen Beispiele 21 bis 27 allesamt deutliche vorteilhafte Eigenschaften gegenüber dem Vergleichsbeispiel 20* auf. Insbesondere ist ersichtlich, dass die erfindungsgemäßen Filterbeutel nahezu die doppelte Menge Staub aufnehmen können, bis zum Auftreten eines vergleichbaren Druckverlustes. Dies führt zu einer wesentlichen Verlängerung der Standzeit des Filterbeutels. Tabelle 1
    Beispiel Nr. 1* 2* 3* 4 5 6 7 8 9 10 11 12 13 14 14 15 15 16 16
    Staubmenge [g] Druck [hPa] Druck [hPa] Druck [hPa] Druck [hPa] Druck [hPa] Druck [hPa] Druck [hPa] Druck [hPa] Druck [hPa] Druck [hPa] Druck [hPa] Druck [hPa] Druck [hPa] Druck [hPa] Druck [hPa] Druck [hPa]
    Anordnung D1/D2 orthogonal parallel
    0 (ohne Beutel) 1,90 1,90 1,90 1,85 1,85 1,89 1,88 1,89 1,87 1,85 1,85 1,84 1,86 1,85 1,87 1,86
    0 1,85 1,85 1,83 1,83 1,82 1,81 1,85 1,84 1,81 1,79 1,78 1,77 1,79 1,77 1,80 1,80
    50 1,80 1,79 1,80 1,80 1,79 1,78 1,81 1,80 1,78 1,77 1,73 1,73 1,74 1,73 1,77 1,77
    100 1,75 1,75 1,76 1,79 1,76 1,76 1,78 1,77 1,75 1,74 1,68 1,69 1,69 1,69 1,74 1,74
    150 1,68 1,67 1,72 1,73 1,71 1,73 1,75 1,74 1,73 1,71 1,61 1,67 1,66 1,65 1,70 1,69
    200 1,62 1,58 1,68 1,68 1,67 1,68 1,68 1,68 1,71 1,68 1,57 1,64 1,62 1,61 1,66 1,65
    250 1,53 1,49 1,62 1,62 1,63 1,63 1,60 1,64 1,67 1,65 1,53 1,60 1,56 1,55 1,62 1,60
    300 1,44 1,42 1,57 1,57 1,57 1,57 1,53 1,57 1,62 1,60 1,48 1,55 1,51 1,50 1,57 1,55
    350 1,37 1,35 1,50 1,50 1,53 1,50 1,46 1,49 1,56 1,55 1,44 1,52 1,46 1,44 1,51 1,51
    400 1,29 1,27 1,47 1,44 1,46 1,46 1,39 1,45 1,51 1,49 1,40 1,49 1,40 1,39 1,44 1,46
    Druckverlust
    Nach 200 g 12% 14% 8% 8% 8% 7% 9% 9% 6% 6% 12% 7% 10% 9% 8% 8%
    Nach 400 g 30% 31% 20% 21% 20% 19% 25% 21% 17% 17% 21% 16% 22% 22% 20% 19%
    Tabelle 2
    Beispiel Nr. 1* 2* 3* 17 18 19
    Staubmenge [g] Druck [hPa] Druck [hPa] Druck [hPa] Druck [hPa] Druck [hPa] Druck [hPa]
    0 (ohne Beutel) 1,90 1,90 1,90 1,88 1,88 1,87
    0 1,85 1,85 1,83 1,83 1,82 1,81
    50 1,80 1,79 1,80 1,81 1,80 1,80
    100 1,75 1,75 1,76 1,77 1,79 1,76
    150 1,68 1,67 1,72 1,74 1,76 1,73
    200 1,62 1,58 1,68 1,70 1,70 1,69
    250 1,53 1,49 1,62 1,64 1,66 1,65
    300 1,44 1,42 1,57 1,57 1,61 1,62
    350 1,37 1,35 1,50 1,53 1,56 1,56
    400 1,29 1,27 1,47 1,47 1,52 1,51
    Druckverlust
    Nach 200 g 12% 14% 8% 7% 7% 7%
    Nach 400 g 30% 31% 20% 20% 17% 17%
    Tabelle 3
    Beispiel Nr. 20* 21 22 23 24 25 26 27
    Staubmenge [g] Druck [hPa] Druck [hPa] Druck [hPa] Druck [hPa] Druck [hPa] Druck [hPa] Druck [hPa] Druck [hPa]
    0 22,8 24,1 23,8 24,3 25,1 24,9 24,6 25,6
    50 19,5 22,7 23,2 23,6 24,1 24,0 24,0 24,6
    100 18,0 21,1 21,1 21,9 23,0 22,8 23,1 23,1
    150 16,2 18,8 19,7 20,1 20,9 21,1 21,8 21,6
    200 14,3 17,1 17,7 18,3 19,0 18,8 20,2 19,4
    250 12,5 15,6 15,8 16,4 16,9 16,9 18,4 17,3
    300 11,0 13,4 13,5 14,4 15,1 15,1 16,5 14,8
    350 9,7 11,1 12,1 12,2 12,7 13,4 14,4 12,6
    400 8,1 8,4 9,6 10,2 10,9 11,0 12,6 10,2
    Druckverlust
    Nach 200 g 37% 29% 26% 25% 24% 24% 18% 24%
    Nach 400 g 64% 65% 60% 58% 56% 56% 49% 60%

Claims (26)

  1. Flachbeutel für einen Staubsauger mit einer Beuteloberseite und einer Beutelunterseite, dessen Beutelwandungen aus einem luftdurchlässigen Filtermaterial gebildet sind und wobei in der Beuteloberseite eine Einlassöffnung für die zu filtrierende Luft eingebracht ist,
    dadurch gekennzeichnet,
    dass im Inneren des Flachbeutels unterhalb der Beuteloberseite in einer ersten Ebene und zwischen der ersten Ebene und der Beutelunterseite in mindestens einer weiteren Ebene jeweils in jeder Ebene mindestens ein Diffusor vorgesehen ist, wobei der Diffusor aus mindestens zwei zueinander angeordneten Materialstreifen und/oder aus Flächengebilden mit länglich geformten Strömungsöffnungen besteht und die Diffusoren mindestens an einer Seite an der Beutelwand befestigt sind, mit der Maßgabe, dass die Diffusoren in Form von Flächengebilden mit länglich geformten Strömungsöffnungen, die in der ersten Ebene im Bereich der Einlassöffnung angeordnet und beidseitig an der Beuteloberseite befestigt sind mit einer Fläche von < 10 %, bezogen auf die gesamte Beuteloberfläche, wobei die Breite der Materialstreifen durch den Durchmesser der Einströmungsöffnung ± 50 % definiert ist, ausgeschlossen sind.
  2. Flachbeutel nach Anspruch 1, dadurch gekennzeichnet, dass die Materialstreifen beweglich zueinander angeordnet sind.
  3. Flachbeutel nach Anspruch 1, dadurch gekennzeichnet, dass die Materialstreifen zueinander beabstandet sind.
  4. Flachbeutel nach mindestens einem der Ansprüche 1 bis 3, dadurch gekennzeichnet, dass die Breite der Materialstreifen 2 mm bis maximal 50 % der Breite der Beuteloberseite beträgt.
  5. Flachbeutel nach mindestens einem der Ansprüche 1 bis 4, dadurch gekennzeichnet, dass die länglich geformten Strömungsöffnungen der Flächengebilde linienförmig sind.
  6. Flachbeutel nach Anspruch 5, dadurch gekennzeichnet, dass die linienförmigen Strömungsöffnungen parallel und/oder mäanderförmig und/oder zickzackförmig ausgebildet sind.
  7. Flachbeutel nach Anspruch 5 oder 6, dadurch gekennzeichnet, dass die linienförmigen, länglichen Strömungsöffnungen unterschiedliche Länge aufweisen.
  8. Flachbeutel nach mindestens einem der Ansprüche 1 bis 7, dadurch gekennzeichnet, dass die Diffusoren beidseitig an der Beutelwandung befestigt sind.
  9. Flachbeutel nach mindestens einem der Ansprüche 1 bis 8, dadurch gekennzeichnet, dass die Diffusoren in etwa die gleiche Länge und/oder Breite wie die Beutelober- bzw. -unterseite aufweisen.
  10. Flachbeutel nach mindestens einem der Ansprüche 1 bis 9, dadurch gekennzeichnet, dass die Diffusoren schmaler und/oder kürzer als die Beutelober- bzw. -unterseite sind.
  11. Flachbeutel nach mindestens einem der Ansprüche 1 bis 10, dadurch gekennzeichnet, dass die Diffusoren eine größere Länge und/oder Breite wie die Beutelober- bzw. -unterseite aufweisen und gefaltet vorliegen.
  12. Flachbeutel nach mindestens einem der Ansprüche 1 bis 11, dadurch gekennzeichnet, dass die Diffusoren in Form von Materialstreifen gedreht und/oder gezwirbelt ausgebildet sind.
  13. Flachbeutel nach mindestens einem der Ansprüche 1 bis 12, dadurch gekennzeichnet, dass die Diffusoren in Form von Materialstreifen durch Filamentbündel oder Bündel von Folienstreifen gebildet sind.
  14. Flachbeutel nach mindestens einem der Ansprüche 1 bis 13, dadurch gekennzeichnet, dass mindestens ein Diffusor in einer Ebene zu mindestens einem Diffusor in der nächsten Ebene so angeordnet ist, dass sich die Materialstreifen und/oder die länglich geformten Strömungsöffnungen kreuzen.
  15. Flachbeutel nach Anspruch 14, dadurch gekennzeichnet, dass die sich kreuzenden Diffusoren orthogonal zueinander angeordnet sind.
  16. Flachbeutel nach Anspruch 14, dadurch gekennzeichnet, dass sich die kreuzenden Diffusoren in einer von der orthogonalen abweichenden Anordnung angeordnet sind.
  17. Flachbeutel nach mindestens einem der Ansprüche 1 bis 16, dadurch gekennzeichnet, dass in mindestens einer Ebene mindestens zwei Diffusoren so zueinander angeordnet sind, dass die Materialstreifen und/oder die länglichen Strömungsöffnungen nicht parallel zueinander angeordnet sind.
  18. Flachbeutel nach mindestens einem der Ansprüche 1 bis 17, dadurch gekennzeichnet, dass die Materialien der Diffusoren aus luftdurchlässigen Materialien und/oder aus luftundurchlässigen Materialien gebildet sind.
  19. Flachbeutel nach Anspruch 18, dadurch gekennzeichnet, dass die luftundurchlässigen Materialien eine Folie sind.
  20. Flachbeutel nach Anspruch 18 oder 19, dadurch gekennzeichnet, dass die luftdurchlässigen Materialien aus einem Laminat von luftdurchlässigen Materialien und/oder aus mit Strömungsöffnungen versehenen luftundurchlässigen Materialien gebildet sind.
  21. Flachbeutel nach mindestens einem der Ansprüche 1 bis 20, dadurch gekennzeichnet, dass die Diffusoren über eine Klebestelle und/oder Schweißstellen mit der Beutelwand verbunden sind.
  22. Flachbeutel nach mindestens einem der Ansprüche 1 bis 21, dadurch gekennzeichnet, dass der Flachbeutel durch zwei im Randbereich miteinander verschweißten Bahnen aus dem Filtermaterial gebildet ist.
  23. Flachbeutel nach mindestens einem der Ansprüche 1 bis 22, dadurch gekennzeichnet, dass der Flachbeutel viereckig, sechseckig oder achteckig ist.
  24. Flachbeutel nach Anspruch 22 oder 23, dadurch gekennzeichnet, dass die Diffusoren mit dem Randbereich des Flachbeutels verbunden sind.
  25. Flachbeutel nach mindestens einem der Ansprüche 1 bis 21, dadurch gekennzeichnet, dass der Flachbeutel ein Seitenfaltenbeutel ist.
  26. Flachbeutel nach Anspruch 25, dadurch gekennzeichnet, dass die Diffusoren mit der Seitenfalte des Flachbeutels verbunden sind.
EP09008065.6A 2009-06-19 2009-06-19 Flachbeutel für Staubsauger mit mindestens zwei Diffusoren Active EP2263508B1 (de)

Priority Applications (9)

Application Number Priority Date Filing Date Title
EP09008065.6A EP2263508B1 (de) 2009-06-19 2009-06-19 Flachbeutel für Staubsauger mit mindestens zwei Diffusoren
ES09008065.6T ES2549756T3 (es) 2009-06-19 2009-06-19 Bolsa plana para aspirador de polvo con al menos dos difusores
ES10728122T ES2854836T3 (es) 2009-06-19 2010-06-11 Bolsa plana para aspirador de polvo con al menos dos difusores
DE202010018516.5U DE202010018516U1 (de) 2009-06-19 2010-06-11 Flachbeutel für Staubsauger
PCT/EP2010/003524 WO2010145783A1 (de) 2009-06-19 2010-06-11 Flachbeutel für staubsauger mit mindestens zwei diffusoren
US13/377,656 US8702827B2 (en) 2009-06-19 2010-06-11 Flat bag for vacuum cleaners
EP10728122.2A EP2442703B1 (de) 2009-06-19 2010-06-11 Flachbeutel für staubsauger mit mindestens zwei diffusoren
CN201080027321.0A CN102802485B (zh) 2009-06-19 2010-06-11 用于吸尘器的带有至少两个扩散件的扁袋
AU2010262120A AU2010262120B2 (en) 2009-06-19 2010-06-11 Flat bag for vacuum cleaners having at least two diffusers

Applications Claiming Priority (1)

Application Number Priority Date Filing Date Title
EP09008065.6A EP2263508B1 (de) 2009-06-19 2009-06-19 Flachbeutel für Staubsauger mit mindestens zwei Diffusoren

Publications (2)

Publication Number Publication Date
EP2263508A1 true EP2263508A1 (de) 2010-12-22
EP2263508B1 EP2263508B1 (de) 2015-08-05

Family

ID=41263633

Family Applications (2)

Application Number Title Priority Date Filing Date
EP09008065.6A Active EP2263508B1 (de) 2009-06-19 2009-06-19 Flachbeutel für Staubsauger mit mindestens zwei Diffusoren
EP10728122.2A Active EP2442703B1 (de) 2009-06-19 2010-06-11 Flachbeutel für staubsauger mit mindestens zwei diffusoren

Family Applications After (1)

Application Number Title Priority Date Filing Date
EP10728122.2A Active EP2442703B1 (de) 2009-06-19 2010-06-11 Flachbeutel für staubsauger mit mindestens zwei diffusoren

Country Status (7)

Country Link
US (1) US8702827B2 (de)
EP (2) EP2263508B1 (de)
CN (1) CN102802485B (de)
AU (1) AU2010262120B2 (de)
DE (1) DE202010018516U1 (de)
ES (2) ES2549756T3 (de)
WO (1) WO2010145783A1 (de)

Cited By (16)

* Cited by examiner, † Cited by third party
Publication number Priority date Publication date Assignee Title
DE202011108953U1 (de) 2011-12-02 2012-01-19 Branofilter Gmbh Staubfilterbeutel mit einer Staubfängereinlage
DE102011120688A1 (de) 2011-12-02 2013-04-11 Branofilter Gmbh Staubfilterbeutel mit einer Staubfängereinlage
EP3219374A1 (de) 2016-03-17 2017-09-20 Eurofilters N.V. Staubsaugerfilterbeutel aus recyclierten kunststoffen
EP3219377A1 (de) 2016-03-17 2017-09-20 Eurofilters N.V. Staubsaugerfilterbeutel mit staub- und/oder faserförmigem recyclierten material
EP3219373A1 (de) 2016-03-17 2017-09-20 Eurofilters N.V. Staubsaugerfilterbeutel mit recycliertem textilmaterialien und/oder baumwolllinters
WO2017158026A1 (de) 2016-03-17 2017-09-21 Eurofilters N.V. Staubsaugerfilterbeutel aus recyclierten kunststoffen
EP3305155A1 (de) 2016-10-06 2018-04-11 Eurofilters N.V. Staubsaugerfilterbeutel mit recycliertem textilmaterialien und/oder baumwolllinters
EP3354178A1 (de) 2017-01-31 2018-08-01 Eurofilters Holding N.V. Bodenstaubsauger
DE202016008752U1 (de) 2016-10-06 2019-06-17 Eurofilters N.V. Staubsaugerfilterbeutel mit recycliertem Textilmaterialien und/oder Baumwolllinters
EP3669734A1 (de) 2018-12-17 2020-06-24 Eurofilters Holding N.V. Staubsaugerfilterbeutel mit verbesserter schweissnahtfestigkeit
US10806316B2 (en) 2016-03-17 2020-10-20 Eurofilters Holding N.V. Device for a vacuum cleaner filter bag with a holding device and a closure device
US10905299B2 (en) 2016-03-17 2021-02-02 Eurofilters Holding N.V. Retaining plate with improved sealing
US10939788B2 (en) 2016-03-17 2021-03-09 Eurofilters Holding N.V. Retaining plate with improved sealing
WO2022029071A1 (de) 2020-08-06 2022-02-10 Eurofilters N.V. Staubsaugerfilterbeutel aus recyclierten kunststoffen
US11517163B2 (en) 2017-02-07 2022-12-06 Eurofilters Holding N.V. Retaining plate for a vacuum cleaner filter bag, having a closure device
US12042117B2 (en) 2018-02-23 2024-07-23 Eurofilters Holding N.V. Retainer plate with a seal element

Families Citing this family (6)

* Cited by examiner, † Cited by third party
Publication number Priority date Publication date Assignee Title
DE502007000741D1 (de) * 2007-08-17 2009-06-25 Eurofilters Holding Nv Staubsaugerfilterbeutel
ES2440722T3 (es) * 2008-03-07 2014-01-30 Eurofilters Holding N.V. Bolsa de filtro de aspiradora
EP2662010B1 (de) * 2010-03-19 2014-08-06 Eurofilters Holding N.V. Staubsaugerfilterbeutel
US8790432B2 (en) * 2012-04-27 2014-07-29 W. L. Gore & Associates, Inc. Seam-sealed filters and methods of making thereof
EP2835087B1 (de) 2013-08-09 2018-10-10 Eurofilters N.V. Staubsaugerfilterbeutel mit beabstandungselement
ES2916748T3 (es) * 2015-12-12 2022-07-05 Procedimiento para producir una unión por material entre una placa de retención y la pared de una bolsa de filtro de aspiradora, así como bolsa de filtro de aspiradora

Citations (12)

* Cited by examiner, † Cited by third party
Publication number Priority date Publication date Assignee Title
EP0960645A2 (de) 1998-05-11 1999-12-01 Airflo Europe N.V. Staubfilterbeutel für einen Staubsauger oder Filter, und Verfahren zum Filtern eines Gases
US6063171A (en) * 1998-11-16 2000-05-16 Electrolux Llc Bactericidal vacuum cleaner filter bag
DE202006016304U1 (de) 2006-10-23 2006-12-21 Wolf Gmbh & Co. Kg Filterbeutel
DE202006016303U1 (de) 2006-10-23 2006-12-21 Wolf Gmbh & Co. Kg Filterbeutel
DE202006019108U1 (de) 2006-12-19 2007-02-22 Branofilter Gmbh Staubfilterbeutel
EP1787560A1 (de) 2005-11-22 2007-05-23 Eurofilters Holding N.V Staubsaugerfilterbeutel mit Ablenkvorrichtung
EP1795247A1 (de) 2005-12-12 2007-06-13 Eurofilters N.V. Filterbeutel für einen Staubsauger sowie dessen Verwendung
EP1804635A1 (de) 2005-11-22 2007-07-11 Eurofilters Holding N.V Staubsaugerfilterbeutel und verwendung eines staubsaugefilterbeutels
DE202007010692U1 (de) 2007-08-01 2007-10-04 Branofilter Gmbh Filtervorrichtung in Gestalt eines Staubfilterbeutels oder einer Filtertasche
DE102006051117B3 (de) 2005-10-14 2008-01-31 Papierverarbeitung Görlitz GmbH Staubfilterbeutel für Staubsauger
DE202008003248U1 (de) 2008-03-07 2008-05-08 Eurofilters Holding N.V. Staubsaugerfilterbeutel
DE202008007717U1 (de) 2008-06-10 2008-08-07 Wolf Pvg Gmbh & Co. Kg Filterbeutel

Family Cites Families (9)

* Cited by examiner, † Cited by third party
Publication number Priority date Publication date Assignee Title
CA1136361A (en) * 1977-12-05 1982-11-30 Harold W. Schaefer Vacuum cleaner bag assembly
JP2006230868A (ja) * 2005-02-28 2006-09-07 Matsushita Electric Ind Co Ltd 電気掃除機
JP4200980B2 (ja) 2005-04-13 2008-12-24 株式会社デンソー 車載用衝突物判定装置
US8382871B2 (en) 2005-11-22 2013-02-26 Eurofilters Holding N.V. Vacuum cleaner filter bag and use of said bag
DE202006003137U1 (de) 2006-02-24 2007-07-12 Mann+Hummel Gmbh Filterrohrleitung
ES2347091T3 (es) * 2006-04-25 2010-10-25 Eurofilters Holding N.V. Placa de sujecion para una bolsa de filtro de un aspirador de polvo.
DE502006009062D1 (de) * 2006-11-03 2011-04-21 Eurofilters Holding Nv Antibakterieller Staubsaugerfilterbeutel
DE502007000741D1 (de) * 2007-08-17 2009-06-25 Eurofilters Holding Nv Staubsaugerfilterbeutel
ES2440722T3 (es) * 2008-03-07 2014-01-30 Eurofilters Holding N.V. Bolsa de filtro de aspiradora

Patent Citations (13)

* Cited by examiner, † Cited by third party
Publication number Priority date Publication date Assignee Title
EP0960645A2 (de) 1998-05-11 1999-12-01 Airflo Europe N.V. Staubfilterbeutel für einen Staubsauger oder Filter, und Verfahren zum Filtern eines Gases
US6063171A (en) * 1998-11-16 2000-05-16 Electrolux Llc Bactericidal vacuum cleaner filter bag
DE102006051117B3 (de) 2005-10-14 2008-01-31 Papierverarbeitung Görlitz GmbH Staubfilterbeutel für Staubsauger
EP1787560A1 (de) 2005-11-22 2007-05-23 Eurofilters Holding N.V Staubsaugerfilterbeutel mit Ablenkvorrichtung
EP1804635A1 (de) 2005-11-22 2007-07-11 Eurofilters Holding N.V Staubsaugerfilterbeutel und verwendung eines staubsaugefilterbeutels
EP1795247A1 (de) 2005-12-12 2007-06-13 Eurofilters N.V. Filterbeutel für einen Staubsauger sowie dessen Verwendung
DE202006016303U1 (de) 2006-10-23 2006-12-21 Wolf Gmbh & Co. Kg Filterbeutel
DE202006016304U1 (de) 2006-10-23 2006-12-21 Wolf Gmbh & Co. Kg Filterbeutel
DE202006019108U1 (de) 2006-12-19 2007-02-22 Branofilter Gmbh Staubfilterbeutel
DE202007010692U1 (de) 2007-08-01 2007-10-04 Branofilter Gmbh Filtervorrichtung in Gestalt eines Staubfilterbeutels oder einer Filtertasche
DE202008003248U1 (de) 2008-03-07 2008-05-08 Eurofilters Holding N.V. Staubsaugerfilterbeutel
DE202008008989U1 (de) 2008-03-07 2008-09-04 Eurofilters Holding N.V. Staubsaugerfilterbeutel
DE202008007717U1 (de) 2008-06-10 2008-08-07 Wolf Pvg Gmbh & Co. Kg Filterbeutel

Cited By (36)

* Cited by examiner, † Cited by third party
Publication number Priority date Publication date Assignee Title
DE202011108953U1 (de) 2011-12-02 2012-01-19 Branofilter Gmbh Staubfilterbeutel mit einer Staubfängereinlage
DE102011120688A1 (de) 2011-12-02 2013-04-11 Branofilter Gmbh Staubfilterbeutel mit einer Staubfängereinlage
DE102011120688B4 (de) 2011-12-02 2019-05-16 Branofilter Gmbh Staubfilterbeutel mit einer Staubfängereinlage
WO2017157822A1 (de) 2016-03-17 2017-09-21 Eurofilters N.V. Staubsaugerfilterbeutel aus recyclierten kunststoffen
US10905299B2 (en) 2016-03-17 2021-02-02 Eurofilters Holding N.V. Retaining plate with improved sealing
EP3219375A1 (de) 2016-03-17 2017-09-20 Eurofilters N.V. Staubsaugerfilterbeutel mit staub- und/oder faserförmigem recyclierten material
EP3219376A1 (de) 2016-03-17 2017-09-20 Eurofilters N.V. Staubsaugerfilterbeutel aus recyclierten kunststoffen
WO2017158026A1 (de) 2016-03-17 2017-09-21 Eurofilters N.V. Staubsaugerfilterbeutel aus recyclierten kunststoffen
WO2017157827A1 (de) 2016-03-17 2017-09-21 Eurofilters N.V. Staubsaugerfilterbeutel mit staub- und/oder faserförmigem recyclierten material
EP3219377A1 (de) 2016-03-17 2017-09-20 Eurofilters N.V. Staubsaugerfilterbeutel mit staub- und/oder faserförmigem recyclierten material
WO2017157820A1 (de) 2016-03-17 2017-09-21 Eurofilters N.V. Staubsaugerfilterbeutel mit staub- und/oder faserförmigem recyclierten material und/oder samenfasern
US11896922B2 (en) 2016-03-17 2024-02-13 Eurofilters N.V. Vacuum cleaner filter bag with powdery and/or fibrous recycled material
US11602252B2 (en) 2016-03-17 2023-03-14 Eurofilters N.V. Vacuum cleaner filter bag made from recycled plastic
US11504662B2 (en) 2016-03-17 2022-11-22 Eurofilters N.V. Vacuum cleaner filter bag made from recycled plastic
US10939788B2 (en) 2016-03-17 2021-03-09 Eurofilters Holding N.V. Retaining plate with improved sealing
DE212017000082U1 (de) 2016-03-17 2018-10-18 Eurofilters N.V. Staubsaugerfilterbeutel mit staub- und/oder faserförmigem recyclierten Material
DE212017000080U1 (de) 2016-03-17 2018-10-26 Eurofilters N.V. Staubsaugerfilterbeutel aus recyclierten Kunststoffen
DE212017000084U1 (de) 2016-03-17 2018-10-26 Eurofilters N.V. Staubsaugerfilterbeutel mit staub- und/oder faserförmigem recyclierten Material
EP3219374A1 (de) 2016-03-17 2017-09-20 Eurofilters N.V. Staubsaugerfilterbeutel aus recyclierten kunststoffen
EP3219373A1 (de) 2016-03-17 2017-09-20 Eurofilters N.V. Staubsaugerfilterbeutel mit recycliertem textilmaterialien und/oder baumwolllinters
RU2706308C1 (ru) * 2016-03-17 2019-11-15 Еврофильтерс Н.В. Фильтрующий мешок для пылесоса, выполненный из рециклированного пластика
RU2706309C1 (ru) * 2016-03-17 2019-11-15 Еврофильтерс Н.В. Фильтрующий мешок для пылесоса, содержащий рециклированный пылевидный и/или волокнистый материал и/или волокна семян
RU2706307C1 (ru) * 2016-03-17 2019-11-15 Еврофильтерс Н.В. Фильтрующий мешок для пылесоса, содержащий рециклированный пылевидный и/или волокнистый материал
EP3666360A1 (de) 2016-03-17 2020-06-17 Eurofilters N.V. Bikomponentfaser mit recyclierten kunststoffen
US10806316B2 (en) 2016-03-17 2020-10-20 Eurofilters Holding N.V. Device for a vacuum cleaner filter bag with a holding device and a closure device
DE202016008752U1 (de) 2016-10-06 2019-06-17 Eurofilters N.V. Staubsaugerfilterbeutel mit recycliertem Textilmaterialien und/oder Baumwolllinters
WO2018065164A1 (de) 2016-10-06 2018-04-12 Eurofilters N.V. Staubsaugerfilterbeutel mit recycliertem textilmaterialien und/oder baumwolllinters und verwendung
EP3305155A1 (de) 2016-10-06 2018-04-11 Eurofilters N.V. Staubsaugerfilterbeutel mit recycliertem textilmaterialien und/oder baumwolllinters
WO2018141438A1 (de) 2017-01-31 2018-08-09 Eurofilters Holding N.V. Bodenstaubsauger
EP3354178A1 (de) 2017-01-31 2018-08-01 Eurofilters Holding N.V. Bodenstaubsauger
US11517163B2 (en) 2017-02-07 2022-12-06 Eurofilters Holding N.V. Retaining plate for a vacuum cleaner filter bag, having a closure device
US12042117B2 (en) 2018-02-23 2024-07-23 Eurofilters Holding N.V. Retainer plate with a seal element
EP3669735A1 (de) 2018-12-17 2020-06-24 Eurofilters Holding N.V. Staubsaugerfilterbeutel mit verbesserter schweissnahtfestigkeit
WO2020127065A1 (de) 2018-12-17 2020-06-25 Eurofilters Holding N.V. Staubsaugerfilterbeutel mit verbesserter schweissnahtfestigkeit
EP3669734A1 (de) 2018-12-17 2020-06-24 Eurofilters Holding N.V. Staubsaugerfilterbeutel mit verbesserter schweissnahtfestigkeit
WO2022029071A1 (de) 2020-08-06 2022-02-10 Eurofilters N.V. Staubsaugerfilterbeutel aus recyclierten kunststoffen

Also Published As

Publication number Publication date
CN102802485A (zh) 2012-11-28
ES2854836T3 (es) 2021-09-23
ES2549756T3 (es) 2015-11-02
WO2010145783A1 (de) 2010-12-23
DE202010018516U1 (de) 2017-07-13
AU2010262120A1 (en) 2012-01-19
EP2442703A1 (de) 2012-04-25
US8702827B2 (en) 2014-04-22
AU2010262120B2 (en) 2016-01-07
EP2263508B1 (de) 2015-08-05
CN102802485B (zh) 2015-10-21
EP2442703B1 (de) 2020-12-09
US20120131890A1 (en) 2012-05-31

Similar Documents

Publication Publication Date Title
EP2263508B1 (de) Flachbeutel für Staubsauger mit mindestens zwei Diffusoren
EP3195782B1 (de) Flachbeutel für staubsauger
EP2098153B1 (de) Staubsaugerfilterbeutel
EP2366320B2 (de) Staubsaugerfilterbeutel
EP1915939B1 (de) Filterbeutel
DE202008003248U1 (de) Staubsaugerfilterbeutel
EP2445382B1 (de) Blockboden-Filterbeutel für Staubsauger
WO2010000452A1 (de) Staubfilterbeutel mit geschlitztem material zum einsatz in einem staubsauger
WO2014140127A1 (de) Staubsaugerfilterbeutel
DE202009019156U1 (de) Flachbeutel für Staubsauger
DE102008031989A1 (de) Staubfilterbeutel mit geschlitztem Material zum Einsatz in einem Staubsauger
DE102011120688B4 (de) Staubfilterbeutel mit einer Staubfängereinlage
DE102009009152A1 (de) Filterbeutel mit äußerem und innerem Beutel zum Einsatz in einem Staubsauger
EP2502536B1 (de) Ökologisch effiziente Vorrichtung zum Staubsaugen
EP2835087B1 (de) Staubsaugerfilterbeutel mit beabstandungselement
DE202011108953U1 (de) Staubfilterbeutel mit einer Staubfängereinlage
DE102009009154A1 (de) Staubfilterbeutel mit geschlitztem Material zum Einsatz in einem Staubsauger

Legal Events

Date Code Title Description
PUAI Public reference made under article 153(3) epc to a published international application that has entered the european phase

Free format text: ORIGINAL CODE: 0009012

AK Designated contracting states

Kind code of ref document: A1

Designated state(s): AT BE BG CH CY CZ DE DK EE ES FI FR GB GR HR HU IE IS IT LI LT LU LV MC MK MT NL NO PL PT RO SE SI SK TR

AX Request for extension of the european patent

Extension state: AL BA RS

17P Request for examination filed

Effective date: 20110124

17Q First examination report despatched

Effective date: 20110316

GRAP Despatch of communication of intention to grant a patent

Free format text: ORIGINAL CODE: EPIDOSNIGR1

INTG Intention to grant announced

Effective date: 20150402

GRAS Grant fee paid

Free format text: ORIGINAL CODE: EPIDOSNIGR3

RIN1 Information on inventor provided before grant (corrected)

Inventor name: SAUER, RALF

Inventor name: SCHULTINK, JAN

GRAA (expected) grant

Free format text: ORIGINAL CODE: 0009210

AK Designated contracting states

Kind code of ref document: B1

Designated state(s): AT BE BG CH CY CZ DE DK EE ES FI FR GB GR HR HU IE IS IT LI LT LU LV MC MK MT NL NO PL PT RO SE SI SK TR

REG Reference to a national code

Ref country code: GB

Ref legal event code: FG4D

Free format text: NOT ENGLISH

REG Reference to a national code

Ref country code: CH

Ref legal event code: EP

REG Reference to a national code

Ref country code: AT

Ref legal event code: REF

Ref document number: 740189

Country of ref document: AT

Kind code of ref document: T

Effective date: 20150815

REG Reference to a national code

Ref country code: IE

Ref legal event code: FG4D

Free format text: LANGUAGE OF EP DOCUMENT: GERMAN

REG Reference to a national code

Ref country code: DE

Ref legal event code: R096

Ref document number: 502009011352

Country of ref document: DE

REG Reference to a national code

Ref country code: SE

Ref legal event code: TRGR

REG Reference to a national code

Ref country code: NL

Ref legal event code: FP

REG Reference to a national code

Ref country code: LT

Ref legal event code: MG4D

PG25 Lapsed in a contracting state [announced via postgrant information from national office to epo]

Ref country code: FI

Free format text: LAPSE BECAUSE OF FAILURE TO SUBMIT A TRANSLATION OF THE DESCRIPTION OR TO PAY THE FEE WITHIN THE PRESCRIBED TIME-LIMIT

Effective date: 20150805

Ref country code: LT

Free format text: LAPSE BECAUSE OF FAILURE TO SUBMIT A TRANSLATION OF THE DESCRIPTION OR TO PAY THE FEE WITHIN THE PRESCRIBED TIME-LIMIT

Effective date: 20150805

Ref country code: GR

Free format text: LAPSE BECAUSE OF FAILURE TO SUBMIT A TRANSLATION OF THE DESCRIPTION OR TO PAY THE FEE WITHIN THE PRESCRIBED TIME-LIMIT

Effective date: 20151106

Ref country code: LV

Free format text: LAPSE BECAUSE OF FAILURE TO SUBMIT A TRANSLATION OF THE DESCRIPTION OR TO PAY THE FEE WITHIN THE PRESCRIBED TIME-LIMIT

Effective date: 20150805

Ref country code: NO

Free format text: LAPSE BECAUSE OF FAILURE TO SUBMIT A TRANSLATION OF THE DESCRIPTION OR TO PAY THE FEE WITHIN THE PRESCRIBED TIME-LIMIT

Effective date: 20151105

PG25 Lapsed in a contracting state [announced via postgrant information from national office to epo]

Ref country code: HR

Free format text: LAPSE BECAUSE OF FAILURE TO SUBMIT A TRANSLATION OF THE DESCRIPTION OR TO PAY THE FEE WITHIN THE PRESCRIBED TIME-LIMIT

Effective date: 20150805

Ref country code: IS

Free format text: LAPSE BECAUSE OF FAILURE TO SUBMIT A TRANSLATION OF THE DESCRIPTION OR TO PAY THE FEE WITHIN THE PRESCRIBED TIME-LIMIT

Effective date: 20151205

Ref country code: PT

Free format text: LAPSE BECAUSE OF FAILURE TO SUBMIT A TRANSLATION OF THE DESCRIPTION OR TO PAY THE FEE WITHIN THE PRESCRIBED TIME-LIMIT

Effective date: 20151207

Ref country code: PL

Free format text: LAPSE BECAUSE OF FAILURE TO SUBMIT A TRANSLATION OF THE DESCRIPTION OR TO PAY THE FEE WITHIN THE PRESCRIBED TIME-LIMIT

Effective date: 20150805

PG25 Lapsed in a contracting state [announced via postgrant information from national office to epo]

Ref country code: SK

Free format text: LAPSE BECAUSE OF FAILURE TO SUBMIT A TRANSLATION OF THE DESCRIPTION OR TO PAY THE FEE WITHIN THE PRESCRIBED TIME-LIMIT

Effective date: 20150805

Ref country code: EE

Free format text: LAPSE BECAUSE OF FAILURE TO SUBMIT A TRANSLATION OF THE DESCRIPTION OR TO PAY THE FEE WITHIN THE PRESCRIBED TIME-LIMIT

Effective date: 20150805

Ref country code: DK

Free format text: LAPSE BECAUSE OF FAILURE TO SUBMIT A TRANSLATION OF THE DESCRIPTION OR TO PAY THE FEE WITHIN THE PRESCRIBED TIME-LIMIT

Effective date: 20150805

Ref country code: CZ

Free format text: LAPSE BECAUSE OF FAILURE TO SUBMIT A TRANSLATION OF THE DESCRIPTION OR TO PAY THE FEE WITHIN THE PRESCRIBED TIME-LIMIT

Effective date: 20150805

REG Reference to a national code

Ref country code: DE

Ref legal event code: R097

Ref document number: 502009011352

Country of ref document: DE

PG25 Lapsed in a contracting state [announced via postgrant information from national office to epo]

Ref country code: RO

Free format text: LAPSE BECAUSE OF FAILURE TO SUBMIT A TRANSLATION OF THE DESCRIPTION OR TO PAY THE FEE WITHIN THE PRESCRIBED TIME-LIMIT

Effective date: 20150805

PLBE No opposition filed within time limit

Free format text: ORIGINAL CODE: 0009261

STAA Information on the status of an ep patent application or granted ep patent

Free format text: STATUS: NO OPPOSITION FILED WITHIN TIME LIMIT

REG Reference to a national code

Ref country code: FR

Ref legal event code: PLFP

Year of fee payment: 8

26N No opposition filed

Effective date: 20160509

PG25 Lapsed in a contracting state [announced via postgrant information from national office to epo]

Ref country code: SI

Free format text: LAPSE BECAUSE OF FAILURE TO SUBMIT A TRANSLATION OF THE DESCRIPTION OR TO PAY THE FEE WITHIN THE PRESCRIBED TIME-LIMIT

Effective date: 20150805

PG25 Lapsed in a contracting state [announced via postgrant information from national office to epo]

Ref country code: MC

Free format text: LAPSE BECAUSE OF FAILURE TO SUBMIT A TRANSLATION OF THE DESCRIPTION OR TO PAY THE FEE WITHIN THE PRESCRIBED TIME-LIMIT

Effective date: 20150805

REG Reference to a national code

Ref country code: IE

Ref legal event code: MM4A

PG25 Lapsed in a contracting state [announced via postgrant information from national office to epo]

Ref country code: IE

Free format text: LAPSE BECAUSE OF NON-PAYMENT OF DUE FEES

Effective date: 20160619

REG Reference to a national code

Ref country code: FR

Ref legal event code: PLFP

Year of fee payment: 9

PG25 Lapsed in a contracting state [announced via postgrant information from national office to epo]

Ref country code: CY

Free format text: LAPSE BECAUSE OF FAILURE TO SUBMIT A TRANSLATION OF THE DESCRIPTION OR TO PAY THE FEE WITHIN THE PRESCRIBED TIME-LIMIT

Effective date: 20150805

Ref country code: HU

Free format text: LAPSE BECAUSE OF FAILURE TO SUBMIT A TRANSLATION OF THE DESCRIPTION OR TO PAY THE FEE WITHIN THE PRESCRIBED TIME-LIMIT; INVALID AB INITIO

Effective date: 20090619

REG Reference to a national code

Ref country code: FR

Ref legal event code: PLFP

Year of fee payment: 10

PG25 Lapsed in a contracting state [announced via postgrant information from national office to epo]

Ref country code: MT

Free format text: LAPSE BECAUSE OF FAILURE TO SUBMIT A TRANSLATION OF THE DESCRIPTION OR TO PAY THE FEE WITHIN THE PRESCRIBED TIME-LIMIT

Effective date: 20150805

Ref country code: MK

Free format text: LAPSE BECAUSE OF FAILURE TO SUBMIT A TRANSLATION OF THE DESCRIPTION OR TO PAY THE FEE WITHIN THE PRESCRIBED TIME-LIMIT

Effective date: 20150805

PG25 Lapsed in a contracting state [announced via postgrant information from national office to epo]

Ref country code: BG

Free format text: LAPSE BECAUSE OF FAILURE TO SUBMIT A TRANSLATION OF THE DESCRIPTION OR TO PAY THE FEE WITHIN THE PRESCRIBED TIME-LIMIT

Effective date: 20150805

REG Reference to a national code

Ref country code: DE

Ref legal event code: R082

Ref document number: 502009011352

Country of ref document: DE

Representative=s name: GRUENECKER PATENT- UND RECHTSANWAELTE PARTG MB, DE

PGFP Annual fee paid to national office [announced via postgrant information from national office to epo]

Ref country code: LU

Payment date: 20240625

Year of fee payment: 16

PGFP Annual fee paid to national office [announced via postgrant information from national office to epo]

Ref country code: AT

Payment date: 20240626

Year of fee payment: 16

PGFP Annual fee paid to national office [announced via postgrant information from national office to epo]

Ref country code: CH

Payment date: 20240701

Year of fee payment: 16

Ref country code: ES

Payment date: 20240701

Year of fee payment: 16

PGFP Annual fee paid to national office [announced via postgrant information from national office to epo]

Ref country code: DE

Payment date: 20250626

Year of fee payment: 17

PGFP Annual fee paid to national office [announced via postgrant information from national office to epo]

Ref country code: GB

Payment date: 20250621

Year of fee payment: 17

PGFP Annual fee paid to national office [announced via postgrant information from national office to epo]

Ref country code: NL

Payment date: 20250621

Year of fee payment: 17

Ref country code: BE

Payment date: 20250621

Year of fee payment: 17

PGFP Annual fee paid to national office [announced via postgrant information from national office to epo]

Ref country code: FR

Payment date: 20250617

Year of fee payment: 17

PGFP Annual fee paid to national office [announced via postgrant information from national office to epo]

Ref country code: TR

Payment date: 20250616

Year of fee payment: 17

PGFP Annual fee paid to national office [announced via postgrant information from national office to epo]

Ref country code: SE

Payment date: 20250621

Year of fee payment: 17

PGFP Annual fee paid to national office [announced via postgrant information from national office to epo]

Ref country code: IT

Payment date: 20250627

Year of fee payment: 17

REG Reference to a national code

Ref country code: CH

Ref legal event code: H13

Free format text: ST27 STATUS EVENT CODE: U-0-0-H10-H13 (AS PROVIDED BY THE NATIONAL OFFICE)

Effective date: 20260127

REG Reference to a national code

Ref country code: AT

Ref legal event code: MM01

Ref document number: 740189

Country of ref document: AT

Kind code of ref document: T

Effective date: 20250619

PG25 Lapsed in a contracting state [announced via postgrant information from national office to epo]

Ref country code: LU

Free format text: LAPSE BECAUSE OF NON-PAYMENT OF DUE FEES

Effective date: 20250619

PG25 Lapsed in a contracting state [announced via postgrant information from national office to epo]

Ref country code: AT

Free format text: LAPSE BECAUSE OF NON-PAYMENT OF DUE FEES

Effective date: 20250619