EP2230985B1 - Wasserführendes haushaltsgerät - Google Patents
Wasserführendes haushaltsgerät Download PDFInfo
- Publication number
- EP2230985B1 EP2230985B1 EP08861330.2A EP08861330A EP2230985B1 EP 2230985 B1 EP2230985 B1 EP 2230985B1 EP 08861330 A EP08861330 A EP 08861330A EP 2230985 B1 EP2230985 B1 EP 2230985B1
- Authority
- EP
- European Patent Office
- Prior art keywords
- filter
- chamber
- pressure chamber
- household appliance
- pump
- Prior art date
- Legal status (The legal status is an assumption and is not a legal conclusion. Google has not performed a legal analysis and makes no representation as to the accuracy of the status listed.)
- Active
Links
- XLYOFNOQVPJJNP-UHFFFAOYSA-N water Substances O XLYOFNOQVPJJNP-UHFFFAOYSA-N 0.000 title claims description 19
- 238000005406 washing Methods 0.000 claims description 21
- 239000012530 fluid Substances 0.000 claims description 15
- 238000004140 cleaning Methods 0.000 claims description 7
- 238000001914 filtration Methods 0.000 claims description 7
- 238000010438 heat treatment Methods 0.000 claims description 5
- 230000000903 blocking effect Effects 0.000 claims description 3
- 238000011144 upstream manufacturing Methods 0.000 claims description 2
- 239000007788 liquid Substances 0.000 description 34
- 239000002245 particle Substances 0.000 description 10
- 239000007921 spray Substances 0.000 description 5
- 238000004851 dishwashing Methods 0.000 description 3
- 230000000717 retained effect Effects 0.000 description 3
- 238000005507 spraying Methods 0.000 description 3
- 238000011001 backwashing Methods 0.000 description 2
- 239000003795 chemical substances by application Substances 0.000 description 2
- 238000009795 derivation Methods 0.000 description 2
- 238000010586 diagram Methods 0.000 description 2
- 239000013505 freshwater Substances 0.000 description 2
- 239000000463 material Substances 0.000 description 2
- 239000010865 sewage Substances 0.000 description 2
- 230000004913 activation Effects 0.000 description 1
- 238000004891 communication Methods 0.000 description 1
- 238000011161 development Methods 0.000 description 1
- 230000018109 developmental process Effects 0.000 description 1
- 230000009977 dual effect Effects 0.000 description 1
- 238000005516 engineering process Methods 0.000 description 1
- 230000002349 favourable effect Effects 0.000 description 1
- 239000012065 filter cake Substances 0.000 description 1
- 238000011010 flushing procedure Methods 0.000 description 1
- 238000001471 micro-filtration Methods 0.000 description 1
- 238000005086 pumping Methods 0.000 description 1
- 230000007704 transition Effects 0.000 description 1
- 239000002351 wastewater Substances 0.000 description 1
Images
Classifications
-
- A—HUMAN NECESSITIES
- A47—FURNITURE; DOMESTIC ARTICLES OR APPLIANCES; COFFEE MILLS; SPICE MILLS; SUCTION CLEANERS IN GENERAL
- A47L—DOMESTIC WASHING OR CLEANING; SUCTION CLEANERS IN GENERAL
- A47L15/00—Washing or rinsing machines for crockery or tableware
- A47L15/42—Details
- A47L15/4202—Water filter means or strainers
- A47L15/4206—Tubular filters
-
- A—HUMAN NECESSITIES
- A47—FURNITURE; DOMESTIC ARTICLES OR APPLIANCES; COFFEE MILLS; SPICE MILLS; SUCTION CLEANERS IN GENERAL
- A47L—DOMESTIC WASHING OR CLEANING; SUCTION CLEANERS IN GENERAL
- A47L15/00—Washing or rinsing machines for crockery or tableware
- A47L15/42—Details
- A47L15/4214—Water supply, recirculation or discharge arrangements; Devices therefor
- A47L15/4219—Water recirculation
-
- A—HUMAN NECESSITIES
- A47—FURNITURE; DOMESTIC ARTICLES OR APPLIANCES; COFFEE MILLS; SPICE MILLS; SUCTION CLEANERS IN GENERAL
- A47L—DOMESTIC WASHING OR CLEANING; SUCTION CLEANERS IN GENERAL
- A47L15/00—Washing or rinsing machines for crockery or tableware
- A47L15/42—Details
- A47L15/4214—Water supply, recirculation or discharge arrangements; Devices therefor
- A47L15/4225—Arrangements or adaption of recirculation or discharge pumps
-
- A—HUMAN NECESSITIES
- A47—FURNITURE; DOMESTIC ARTICLES OR APPLIANCES; COFFEE MILLS; SPICE MILLS; SUCTION CLEANERS IN GENERAL
- A47L—DOMESTIC WASHING OR CLEANING; SUCTION CLEANERS IN GENERAL
- A47L15/00—Washing or rinsing machines for crockery or tableware
- A47L15/42—Details
- A47L15/4285—Water-heater arrangements
-
- F—MECHANICAL ENGINEERING; LIGHTING; HEATING; WEAPONS; BLASTING
- F04—POSITIVE - DISPLACEMENT MACHINES FOR LIQUIDS; PUMPS FOR LIQUIDS OR ELASTIC FLUIDS
- F04D—NON-POSITIVE-DISPLACEMENT PUMPS
- F04D25/00—Pumping installations or systems
- F04D25/02—Units comprising pumps and their driving means
- F04D25/06—Units comprising pumps and their driving means the pump being electrically driven
-
- F—MECHANICAL ENGINEERING; LIGHTING; HEATING; WEAPONS; BLASTING
- F04—POSITIVE - DISPLACEMENT MACHINES FOR LIQUIDS; PUMPS FOR LIQUIDS OR ELASTIC FLUIDS
- F04D—NON-POSITIVE-DISPLACEMENT PUMPS
- F04D29/00—Details, component parts, or accessories
- F04D29/40—Casings; Connections of working fluid
- F04D29/42—Casings; Connections of working fluid for radial or helico-centrifugal pumps
- F04D29/44—Fluid-guiding means, e.g. diffusers
- F04D29/445—Fluid-guiding means, e.g. diffusers especially adapted for liquid pumps
-
- F—MECHANICAL ENGINEERING; LIGHTING; HEATING; WEAPONS; BLASTING
- F04—POSITIVE - DISPLACEMENT MACHINES FOR LIQUIDS; PUMPS FOR LIQUIDS OR ELASTIC FLUIDS
- F04D—NON-POSITIVE-DISPLACEMENT PUMPS
- F04D29/00—Details, component parts, or accessories
- F04D29/58—Cooling; Heating; Diminishing heat transfer
- F04D29/586—Cooling; Heating; Diminishing heat transfer specially adapted for liquid pumps
- F04D29/588—Cooling; Heating; Diminishing heat transfer specially adapted for liquid pumps cooling or heating the machine
-
- F—MECHANICAL ENGINEERING; LIGHTING; HEATING; WEAPONS; BLASTING
- F04—POSITIVE - DISPLACEMENT MACHINES FOR LIQUIDS; PUMPS FOR LIQUIDS OR ELASTIC FLUIDS
- F04D—NON-POSITIVE-DISPLACEMENT PUMPS
- F04D29/00—Details, component parts, or accessories
- F04D29/70—Suction grids; Strainers; Dust separation; Cleaning
- F04D29/708—Suction grids; Strainers; Dust separation; Cleaning specially for liquid pumps
Definitions
- the invention relates to a water-conducting household appliance according to the preamble of claim 1.
- Another dishwasher with a circulating device and a filter is for example from the US 3,949,578 A known.
- the filter is formed as a fine mesh, annular plastic strip and arranged in a pump chamber, the pump should allow an optional promotion of liquid in both directions.
- a dishwashing machine having a pump disposed in a sump which is intended to allow circulation of water in the sump, with both an inlet and an outlet of the pump being arranged in the sump.
- the US Pat. No. 6,418,943 B1 discloses a dishwasher with a device for chopping coarse material.
- the dishwasher of the US 3,129,711 has in a cavity below a water-collecting sump in the bottom of their washing a pump whose rotating impeller is externally surrounded by a fixed filter cylinder. During operation of the pump, water is forced through openings in the filter cylinder from the inside outwards into the outgoing volute (discharge nozzle) of the pump.
- a filter system is used, which may include a coarse filter, a fine sieve and a micro sieve.
- the coarse screen is used to retain dirt particles that can lead to a blockage of the drain pump.
- a fine sieve particles with a particle size greater than approx. 1 mm are retained and with a micro sieve particles with a particle size greater than approx. 0.15 mm are retained.
- a water-conducting household appliance such. a dishwashing machine has a drain pump, with which at the end of a wash cycle soiled wash liquor can be conveyed out of the dishwasher into a house-side wastewater disposal system.
- lye pumps are designed so that they can promote larger particle sizes unhindered and there is no blockage of the drain pump. Therefore, lye pumps are arranged in such a way that polluted rinsing liquor is only roughly filtered during pumping.
- a dishwasher has a circulation pump with which rinsing liquor can be circulated during a cleaning operation, ie, in the sump of a dishwasher collecting liquid is supplied by the circulation pump by a hydraulic system in the interior of the Spül organizations arranged spray arms, with which a uniform loading of the dishes with Rinsing carried out.
- the spray arms have relatively small openings, so it is necessary to guide the circulated rinsing liquor through the fine and micro sieve, so that even the smallest particles are retained and the outlet openings of the spray arms can not clog.
- the circulation pump is designed with respect to the particle size tolerance.
- the object of the invention is to provide a water-conducting domestic appliance, in particular a dishwasher or washing machine, whose filters have an increased reliability.
- the invention is based on a water-conducting domestic appliance, in particular dishwashing or washing machine, with a hydraulic circuit in which rinsing liquid can be recirculated and in which at least one additional filter is provided for filtering circulated rinsing liquor.
- the solution according to the invention is characterized in that at least one additional filter for filtering circulated rinsing liquor is provided in the hydraulic circuit, which is arranged in a region of the hydraulic circuit in which recirculated rinsing fluid has a rotation.
- the rotation of the circulating rinsing liquor or its turbulent flow in this case causes the filter surface of the additional filter is not clogged by forming a filter cake, but an unhindered passage of rinsing liquid or rinsing liquor is guaranteed.
- This may be a complete rotation or only a partially circular or arcuate rotary or deflection movement, which is caused, for example, by deflecting means such as baffles or a channel guide.
- a rotation of circulated rinsing liquor generating means is provided in the area of the hydraulic circuit.
- These may be stationary baffles or vanes that impart rotation to flowing rinse liquid.
- the means for generating a rotation of circulated rinsing agent comprise a circulating pump for circulating rinsing liquid.
- the additional filter is arranged in the circulation pump.
- the usual way provided filter combination can be extended in the dishwasher to the additional filter.
- the additional filter is preceded by the sieve combination arranged in the sump in the flow direction of the rinsing liquid, which can carry out at least one coarse and / or fine filtration.
- the rinsing liquid supplied to the additional filter is thus already precleared, so that the additional filter can be embodied as a microfilter, which is specially designed for filtering off dirt particles which are finely dispersed in the water.
- the pump housing of the circulating pump has a paddle wheel space with a paddle wheel conveying the rinsing fluid and a pressure chamber arranged downstream thereof, into which the rinsing fluid delivered by the paddle wheel flows in a high flow rate.
- the pressure chamber can transition in the flow direction into a flow channel, which leads the rinsing liquid to an outlet-side discharge nozzle of the circulation pump.
- the additional filter is arranged in the pressure chamber, whereby the filter surface is constantly flushed due to the high turbulence of the inflowing into the pressure chamber rinsing liquid and thus can not be added by filter residues.
- the pressure chamber according to the invention extends annularly around a central axis of the circulation pump. With a corresponding flow orientation, the rinsing liquid can move the pressure space in a rotational movement, i. H. tangential to a pressure chamber bounding the pump housing wall, flow through.
- the flow direction can be correspondingly designed by a according to the invention between the Schaufelradraum and the pressure chamber flow guide, such as a stator, according to the circumferential direction.
- Such a circular cross-flow in the pressure chamber ensures an increased residence time of the rinsing liquid in the pressure chamber and a complete overflow of the entire filter surface of the additional filter.
- the flow-through pressure chamber from the additional filter according to the invention in an inlet chamber in which the rinsing liquid flows, and are divided into an outlet chamber from which the rinsing liquid flows to an outlet side discharge nozzle of the circulation pump.
- the inlet chamber of the pressure chamber is located radially outside the outlet chamber of the pressure chamber with respect to the center axis of the circulation pump. The flushing liquid can thus flow over the additional filter in rotational movement along a radial outer wall of the pump housing.
- the additional filter has at least one, preferably disc-shaped filter means that on a hollow cylindrical filter medium carrier sits, which divides the pressure chamber in the aforementioned inlet and outlet chamber.
- the filter medium provided on the filter medium carrier can protrude into the inlet chamber.
- the outer edge of the filter means is preferably not in contact with a radially opposite pump housing wall, but spaced therefrom by a flow gap in order to ensure the greatest possible flow around the filter medium.
- a number of filter media spaced filter media sit on the hollow cylindrical filter media carrier.
- the disc-shaped filter means therefore extend together with these filter spaces in an annular manner about the center axis of the circulation pump within the pressure chamber.
- liquid flow therefore takes place within these filter chambers, a large surface overflow of the filter surfaces, whereby the filter surfaces are constantly flushed and filter residues can not clog the filter surfaces.
- the cleaning of the additional filter, d. H. the cleaning of the additional filter upstream inlet chamber can be done by a flow reversal or a backwashing of rinsing liquid, whereby the filter residues are returned to the sump.
- the filter residues collecting on a side wall of the pressure chamber can be discharged into the pump pot via a separate, valve-controlled channel, from where they can be conducted into the sewage system by means of a drain pump.
- the filter surfaces beforehand filter residues can be provided in the above-mentioned filter spaces at least one freely movable cleaning body, which is freely movable in the filter chambers by the circular cross-flow of the rinsing liquid.
- the pressure chamber of the circulation pump is assigned a heating element for heating the rinsing liquid.
- the additional filter is arranged but also in dual function beyond heats the rinsing liquid.
- the circulating in the hydraulic circuit rinsing liquid is heated accelerated in the pressure chamber.
- FIG. 1 is a schematic diagram of a dishwasher with washing container 1, in which a not shown items to be washed in dish racks 3, 5 can be arranged.
- two spraying arms 7, 9 provided in different spraying levels are arranged by way of example as spraying devices, with which the washware to be cleaned is supplied with washing liquid.
- a pump pot 11 Under the Spül maerboden a pump pot 11 is provided with associated circulating pump 13, which is fluidly connected via fluid lines 15, 16 with the spray arms 7, 9.
- the sump 11 is also connected via connecting pieces with a, connected to the water supply network fresh water supply line 17, and a drain line 18 in conjunction, in which a drain pump 19 is arranged to pump out contaminated rinsing liquid from the washing.
- the pump pot 11 is arranged on the upper side with a flat, funnel-shaped fine filter 21, in the center of a hollow cylindrical, cup-shaped coarse filter 22 is inserted.
- the fine filter 21 and the coarse filter 22 together with one according to the Fig. 2 used in the circulating pump 13 additional filter 23, a three-part filter system.
- the sump 11 is connected via a fluid line 24 with the downstream circulation pump 13 in connection.
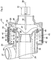
- the liquid line 24 is, as in the Fig. 2 is indicated, pushed with its line end to an intake manifold 25 of the circulation pump 13, which is here for example coaxial with the central axis 26 of the circulating pump 13.
- the circulating pump 13 has a rotatable about the central axis 26 paddle wheel 27 which is provided in a Schaufelradraum 28 within a pump housing 29.
- the paddle wheel 27 is in drive connection via a drive shaft 30 with an only indicated electric motor 31.
- the Schaufelradraum 28 is at its radially outer side via an annular gap 32 with an annular pressure chamber 33 in fluid communication.
- the pressure chamber 33 extends rotationally symmetrically about the central axis 26 and radially outwardly beyond the intake manifold 25 between the Schaufelradraum 28 and the pressure chamber 33 is provided in the annular gap 32 as a flow guide 34, which is non-rotatably mounted on a bearing seat 35 of the pump housing 26.
- the helically extending baffles of the stator 34 are made so steep that the inflowing rinsing liquid flows through the pressure chamber 33 in a high flow velocity in the radial circumferential direction, d. H. tangentially to the cylindrical pump housing wall 44.
- the rinsing fluid flow flowing into the pressure chamber 33 has a low velocity component in the axial direction.
- an annular flow channel 36 connects, through which the rinsing liquid is conveyed tangentially through an outlet-side discharge port 37 into the liquid line 14.
- the additional filter 23 is arranged in the pressure chamber 33.
- the additional filter 23 divides the pressure chamber 33 into a radially outer side inlet chamber 38 and into a radially inner side outlet chamber 39.
- the additional filter 23 has here, by way of example, three disk-shaped filter means 40, which sit on a hollow cylindrical filter medium carrier 41, which extends in the axial direction through the pressure chamber 33.
- the filter medium carrier 41 may be a pipe section whose front ends abut against opposite boundary walls 48 of the pressure chamber 33.
- the disk-shaped filter means 40 are spaced with their outer edges over a free flow gap 42 of a housing outer wall 44.
- the disc-shaped filter means 40 project radially outwardly into the inlet chamber 38. In the axial direction, the filter means are spaced by annular filter chambers 43 in which, if necessary, cleaning bodies are provided which remove the filter residues from the filter surface.
- an example here as Dick Mrsheizelement 45 is provided which heats the circulating from the circulating pump 13 rinsing liquid.
- the rinsing liquid is sucked in by the rotating bucket wheel 27 and guided at high flow speed through the bucket wheel space 28 into the pressure space 33.
- the arranged in the pressure chamber 33 filter means 40 are flowed through by appropriate flow orientation on the stator 34 in a circular cross-flow. Due to the transverse flow, residues are removed from the filter surface of the disk-shaped filter means 40 and forced outward by centrifugal action to the housing outer wall 44. The filter residues accumulate in the lower region of the housing outer wall 44.
- the filter residues in the inlet chamber 38 of the pressure chamber 33 can be returned to the sump 11 by a backwash from the circulation pump 13.
- the paddle wheel 27 can be actuated in a direction opposite to the direction of rotation.
- a valve-controlled drain 46 opening into the bottom region of the housing side wall 44 can be provided, as described in US Pat Fig. 1 is shown.
- filter residues can be removed from the circulation pump.
- the discharge line 46 as a blocking element to a solenoid valve 47 which can be opened and closed by the control device 35.
- the derivative 46 is connected to the pump pot 11.
- the control device 35 can open the solenoid valve 47 simultaneously with the activation of the drain pump 19 in a cleaning operation. In this way, the filter residues collected in the pressure chamber 33 are conducted via the discharge line 46 and the pump pot 11 into the sewage system.
Landscapes
- Engineering & Computer Science (AREA)
- Mechanical Engineering (AREA)
- General Engineering & Computer Science (AREA)
- Water Supply & Treatment (AREA)
- Physics & Mathematics (AREA)
- Thermal Sciences (AREA)
- Structures Of Non-Positive Displacement Pumps (AREA)
- Washing And Drying Of Tableware (AREA)
- Filtration Of Liquid (AREA)
Description
- Die Erfindung betrifft ein wasserführendes Haushaltsgerät nach dem Oberbegriff des Patentanspruches 1.
- Aus der
US 5,601,660 A ist eine Geschirrspülmaschine mit einem Filter zur Filterung von umgewälztem Wasser und einem Behälter zur Sammlung von während des Betriebes herausgefiltertem Material bekannt. - Eine weitere Geschirrspülmaschine mit einer Umwälzvorrichtung sowie einem Filter ist beispielsweise aus der
US 3,949,578 A bekannt. In diesem Fall ist der Filter als feinmaschiger, ringförmiger Kunststoffstreifen ausgebildet und in einer Pumpenkammer angeordnet, wobei die Pumpe eine wahlweise Förderung von Flüssigkeit in beiden Richtungen ermöglichen soll. - In der
US 2006/0219272 A1 ist eine Geschirrspülmaschine mit einer in einem Sumpf angeordneten Pumpe bekannt, welche eine Zirkulation von Wasser in dem Sumpf ermöglichen soll, wobei sowohl ein Einlass als auch ein Auslass der Pumpe im Sumpf angeordnet ist. - Die
US 6,418,943 B1 offenbart eine Geschirrspülmaschine mit einer Vorrichtung zum Zerhacken von grobem Material. - Die Geschirrspülmaschine der
US 3,129,711 weist in einer Kavität unterhalb eines Wasser sammelnden Sumpfes im Boden ihres Spülbehälters eine Pumpe auf, deren rotierend antreibbares Flügelrad außen von einem feststehenden Filterzylinder umgeben ist. Im Betrieb der Pumpe wird durch Öffnungen im Filterzylinder Wasser von innen nach außen in die abgehende Volute (Druckstutzen) der Pumpe gedrückt. - Bei der Geschirrspülmaschine der
US 2,802,477 ist das Flügelrad einer Pumpe ebenfalls ringsum von einem zylindrischen Filter umgeben. - Um bei wasserführenden Haushaltsgeräten, wie beispielsweise Geschirrspülmaschinen zu verhindern, dass das Leitungssystem, in dem Spülflotte umgewälzt wird, durch Schmutzpartikel verschmutzt wird, wird ein Filtersystem eingesetzt, das ein Grobsieb, ein Feinsieb und ein Mikrosieb umfassen kann. Dabei dient das Grobsieb dazu, Schmutzpartikel zurückzuhalten, die zu einer Blockade der Laugenpumpe führen können. Mit einem Feinsieb werden Partikel mit einer Partikelgröße größer ca. 1 mm und mit einem Mikrosieb werden Partikel mit einer Partikelgröße größer ca. 0,15 mm zurückgehalten.
- Ein wasserführendes Haushaltsgerät wie z.B. eine Geschirrspülmaschine weist eine Laugenpumpe auf, mit der am Ende eines Spülgangs verschmutzte Spülflotte aus dem Geschirrspüler heraus in ein hausseitiges Abwasserentsorgungssystem gefördert werden kann. Derartige Laugenpumpen sind derart ausgelegt, dass sie größere Partikelgrößen ungehindert fördern können und es zu keiner Blockade der Laugenpumpe kommt. Daher sind Laugenpumpen derart angeordnet, dass verschmutzte Spülflotte bei Abpumpen nur grob gefiltert wird.
- Ferner weist eine Geschirrspülmaschine eine Umwälzpumpe auf, mit der während eines Reinigungsvorgangs Spülflotte umgewälzt werden kann, d.h., sich im Pumpensumpf einer Geschirrspülmaschine sammelnde Flüssigkeit wird mittels der Umwälzpumpe durch ein Hydrauliksystem im Inneren des Spülbehälters angeordneten Sprüharmen zugeführt, mit denen eine gleichmäßige Beaufschlagung des Spülguts mit Spülflotte erfolgt. Die Sprüharme weisen verhältnismäßig kleine Öffnungen auf, sodass es erforderlich ist, die umgewälzte Spülflotte durch das Fein- und Mikrosieb zu führen, damit auch kleinste Partikel zurückgehalten werden und die Austrittsöffnungen der Sprüharme nicht verstopfen können. Entsprechend ist die Umwälzpumpe bezüglich der Partikelgrößentoleranz ausgebildet.
- Die Aufgabe der Erfindung besteht darin, ein wasserführendes Haushaltsgerät, insbesondere eine Geschirrspül- oder Waschmaschine, bereitzustellen, deren Filter eine gesteigerte Zuverlässigkeit aufweisen.
- Die Aufgabe der Erfindung ist durch die Merkmale des Patentanspruches 1 gelöst. Vorteilhafte Weiterbildungen der Erfindung sind in den Unteransprüchen offenbart.
- Die Erfindung geht aus von einem wasserführendes Haushaltsgerät, insbesondere Geschirrspül- oder Waschmaschine, mit einem Hydraulikkreislauf, in dem Spülflüssigkeit umwälzbar ist und in dem wenigstens ein Zusatzfilter zur Filterung umgewälzter Spülflotte vorgesehen ist. Die erfindungsgemäße Lösung ist dadurch gekennzeichnet, dass in dem Hydraulikkreislauf wenigstens ein Zusatzfilter zur Filterung umgewälzte Spülflotte vorgesehen ist, das in einem Bereich des Hydraulikkreislaufs angeordnet ist, in dem umgewälzte Spülflotte eine Rotation aufweist. Die Rotation der umgewälzten Spülflotte bzw. ihre turbulente Strömung bewirkt dabei, das sich die Filterfläche des Zusatzfilter nicht durch Filterkuchenbildung zusetzt, sondern einen ungehinderter Durchtritt von Spülflüssigkeit bzw. Spülflotte gewährleistet ist. Dabei kann es sich um eine vollständige Rotation oder nur um eine abschnittweise kreis- bzw. bogenförmige Dreh- bzw. Umlenkbewegung handeln, die bspw. durch Umlenkmittel wie Leitbleche oder eine Kanalführung hervorgerufen wird.
- Hierzu sind erfindungsgemäß in dem Bereich des Hydraulikkreislaufs eine Rotation umgewälzter Spülflotte erzeugende Mittel vorgesehen. Es kann sich hierbei um ortsfeste Leitbleche oder -schaufeln handeln, die strömender Spülflüssigkeit eine Rotation aufprägen. Jedoch ist erfindungsgemäß vorgesehen, dass die eine Rotation umgewälzter Spülflotte erzeugende Mittel eine Umwälzpumpe zur Umwälzung von Spülflüssigkeit umfassen.
- Erfindungsgemäß ist vorgesehen, dass in der Umwälzpumpe das Zusatzfilter angeordnet ist. Gegebenenfalls kann somit die üblicher Weise vorgesehene Filterkombination in der Geschirrspülmaschine um den Zusatzfilter erweitert werden. Alternativ kann auch auf einen, im Pumpentopf angeordneten Filter verzichtet werden, wodurch der Pumpentopf kleiner dimensionierbar ist und damit auch die zu erwärmende Totwassermenge im Pumpentopf vorteilig reduzierbar ist.
- Dem Zusatzfilter ist in Strömungsrichtung der Spülflüssigkeit die im Pumpentopf angeordnete Siebkombination vorgelagert, die zumindest eine Grob- und/oder Feinfiltration vornehmen kann. Die dem Zusatzfilter zugeführte Spülflüssigkeit ist somit bereits vorgeklärt, so dass der Zusatzfilter als ein Mikrofilter ausführbar ist, der speziell zur Abfilterung von im Wasser fein dispergierten Schmutzpartikeln ausgelegt ist.
- Das Pumpengehäuse der Umwälzpumpe weist erfindungsgemäß einen Schaufelradraum mit einem die Spülflüssigkeit fördernden Schaufelrad und einen stromab davon angeordneten Druckraum auf, in den die vom Schaufelrad geförderte Spülflüssigkeit in hoher Strömungsgeschwindigkeit einströmt. Der Druckraum kann in Strömungsrichtung in einen Strömungskanal übergehen, der die Spülflüssigkeit zu einem auslassseitigen Druckstutzen der Umwälzpumpe führt. Erfindungsgemäß ist der Zusatzfilter im Druckraum angeordnet, wodurch dessen Filteroberfläche auf Grund der hohen Turbulenzen der in den Druckraum einströmenden Spülflüssigkeit ständig freigespült wird und damit nicht von Filterrückständen zugesetzt werden kann.
- Der Druckraum erstreckt sich erfindungsgemäß ringförmig um eine Mittelachse der Umwälzpumpe. Bei einer entsprechenden Strömungsausrichtung kann die Spülflüssigkeit den Druckraum in einer Rotationsbewegung, d. h. tangential zu einer den Druckraum begrenzenden Pumpengehäusewand, durchströmen. Die Strömungsrichtung kann entsprechend durch ein erfindungsgemäß zwischen dem Schaufelradraum und dem Druckraum geschaltetes Strömungsleitelement, etwa ein Leitrad, entsprechend in Umfangsrichtung ausgelegt werden. Eine solche kreisförmige Querströmung im Druckraum gewährleistet eine erhöhte Verweildauer der Spülflüssigkeit im Druckraum sowie eine vollständige Überströmung der gesamten Filteroberfläche des Zusatzfilters.
- Für eine hohe Filterleistung ist eine vollständige Durchströmung der umgewälzten Spülflüssigkeit durch den Zusatzfilter zu gewährleisten. Hierzu kann der durchströmte Druckraum vom Zusatzfilter erfindungsgemäß in eine Einlasskammer, in der die Spülflüssigkeit einströmt, und in eine Auslasskammer aufgeteilt werden, aus der die Spülflüssigkeit zu einem auslassseitigen Druckstutzen der Umwälzpumpe strömt. Strömungstechnisch günstig ist es, wenn die Einlasskammer des Druckraums mit Bezug auf die Mittelachse der Umwälzpumpe radial außerhalb der Auslasskammer des Druckraums liegt. Die Spülflüssigkeit kann somit in Rotationsbewegung entlang einer radialen Außenwandung des Pumpengehäuses den Zusatzfilter überströmen.
- Zur weiteren Steigerung der Filterleistung ist es von Vorteil, wenn der Zusatzfilter zumindest ein, vorzugsweise scheibenförmiges Filtermittel aufweist, dass auf einem hohl zylindrischen Filtermittel-Träger sitzt, der den Druckraum in die bereits erwähnten Einlass- und Auslasskammer aufteilt. Für eine möglichst große Filteroberfläche kann das auf dem Filtermittel-Träger vorgesehene Filtermittel in die Einlasskammer einragen. Der Außenrand des Filtermittels ist hierbei bevorzugt jedoch nicht in Anlage mit einer radial gegenüberliegenden Pumpengehäuse-Wandung, sondern von dieser über einen Strömungsspalt beabstandet, um eine größtmögliche Umströmung des Filtermittels zu gewährleisten.
- Bevorzugt sitzen eine Anzahl von über Filterräume beabstandete Filtermittel auf dem hohlzylindrischen Filtermittel-Träger. Die scheibenförmigen Filtermittel erstrecken sich daher zusammen mit diesen Filterräumen ringförmig um die Mittelachse der Umwälzpumpe innerhalb des Druckraums. Bei einer in Rotationsbewegung durch den Druckraum geführten Flüssigkeitsströmung erfolgt daher innerhalb dieser Filterräume eine großflächige Überströmung der Filteroberflächen, wodurch die Filteroberflächen ständig freigespült bleiben und Filterrückstände die Filteroberflächen nicht zusetzen können. Die Reinigung des Zusatzfilters, d. h. die Reinigung der dem Zusatzfilter vorgelagerten Einlasskammer kann durch eine Strömungsumkehr bzw. einen Rückspülen von Spülflüssigkeit erfolgen, wodurch die Filterrückstände in den Pumpentopf rückgeführt werden. Alternativ können die sich an einer Seitenwand des Druckraumes sammelnden Filterrückstände über einen separaten, ventilgesteuerten Kanal in den Pumpentopf abgeleitet werden, von wo sie mittels einer Laugenpumpe in das Abwassersystem geleitet werden können. Zur Unterstützung einer Abtragung von, die Filteroberflächen der Filtermittel zusetzenden Rückstände kann in den oben erwähnten Filterräumen zumindest ein frei bewegbarer Reinigungskörper vorgesehen sein, der durch die kreisförmige Querströmung der Spülflüssigkeit frei in den Filterräumen bewegbar ist.
- In einer bevorzugten Ausführungsform ist dem Druckraum der Umwälzpumpe ein Heizelement zur Erwärmung der Spülflüssigkeit zugeordnet. In der Druckkammer ist somit nicht nur der Zusatzfilter angeordnet sondern wird darüber hinaus in Doppelfunktion auch die Spülflüssigkeit erwärmt. Insbesondere auf Grund der hohen Turbulenzen der mit hoher Strömungsgeschwindigkeit in den Druckraum einströmenden Spülflüssigkeit wird die im Hydraulikkreislauf umgewälzte Spülflüssigkeit im Druckraum beschleunigt erwärmt.
- Nachfolgend ist ein Ausführungsbeispiel der Erfindung anhand der beigefügten Figuren beschrieben.
- Es zeigen:
- Fig. 1
- in einem schematischen Blockdiagramm eine erfindungsgemäße Geschirrspülmaschine; und
- Fig. 2
- in einer Seitenschnittdarstellung einen Hydraulikkreislauf der Geschirrspülmaschine verwendete Umwälzpumpe.
- In der
Fig. 1 ist grobschematisch eine Geschirrspülmaschine mit Spülbehälter 1 gezeigt, in dem ein nicht dargestelltes Spülgut in Geschirrkörben 3, 5 angeordnet werden kann. Im gezeigten Spülbehälter 1 sind beispielhaft als Sprüheinrichtungen zwei in unterschiedlichen Sprühebenen vorgesehene Sprüharme 7, 9 angeordnet, mit denen das zu reinigende Spülgut mit Spülflüssigkeit beaufschlagt wird. Unter dem Spülbehälterboden ist ein Pumpentopf 11 mit zugeordneter Umwälzpumpe 13 vorgesehen, die über Flüssigkeitsleitungen 15, 16 strömungstechnisch mit den Sprüharmen 7, 9 verbunden ist. Der Pumpentopf 11 ist außerdem über Anschlussstutzen mit einer, mit dem Wasserversorgungsnetz gekoppelten Frischwasserzuleitung 17, sowie einer Ablaufleitung 18 in Verbindung, in der eine Laugenpumpe 19 zum Abpumpen verunreinigter Spülflüssigkeit aus dem Spülbehälter angeordnet ist. - Wie in der
Fig. 1 angedeutet, ist der Pumpentopf 11 oberseitig mit einem flächigen, trichterförmigen Feinfilter 21 angeordnet, in dem mittig ein hohlzylindrischer, topfförmiger Grobfilter 22 eingesetzt ist. Der Feinfilter 21 und der Grobfilter 22 bilden zusammen mit einem gemäß derFig. 2 in der Umwälzpumpe 13 eingesetzten Zusatzfilter 23 ein dreiteiliges Filtersystem. In dem Filtersystem erfolgt eine Grob- und Feinfiltration mittels des Fein- und Grobfilters 21 und 22, während eine Mikrofiltration mittels des später beschriebenen Zusatzfilters 23 erfolgt. - Der Pumpentopf 11 ist über eine Flüssigkeitsleitung 24 mit der nachgeschalteten Umwälzpumpe 13 in Verbindung. Die Flüssigkeitsleitung 24 ist, wie es in der
Fig. 2 angedeutet ist, mit ihrem Leitungsende auf einen Ansaugstutzen 25 der Umwälzpumpe 13 geschoben, der hier beispielhaft koaxial zur Mittelachse 26 der Umwälzpumpe 13 ist. Die Umwälzpumpe 13 weist ein um die Mittelachse 26 drehbares Schaufelrad 27 auf, das in einem Schaufelradraum 28 innerhalb eines Pumpengehäuses 29 vorgesehen ist. Das Schaufelrad 27 ist über eine Antriebswelle 30 mit einem nur angedeuteten Elektromotor 31 in Antriebsverbindung. - Der Schaufelradraum 28 ist an seiner radial äußeren Seite über einen Ringspalt 32 mit einem ringförmigen Druckraum 33 in Strömungsverbindung. Der Druckraum 33 erstreckt sich rotationssymetrisch um die Mittelachse 26 sowie radial außerhalb über den Ansaugstutzen 25. Zwischen dem Schaufelradraum 28 und dem Druckraum 33 ist in dem Ringspalt 32 als Strömungsleitelement ein Leitrad 34 vorgesehen, das drehfest auf einem Lagersitz 35 des Pumpengehäuses 26 sitzt. Die schraubenlinienförmig verlaufenden Leitwände des Leitrades 34 sind derart steil angestellt, dass die einströmende Spülflüssigkeitsströmung in hoher Strömungsgeschwindigkeit in radialer Umfangsrichtung die Druckkammer 33 durchströmt, d. h. tangential zur zylindrischen Pumpengehäuse-Wand 44. Dementsprechend weist die in den Druckraum 33 einströmende Spülflüssigkeitsströmung eine geringe Geschwindigkeitskomponente in Axialrichtung auf. Stromab der Druckkammer 33 schließt sich ein ringförmiger Strömungskanal 36 an, durch den die Spülflüssigkeit tangential durch einen auslassseitigen Druckstutzen 37 in die Flüssigkeitsleitung 14 gefördert wird.
- Wie bereits oben erwähnt, ist in dem Druckraum 33 der Zusatzfilter 23 angeordnet. Der Zusatzfilter 23 teilt den Druckraum 33 in eine radialaußenseitige Einlasskammer 38 und in eine radial innenseitige Auslasskammer 39 auf. Der Zusatzfilter 23 weist hier beispielhaft drei scheibenförmige Filtermittel 40 auf, die auf einem hohlzylindrischen Filtermittel-Träger 41 sitzen, der sich in Axialrichtung durch den Druckraum 33 erstreckt. Der FiltermittelTräger 41 kann ein Rohrabschnitt sein, dessen stirnseitige Enden an gegenüberliegenden Begrenzungswänden 48 des Druckraums 33 anliegen. Die scheibenförmigen Filtermittel 40 sind mit ihren Außenrändern über einen freien Strömungsspalt 42 von einer Gehäuseaußenwand 44 beabstandet.
- Die scheibenförmigen Filtermittel 40 ragen in Radialrichtung nach außen in die Einlasskammer 38 ein. In der Axialrichtung sind die Filtermittel über ringförmige Filterräume 43 beabstandet, in denen ggf. Reinigungskörper vorgesehen sind, die Filterrückstände von der Filteroberfläche abtragen.
- Wie aus der
Fig. 2 weiter hervorgeht, ist außenseitig an der Gehäuseaußenwand 44 ein hier beispielhaft als Dickschichtheizelement 45 vorgesehen, das die von der Umwälzpumpe 13 umgewälzte Spülflüssigkeit erwärmt. - Während eines Umwälzbetriebes wird die Spülflüssigkeit vom rotierenden Schaufelrad 27 angesaugt und mit hoher Strömungsgeschwindigkeit durch den Schaufelradraum 28 in den Druckraum 33 geführt. Die im Druckraum 33 angeordneten Filtermittel 40 werden durch entsprechende Strömungsausrichtung am Leitrad 34 in einer kreisförmigen Querströmung überströmt. Durch die Querströmung werden Rückstände von der Filteroberfläche der scheibenförmigen Filtermittel 40 abgetragen und durch Zentrifugalwirkung nach außen an die Gehäuseaußenwand 44 gedrängt. Die Filterrückstände sammeln sich dabei im unteren Bereich der Gehäuseaußenwand 44.
- Die Filterrückstände in der Einlasskammer 38 des Druckraums 33 können durch eine Rückspülung von der Umwälzpumpe 13 in den Pumpentopf 11 rückgeführt werden. Hierzu kann das Schaufelrad 27 in einer zur Förderrichtung entgegengesetzten Drehrichtung betätigt werden.
- Alternativ zur Rückspülung kann eine in den Bodenbereich der Gehäuseseitenwand 44 mündende, ventilgesteuerte Ableitung 46 bereitgestellt werden, wie sie in der
Fig. 1 gezeigt ist. Durch die Ableitung 46 können Filterrückstände aus der Umwälzpumpe entfernt werden. Hierzu weist die Ableitung 46 als Sperrelement ein Magnetventil 47 auf, das von der Steuereinrichtung 35 öffnen- und schließbar ist. Die Ableitung 46 ist an den Pumpentopf 11 angeschlossen. Die Steuereinrichtung 35 kann in einem Reinigungsbetrieb das Magnetventil 47 gleichzeitig mit der Ansteuerung der Laugenpumpe 19 öffnen. Auf diese Weise werden die in der Durckkammer 33 gesammelten Filterrückstände über die Ableitung 46 und den Pumpentopf 11 in das Abwassersystem geleitet.BEZUGSZEICHENLISTE 1 Spülbehälter 43 Filterräume 3, 5 Geschirrkörbe 45 Heizelement 7,9 Sprüharme 44 Gehäuseaußenwand 11 Pumpentopf 46 Ablaufleitung 13 Umwälzpumpe 47 Sperrelement 15 Flüssigkeitsleitung 48 Begrenzungswand 16 Flüssigkeitsleitung 17 Frischwasserzuleitung 18 Ableitung 19 Laugenpumpe 21 Feinfilter 22 Grobfilter 23 Zusatzfilter 24 Flüssigkeitsleitung 25 Ansaugstutzen 26 Mittelachse 27 Schaufelrad 28 Schaufelradraum 29 Pumpengehäuse 32 Ringspalt 33 Druckraum 34 Leitrad 35 Lagersitz 36 Strömungskanal 37 Druckstutzen 38 Einlasskammer 39 Auslasskammer 40 Filtermittel 41 Filtermittel-Träger 42 Strömungsspalt
Claims (11)
- Wasserführendes Haushaltsgerät, insbesondere Geschirrspül- oder Waschmaschine, mit einem Hydraulikkreislauf, in dem Spülflüssigkeit umwälzbar ist und in dem wenigstens ein Zusatzfilter (23) zur Filterung umgewälzter Spülflotte vorgesehen ist, wobei in dem Hydraulikkreislauf wenigstens ein Zusatzfilter (23) zur Filterung umgewälzter Spülflotte vorgesehen ist, das in einem Bereich des Hydraulikkreislaufs angeordnet ist, in dem umgewälzte Spülflotte eine Rotation aufweist, wobei in dem Bereich des Hydraulikkreislaufs eine Rotation umgewälzter Spülflotte erzeugende Mittel vorgesehen sind, die eine Umwälzpumpe (13) zur Umwälzung von Spülflüssigkeit umfassen, in welcher der Zusatzfilter (23) angeordnet ist und welche einen Schaufelradraum (28) mit einem die Spülflüssigkeit fördernden Schaufelrad (27) und einen stromab davon angeordneten Druckraum (33) aufweist, wobei der Zusatzfilter (23) in dem Druckraum (33) angeordnet ist, wobei der Druckraum (33) vom Zusatzfilter (23) in eine Einlasskammer (38), in die die Spülflüssigkeit einströmt, und in eine Auslasskammer (39) aufgeteilt ist, aus der die Spülflüssigkeit zu einem auslassseitigen Druckstutzen (37) der Umwälzpumpe (13) strömt und wobei der Druckraum (33) und/oder die Einlasskammer (38) sowie die Auslasskammer (39) sich ringförmig um die Mittelachse (26) der Umwälzpumpe (13) erstrecken,
dadurch gekennzeichnet,
dass die Einlasskammer (38) des Druckraums (33) mit Bezug auf eine Mittelachse (26) der Umwälzpumpe (13) radial außerhalb der Auslasskammer (39) des Druckraums (33) liegt, dass zwischen dem Schaufelradraum (28) und dem Druckraum (33) ein Strömungsleitelement (34) geschaltet ist, und dass das Strömungsleitelement (34) die Spülflüssigkeit entlang einer Pumpengehäuse-Wand (44) tangential einleitet. - Wasserführendes Haushaltsgerät nach Anspruch 1, dadurch gekennzeichnet, dass der Umwälzpumpe (13) ein Pumpentopf (11) vorgeschaltet ist, in dem ein Grob- und/oder ein Feinfilter (21, 22) angeordnet ist.
- Wasserführendes Haushaltsgerät nach Anspruch 2, dadurch gekennzeichnet, dass der Grob- und/oder Feinfilter (21, 22) eine im Vergleich zum Zusatzfilter (23) größere Maschenweite aufweisen.
- Wasserführendes Haushaltsgerät nach einem der Ansprüche 1 bis 3, dadurch gekennzeichnet, dass der Zusatzfilter (23) zumindest ein vorzugsweise scheibenförmiges Filtermittel (40) aufweist, das auf einem hohlzylindrischen Filtermittel-Träger (41) sitzt, der den Druckraum (33) in die Ein- und Auslasskammer (38, 39) aufteilt.
- Wasserführendes Haushaltsgerät nach Anspruch 4, dadurch gekennzeichnet, dass der hohlzylindrische Filtermittel-Träger (41) koaxial zur Umwälzpumpen-Mittelachse (26) sich zwischen gegenüberliegenden Begrenzungswänden (43) des Druckraums (33) erstreckt.
- Wasserführendes Haushaltsgerät nach Anspruch 4 oder 5, dadurch gekennzeichnet, dass die Filtermittel (40) in die Einlasskammer (38) ragen, und zwischen den Filtermitteln (40) oder Gehäusewänden zumindest ein Filterraum (43) begrenzt ist, der sich vorzugsweise ringförmig um die Mittelachse (26) der Umwälzpumpe (13) erstreckt.
- Wasserführendes Haushaltsgerät nach Anspruch 4, 5 oder 6, dadurch gekennzeichnet, dass das Filtermittel (40) in einer Radialrichtung nach außen über einen Strömungsspalt (42) radial von einer Pumpengehäuse-Wand (44) beabstandet ist.
- Wasserführendes Haushaltsgerät nach Anspruch 6 oder 7, dadurch gekennzeichnet, dass in dem Filterraum (43) zumindest ein vorzugsweise frei bewegbarer Reinigungskörper angeordnet ist.
- Wasserführendes Haushaltsgerät nach einem der Ansprüche 1 bis 8, dadurch gekennzeichnet, dass dem Druckraum (33) der Umwälzpumpe (13) ein Heizelement (44) zum Aufheizen der Spülflüssigkeit zugeordnet ist.
- Wasserführendes Haushaltsgerät nach einem der Ansprüche 1 bis 9, dadurch gekennzeichnet, dass die Umwälzpumpe (13) über eine Ablaufleitung (46) mit einem Pumpentopf (11) verbunden ist.
- Wasserführendes Haushaltsgerät nach Anspruch 10, dadurch gekennzeichnet, dass in der Ablaufleitung (46) ein Sperrelement (47) angeordnet ist, das vorzugsweise die Ablaufleitung (46) öffnet, wenn eine Laugenpumpe (19) Spülflüssigkeit aus dem Pumpentopf (11) abführt.
Applications Claiming Priority (2)
| Application Number | Priority Date | Filing Date | Title |
|---|---|---|---|
| DE102007060193A DE102007060193A1 (de) | 2007-12-14 | 2007-12-14 | Wasserführendes Haushaltsgerät |
| PCT/EP2008/065292 WO2009077266A1 (de) | 2007-12-14 | 2008-11-11 | Wasserführendes haushaltsgerät |
Publications (2)
| Publication Number | Publication Date |
|---|---|
| EP2230985A1 EP2230985A1 (de) | 2010-09-29 |
| EP2230985B1 true EP2230985B1 (de) | 2016-06-15 |
Family
ID=40340478
Family Applications (1)
| Application Number | Title | Priority Date | Filing Date |
|---|---|---|---|
| EP08861330.2A Active EP2230985B1 (de) | 2007-12-14 | 2008-11-11 | Wasserführendes haushaltsgerät |
Country Status (6)
| Country | Link |
|---|---|
| US (1) | US8733375B2 (de) |
| EP (1) | EP2230985B1 (de) |
| CN (1) | CN101896112B (de) |
| DE (1) | DE102007060193A1 (de) |
| PL (1) | PL2230985T3 (de) |
| WO (1) | WO2009077266A1 (de) |
Families Citing this family (52)
| Publication number | Priority date | Publication date | Assignee | Title |
|---|---|---|---|---|
| US8627832B2 (en) | 2010-12-13 | 2014-01-14 | Whirlpool Corporation | Rotating filter for a dishwashing machine |
| US8746261B2 (en) | 2009-12-21 | 2014-06-10 | Whirlpool Corporation | Rotating drum filter for a dishwashing machine |
| US9119515B2 (en) | 2010-12-03 | 2015-09-01 | Whirlpool Corporation | Dishwasher with unitary wash module |
| US9918609B2 (en) | 2009-12-21 | 2018-03-20 | Whirlpool Corporation | Rotating drum filter for a dishwashing machine |
| US9687135B2 (en) | 2009-12-21 | 2017-06-27 | Whirlpool Corporation | Automatic dishwasher with pump assembly |
| US8667974B2 (en) | 2009-12-21 | 2014-03-11 | Whirlpool Corporation | Rotating filter for a dishwashing machine |
| DE102010028619A1 (de) * | 2010-05-05 | 2011-11-10 | BSH Bosch und Siemens Hausgeräte GmbH | Ventil, Hausgerät und Verfahren zum Betreiben eines Ventils |
| US9668636B2 (en) | 2010-11-16 | 2017-06-06 | Whirlpool Corporation | Method and apparatus for dishwasher with common heating element for multiple treating chambers |
| US9113766B2 (en) | 2010-11-16 | 2015-08-25 | Whirlpool Corporation | Method and apparatus for dishwasher with common heating element for multiple treating chambers |
| US9034112B2 (en) | 2010-12-03 | 2015-05-19 | Whirlpool Corporation | Dishwasher with shared heater |
| CN103269632B (zh) * | 2010-12-24 | 2016-08-31 | 阿塞里克股份有限公司 | 包括存储箱的餐具洗涤机 |
| US8733376B2 (en) | 2011-05-16 | 2014-05-27 | Whirlpool Corporation | Dishwasher with filter assembly |
| US9107559B2 (en) | 2011-05-16 | 2015-08-18 | Whirlpool Corporation | Dishwasher with filter assembly |
| US20120318296A1 (en) | 2011-06-20 | 2012-12-20 | Whirlpool Corporation | Ultra micron filter for a dishwasher |
| US9005369B2 (en) | 2011-06-20 | 2015-04-14 | Whirlpool Corporation | Filter assembly for a dishwasher |
| US9861251B2 (en) | 2011-06-20 | 2018-01-09 | Whirlpool Corporation | Filter with artificial boundary for a dishwashing machine |
| US9010344B2 (en) | 2011-06-20 | 2015-04-21 | Whirlpool Corporation | Rotating filter for a dishwashing machine |
| US9265401B2 (en) | 2011-06-20 | 2016-02-23 | Whirlpool Corporation | Rotating filter for a dishwashing machine |
| DE102011079510B4 (de) * | 2011-07-20 | 2016-11-24 | E.G.O. Elektro-Gerätebau GmbH | Pumpe |
| DE102011079887A1 (de) * | 2011-07-27 | 2013-01-31 | BSH Bosch und Siemens Hausgeräte GmbH | Wasserführendes Haushaltsgerät mit einer Heizpumpe |
| US9693672B2 (en) | 2011-09-22 | 2017-07-04 | Whirlpool Corporation | Dishwasher with sprayer |
| DE102012200113B4 (de) | 2012-01-05 | 2016-07-07 | BSH Hausgeräte GmbH | Heizeinrichtung in einem wasserführenden Haushaltsgerät |
| US9307885B2 (en) | 2012-01-11 | 2016-04-12 | Whirlpool Corporation | Rotating filter assembly for a dishwasher |
| DE102012202491B3 (de) * | 2012-02-17 | 2013-08-08 | E.G.O. Elektro-Gerätebau GmbH | Leitrad für eine Impellerpumpe und Impellerpumpe |
| US9301667B2 (en) | 2012-02-27 | 2016-04-05 | Whirlpool Corporation | Soil chopping system for a dishwasher |
| US9237836B2 (en) | 2012-05-30 | 2016-01-19 | Whirlpool Corporation | Rotating filter for a dishwasher |
| US9730570B2 (en) | 2012-05-30 | 2017-08-15 | Whirlpool Corporation | Reduced sound with a rotating filter for a dishwasher |
| US9451862B2 (en) | 2012-06-01 | 2016-09-27 | Whirlpool Corporation | Dishwasher with unitary wash module |
| US9532700B2 (en) | 2012-06-01 | 2017-01-03 | Whirlpool Corporation | Dishwasher with overflow conduit |
| US9833120B2 (en) | 2012-06-01 | 2017-12-05 | Whirlpool Corporation | Heating air for drying dishes in a dishwasher using an in-line wash liquid heater |
| US9554688B2 (en) | 2012-10-23 | 2017-01-31 | Whirlpool Corporation | Rotating filter for a dishwasher and methods of cleaning a rotating filter |
| US20140158168A1 (en) * | 2012-12-12 | 2014-06-12 | General Electric Company | Sump assembly for a dishwasher appliance |
| DE102013200280A1 (de) | 2013-01-10 | 2014-07-10 | E.G.O. Elektro-Gerätebau GmbH | Impellerpumpe |
| US9532701B2 (en) | 2013-03-01 | 2017-01-03 | Whirlpool Corporation | Dishwasher with sprayer |
| DE102013211556A1 (de) * | 2013-06-19 | 2014-12-24 | E.G.O. Elektro-Gerätebau GmbH | Heizeinrichtung für eine Pumpe und Pumpe |
| US9713413B2 (en) | 2013-07-01 | 2017-07-25 | Whirlpool Corporation | Dishwasher for treating dishes |
| US9532699B2 (en) | 2013-07-15 | 2017-01-03 | Whirlpool Corporation | Dishwasher with sprayer |
| DE102014201880B3 (de) * | 2014-02-03 | 2014-12-18 | Schaeffler Technologies Gmbh & Co. Kg | Schmutzfänger als Funktionsmodul im Flügelrad einer Kühlmittelpumpe |
| ES1110956Y (es) | 2014-03-10 | 2014-08-29 | Coprecitec Sl | Bomba de recirculado y drenado para un aparato electrodoméstico, en particular una lavadora o un lavavajillas doméstico |
| DE102016201975B3 (de) * | 2016-02-10 | 2017-03-02 | BSH Hausgeräte GmbH | Wäschepflegegerät mit einer Pumpe |
| DE102016203179B3 (de) * | 2016-02-29 | 2017-05-11 | BSH Hausgeräte GmbH | Wäschepflegegerät mit einer Pumpe |
| CN107288929A (zh) * | 2016-04-11 | 2017-10-24 | 广东顺德思客乐施电器科技有限公司 | 区分叶轮腔和加热腔的洗碗机水泵 |
| DE102016208020A1 (de) * | 2016-05-10 | 2017-11-16 | BSH Hausgeräte GmbH | Flüssigkeitsheizpumpe zum Fördern und Aufheizen von Flüssigkeit in einem wasserführenden Haushaltsgerät |
| DE102016215266A1 (de) * | 2016-08-16 | 2018-02-22 | BSH Hausgeräte GmbH | Baueinheit, insbesondere Heizpumpe, mit einem beheizbaren Rohrabschnitt für ein wasserführendes Haushaltsgerät, sowie wasserführendes Haushaltsgerät mit einer solchen Baueinheit |
| CN106762846A (zh) * | 2016-12-14 | 2017-05-31 | 衡阳市力源动力制造有限公司 | 一种带有防泥沙装置的冷却机构 |
| CN107641940B (zh) * | 2017-10-23 | 2019-10-25 | 无锡小天鹅电器有限公司 | 泵体装置及洗衣机 |
| DE102019201845A1 (de) * | 2019-02-13 | 2020-08-13 | BSH Hausgeräte GmbH | Haushaltsgerät zum Behandeln von Wäsche |
| DE102019203809B3 (de) * | 2019-03-20 | 2020-07-02 | E.G.O. Elektro-Gerätebau GmbH | Wasserführendes Haushaltsgerät und Verfahren zu seinem Betrieb |
| DE102019205919B4 (de) * | 2019-04-25 | 2022-12-15 | E.G.O. Elektro-Gerätebau GmbH | Wasserführendes Haushaltsgerät und Verfahren zu seinem Betrieb |
| DE102020106792A1 (de) | 2020-03-12 | 2021-09-16 | Illinois Tool Works Inc. | Spülmaschine mit mindestens einem als rezirkulationskreislauf ausgebildeten waschsystem |
| CN114197174B (zh) * | 2020-09-18 | 2023-07-14 | 合肥美的洗衣机有限公司 | 洗衣机 |
| CN113153760B (zh) * | 2021-06-09 | 2022-08-09 | 安徽埃斯克制泵有限公司 | 一种无堵塞高吸程自吸泵 |
Citations (2)
| Publication number | Priority date | Publication date | Assignee | Title |
|---|---|---|---|---|
| US2802477A (en) * | 1956-08-29 | 1957-08-13 | Whirlpool Seeger Corp | Combined dishwashing machine and disposal unit |
| US3129711A (en) * | 1960-09-29 | 1964-04-21 | Gorman Rupp Ind Inc | Dishwasher recirculating assembly |
Family Cites Families (9)
| Publication number | Priority date | Publication date | Assignee | Title |
|---|---|---|---|---|
| US3836001A (en) * | 1972-07-19 | 1974-09-17 | Westinghouse Electric Corp | Pump with self-cleaning lint filter |
| US3949579A (en) | 1973-02-13 | 1976-04-13 | Attilio Bertoldi | Apparatus for fabric processing |
| DE8318398U1 (de) * | 1983-06-24 | 1983-10-06 | Bosch-Siemens Hausgeraete Gmbh, 7000 Stuttgart | Laugenpumpe fuer eine waschmaschine |
| US5601600A (en) | 1995-09-08 | 1997-02-11 | Conceptus, Inc. | Endoluminal coil delivery system having a mechanical release mechanism |
| KR970010423B1 (ko) * | 1995-09-19 | 1997-06-26 | 엘지전자 주식회사 | 식기세척기의 오물 처리방법 및 그 장치 |
| DE19636014B4 (de) * | 1995-11-24 | 2006-03-02 | AEG Hausgeräte GmbH | Vorrichtung und Verfahren zur Filtration einer Flüssigkeit |
| US6418943B1 (en) * | 1999-06-04 | 2002-07-16 | Whirlpool Corporation | Wash liquid circulation system for a dishwasher |
| DE102004060950A1 (de) | 2004-12-17 | 2006-06-29 | BSH Bosch und Siemens Hausgeräte GmbH | Geschirrspülmaschine mit wartungsarmem Siebsystem |
| US7985300B2 (en) * | 2005-04-04 | 2011-07-26 | Lg Electronics Inc. | Dishwasher and assembly method thereof |
-
2007
- 2007-12-14 DE DE102007060193A patent/DE102007060193A1/de not_active Withdrawn
-
2008
- 2008-11-11 US US12/745,695 patent/US8733375B2/en active Active
- 2008-11-11 PL PL08861330.2T patent/PL2230985T3/pl unknown
- 2008-11-11 CN CN200880120780.6A patent/CN101896112B/zh active Active
- 2008-11-11 WO PCT/EP2008/065292 patent/WO2009077266A1/de not_active Ceased
- 2008-11-11 EP EP08861330.2A patent/EP2230985B1/de active Active
Patent Citations (2)
| Publication number | Priority date | Publication date | Assignee | Title |
|---|---|---|---|---|
| US2802477A (en) * | 1956-08-29 | 1957-08-13 | Whirlpool Seeger Corp | Combined dishwashing machine and disposal unit |
| US3129711A (en) * | 1960-09-29 | 1964-04-21 | Gorman Rupp Ind Inc | Dishwasher recirculating assembly |
Also Published As
| Publication number | Publication date |
|---|---|
| CN101896112A (zh) | 2010-11-24 |
| US8733375B2 (en) | 2014-05-27 |
| PL2230985T3 (pl) | 2016-11-30 |
| EP2230985A1 (de) | 2010-09-29 |
| US20100252081A1 (en) | 2010-10-07 |
| WO2009077266A1 (de) | 2009-06-25 |
| DE102007060193A1 (de) | 2009-06-25 |
| CN101896112B (zh) | 2012-11-28 |
Similar Documents
| Publication | Publication Date | Title |
|---|---|---|
| EP2230985B1 (de) | Wasserführendes haushaltsgerät | |
| DE102007061038B4 (de) | Wasserführendes Haushaltsgerät | |
| DE102007060197B4 (de) | Wasserführendes Haushaltsgerät | |
| DE4131914C2 (de) | Siebkombination für Haushalt-Geschirrspülmaschinen | |
| EP2222218B1 (de) | Geschirrspülmaschine | |
| EP1835840B1 (de) | Mehrtankgeschirrspülmaschine mit rückspülvorrichtung | |
| DE102007061036B4 (de) | Wasserführendes Haushaltsgerät mit einem selbstreinigenden Filtersystem | |
| DE60206490T2 (de) | Geschirrspülmaschine mit durch den Spülwasserstrom rotierbarer Filter- und Zerkleinerungsvorrichtung | |
| EP2283762B1 (de) | Wasserführendes Haushaltsgerät | |
| DE102012103419B4 (de) | Rotationsfilter für Geschirrspüler | |
| DE102012102182A1 (de) | Geschirrspüler mit Filteranordnung | |
| WO2009077280A1 (de) | Wasserführendes haushaltsgerät | |
| EP2478818B1 (de) | Geschirrspülmaschine mit Siebreinigungseinrichtung | |
| DE102012102184A1 (de) | Geschirrspüler mit Filteranordnung | |
| DE8913614U1 (de) | Geschirrspülmaschine mit selbstreinigendem Filter | |
| DE8802328U1 (de) | Geschirrspülmaschine mit selbstreinigendem Umlaufsieb | |
| DE102012103418A1 (de) | Rotationsfilter für einen Geschirrspüler | |
| DE102015208212B3 (de) | Getränkeautomat mit Siebeinrichtung | |
| DE102012110890A1 (de) | Rotationsfilteranordnung für einen Geschirrspüler | |
| EP2699141B1 (de) | Geschirrspülmaschine | |
| EP3866663B1 (de) | Haushalts-geschirrspülmaschine mit einem selbstreinigenden filtersystem | |
| EP3545813A1 (de) | Geschirrspülmaschine, insbesondere haushaltsgeschirrspülmaschine | |
| DE1159604B (de) | Geschirrspuelmaschine | |
| EP3545812B1 (de) | Geschirrspülmaschine, insbesondere haushaltsgeschirrspülmaschine | |
| DE29603299U1 (de) | Strömungsfilter |
Legal Events
| Date | Code | Title | Description |
|---|---|---|---|
| PUAI | Public reference made under article 153(3) epc to a published international application that has entered the european phase |
Free format text: ORIGINAL CODE: 0009012 |
|
| 17P | Request for examination filed |
Effective date: 20100714 |
|
| AK | Designated contracting states |
Kind code of ref document: A1 Designated state(s): AT BE BG CH CY CZ DE DK EE ES FI FR GB GR HR HU IE IS IT LI LT LU LV MC MT NL NO PL PT RO SE SI SK TR |
|
| AX | Request for extension of the european patent |
Extension state: AL BA MK RS |
|
| RIN1 | Information on inventor provided before grant (corrected) |
Inventor name: WACHINGER, THOMAS Inventor name: CLASSEN, EGBERT Inventor name: JERG, HELMUT Inventor name: NANNT, HANS-PETER Inventor name: PAINTNER, KAI |
|
| DAX | Request for extension of the european patent (deleted) | ||
| 17Q | First examination report despatched |
Effective date: 20140703 |
|
| RAP1 | Party data changed (applicant data changed or rights of an application transferred) |
Owner name: BSH HAUSGERAETE GMBH |
|
| GRAP | Despatch of communication of intention to grant a patent |
Free format text: ORIGINAL CODE: EPIDOSNIGR1 |
|
| INTG | Intention to grant announced |
Effective date: 20160125 |
|
| GRAS | Grant fee paid |
Free format text: ORIGINAL CODE: EPIDOSNIGR3 |
|
| GRAA | (expected) grant |
Free format text: ORIGINAL CODE: 0009210 |
|
| AK | Designated contracting states |
Kind code of ref document: B1 Designated state(s): AT BE BG CH CY CZ DE DK EE ES FI FR GB GR HR HU IE IS IT LI LT LU LV MC MT NL NO PL PT RO SE SI SK TR |
|
| REG | Reference to a national code |
Ref country code: CH Ref legal event code: EP Ref country code: GB Ref legal event code: FG4D Free format text: NOT ENGLISH |
|
| REG | Reference to a national code |
Ref country code: IE Ref legal event code: FG4D Free format text: LANGUAGE OF EP DOCUMENT: GERMAN |
|
| REG | Reference to a national code |
Ref country code: AT Ref legal event code: REF Ref document number: 806063 Country of ref document: AT Kind code of ref document: T Effective date: 20160715 |
|
| REG | Reference to a national code |
Ref country code: DE Ref legal event code: R096 Ref document number: 502008014310 Country of ref document: DE |
|
| REG | Reference to a national code |
Ref country code: LT Ref legal event code: MG4D |
|
| REG | Reference to a national code |
Ref country code: NL Ref legal event code: MP Effective date: 20160615 |
|
| PG25 | Lapsed in a contracting state [announced via postgrant information from national office to epo] |
Ref country code: LT Free format text: LAPSE BECAUSE OF FAILURE TO SUBMIT A TRANSLATION OF THE DESCRIPTION OR TO PAY THE FEE WITHIN THE PRESCRIBED TIME-LIMIT Effective date: 20160615 Ref country code: NO Free format text: LAPSE BECAUSE OF FAILURE TO SUBMIT A TRANSLATION OF THE DESCRIPTION OR TO PAY THE FEE WITHIN THE PRESCRIBED TIME-LIMIT Effective date: 20160915 Ref country code: FI Free format text: LAPSE BECAUSE OF FAILURE TO SUBMIT A TRANSLATION OF THE DESCRIPTION OR TO PAY THE FEE WITHIN THE PRESCRIBED TIME-LIMIT Effective date: 20160615 |
|
| PG25 | Lapsed in a contracting state [announced via postgrant information from national office to epo] |
Ref country code: LV Free format text: LAPSE BECAUSE OF FAILURE TO SUBMIT A TRANSLATION OF THE DESCRIPTION OR TO PAY THE FEE WITHIN THE PRESCRIBED TIME-LIMIT Effective date: 20160615 Ref country code: SE Free format text: LAPSE BECAUSE OF FAILURE TO SUBMIT A TRANSLATION OF THE DESCRIPTION OR TO PAY THE FEE WITHIN THE PRESCRIBED TIME-LIMIT Effective date: 20160615 Ref country code: GR Free format text: LAPSE BECAUSE OF FAILURE TO SUBMIT A TRANSLATION OF THE DESCRIPTION OR TO PAY THE FEE WITHIN THE PRESCRIBED TIME-LIMIT Effective date: 20160916 Ref country code: HR Free format text: LAPSE BECAUSE OF FAILURE TO SUBMIT A TRANSLATION OF THE DESCRIPTION OR TO PAY THE FEE WITHIN THE PRESCRIBED TIME-LIMIT Effective date: 20160615 Ref country code: NL Free format text: LAPSE BECAUSE OF FAILURE TO SUBMIT A TRANSLATION OF THE DESCRIPTION OR TO PAY THE FEE WITHIN THE PRESCRIBED TIME-LIMIT Effective date: 20160615 |
|
| PG25 | Lapsed in a contracting state [announced via postgrant information from national office to epo] |
Ref country code: EE Free format text: LAPSE BECAUSE OF FAILURE TO SUBMIT A TRANSLATION OF THE DESCRIPTION OR TO PAY THE FEE WITHIN THE PRESCRIBED TIME-LIMIT Effective date: 20160615 Ref country code: IS Free format text: LAPSE BECAUSE OF FAILURE TO SUBMIT A TRANSLATION OF THE DESCRIPTION OR TO PAY THE FEE WITHIN THE PRESCRIBED TIME-LIMIT Effective date: 20161015 Ref country code: CZ Free format text: LAPSE BECAUSE OF FAILURE TO SUBMIT A TRANSLATION OF THE DESCRIPTION OR TO PAY THE FEE WITHIN THE PRESCRIBED TIME-LIMIT Effective date: 20160615 Ref country code: SK Free format text: LAPSE BECAUSE OF FAILURE TO SUBMIT A TRANSLATION OF THE DESCRIPTION OR TO PAY THE FEE WITHIN THE PRESCRIBED TIME-LIMIT Effective date: 20160615 Ref country code: RO Free format text: LAPSE BECAUSE OF FAILURE TO SUBMIT A TRANSLATION OF THE DESCRIPTION OR TO PAY THE FEE WITHIN THE PRESCRIBED TIME-LIMIT Effective date: 20160615 Ref country code: IT Free format text: LAPSE BECAUSE OF FAILURE TO SUBMIT A TRANSLATION OF THE DESCRIPTION OR TO PAY THE FEE WITHIN THE PRESCRIBED TIME-LIMIT Effective date: 20160615 |
|
| PG25 | Lapsed in a contracting state [announced via postgrant information from national office to epo] |
Ref country code: PT Free format text: LAPSE BECAUSE OF FAILURE TO SUBMIT A TRANSLATION OF THE DESCRIPTION OR TO PAY THE FEE WITHIN THE PRESCRIBED TIME-LIMIT Effective date: 20161017 Ref country code: ES Free format text: LAPSE BECAUSE OF FAILURE TO SUBMIT A TRANSLATION OF THE DESCRIPTION OR TO PAY THE FEE WITHIN THE PRESCRIBED TIME-LIMIT Effective date: 20160615 Ref country code: BE Free format text: LAPSE BECAUSE OF NON-PAYMENT OF DUE FEES Effective date: 20161130 |
|
| REG | Reference to a national code |
Ref country code: DE Ref legal event code: R097 Ref document number: 502008014310 Country of ref document: DE |
|
| PLBE | No opposition filed within time limit |
Free format text: ORIGINAL CODE: 0009261 |
|
| STAA | Information on the status of an ep patent application or granted ep patent |
Free format text: STATUS: NO OPPOSITION FILED WITHIN TIME LIMIT |
|
| 26N | No opposition filed |
Effective date: 20170316 |
|
| PG25 | Lapsed in a contracting state [announced via postgrant information from national office to epo] |
Ref country code: DK Free format text: LAPSE BECAUSE OF FAILURE TO SUBMIT A TRANSLATION OF THE DESCRIPTION OR TO PAY THE FEE WITHIN THE PRESCRIBED TIME-LIMIT Effective date: 20160615 |
|
| REG | Reference to a national code |
Ref country code: CH Ref legal event code: PL |
|
| GBPC | Gb: european patent ceased through non-payment of renewal fee |
Effective date: 20161111 |
|
| PG25 | Lapsed in a contracting state [announced via postgrant information from national office to epo] |
Ref country code: CH Free format text: LAPSE BECAUSE OF NON-PAYMENT OF DUE FEES Effective date: 20161130 Ref country code: LI Free format text: LAPSE BECAUSE OF NON-PAYMENT OF DUE FEES Effective date: 20161130 |
|
| REG | Reference to a national code |
Ref country code: IE Ref legal event code: MM4A |
|
| REG | Reference to a national code |
Ref country code: FR Ref legal event code: ST Effective date: 20170731 |
|
| PG25 | Lapsed in a contracting state [announced via postgrant information from national office to epo] |
Ref country code: SI Free format text: LAPSE BECAUSE OF FAILURE TO SUBMIT A TRANSLATION OF THE DESCRIPTION OR TO PAY THE FEE WITHIN THE PRESCRIBED TIME-LIMIT Effective date: 20160615 |
|
| PG25 | Lapsed in a contracting state [announced via postgrant information from national office to epo] |
Ref country code: LU Free format text: LAPSE BECAUSE OF NON-PAYMENT OF DUE FEES Effective date: 20161130 |
|
| PG25 | Lapsed in a contracting state [announced via postgrant information from national office to epo] |
Ref country code: FR Free format text: LAPSE BECAUSE OF NON-PAYMENT OF DUE FEES Effective date: 20161130 |
|
| PG25 | Lapsed in a contracting state [announced via postgrant information from national office to epo] |
Ref country code: GB Free format text: LAPSE BECAUSE OF NON-PAYMENT OF DUE FEES Effective date: 20161111 Ref country code: IE Free format text: LAPSE BECAUSE OF NON-PAYMENT OF DUE FEES Effective date: 20161111 |
|
| REG | Reference to a national code |
Ref country code: AT Ref legal event code: MM01 Ref document number: 806063 Country of ref document: AT Kind code of ref document: T Effective date: 20161111 |
|
| PG25 | Lapsed in a contracting state [announced via postgrant information from national office to epo] |
Ref country code: AT Free format text: LAPSE BECAUSE OF NON-PAYMENT OF DUE FEES Effective date: 20161111 |
|
| REG | Reference to a national code |
Ref country code: BE Ref legal event code: MM Effective date: 20161130 |
|
| PG25 | Lapsed in a contracting state [announced via postgrant information from national office to epo] |
Ref country code: HU Free format text: LAPSE BECAUSE OF FAILURE TO SUBMIT A TRANSLATION OF THE DESCRIPTION OR TO PAY THE FEE WITHIN THE PRESCRIBED TIME-LIMIT; INVALID AB INITIO Effective date: 20081111 Ref country code: CY Free format text: LAPSE BECAUSE OF FAILURE TO SUBMIT A TRANSLATION OF THE DESCRIPTION OR TO PAY THE FEE WITHIN THE PRESCRIBED TIME-LIMIT Effective date: 20160615 |
|
| PG25 | Lapsed in a contracting state [announced via postgrant information from national office to epo] |
Ref country code: MC Free format text: LAPSE BECAUSE OF FAILURE TO SUBMIT A TRANSLATION OF THE DESCRIPTION OR TO PAY THE FEE WITHIN THE PRESCRIBED TIME-LIMIT Effective date: 20160615 Ref country code: TR Free format text: LAPSE BECAUSE OF FAILURE TO SUBMIT A TRANSLATION OF THE DESCRIPTION OR TO PAY THE FEE WITHIN THE PRESCRIBED TIME-LIMIT Effective date: 20160615 |
|
| PG25 | Lapsed in a contracting state [announced via postgrant information from national office to epo] |
Ref country code: BG Free format text: LAPSE BECAUSE OF FAILURE TO SUBMIT A TRANSLATION OF THE DESCRIPTION OR TO PAY THE FEE WITHIN THE PRESCRIBED TIME-LIMIT Effective date: 20160615 |
|
| PG25 | Lapsed in a contracting state [announced via postgrant information from national office to epo] |
Ref country code: MT Free format text: LAPSE BECAUSE OF FAILURE TO SUBMIT A TRANSLATION OF THE DESCRIPTION OR TO PAY THE FEE WITHIN THE PRESCRIBED TIME-LIMIT Effective date: 20160615 |
|
| REG | Reference to a national code |
Ref country code: DE Ref legal event code: R084 Ref document number: 502008014310 Country of ref document: DE |
|
| PGFP | Annual fee paid to national office [announced via postgrant information from national office to epo] |
Ref country code: DE Payment date: 20241130 Year of fee payment: 17 |
|
| PGFP | Annual fee paid to national office [announced via postgrant information from national office to epo] |
Ref country code: PL Payment date: 20241104 Year of fee payment: 17 |