EP2202126A2 - Vakuumtoiletten-Einrichtung für einen Eisenbahnwagen - Google Patents

Vakuumtoiletten-Einrichtung für einen Eisenbahnwagen Download PDF

Info

Publication number
EP2202126A2
EP2202126A2 EP09176453A EP09176453A EP2202126A2 EP 2202126 A2 EP2202126 A2 EP 2202126A2 EP 09176453 A EP09176453 A EP 09176453A EP 09176453 A EP09176453 A EP 09176453A EP 2202126 A2 EP2202126 A2 EP 2202126A2
Authority
EP
European Patent Office
Prior art keywords
toilet
vacuum
toilet device
cubicles
vacuum unit
Prior art date
Legal status (The legal status is an assumption and is not a legal conclusion. Google has not performed a legal analysis and makes no representation as to the accuracy of the status listed.)
Withdrawn
Application number
EP09176453A
Other languages
English (en)
French (fr)
Other versions
EP2202126A3 (de
Inventor
Sander van Lieshout
Current Assignee (The listed assignees may be inaccurate. Google has not performed a legal analysis and makes no representation or warranty as to the accuracy of the list.)
Siemens AG
Original Assignee
Siemens AG
Siemens Corp
Priority date (The priority date is an assumption and is not a legal conclusion. Google has not performed a legal analysis and makes no representation as to the accuracy of the date listed.)
Filing date
Publication date
Application filed by Siemens AG, Siemens Corp filed Critical Siemens AG
Publication of EP2202126A2 publication Critical patent/EP2202126A2/de
Publication of EP2202126A3 publication Critical patent/EP2202126A3/de
Withdrawn legal-status Critical Current

Links

Images

Classifications

    • BPERFORMING OPERATIONS; TRANSPORTING
    • B61RAILWAYS
    • B61DBODY DETAILS OR KINDS OF RAILWAY VEHICLES
    • B61D35/00Sanitation
    • B61D35/005Toilet facilities

Definitions

  • the invention relates to a vacuum toilet device with two toilet cabins for a railway car.
  • Each vacuum unit has an intermediate tank connected to a toilet bowl of the toilet cubicle via an exhaust duct having an inlet valve.
  • a water connection, a pressure connection, an electrical connection and a waste water connection are also provided for the vacuum unit of each toilet cubicle.
  • the invention has for its object to provide a vacuum toilet device with two toilet cabins for a railway car, which can be produced relatively inexpensively.
  • the two toilet cubicles are connected to a common vacuum unit according to the invention in a vacuum toilet device of the type specified.
  • a significant advantage of the vacuum toilet device according to the invention is the fact that for two toilet cubicles only a common vacuum unit is required, which significantly reduces the manufacturing cost.
  • the common vacuum unit to a single intermediate container, which is connected via a respective suction with an inlet valve to the toilet bowls of the two toilet cabins.
  • each of the common vacuum unit leads a flushing line to the toilet bowls.
  • the common vacuum unit advantageously makes it possible to equip it with a single water connection, a single waste water connection, a single pressure connection and a single electrical connection.
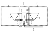
  • the vacuum toilet device according to the invention consists of a first toilet cubicle 1, a further toilet cubicle 2 and a vacuum unit 3, spatially between the two toilet cubicles 1 and 2 to form a compact vacuum toilet device is arranged to get along with short lines.
  • the vacuum unit 3 below one of the toilet cubicles 1 or 2 or under both toilet cubicles.
  • Each toilet cubicle 1 or 2 is equipped in each case with a toilet bowl 4 or 5, which in each case has a suction line 6 or 7, each having an inlet valve 8 or 9 with an intermediate container 10, which is shown only schematically in the FIGURE are connected.
  • the intermediate container 10 is also connected via an inlet valve 11 to a waste water connection 12.

Landscapes

  • Health & Medical Sciences (AREA)
  • Epidemiology (AREA)
  • General Health & Medical Sciences (AREA)
  • Public Health (AREA)
  • Engineering & Computer Science (AREA)
  • Mechanical Engineering (AREA)
  • Sanitary Device For Flush Toilet (AREA)
  • Vehicle Waterproofing, Decoration, And Sanitation Devices (AREA)

Abstract

Die Erfindung bezieht sich auf eine Vakuumtoiletten-Einrichtung für einen Eisenbahnwagen eines Schienenfahrzeuges. Um eine solche Einrichtung kostengünstig herstellen zu können, sind die beiden WC-Kabinen (1, 2) an eine gemeinsame Vakuumeinheit (3) angeschlossen.

Description

  • Die Erfindung bezieht sich auf eine Vakuumtoiletten-Einrichtung mit zwei WC-Kabinen für einen Eisenbahnwagen.
  • Es ist bekannt, in einem zur Personenbeförderung dienenden Eisenbahnwagen zwei WC-Kabinen einzubauen, um den Bedürfnissen der Reisenden gerecht zu werden. Dabei wird immer eine komplett getrennte Vakuumeinheit für jede WC-Kabine vorgesehen. Jede Vakuumeinheit weist einen Zwischenbehälter auf, der über eine Absaugleitung mit einem Einlass-Ventil an eine WC-Schüssel der WC-Kabine angeschlossen ist. Auch ein Wasseranschluss, ein Druckanschluss, ein elektrischer Anschluss und ein Abwasseranschluss sind für die Vakuum-Einheit jeder WC-Kabine vorgesehen.
  • Der Erfindung liegt die Aufgabe zugrunde, eine Vakuumtoiletten-Einrichtung mit zwei WC-Kabinen für einen Eisenbahnwagen vorzuschlagen, die sich vergleichsweise kostengünstig herstellen lässt.
  • Zur Lösung dieser Aufgabe sind bei einer Vakuumtoiletten-Einrichtung der eingangs angegebenen Art erfindungsgemäß die beiden WC-Kabinen an eine gemeinsame Vakuumeinheit angeschlossen.
  • Ein wesentlicher Vorteil der erfindungsgemäßen Vakuumtoiletten-Einrichtung ist darin zu sehen, dass für zwei WC-Kabinen nur eine gemeinsame Vakuumeinheit erforderlich ist, was die Herstellungskosten erheblich reduziert.
  • Besonders vorteilhaft ist es dabei, wenn die beiden WC-Kabinen nahe zueinander angeordnet sind, weil dann nur relativ kurze Leitungen zwischen der gemeinsamen Vakuumeinheit und den beiden WC-Kabinen erforderlich sind.
  • In vorteilhafter Weise weist bei der erfindungsgemäßen Vakuumtoiletten-Einrichtung die gemeinsame Vakuumeinheit einen einzigen Zwischenbehälter auf, der über jeweils eine Absaugleitung mit einem Einlass-Ventil an die WC-Schüsseln der beiden WC-Kabinen angeschlossen ist.
  • Ferner wird es als vorteilhaft angesehen, wenn von der gemeinsamen Vakuumeinheit jeweils eine Spülleitung zu den WC-Schüsseln führt.
  • Die gemeinsame Vakuumeinheit ermöglicht es in vorteilhafter Weise darüber hinaus, sie mit einem einzigen Wasseranschluss, einem einzigen Abwasseranschluss, einem einzigen Druckanschluss und einem einzigen elektrischen Anschluss auszustatten.
  • Zur weiteren Erläuterung der Erfindung ist in der Figur ein Ausführungsbeispiel der erfindungsgemäßen Vakuumtoiletten-Einrichtung dargestellt.
  • Wie die Figur im Einzelnen zeigt, besteht die erfindungsgemäße Vakuumtoiletten-Einrichtung aus einer ersten WC-Kabine 1, einer weiteren WC-Kabine 2 und einer Vakuumeinheit 3, die räumlich zwischen den beiden WC-Kabinen 1 und 2 unter Bildung einer kompakten Vakuumtoiletten-Einrichtung angeordnet ist, um mit kurzen Leitungen auszukommen. Es ist aber prinzipiell auch möglich, die Vakuumeinheit 3 unterhalb einer der WC-Kabinen 1 oder 2 oder unter beiden WC-Kabinen anzuordnen.
  • Jede WC-Kabine 1 bzw. 2 ist mit jeweils einer WC-Schüssel 4 bzw. 5 ausgerüstet, die über jeweils eine Absaugleitung 6 bzw. 7 mit jeweils einem Einlass-Ventil 8 bzw. 9 mit einem in der Figur nur schematisch dargestellten Zwischenbehälter 10 verbunden sind. Der Zwischenbehälter 10 ist außerdem über ein Einlass-Ventil 11 mit einem Abwasseranschluss 12 verbunden.
  • In der Figur nur schematisch ist darüber hinaus dargestellt, dass von der Vakuumeinheit 3 Spülleitungen 13 und 14 zu den jeweiligen WC-Schüsseln 4 bzw. 5 abgehen.

Claims (5)

  1. Vakuumtoiletten-Einrichtung mit zwei WC-Kabinen (1, 2) für einen Eisenbahnwagen eines Schienenfahrzeuges,
    dadurch gekennzeichnet, dass
    die beiden WC-Kabinen (1, 2) an eine gemeinsame Vakuumeinheit (3) angeschlossen sind.
  2. Vakuumtoiletten-Einrichtung nach Anspruch 1,
    dadurch gekennzeichnet, dass
    die beiden WC-Kabinen (1, 2) nahe zueinander angeordnet sind.
  3. Vakuumtoiletten-Einrichtung nach Anspruch 1 oder 2,
    dadurch gekennzeichnet, dass
    die gemeinsame Vakuumeinheit (3) einen einzigen Zwischenbehälter (10) aufweist, der über jeweils eine Absaugleitung (6, 7) mit einem Einlass-Ventil (8, 9) an die WC-Schüsseln (4, 5) der beiden WC-Kabinen (1, 2) angeschlossen ist.
  4. Vakuumtoiletten-Einrichtung nach einem der vorangehenden Ansprüche,
    dadurch gekennzeichnet, dass
    von der Vakuumeinheit (3) jeweils eine Spülleitung (13, 14) zu den WC-Schüsseln (4, 5) führt.
  5. Vakuumtoiletten-Einrichtung nach einem der vorangehenden Ansprüche,
    dadurch gekennzeichnet, dass
    die Vakuumeinheit (3) einen einzigen Wasseranschluss, einen einzigen Abwasseranschluss (12), einen einzigen Druckanschluss und einen einzigen elektrischen Anschluss aufweist.
EP09176453A 2008-12-23 2009-11-19 Vakuumtoiletten-Einrichtung für einen Eisenbahnwagen Withdrawn EP2202126A3 (de)

Applications Claiming Priority (1)

Application Number Priority Date Filing Date Title
DE200810064586 DE102008064586A1 (de) 2008-12-23 2008-12-23 Vakuumtoiletten-Einrichtung für einen Eisenbahnwagen

Publications (2)

Publication Number Publication Date
EP2202126A2 true EP2202126A2 (de) 2010-06-30
EP2202126A3 EP2202126A3 (de) 2011-09-07

Family

ID=42097519

Family Applications (1)

Application Number Title Priority Date Filing Date
EP09176453A Withdrawn EP2202126A3 (de) 2008-12-23 2009-11-19 Vakuumtoiletten-Einrichtung für einen Eisenbahnwagen

Country Status (2)

Country Link
EP (1) EP2202126A3 (de)
DE (1) DE102008064586A1 (de)

Cited By (1)

* Cited by examiner, † Cited by third party
Publication number Priority date Publication date Assignee Title
WO2018050511A1 (de) * 2016-09-16 2018-03-22 Siemens Aktiengesellschaft Sanitärkabine mit hocktoilette und kompaktvakuumtechnik überflur

Citations (3)

* Cited by examiner, † Cited by third party
Publication number Priority date Publication date Assignee Title
AT398058B (de) 1990-04-23 1994-09-26 Sgp Verkehrstechnik Nasszelle für ein fahrzeug, insbesondere ein schienenfahrzeug, z.b. einen schlafwagen
EP1035261A2 (de) 1999-03-10 2000-09-13 Evac International Oy Vakuumtoilettensystem
EP1348604A1 (de) * 2002-03-28 2003-10-01 Alstom Nasszelle für ein Fahrzeug, insbesondere für ein Schienenfahrzeug

Family Cites Families (10)

* Cited by examiner, † Cited by third party
Publication number Priority date Publication date Assignee Title
US4521925A (en) * 1982-06-30 1985-06-11 The Boeing Company Nonrecirculating vacuum flush toilet system utilizing fresh water
ES8607847A3 (es) * 1985-06-11 1986-06-01 Ferre Nunell Eduardo Equipo para la evacuacion de residuos en instalaciones de inodoros en ferrocarriles
SE501960C2 (sv) * 1990-04-20 1995-06-26 Waertsilae Oy Ab Vakuumtoalettsystem med vakuumgenerator med väsentligen konstant drifttid
DE4102760C2 (de) * 1991-01-28 1994-11-03 Inst Schienenfahrzeuge Verbrennungstoilette für Schienenfahrzeuge
US5732417A (en) * 1996-03-12 1998-03-31 Envirovac Inc. Vaccum toilet system
DE19834537A1 (de) * 1998-07-31 2000-02-10 Gauting Gmbh Apparatebau Vakuumtoilettensystem für ein Fahrzeug
WO2002006594A1 (en) * 2000-07-17 2002-01-24 Evac International Oy Vacuum toilet system for vehicles
JP2003301501A (ja) * 2002-04-08 2003-10-24 Taisei Corp トイレ構造
DE102004031460A1 (de) * 2004-06-30 2006-01-26 Evac Gmbh Vakuumtoilette sowie Verfahren zum Betrieb einer Vakuumtoilette
WO2007131512A1 (en) * 2006-05-11 2007-11-22 Semvac A/S A vacuum toilet system and a method for controlling functions thereof

Patent Citations (3)

* Cited by examiner, † Cited by third party
Publication number Priority date Publication date Assignee Title
AT398058B (de) 1990-04-23 1994-09-26 Sgp Verkehrstechnik Nasszelle für ein fahrzeug, insbesondere ein schienenfahrzeug, z.b. einen schlafwagen
EP1035261A2 (de) 1999-03-10 2000-09-13 Evac International Oy Vakuumtoilettensystem
EP1348604A1 (de) * 2002-03-28 2003-10-01 Alstom Nasszelle für ein Fahrzeug, insbesondere für ein Schienenfahrzeug

Cited By (1)

* Cited by examiner, † Cited by third party
Publication number Priority date Publication date Assignee Title
WO2018050511A1 (de) * 2016-09-16 2018-03-22 Siemens Aktiengesellschaft Sanitärkabine mit hocktoilette und kompaktvakuumtechnik überflur

Also Published As

Publication number Publication date
DE102008064586A1 (de) 2010-07-01
EP2202126A3 (de) 2011-09-07

Similar Documents

Publication Publication Date Title
EP3371451B1 (de) Hydrogerät
EP1916156A2 (de) Ein-Ausstiegsvorrichtung für ein Fahrzeug des öffentlichen Personenverkehrs mit einem Rahmen angeordneten Schiebetritt
DE102012023683A1 (de) Sanitäreinheit, die zur Wiederverwertung von Grauwasser ausgebildet ist
EP3064665A1 (de) WC mit Duschaufsatz
DE102016218002A1 (de) Grauwasseraufbereitungsvorrichtung für Schienenfahrzeuge
DE102008036337B4 (de) Fahrzeugaufbau
EP3610083B1 (de) Wc-spülkasten mit bidetbrause und injektor sowie verwendung desselbigen
EP2202126A2 (de) Vakuumtoiletten-Einrichtung für einen Eisenbahnwagen
DE102005007058A1 (de) Anordnung von Leitungsanschlüssen für Einbauten in eine Flugzeugpassagierkabine
DE102013208849A1 (de) Fahrwerkloser Fahrzeugbrückenkasten
EP2818380B1 (de) Schienenfahrzeug mit einer WC-Vorrichtung
EP3024708B1 (de) Hauptbremszylinderanordnung einer kraftfahrzeugbremsanlage mit filterelement sowie fluidreservoir und einsatzelement hierfür
DE102012100042A1 (de) Akkutischsauger mit einem abnehmbaren Staubsammelbehälter
EP1464558B1 (de) Verfahren zum Einbau eines niederflurigen Mittelteiles in den Wagenkasten eines hochflurigen Schienenfahrzeuges
DE102017207336A1 (de) Abwassersystem für Fahrzeuge
DE1902751A1 (de) Wasserclosett
EP2186953A2 (de) Raumsparsifon und System aus Raumsparsifon und Überlaufsicherung
CH701009A2 (de) Sanitäre Anlage.
DE102009005319A1 (de) Multifunktionale Toilettenanordnung
DE202010014685U1 (de) Doppel - Toilettenanordnung
DE102010037687A1 (de) Sanitärkabine
DE102016217722A1 (de) Sanitärkabine mit Hocktoilette und Kompaktvakuumtechnik überflur
DE102023136174A1 (de) Toilettenanordnung für ein Flugzeug mit kombinierter Absaugung von Schwarzwasser
DE202014100696U1 (de) Sanitäreinrichtung
DE202017106629U1 (de) Toilettenanlage

Legal Events

Date Code Title Description
PUAI Public reference made under article 153(3) epc to a published international application that has entered the european phase

Free format text: ORIGINAL CODE: 0009012

AK Designated contracting states

Kind code of ref document: A2

Designated state(s): AT BE BG CH CY CZ DE DK EE ES FI FR GB GR HR HU IE IS IT LI LT LU LV MC MK MT NL NO PL PT RO SE SI SK SM TR

PUAL Search report despatched

Free format text: ORIGINAL CODE: 0009013

RIC1 Information provided on ipc code assigned before grant

Ipc: B61D 35/00 20060101AFI20110728BHEP

AK Designated contracting states

Kind code of ref document: A3

Designated state(s): AT BE BG CH CY CZ DE DK EE ES FI FR GB GR HR HU IE IS IT LI LT LU LV MC MK MT NL NO PL PT RO SE SI SK SM TR

17P Request for examination filed

Effective date: 20120305

RAP1 Party data changed (applicant data changed or rights of an application transferred)

Owner name: SIEMENS AKTIENGESELLSCHAFT

17Q First examination report despatched

Effective date: 20140714

STAA Information on the status of an ep patent application or granted ep patent

Free format text: STATUS: THE APPLICATION IS DEEMED TO BE WITHDRAWN

18D Application deemed to be withdrawn

Effective date: 20141125