EP2033872B1 - Apparatus supporting mechanism, sheet feeding apparatus and image forming apparatus - Google Patents
Apparatus supporting mechanism, sheet feeding apparatus and image forming apparatus Download PDFInfo
- Publication number
- EP2033872B1 EP2033872B1 EP08163691.2A EP08163691A EP2033872B1 EP 2033872 B1 EP2033872 B1 EP 2033872B1 EP 08163691 A EP08163691 A EP 08163691A EP 2033872 B1 EP2033872 B1 EP 2033872B1
- Authority
- EP
- European Patent Office
- Prior art keywords
- sheet
- supporting
- image forming
- disposed
- supporting mechanism
- Prior art date
- Legal status (The legal status is an assumption and is not a legal conclusion. Google has not performed a legal analysis and makes no representation as to the accuracy of the status listed.)
- Ceased
Links
- 238000009434 installation Methods 0.000 claims description 30
- 238000000034 method Methods 0.000 description 3
- 230000001965 increasing effect Effects 0.000 description 2
- 230000003449 preventive effect Effects 0.000 description 2
- 238000000926 separation method Methods 0.000 description 2
- 230000015572 biosynthetic process Effects 0.000 description 1
- 230000006835 compression Effects 0.000 description 1
- 238000007906 compression Methods 0.000 description 1
- 230000000593 degrading effect Effects 0.000 description 1
- 230000002708 enhancing effect Effects 0.000 description 1
- 230000005484 gravity Effects 0.000 description 1
Images
Classifications
-
- G—PHYSICS
- G03—PHOTOGRAPHY; CINEMATOGRAPHY; ANALOGOUS TECHNIQUES USING WAVES OTHER THAN OPTICAL WAVES; ELECTROGRAPHY; HOLOGRAPHY
- G03G—ELECTROGRAPHY; ELECTROPHOTOGRAPHY; MAGNETOGRAPHY
- G03G15/00—Apparatus for electrographic processes using a charge pattern
- G03G15/65—Apparatus which relate to the handling of copy material
- G03G15/6502—Supplying of sheet copy material; Cassettes therefor
-
- B—PERFORMING OPERATIONS; TRANSPORTING
- B62—LAND VEHICLES FOR TRAVELLING OTHERWISE THAN ON RAILS
- B62B—HAND-PROPELLED VEHICLES, e.g. HAND CARTS OR PERAMBULATORS; SLEDGES
- B62B5/00—Accessories or details specially adapted for hand carts
- B62B5/04—Braking mechanisms; Locking devices against movement
- B62B5/049—Braking mechanisms; Locking devices against movement locking against movement by contacting the floor or a wall
-
- G—PHYSICS
- G03—PHOTOGRAPHY; CINEMATOGRAPHY; ANALOGOUS TECHNIQUES USING WAVES OTHER THAN OPTICAL WAVES; ELECTROGRAPHY; HOLOGRAPHY
- G03G—ELECTROGRAPHY; ELECTROPHOTOGRAPHY; MAGNETOGRAPHY
- G03G21/00—Arrangements not provided for by groups G03G13/00 - G03G19/00, e.g. cleaning, elimination of residual charge
- G03G21/16—Mechanical means for facilitating the maintenance of the apparatus, e.g. modular arrangements
- G03G21/1604—Arrangement or disposition of the entire apparatus
- G03G21/1623—Means to access the interior of the apparatus
- G03G21/1638—Means to access the interior of the apparatus directed to paper handling or jam treatment
-
- B—PERFORMING OPERATIONS; TRANSPORTING
- B65—CONVEYING; PACKING; STORING; HANDLING THIN OR FILAMENTARY MATERIAL
- B65H—HANDLING THIN OR FILAMENTARY MATERIAL, e.g. SHEETS, WEBS, CABLES
- B65H2601/00—Problem to be solved or advantage achieved
- B65H2601/10—Ensuring correct operation
- B65H2601/11—Clearing faulty handling, e.g. jams
-
- G—PHYSICS
- G03—PHOTOGRAPHY; CINEMATOGRAPHY; ANALOGOUS TECHNIQUES USING WAVES OTHER THAN OPTICAL WAVES; ELECTROGRAPHY; HOLOGRAPHY
- G03G—ELECTROGRAPHY; ELECTROPHOTOGRAPHY; MAGNETOGRAPHY
- G03G2215/00—Apparatus for electrophotographic processes
- G03G2215/00362—Apparatus for electrophotographic processes relating to the copy medium handling
- G03G2215/00535—Stable handling of copy medium
- G03G2215/00544—Openable part of feed path
-
- G—PHYSICS
- G03—PHOTOGRAPHY; CINEMATOGRAPHY; ANALOGOUS TECHNIQUES USING WAVES OTHER THAN OPTICAL WAVES; ELECTROGRAPHY; HOLOGRAPHY
- G03G—ELECTROGRAPHY; ELECTROPHOTOGRAPHY; MAGNETOGRAPHY
- G03G2221/00—Processes not provided for by group G03G2215/00, e.g. cleaning or residual charge elimination
- G03G2221/16—Mechanical means for facilitating the maintenance of the apparatus, e.g. modular arrangements and complete machine concepts
- G03G2221/1672—Paper handling
- G03G2221/1675—Paper handling jam treatment
-
- G—PHYSICS
- G03—PHOTOGRAPHY; CINEMATOGRAPHY; ANALOGOUS TECHNIQUES USING WAVES OTHER THAN OPTICAL WAVES; ELECTROGRAPHY; HOLOGRAPHY
- G03G—ELECTROGRAPHY; ELECTROPHOTOGRAPHY; MAGNETOGRAPHY
- G03G2221/00—Processes not provided for by group G03G2215/00, e.g. cleaning or residual charge elimination
- G03G2221/16—Mechanical means for facilitating the maintenance of the apparatus, e.g. modular arrangements and complete machine concepts
- G03G2221/1678—Frame structures
- G03G2221/1684—Frame structures using extractable subframes, e.g. on rails or hinges
Definitions
- the present invention relates to an apparatus supporting mechanism which is disposed at a bottom of an apparatus movable on an installation plane for supporting the apparatus when the apparatus is installed. Furthermore, the present invention relates to a movable sheet feeding apparatus provided with the apparatus supporting mechanism and an image forming apparatus provided with the sheet feeding apparatus.
- a sheet feeding apparatus for supplying a sheet to the image forming apparatus tends to gradually increase a sheet stacking capacity.
- Such a sheet feeding apparatus of a large capacity is used in a state in which the image forming apparatus is mounted thereon, and therefore, a weight and an outer dimension are liable to become larger in use.
- Sheet feeding apparatus having a large capacity is normally provided with casters including a pivotal fixing portion rotatably having wheels at the bottom thereof for the purpose of easy movement or installation.
- the sheet feeding apparatus mostly includes a locking mechanism for locking the rotation of the wheels in the caster, or an adjusting mechanism with respect to an apparatus installation plane at the bottom of the apparatus, in order to prevent any movement of the apparatus in the case where an external force is exerted on the apparatus by an operator.
- the adjusting mechanism may have to project outward from the outline of the apparatus in order to secure stability.
- the apparatus passes, for example, a step during its movement, there may occur an inconvenience that the adjusting mechanism projecting outward of the apparatus collides against the step.
- package material for shipping the apparatus requires a larger size because of the outward projection of the adjusting mechanism, thereby increasing cost and reducing distribution efficiency.
- a method for solving the above-described problems is exemplified by an apparatus to which an adjusting mechanism is detachably attached, or by an apparatus on or to which an adjusting mechanism is disposed in such a manner as to freely slide outward or be fixed (Japanese Patent Application Laid-open No. 10-236670 ).
- JP2003 218544 discloses an inexpensive light-weight overturn preventive mechanism that is not required to be removed during movement; including: a stand with a plurality of casters on its lower surface.
- the stand also has a plurality of overturn preventive members and a plurality of fixing brackets which respectively fix and hold the members on its lower surface .
- the stopper sections of the members are respectively put in the stopper sections of the brackets 4 and floor grounding members made of rubber, etc., are respectively provided at the front ends of the members.
- JPH0246203U discloses an apparatus supporting mechanism according to the preamble of claim 1.
- the present invention provides an apparatus supporting mechanism capable of enhancing operability, a sheet feeding apparatus provided with the same and an image forming apparatus.
- the present invention in its first aspect provides an apparatus supporting mechanism as specified in claims 1 to 2.
- the present invention in its second aspect provides a sheet feeding apparatus as specified in claim 3.
- the present invention in its third aspect provides an image forming apparatus as specified in claims 4 & 5
- An apparatus supporting mechanism in embodiments according to the present invention is exemplified by disposing it in a sheet feeding apparatus and an image forming apparatus.
- FIG. 6 illustrates the schematic configuration of a laser beam printer as one example of the image forming apparatus in the present embodiment.
- a printer body 1 is disposed above whereas a feeding deck 50 serving as a sheet feeding apparatus to be optionally fixed is disposed below.
- the printer body 1 is provided with an image forming portion 1A which includes a process cartridge 7 having a photosensitive drum 7a, a charger 7b, a developing sleeve 7c and a cleaner 7d, a laser scanner 8 and a transfer roller 9.
- a process cartridge 7 having a photosensitive drum 7a, a charger 7b, a developing sleeve 7c and a cleaner 7d, a laser scanner 8 and a transfer roller 9.
- the laser scanner 8 Upon start of an image forming operation, in the image forming portion 1A, the laser scanner 8 illuminates the photosensitive drum 7a with a laser beam in response to an image signal, and then, an electrostatic latent image is formed on the photosensitive drum 7a.
- the electrostatic latent image is developed with a toner contained in the process cartridge 7, thereby forming a toner image on the photosensitive drum 7a.
- a sheet S is fed from a sheet cassette 2 disposed in the printer body 1 via a feed roller 3 and a pair of separation rollers 4 or from another sheet cassette 52 (52a, 52b or 52c) disposed in the feeding deck 50.
- the sheet S is conveyed to a transfer portion including the photosensitive drum 7a and the transfer roller 9 in synchronism with toner image formation on the photosensitive drum 7a via conveying rollers 5 and a pair of registration rollers 6.
- the toner image is transferred onto the sheet S.
- the sheet S having the toner image transferred thereonto is conveyed to a fixing portion 10, in which the sheet S is pressurized and heated, to be thus fixed with the toner image. Thereafter, the sheet S is discharged onto a discharge portion 12 disposed at an upper portion in the apparatus via discharge rollers 11.
- the feeding deck 50 serving as the sheet feeding apparatus is provided with the sheet cassettes 52 consisting of a plurality of sheet stacks (three in the present embodiment) and feed rollers 53 (53a, 53b and 53c) serving as sheet feeding members for feeding the sheets S stacked in the sheet cassettes, respectively.
- the three sheet cassettes 52 are configured to freely stack and feed sheets of various sizes and basis weights.
- the feeding deck 50 also serves as a mount table for the printer body 1, and further, has casters 59 at four points at the lower surface of the apparatus body in consideration of the movement in a state in which the printer body 1 is placed on the feeding deck 50.
- the feeding deck 50 is adapted to feed the sheet S via the feed roller 53 from the sheet cassette 52 upon receipt of a feed signal from the printer body 1.
- the sheets S fed via the feed roller 53 are separated one by one by a pair of separation rollers 54 (54a, 54b and 54c), and thereafter, are fed into the printer body 1 via conveyor rollers 56 (56a, 56b and 56c).
- Casters 59 are attached to the feeding stack at the four corners at the bottom of the feeding deck 50, as illustrated in FIGS. 4 and 5 .
- the casters 59 are attached in consideration of the movement in the state in which the printer body 1 is placed on the feeding deck 50, and therefore, have a satisfactory load resistance.
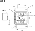
- apparatus supporting mechanism 101 supports the apparatus in order to prevent the apparatus from falling down.
- the apparatus supporting mechanism 101 is disposed at the bottom surface of the feeding deck 50, and has a configuration described below.
- the apparatus supporting mechanism 101 includes a fixing member 111, a guiding member 114, a connecting member 115 and a supporting member 112.
- the fixing member 111 is formed into the shape of a box, and is fixingly screwed at the bottom surface of the feeding deck 50 via screw holes 111a bored at a flange in an upper portion. Inside of the fixing member 111 is contained the guiding member 114.
- the connecting member 115 slides with respect to the fixing member 111 in such a manner as to project therefrom or be housed therein.
- To an end of the connecting member 115 is fixed the supporting member 112 which is grounded onto the apparatus installation surface when the feeding deck 50 is inclined so as to support the feeding deck 50 and/or printer body.
- the supporting member 112 is formed into the shape of a cuboid having one long side, as illustrated in FIG. 1 .
- the supporting member 112 can be displaced between a first position, at which it is grounded onto the installation plane of the feeding deck 50 by a displacing mechanism, and a second position, at which it is separated from the installation plane.
- the displacing mechanism will be descried.
- the guiding member 114 having guide grooves 113 is housed inside of the fixing member 111.
- the supporting member 112 is fixed to the end of one side of the shaft-like connecting member 115, and therefore, is fixed in such a manner as to be rotatable in association with the connecting member.
- the connecting member 115 is fixed to the fixing member 111, and further, is fixed in a manner as to project from the fixing member 111 or be housed therein. Accordingly, the supporting member 112 also projects outward of the installation region of the feeding deck 50 or is retractable into the installation region of the feeding deck 50.
- the connecting member 115 has a pin 116 to be guided serving as a portion to be guided projecting therefrom, and thus, the pin 116 to be guided is fitted in the guide groove 113 formed at the guiding member 114.
- the guide groove 113 is formed in the shape of a helix the axis of which lies in the direction in which the connecting member 115 projects and is housed.
- the pin 116 to be guided is adapted to be rotated along the helical guide groove 113 when the guiding member 114 is made to project and be housed.
- a housing spring 117 serving as a biasing member comprising a compression spring extending through the connecting member 115 is interposed between the pin 116 to be guided and the fixing member 111.
- the connecting member 115 is biased at all times toward the housing direction by the housing spring 117.
- a locking portion 118 for locking the pin 116 to be guided is formed at the guide groove 113 so as to maintain the projecting state at a position from which the connecting member 115 projects.
- the supporting member 112 fixed to the end of the connecting member 115 can be displaced between the first position, at which the supporting member 112 is grounded with respect to the installation plane of the feeding deck 50, and the second position, at which the supporting member 112 is separated from the installation plane, as described above.
- the supporting member 112 becomes horizontal in a longitudinal direction, to be thus separated from the ground or the installation plane of the feeding deck 50 in a state in which the connecting member 115 is housed (at the second position), and then, is retracted in the installation plane of the feeding deck 50, as illustrated in FIG. 2 .
- the connecting member 115 is maintained in a state drawn by the housing spring 117, and then, the supporting member 112 is fixed in the housed state, as illustrated in FIG. 3 .
- the pin 116 to be guided is rotated by 1/4 under the guidance of the spiral guide groove 113, as described above.
- the supporting member 112 projects outward of an installation area of the feeding deck 50, and further, is grounded to the installation plane while the longitudinal direction thereof is oriented vertically (i.e. , the first position).
- the pin 116 to be guided is fitted into the locking portion 118 of the guide groove 113, as illustrated in FIG. 5 , and thus, the supporting member 112 is fixed in this state.
- the supporting member 112 When the supporting member 112 is displaced to the first position, it may not be completely grounded onto the apparatus installation plane. When the apparatus is inclined, the supporting member 112 is adapted to prevent the apparatus from falling over. Therefore, the supporting member 112 may be normally located in the proximity of the apparatus installation plane, but the supporting member 112 may be grounded to support the apparatus when the apparatus is even slightly inclined.
- the first position of the supporting member 112 in the present embodiment includes not only the position at which the supporting member 112 is completely grounded but also a position at which the supporting member 112 is located adjacent the ground - i.e. in the proximity of the installation plane.
- the pin 116 to be guided is drawn while being rotated under the guidance of the spiral guide groove 113.
- the locking portion 118 is released from being locked to the pin 116 to be guided by slightly drawing the supporting member 112.
- the connecting member 115 is drawn by the tensile force of the housing spring 117, so that the supporting member 112 is retracted and housed at the housed position while being rotated.
- the operation for making the supporting member 112 project or be retracted (housed) in order to prevent the apparatus from falling down and the operation for grounding or separating the supporting member 112 to or from the apparatus installation plane can be implemented by a single operation.
- the apparatus supporting mechanism is disposed at the bottom of the sheet feeding apparatus in the above-described embodiment.
- the casters may be fixed to the bottom of the image forming apparatus in a movable manner, and then, the above-described apparatus supporting mechanism may be fixed to the bottom of the image forming apparatus directly.
- the above-described apparatus supporting mechanism need not be limited to the case where it is fixed to the bottom of the sheet feeding apparatus or the image forming apparatus, and is effective in the case where it is fixed to another movable apparatus to prevent the apparatus from falling over.
- An apparatus supporting mechanism which is disposed at a bottom of an apparatus movable on an installation plane and can support the apparatus when the apparatus is installed in order to achieve the above object, includes a fixing member fixed to the bottom of the apparatus; a connecting member disposed in the fixing member in such a manner as to freely project and be housed; a supporting member disposed in the connecting member and freely displaced between a first position, at which the supporting member is grounded or located proximate with respect to the installation plane of the apparatus, a second position, at which the supporting member is separate from the installation plane of the apparatus; and a displacing mechanism which displaces the supporting member to the first position when the connecting member projects while displaces the supporting member to the second position when the connecting member is housed.
- a sheet feeding apparatus in order to achieve the above object, includes a sheet stack disposed in the apparatus, to stack sheets thereon; a sheet feeding member which feeds the sheet from the sheet stack; and the apparatus supporting mechanism disposed at the bottom of the apparatus.
- An image forming apparatus in order to achieve the above object, includes the sheet feeding apparatus; and an image forming portion which forms an image on a sheet fed from the sheet feeding apparatus.
- An image forming apparatus in order to achieve the above object, includes an image forming portion which is disposed in the apparatus so as to form an image on a sheet; and the apparatus supporting mechanism disposed at the bottom of the apparatus.
Landscapes
- Engineering & Computer Science (AREA)
- Physics & Mathematics (AREA)
- General Physics & Mathematics (AREA)
- Chemical & Material Sciences (AREA)
- Combustion & Propulsion (AREA)
- Transportation (AREA)
- Mechanical Engineering (AREA)
- Electrophotography Configuration And Component (AREA)
- Sheets, Magazines, And Separation Thereof (AREA)
- Accessory Devices And Overall Control Thereof (AREA)
- Casings For Electric Apparatus (AREA)
Applications Claiming Priority (1)
| Application Number | Priority Date | Filing Date | Title |
|---|---|---|---|
| JP2007228480A JP5153267B2 (ja) | 2007-09-04 | 2007-09-04 | 装置支持機構及びシート給送装置並びに画像形成装置 |
Publications (3)
| Publication Number | Publication Date |
|---|---|
| EP2033872A2 EP2033872A2 (en) | 2009-03-11 |
| EP2033872A3 EP2033872A3 (en) | 2009-09-02 |
| EP2033872B1 true EP2033872B1 (en) | 2018-03-07 |
Family
ID=40122393
Family Applications (1)
| Application Number | Title | Priority Date | Filing Date |
|---|---|---|---|
| EP08163691.2A Ceased EP2033872B1 (en) | 2007-09-04 | 2008-09-04 | Apparatus supporting mechanism, sheet feeding apparatus and image forming apparatus |
Country Status (4)
| Country | Link |
|---|---|
| US (1) | US7878466B2 (enExample) |
| EP (1) | EP2033872B1 (enExample) |
| JP (1) | JP5153267B2 (enExample) |
| KR (2) | KR101014901B1 (enExample) |
Cited By (1)
| Publication number | Priority date | Publication date | Assignee | Title |
|---|---|---|---|---|
| US11752790B2 (en) | 2018-05-10 | 2023-09-12 | Hewlett-Packard Development Company, L.P. | Base device to prevent tip and tilt of finisher |
Families Citing this family (1)
| Publication number | Priority date | Publication date | Assignee | Title |
|---|---|---|---|---|
| CN102463751A (zh) * | 2010-11-05 | 2012-05-23 | 研能科技股份有限公司 | 可携式打印装置的车用固定装置 |
Citations (3)
| Publication number | Priority date | Publication date | Assignee | Title |
|---|---|---|---|---|
| JPH0246203U (enExample) * | 1988-09-27 | 1990-03-29 | ||
| JPH1128130A (ja) * | 1997-07-10 | 1999-02-02 | Ricoh Co Ltd | 機器の転倒防止装置 |
| JP2003218544A (ja) * | 2002-01-23 | 2003-07-31 | Ricoh Co Ltd | 転倒防止機構 |
Family Cites Families (19)
| Publication number | Priority date | Publication date | Assignee | Title |
|---|---|---|---|---|
| DE654196C (de) | 1932-12-13 | 1937-12-13 | Steinbock Akt Ges | Feststellstuetze fuer fahrbare Verladegestelle |
| DE584667C (de) | 1932-12-13 | 1933-09-22 | Steinbock A G Moosburg Obb | Feststellstuetze fuer Handfahrzeuge |
| US3715015A (en) * | 1971-12-22 | 1973-02-06 | A Morris | Brake for rollable platform |
| GB2065610B (en) * | 1979-11-27 | 1984-04-04 | Konishiroku Photo Ind | Sheet feeding apparatus |
| JPS5744891Y2 (enExample) * | 1980-03-31 | 1982-10-04 | ||
| JPS5956087U (ja) * | 1982-10-05 | 1984-04-12 | セーラー万年筆株式会社 | 回転繰出式ボ−ルペン |
| US4648613A (en) * | 1985-07-17 | 1987-03-10 | Hennessy Products, Inc. | Safety design newspaper insert cart |
| JP2605617Y2 (ja) * | 1992-12-03 | 2000-07-31 | 株式会社壽 | 筆記具 |
| JPH0680276U (ja) * | 1993-04-21 | 1994-11-08 | ヒロセ電機株式会社 | ロック付き離脱機構を有するコネクタ |
| JPH09226952A (ja) * | 1996-02-20 | 1997-09-02 | Canon Inc | シート給送装置及び画像形成装置 |
| JPH09236959A (ja) * | 1996-02-28 | 1997-09-09 | Fuji Xerox Co Ltd | 機器の静止時の支持用フット |
| JPH10236670A (ja) * | 1997-02-24 | 1998-09-08 | Canon Inc | シート給送装置及び画像形成装置 |
| US7029006B2 (en) * | 2002-08-29 | 2006-04-18 | Canon Kabushiki Kaisha | Sheet feeding apparatus and image forming apparatus |
| JP4105526B2 (ja) * | 2002-10-28 | 2008-06-25 | 本田技研工業株式会社 | 搬送装置のワーク位置決め機構 |
| ITMO20030228A1 (it) * | 2003-08-05 | 2005-02-06 | L S R L Ab | Dispositivo di sbucciatura per frutti polposi quali |
| JP4440736B2 (ja) * | 2004-08-30 | 2010-03-24 | 株式会社ニフコ | 脚装置 |
| JP4585845B2 (ja) * | 2004-12-17 | 2010-11-24 | キヤノン株式会社 | 転倒防止機構及び画像形成装置 |
| JP2006251218A (ja) * | 2005-03-09 | 2006-09-21 | Ricoh Co Ltd | 画像形成装置 |
| JP4612882B2 (ja) * | 2005-09-27 | 2011-01-12 | キヤノン株式会社 | シートカセット及びシート給送装置及び画像形成装置 |
-
2007
- 2007-09-04 JP JP2007228480A patent/JP5153267B2/ja not_active Expired - Fee Related
-
2008
- 2008-08-28 US US12/200,314 patent/US7878466B2/en not_active Expired - Fee Related
- 2008-09-03 KR KR1020080086538A patent/KR101014901B1/ko not_active Expired - Fee Related
- 2008-09-04 EP EP08163691.2A patent/EP2033872B1/en not_active Ceased
-
2010
- 2010-10-13 KR KR1020100099696A patent/KR101134859B1/ko not_active Expired - Fee Related
Patent Citations (3)
| Publication number | Priority date | Publication date | Assignee | Title |
|---|---|---|---|---|
| JPH0246203U (enExample) * | 1988-09-27 | 1990-03-29 | ||
| JPH1128130A (ja) * | 1997-07-10 | 1999-02-02 | Ricoh Co Ltd | 機器の転倒防止装置 |
| JP2003218544A (ja) * | 2002-01-23 | 2003-07-31 | Ricoh Co Ltd | 転倒防止機構 |
Cited By (1)
| Publication number | Priority date | Publication date | Assignee | Title |
|---|---|---|---|---|
| US11752790B2 (en) | 2018-05-10 | 2023-09-12 | Hewlett-Packard Development Company, L.P. | Base device to prevent tip and tilt of finisher |
Also Published As
| Publication number | Publication date |
|---|---|
| KR101014901B1 (ko) | 2011-02-15 |
| EP2033872A2 (en) | 2009-03-11 |
| JP2009058914A (ja) | 2009-03-19 |
| EP2033872A3 (en) | 2009-09-02 |
| KR101134859B1 (ko) | 2012-04-13 |
| KR20090024637A (ko) | 2009-03-09 |
| KR20100119531A (ko) | 2010-11-09 |
| JP5153267B2 (ja) | 2013-02-27 |
| US20090057529A1 (en) | 2009-03-05 |
| US7878466B2 (en) | 2011-02-01 |
Similar Documents
| Publication | Publication Date | Title |
|---|---|---|
| JP4361460B2 (ja) | 画像形成装置及び媒体供給機構 | |
| US20080180764A1 (en) | Image forming apparatus | |
| JP2001122447A (ja) | シート給送装置及び画像形成装置 | |
| CN104176551B (zh) | 片材处理装置及具备该片材处理装置的图像形成装置 | |
| US20230257221A1 (en) | Sheet storage apparatus | |
| US20030057634A1 (en) | Sheet containing device and sheet feeder having the same, and image forming apparatus | |
| EP2033872B1 (en) | Apparatus supporting mechanism, sheet feeding apparatus and image forming apparatus | |
| US9829849B2 (en) | Image forming apparatus | |
| CN102923504B (zh) | 片材给送装置和成像装置 | |
| JPH0133558Y2 (enExample) | ||
| JP3488633B2 (ja) | 給紙カセットの蓋部材 | |
| US9611110B2 (en) | Sheet feed cassette, sheet feeder, and image forming apparatus | |
| US5292112A (en) | Image forming apparatus | |
| US8485524B2 (en) | Sheet storage apparatus and image forming apparatus | |
| JP6800822B2 (ja) | 積載装置、給送装置、画像形成装置、および画像形成システム | |
| JPH04182234A (ja) | 記録装置の給紙装置 | |
| JPH05278870A (ja) | ユニバーサル給紙カセット | |
| JP4062114B2 (ja) | 給紙装置及び画像形成装置 | |
| JP7584922B2 (ja) | シート給送装置及び画像形成装置 | |
| JP4609885B2 (ja) | シート処理装置および画像形成装置 | |
| JP5873844B2 (ja) | シート処理装置およびこれを備えた画像形成装置 | |
| JP4420700B2 (ja) | 画像形成装置 | |
| JP3193145B2 (ja) | 給紙装置 | |
| JP3565541B2 (ja) | 大容量給紙装置 | |
| JP3193200B2 (ja) | 給紙装置 |
Legal Events
| Date | Code | Title | Description |
|---|---|---|---|
| PUAI | Public reference made under article 153(3) epc to a published international application that has entered the european phase |
Free format text: ORIGINAL CODE: 0009012 |
|
| AK | Designated contracting states |
Kind code of ref document: A2 Designated state(s): AT BE BG CH CY CZ DE DK EE ES FI FR GB GR HR HU IE IS IT LI LT LU LV MC MT NL NO PL PT RO SE SI SK TR |
|
| AX | Request for extension of the european patent |
Extension state: AL BA MK RS |
|
| PUAL | Search report despatched |
Free format text: ORIGINAL CODE: 0009013 |
|
| AK | Designated contracting states |
Kind code of ref document: A3 Designated state(s): AT BE BG CH CY CZ DE DK EE ES FI FR GB GR HR HU IE IS IT LI LT LU LV MC MT NL NO PL PT RO SE SI SK TR |
|
| AX | Request for extension of the european patent |
Extension state: AL BA MK RS |
|
| 17P | Request for examination filed |
Effective date: 20100302 |
|
| AKX | Designation fees paid |
Designated state(s): DE FR GB IT |
|
| 17Q | First examination report despatched |
Effective date: 20160218 |
|
| REG | Reference to a national code |
Ref country code: DE Ref legal event code: R079 Ref document number: 602008054300 Country of ref document: DE Free format text: PREVIOUS MAIN CLASS: B62B0003040000 Ipc: B62B0005040000 |
|
| GRAP | Despatch of communication of intention to grant a patent |
Free format text: ORIGINAL CODE: EPIDOSNIGR1 |
|
| RIC1 | Information provided on ipc code assigned before grant |
Ipc: G03G 15/00 20060101ALI20170223BHEP Ipc: B62B 5/04 20060101AFI20170223BHEP |
|
| INTG | Intention to grant announced |
Effective date: 20170309 |
|
| GRAS | Grant fee paid |
Free format text: ORIGINAL CODE: EPIDOSNIGR3 |
|
| GRAJ | Information related to disapproval of communication of intention to grant by the applicant or resumption of examination proceedings by the epo deleted |
Free format text: ORIGINAL CODE: EPIDOSDIGR1 |
|
| GRAL | Information related to payment of fee for publishing/printing deleted |
Free format text: ORIGINAL CODE: EPIDOSDIGR3 |
|
| INTC | Intention to grant announced (deleted) | ||
| GRAP | Despatch of communication of intention to grant a patent |
Free format text: ORIGINAL CODE: EPIDOSNIGR1 |
|
| INTG | Intention to grant announced |
Effective date: 20170921 |
|
| GRAA | (expected) grant |
Free format text: ORIGINAL CODE: 0009210 |
|
| AK | Designated contracting states |
Kind code of ref document: B1 Designated state(s): DE FR GB IT |
|
| REG | Reference to a national code |
Ref country code: GB Ref legal event code: FG4D |
|
| REG | Reference to a national code |
Ref country code: DE Ref legal event code: R096 Ref document number: 602008054300 Country of ref document: DE |
|
| PG25 | Lapsed in a contracting state [announced via postgrant information from national office to epo] |
Ref country code: IT Free format text: LAPSE BECAUSE OF FAILURE TO SUBMIT A TRANSLATION OF THE DESCRIPTION OR TO PAY THE FEE WITHIN THE PRESCRIBED TIME-LIMIT Effective date: 20180307 |
|
| REG | Reference to a national code |
Ref country code: DE Ref legal event code: R097 Ref document number: 602008054300 Country of ref document: DE |
|
| PLBE | No opposition filed within time limit |
Free format text: ORIGINAL CODE: 0009261 |
|
| STAA | Information on the status of an ep patent application or granted ep patent |
Free format text: STATUS: NO OPPOSITION FILED WITHIN TIME LIMIT |
|
| 26N | No opposition filed |
Effective date: 20181210 |
|
| PG25 | Lapsed in a contracting state [announced via postgrant information from national office to epo] |
Ref country code: FR Free format text: LAPSE BECAUSE OF NON-PAYMENT OF DUE FEES Effective date: 20180930 |
|
| PGFP | Annual fee paid to national office [announced via postgrant information from national office to epo] |
Ref country code: GB Payment date: 20210820 Year of fee payment: 14 Ref country code: DE Payment date: 20210818 Year of fee payment: 14 |
|
| REG | Reference to a national code |
Ref country code: DE Ref legal event code: R119 Ref document number: 602008054300 Country of ref document: DE |
|
| GBPC | Gb: european patent ceased through non-payment of renewal fee |
Effective date: 20220904 |
|
| PG25 | Lapsed in a contracting state [announced via postgrant information from national office to epo] |
Ref country code: DE Free format text: LAPSE BECAUSE OF NON-PAYMENT OF DUE FEES Effective date: 20230401 |
|
| PG25 | Lapsed in a contracting state [announced via postgrant information from national office to epo] |
Ref country code: GB Free format text: LAPSE BECAUSE OF NON-PAYMENT OF DUE FEES Effective date: 20220904 |