EP2004000B1 - Visier für sicherheitshelm - Google Patents

Visier für sicherheitshelm Download PDF

Info

Publication number
EP2004000B1
EP2004000B1 EP06799150.5A EP06799150A EP2004000B1 EP 2004000 B1 EP2004000 B1 EP 2004000B1 EP 06799150 A EP06799150 A EP 06799150A EP 2004000 B1 EP2004000 B1 EP 2004000B1
Authority
EP
European Patent Office
Prior art keywords
safety helmet
face protector
links
coupling
face
Prior art date
Legal status (The legal status is an assumption and is not a legal conclusion. Google has not performed a legal analysis and makes no representation as to the accuracy of the status listed.)
Active
Application number
EP06799150.5A
Other languages
English (en)
French (fr)
Other versions
EP2004000A1 (de
EP2004000A4 (de
Inventor
Nae-Goog Kang
Chi-Kyo Jung
Moon-Young Huh
Jae-Sik Yoo
Current Assignee (The listed assignees may be inaccurate. Google has not performed a legal analysis and makes no representation or warranty as to the accuracy of the list.)
Korea Electric Power Corp
Otos Tech Co Ltd
Original Assignee
Korea Electric Power Corp
Otos Tech Co Ltd
Priority date (The priority date is an assumption and is not a legal conclusion. Google has not performed a legal analysis and makes no representation as to the accuracy of the date listed.)
Filing date
Publication date
Application filed by Korea Electric Power Corp, Otos Tech Co Ltd filed Critical Korea Electric Power Corp
Publication of EP2004000A1 publication Critical patent/EP2004000A1/de
Publication of EP2004000A4 publication Critical patent/EP2004000A4/de
Application granted granted Critical
Publication of EP2004000B1 publication Critical patent/EP2004000B1/de
Active legal-status Critical Current
Anticipated expiration legal-status Critical

Links

Images

Classifications

    • AHUMAN NECESSITIES
    • A42HEADWEAR
    • A42BHATS; HEAD COVERINGS
    • A42B3/00Helmets; Helmet covers ; Other protective head coverings
    • A42B3/04Parts, details or accessories of helmets
    • A42B3/18Face protection devices
    • A42B3/22Visors
    • A42B3/221Attaching visors to helmet shells, e.g. on motorcycle helmets
    • A42B3/222Attaching visors to helmet shells, e.g. on motorcycle helmets in an articulated manner, e.g. hinge devices
    • A42B3/223Attaching visors to helmet shells, e.g. on motorcycle helmets in an articulated manner, e.g. hinge devices with means for locking the visor in a fully open, intermediate or closed position
    • AHUMAN NECESSITIES
    • A42HEADWEAR
    • A42BHATS; HEAD COVERINGS
    • A42B3/00Helmets; Helmet covers ; Other protective head coverings
    • A42B3/04Parts, details or accessories of helmets
    • A42B3/18Face protection devices
    • A42B3/22Visors
    • A42B3/225Visors with full face protection, e.g. for industrial safety applications

Definitions

  • the present invention relates to a face protector for a safety helmet, and more particularly, to a face protector for a safety helmet, which can be rotated upward and downward by a predetermined angle while being coupled to the safety helmet, and can be stably secured at an upwardly rotated position thereof with a low wind-resistance and negligible weight-deflection while eliminating the risk of unintentional lowering by a weight thereof.
  • safety helmets are widely used in a variety of industrial fields to protect workers from unexpected accidents.
  • the safety helmets are provided with a face protector for protecting the wearer's face from light, wind, airborne materials, or physical hazards.
  • FIG. 1 illustrates a conventional face protector provided at a safety helmet.
  • the conventional face protector 20 is coupled, at opposite ends thereof, to coupling pieces 12 provided at opposite sides of the safety helmet 10 by use of rotating shafts 30, so as to be rotated upward and downward.
  • the conventional face protector 20 having the above described configuration, it is rotatable in a circle about the rotating shafts 30.
  • the face protector 20 when being rotated upward by a certain angle, the face protector 20 is supported by only the rotating shafts 30. Therefore, there is a problem in that the face protector 20 may be easily lowered by a weight thereof, thus causing inconvenience in use.
  • the above described conventional face protector 20 suffers from a large size thereof because it has to be raised to protrude upward from the safety helmet 10 when not in use. Due to the large size, the conventional face protector 20 may receive an excessively large resistance from external environment during movement of the wearer and in particular, cause inconvenience for the wearer in narrow spaces. To solve the inconvenience in use, it is necessary to rotate the face protector beyond an angle of 90 degrees, so as to position the center of gravity of the face protector toward a rear side of the safety helmet. However, when the center of gravity of the face protector is deflected rearward, it may apply a burden to muscles of the wearer's neck.
  • US4224694 discloses a face protector for a safety helmet.
  • the present invention has been made in view of the above problems, and it is an object of the present invention to provide a face protector for a safety helmet, which can be rotated upward and downward by a predetermined angle while being coupled to the safety helmet, and can be stably secured at an upwardly rotated position thereof with a low wind-resistance and negligible weight-deflection while eliminating the risk of unintentional lowering by a weight thereof.
  • a face protector for a safety helmet which is rotated upward and downward by a predetermined angle while being coupled to coupling pieces provided at opposite sides of the safety helmet, so as to protect the wearer's face, comprising: a body configured to protect the wearer's face; a pair of coupling units configured to be fixedly coupled to both the coupling pieces of the safety helmet, respectively; and a plurality of links used to connect the coupling units to opposite rear ends of the body, respectively, so as to restrict rotation of the body, wherein: the body has upper and lower operating shaft holes perforated, respectively, in both the rear ends thereof; each of the coupling units comprises: a fixing piece configured to be fitted to an associated one of the coupling pieces of the safety helmet and adapted to prevent unintentional movement of the coupling unit; and a supporting piece located at the outer side of the fixing piece and having upper and lower supporting shaft holes formed at a protruding portion thereof; and each of the
  • elastic rings may be coupled to the shaft pins, which are used to couple the upper and lower links to the upper and lower supporting shaft holes and the upper and lower operating shaft holes, the elastic rings serving to restrict rotation of the shaft pins by an elastic force thereof.
  • each coupling unit may be formed at opposite sides thereof with elastic protrusions configured to be coupled to the coupling pieces of the safety helmet in a hook coupling manner.
  • the body of the face protector may have a lip formed at an upper end thereof to protrude inward, the lip being adapted to come into close contact with a rim of the safety helmet when the body is rotated downward.
  • a face protector for a safety helmet which is coupled to the safety helmet via coupling units and links to come into close contact with a front portion of the helmet when being rotated upward while preventing a lower end thereof from being lifted from a front end portion of the helmet, has the effects of: preventing the wearer's head from colliding with any object above the head in a narrow space; maximizing wearing convenience of the face protector with a low wind-resistance and negligible weight-deflection; and guaranteeing easy and convenient use of the face protector by preventing the face protector from being unintentionally rotated downward by a weight thereof.
  • FIG. 2 is a perspective view illustrating a face protector for use with a safety helmet according to the present invention.
  • FIG. 3 is a side sectional view illustrating important parts of the face protector of FIG. 3 .
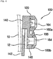
  • FIG. 4 is a sectional view taken along the line A-A of FIG. 3 .
  • FIGS. 5 and 6 are side views illustrating the face protector provided at a safety helmet, which is lowered and raised, respectively.
  • the face protector 100 for use with a safety helmet 10 comprises a body 120 configured to protect a face of the wearer, a pair of coupling units 140 configured to be fixedly coupled to coupling pieces 12, respectively, which are provided at opposite sides of the safety helmet 10, and a plurality of upper links 160a and lower links 160b used to connect the coupling units 140 to opposite rear ends of the body 120, so as to restrict rotation of the body 120.
  • the body 120 is made of a transparent material, to allow the wearer to see in front through the body 120 in a state wherein the body 120 covers the wearer's face.
  • the body 120 is formed, at both the rear ends thereof, with a plurality of upper and lower operating shaft holes 122a and 122b so that the upper and lower links 160a and 160b are aligned with the upper and lower operating shaft holes 122a and 122b, respectively, by use of shaft means.
  • each upper operating shaft hole 122a is spaced apart from the associated lower operating shaft hole 122b by a predetermined distance in such a manner that they are arranged at opposite upper and lower diagonal positions.
  • a lip 124 is formed along an inner periphery of an upper end of the body 120.
  • the lip 124 protrudes inward to be caught by a rim of the safety helmet 10 when the body 120 is rotated downward.
  • Each of the coupling units 140 is configured such that it is coupled not only to an associated one of the coupling pieces 12 of the safety helmet 10, but also to the associated rear end of the body 120 by use of the upper and lower links 160a and 160b. Accordingly, the coupling units 140 serve to couple the respective rear ends of the body 120 of the face protector 100 to the coupling pieces 12 of the safety helmet 10.
  • the two coupling units 140 provided at the face protector 100 has the same configuration and operation as each other and thus, only of them will be described hereinafter.
  • the coupling unit 140 includes a fixing piece 142 integrally formed, at opposite sides thereof, with elastic protrusions 144, the fixing piece 142 being configured to be fitted to the associated coupling piece 12 of the safety helmet 10 and adapted to prevent unintentional movement of the coupling unit 140.
  • the coupling unit 140 further includes a supporting piece 146 located at the outer side of the fixing piece 142, the supporting piece 126 being formed with upper and lower supporting shaft holes 148a and 148b for allowing the coupling unit 140 to be coupled to the upper and lower links 160a and 160b by use of shaft means. Both the fixing piece 142 and supporting piece 146 are spaced apart from each other by a predetermined distance so that the associated coupling piece 12 of the safety helmet 10 is fitted into a gap between the fixing piece 142 and the supporting piece 146.
  • the upper and lower supporting shaft holes 148a and 148b formed in the supporting piece 146 are spaced apart from each other by a predetermined distance in such a manner that they are positioned at opposite upper and lower diagonal positions, to ensure the connection of the upper and lower links 160a and 160b as well as smooth rotation thereof.
  • the upper and lower supporting shaft holes 148a and 148b are formed in an outwardly protruding portion of the supporting piece 146, and the outwardly protruding portion has the same thickness as that of the body 120. Accordingly, both the rear ends of the body 120 of the face protector 100 can be guided while coming into close contact with the supporting pieces 146 of both the coupling units 140. Also, with the above described configuration, when the upper and lower supporting shaft holes 148a and 148b and the upper and lower operating shaft holes 122a and 122b are connected to each other, there is no deflection in the height of the upper and lower links 160a and 160b, and the stable connection and operation of the upper and lower links 160a and 160b can be accomplished.
  • each fixing piece 142 is provided at opposite sides thereof with the elastic protrusions 144 to be fastened to the associated coupling piece 12 of the safety helmet 10 in a hook coupling manner.
  • the elastic protrusions 144 are designed to be easily unfastened from the coupling piece 12 if necessary.
  • the links 160a and 160b serve to connect both the rear ends of the body 120 of the face protector 100 to the corresponding coupling units 140, respectively, so as to restrict rotation of the body 120.
  • the upper link 160a and the lower link 160b make a pair, and two pairs of the upper and lower links 160a and 160b are provided at both the rear ends of the body 120, respectively.
  • each upper link 160a has a pair of connecting shaft holes 162a formed at opposite ends thereof
  • each lower link 160b has a pair of connecting shaft holes 162b formed at opposite ends thereof.
  • the upper link 160a is connected to the upper operating shaft hole 122a and the upper supporting shaft hole 148a such that a shaft pin 164 penetrates therethrough.
  • the lower link 160b is connected to the lower operating shaft hole 122b and the lower supporting shaft hole 148b such that another shaft pine 164 penetrates therethrough.
  • the upper and lower links 160a and 160b are rotated simultaneously, such that a recessed edge portion of the upper link 160a comes into close contact with one end of the lower link 160b, so as to prevent further rotation of the body 120.
  • the body 120 is located to cover the wearer's face.
  • the upper and lower links 160a and 160b are rotated simultaneously, such that the other end of the lower link 160b comes into close contact with an end of the upper link 160a, so as to prevent further rotation of the body 120.
  • the body 120 comes into close contact with a front portion of the safety helmet 10 while preventing the lower end of the body 120 from being lifted from the front end portion of the safety helmet 10.
  • elastic rings 166 are coupled to the shaft pins 164, which are used to connect the respective connecting shaft holes 162a and 162b formed at both the ends of the upper and lower links 160a and 160b to the upper and lower supporting shaft holes 148a and 148b and the upper and lower operating shaft holes 122a and 122b.
  • the elastic rings 166 serve to restrict rotation of the shaft pins 164 by use of an elastic force thereof.
  • each shaft pin 164 is penetrated from the upper or lower supporting shaft hole 148a or 148b and the upper or lower operating shaft hole 122a or 122b to the shaft hole 162a or 162b formed at a front or rear end of the upper or lower link 160a or 160b.
  • the shaft pin 164 is formed at an end thereof with a hook protrusion or snap protrusion so as not to be easily separated from the above described holes. In the above described coupling manner, it is important to prevent the shaft pins 164 from being easily rotated in their fastened state for preventing the body 120 of the face protector 100 from being unintentionally rotated downward by a weight thereof.
  • the elastic rings 166 are coupled to the shaft pins 164 between the upper and lower operating shaft hole 122a and 122b and the shaft holes 162a and 162b of the upper and lower links 160a and 160b and between the upper and lower supporting shaft holes 148a and 148b and the shaft holes 162a and 162b of the upper and lower links 160a and 160b. Thereby, the elastic rings 166 come into close contact with the links 160a and 160b and the body 120, to restrict rotation of the body 120.
  • the body 120 of the face protector 100 can be rotated upward and downward in a simplified manner via interaction between the coupling units 140 and the upper and lower links 160a and 160b, and the face protector 100 can guarantee easy and convenient wearing thereof in its upwardly rotated state.
  • a face protector for a safety helmet according to the present invention has the following advantageous effects.
  • the face protector is coupled to the safety helmet via coupling units and links in such a manner that it comes into close contact with a front portion of the safety helmet when being rotated upward while preventing a lower end thereof from being lifted from a front end portion of the helmet.
  • this configuration it is possible to prevent the wearer's head from colliding with any object above the head in a narrow space, to maximize wearing convenience of the face protector with a low wind-resistance and negligible weight-deflection, and to guarantee easy and convenient use of the face protector by preventing the face protector from being unintentionally rotated downward by a weight thereof.
  • the face protector according to the present invention can not only be easily attached to the safety helmet, but also be easily rotated upward and downward. In use, the face protector has a minimized distance from the safety helmet, resulting in a compact structure.
  • the face protector of the present invention also has a three-dimensional body designed to fit perfectly to the curvature of the human face. This has the effects of increasing a face protecting effect while decreasing the weight of the face protector.
  • the present invention is very useful in the field of safety equipment industry.
  • the face protector due to the fact that the face protector comes into close contact with a front portion of the safety helmet, the face protector can be affected by only a reduced wind-resistance and negligible weight-deflection. This has the effect of preventing unintentional lowering of the face protector by the weight thereof, and guaranteeing very convenient and easy use of the face protector.

Landscapes

  • Helmets And Other Head Coverings (AREA)

Claims (4)

  1. Visier (100) für einen Sicherheitshelm (10), der durch einen vorbestimmten Winkel nach oben und unten gedreht wird, während er an Kupplungsstücke (12) gekoppelt ist, die auf entgegengesetzten Seiten des Sicherheitshelms bereitgestellt sind, um das Gesicht des Trägers zu schützen, umfassend:
    Einen Körper (120), der konfiguriert ist, das Gesicht des Trägers zu schützen;
    ein Paar von Kupplungseinheiten (140), die konfiguriert sind, unbeweglich jeweils an beide der Kupplungsstücke des Sicherheitshelms gekoppelt zu werden; und
    eine Vielzahl von Verbindungen (160a, 160b), die zum Verbinden der Kupplungseinheiten mit jeweiligen entgegengesetzten hinteren Enden des Körpers verwendet werden, um Drehung des Körpers zu beschränken, wobei:
    Der Körper obere und untere Betätigungswellenlöcher (122a, 122b) aufweist, die jeweils, in beiden hinteren Enden davon, perforiert sind;
    jede der Kupplungseinheiten umfasst:
    Ein Befestigungsstück (142), das konfiguriert ist, in ein zugehöriges der Kupplungsstücke des Sicherheitshelms montiert zu werden, und angepasst ist, unbeabsichtigte Bewegung der Kupplungseinheit zu verhindern; und
    ein Auflagestück (146), das an der Außenseite des Befestigungsstücks positioniert ist und obere und untere Stützwellenlöcher (148a, 148b) aufweist, die auf einem hervorstehenden Teil davon gebildet sind; und
    jede der Verbindungen obere und untere Verbindungswellenlöcher (162a, 162b) umfasst, die in entgegengesetzten Enden davon gebildet sind, wobei die Verbindungen obere Verbindungen zum Verbinden der oberen Betriebswellenlochs mit dem oberen Stützwellenloch durch einen Wellenstift (164) und untere Verbindungen zum Verbinden des unteren Betriebswellenlochs mit dem unteren Stützwellenloch durch einen Wellenstift einschließt, dadurch gekennzeichnet, dass
    wenn der Körper nach unten gedreht wird, ein vertiefter Kantenteil der oberen Verbindung in engen Kontakt mit einem Ende der unteren Verbindung kommt, um Drehung des Körpers zu beschränken, nach dem er vor das Gesicht des Trägers positioniert ist, und
    wenn der Körper nach oben gedreht wird, kommt das andere Ende der unteren Verbindung in engen Kontakt mit einem Ende der oberen Verbindung, um Drehung des Körpers zu beschränken, während verhindert wird, dass ein unteres Ende des Körpers ab einem Vorderendteil des Sicherheitshelms hoch gehoben wird und dem Körper erlaubt, mit einem Vorderteil des Sicherheitshelms in engen Kontakt zu kommen.
  2. Visier (100) nach Anspruch 1, wobei elastische Ringe (166) an die Wellenstifte (164) gekoppelt sind, die verwendet werden die oberen und unteren Verbindungen (160a, 160b) an die oberen und unteren Stützwellenlöcher (148a, 148b) und die oberen und unteren Betätigungswellenlöcher zu koppeln, wobei die elastischen Ringe durch deren elastische Kraft dazu dienen, Drehung der Wellenstifte zu beschränken.
  3. Visier (100) nach Anspruch 1 oder 2, wobei das Befestigungsstück (142) jeder Kupplungseinheit (140) an entgegengesetzten Seiten davon mit elastischen Vorsprüngen (144) gebildet ist, die konfiguriert sind, an die Kupplungsstücke (12) des Sicherheitshelms (10) auf die Art einer Hakenkupplung gekoppelt werden sollen.
  4. Visier (100) nach Anspruch 3, wobei der Körper (120) des Visiers eine Lippe (124) aufweist, die an einem oberen Ende davon gebildet ist, um nach innen hervorzustehen, wobei die Lippe angepasst ist, in engen Kontakt mit einem Rand des Sicherheitshelms (10) zu kommen, wenn der Körper nach unten gedreht wird.
EP06799150.5A 2006-04-12 2006-10-10 Visier für sicherheitshelm Active EP2004000B1 (de)

Applications Claiming Priority (2)

Application Number Priority Date Filing Date Title
KR1020060033059A KR100748611B1 (ko) 2006-04-12 2006-04-12 안전모용 보안면
PCT/KR2006/004070 WO2007117066A1 (en) 2006-04-12 2006-10-10 Face shield for safety helmet

Publications (3)

Publication Number Publication Date
EP2004000A1 EP2004000A1 (de) 2008-12-24
EP2004000A4 EP2004000A4 (de) 2015-09-09
EP2004000B1 true EP2004000B1 (de) 2017-02-15

Family

ID=38581318

Family Applications (1)

Application Number Title Priority Date Filing Date
EP06799150.5A Active EP2004000B1 (de) 2006-04-12 2006-10-10 Visier für sicherheitshelm

Country Status (4)

Country Link
US (1) US20090313745A1 (de)
EP (1) EP2004000B1 (de)
KR (1) KR100748611B1 (de)
WO (1) WO2007117066A1 (de)

Cited By (2)

* Cited by examiner, † Cited by third party
Publication number Priority date Publication date Assignee Title
US10912344B2 (en) 2018-12-03 2021-02-09 Msa Technology, Llc Helmet with accessory attachment rail
US11213089B2 (en) 2019-06-04 2022-01-04 Msa Technology, Llc Protective helmet with face protection shield and linkage mechanism

Families Citing this family (17)

* Cited by examiner, † Cited by third party
Publication number Priority date Publication date Assignee Title
FR2910789A1 (fr) * 2006-12-27 2008-07-04 Msa Gallet Soc Par Actions Sim Casque perfectionne comportant une sous coque sur laquelle est fixee la coque externe
CH700540A2 (de) * 2009-03-02 2010-09-15 Sperian Welding Prot Ag Adaptersystem und adapter für schutzmaske.
US8555424B2 (en) 2009-03-16 2013-10-15 Danny Higgins Helmet having a guiding mechanism for a compatible visor
CA2658238C (en) * 2009-03-16 2010-05-18 Danny Higgins Helmet having a guiding mechanism for a compatible visor and a visor for such a helmet
US8434167B2 (en) * 2011-08-03 2013-05-07 Honeywell International Inc. Universal dual-pivot face shield assembly for a hard hat
KR101372886B1 (ko) * 2012-05-31 2014-03-10 오토스테크 주식회사 안전모 착탈용 보안경
US11134741B2 (en) * 2017-05-25 2021-10-05 E.D. Bullard Company Protective helmet with a retractable and removable visor
USD985850S1 (en) * 2019-10-31 2023-05-09 Uvex Arbeitsschutz Gmbh Face guard
KR102140899B1 (ko) 2019-11-14 2020-08-04 송재윤 안면 커버를 구비한 안전모
EP4195970A4 (de) 2020-08-17 2024-10-16 Milwaukee Electric Tool Corporation Sicherheitskopfbedeckung und zubehör
AU2021328139A1 (en) 2020-08-17 2023-03-09 Milwaukee Electric Tool Corporation Hard hat attachment system and sun visor
USD964657S1 (en) * 2020-12-31 2022-09-20 Erb Industries, Inc. Helmet with face shield
AU2022215630A1 (en) * 2021-02-08 2023-07-27 Milwaukee Electric Tool Corporation Hard hat face shield attachment system
EP4304403A4 (de) 2021-03-12 2025-01-15 Milwaukee Electric Tool Corporation Kopfschutzsystem und zubehör
TWI740798B (zh) * 2021-04-13 2021-09-21 廣權精密有限公司 帽體之鏡片樞組結構
US11805839B2 (en) * 2022-01-27 2023-11-07 Chien-Hung Lu Headwear with a protective shield
US12016419B2 (en) * 2022-03-24 2024-06-25 Paulson Manufacturing Corporation Weight compensating bracket

Family Cites Families (15)

* Cited by examiner, † Cited by third party
Publication number Priority date Publication date Assignee Title
US2649019A (en) * 1949-09-02 1953-08-18 Us Air Force Contractible head mount for binoculars
US2860343A (en) * 1955-10-27 1958-11-18 Leonard P Frieder Headgear with retractable eye shield
SE408851B (sv) 1977-07-01 1979-07-16 T G Palmaer Anordning vid skyddshjaelm eller ett liknande baerorgan
US4442551A (en) * 1982-12-22 1984-04-17 Hellberg Protection Ab Adapter for a protective helmet
DE8333228U1 (de) * 1983-11-19 1984-03-01 Fondermann & Co GmbH, 5657 Haan Schutzhelm
US4766609A (en) * 1987-03-31 1988-08-30 Firequip Helmets, Inc. Fire fighter helmet and face shield
KR930000905Y1 (ko) * 1991-06-22 1993-02-27 조진휘 오토바이용 헬멧의 쉘드 괘지장치
JPH05214604A (ja) * 1992-01-31 1993-08-24 Shoei Kako Kk ヘルメットにおけるシールド板制御装置
JPH05272004A (ja) * 1992-03-23 1993-10-19 Shoei Kako Kk ヘルメットのシールド板取付構造
FR2716089B1 (fr) * 1994-02-16 1996-05-10 Ouest Negoce Achats Materiaux Casque de protection comportant une visière, notamment utile comme casque de chantier.
US5675875A (en) * 1996-08-01 1997-10-14 Servatius; Richard James Adjustable breakaway
JPH10212618A (ja) * 1997-01-22 1998-08-11 Tomosaburo Hosomi ヘルメット等の顔面シールド開閉構造
US5978973A (en) * 1997-12-12 1999-11-09 Bauer, Inc. Fastener for use on a protective helmet
JP2003082518A (ja) * 2001-09-07 2003-03-19 Tanizawa Seisakusho Ltd 顔面シールド付きヘルメット
FR2886521B1 (fr) * 2005-06-03 2007-09-07 Cbm Distrib Entpr Unipersonnel Casque de protection a visiere mobile

Non-Patent Citations (1)

* Cited by examiner, † Cited by third party
Title
None *

Cited By (2)

* Cited by examiner, † Cited by third party
Publication number Priority date Publication date Assignee Title
US10912344B2 (en) 2018-12-03 2021-02-09 Msa Technology, Llc Helmet with accessory attachment rail
US11213089B2 (en) 2019-06-04 2022-01-04 Msa Technology, Llc Protective helmet with face protection shield and linkage mechanism

Also Published As

Publication number Publication date
EP2004000A1 (de) 2008-12-24
KR100748611B1 (ko) 2007-08-13
EP2004000A4 (de) 2015-09-09
US20090313745A1 (en) 2009-12-24
WO2007117066A1 (en) 2007-10-18

Similar Documents

Publication Publication Date Title
EP2004000B1 (de) Visier für sicherheitshelm
EP2825070B1 (de) Schutzhelm und schirm
US6363528B1 (en) Protective mask with throat guard for physical games
US5357292A (en) Eyeglasses with adjustable temple inclination
US5483699A (en) Face shield with chin contacting element
EP3154386B1 (de) Entfernbarer schirm für eine schützende kopfbedeckung
EP2262454B1 (de) Halsschutzkragen mit durchbrechbarer sicherheitskonstruktion
US4463456A (en) Protective helmet
JP4775659B2 (ja) ゴーグル
KR102587766B1 (ko) 턱 보호대 위치결정 조립체 및 이를 구비하는 헬멧
CN109561750A (zh) 防护头盔
JPS6024201B2 (ja) 安全ヘルメツト
JP2006504880A (ja) ヘルメット
EP3749265B1 (de) Kombination aus einer brille und einer gesichtsmaske
EP3692847B1 (de) Visierverriegelungsmechanismus und helm
US2890457A (en) Face mask
KR100993836B1 (ko) 보호용 헬멧
KR102641350B1 (ko) 턱 보호대 위치결정 조립체 및 이를 구비하는 헬멧
JP3231032U (ja) フェイスシールド
US20170224040A1 (en) Cap having folding visor
CA2145720A1 (en) Sports mask
CN220667027U (zh) 一种高层建筑施工用安全防护网
CN218073623U (zh) 防护面罩结构
WO2008060039A1 (en) Helmet having shield control means
CN208480640U (zh) 一种舞蹈大跳训练用护膝装置

Legal Events

Date Code Title Description
PUAI Public reference made under article 153(3) epc to a published international application that has entered the european phase

Free format text: ORIGINAL CODE: 0009012

17P Request for examination filed

Effective date: 20070503

RBV Designated contracting states (corrected)

Designated state(s): DE FR

RBV Designated contracting states (corrected)

Designated state(s): DE FR

DAX Request for extension of the european patent (deleted)
REG Reference to a national code

Ref country code: DE

Ref legal event code: R079

Ref document number: 602006051737

Country of ref document: DE

Free format text: PREVIOUS MAIN CLASS: A42B0003180000

Ipc: A42B0003220000

RA4 Supplementary search report drawn up and despatched (corrected)

Effective date: 20150811

RIC1 Information provided on ipc code assigned before grant

Ipc: A42B 3/22 20060101AFI20150805BHEP

GRAP Despatch of communication of intention to grant a patent

Free format text: ORIGINAL CODE: EPIDOSNIGR1

INTG Intention to grant announced

Effective date: 20160907

GRAS Grant fee paid

Free format text: ORIGINAL CODE: EPIDOSNIGR3

GRAA (expected) grant

Free format text: ORIGINAL CODE: 0009210

AK Designated contracting states

Kind code of ref document: B1

Designated state(s): DE FR

REG Reference to a national code

Ref country code: DE

Ref legal event code: R096

Ref document number: 602006051737

Country of ref document: DE

REG Reference to a national code

Ref country code: FR

Ref legal event code: PLFP

Year of fee payment: 12

REG Reference to a national code

Ref country code: DE

Ref legal event code: R097

Ref document number: 602006051737

Country of ref document: DE

PLBE No opposition filed within time limit

Free format text: ORIGINAL CODE: 0009261

STAA Information on the status of an ep patent application or granted ep patent

Free format text: STATUS: NO OPPOSITION FILED WITHIN TIME LIMIT

26N No opposition filed

Effective date: 20171116

REG Reference to a national code

Ref country code: FR

Ref legal event code: PLFP

Year of fee payment: 13

PGFP Annual fee paid to national office [announced via postgrant information from national office to epo]

Ref country code: FR

Payment date: 20250930

Year of fee payment: 20

PGFP Annual fee paid to national office [announced via postgrant information from national office to epo]

Ref country code: DE

Payment date: 20250923

Year of fee payment: 20