EP1839903A2 - Prägebeschichtung für metallische Bedruckstoffe - Google Patents

Prägebeschichtung für metallische Bedruckstoffe Download PDF

Info

Publication number
EP1839903A2
EP1839903A2 EP07005430A EP07005430A EP1839903A2 EP 1839903 A2 EP1839903 A2 EP 1839903A2 EP 07005430 A EP07005430 A EP 07005430A EP 07005430 A EP07005430 A EP 07005430A EP 1839903 A2 EP1839903 A2 EP 1839903A2
Authority
EP
European Patent Office
Prior art keywords
printing
sheet
coating
film
transfer
Prior art date
Legal status (The legal status is an assumption and is not a legal conclusion. Google has not performed a legal analysis and makes no representation as to the accuracy of the status listed.)
Granted
Application number
EP07005430A
Other languages
English (en)
French (fr)
Other versions
EP1839903A3 (de
EP1839903B1 (de
Inventor
Uwe Püschel
Jürgen Schölzig
Current Assignee (The listed assignees may be inaccurate. Google has not performed a legal analysis and makes no representation or warranty as to the accuracy of the list.)
Manroland Sheetfed GmbH
Original Assignee
Manroland AG
MAN Roland Druckmaschinen AG
Priority date (The priority date is an assumption and is not a legal conclusion. Google has not performed a legal analysis and makes no representation as to the accuracy of the date listed.)
Filing date
Publication date
Family has litigation
First worldwide family litigation filed litigation Critical https://patents.darts-ip.com/?family=38109905&utm_source=google_patent&utm_medium=platform_link&utm_campaign=public_patent_search&patent=EP1839903(A2) "Global patent litigation dataset” by Darts-ip is licensed under a Creative Commons Attribution 4.0 International License.
Application filed by Manroland AG, MAN Roland Druckmaschinen AG filed Critical Manroland AG
Publication of EP1839903A2 publication Critical patent/EP1839903A2/de
Publication of EP1839903A3 publication Critical patent/EP1839903A3/de
Application granted granted Critical
Publication of EP1839903B1 publication Critical patent/EP1839903B1/de
Revoked legal-status Critical Current
Anticipated expiration legal-status Critical

Links

Images

Classifications

    • BPERFORMING OPERATIONS; TRANSPORTING
    • B41PRINTING; LINING MACHINES; TYPEWRITERS; STAMPS
    • B41FPRINTING MACHINES OR PRESSES
    • B41F16/00Transfer printing apparatus
    • B41F16/0006Transfer printing apparatus for printing from an inked or preprinted foil or band
    • B41F16/002Presses of the rotary type
    • B41F16/0033Presses of the rotary type with means for applying print under pressure only, e.g. using pressure sensitive adhesive
    • BPERFORMING OPERATIONS; TRANSPORTING
    • B41PRINTING; LINING MACHINES; TYPEWRITERS; STAMPS
    • B41FPRINTING MACHINES OR PRESSES
    • B41F16/00Transfer printing apparatus
    • B41F16/0006Transfer printing apparatus for printing from an inked or preprinted foil or band
    • B41F16/0073Transfer printing apparatus for printing from an inked or preprinted foil or band with means for printing on specific materials or products
    • BPERFORMING OPERATIONS; TRANSPORTING
    • B41PRINTING; LINING MACHINES; TYPEWRITERS; STAMPS
    • B41FPRINTING MACHINES OR PRESSES
    • B41F19/00Apparatus or machines for carrying out printing operations combined with other operations
    • B41F19/007Apparatus or machines for carrying out printing operations combined with other operations with selective printing mechanisms, e.g. ink-jet or thermal printers
    • BPERFORMING OPERATIONS; TRANSPORTING
    • B41PRINTING; LINING MACHINES; TYPEWRITERS; STAMPS
    • B41FPRINTING MACHINES OR PRESSES
    • B41F23/00Devices for treating the surfaces of sheets, webs, or other articles in connection with printing
    • B41F23/04Devices for treating the surfaces of sheets, webs, or other articles in connection with printing by heat drying, by cooling, by applying powders
    • BPERFORMING OPERATIONS; TRANSPORTING
    • B44DECORATIVE ARTS
    • B44CPRODUCING DECORATIVE EFFECTS; MOSAICS; TARSIA WORK; PAPERHANGING
    • B44C1/00Processes, not specifically provided for elsewhere, for producing decorative surface effects
    • B44C1/16Processes, not specifically provided for elsewhere, for producing decorative surface effects for applying transfer pictures or the like
    • B44C1/165Processes, not specifically provided for elsewhere, for producing decorative surface effects for applying transfer pictures or the like for decalcomanias; sheet material therefor
    • B44C1/17Dry transfer
    • BPERFORMING OPERATIONS; TRANSPORTING
    • B41PRINTING; LINING MACHINES; TYPEWRITERS; STAMPS
    • B41PINDEXING SCHEME RELATING TO PRINTING, LINING MACHINES, TYPEWRITERS, AND TO STAMPS
    • B41P2219/00Printing presses using a heated printing foil
    • B41P2219/40Material or products to be decorated or printed
    • B41P2219/42Sheet-like material
    • BPERFORMING OPERATIONS; TRANSPORTING
    • B41PRINTING; LINING MACHINES; TYPEWRITERS; STAMPS
    • B41PINDEXING SCHEME RELATING TO PRINTING, LINING MACHINES, TYPEWRITERS, AND TO STAMPS
    • B41P2219/00Printing presses using a heated printing foil
    • B41P2219/50Printing presses using a heated printing foil combined with existing presses

Definitions

  • the invention relates to a method and a device for transferring imaging or covering layers from a transfer foil to printed sheets according to the preamble of patent claim 1 and of patent claim 17, respectively.
  • a printing sheet After a printing sheet is provided with a two-dimensional adhesive application or an adhesive pattern, it is passed through the coating unit, wherein by means of the pressure roller, the pressure sheet resting on the impression cylinder is brought into contact with the film material.
  • the down-facing functional layer engages tightly with the adhesive-provided areas on the signature. Thereafter, the functional layer adheres in the area of the adhesive pattern or the entire adhesive areas at, wherein the transfer film, the functional layer is removed in the region of the adhesive pattern.
  • the print sheet is laid out in the coated state.
  • a disadvantage of the described procedures is that they are not flexible applicable, require extensive know-how on the complex processes and are difficult to handle. Above all, the previously known production methods are limited to the processing of substrates made of paper or cardboard. A coating of metallic or plastic substrates in the cold foil stamping process has not been previously known.
  • the object of the invention is therefore to provide a method according to the preamble of claim 1 and a device according to the preamble of claim 17, by means of which a film coating of sheet from films of different quality can be simple, safe, economical and accurate, with method and device easy should be manageable.
  • a method in its application for film application also substrates made of metal or plastic films is made possible by their pretreatment.
  • This allows functional packaging, e.g. provided with jewelry effects, using a sheet-fed rotary printing press and the film coating is carried out in the cold foil stamping process.
  • the film application to metallic or plastic substrates in conjunction with an offset printing machine with upstream or downstream paint modules done.
  • the application is carried out in the printing unit or in a coating module.
  • Before or after the application can be additionally printed and intermediately dried eg with the help of a UV dryer.
  • the method is initially determined by the fact that the film application is performed as a finishing application or function application on metallic substrate in conjunction with the so-called metal stamping process.
  • the inline process for film application on metallic substrates expands the range of applications.
  • the method may also include the film application as a finishing application or functional application on plastic substrate.
  • Thicker plastic films have the characteristics of metal sheets in terms of their strength and rigidity, but also the surface properties.
  • the pretreatment of the metallic or plastic printing material and the application film can be carried out by a corona treatment.
  • Suitable devices for carrying out the method are sheet-fed rotary printing presses. These can be carried out in the manner known sheetfed offset presses or in the manner of flexographic printing machines, which have a flat sheet guide. The latter is particularly advantageous for the processing of metal sheets or rigid film substrates.
  • the applicator 1 may be a per se known offset printing unit with an inking unit 11, a plate cylinder 12 and a blanket cylinder 13.
  • the blanket cylinder 13 cooperates with a counter-pressure cylinder 4.
  • the coating unit 2 can also be formed by an offset printing unit.
  • the transfer nip 6 in the coating unit 2 is formed by a press roll 3 and an impression cylinder 4.
  • the press roller 3 may correspond to the blanket cylinder.
  • the press roll 3 may also correspond to the forme cylinder of a paint module.
  • a web guide 14 for transfer film 5 is shown within the coating unit 2 used for the film transfer. The transfer film 5 is thereby switched on and executed by protective devices 15 of the coating unit 2.
  • an integrated in the applicator 1 film transfer device may be provided, whereby an integrated film application module is created.
  • a press roll 3 ' is assigned downstream of a printing gap between a blanket or forme cylinder 13 and the impression cylinder 4 on a counter-pressure cylinder 4.
  • the cold foil stamping takes place in a single integrated foil application module FA, as indicated in FIG.
  • an applicator can also be arranged in a compact design within the coating module in an integrated film application module FA.
  • the transfer film 5 would be guided here around the rubber cylinder 13 or approximately tangentially past this through the designated printing gap.
  • Such an adhesive applicator device 1 ' may consist of a compact forme cylinder for supporting a printing form for the adhesive and an applicator of a chamber doctor blade and an anilox roller for supplying the adhesive.
  • the adhesive application is first carried out on the printing substrate and the film application is carried out immediately thereafter.
  • the film supply roll 8 is assigned to the coating unit 2 on the sheet feed side.
  • the film supply roll 8 has a rotary drive 7 for the continuous controlled feeding of the transfer film 5 to the coating unit 2.
  • a film feed deflection or tension rollers for guiding the transfer film 5 may be provided in a substantially constant tension against the press roller 3.
  • a film collecting roller 9 is provided for the used sheet material.
  • a rotary drive 7 on the film collecting roller 9 is always advantageous. It can even be provided that the transfer film 5 is conveyed on the outlet side by means of the rotary drive 7 and held taut on the inlet side by means of a brake.
  • the press roll 3 (as blanket cylinder or forme cylinder or separate press roll) carries on its surface a compressible or damping, for example, also provided with a compressible intermediate layer element.
  • the press roll 3 can be provided with a press fabric 10, for example as a plastic cover, comparable to a blanket or blanket, which is held in a cylinder channel on clamping devices.
  • dryer 16 can be provided in the film application module thus formed from the applicator 1 and the coating unit 2, by means of which the adhesive application or the entire film coating can be dried.
  • the adhesive application or the entire film coating can be dried.
  • UV dryer for example UV dryer in question.
  • the film application module may include a monitoring device 17 for scanning the sheet surface.
  • the monitoring device 17 enables the evaluation of image contents of the coating and the detection of defects in the film coating.
  • the device for the film transfer in a printing units of a sheet-fed printing machine downstream printing or coating plant is arranged.
  • the surface of the fresh print is finished or protected by means of the film coating.
  • a second such device can be arranged downstream, so that a double film coating of a sheet is possible.
  • a configuration can be provided which provides a first film application module in front of the first color or coating transfer printing unit and a second film application module after the last color transferring printing unit.
  • a first film coating can be applied directly to the substrate and a second film coating can be applied over the printed image.
  • methods can also be carried out, in the use of which a simple film coating or else multiple film coating of functional or single-sided packaging, e.g. with jewelry features, becomes possible within a sheet-fed rotary printing press.
  • coating units such as paint modules, a device for perfecting and coating modules for a one- or two-sided film application are possible.
  • the production of effect and functional application or of film composite packaging can also be made possible in connection with a printability of the printing material on both sides.
  • the method is characterized in that the film application is carried out as a finishing application or functional application on metallic printing material, if appropriate in conjunction with the so-called sheet-metal printing method.
  • Metallic substrates are sheet metal plates made of tinplate, aluminum or similar. or also of layered metals in question. Furthermore, as metallic substrates also with a metal foil coated substrates of paper, cardboard or plastic to understand. Likewise, however, plastic substrates which have a similar material characteristic with regard to strength, rigidity and surface quality, such as metal sheets, can also be processed here.
  • the pretreatment of the metallic or plastic printing material and the application film is carried out by a corona treatment.
  • the use of heat-reduced UV dryer systems in conjunction with the film application in cold foil lamination is used.
  • the film guide can be made tangentially through the transfer gap or loop around the blanket cylinder.
  • the film application to metallic or plastic substrates in conjunction with an offset printing machine with upstream or downstream coating modules should now be carried out.
  • the application is carried out in a printing unit or in a coating module.
  • Before or after the film application may additionally be printed and intermediately dried e.g. with the help of a UV dryer.
  • UV printing inks are often used. UV printing inks can be cured very quickly and efficiently with the aid of UV dryers, so that a color layer firmly adhering to the metallic or plastic substrate is produced. Furthermore, a so-called corona or plasma treatment is often carried out in metallic or plastic substrates to improve the color adhesion. By acting on the film surface with a corona discharge or a plasma, its surface tension can be changed so that the printing inks to be applied are securely adhered. In this way, an optimized appearance of the print is achieved.
  • UV printing inks special dryers which operate at comparatively low temperatures.
  • systems are known as conventional UV lamps or as UV cold radiators, for example as excimer radiators.
  • UV cold radiators for example as excimer radiators.
  • NIR dryers there are also so-called NIR dryers in question.
  • An advantage of the proposed method is that the heat input through the dryer irradiation is greatly reduced or greatly reduced compared to that in the hot foil lamination. This results in a greatly reduced thermal influence on the metallic or plastic substrate, so that sets a strong improvement on the printed product with respect to the resulting from the embossing process Passerverzuges.
  • the inline process for film application on metallic or plastic substrates expands the range of applications of a correspondingly equipped printing press in a special way.
  • FIG. 2 shows a first variant of such a configuration.
  • the illustrated printing press has a roll-bow feeder RB.
  • a printing unit D or a paint module is arranged in the configuration shown.
  • the printing unit D or the paint module is followed by an application unit 1 and a coating module 2, which can also be arranged as an integrated film application module FA within a printing unit.
  • an application unit 1 and a coating module 2 which can also be arranged as an integrated film application module FA within a printing unit.
  • several further printing units D are provided up to the sheet delivery AU.
  • intermediate dryer Z are arranged, by means of which the applied in respective workstations coatings can be dried.
  • a discharge device E In the area of feeding the metallic or plastic printing sheets from the roll-bow feeder RB into the first work station of the printing press, a discharge device E is provided. It serves to improve in a conventional manner, for example by means of a corona discharge, the surface properties of the metallic or plastic printing sheets for the adoption of coatings.
  • the Entladurigs issued E can also be integrated into the roll-bow feeder RB, so that the surface treatment of the metallic or plastic printing sheet is also effective for the sheet transport to the printing press.
  • a metallic printed sheet cut from a printing material roll can first be coated, then coated with an imagewise or flat film layer and subsequently printed again in multiple colors.
  • One application example for this are films for packaging or decorative sheets, which require additional finishing in addition to printing.
  • FIG. 3 shows a second variant of such a configuration.
  • the illustrated printing machine has a sheet feeder AN, to which a discharge device E for film treatment is assigned. Subsequently, either a printing unit D or a paint module is provided. This is followed by one or two-part film application module FA. Subsequently, a printing unit is again arranged, which is followed by a so-called turning device W.
  • the turning device W is used to evert a metal or plastic printing sheet provided on one side with a film coating, so that its previous underside can subsequently be printed or coated from above.
  • the applicator 1 and a coating module 2 adjoin the turning device W, which can also be arranged as an integrated film application module FA within a printing unit. Thereafter, if necessary, several further printing units D are provided up to the sheet delivery AU. Before feeding the metallic or plastic printing sheets to the film application module FA, they can be exposed again, but now with their upper rear side exposed to the action of a discharge device E.
  • each metallic printed sheet can first be coated from its upper side, then provided with a film coating, then printed or coated, then turned, then with another Foil coating provided and subsequently printed again in multiple colors.
  • An example of application for this are films for packaging or decorative sheets which, in addition to double-sided printing, also require additional double-sided finishing.
  • the method of sheet metal printing is associated with a film transfer process or it is a pure application module of pre-printed metal sheets or unprinted metal sheets, possibly provided with a pre-coating.
  • the application can be made over the entire surface or recessed in terms of size and / or width, ie it can also be based on benefits.
  • the in-line refining process for sheet metal printing is e.g. for jewelry boxes or similar suitable. Furthermore, it can be used as an inline function coating process for sheet metal printing e.g. be used for the lining of food packaging.
  • a corresponding printing press can be flexibly configured using offset or flexographic printing units (see FIG. 4).
  • FIG. 4 shows a configuration of a flexo direct printing machine. Shown are printing units D, which consist of a counter-pressure cylinder and a forme cylinder.
  • the forme cylinder in flexographic printing presses carries a so-called cliché.
  • the cliché is supplied for image transfer by means of an inking unit from a detent roll and an associated chamber doctor blade with ink. Image formation takes place in the printing gap between the forme cylinder and the impression cylinder, through which the printing material sheet is guided.
  • the printing material is in this case (see arrow from the right) fed by means of an investor, not shown (roll-bow feeder) a sheet transfer device T.
  • the sheet transfer device is z. B. a chain conveyor system or also includes Saugbandan füren. The sheet transport takes place in one plane and leads in a straight line through all printing gaps.
  • the first two printing units are designed as a film application module FA.
  • the first printing unit acts as an applicator 1 for generating the adhesive image on the substrate. It has an already mentioned impression cylinder 4 of a flexographic printing unit, which together with a press roll 3 forms a transfer nip 6.
  • the press roll 3 is formed by the forme cylinder, of which in this case the inking unit is turned off.
  • the coating can be carried out as described above, but the processable substrates can be much thicker and stiffer than in known sheet-fed rotary printing presses.
  • discharge devices E can be used. Furthermore, dryers are also useful or useful.
  • the illustrated printing units can also be combined with offset printing units.

Landscapes

  • Engineering & Computer Science (AREA)
  • Mechanical Engineering (AREA)
  • Printing Methods (AREA)
  • Decoration By Transfer Pictures (AREA)
  • Application Of Or Painting With Fluid Materials (AREA)
  • Laminated Bodies (AREA)

Abstract

Ein Beschichtungswerk zum Transfer von bildgebenden oder abdeckenden Schichten von einer Transferfolie 5 auf einen Bedruckstoff soll flexible zur Herstellung komplexer Bedruckstoffe aus Folienmaterial eingesetzt werden. Hierzu wird wenigstens ein Folienapplikationsmodul FA derart in einer Bogenrotationsdruckmaschine eingesetzt, dass eine variable in Kombination in Verbindung mit Druckwerken, Lackwerken und wenigstens einer Wendeeinrichtung geschaffen wird.

Description

  • Die Erfindung betrifft ein Verfahren und eine Vorrichtung zum Transfer bildgebender oder abdeckender Schichten von einer Transferfolie auf Druckbogen nach dem Oberbegriff des Patentanspruchs 1 bzw. des Patentanspruches 17.
  • Es ist bekannt metallische Schichten auf Druckbogen mittels eines Folientransferverfahrens herzustellen. So ist in der EP 0 569 520 B1 ein Druckmaterial und eine Druckvorrichtung, die dieses Material verwendet, beschrieben. In einer Bogen verarbeitenden Maschine mit einem Anleger und einem Ausleger sind Druckwerke und ein Beschichtungswerk angeordnet. In wenigstens einem Druckwerk wird ein Klebstoffmuster als Drucksujet im Flachdruckverfahren aufgetragen. In dem Beschichtungswerk nach dem Druckwerk sind ein Gegendruckzylinder, eine Presswalze und eine Folienführung vorgesehen. Darin wird von einer Folienvorratsrolle ein Folienstreifen durch den Transferspalt des Beschichtungswerkes zwischen Gegendruckzylinder und Presswalze geführt und auf der Auslaufseite nach dem Verlassen des Beschichtungswerkes wieder aufgewickelt. Die Transferfolie enthält eine Trägerfolie, auf der Funktionsschichten verschiedener Art wie metallische Schichten, beispielsweise aus Aluminium, oder Kunststoffschichten aufgebracht sein können. Zwischen Funktionsschicht und Trägerfolie ist eine Trennschicht vorgesehen, mittels derer die Funktionsschicht von der Trägerschicht abziehbar ist.
  • Nachdem ein Druckbogen mit einem flächigen Klebstoffauftrag oder einem Klebstoffmuster versehen ist, wird er durch das Beschichtungswerk geführt, wobei mittels der Presswalze der auf dem Gegendruckzylinder aufliegende Druckbogen mit dem Folienmaterial in Verbindung gebracht wird. Dabei geht die nach unten liegende Funktionsschicht eine enge Verbindung mit den mit Klebstoff versehenen Bereichen auf dem Druckbogen ein. Danach haftet die Funktionsschicht im Bereich der mit Klebstoff versehenen Muster oder der vollflächigen Kleberbereiche an, wobei der Transferfolie die Funktionsschicht im Bereich der Klebstoffmuster entnommen wird. Der Druckbogen wird im beschichteten Zustand ausgelegt.
  • Nachteilig an den geschilderten Verfahrensweisen ist, dass sie nicht flexibel einsetzbar sind, ein umfangreiches Knowhow zu den komplexen Prozessen erfordern und schwierig zu handhaben sind. Vor allem sind die bisher bekannten Produktionsverfahren auf die Verarbeitung von Bedruckstoffen aus Papier oder Karton beschränkt. Eine Beschichtung von metallischen bzw. Kunststoffbedruckstoffen im Kaltfolienprägeverfahren ist bisher nicht bekannt geworden.
  • Aufgabe der Erfindung ist es daher ein Verfahren nach dem Oberbegriff des Anspruchs 1 und eine Vorrichtung nach dem Oberbegriff des Anspruchs 17 vorzusehen, mittels derer eine Folienbeschichtung von Druckbogen aus Folien unterschiedlicher Qualität einfach, sicher, wirtschaftlich und exakt erfolgen kann, wobei Verfahren und Vorrichtung einfach handhabbar sein sollen.
  • Die Lösung dieser Aufgabe ergibt sich in einem Verfahren gemäß den Merkmalen der Patentanspruches 1 und in einer Vorrichtung gemäß den Merkmalen der Patentanspruches 17.
  • In vorteilhafter Weise wird ein Verfahren vorgeschlagen, bei dessen Anwendung zur Folienapplikation auch Bedruckstoffe aus Metall- oder Kunststofffolien durch deren Vorbehandlung ermöglicht wird. Damit lassen sich Funktionsverpackungen, z.B. mit Schmuckeffekten versehen, wobei eine Bogenrotationsdruckmaschine verwendet und die Folienbeschichtung im Kaltfolienprägeverfahren durchgeführt wird.
  • Hier soll die Folienapplikation auf metallischen bzw. Kunststoffbedruckstoffen in Verbindung mit einer Offsetdruckmaschine mit vor- oder nachgeschalteten Lackmodulen erfolgen. Die Applikation wird im Druckwerk oder in einem Lackmodul durchgeführt. Vor oder nach der Applikation kann zusätzlich gedruckt und zwischengetrocknet werden z.B. mit Hilfe eines UV-Trockners.
  • Das Verfahren ist zunächst dadurch bestimmt, dass die Folienapplikation als Veredelungsapplikation oder Funktionsapplikation auf metallischem Bedruckstoff in Verbindung mit dem so genannten Blechdruckverfahren durchgeführt wird. Das Inlineverfahren für die Folienapplikation auf metallischen Bedruckstoffen erweitert das Anwendungsspektrum.
  • Weiterhin kann das Verfahren auch die Folienapplikation als Veredelungsapplikation oder Funktionsapplikation auf Kunststoffbedruckstoff beinhalten. Dickere Kunststofffolien haben nämlich hinsichtlich ihrer Festigkeit und Steifigkeit, aber auch der Oberflächeneigenschaften die Charakteristik von Blechtafeln.
  • Weiterhin kann die Vorbehandlung des metallischen bzw. Kunststoffbedruckstoffes und der Applikationsfolie durch eine Coronabehandlung durchgeführt werden.
  • Schließlich kann der Einsatz von wärmereduzierten UV-Trocknersystemen in Verbindung mit der Folienapplikation bei der Kaltfolienkaschierung genutzt werden. Vorteilhaft an dem Verfahren ist, dass ein reduzierter Wärmeeintrag erfolgt. Damit ergibt sich ein stark verringerter Passerverzug, was besonders für metallische oder Kunststoffbedruckstoffe von Bedeutung ist.
  • Zum Verfahren der Folienapplikation auf metallischen bzw. Kunststoffbedruckstoffen sind folgende Schritte vorgesehen:
    1. 1. Bedruckstoffzuführung über einen Anleger ggf. mittels eines vorgeschalteten so genannten Rolle-Bogen-Anlegers.
    2. 2. Corona- oder Plasmavorbehandlung des metallischen bzw. Kunststoffbedruckstoffes im Bereich der Bogenanlage oder einem Anlagemodul.
    3. 3. Ggf. Vorbeschichtung in einem Lackmodul oder im ersten Druckwerk mittels integrierter Lackeinrichtung mit Primer, Deckweiß oder mit Iriodinlack.
    4. 4. Vorbereitung der Druckbogen für Beschichtung mittels UV- oder Excimer-Zwischentrockner. Ggf. in einem Druckwerk.
    5. 5. Bogenwendung der Druckbogen kann vorgesehen sein.
    6. 6. Zwischentrockner: konventionelle UV-Trockner oder wärmereduzierte Systeme wie Excimer-Strahler oder NIR-Systeme..
    7. 7. Wegen des Folienverzuges vor und nach der Applikation sind bevorzugt wärmereduzierte UV-Trocknersysteme einzusetzen.
    8. 8. Kleberauftrag erfolgt über ein Druckwerk oder ein Lackwerk.
    9. 9. Folienapplikation über den Transferspalt bevorzugt in tangentialer Folienführung und mit geringer Umschlingung der Presswalze.
    10. 10. Coronabehandlung der zu applizierenden Folie ist möglich.
    11. 11. Drucken mittels einer oder mehreren Farben und Zwischentrocknung.
    12. 12. Lackmodule zur Veredelung mit Zwischen- oder Endtrocknung sind den Druckwerken zugeordnet.
    13. 13. Ink-Jet-Systeme sind vor oder nach der Folienapplikation zur Personalisierung (auch in Schön- und Widerdrucksystemen geeignet) zugeordnet.
    14. 14. Bogeninspektionssystem schleust z.B. mittels Bogenweiche, Doppelausleger oder Markierung durch Streifeneinschussgerät Makulaturbogen aus.
  • Als Vorrichtungen zum Ausführen des Verfahrens kommen Bogenrotationsdruckmaschinen in Frage. Diese können in der Art bekannte Bogenoffsetdruckmaschinen ausgeführt sein oder in der Art von Flexodruckmaschinen, die eine ebene Bogenführung aufweisen. Letzteres ist für die Verarbeitung von Blechtafeln oder bei steifen Folienbedruckstoffen besonders vorteilhaft.
  • Im Folgenden wird die Erfindung anhand zeichnerischer Darstellungen näher dargestellt.
  • Dabei zeigen:
  • Figur 1
    eine Druckmaschine mit einer Folientransfereinrichtung,
    Figur 2
    eine Konfiguration einer Bogendruckmaschine mit Beschichtungswerk,
    Figur 3
    eine zweite Konfiguration einer Bogendruckmaschine nach Fig. 2 und
    Figur 4
    eine Bogendruckmaschine mit ebener Bogenführung.
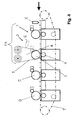
  • Figur 1 zeigt Teile einer Bogenrotationsdruckmaschine, die zwei Druckwerke enthält und für folgende Zwecke eingesetzt wird:
    • Ein Druckbogen wird zunächst mit einem flächigen oder bildgebenden Klebstoffmuster versehen (Druckwerk als Auftragwerk 1).
    • Im Folgedruckwerk wird der Druckbogen gemeinsam mit einer Transferfolie 5 unter Pressung durch einen Transferspalt 6 geführt, (Beschichtungswerk 2).
  • Das Auftragwerk 1 kann ein an sich bekanntes Offsetdruckwerk mit einem Farbwerk 11, einem Plattenzylinder 12 und einem Drucktuchzylinder 13 sein. Der Drucktuchzylinder 13 wirkt mit einem Gegendruckzylinder 4 zusammen.
    Das Beschichtungswerk 2 kann ebenfalls durch ein Offsetdruckwerk gebildet sein. Der Transferspalt 6 im Beschichtungswerk 2 wird durch eine Presswalze 3 und einen Gegendruckzylinder 4 gebildet. Die Presswalze 3 kann dem Drucktuchzylinder entsprechen. Die Presswalze 3 kann auch dem Formzylinder eines Lackmodules entsprechen. Innerhalb des für den Folientransfer genutzten Beschichtungswerkes 2 ist eine Bahnführung 14 für Transferfolie 5 dargestellt. Die Transferfolie 5 wird dabei durch Schutzeinrichtungen 15 des Beschichtungswerkes 2 ein- und wieder ausgeführt.
  • Alternativ kann wie im Zusammenhang des Auftragwerkes 1 gezeigt ist, eine in das Auftragwerk 1 integrierte Folientransfereinrichtung vorgesehen sein, wodurch ein integriertes Folienapplikationsmodul geschaffen wird. Hierbei wird an einem Gegendruckzylinder 4 einem Druckspalt zwischen einem Drucktuch- oder Formzylinder 13 und dem Gegendruckzylinder 4 nachgeordnet eine Presswalze 3' zugeordnet. So kann eine Folienbahn 5' einer Transferfolie nach der Beschichtung des Bedruckstoffes mittels des Auftragwerkes 1 einem wie zuvor genannt gebildeten Transferspalt 6' zugeführt und auch direkt wieder abgeführt werden. Die Kaltfolienprägung erfolgt so in einem einzigen integrierten Folienapplikationsmodul FA, wie in Figur 1 angedeutet.
  • Wie in Figur 1 im Auftragwerk 1 schematisch dargestellt, kann in einem integrierten Folienapplikationsmodul FA auch ein Auftragwerk in kompakter Bauweise innerhalb des Beschichtungsmodules angeordnet sein. Dazu wird eine Kleberauftragvorrichtung 1' dem Gegendruckzylinder 4 zugeordnet und dem Transferspalt, der hier zwischen dem Gummizylinder 13 und dem Gegendruckzylinder 3 vorgesehen wäre, vorgelagert angeordnet sein. Die Transferfolie 5 würde hier um den Gummizylinder 13 oder in etwa tangential an diesem vorbei durch den bezeichneten Druckspalt geführt.
    Eine derartige Kleberauftragvorrichtung 1' kann dazu aus einem kompakten Formzylinder zum Tragen einer Druckform für den Kleber und einem Auftragwerk aus einer Kammerrakel und einer Rasterwalze zum Zuführen des Klebers bestehen. Dabei wird am gleichen Gegendruckzylinder 4 wiederum integriert zunächst der Kleberauftrag auf dem Bedruckstoff vorgenommen und direkt darauf folgend der Folienauftrag durchgeführt.
  • Die Folienvorratsrolle 8 ist dem Beschichtungswerk 2 auf der Seite der Bogenzuführung zugeordnet. Die Folienvorratsrolle 8 weist einen Drehantrieb 7 zur kontinuierlichen geregelten Zuführung der Transferfolie 5 zum Beschichtungswerk 2 auf. In der Folienzuführung können Umlenk- bzw. Spannwalzen zur Führung der Transferfolie 5 in einer im Wesentlichen konstanten Spannung gegenüber der Presswalze 3 vorgesehen sein. Auf der ablaufseitigen Seite des Druckwerkes ist eine Foliensammelrolle 9 für das verbrauchte Folienmaterial vorgesehen. Ein Drehantrieb 7 an der Foliensammelrolle 9 ist stets vorteilhaft. Es kann sogar vorgesehen sein, dass die Transferfolie 5 mittels des Drehantriebs 7 ablaufseitig gefördert und zulaufseitig mittels einer Bremse straff gehalten wird.
  • Die Presswalze 3 (als Drucktuchzylinder oder Formzylinder oder separate Presswalze) trägt auf ihrer Oberfläche ein kompressibles bzw. dämpfendes, z.B. auch mit einer kompressiblen Zwischenschicht versehenes Element. Die Presswalze 3 kann dazu mit einer Pressbespannung 10 beispielsweise als Kunststoffüberzug, vergleichbar einem Gummituch bzw. Drucktuch, versehen sein, die in einem Zylinderkanal an Spannvorrichtungen gehalten wird.
  • Zur Sicherung der Wirtschaftlichkeit des Beschichtungsverfahrens kann vorgesehen sein, den Folienvorschub der Transferfolie 5 von der Folienvorratsrolle 8 zum Transferspalt 6 und zur Foliensammelrolle 9 schrittweise zu steuern, wobei die Transferfolie 5 dann angehalten wird, wenn keine Übertragung bildgebender oder abdeckender Schichten erfolgen soll.
    Eine weitere Verbesserung der Folienausnutzung der beschriebenen Art ergibt sich, wenn die Transferfolie 5 in eine oder mehrere Teilfolienbahnen geringerer Breite aufgeteilt wird.
  • Weiterhin können in dem so gebildeten Folienapplikationsmodul aus dem Auftragwerk 1 und dem Beschichtungswerk 2 Trockner 16 vorgesehen sein, mittels derer der Kleberauftrag oder die gesamte Folienbeschichtung getrocknet werden können. Hier kommen z.B. UV-Trockner in Frage.
  • Weiterhin kann das Folienapplikationsmodul eine Überwachungseinrichtung 17 zur Abtastung der Bogenoberfläche enthalten. Die Überwachungseinrichtung 17 ermöglicht die Auswertung von Bildinhalten der Beschichtung und die Feststellung von Fehlern in der Folienbeschichtung.
  • Mit der oben beschriebenen Vorrichtung ist es möglich Bedruckstoffe bildmäßig bzw. teil- oder vollflächig zu beschichten bzw. zu versiegeln bzw. zu kaschieren oder auch mit einer besonders widerstandfähigen Oberflächenschicht zu versehen. Dazu ist die Einrichtung für den Folientransfer in einem den Druckwerken einer Bogendruckmaschine nachgeordneten Druck- oder Lackierwerk angeordnet. Bei einer derartigen Anordnung wird mittels der Folienbeschichtung die Oberfläche des frischen Druckes veredelt oder geschützt.
    Für weitere Anwendungsfälle kann innerhalb der Bogenrotationsdruckmaschine der ersten Einrichtung für den Folientransfer auch eine zweite derartige Einrichtung nachgeordnet werden, so dass auch eine doppelte Folienbeschichtung eines Bogens möglich wird.
  • Weiterhin kann eine Konfiguration vorgesehen werden, die ein erstes Folienapplikationsmodul vor dem ersten eine Farbe oder eine Beschichtung übertragenden Druckwerk und ein zweites Folienapplikationsmodul nach dem letzten Farbe übertragenden Druckwerk vorsieht. Damit kann eine erste Folienbeschichtung direkt auf den Bedruckstoff aufgebracht und eine zweite Folienbeschichtung über dem aufgedruckten Druckbild aufgebracht werden.
  • Unter Verwendung einer vorstehend beschriebenen Einrichtung zur Durchführung des Kaltfolienprägeverfahrens sind weiterhin auch Verfahren durchführbar, bei deren Anwendung eine einfache Folienbeschichtung oder auch mehrfache Folienbeschichtung von ein- oder beidseitig zu beschichtenden Funktionsverpackungen, z.B. mit Schmuckeigenschaften, innerhalb einer Bogenrotationsdruckmaschine möglich wird.
  • Dabei kann in vorteilhafter Weise durch die Kombination von Beschichtungseinheiten wie z. B. Lackmodulen, einer Einrichtung zur Bogenwendung sowie Beschichtungsmodulen für eine ein- oder beidseitige Folienapplikation ermöglicht werden. Durch die erfindungsgemäßen Verfahren und Vorrichtungen kann die Herstellung von Effekt- und Funktionsapplikation bzw. von Folienverbundverpackung auch in Verbindung mit einer beidseitigen Bedruckbarkeit des Bedruckstoffes ermöglicht werden.
  • Das Verfahren ist in einem ersten Schritt dadurch gekennzeichnet, dass die Folienapplikation als Veredelungsapplikation oder Funktionsapplikation auf metallischem Bedruckstoff ggf. in Verbindung mit dem so genannten Blechdruckverfahren durchgeführt wird. Als metallische Bedruckstoffe kommen Blechtafeln aus Weißblech, Aluminium o.ä. oder auch aus Schichtmetallen in Frage. Weiterhin sind als metallische Bedruckstoffe auch mit einer Metallfolie überzogene Bedruckstoffe aus Papier, Karton oder Kunststoff zu verstehen.
    Ebenso sind hier aber auch Kunststoffbedruckstoffe bearbeitbar, die eine ähnliche Materialcharakteristik hinsichtlich Festigkeit, Steifigkeit und Oberflächengüte haben, wie Blechtafeln.
  • In einem zweiten Punkt wird die Vorbehandlung des metallischen bzw. Kunststoffbedruckstoffes und der Applikationsfolie durch eine Coronabehandlung durchgeführt. In einem dritten Punkt wird der Einsatz von wärmereduzierten UV-Trocknersystemen in Verbindung mit der Folienapplikation bei der Kaltfolienkaschierung genutzt. Dazu kann die Folienführung tangential durch den Transferspalt erfolgen oder den Gummizylinder umschlingen.
  • Erfindungsgemäß soll nun die Folienapplikation auf metallischen bzw. Kunststoffbedruckstoffen in Verbindung mit einer Offsetdruckmaschine mit vor- oder nachgeschalteten Lackmodulen erfolgen. Die Applikation wird in einem Druckwerk oder in einem Lackmodul durchgeführt. Vor oder nach der Folienapplikation kann zusätzlich gedruckt und zwischengetrocknet werden z.B. mit Hilfe eines UV-Trockners.
  • Im Verfahren des Bedruckens von metallischen bzw. Kunststoffbedruckstoffen werden vielfach so genannte UV-Druckfarben verwendet. UV-Druckfarben lassen sich mit Hilfe von UV-Trocknern sehr schnell und effizient aushärten, so dass eine fest auf dem metallischen bzw. Kunststoffbedruckstoff haftende Farbschicht entsteht.
    Weiterhin wird bei metallischen bzw. Kunststoffbedruckstoffen zur Verbesserung der Farbanhaftung vielfach eine so genannte Corona- oder Plasmabehandlung durchgeführt. Mittels Beaufschlagung der Folienoberfläche mit einer Coronaentladung oder eines Plasmas kann deren Oberflächenspannung so verändert werden, dass aufzutragende Druckfarben sicher anhaften. Auf diese Weise wird ein optimiertes Erscheinungsbild des Druckes erreicht.
  • Für die Trocknung von UV-Druckfarben sind spezielle Trockner entwickelt worden, die bei vergleichsweise niedriger Temperatur arbeiten. Bekannt sind hierzu Systeme als konventionelle UV-Strahler oder als UV-Kaltstrahler, z.B. als Excimer-Strahler. Es kommen aber auch so genannte NIR-Trockner in Frage.
  • Bei der Verarbeitung von metallischen bzw. Kunststoffbedruckstoffen unter Anwendung eines Beschichtungsverfahrens mit Folienapplikation werden die Kenntnisse der Druckverfahren für metallische Bedruckstoffe eingesetzt. Daher kann beispielsweise die Bedruckbarkeit der Blechtafeln oder Kunststoffbögen durch das Aufbringen einer Primer- oder Grundierungsschicht verbessert werden.
  • Vorteilhaft an dem vorgeschlagenen Verfahren ist, dass der Wärmeeintrag durch die Trocknerbestrahlung stark bis sehr stark reduziert gegenüber demjenigen bei der Heißfolienkaschierung erfolgt. Damit ergibt sich ein stark verringerter thermischer Einfluss auf den metallischen bzw. Kunststoffbedruckstoff, so dass sich eine starke Verbesserung am Druckprodukt hinsichtlich des aus dem Prägeverfahren resultierenden Passerverzuges einstellt. Das Inlineverfahren für die Folienapplikation auf metallischen bzw. Kunststoffbedruckstoffen erweitert das Anwendungsspektrum einer entsprechend ausgerüsteten Druckmaschine in besonderer Weise.
  • Zum Verfahren der Folienapplikation auf metallischen bzw. Kunststoffbedruckstoffen sind folgende Schritte vorzusehen:
    1. 1. Die Zuführung von Druckbogen zur Druckmaschine erfolgt über einen Bogenanleger oder einen dem Bogenanleger oder der Druckmaschine direkt vorgeschalteten so genannten Rolle-Bogen-Anleger, in dem metallische bzw. Kunststoffdruckbogen aus einer Folienbahn direkt erzeugt werden.
    2. 2. Eine Corona- oder Plasmavorbehandlung der Oberfläche des Bedruckstoffes kann in der Anlage, einem Anlagemodul oder einem der Maschine vorgeschalteten Rolle-Bogen-Anleger erfolgen.
    3. 3. Eine Vorbeschichtung der metallischen bzw. Kunststoffdruckbogen kann in einem Lackmodul zur Grundierung mit einem Primer oder einem Deckweiß oder zur Bildung von Glanzeffekten mit so genannten Iriodin-Lacken erfolgen. Diese Vorbeschichtung kann auch in einem ersten Druckwerk mittels einer in diesem Druckwerk integrierten Lackiereinrichtung erfolgen.
    4. 4. Unter Einwirkung mittels UV- oder Excimer-Zwischentrockner wird der Druckbogen danach für weitere Beschichtungsschritte vorbereitet. Ein, mehrere oder jedes Druckwerk kann zu diesem Zweck mit einem UV- oder Excimer-Zwischentrockner ausgerüstet sein. Diese können in bekannter Weise als konventionelle UV-Strahler oder als UV-Kaltstrahler ausgeführt sein. Hier können aber auch so genannte NIR-Trockner zur Anwendung kommen. Wegen des Folienverzuges vor und nach der Applikation sind aber bevorzugt wärmereduzierte UV-Trocknersysteme einzusetzen.
    5. 5. Die Druckmaschine kann mit einer Bogenwendeeinrichtung versehen sein, um die Druckbogen in der Druckmaschine beidseitig bearbeiten zu können.
    6. 6. Der Kleberauftrag für die Folienapplikation erfolgt über ein Druckwerk oder ein Lackwerk oder eine in ein Druckwerk integrierte kompakte Beschichtungseinrichtung. Hierfür kommt insbesondere ein UV-Kleber in Betracht, der wie die UV-Druckfarben gut auf metallischem bzw. Kunststoffbedruckstoff haftet und mit den genannten Trocknern schnell getrocknet werden kann.
    7. 7. Eine Corona- oder Plasmabehandlung der zu applizierenden Folienschicht ist optional möglich. Dies ist von den gegebenen Haftungsverhältnissen der beteiligten Oberflächen abhängig.
    8. 8. Die Folienapplikation im Transferspalt 6 erfolgt bevorzugt unter tangentialer Führung bzw. mit geringer Umschlingung der Transferfolie 5 an der Presswalze 3, die als eines Drucktuchzylinder, Formzylinder oder anders geartete Andruckwalze gebildet sein kann.
    9. 9. Nach der Folienapplikation kann erneut eine Zwischentrocknung zur Aushärtung mit Hilfe der bereits genannten Trockner erfolgen.
    10. 10. Das Drucken des erforderlichen farbigen Sujets erfolgt mit einer oder mehreren Farben und ggf. eine erneuten Zwischentrocknung.
    11. 11. Lackbeschichtungen zur Veredelung der metallischen bzw. Kunststoffdruckbogen mit Schutz-, Glanz- oder Effektschichten können mit weiterer Zwischen- / Endtrocknung erfolgen. Die dazu erforderlichen Lackmodule sind den Druckwerken vor- oder nachgeordnet.
    12. 12. In der Druckmaschine am Bogentransportweg Ink-Jet- oder Laserdruckeinrichtungen vor oder nach der Folienapplikation zur Personalisierung vorgesehen sein. Diese sind auch für in der Druckmaschine vorgesehene Schön- und Widerdrucksysteme ggf. geeignet zuzuordnen.
    13. 13. Mittels eines integrierten Bogeninspektionssystems können Makulaturbogen erkannt und ausgeschleust werden, Dies erfolgt z.B. über eine Bogenweiche, einen Doppelausleger oder durch Kennzeichnung mit Markierungsstreifen.
  • Die für diese Verfahrensschritte notwendigen Konfigurationen einer Bogenrotationsdruckmaschine unter Einschluss eines oder mehrerer Folienapplikationsmodule sind vielfältig und werden im Folgenden beispielhaft beschrieben.
  • In Figur 2 ist eine erste Variante einer derartigen Konfiguration gezeigt. Die dargestellte Druckmaschine weist einen Rolle-Bogen-Anleger RB auf. In dem Rolle-Bogen-Anleger RB werden von einer Bedruckstoffrolle passgenau metallischen bzw. Kunststoffdruckbogen abgeschnitten und im Maschinentakt der Druckmaschine zugeführt. Anschließend daran ist ein Druckwerk D oder ein Lackmodul angeordnet.
    In der gezeigten Konfiguration schließen sich an das Druckwerk D bzw. das Lackmodul ein Auftragwerk 1 und ein Beschichtungsmodul 2 an, die auch als integriertes Folienapplikationsmodul FA innerhalb eines Druckwerkes angeordnet sein können. Danach sind bis zum Bogenausleger AU ggf. mehrere weitere Druckwerke D vorgesehen.
    Jeweils zwischen oder in den Druckwerken D bzw. vor und/oder in und/oder nach dem Folienapplikationsmodul FA sind Zwischentrockner Z angeordnet, mittels derer die in jeweiligen Arbeitsstationen aufgebrachten Beschichtungen getrocknet werden können.
  • Im Bereich der Zuführung der metallischen bzw. Kunststoffdruckbogen von dem Rolle-Bogen-Anleger RB in die erste Arbeitsstation der Druckmaschine ist eine Entladungseinrichtung E vorgesehen. Sie dient dazu in an sich bekannter Weise beispielsweise mittels einer Corona-Entladung die Oberflächeneigenschaften der metallischen bzw. Kunststoffdruckbogen für die Annahme von Beschichtungen zu verbessern.
  • Die Entladurigseinrichtung E kann auch in den Rolle-Bogen-Anleger RB integriert sein, so dass die Oberflächenbehandlung der metallischen bzw. Kunststoffdruckbogen auch für den Bogentransport zur Druckmaschine wirksam wird.
  • Mit einer derartigen Druckmaschine kann also ein von einer Bedruckstoffrolle geschnittener metallischer Druckbogen zunächst beschichtet, dann mit einer bildmässigen oder flächigen Folienschicht beschichtet und nachfolgend nochmals mehrfarbig bedruckt werden. Ein Anwendungsbeispiel hierfür sind Folien für Verpackungen oder Schmuckblätter, die neben dem Drucken eine zusätzliche Veredelung erfordern.
  • In Figur 3 ist eine zweite Variante einer derartigen Konfiguration gezeigt. Die dargestellte Druckmaschine weist einen Bogenanleger AN auf, dem eine Entladungseinrichtung E zur Folienbehandlung zugeordnet ist. Anschließend ist wahlweise ein Druckwerk D oder ein Lackmodul vorgesehen. Darauf folgt ein- oder zweiteiliges Folienapplikationsmodul FA. Daran anschließend ist erneut ein Druckwerk angeordnet, dem eine so genannte Wendeeinrichtung W folgt. Die Wendeeinrichtung W dient dazu, einen einseitig mit einer Folienbeschichtung versehenen metallischen bzw. Kunststoffdruckbogen umzustülpen, so dass dessen vorherige Unterseite nachfolgend von oben bedruckt bzw. beschichtet werden kann.
  • In der gezeigten Konfiguration schließen sich an die Wendeeinrichtung W ein Auftragwerk 1 und ein Beschichtungsmodul 2 an, die auch als integriertes Folienapplikationsmodul FA innerhalb eines Druckwerkes angeordnet sein können. Danach sind bis zum Bogenausleger AU ggf. mehrere weitere Druckwerke D vorgesehen. Vor der Zuführung der metallischen bzw. Kunststoffdruckbogen zum Folienapplikationsmodul FA können diese erneut, nun aber mit ihrer oben liegenden Rückseite der Einwirkung einer Entladungseinrichtung E ausgesetzt werden.
  • Mit einer derartigen Druckmaschine kann also jeder metallische Druckbogen zunächst von seiner Oberseite beschichtet, dann mit einer Folienbeschichtung versehen, danach bedruckt oder beschichtet, dann gewendet, dann mit einer weiteren Folienbeschichtung versehen und nachfolgend nochmals mehrfarbig bedruckt werden. Ein Anwendungsbeispiel hierfür sind Folien für Verpackungen oder Schmuckblätter, die neben dem beidseitigen Drucken auch eine zusätzliche beidseitige Veredelung erfordern.
  • Weiterhin ergeben sich in derartigen Maschinen weitere Produktionsmöglichkeiten, indem Druckbogen mit optischen oder taktilen Mustern versehen werden, die der Folienbeschichtung unterlegt und durch diese sichtbar oder tastbar sind, oder auch indem über die Folie selbst optische oder taktile Oberflächenmuster aufgebracht werden. Diese Beschichtungsvorgänge können wiederum einseitig oder beidseitig auf unbedruckten oder bedruckten Oberflächen erfolgen.
  • Beispielsweise sind noch folgende Produktionsvarianten möglich:
    1. I. Bei der Verwendung minderwertiger Folien können die metallischen bzw. Kunststoffdruckbogen vorab mit einem Primer, d.h. einer Grundschicht, versehen werden, wobei die Oberfläche so vorbehandelt wird, dass eine Glättung und eine Vorbereitung für die Folgebearbeitung stattfindet. Danach erfolgt die Folienapplikation, die auf dem vorbehandelten Untergrund sicherer möglich ist.
    2. II. In einem vorgeschalteten Prägemodul können die metallischen bzw. Kunststoffdruckbogen vorstrukturiert werden. Hierbei kann eine gezielte Prägung von Einzelelementen erfolgen oder die Einarbeitung eines definierten flächigen Grundmusters vorgesehen werden. In die so vorbehandelten Folienbögen wird danach die Folienapplikation aufgebracht.
    3. III. Bei Verpackungsdrucken kann jeder metallische Druckbogen in einer abschließenden Behandlung im Bogenausleger getrennt werden. Hierbei sind vorbehandelte metallischen bzw. Kunststoffdruckbogen oder auch in Nutzen aufgetrennte Bogenteile erzeugbar, die mittels Trennverfahren inline gewonnen werden. Als Trennverfahren kommen Messer- oder Scherenschnitt, (Rotations-) Stanzung oder Laserschnitt in Frage.
  • Insgesamt gesehen können mittels der genannten Einrichtungen und Verfahrensschritte in Bogenrotationsdruckmaschinen mit Offset- oder Flexo-Druckwerken in Kombination mit einer Beschichtungseinrichtung zum Prägefoliendruck zur Funktions- oder Veredelungs-Applikationen von metallischen Bedruckstoffen aus Aluminium, Stahl-, Edelstahl, Weißblech oder ähnlichem im Inlineprozess durchgeführt werden. Es wird also das Verfahren des Blechdruckes mit einem Folientransferprozess verbunden oder es wird ein reines Applikationsmodul von vorgedruckten Blechtafeln oder unbedruckten Blechtafeln, ggf. mit einer Vorbeschichtung vorgesehen.
    Die Applikation kann vollflächig oder ausgespart nach Umfang und/oder Breite, erfolgen, d.h. sie kann auch auf Nutzen bezogen erfolgen.
  • Der Inline-Veredelungsprozess für Blechdruck ist z.B. für Schmuckdosen o.ä. geeignet. Weiterhin kann er als Inline-Funktionsbeschichtungsprozess für Blechdruck z.B. für die Innenauskleidung von Lebensmittelverpackung verwendet werden.
  • Eine entsprechende Druckmaschine kann flexibel unter Verwendung von Offset- oder Flexodruckwerken (siehe Fig. 4) konfiguriert werden.
  • In Applikationsmaschinen für Blechtafeln sind folgende Prozesse durchführbar:
    • Beidseitige oder einseitige Blechdruckapplikation (ggf. mit Wendung)
    • Vorprimern des Bedruckstoffes
    • Corona-Vorbehandlung der Transferfolie 5 oder des Bedruckstoffes
    • UV-Zwischentrockner (-Endtrockner) nach Applikation
    • Bedruckstoff auch als dicke starke Folie oder metallischer laminierter Bedruckstoff, z.B. auch Sandwichwerkstoff mit Metalleinlage, Holzimitat, Pertinax sein z.B. zur Herstellung von Holzstrukturen auf Trägermaterial Holz-Panelimitat
    • Vorgesetzte Bedruckstoff-Abrollung und Rolle-Bogen-Anleger
    • Maschinenkonzept kann in der Art einer Flexo-Direktdruckmaschine ausgeführt sein: Bogenführung in einer Ebene, wobei auch ein Offsetdruckwerk integriert sein kann. Bogentransport erfolgt mittels Saugbändern, Greifersystemen
    • Bedruckstofftransport kann also eben oder wie bekannt an rotierenden Bogenführungszylindern erfolgen
  • In Figur 4 ist eine Konfiguration einer Flexo-Direktdruckmaschine dargestellt. Gezeigt sind Druckwerke D, die aus einem Gegendruckzylinder und einem Formzylinder bestehen. Der Formzylinder trägt bei Flexodruckmaschinen ein so genanntes Klischee. Das Klischee wird zur Bilderübertragung mittels eines Farbwerkes aus einer Rastwalze und einer zugeordneten Kammerrakel mit Druckfarbe versorgt. Die Bilderzeugung erfolgt in dem Druckspalt zwischen dem Formzylinder und dem Gegendruckzylinder, durch den der Bedruckstoffbogen geführt wird.
  • Der Bedruckstoff wird hierbei (siehe Pfeil von rechts) mittels eines nicht gezeigten Anlegers (Rolle-Bogen-Anleger) einer Bogentransfereinrichtung T zugeführt. Die Bogentransfereinrichtung ist z. B. ein Kettenfördersystem oder beinhaltet auch Saugbandanordnungen. Der Bogentransport erfolgt in einer Ebene und führt geradlinig nacheinander durch alle Druckspalte.
  • Die beiden ersten Druckwerke sind als Folienapplikationsmodul FA ausgebildet. Das erste Druckwerk fungiert als Auftragwerk 1 zur Erzeugung des Kleberbildes auf dem Bedruckstoff.
    Das zweite Druckwerk fungiert als Beschichtungswerk 2. Es weist einen bereits genannten Gegendruckzylinder 4 eines Flexodruckwerkes auf, der mit einer Presswalze 3 zusammen einen Transferspalt 6 bildet. Die Presswalze 3 ist durch den Formzylinder gebildet, von dem in diesem Fall das Farbwerk abgestellt ist. Die Beschichtung kann hier wie oben beschrieben erfolgen, wobei aber die verarbeitbaren Bedruckstoffe wesentlich dicker und steifer sein können als in bekannten Bogenrotationsdruckmaschinen.
  • Auch in dieser Konfiguration sind die Entladungsvorrichtungen E einsetzbar. Weiterhin sind auch Trockner einsetzbar bzw. sinnvoll. Die gezeigten Druckwerke können auch mit Offsetdruckwerken kombiniert werden.
  • Bezugszeichenliste
  • 1
    Auftragwerk
    2
    Beschichtungswerk
    3
    Presswalze
    4
    Gegendruckzylinder
    5
    Transferfolie / Folienbahn
    6
    Transferspalt
    7
    Rollenantrieb
    8
    Folienvorratsrolle
    9
    Foliensammelrolle
    10
    Pressbespannung
    11
    Farbwerk
    12
    Plattenzylinder
    13
    Drucktuchzylinder
    14
    Leiteinrichtung
    15
    Druckwerksschutz
    16
    Trockner
    17
    Überwachungseinrichtung
    18
    Tänzerwalze
    1'
    Auftragwerk
    3'
    Andruckwalze
    5'
    Folienbahn
    6'
    Pressspalt
    D
    Druckwerk
    AN
    Anleger
    RB
    Rolle-Bogen-Anleger
    AU
    Ausleger
    FA
    Folienapplikationsmodul
    W
    Wendeeinrichtung
    E
    Entladungseinrichtung
    T
    Bogentransfereinrichtung

Claims (29)

  1. Verfahren zum Transfer von bildgebenden und/oder ab- oder überdeckenden Applikationsschichten von einer Transferfolie (5) auf Druckbogen in einer Bogen verarbeitenden Maschine, insbesondere einer Bogenrotationsdruckmaschine, wenigstens mit einem Auftragwerk (1) für eine bildmäßige oder flächige Beschichtung eines Druckbogens mit einem Kleber und mit wenigstens einem Beschichtungswerk (2) zum Übertragen bildgebender oder abdeckender Schichten von der Transferfolie (5) auf den Druckbogen, wobei in einem Beschichtungswerk (2) ein Transferspalt (6) gebildet ist und die Transferfolie (5) an der Oberfläche einer Presswalze (3) entlang und mit der beschichteten Seite auf einem Druckbogen aufgelegt und unter Druck gemeinsam mit diesem durch den Transferspalt (6) führbar ist, so dass die bildgebenden oder abdeckenden Schichten in mit Kleber versehenen Bereichen von der Transferfolie (5) auf den Druckbogen haftend übertragen werden,
    dadurch gekennzeichnet,
    - dass der Druckmaschine steif-elastische Druckbogen als Blechtafeln oder Kunststofftafeln zugeführt werden,
    - die auf wenigstens einer bedruckten oder beschichteten bzw. unbedruckten oder unbeschichteten ersten Seite in einem Transferspalt (6) mit einer bildmässigen oder vollflächigen Folienbeschichtung von der Transferfolie (5) versehen werden
    - und dass die metallischen bzw. Kunststoffdruckbogen vor und/oder nach der Aufbringung der Folienbeschichtung getrocknet werden.
  2. Verfahren nach Anspruch 1,
    dadurch gekennzeichnet,
    dass jeder Druckbogen vor der Aufbringung der Folienbeschichtung mit einer Beschichtung eines flüssigen Mediums zur Oberflächenbehandlung oder Einfärbung versehen wird.
  3. Verfahren nach Anspruch 1 oder 2,
    dadurch gekennzeichnet,
    dass jeder Druckbogen vor der Aufbringung von Beschichtungen mittels einer Einrichtung zur Beeinflussung seiner Oberflächenspannung behandelt wird.
  4. Verfahren nach Anspruch 1 bis 3,
    dadurch gekennzeichnet,
    - dass die Druckbogen in einer Bogen verarbeitenden Maschine auf wenigstens einer Seite mittels eines flüssigen Mediums beschichtet werden und
    - dass auf diese Beschichtung eine bildmäßig oder flächig aufgetragene Folienbeschichtung von einer Transferfolie (5) durchgeführt wird und
    - dass die Druckbogen auf der so beschichteten Seite mit einem oder mehreren Druckbildern mittels Druckfarbe versehen werden.
  5. Verfahren nach Anspruch 4,
    dadurch gekennzeichnet,
    dass die Druckbogen nach einer Beschichtung einer ersten Seite in der Bogen verarbeitenden Maschine gewendet werden und dass die Druckbogen auf der der beschichteten Seite gegenüberliegenden Seite mit einer weiteren Beschichtung aus einer oder mehren Komponenten versehen werden und dass die Beschichtung der Ober- und/oder der Unterseite eine Folienbeschichtung von einer Transferfolie (5) beinhaltet.
  6. Verfahren nach Anspruch 1 bis 5,
    dadurch gekennzeichnet,
    dass die Druckbogen auf einer ersten Seite wenigstens beschichtet und mit einer Folienbeschichtung versehen werden, dass die Druckbogen in der Bogen verarbeitenden Maschine gewendet werden und dass die Druckbogen auf der der beschichteten Seite gegenüberliegenden Seite in einem weiteren Transferspalt (6) mit einer bildmässigen oder vollflächigen Folienbeschichtung von einer Transferfolie (5) versehen werden.
  7. Verfahren nach Anspruch 6,
    dadurch gekennzeichnet,
    dass die Druckbogen auf einer ersten Seite in einem Transferspalt (6) mit einer vollflächigen Folienbeschichtung von der Transferfolie (5) versehen werden, dass die Druckbogen in der Bogen verarbeitenden Maschine gewendet werden und dass die Druckbogen auf der der vollflächigen Folienbeschichtung gegenüber liegenden Seite wenigstens bedruckt werden.
  8. Verfahren nach Anspruch 1 bis 7,
    dadurch gekennzeichnet,
    dass die Druckbogen auf einer in einem Transferspalt (6) mit einer vollflächigen Folienbeschichtung von einer Transferfolie (5) zu beschichtenden Seite mit einer optisch oder taktil wirksamen Vorbeschichtung versehen werden, wobei der Kleberauftrag unter Einschluss der Flächenanteile der Vorbeschichtung erfolgen kann.
  9. Verfahren nach Anspruch 8,
    dadurch gekennzeichnet,
    dass die Vorbeschichtung mittels eines Druckwerkes oder mittels eines Lackmoduls oder in einem Druckwerk oder Lackmodul oder Bogentransfermodul mittels Ink-Jet-Druckköpfen oder Laserdruckeinrichtungen erfolgt.
  10. Verfahren nach Anspruch 8,
    dadurch gekennzeichnet,
    dass die Vorbeschichtung in einem Beschichtungswerk mittels eines Druckverfahrens nach dem Hochdruck, Tiefdruck oder Flachdruck erfolgt.
  11. Verfahren nach Anspruch 1 bis 9,
    dadurch gekennzeichnet,
    dass die Druckbogen auf einer in einem Transferspalt (6) mit einer vollflächigen Folienbeschichtung von einer Transferfolie (5) zu beschichtenden Seite mit einer optisch oder taktil wirksamen Vorbeschichtung versehen werden, wobei die Vorbeschichtung auf die bildgebende Seite der Transferfolie (5) erfolgt, derart, dass die Vorbeschichtung zusammen mit der bildgebenden Schicht der Transferfolie (5) in dem Transferspalt (6) auf die Druckbogen übertragen wird.
  12. Verfahren nach Anspruch 1 bis 11,
    dadurch gekennzeichnet,
    dass die Druckbogen in einem Transferspalt (6) mit einer bildmäßigen oder flächigen Folienbeschichtung von der Transferfolie (5) mittels einer optische Eigenschaften wie Farbigkeit, Brechungsvarianz oder geprägter Strukturen enthaltenden Folienbeschichtung versehen werden.
  13. Verfahren nach Anspruch 1 bis 12,
    dadurch gekennzeichnet,
    dass die von der Transferfolie (5) übertragene bildmäßige oder flächige Folienbeschichtung eine optische Funktionsschicht ist.
  14. Verfahren nach Anspruch 1 bis 12,
    dadurch gekennzeichnet,
    dass die von der Transferfolie (5) übertragene bildmäßige oder flächige Folienbeschichtung eine Strukturen bildende Funktionsschicht ist.
  15. Verfahren nach Anspruch 1 bis 14,
    dadurch gekennzeichnet,
    dass der Kleber und/oder die flüssigen Beschichtungsmedien und/oder die Druckfarben mittels UV-Strahlung härtbar sind.
  16. Verfahren nach Anspruch 1 bis 15,
    dadurch gekennzeichnet,
    dass auf die metallischen bzw. Kunststoffdruckbogen aufgebrachte Beschichtungen allein oder in Kombination getrocknet werden.
  17. Vorrichtung zum Transfer von bildgebenden und/oder ab- bzw. überdeckenden Funktionsschichten von einer Transferfolie (5) auf Druckbogen mit wenigstens einem Auftragwerk (1) zur bildmässigen oder flächigen Beschichtung der Druckbogen mit einem Kleber und wenigstens einem Beschichtungswerk (2) zum Übertragen der Funktionsschichten der Transferfolie (5) auf die Druckbogen, wobei jedes Beschichtungswerk (2) einen Transferspalt (6) aufweist, in dem die Transferfolie (5) eine Presswalze (3) wenigstens tangierend, mit der beschichteten Seite auf den Druckbogen aufgelegt unter Druck geführt wird, so dass die Funktionsschicht in den mit Kleber versehenen Bereichen fest anhaftend von der Transferfolie (5) auf die Druckbogen übertragen wird,
    dadurch gekennzeichnet,
    dass die Bogen verarbeitende Maschine eine Bogenrotationsdruckmaschine ist, die zwischen einem für metallische oder Kunststoffbedruckstoffe geeigneten Bogenanleger (AN) oder Rolle-Bogen-Anleger (RB) und einem Bogenausleger (AU) eine Mehrzahl von als Druck- und/oder Lack- und/oder Beschichtungseinheiten (D) ausgebildeten Arbeitseinheiten aufweist,
    dass den Druckwerken (D) wahlweise ein Beschichtungsmodul für flüssige Medien, vorzugsweise ein Lackmodul, vorangestellt ist,
    dass der Bogenrotationsdruckmaschine, vor oder nach den Beschichtungseinheiten (D) oder wahlweise vor und/oder nach einer vorzusehenden Einrichtung zur Bogenwendung, wenigstens ein ein Auftragwerk (1) und ein Beschichtungswerk (2) enthaltendes Folienapplikationsmodul (FA) zugeordnet ist,
    und dass den Arbeitseinheiten und/oder Folienapplikationsmodulen (FA) jeweils ein Trockner (16) zuordenbar ist.
  18. Vorrichtung nach Anspruch 17,
    dadurch gekennzeichnet,
    dass die Bogenrotationsdruckmaschine im Bereich der Zuführung von unbedruckten bzw. nicht beschichteten Seiten der Druckbogen zu einer Arbeitseinheit (D, FA, 1) eine Entladungseinrichtung (E) aufweist, mittels derer der metallische Druckbogen einer Oberflächenbehandlung aussetzbar ist.
  19. Vorrichtung nach Anspruch 17,
    dadurch gekennzeichnet,
    dass die Bogenrotationsdruckmaschine im Bereich der Zuführung einer Transferfolie (5) zu einer Transferfolie verarbeitenden Arbeitseinheit (FA, 1) eine Entladungseinrichtung (E) aufweist, mittels derer die die Transferschicht aufweisende Seite der Transferfolie (5) einer Oberflächenbehandlung aussetzbar ist.
  20. Vorrichtung nach Anspruch 17,
    dadurch gekennzeichnet,
    dass die Bogenrotationsdruckmaschine, deren Arbeitseinheiten oder Bogen führenden Bogentransportmodule im Bereich nach der Aufbringung einer Beschichtung mit einer Trocknungseinrichtung versehen sind.
  21. Vorrichtung nach Anspruch 17 bis 20,
    dadurch gekennzeichnet,
    dass die Druckmaschine zwischen Bogenanleger (AN; RB) und Bogenausleger (AU) in Bogentransportrichtung folgende Konfiguration aufweist:
    - ein Lackmodul oder Druckwerk (D),
    - ein Folienapplikationsmodul (FA)
    - n Druckwerke (D).
  22. Vorrichtung nach Anspruch 17 bis 20,
    dadurch gekennzeichnet,
    dass die Druckmaschine zwischen Bogenanleger (AN; RB) und Bogenausleger (AU) in Bogentransportrichtung folgende Konfiguration aufweist:
    - ein Lackmodul oder Druckwerk (D),
    - ein Folienapplikationsmodul (FA)
    - eine Wendeeinrichtung (W)
    - n Druckwerke (D).
  23. Vorrichtung nach Anspruch 17 bis 20,
    dadurch gekennzeichnet,
    dass die Druckmaschine zwischen Bogenanleger (AN; RB) und Bogenausleger (AU) in Bogentransportrichtung folgende Konfiguration aufweist:
    - n Druckwerke (D).
    - ein Folienapplikationsmodul (FA),
    - eine Wendeeinrichtung (W),
    - n Druckwerke (D),
    - ein Folienapplikationsmodul (FA).
  24. Vorrichtung nach Anspruch 17 bis 20,
    dadurch gekennzeichnet,
    dass die Druckmaschine zwischen Bogenanleger (AN; RB) und Bogenausleger (AU) in Bogentransportrichtung folgende Konfiguration aufweist:
    - ein Lackmodul oder Druckwerk (D),
    - ein Folienapplikationsmodul (FA)
    - n Druckwerke (D)
    - eine Wendeeinrichtung (W)
    - ein Lackmodul oder Druckwerk (D),
    - ein Folienapplikationsmodul (FA),
    - n Druckwerke (D).
  25. Vorrichtung nach Anspruch 17 bis 20,
    dadurch gekennzeichnet,
    dass die Druckmaschine zwischen Bogenanleger (AN; RB) und Bogenausleger (AU) in Bogentransportrichtung folgende Konfiguration aufweist:
    - ein Folienapplikationsmodul (FA)
    - n Druckwerke (D).
    - eine Wendeeinrichtung (W)
    - n Druckwerke (D).
  26. Vorrichtung nach Anspruch 17 bis 20,
    dadurch gekennzeichnet,
    dass die Druckmaschine zwischen Bogenanleger (AN; RB) und Bogenausleger (AU) in Bogentransportrichtung folgende Konfiguration aufweist:
    - ein Lackmodul oder Druckwerk (D),
    - ein Folienapplikationsmodul (FA)
    - eine Wendeeinrichtung (W)
    - n Druckwerke (D).
    - ein Folienapplikationsmodul (FA)
  27. Vorrichtung nach Anspruch 17 bis 20,
    dadurch gekennzeichnet,
    dass die Druckmaschine zwischen Bogenanleger (AN; RB) und Bogenausleger (AU) in Bogentransportrichtung folgende Konfiguration aufweist:
    - ein Lackmodul oder Druckwerk (D),
    - ein Folienapplikationsmodul (FA)
    - eine Wendeeinrichtung (W)
    - ein Folienapplikationsmodul (FA)
    - n Druckwerke (D).
    - ein Folienapplikationsmodul (FA).
  28. Vorrichtung nach Anspruch 17 bis 27,
    dadurch gekennzeichnet,
    dass die Druckwerke (D) als Flexodruckwerke ausgebildet sind, wobei unter Verwendung zweier Druckwerke ein Folienapplikationsmodul (FA) gebildet ist.
  29. Vorrichtung nach Anspruch 17 bis 28,
    dadurch gekennzeichnet,
    dass die Druckwerke (D) mittels einer Bogentransfereinrichtung (T) derart miteinander gekoppelt sind, dass der Bedruckstofftransport in einer sich durch die Druckspalte aller Druckwerke (D) und des Folienapplikationsmoduls (FA) erstreckenden Ebene geradlinig erfolgt.
EP07005430A 2006-04-01 2007-03-16 Prägebeschichtung für metallische Bedruckstoffe Revoked EP1839903B1 (de)

Applications Claiming Priority (2)

Application Number Priority Date Filing Date Title
DE102006015189 2006-04-01
DE102006044957A DE102006044957A1 (de) 2006-04-01 2006-09-22 Prägebeschichtung für steif-elastische Bedruckstoffe

Publications (3)

Publication Number Publication Date
EP1839903A2 true EP1839903A2 (de) 2007-10-03
EP1839903A3 EP1839903A3 (de) 2009-07-29
EP1839903B1 EP1839903B1 (de) 2011-06-15

Family

ID=38109905

Family Applications (1)

Application Number Title Priority Date Filing Date
EP07005430A Revoked EP1839903B1 (de) 2006-04-01 2007-03-16 Prägebeschichtung für metallische Bedruckstoffe

Country Status (5)

Country Link
EP (1) EP1839903B1 (de)
JP (1) JP2007276467A (de)
AT (1) ATE512808T1 (de)
DE (1) DE102006044957A1 (de)
ES (1) ES2363445T3 (de)

Cited By (15)

* Cited by examiner, † Cited by third party
Publication number Priority date Publication date Assignee Title
DE102008003629A1 (de) * 2008-01-09 2009-07-23 Ls Industrielacke Gmbh Thermische Transferfolie und Verfahren zur lösungsmittelfreien Lackierung
WO2010066638A1 (de) 2008-12-09 2010-06-17 Manroland Ag Einrichtung zur laserbehandlung von folienbeschichtungen
WO2010097270A3 (de) * 2009-02-27 2010-10-21 Evonik Degussa Gmbh Druckverfahren zur herstellung individualisierter elektrischer und/oder elektronischer strukturen
CN102248767A (zh) * 2011-05-26 2011-11-23 北京贞亨利民印刷机械股份有限公司 镭射纸转移机
CH703704A1 (de) * 2010-09-14 2012-03-15 Hoffmann Neopac Ag Druckvorrichtung und Verfahren zum Bedrucken von Flächengebilden.
CN102514365A (zh) * 2011-12-20 2012-06-27 唐山万杰机械设备有限公司 与轮转印刷包装机械联机使用的即涂胶覆膜机构
CN103057256A (zh) * 2012-06-21 2013-04-24 深圳市众立生包装科技有限公司 一种高精度印刷系统和印刷方法
US20150083004A1 (en) * 2013-09-26 2015-03-26 Yan-Shu Lin Collinear printing method with page-type upfront gold-stamping, matting and snowflake printed patterns, and printed product thereof
US20150090139A1 (en) * 2013-09-30 2015-04-02 Yan-Shu Lin Collinear printing method with roller-type upfront gold-stamping, matting and snowflake printed patterns, and printed product thereof
CN104842642A (zh) * 2015-06-09 2015-08-19 嘉善大华纸品印刷厂 一种自适应碾纸设备
WO2017041981A1 (de) * 2015-09-09 2017-03-16 Koenig & Bauer Ag Maschinenanordnung und verfahren jeweils zum sequentiellen bearbeiten bogenförmiger substrate
JP2017170668A (ja) * 2016-03-22 2017-09-28 株式会社小森コーポレーション 両面バーニッシング機
CN107297949A (zh) * 2017-08-05 2017-10-27 广州明森科技股份有限公司 一种智能卡烫印机
CN110843328A (zh) * 2018-08-20 2020-02-28 昇印光电(昆山)股份有限公司 纹理成型设备
DE102009007002B4 (de) 2009-01-30 2022-05-05 manroland sheetfed GmbH Betrieb eines Kaltfolienaggregates mit einem Druckwerk

Families Citing this family (5)

* Cited by examiner, † Cited by third party
Publication number Priority date Publication date Assignee Title
EP3008459B1 (de) 2013-06-10 2017-11-01 Roche Diagnostics GmbH Verfahren und vorrichtung zur herstellung eines testelements
CN105034569A (zh) * 2015-08-27 2015-11-11 安庆市兴丰工贸有限公司 一种改进的吹膜印刷收卷一体机
DE102019101998A1 (de) * 2019-01-28 2020-07-30 Koenig & Bauer Ag Verfahren zum Bedrucken eines metallischen Bedruckstoffes in einer Druckmaschine
DE102019101997A1 (de) 2019-01-28 2020-07-30 Koenig & Bauer Ag Verfahren und Druckmaschine jeweils zum Bedrucken eines metallischen Bedruckstoffes
EP4137239A4 (de) * 2020-04-13 2024-05-08 Brasilata S/A Embalagens Metalicas Verfahren zur oberflächenbehandlung von metallfolien mit uv-gehärtetem schutzlack

Citations (4)

* Cited by examiner, † Cited by third party
Publication number Priority date Publication date Assignee Title
EP0569520B1 (de) 1991-01-29 1996-01-17 CROS, Jean-Pierre Druckmaterial und druckvorrichtung, die das material verwendet
DE10138864A1 (de) 2001-08-08 2003-02-27 Koenig & Bauer Ag Verfahren und Einrichtung zur Herstellung von Plastik-Karten
JP2003275658A (ja) 2002-03-19 2003-09-30 Yodogawa Steel Works Ltd 印刷金属板の製造方法およびその印刷装置
WO2005100035A2 (de) 2004-04-13 2005-10-27 Man Roland Druckmaschinen Ag Prägevorrichtung

Patent Citations (4)

* Cited by examiner, † Cited by third party
Publication number Priority date Publication date Assignee Title
EP0569520B1 (de) 1991-01-29 1996-01-17 CROS, Jean-Pierre Druckmaterial und druckvorrichtung, die das material verwendet
DE10138864A1 (de) 2001-08-08 2003-02-27 Koenig & Bauer Ag Verfahren und Einrichtung zur Herstellung von Plastik-Karten
JP2003275658A (ja) 2002-03-19 2003-09-30 Yodogawa Steel Works Ltd 印刷金属板の製造方法およびその印刷装置
WO2005100035A2 (de) 2004-04-13 2005-10-27 Man Roland Druckmaschinen Ag Prägevorrichtung

Cited By (23)

* Cited by examiner, † Cited by third party
Publication number Priority date Publication date Assignee Title
DE102008003629A1 (de) * 2008-01-09 2009-07-23 Ls Industrielacke Gmbh Thermische Transferfolie und Verfahren zur lösungsmittelfreien Lackierung
WO2010066638A1 (de) 2008-12-09 2010-06-17 Manroland Ag Einrichtung zur laserbehandlung von folienbeschichtungen
DE102009007002B4 (de) 2009-01-30 2022-05-05 manroland sheetfed GmbH Betrieb eines Kaltfolienaggregates mit einem Druckwerk
WO2010097270A3 (de) * 2009-02-27 2010-10-21 Evonik Degussa Gmbh Druckverfahren zur herstellung individualisierter elektrischer und/oder elektronischer strukturen
CH703704A1 (de) * 2010-09-14 2012-03-15 Hoffmann Neopac Ag Druckvorrichtung und Verfahren zum Bedrucken von Flächengebilden.
CN102248767A (zh) * 2011-05-26 2011-11-23 北京贞亨利民印刷机械股份有限公司 镭射纸转移机
CN102514365A (zh) * 2011-12-20 2012-06-27 唐山万杰机械设备有限公司 与轮转印刷包装机械联机使用的即涂胶覆膜机构
CN103057256A (zh) * 2012-06-21 2013-04-24 深圳市众立生包装科技有限公司 一种高精度印刷系统和印刷方法
US20150083004A1 (en) * 2013-09-26 2015-03-26 Yan-Shu Lin Collinear printing method with page-type upfront gold-stamping, matting and snowflake printed patterns, and printed product thereof
US20150090139A1 (en) * 2013-09-30 2015-04-02 Yan-Shu Lin Collinear printing method with roller-type upfront gold-stamping, matting and snowflake printed patterns, and printed product thereof
CN104842642A (zh) * 2015-06-09 2015-08-19 嘉善大华纸品印刷厂 一种自适应碾纸设备
WO2017041981A1 (de) * 2015-09-09 2017-03-16 Koenig & Bauer Ag Maschinenanordnung und verfahren jeweils zum sequentiellen bearbeiten bogenförmiger substrate
EP3348402A1 (de) * 2015-09-09 2018-07-18 Koenig & Bauer AG Maschinenanordnung zum sequentiellen bearbeiten bogenförmiger substrate
US10259211B2 (en) 2015-09-09 2019-04-16 Koenig & Bauer Ag Machine arrangement and method for sequential processing of sheet-type substrates
CN110154516A (zh) * 2015-09-09 2019-08-23 柯尼格及包尔公开股份有限公司 用于依次加工单张纸状的基材的机器结构
US10556422B2 (en) 2015-09-09 2020-02-11 Koenig & Bauer Ag Machine arrangement and method for sequential processing of sheet-type substrates
US10792910B2 (en) 2015-09-09 2020-10-06 Koenig & Bauer Ag Machine arrangement and method for sequential processing of sheet-type substrates
CN110154516B (zh) * 2015-09-09 2021-07-09 柯尼格及包尔公开股份有限公司 用于依次加工单张纸状的基材的机器结构
EP3434482A4 (de) * 2016-03-22 2019-09-25 Komori Corporation Doppelseitiger polierer
JP2017170668A (ja) * 2016-03-22 2017-09-28 株式会社小森コーポレーション 両面バーニッシング機
CN107297949A (zh) * 2017-08-05 2017-10-27 广州明森科技股份有限公司 一种智能卡烫印机
CN107297949B (zh) * 2017-08-05 2023-10-31 广州明森科技股份有限公司 一种智能卡烫印机
CN110843328A (zh) * 2018-08-20 2020-02-28 昇印光电(昆山)股份有限公司 纹理成型设备

Also Published As

Publication number Publication date
EP1839903A3 (de) 2009-07-29
EP1839903B1 (de) 2011-06-15
ES2363445T3 (es) 2011-08-04
ATE512808T1 (de) 2011-07-15
DE102006044957A1 (de) 2007-10-04
JP2007276467A (ja) 2007-10-25

Similar Documents

Publication Publication Date Title
EP1839903B1 (de) Prägebeschichtung für metallische Bedruckstoffe
EP1940624B1 (de) Herstellverfahren und druckmaschine für verpackungs- und werbemittel
EP2288505B1 (de) Verfahren und vorrichtung zum auftragen von kaltfolienmaterial auf ein bogenmaterial in einer verarbeitungsmaschine
DE102005011568A1 (de) Produktionsverfahren für eine Prägeeinrichtung in einer Bogendruckmaschine
EP1803562A1 (de) Prägebeschichtungswerk für Folienbedruckstoffe
DE102005021185A1 (de) Verfahren und Vorrichtung zur Applikation von Deckweiß und Effektschichten auf einen Bedruckstoff
WO2007115641A1 (de) Druckmaschine mit prägeeinrichtung
EP2121327B1 (de) Kaltfolienapplikation mit prägung
EP2106346B1 (de) Mehrfarbendruckmaschine mit folientransfereinrichtung
EP1976700A1 (de) Überdruckbare prägebeschichtung
EP1880848A2 (de) Vorrichtung und Verfahren zum Transfer mittels einer Prägeeinrichtung
EP1803564A2 (de) Einrichtung zur Folienbeschichtung
EP1700692B1 (de) Vorrichtung zum Transfer bildgebender Schichten von einer Trägerfolie auf Druckbogen
DE102012218022A1 (de) Betrieb eines Kaltfolienaggregates mit einem Druckwerk
DE102008042937A1 (de) Prägebeschichtung für Folienbedruckstoffe
EP1798033A2 (de) Kaschieren mittels einer Prägeeinrichtung
EP2055479A2 (de) Transferdruckverfahren
EP1674260B1 (de) Verfahren zum Kaschieren
DE102007058285A1 (de) Mehrfarbendruckmaschine mit Folientransfereinrichtung
EP1700695A2 (de) Prägeeinrichtung für Produktsicherungen in einer Bogendruckmaschine und Verfahren hierfür
EP1700694A2 (de) Prägeverfahren für Wellpappe in einer Bogendruckmaschine und entsprechende Einrichtung
DE102006048521A1 (de) Herstellverfahren für Verpackungs- und Werbemittel
EP1700693A2 (de) Prägeverfahren und entsprechende Einrichtung für Bedruckstoffe mit strukturierter Oberfläche in einer Bogendruckmaschine
DE102006061663A1 (de) Bogendruckmaschine mit Folientransfereinrichtung
DE102007014564A1 (de) Folientransfer mit integrierter Trocknung

Legal Events

Date Code Title Description
PUAI Public reference made under article 153(3) epc to a published international application that has entered the european phase

Free format text: ORIGINAL CODE: 0009012

AK Designated contracting states

Kind code of ref document: A2

Designated state(s): AT BE BG CH CY CZ DE DK EE ES FI FR GB GR HU IE IS IT LI LT LU LV MC MT NL PL PT RO SE SI SK TR

AX Request for extension of the european patent

Extension state: AL BA HR MK YU

RAP1 Party data changed (applicant data changed or rights of an application transferred)

Owner name: MANROLAND AG

RIC1 Information provided on ipc code assigned before grant

Ipc: B41F 7/16 20060101ALI20090404BHEP

Ipc: B44C 1/17 20060101AFI20070718BHEP

Ipc: B41F 16/00 20060101ALI20090404BHEP

Ipc: B41F 19/06 20060101ALI20090404BHEP

Ipc: B41F 17/00 20060101ALI20090404BHEP

PUAL Search report despatched

Free format text: ORIGINAL CODE: 0009013

AK Designated contracting states

Kind code of ref document: A3

Designated state(s): AT BE BG CH CY CZ DE DK EE ES FI FR GB GR HU IE IS IT LI LT LU LV MC MT NL PL PT RO SE SI SK TR

AX Request for extension of the european patent

Extension state: AL BA HR MK RS

RIC1 Information provided on ipc code assigned before grant

Ipc: B42D 15/10 20060101ALI20090624BHEP

Ipc: B44C 1/17 20060101AFI20070718BHEP

Ipc: B41F 7/16 20060101ALI20090624BHEP

Ipc: B41F 16/00 20060101ALI20090624BHEP

Ipc: B41F 19/06 20060101ALI20090624BHEP

Ipc: B41F 23/04 20060101ALI20090624BHEP

Ipc: B41F 19/00 20060101ALI20090624BHEP

Ipc: B41F 17/00 20060101ALI20090624BHEP

17P Request for examination filed

Effective date: 20100129

17Q First examination report despatched

Effective date: 20100223

AKX Designation fees paid

Designated state(s): AT BE BG CH CY CZ DE DK EE ES FI FR GB GR HU IE IS IT LI LT LU LV MC MT NL PL PT RO SE SI SK TR

GRAP Despatch of communication of intention to grant a patent

Free format text: ORIGINAL CODE: EPIDOSNIGR1

GRAS Grant fee paid

Free format text: ORIGINAL CODE: EPIDOSNIGR3

GRAA (expected) grant

Free format text: ORIGINAL CODE: 0009210

AK Designated contracting states

Kind code of ref document: B1

Designated state(s): AT BE BG CH CY CZ DE DK EE ES FI FR GB GR HU IE IS IT LI LT LU LV MC MT NL PL PT RO SE SI SK TR

REG Reference to a national code

Ref country code: GB

Ref legal event code: FG4D

Free format text: NOT ENGLISH

Ref country code: CH

Ref legal event code: EP

REG Reference to a national code

Ref country code: IE

Ref legal event code: FG4D

Free format text: LANGUAGE OF EP DOCUMENT: GERMAN

REG Reference to a national code

Ref country code: DE

Ref legal event code: R096

Ref document number: 502007007404

Country of ref document: DE

Effective date: 20110728

REG Reference to a national code

Ref country code: ES

Ref legal event code: FG2A

Ref document number: 2363445

Country of ref document: ES

Kind code of ref document: T3

Effective date: 20110804

REG Reference to a national code

Ref country code: NL

Ref legal event code: VDEP

Effective date: 20110615

PG25 Lapsed in a contracting state [announced via postgrant information from national office to epo]

Ref country code: SE

Free format text: LAPSE BECAUSE OF FAILURE TO SUBMIT A TRANSLATION OF THE DESCRIPTION OR TO PAY THE FEE WITHIN THE PRESCRIBED TIME-LIMIT

Effective date: 20110615

Ref country code: LT

Free format text: LAPSE BECAUSE OF FAILURE TO SUBMIT A TRANSLATION OF THE DESCRIPTION OR TO PAY THE FEE WITHIN THE PRESCRIBED TIME-LIMIT

Effective date: 20110615

PG25 Lapsed in a contracting state [announced via postgrant information from national office to epo]

Ref country code: SI

Free format text: LAPSE BECAUSE OF FAILURE TO SUBMIT A TRANSLATION OF THE DESCRIPTION OR TO PAY THE FEE WITHIN THE PRESCRIBED TIME-LIMIT

Effective date: 20110615

Ref country code: GR

Free format text: LAPSE BECAUSE OF FAILURE TO SUBMIT A TRANSLATION OF THE DESCRIPTION OR TO PAY THE FEE WITHIN THE PRESCRIBED TIME-LIMIT

Effective date: 20110916

Ref country code: CY

Free format text: LAPSE BECAUSE OF FAILURE TO SUBMIT A TRANSLATION OF THE DESCRIPTION OR TO PAY THE FEE WITHIN THE PRESCRIBED TIME-LIMIT

Effective date: 20110615

Ref country code: LV

Free format text: LAPSE BECAUSE OF FAILURE TO SUBMIT A TRANSLATION OF THE DESCRIPTION OR TO PAY THE FEE WITHIN THE PRESCRIBED TIME-LIMIT

Effective date: 20110615

Ref country code: FI

Free format text: LAPSE BECAUSE OF FAILURE TO SUBMIT A TRANSLATION OF THE DESCRIPTION OR TO PAY THE FEE WITHIN THE PRESCRIBED TIME-LIMIT

Effective date: 20110615

PG25 Lapsed in a contracting state [announced via postgrant information from national office to epo]

Ref country code: NL

Free format text: LAPSE BECAUSE OF FAILURE TO SUBMIT A TRANSLATION OF THE DESCRIPTION OR TO PAY THE FEE WITHIN THE PRESCRIBED TIME-LIMIT

Effective date: 20110615

REG Reference to a national code

Ref country code: IE

Ref legal event code: FD4D

PG25 Lapsed in a contracting state [announced via postgrant information from national office to epo]

Ref country code: IE

Free format text: LAPSE BECAUSE OF FAILURE TO SUBMIT A TRANSLATION OF THE DESCRIPTION OR TO PAY THE FEE WITHIN THE PRESCRIBED TIME-LIMIT

Effective date: 20110615

Ref country code: PT

Free format text: LAPSE BECAUSE OF FAILURE TO SUBMIT A TRANSLATION OF THE DESCRIPTION OR TO PAY THE FEE WITHIN THE PRESCRIBED TIME-LIMIT

Effective date: 20111017

Ref country code: IS

Free format text: LAPSE BECAUSE OF FAILURE TO SUBMIT A TRANSLATION OF THE DESCRIPTION OR TO PAY THE FEE WITHIN THE PRESCRIBED TIME-LIMIT

Effective date: 20111015

Ref country code: EE

Free format text: LAPSE BECAUSE OF FAILURE TO SUBMIT A TRANSLATION OF THE DESCRIPTION OR TO PAY THE FEE WITHIN THE PRESCRIBED TIME-LIMIT

Effective date: 20110615

PG25 Lapsed in a contracting state [announced via postgrant information from national office to epo]

Ref country code: SK

Free format text: LAPSE BECAUSE OF FAILURE TO SUBMIT A TRANSLATION OF THE DESCRIPTION OR TO PAY THE FEE WITHIN THE PRESCRIBED TIME-LIMIT

Effective date: 20110615

Ref country code: RO

Free format text: LAPSE BECAUSE OF FAILURE TO SUBMIT A TRANSLATION OF THE DESCRIPTION OR TO PAY THE FEE WITHIN THE PRESCRIBED TIME-LIMIT

Effective date: 20110615

Ref country code: PL

Free format text: LAPSE BECAUSE OF FAILURE TO SUBMIT A TRANSLATION OF THE DESCRIPTION OR TO PAY THE FEE WITHIN THE PRESCRIBED TIME-LIMIT

Effective date: 20110615

PLBI Opposition filed

Free format text: ORIGINAL CODE: 0009260

PLAX Notice of opposition and request to file observation + time limit sent

Free format text: ORIGINAL CODE: EPIDOSNOBS2

26 Opposition filed

Opponent name: HEIDELBERGER DRUCKMASCHINEN AG

Effective date: 20120315

REG Reference to a national code

Ref country code: DE

Ref legal event code: R026

Ref document number: 502007007404

Country of ref document: DE

Effective date: 20120315

PG25 Lapsed in a contracting state [announced via postgrant information from national office to epo]

Ref country code: DK

Free format text: LAPSE BECAUSE OF FAILURE TO SUBMIT A TRANSLATION OF THE DESCRIPTION OR TO PAY THE FEE WITHIN THE PRESCRIBED TIME-LIMIT

Effective date: 20110615

BERE Be: lapsed

Owner name: MANROLAND A.G.

Effective date: 20120331

29U Proceedings interrupted after grant according to rule 142 epc

Effective date: 20120315

29W Proceedings resumed after grant [after interruption of proceedings according to rule 142 epc]

Effective date: 20121203

PG25 Lapsed in a contracting state [announced via postgrant information from national office to epo]

Ref country code: MC

Free format text: LAPSE BECAUSE OF NON-PAYMENT OF DUE FEES

Effective date: 20120331

RAP2 Party data changed (patent owner data changed or rights of a patent transferred)

Owner name: MANROLAND SHEETFED GMBH

PLAX Notice of opposition and request to file observation + time limit sent

Free format text: ORIGINAL CODE: EPIDOSNOBS2

PG25 Lapsed in a contracting state [announced via postgrant information from national office to epo]

Ref country code: BE

Free format text: LAPSE BECAUSE OF NON-PAYMENT OF DUE FEES

Effective date: 20120331

29U Proceedings interrupted after grant according to rule 142 epc

Effective date: 20120316

29W Proceedings resumed after grant [after interruption of proceedings according to rule 142 epc]

Effective date: 20121203

PGFP Annual fee paid to national office [announced via postgrant information from national office to epo]

Ref country code: AT

Payment date: 20120313

Year of fee payment: 6

PLAF Information modified related to communication of a notice of opposition and request to file observations + time limit

Free format text: ORIGINAL CODE: EPIDOSCOBS2

PLAX Notice of opposition and request to file observation + time limit sent

Free format text: ORIGINAL CODE: EPIDOSNOBS2

PLBB Reply of patent proprietor to notice(s) of opposition received

Free format text: ORIGINAL CODE: EPIDOSNOBS3

REG Reference to a national code

Ref country code: FR

Ref legal event code: TP

Owner name: MANROLAND SHEETFED GMBH, DE

Effective date: 20130403

REG Reference to a national code

Ref country code: GB

Ref legal event code: 732E

Free format text: REGISTERED BETWEEN 20130411 AND 20130417

PG25 Lapsed in a contracting state [announced via postgrant information from national office to epo]

Ref country code: BG

Free format text: LAPSE BECAUSE OF FAILURE TO SUBMIT A TRANSLATION OF THE DESCRIPTION OR TO PAY THE FEE WITHIN THE PRESCRIBED TIME-LIMIT

Effective date: 20110915

PGFP Annual fee paid to national office [announced via postgrant information from national office to epo]

Ref country code: ES

Payment date: 20120327

Year of fee payment: 6

PG25 Lapsed in a contracting state [announced via postgrant information from national office to epo]

Ref country code: MT

Free format text: LAPSE BECAUSE OF FAILURE TO SUBMIT A TRANSLATION OF THE DESCRIPTION OR TO PAY THE FEE WITHIN THE PRESCRIBED TIME-LIMIT

Effective date: 20110615

REG Reference to a national code

Ref country code: DE

Ref legal event code: R081

Ref document number: 502007007404

Country of ref document: DE

Owner name: MANROLAND SHEETFED GMBH, DE

Free format text: FORMER OWNER: MAN ROLAND DRUCKMASCHINEN AG, 63075 OFFENBACH, DE

Effective date: 20110607

Ref country code: DE

Ref legal event code: R081

Ref document number: 502007007404

Country of ref document: DE

Owner name: MANROLAND SHEETFED GMBH, DE

Free format text: FORMER OWNER: MANROLAND AG, 63075 OFFENBACH, DE

Effective date: 20130617

PG25 Lapsed in a contracting state [announced via postgrant information from national office to epo]

Ref country code: CZ

Free format text: LAPSE BECAUSE OF NON-PAYMENT OF DUE FEES

Effective date: 20130316

REG Reference to a national code

Ref country code: AT

Ref legal event code: MM01

Ref document number: 512808

Country of ref document: AT

Kind code of ref document: T

Effective date: 20130316

PG25 Lapsed in a contracting state [announced via postgrant information from national office to epo]

Ref country code: AT

Free format text: LAPSE BECAUSE OF NON-PAYMENT OF DUE FEES

Effective date: 20130316

PG25 Lapsed in a contracting state [announced via postgrant information from national office to epo]

Ref country code: TR

Free format text: LAPSE BECAUSE OF FAILURE TO SUBMIT A TRANSLATION OF THE DESCRIPTION OR TO PAY THE FEE WITHIN THE PRESCRIBED TIME-LIMIT

Effective date: 20110615

PGFP Annual fee paid to national office [announced via postgrant information from national office to epo]

Ref country code: DE

Payment date: 20140319

Year of fee payment: 8

Ref country code: CH

Payment date: 20140319

Year of fee payment: 8

PG25 Lapsed in a contracting state [announced via postgrant information from national office to epo]

Ref country code: LU

Free format text: LAPSE BECAUSE OF NON-PAYMENT OF DUE FEES

Effective date: 20120316

PGFP Annual fee paid to national office [announced via postgrant information from national office to epo]

Ref country code: FR

Payment date: 20140319

Year of fee payment: 8

Ref country code: IT

Payment date: 20140324

Year of fee payment: 8

REG Reference to a national code

Ref country code: ES

Ref legal event code: FD2A

Effective date: 20140612

PGFP Annual fee paid to national office [announced via postgrant information from national office to epo]

Ref country code: GB

Payment date: 20140319

Year of fee payment: 8

PG25 Lapsed in a contracting state [announced via postgrant information from national office to epo]

Ref country code: HU

Free format text: LAPSE BECAUSE OF FAILURE TO SUBMIT A TRANSLATION OF THE DESCRIPTION OR TO PAY THE FEE WITHIN THE PRESCRIBED TIME-LIMIT

Effective date: 20070316

REG Reference to a national code

Ref country code: DE

Ref legal event code: R064

Ref document number: 502007007404

Country of ref document: DE

Ref country code: DE

Ref legal event code: R103

Ref document number: 502007007404

Country of ref document: DE

PG25 Lapsed in a contracting state [announced via postgrant information from national office to epo]

Ref country code: ES

Free format text: LAPSE BECAUSE OF NON-PAYMENT OF DUE FEES

Effective date: 20130317

RDAF Communication despatched that patent is revoked

Free format text: ORIGINAL CODE: EPIDOSNREV1

RDAG Patent revoked

Free format text: ORIGINAL CODE: 0009271

STAA Information on the status of an ep patent application or granted ep patent

Free format text: STATUS: PATENT REVOKED

REG Reference to a national code

Ref country code: CH

Ref legal event code: PLX

27W Patent revoked

Effective date: 20140823

GBPR Gb: patent revoked under art. 102 of the ep convention designating the uk as contracting state

Effective date: 20140823

PG25 Lapsed in a contracting state [announced via postgrant information from national office to epo]

Ref country code: LI

Free format text: LAPSE BECAUSE OF THE APPLICANT RENOUNCES

Effective date: 20110615

Ref country code: CH

Free format text: LAPSE BECAUSE OF THE APPLICANT RENOUNCES

Effective date: 20110615

REG Reference to a national code

Ref country code: DE

Ref legal event code: R107

Ref document number: 502007007404

Country of ref document: DE

Effective date: 20150430

REG Reference to a national code

Ref country code: AT

Ref legal event code: MA03

Ref document number: 512808

Country of ref document: AT

Kind code of ref document: T

Effective date: 20140823