EP1688165A1 - Toy, data transmission method, and data transmission system - Google Patents
Toy, data transmission method, and data transmission system Download PDFInfo
- Publication number
- EP1688165A1 EP1688165A1 EP04818472A EP04818472A EP1688165A1 EP 1688165 A1 EP1688165 A1 EP 1688165A1 EP 04818472 A EP04818472 A EP 04818472A EP 04818472 A EP04818472 A EP 04818472A EP 1688165 A1 EP1688165 A1 EP 1688165A1
- Authority
- EP
- European Patent Office
- Prior art keywords
- data
- toy
- unit
- communication
- data transmission
- Prior art date
- Legal status (The legal status is an assumption and is not a legal conclusion. Google has not performed a legal analysis and makes no representation as to the accuracy of the status listed.)
- Pending
Links
- 230000005540 biological transmission Effects 0.000 title claims description 69
- 238000000034 method Methods 0.000 title claims description 24
- 238000004891 communication Methods 0.000 claims abstract description 113
- 238000012545 processing Methods 0.000 claims description 60
- 210000003128 head Anatomy 0.000 description 18
- 238000010586 diagram Methods 0.000 description 6
- 238000002844 melting Methods 0.000 description 5
- 230000008018 melting Effects 0.000 description 5
- 230000006870 function Effects 0.000 description 4
- 239000000463 material Substances 0.000 description 4
- 229920003002 synthetic resin Polymers 0.000 description 4
- 239000000057 synthetic resin Substances 0.000 description 4
- 238000010438 heat treatment Methods 0.000 description 3
- 239000004065 semiconductor Substances 0.000 description 3
- 239000002184 metal Substances 0.000 description 2
- 206010044565 Tremor Diseases 0.000 description 1
- 230000008451 emotion Effects 0.000 description 1
- 238000004519 manufacturing process Methods 0.000 description 1
- 230000005226 mechanical processes and functions Effects 0.000 description 1
- 239000007769 metal material Substances 0.000 description 1
- 230000001360 synchronised effect Effects 0.000 description 1
- 229920003051 synthetic elastomer Polymers 0.000 description 1
- 239000005061 synthetic rubber Substances 0.000 description 1
- 239000012780 transparent material Substances 0.000 description 1
Images
Classifications
-
- A—HUMAN NECESSITIES
- A63—SPORTS; GAMES; AMUSEMENTS
- A63H—TOYS, e.g. TOPS, DOLLS, HOOPS OR BUILDING BLOCKS
- A63H13/00—Toy figures with self-moving parts, with or without movement of the toy as a whole
- A63H13/02—Toy figures with self-moving parts, with or without movement of the toy as a whole imitating natural actions, e.g. catching a mouse by a cat, the kicking of an animal
-
- A—HUMAN NECESSITIES
- A63—SPORTS; GAMES; AMUSEMENTS
- A63H—TOYS, e.g. TOPS, DOLLS, HOOPS OR BUILDING BLOCKS
- A63H13/00—Toy figures with self-moving parts, with or without movement of the toy as a whole
- A63H13/18—Toy swinging chairs; Rocking-figure toys
-
- A—HUMAN NECESSITIES
- A63—SPORTS; GAMES; AMUSEMENTS
- A63H—TOYS, e.g. TOPS, DOLLS, HOOPS OR BUILDING BLOCKS
- A63H2200/00—Computerized interactive toys, e.g. dolls
Definitions
- the present invention relates to a toy comprising a removable storage medium, a data transmission method, and a data transmission system, where only owners of a toy can acquire various kinds of contents data according to the toy.
- a storage medium capable of directly connecting with a connecting interface where a personal computer has the connecting interface, such as a PC slot, an USB connector or the like.
- a personal computer has the connecting interface, such as a PC slot, an USB connector or the like.
- Such the storage medium generally has built in a storage unit of data comprising a semiconductor memory, a hard disk or the like.
- the above-described storage medium has been used by mounting it on a case of a three-dimensional shaped obj ect such as an animation character, a game character or the like (Japanese Utility Model Registration No. 3080552, Patent Document 1). Further, the following system has been also indicated, that is, a system for reading identification information, which is stored in the storage medium, by a personal computer using a cradle or a reader apparatus connected with the personal computer; accessing to a server of a necessary provider; and thereby acquiring specific contents data (Japanese Patent Application Laid Open No. 2003-187096, 2002-63092, Patent Documents 2, 3).
- the following apparatus is, an apparatus in which a doll is connected to a personal computer, and moving of the doll can be controlled on the basis of an operation of the personal computer or data acquired from the network (Japanese Patent Application Laid Open No. 2000-135384, Patent Document 4).
- the storage medium according to the cited patent document 1 As for the storage medium according to the cited patent document 1, it only externally appears to be a specific three-dimensional shape, so that it does not cooperate with a communication processing of a personal computer for receiving specific contents data. Thus, there is a problem that the storage medium cannot be used for acquiring data related to the three-dimensional shape.
- the cradle or the reader apparatus is necessary between the personal computer and the storage medium. Without cradle or reader apparatus, there is a problem that only the storage medium is not capable of acquiring contents data. Further, as for the system according to the cited patent documents 2, 3, a personal computer itself mainly starts the communication processing, and the above-described cradle or the reader apparatus is interposed. Thus, there is a problem that processings for acquiring contents data from a server complicated, and acquisition of the contents data requires many processings.
- the apparatus since moving of a doll is not related to contents data, there is a problem that it does not control for changing a state of a doll by cooperating with the development of a story in the contents data.
- the present invention solves above-described problems, and an objective of the present invention is to provide a toy, a data transmission method, and a data transmission system, where identification data and communication start data are stored in a storage medium which is in the toy, and the toy is connected with an external apparatus comprising a communication function, such as a personal computer, to output the identification data and the communication start data, so that, necessary data can be acquired by connecting with a specific destination of access.
- a communication function such as a personal computer
- an objective of the present invention is to provide a toy and a data transmission method, where a state of the toy can be changed by providing a light emitting unit, a voice output unit and/or an operation unit at the toy, and transmitting data for operating each unit from a destination of access so that, the toy can have a new added value.
- the toy comprising a storage unit for storing data comprises an external connecting unit capable of directly connecting with an external communication apparatus.
- the storage unit stores specific identification data and communication start data for starting a communication processing of the external communication apparatus, and can output the identification data and the communication start data to the external thorough the external connecting unit.
- the toy further comprises a light emitting unit and a light emission control unit, which is for controlling light emission of the light emitting unit on the basis of data received from the external through the external connecting unit.
- the toy further comprises a voice output unit and a voice output control unit, which is for outputting a voice from the voice output unit on the basis of data received from the external through the external connecting unit.
- the toy further comprises an operation unit and an operation control unit, which is for operating the operation unit on the basis of data received from the external through the external connecting unit.
- the toy further comprises a mounting means capable of mounting it on an external mounted body.
- An aspect of a data transmission method is as follows. That is, the method comprising the steps of determining whether identification data is registered or not by a data transmission apparatus; and transmitting the data to a communication apparatus.
- the communication apparatus detects the connecting of the toy, and when detecting the connecting of the toy, the communication apparatus reads identification data and communication start data from the toy, and transmits the identification data to the data transmission apparatus on the basis of the read communication start data.
- the data transmission apparatus determines whether the received identification data is registered or not, and when the identification data is registered, the data transmission apparatus transmits the data according to the toy to the communication apparatus.
- An aspect of the data transmission method according to the 7th invention is as follows. That is, when the identification data is not registered, register application data is transmitted to the communication apparatus.
- the toy comprises a light emitting unit
- the data transmission apparatus transmits data for controlling light emission of the light emitting unit to the communication apparatus
- the communication apparatus outputs the transmitted data to the toy.
- the toy comprises a voice output unit
- the data transmission apparatus transmits data for outputting a voice from the voice output unit to the communication apparatus
- the communication apparatus outputs the transmitted data to the toy.
- the toy comprises an operation unit
- the data transmission apparatus transmits data for operating the operation unit
- the communication apparatus outputs the transmitted data to the toy.
- data according to the toy is contents data according to a cartoon, an animation, a game or a movie, in which a character according to the shape of the toy appears. Further, the data transmission apparatus transmits data for operating the operation unit corresponding to action of the character in a scene of the contents data to be transmitted.
- a data transmission apparatus determines whether identification data is registered or not and transmits the data to a communication apparatus.
- the communication apparatus comprises a connecting unit capable of connecting with the toy; a detecting means for detecting the connection of the toy with the connecting unit; a data reading means for reading identification data and communication start data from the toy when the detecting means detects the connection of the toy; and a transmitting means for transmitting the identification data to a data transmission apparatus on the basis of the communication start data read by the data reading means.
- the data transmission apparatus comprises a determining means for determining whether the transmitted data is registered or not; and a data transmitting means for transmitting data according to the toy to the communication apparatus when the determining means determines that the identification data is registered.
- the storage unit of the toy stores the communication start data.
- the communication start data is outputted to the external apparatus by connecting the toy with the external apparatus, to automatically start the communication processing in the external apparatus, and the toy cooperates with the processing for acquiring the data.
- the toy comprises the external connecting unit capable of directly connecting with the external apparatus.
- the toy can be connected with the external apparatus without using an interconnecting apparatus such as a cradle, so that the toy can be easily connected with the external apparatus.
- a doll, a figure, a structure, a vehicle, a sundry article or the like corresponds to the toy, and the doll includes an animal, avirtual living thing, a robot, a personified thing or the like.
- the toy comprises the light emitting unit which is light-emitted by the data from the data transmission apparatus, so that the toy can be light-emitted and can have rich expression modes to the external.
- the light emitting unit is provided at a position corresponding to eyes, a face or the like of the doll. Thereby, the light emission can be used as one means for expressing emotion of the doll.
- an outer circumference part of the doll is formed with a transparent material in order to see and recognize the light emission from outside.
- the toy comprises the voice output unit for outputting the voice by the data from the data transmission apparatus.
- the toy can output the voice and can have more rich expression modes with respect to the external.
- the operation unit of the toy can be operated by the data from the data transmission apparatus.
- the toy can have various expression modes with respect to the external by changing an attitude, a state or the like of the toy.
- an aroma generating unit for generating an aroma a color changing unit for changing an appearance color of the toy, a vibration unit for generating a vibration, and a driving unit for driving a part or a whole of the toy are included.
- a material which is a source of an aroma and generates an aroma by melting with heat, is melted at a heat generating unit.
- the outer circumference part is structured by assembling a plurality of movable parts or with a material having flexibility, and the movable part or the outer circumference part is driven by the driving unit.
- the mounting means is provided.
- a user can wear the toy or attach the toy to his personal things. Therefore, it can be contributed to prevent losing the toy, and the toy can be used as a kind of accessories, so that the added value of the toy can be increased.
- the communication apparatus communicates with the data transmission apparatus using the identification data and the communication start data stored in the toy, so that the processing for the communication can be carried out automatically and smoothly.
- the data transmission apparatus has the data according to the toy, and transmits the data according to the toy to the communication apparatus when the transmitted identification data is registered.
- the communication apparatus can acquire the data according to the toy by the communication processing in cooperation with the toy.
- register application data is transmitted, so of the processing of the registration of a user can be carried out smoothly. Further, since data which is to be contents is not transmitted until the registration is completed, the value of the data to be transmitted can be increased and a security can be kept, when the data is transmitted.
- the data according to the toy is the contents data of the cartoon, the animation, the game or the movie in which the character according to the shape of the toy appears.
- the toy has a role for acquiring the contents data, so that the new value is added to the toy.
- the data transmission apparatus transmits the data for operating the operation unit of the toy corresponding to the action of the character in the contents data to be transmitted.
- the toy can be operated cooperating with the action of the character of the contents data which the communication apparatus receives and reproduces, and the contents data with the toy can be enjoyed from many aspects.
- the data transmission apparatus when the data transmission apparatus collectively transmits the contents data to the communication apparatus, it is preferable that it transmits the contents data which is added with data for operating the operation unit at a part where the character acts. Further, when the data transmission apparatus transmits the contents data with streaming, it is preferable that it transmits data for operating the operation unit when transmitting the contents data at a scene when the character acts.
- the storage unit of the toy stores the communication start data, the communication starts using the communication start data to obtain the necessary data automatically and smoothly.
- the toy comprises the external connecting unit capable of directly connecting with the external apparatus, the toy can be connected with the external apparatus without using the interconnecting apparatus such as the cradle, so that the structure for the communication can be simplified.
- the toy since the toy comprises the light emitting unit which can be light-emitted by the data from the data transmission apparatus, the toy is light-emitted when receiving the transmitted data, so that the expression modes to the external can be increased.
- the toy since the toy comprises the voice output unit for outputting the voice by the data from the data transmission apparatus, the toy can appeal with the voice to the external, so that the expression modes of the toy can be increased.
- the toy since the toy comprises the operation unit operated by the data from the data transmission apparatus, the state or the attitude of the toy or the like can be changed on the basis of the transmitted data, so that the toy can have various expression modes.
- the toy comprises the mounting means, an owner can wear the toy, or attach to his personal thing.
- loss of the toy can be prevented, and the toy can be used as a kind of accessories.
- the communication apparatus since the communication apparatus communicates with the data transmission apparatus using the identification data and communication start data stored in the toy, the communication with the specific data transmission apparatus can be established automatically and easily. Further, when the identification data is registered, the data according to the toy can be acquired smoothly by the communication apparatus.
- the processing for a user's registration can be carried out smoothly since the register application data is transmitted. Further, the data according to the toy is not transmitted until the registration is completed, so that the value of the data according to the toy can be increased.
- the data according to the toy is the contents data of the cartoon, the animation, the game or the movie in which the character according to the appearance of the toy appears.
- the data transmission apparatus transmits the data for operating the operation unit of the toy according to the action of the character in the contents data to be transmitted.
- the toy can act cooperating with the action of the character of the contents data, so that the contents data can be enjoyed from many sides.
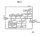
- FIG. 1 is a schematic view of a data transmission system 1 according to an embodiment of the present invention.
- a toy 10 when a toy 10 is connected with a connecting unit 21 provided at one side surface of a mobile type personal computer 20 which is an external communication apparatus, a communication connection with a specific server 30 (Web server or FTP server) is established through a network 40, and necessary data can be acquired from the server 30 by the personal computer 20.
- a specific server 30 Web server or FTP server
- FIG 2 is a perspective view illustrating an appearance of the toy 10.
- the toy 10 has a shape of a doll, and a doll main body 10a which is an outer circumference part is formed by assembling a body part 10b made from a synthetic resin and a head part 10c made from a synthetic resin.
- the body part 10b is formed integrally with a torso, arms and legs.
- the head part 10c is mounted to the body part 10b so as to be able to move in the front, rear, left and right directions with respect to the body part 10b.
- the body part 10b has an opening 10g formed at an end part thereof on the mounting side of the head part 10c, and has a spherical recessed part 10f communicated with the opening 10g at the inside thereof.
- the head part 10c has a neck part 10h projected on the mounting side thereof to the body part 10b, where the neck part is thinner than an inner diameter of the opening 10g of the body part 10b, and has a spherical rotary part 10i at an end portion of the neck part 10h, where the rotary part 10i is rotatably housed in the recessed part 10f of the body part 10b.
- the toy 10 can carry out a mechanical action, i.e., the head part 10c is shaken in the front, rear, left and right directions by the rotation of the rotary part 10i with respect to the recessed part 10f.
- a lower end portion of the rotary part 10i of the head part 10c has a metal piece 10k which is attracted to the magnetic force.
- the toy 10 has a ring part 10e at a top portion of the head part 10c, and a string-like strap 12 is mounted to the ring part 10e, where the strap 12 can be tied annularly.
- the strap 12 has a function as the mounting means.
- the toy 10 can be mounted to a neck of an owner of the toy 10 or a grip portion of a bag of an owner, corresponding to the external mounted body.
- the toy 10 can be used as a kind of accessories.
- the toy 10 has an external connecting unit 11 which is projected from an end portion on the leg side of the body part 10b.
- the external connecting unit 11 has a terminal shape corresponding to a specification of a USB (Universal Serial Bus).
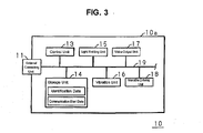
- FIG. 3 is a block diagram illustrating an inside structure of the toy 10.
- the toy 10 has a control unit 13, a storage unit 14, a light emitting unit 15, a vibration unit 16, a voice output unit 17 and a movable driving unit 18 at the inside of the doll main body 10a, and has a structure in which each unit from 13 to 18 is connected with an internal bus 19 for transmitting data, which is extended from the external connecting unit 11.
- the toy 10 has power supply lines extended to each unit from 13 to 18 from the external connecting unit 11, and when the toy 10 is connected with the external communication apparatus, electric power is supplied from the communication apparatus to each unit from 13 to 18 through the external connecting apparatus, so that the toy 10 does not have a power supply inside thereof.
- the control unit 13 is for controlling the action of each unit from 14 to 18, and the input and output of data, or the like. That is, when the toy 10 is connected with the external communication apparatus, the control unit 13 carries out the following processing with respect to the storage unit 14, that is, a processing for carrying out a control of the output so as to read the data stored in the storage unit 14 by the external communication apparatus, a processing for carrying out an address assignment for the writing so as to store the data received from the external in the storage unit 14, and a processing for carrying out a synchronous control with respect to a write request from the external, or the like.
- control unit 13 carries out the following processing as a light emission control unit with respect to the light emitting unit 15, that is, a processing for transmitting data for light-emitting (hereinafter, it is called as light emitting data), which is received from the external, to the light emitting unit 15.
- a processing for transmitting data for light-emitting hereinafter, it is called as light emitting data
- a semiconductor memory is used for the storage unit 14 in this embodiment, and the identification data and the communication start data are pre-stored in this memory.
- the identification data is data corresponding to a personal number of the toy in order to identify the toy 10 from the other toy, and in this embodiment, a number of "10000", "10001” or the like is used. Thereby, only one toy 10 storing the identification data of "10000” exists in the world, and only one toy 10 storing the identification data of "10001" also exists in the world.
- the communication start data is automatic starting type program data which contents for starting a communication processing of the external communication apparatus is specified.
- the URL Uniform Resource Locator
- a processing for accessing to the Web page of the server 30 is specified when the external apparatus establishes the communication connecting with the server 30 through a server of a provider to be communicated (it is not illustrated in the drawings).
- the storage unit 14 keeps the free space capable of storing the data in addition to the identification data and the communication start data, and can store various kinds of data received from the external.
- a light emitting diode is used for the light emitting unit 15 in this embodiment and is light-emitted when receiving the light emitting data.
- two light emitting parts 15 are mounted respectively to portions corresponding to both eyes at the head part 10c illustrated in Figure 2, and a state of lighting both eyes of the toy 10 can be expressed from an appearance by light-emitting in the light emitting part 15.
- the vibration unit 16 corresponds to the operation unit using a vibration element in this embodiment, and is vibrated (operated) when receiving the vibration data.
- the vibration unit 16 is provided in the body part 10b, and a state of trembling and vibrating the body of a doll can be expressed from an appearance by vibrating in the vibration unit 16.
- a semiconductor which emits two or more electronic sounds is used for the voice output unit 17 in this embodiment, and emits an electronic sound of a kind corresponding to the received voice data when receiving the voice data.
- the voice output unit 17 is provided in a body part 19b.
- the movable driving unit 18 corresponds to the operation unit.
- the movable driving unit 18 is formed in a box shape, and provided facing to the rotary unit 10i of the head part 10c, as illustrated in Figure 4 (a).
- the movable driving unit 18 comprises a first electromagnetic coil 18a and a second electromagnetic coil 18b on the left and right sides, and a third electromagnetic coil 18c and a forth electromagnetic coil 18d in the front and rear sides, as illustrated in Figure 4 (b).
- the movable driving unit 18 When receiving the driving data, the movable driving unit 18 carries out an action for supplying a current to the first electromagnetic coil 18a to the forth electromagnetic coil 18d in this order and exciting those.
- a metallic piece 10k of the head part 10c is attracted to the first electromagnetic coil 18a to the forth electromagnetic coil 18d in this order, and as a result of this, the head part 10c is inclined in the left, right, front, and rear directions.
- the light emitting, the vibration, the voice output and the inclination of the head part 10c becomes possible on the basis of various kinds of data for the light emitting, the vibration, the voice output and the driving from the external.
- the appearance and state as though the doll expresses feeling become possible.
- FIG. 5 is a block diagram illustrating an inside structure of a personal computer 20 connected with the toy 10.
- the personal computer 20 has a structure in which a CPU 23, a hard disk 24, a RAM 25, a ROM 26, a display interface unit 27, a voice interface unit 28 and a communication unit 29 are connected with an internal bus 20c (for PC) which is extended from a connecting unit 21 provided in a casing 20a.
- the personal computer 20 has power supply lines (these are not illustrated in the drawings) for supplying electric power to each unit from 21 to 29, where these power supply lines are connected with an external commercial power source. Thereby, electric power can be supplied to the apparatus connected with the connecting unit 21.
- the connecting unit 21 is formed in a terminal shape corresponding to the USB specification, and can be directly connected with the external connecting unit 11 of the toy 10. Further, the connecting unit 21 can output various kinds of data by the control of the CPU 23 to the external, and can receive various kinds of data from the external.
- the hard disk 24 is for storing various kinds of data and programs, and stores a communication program and a contents reproducing program in addition to a program according to an operating system and various kinds of application programs in this embodiment.
- the communication program is for specifying the following processings, that is, a processing for connecting with a server of a provider relating to the communication of the personal computer 20 according to a pre-set communication protocol, and a processing for accessing to various kinds of servers connected with a network 40 through the provider.
- the personal computer 20 receives an operation of a user and makes the CPU 23 execute the above-described processings.
- the communication connecting with the server 30 is established automatically by the CPU 23 on the basis of the communication start data stored in the toy 10. Further, in the communication program, processing up to the process for transmitting the read identification data to the server 30 can be automatically carried out by the CPU 23, as described below.
- the contents reproducing program is a program for specifying the contents for reproducing the contents data received from the server 30 by the personal computer 20, as described below.
- the contents reproducing program specifies the following processings, that is, a processing for displaying data according to an image included in the contents data on a display screen 20b, and a processing for outputting data according to a voice of the contents data from a speaker 22.
- the contents data in this embodiment is suitably attached with light emitting data, vibration data, voice data and driving data, which are described below, and making the CPU 23 to carry out the following processing is also specified, that is, a processing for outputting each data to the external through the connecting unit 21.
- the CPU 23 is functioned as a detecting means for detecting whether the toy 10 is connected with the connecting unit 21 or not on the basis of an operating system stored in the hard disk 24 in this embodiment. Further, the CPU 23 is functioned as a data reading means for reading the identification data and the communication start data stored in the toy 10 when connecting the toy 10 with the connecting unit 21 is detected. Furthermore, the CPU 23 is functioned as a transmitting means for starting the communication program on the basis of the read communication start data and transmitting the identification data to the server 30.
- the CPU 23 carries out a processing for receiving data for the registration inputted by a key board, a mouse and the like (these are not illustrated in the drawings), and transmitting the received data to the server 30 on the basis of the communication program.
- the CPU 23 carries out a processing for receiving data having contents selected by a key board, a mouse and the like (these are not illustrated in the drawings), and transmitting a transmitting request for requesting contents data to the server 30 on the basis of the communication program.
- the display interface unit 27 is connected with the display screen 20b, and carries out a processing for displaying the data received through the internal bus 20c (for PC) on the display screen 20b.
- the voice interface unit 28 is connected with the speaker 22, and carries out a processing for outputting the data received through the internal bus 20c (for PC) as the voice from the speaker 22.
- the communication unit 29 is for connecting a communication cable with the network 40 such as Internet, and carries out a processing for transmitting and receiving data according to the communication.
- the RAM 25 is for temporarily storing various kinds of data according to the processing of the CPU 23, and the ROM 26 is for storing the processing contents independent of the operating system of the CPU 23.
- FIG. 6 is a block diagram illustrating main parts of the inside of a sever 30.
- the server 30 corresponds to a data transmission apparatus for transmitting data.
- the server 30 transmits following contents data and data using a server computer, that is, contents data according to any one of a demonstration image of a cartoon, an animation, a game, a movie and a soft ware, and an image according to a help guide of a soft ware, where the demonstration image appears as a character according to a shape of the toy 10, and data according to the toy 10, such as the light emitting data, the vibration data or the like of the toy 10.
- the sever 30 has a structure in which a communication connecting unit 31, a CPU 32, a RAM 33, a ROM 34 and a hard disk 35 are connected with an inside bus 36 (for a sever).
- the hard disk 35 stores various kinds of programs, data or the like.
- the hard disk 35 stores a server communication program, a determination program, menu data, register application data for the register application, a registration table and various kinds of contents data.
- contents data which is newly produced is stored at any time to the hard disk 35.
- the server communication program has a specification making the CPU 32 to carry out the following processings, that is, a processing for carrying out a communication with the external, and a processing for transmitting various kinds of data corresponding to the access from the external. More particularly, the server communication program has a specification making the CPU 32 to carry out the following processings, that is, a processing for receiving the identification data from the external, a processing for transmitting the menu data or the register application data to the access source on the basis of an instruction of the determination program, and a processing for transmitting various kinds of contents data to the access source on the basis of the contents selected according to the menu data.
- the menu data is data according to the contents displayed on the display screen 20b of the personal computer 20 illustrated in Figure 7, and has the contents for displaying the following buttons on the display screen 20b, which can be selected by a keyboard, a mouse or the like. That is, a first selection button 50a of "SEE FROM THE FIRST STORY”, a second selection button 50b of "SEE FROM THE LAST CONTINUATION", a third selection button 50c of "SEE THE UPDATED PART", and a forth selection button 50d of "GAME”.
- the register application data is data according to the contents displayed on the display screen 20b of the personal computer 20 illustrated in Figure 8, and has the contents for displaying the following items which can be inputted by a keyboard, a mouse or the like. That is, “NAME”, “ADDRESS”, “TELEPHONE NUMBER”, “MAIL ADDRESS”, and "SET TRANSMITTING PROPERTY” which enables data transmit to the personal computer 20.
- the determination program has a specification of the following contents, that is, the contents making the CPU32 to carry out a processing, which is for updating the contents of a registration table 51 illustrated in Figure 9 on the basis of the identification data and the data for the registration which are transmitted from the external, and the contents making the CPU32 to carry out a processing, which is for determining whether the transmitted identification data is registered or not on the basis of the contents of the registration table 51. Further, when it is determined that the transmitted identification data is registered, the determination program makes the CPU32 to carry out a processing, which is for transmitting the instruction to the server communication program to transmit the menu data. Furthermore, when the it is determined that the transmitted identification data is not registered, the determination program makes the CPU 32 to carry out a processing, which is for transmitting the instruction to the server communication program to transmit the register application data.
- Figure 10 is a schematic view illustrating a data structure of contents data stored in the hard disk 35.
- the contents data in this embodiment has the contents, in which when the contents are a cartoon, for example, the toy 10 illustrated in Figure 2 appears as a character and takes various actions corresponding to development of a story.
- the contents data has a structure in which the light emitting data, the voice data, the driving data and the vibration data are suitably added to data positions from P1 to P6 corresponding to scenes where the character (the toy 10) takes actions from "the beginning" to "the end” of a story.
- the light emitting data is added to the data position P1 corresponding to the scene where the character is surprised in the story of a cartoon, and the light emitting data, the vibration data, the voice data and the driving data are added to the data position P3 corresponding to the scene where the character is pleased. Since the contents data has such the structure, the toy 10 can be suitably carried out the light emission, the voice output, the vibration and the moving of the head part 10c, which cooperates interlocked with the actions of the character in the story of a cartoon, so that a user can enjoy the digitalized contents of a cartoon from many aspects.
- the added light emitting data, the voice data and the like are transmitted with the necessary positions of the transmitted contents data, and the reproduced contents of the contents data to be reproduced certainly cooperates with light emission, outputting the voice and the like of a doll.
- the CPU 32 updates the contents of the registration table 51 illustrated in Figure 9 with data for the registration, which is transmitted from the external, on the basis of the above-described determination program.
- the identification data (10000", "10002” or the like) of the toy 10 to be produced is pre-written, and a section of "Registration” is pre-written with the number of "0".
- the CPU 32 overwrites the number of "1" at the section of "Registration” of the identification data, in which the data for the registration is transmitted.
- the CPU 32 suitably writes the sections of "Name", "Address” and the like on the basis of the data for the registration, and writes a transmitting state of the data up to the last time of the registered user at a section which is not illustrated in Figure 9.
- the CPU 32 is functioned as a determining means for determining whether the transmitted identification data is registered or not, and a processing for this determination is carried out by identifying whether the section of "Registration" of the registration table 51 is the number of "1" or "0". Further, when it is determined that the transmitted identification data is registered, the CPU 32 is functioned to transmit the menu data on the basis of the above-described communication program, and data transmitting means for transmitting the contents data corresponding to the transmission request, which returned back corresponding to the contents selected by the menu data. Furthermore, when it is determined that the transmitted identification data is not registered, the CPU 32 carries out a processing for transmitting the register application data on the basis of the above-described communication program.
- the communication connecting unit 31 of Figure 6 receives various kinds of data by connecting with the network 40, and receives the identification data as a data receiving means. Further, the communication connecting unit 31 also carries out an output processing for transmitting the contents data, the menu data and the register application data. In addition, the RAM 33 temporarily stores various kinds of data for the processings, and the ROM 34 stores the necessary data.
- the CPU 23 of the personal computer 20 detects connecting of the toy 10 with the connecting unit 21 at first (S1). When connecting of the toy 10 is not detected (S1: NO), the CPU 23 waits until connecting the toy 10. Further, when connecting of the toy 10 is detected (S1: YES), the CPU 23 of the personal computer 20 reads the identification data and the communication start data from the toy 10 (S2). Then, the CPU 23 establishes the communication connection with the server 30 on the basis of the communication start data, and transmits the identification data to the server 30 (S3).
- the server 30 determines whether the transmitted identification data is registered or not (S4). When the identification data is not registered, the server 30 transmits the register application data to the personal computer 20, and the personal computer 20 transmits the necessary data for the register application (the registration data) which is inputted to the register application data by a keyboard, a mouse and the like to the server 30 (S5). The server 30 completes the registration with respect to the unregistered identification data with the transmitted registration data (S6). Further, when it is determined that the identification data is registered in the registration determining step of the identification data (S4), or when the above-described registration of the identification data is completed (S6), the server 30 transmits the necessary contents data to the personal computer 20, and the personal computer 20 receives and reproduces the transmitted contents data (S7). When the server 30 transmits the above-described contents data, the added light emitting data, voice data and the like are also transmitted.
- any one of contents of a cartoon, an animation, a movie or a game is suitably displayed on the display screen 20b by the reproduction of the contents data, and the necessary voice is outputted from the speaker 22.
- the personal computer 20 outputs the sound data, the voice data and the like to the toy 10 corresponding to advance of the story, in which these data are added to the transmitted contents data.
- the toy 10 connected with the personal computer 20 is carried out the light emission, the voice output and the like according to the action of the character corresponding to presentation of the contents, so that a user can enjoy the production in which the toy 10 cooperates with the contents.
- Figure 12 is a second flow chart illustrating a detailed procedure of processings in the server 30 with respect to the processings from (S4) to (S7) in the first flow chart in Figure 11.
- the server 30 determines whether the identification data is registered or not on the basis of the registration table 51 in Figure 9 (S11). When it is determined that the identification data is not registered, that is, when the section of "Registration" is written with the number of "0" (S11: NO), the server 30 transmits the register application data according to the displayed contents in Figure 8 to the personal computer 20 (S12), and determines whether the registration data is received from the personal computer 20 or not (S13).
- the process is pending until receiving the registration data.
- the server 30 writes the received registration data into the registration table, and registers the identification data (S14). Further, when the identification data has been registered (S11: YES), or after the identification is registered (S14), the server 30 transmits the menu data according to the displayed contents in Figure 7 to the personal computer 20 (S15).
- the server 30 determines whether the contents (selected data) selected as the transmission request in the personal computer 20 from the personal computer 20 is received through the menu data or not (S16). When the selected data is not received (S16: NO), the process is pending until receiving the selected data. On the other hand, when the selected data is received (S16: YES), the server 30 transmits the contents data corresponding to the selected contents to the personal computer 20 (S17).
- the communication connection with the server 30 can be automatically established by only connecting the toy 10 with the personal computer 20, so that a user's burden for communication procedure can be reduced. Further, the contents data can not be acquired when the registration is not carried out, so the security when transmitting the contents data can be kept. Further, a user cannot acquire the contents data if not having the toy 10, so scarcity and limited availability of the contents data can be increased. Furthermore, a user can easily acquire the necessary contents data by transmitting the menu data to the user side.
- the data transmission system 1 is not limited to the above-described embodiment, and various application examples can be applied.
- both or one of the body part 10b and the head part 10c are made from a transparent synthetic resin.
- the light emitting unit 15 may be provided at the inside of the toy 10, since the last emission can be in order to recognize from the appearance.
- the toy 10 can have a structure, in which parts other than the head part 10c can be assembled not integrally with the body part 10b but movably with respect to the body part 10b, and can be moved by the movable driving unit 18.
- the voice output unit 17 may output different voices corresponding to two or more voice data, and the contents data may comprise different kinds of voice data corresponding to the scene.
- the toy 10 may be not formed by assembling two or more parts, but a doll main body may be formed with a synthetic resin or a synthetic rubber having flexibility. Further, a mechanical function such as a motor and a cam function may be used for the movable driving unit 18, and a doll may be operated by moving flexibly apart of the doll main body. Further, a metal material may be used for a part of the toy 10, and this metal part may be operated. Further, a source of an aroma, which generates an aroma when melting, and a heating unit for melting the source of an aroma on the basis of melting data from the external may be provided, and the melting data may be added to a necessary position of the contents data. Thereby, an aroma can be generated from the toy 10 in cooperation with the contents.
- a material in which a color is changed according to a temperature of the outer circumference part may be applied, along with a heating unit for heating the outer circumference part on the basis of color changing data, and further, the color changing data may be added to a necessary position of the contents data. Thereby, a color of the appearance of the toy 20 can be changed in cooperation with the contents.
- the toy 10 may use a mounting means, such a key holder, a chain or the like, other than the strap 12.
- the mounting means can be omitted.
- the external connecting unit 11 projected from the toy 10 may be projected from the other positions other than the foot part.
- the toy 10 can be applied to various kinds of communication apparatuses other than the personal computer 20, such as PDA (Personal Digital Assistant), a portable telephone, and a telephone corresponding to the PHS, which comprise the communication function.
- PDA Personal Digital Assistant
- the toy 10 is connected with the other kinds of communication apparatuses, it is necessary to change a specification of the external connecting unit 11 to a specification (the PC card specification according to PCMCIA, the IEEE 1394 or the like) corresponding to the connection.
- the toy 10 may have a structure, in which the storage unit 14 of the toy 10 pre-stores the first half of the contents data or data of first several stories of the contents data comprising a plurality of stories, and when toy 10 is connected with the personal computer 20 and reproducing the stored data is completed, the second half of the contents data or data of residual several stories is transmitted from the server 30.
- the first half of the contents data or the data of the first several stories can be reproduced by only connecting the toy 10 with the personal computer 20, without communicating with the server 30.
- the toy 10 may be formed to have a shape of a doll of ananimal, avirtual livingthing, a robot, a personified thing, and also may be formed to have a shape of a figure, a structure, a vehicle, a sundry article or the like other than the doll.
- the server 30 may add the operation data such as the light emitting data, the voice data or the like to the menu data according to the displayed contents illustrated in Figure 7 and to the register application data according to the displayed contents illustrated in Figure 8, and transmit those.
- the toy 10 is operated even in the menu screen or the register application screen, so that selecting or inputting an item is urged.
- the server 30 may transmit an image according to demonstration contents, of software an image according to help contents of a soft ware or the like as the contents data.
- the description is made on the assumption that the communication is carried out between the personal computer 20 and the server 30.
- the present invention can be applied to an embodiment, in which two communication terminal apparatuses (a personal computer, PDA or the like) connected each other by various kinds of networks such as the LAN or the WAN are used, and the toy 10 is connected with one communication terminal apparatus to carry out the communication with another communication apparatus.
- two communication terminal apparatuses a personal computer, PDA or the like
- networks such as the LAN or the WAN
Landscapes
- Toys (AREA)
- Information Transfer Between Computers (AREA)
Applications Claiming Priority (2)
| Application Number | Priority Date | Filing Date | Title |
|---|---|---|---|
| JP2003385860A JP4420435B2 (ja) | 2003-11-14 | 2003-11-14 | 玩具、データ送信方法及びデータ送信システム |
| PCT/JP2004/016628 WO2005046823A1 (ja) | 2003-11-14 | 2004-11-10 | 玩具、データ送信方法及びデータ送信システム |
Publications (1)
| Publication Number | Publication Date |
|---|---|
| EP1688165A1 true EP1688165A1 (en) | 2006-08-09 |
Family
ID=34587380
Family Applications (1)
| Application Number | Title | Priority Date | Filing Date |
|---|---|---|---|
| EP04818472A Pending EP1688165A1 (en) | 2003-11-14 | 2004-11-10 | Toy, data transmission method, and data transmission system |
Country Status (6)
| Country | Link |
|---|---|
| US (1) | US20070128978A1 (enExample) |
| EP (1) | EP1688165A1 (enExample) |
| JP (1) | JP4420435B2 (enExample) |
| KR (1) | KR20060126641A (enExample) |
| CN (1) | CN1878600A (enExample) |
| WO (1) | WO2005046823A1 (enExample) |
Cited By (4)
| Publication number | Priority date | Publication date | Assignee | Title |
|---|---|---|---|---|
| GB2444748A (en) * | 2006-12-16 | 2008-06-18 | Georgina Fletcher | Education system and method |
| ITPD20090366A1 (it) * | 2009-12-04 | 2011-06-05 | Poli S N C Di Alberto Poli E C | Struttura di soprammobile, particolarmente del tipo dei souvenir rappresentanti gondole veneziane |
| WO2012067551A1 (en) * | 2010-11-17 | 2012-05-24 | Evgeny Nikolayevich Smetanin | Method and system for determination of one or more limbs of one or more toy devices |
| EP2996784A4 (en) * | 2014-08-15 | 2016-04-13 | ELECTRONIC TOY WITH INDEPENDENT RADIAL PLUG AND RELATED COMMUNICATION PROTOCOL |
Families Citing this family (14)
| Publication number | Priority date | Publication date | Assignee | Title |
|---|---|---|---|---|
| US7534157B2 (en) * | 2003-12-31 | 2009-05-19 | Ganz | System and method for toy adoption and marketing |
| JP2006330442A (ja) * | 2005-05-27 | 2006-12-07 | Kenwood Corp | 音声案内システム、キャラクタ人形、携帯端末装置、音声案内装置及びプログラム |
| US8882561B2 (en) * | 2006-04-07 | 2014-11-11 | Mattel, Inc. | Multifunction removable memory device with ornamental housing |
| AU2007237363B2 (en) | 2006-12-06 | 2010-04-29 | 2121200 Ontario Inc. | Feature codes and bonuses in virtual worlds |
| US20090030808A1 (en) * | 2007-07-26 | 2009-01-29 | Shinyoung Park | Customized toy pet |
| JP2008029852A (ja) * | 2007-08-07 | 2008-02-14 | Cube:Kk | 装飾体可動装置 |
| US8545335B2 (en) * | 2007-09-14 | 2013-10-01 | Tool, Inc. | Toy with memory and USB ports |
| IL199644A0 (en) * | 2008-07-02 | 2010-04-15 | Shalom Batan | System and method for customizing multimedia enhanced items |
| US20100029167A1 (en) * | 2008-07-29 | 2010-02-04 | P.S.L. Limited | Toy figurine usb flash drive |
| JP6061822B2 (ja) * | 2013-09-05 | 2017-01-18 | 株式会社バンダイ | 玩具システム及びプログラム |
| JP6340379B2 (ja) * | 2016-03-03 | 2018-06-06 | 株式会社バンダイ | コンピュータプログラム |
| US20190038978A1 (en) * | 2017-08-01 | 2019-02-07 | Intel Corporation | Extendable platforms for transfer of data between physical objects and a virtual environment |
| JP6643398B2 (ja) * | 2018-05-11 | 2020-02-12 | 株式会社バンダイ | 玩具システム及びプログラム |
| JP7532600B2 (ja) * | 2021-11-29 | 2024-08-13 | 株式会社バンダイ | 玩具システム |
Family Cites Families (4)
| Publication number | Priority date | Publication date | Assignee | Title |
|---|---|---|---|---|
| JP2000135384A (ja) * | 1998-10-30 | 2000-05-16 | Fujitsu Ltd | 情報処理装置及び擬似生物機器 |
| JP2002063092A (ja) * | 2000-06-09 | 2002-02-28 | Tomy Co Ltd | 情報提供システム、情報提供装置、サーバ、玩具、情報提供方法および記録媒体 |
| JP3085471U (ja) * | 2001-10-19 | 2002-05-10 | 株式会社タカラ | マスコット玩具 |
| JP3767818B2 (ja) * | 2002-10-28 | 2006-04-19 | 株式会社サスライト | 着脱式デバイス及びプログラムの起動方法 |
-
2003
- 2003-11-14 JP JP2003385860A patent/JP4420435B2/ja not_active Expired - Fee Related
-
2004
- 2004-11-10 EP EP04818472A patent/EP1688165A1/en active Pending
- 2004-11-10 CN CNA2004800331653A patent/CN1878600A/zh active Pending
- 2004-11-10 US US10/579,477 patent/US20070128978A1/en not_active Abandoned
- 2004-11-10 KR KR1020067011230A patent/KR20060126641A/ko not_active Withdrawn
- 2004-11-10 WO PCT/JP2004/016628 patent/WO2005046823A1/ja not_active Ceased
Non-Patent Citations (1)
| Title |
|---|
| See references of WO2005046823A1 * |
Cited By (9)
| Publication number | Priority date | Publication date | Assignee | Title |
|---|---|---|---|---|
| GB2444748A (en) * | 2006-12-16 | 2008-06-18 | Georgina Fletcher | Education system and method |
| GB2444748B (en) * | 2006-12-16 | 2009-10-07 | Georgina Fletcher | Displaying educational information |
| ITPD20090366A1 (it) * | 2009-12-04 | 2011-06-05 | Poli S N C Di Alberto Poli E C | Struttura di soprammobile, particolarmente del tipo dei souvenir rappresentanti gondole veneziane |
| WO2012067551A1 (en) * | 2010-11-17 | 2012-05-24 | Evgeny Nikolayevich Smetanin | Method and system for determination of one or more limbs of one or more toy devices |
| RU2475290C1 (ru) * | 2010-11-17 | 2013-02-20 | Общество С Ограниченной Ответственностью "Айтэм Мультимедиа" | Устройство для игр |
| EP2996784A4 (en) * | 2014-08-15 | 2016-04-13 | ELECTRONIC TOY WITH INDEPENDENT RADIAL PLUG AND RELATED COMMUNICATION PROTOCOL | |
| EP3345668A1 (en) * | 2014-08-15 | 2018-07-11 | VTech Electronics, Ltd. | Electronic toy with radial independent connector and associated communication protocol |
| US10173142B2 (en) | 2014-08-15 | 2019-01-08 | Vtech Electronics, Ltd. | Electronic toy with radial independent connector and associated communication protocol |
| US11305205B2 (en) | 2014-08-15 | 2022-04-19 | Vtech Electronics, Ltd. | Electronic toy with radial independent connector and associated communication protocol |
Also Published As
| Publication number | Publication date |
|---|---|
| JP2005149146A (ja) | 2005-06-09 |
| CN1878600A (zh) | 2006-12-13 |
| JP4420435B2 (ja) | 2010-02-24 |
| KR20060126641A (ko) | 2006-12-08 |
| US20070128978A1 (en) | 2007-06-07 |
| WO2005046823A1 (ja) | 2005-05-26 |
Similar Documents
| Publication | Publication Date | Title |
|---|---|---|
| EP1688165A1 (en) | Toy, data transmission method, and data transmission system | |
| US6560511B1 (en) | Electronic pet system, network system, robot, and storage medium | |
| US8601379B2 (en) | Methods for interactive communications with real time effects and avatar environment interaction | |
| JP6034551B2 (ja) | 情報処理システム、情報処理装置、情報処理プログラム、および画像表示方法 | |
| US20130019019A1 (en) | Cloud servicing system configured for servicing smart phone or touch pad circuit applications and consumer programmable articles | |
| US20130059284A1 (en) | Interactive electronic toy and learning device system | |
| EP1147797A2 (en) | Entertainment system, entertainment apparatus, recording medium, and program | |
| WO2008096134A2 (en) | Toy in the form of a doll | |
| US8688042B2 (en) | Communication system, computer-readable storage medium having stored thereon information processing program, information processing method, information processing apparatus, and information processing system | |
| JP2002063092A (ja) | 情報提供システム、情報提供装置、サーバ、玩具、情報提供方法および記録媒体 | |
| US20070198694A1 (en) | Data transmission method, data transmission system, data transmission device, and data structure | |
| US9459838B2 (en) | Path driven programming method and programming tool | |
| JP2012142777A (ja) | 通信システム、情報処理プログラム、情報処理方法、情報処理装置、情報処理システム | |
| JP2017120540A (ja) | キャラクタ編集装置及びプログラム | |
| HK1093933A (en) | Toy, data transmission method, and data transmission system | |
| US20120021732A1 (en) | Cloud computing system configured for a consumer to program a smart phone or touch pad | |
| US20220301249A1 (en) | Animation production system for objects in a virtual space | |
| US10136242B2 (en) | Cloud computing system configured for a consumer to program a smart phone and touch pad | |
| HK1094492A (en) | Data transmission method, data transmission system, data transmission device, and data structure | |
| US20020196262A1 (en) | System and method for entity visualization of text | |
| KR100834646B1 (ko) | 소프트웨어 로봇 메시지 전송 방법 | |
| KR20110024377A (ko) | 3차원 아바타를 이용한 노래방 시스템 및 그 작동방법 | |
| JP2002318581A (ja) | 運動体制御システム、運動体及びそのプログラム | |
| JP2003071145A (ja) | ネットワークシステム、玩具、コンテンツ提供方法およびプログラム | |
| KR100386288B1 (ko) | 캐릭터 표시 방법 |
Legal Events
| Date | Code | Title | Description |
|---|---|---|---|
| PUAI | Public reference made under article 153(3) epc to a published international application that has entered the european phase |
Free format text: ORIGINAL CODE: 0009012 |
|
| 17P | Request for examination filed |
Effective date: 20060614 |
|
| AK | Designated contracting states |
Kind code of ref document: A1 Designated state(s): DE ES FR GB IT |
|
| DAX | Request for extension of the european patent (deleted) | ||
| RBV | Designated contracting states (corrected) |
Designated state(s): DE ES FR GB IT |
|
| REG | Reference to a national code |
Ref country code: HK Ref legal event code: DE Ref document number: 1093933 Country of ref document: HK |
|
| STAA | Information on the status of an ep patent application or granted ep patent |
Free format text: STATUS: THE APPLICATION HAS BEEN WITHDRAWN |
|
| 18W | Application withdrawn |
Effective date: 20081020 |
|
| D18W | Application withdrawn (deleted) | ||
| R18W | Application withdrawn (corrected) |
Effective date: 20081020 |
|
| REG | Reference to a national code |
Ref country code: HK Ref legal event code: WD Ref document number: 1093933 Country of ref document: HK |