EP1570865A2 - System zur Behandlung von Sterilisationskassetten mit Datenübertragung - Google Patents
System zur Behandlung von Sterilisationskassetten mit Datenübertragung Download PDFInfo
- Publication number
- EP1570865A2 EP1570865A2 EP05251264A EP05251264A EP1570865A2 EP 1570865 A2 EP1570865 A2 EP 1570865A2 EP 05251264 A EP05251264 A EP 05251264A EP 05251264 A EP05251264 A EP 05251264A EP 1570865 A2 EP1570865 A2 EP 1570865A2
- Authority
- EP
- European Patent Office
- Prior art keywords
- cassette
- data
- sterilant
- sterilizer
- spent
- Prior art date
- Legal status (The legal status is an assumption and is not a legal conclusion. Google has not performed a legal analysis and makes no representation as to the accuracy of the status listed.)
- Granted
Links
Images
Classifications
-
- E—FIXED CONSTRUCTIONS
- E02—HYDRAULIC ENGINEERING; FOUNDATIONS; SOIL SHIFTING
- E02F—DREDGING; SOIL-SHIFTING
- E02F5/00—Dredgers or soil-shifting machines for special purposes
- E02F5/006—Dredgers or soil-shifting machines for special purposes adapted for working ground under water not otherwise provided for
-
- A—HUMAN NECESSITIES
- A61—MEDICAL OR VETERINARY SCIENCE; HYGIENE
- A61L—METHODS OR APPARATUS FOR STERILISING MATERIALS OR OBJECTS IN GENERAL; DISINFECTION, STERILISATION OR DEODORISATION OF AIR; CHEMICAL ASPECTS OF BANDAGES, DRESSINGS, ABSORBENT PADS OR SURGICAL ARTICLES; MATERIALS FOR BANDAGES, DRESSINGS, ABSORBENT PADS OR SURGICAL ARTICLES
- A61L2/00—Methods or apparatus for disinfecting or sterilising materials or objects other than foodstuffs or contact lenses; Accessories therefor
- A61L2/16—Methods or apparatus for disinfecting or sterilising materials or objects other than foodstuffs or contact lenses; Accessories therefor using chemical substances
- A61L2/18—Liquid substances or solutions comprising solids or dissolved gases
- A61L2/186—Peroxide solutions
-
- A—HUMAN NECESSITIES
- A61—MEDICAL OR VETERINARY SCIENCE; HYGIENE
- A61L—METHODS OR APPARATUS FOR STERILISING MATERIALS OR OBJECTS IN GENERAL; DISINFECTION, STERILISATION OR DEODORISATION OF AIR; CHEMICAL ASPECTS OF BANDAGES, DRESSINGS, ABSORBENT PADS OR SURGICAL ARTICLES; MATERIALS FOR BANDAGES, DRESSINGS, ABSORBENT PADS OR SURGICAL ARTICLES
- A61L2/00—Methods or apparatus for disinfecting or sterilising materials or objects other than foodstuffs or contact lenses; Accessories therefor
- A61L2/24—Apparatus using programmed or automatic operation
-
- A—HUMAN NECESSITIES
- A61—MEDICAL OR VETERINARY SCIENCE; HYGIENE
- A61L—METHODS OR APPARATUS FOR STERILISING MATERIALS OR OBJECTS IN GENERAL; DISINFECTION, STERILISATION OR DEODORISATION OF AIR; CHEMICAL ASPECTS OF BANDAGES, DRESSINGS, ABSORBENT PADS OR SURGICAL ARTICLES; MATERIALS FOR BANDAGES, DRESSINGS, ABSORBENT PADS OR SURGICAL ARTICLES
- A61L2/00—Methods or apparatus for disinfecting or sterilising materials or objects other than foodstuffs or contact lenses; Accessories therefor
- A61L2/26—Accessories or devices or components used for biocidal treatment
-
- B—PERFORMING OPERATIONS; TRANSPORTING
- B08—CLEANING
- B08B—CLEANING IN GENERAL; PREVENTION OF FOULING IN GENERAL
- B08B1/00—Cleaning by methods involving the use of tools
- B08B1/10—Cleaning by methods involving the use of tools characterised by the type of cleaning tool
- B08B1/12—Brushes
-
- B—PERFORMING OPERATIONS; TRANSPORTING
- B08—CLEANING
- B08B—CLEANING IN GENERAL; PREVENTION OF FOULING IN GENERAL
- B08B1/00—Cleaning by methods involving the use of tools
- B08B1/30—Cleaning by methods involving the use of tools by movement of cleaning members over a surface
- B08B1/32—Cleaning by methods involving the use of tools by movement of cleaning members over a surface using rotary cleaning members
-
- C—CHEMISTRY; METALLURGY
- C02—TREATMENT OF WATER, WASTE WATER, SEWAGE, OR SLUDGE
- C02F—TREATMENT OF WATER, WASTE WATER, SEWAGE, OR SLUDGE
- C02F11/00—Treatment of sludge; Devices therefor
-
- E—FIXED CONSTRUCTIONS
- E02—HYDRAULIC ENGINEERING; FOUNDATIONS; SOIL SHIFTING
- E02F—DREDGING; SOIL-SHIFTING
- E02F3/00—Dredgers; Soil-shifting machines
- E02F3/04—Dredgers; Soil-shifting machines mechanically-driven
- E02F3/76—Graders, bulldozers, or the like with scraper plates or ploughshare-like elements; Levelling scarifying devices
-
- E—FIXED CONSTRUCTIONS
- E02—HYDRAULIC ENGINEERING; FOUNDATIONS; SOIL SHIFTING
- E02F—DREDGING; SOIL-SHIFTING
- E02F3/00—Dredgers; Soil-shifting machines
- E02F3/04—Dredgers; Soil-shifting machines mechanically-driven
- E02F3/88—Dredgers; Soil-shifting machines mechanically-driven with arrangements acting by a sucking or forcing effect, e.g. suction dredgers
- E02F3/8858—Submerged units
-
- E—FIXED CONSTRUCTIONS
- E02—HYDRAULIC ENGINEERING; FOUNDATIONS; SOIL SHIFTING
- E02F—DREDGING; SOIL-SHIFTING
- E02F5/00—Dredgers or soil-shifting machines for special purposes
- E02F5/28—Dredgers or soil-shifting machines for special purposes for cleaning watercourses or other ways
- E02F5/282—Dredgers or soil-shifting machines for special purposes for cleaning watercourses or other ways with rotating cutting or digging tools
-
- A—HUMAN NECESSITIES
- A61—MEDICAL OR VETERINARY SCIENCE; HYGIENE
- A61L—METHODS OR APPARATUS FOR STERILISING MATERIALS OR OBJECTS IN GENERAL; DISINFECTION, STERILISATION OR DEODORISATION OF AIR; CHEMICAL ASPECTS OF BANDAGES, DRESSINGS, ABSORBENT PADS OR SURGICAL ARTICLES; MATERIALS FOR BANDAGES, DRESSINGS, ABSORBENT PADS OR SURGICAL ARTICLES
- A61L2/00—Methods or apparatus for disinfecting or sterilising materials or objects other than foodstuffs or contact lenses; Accessories therefor
- A61L2/16—Methods or apparatus for disinfecting or sterilising materials or objects other than foodstuffs or contact lenses; Accessories therefor using chemical substances
- A61L2/20—Gaseous substances, e.g. vapours
- A61L2/208—Hydrogen peroxide
-
- A61L2103/15—
-
- C—CHEMISTRY; METALLURGY
- C02—TREATMENT OF WATER, WASTE WATER, SEWAGE, OR SLUDGE
- C02F—TREATMENT OF WATER, WASTE WATER, SEWAGE, OR SLUDGE
- C02F2103/00—Nature of the water, waste water, sewage or sludge to be treated
- C02F2103/007—Contaminated open waterways, rivers, lakes or ponds
Definitions
- One popular method for sterilizing instruments is to contact the devices with a vapor phase chemical sterilant, such as hydrogen peroxide.
- a vapor phase chemical sterilant such as hydrogen peroxide.
- One particularly convenient and accurate method for delivering the liquid sterilant is to put a predetermined quantity of sterilant into a cassette and deliver the cassette to the sterilizer. The sterilizer then automatically extracts the sterilant from the cassette and uses it for sterilization procedure.
- a cassette would entail multiple cells containing equal amounts of liquid sterilant with a sterilization procedure employing the sterilant from one or more cells.
- Such a system is currently available in the STERRAD® sterilization system available from Advanced Sterilization Products in Irvine, California.
- the present invention overcomes these and other limitations of the prior art.
- a method for tracking sterilant cassettes within a sterilizer includes the steps of: reading for the presence of a cassette within a cassette processing area of the sterilizer by transmitting a non-optical electromagnetic signal between the cassette and a receiver on the sterilizer; via the electromagnetic signal transmitting identifying information between the cassette and the receiver; and verifying that a proper cassette is loaded into the sterilizer based upon the identifying information.
- the electromagnetic signal can comprise, for instance, a magnetic coupling between the receiver and the cassette, or an inductive coupling between the receiver and the cassette, or a conductive coupling between the receiver and the cassette, or a radio frequency transmission.
- the receiver comprises one or more antennas, preferably sequenced in use to identify the location of the cassette.
- the cassette contains an RFID tag.
- the method preferably further includes the step of altering a portion of data stored in the RFID tag, such as filling status of sterilant in the cassette and the filling status data is updated when sterilant is removed from the cassette.
- the RFID tag includes a filling status of sterilant in each of the cells and the filling status data for a cell is updated when sterilant is removed from that cell. If less than the entire contents of one of the cells is removed, preferably this data is stored on the tag.
- the RFID tag contains temperature sensing instrumentation and the data includes temperature information regarding the shipping and storage temperatures to which the cassette has been subjected.
- the data is updated with one or more cycle parameters, such as a concentration of sterilant achieved during a cycle.
- Updateable data can also include the amount of time the cassette has spent within the sterilizer. Identifying data can include the type of cycle for which a particular cell or group of cells is intended (such as cycle times, amount of sterilant to be used etc.). It could also include an expiration date for the cassette and the method further include the step of rejecting the cassette if the expiration date has passed.
- the method further includes the step of reading the presence and filling status of a spent cassette collection box via a non-optical electromagnetic signal.
- a cassette comprises one or more cells having therein a liquid sterilant, and further comprises indicia readable electromagnetically and containing identifying data about the cassette including data identifying the liquid sterilant contents thereof.
- the data can include such things as a filling status of the cells, an expiration date of the liquid sterilant, a manufacturing date of the cassette, a serial number of the cassette, a lot number of the cassette, and a maximum amount of time the cassette may reside within a sterilizer.
- the indicia comprises an RFID tag, more preferably an RFID tag with updateable memory.
- the updateable memory can contains such data as the filling status of the one or more cells within the cassette data regarding the cell being partially filled, temperature information regarding the shipping and storage temperatures to which the cassette has been subjected, one or more cycle parameters (such as a concentration of sterilant achieved during a cycle), and the amount of time the cassette has spent within a sterilizer.
- a spent cassette collection box for receiving spent cassettes from a sterilizer comprises a bottom wall, upstanding walls attached to the bottom wall which extend upwards to terminate in an upper edge, and indicia readable electromagnetically and containing identifying data about the spent cassette collection box including data identifying its capacity to receive cassettes.
- the indicia is an RFID tag and more preferably, is an RFID tag having updateable data including a quantity of cassettes currently in the box.
- FIG. 1 shows in block diagram form a vapor phase sterilizer 10 employing a cassette handling system 12 according to the present invention.
- the sterilizer 10 comprises a vacuum chamber 14 and a vacuum pump 16 for exhausting atmosphere therefrom.
- a vaporizer 18 receives liquid sterilant from the cassette handling system 12 and supplies it in vapor form to the vacuum chamber 14.
- a screen grid electrode 20 is provided within the vacuum chamber 14 for exciting the contents into the plasma phase during a portion of the sterilization cycle.
- a micro filtered vent 22 and valve 24 allow sterile air to enter the vacuum chamber 14 and break the vacuum therein.
- a control system 28 ties in to all of the major components, sensors and the like within the sterilizer 10 to control the sterilization cycle.
- a typical sterilization cycle might include drawing a vacuum upon the vacuum chamber 14 and turning on power to the electrode 20 to evaporate and extract water from the vacuum chamber 14.
- the electrode 20 is then powered off and a low vacuum of less than 1 torr drawn on the vacuum chamber 14.
- Sterilant such as hydrogen peroxide solution, is vaporized by the vaporizer 18 and introduced into the vacuum chamber 14 where it diffuses into contact with the items to be sterilized and kills microorganisms thereon.
- power is again applied to the electrode 20 and the sterilant is driven into the plasma phase.
- the electrodes 20 are powered down and filtered air is drawn in through the valve 24. This process can be repeated.
- the cassette handling system 12 comprises in gross, a carriage 32 for holding a cassette 34, a lead screw 36 and motor 38, an extractor subsystem 40 and a scanner 42.
- the carriage 32 comprises a bottom panel 44, a side panel 46 and top panel 48 along with small vertical flanges 50 and 52 on the top and bottom and top panels 48 and 44, respectively, to capture the cassette 34.
- the bottom, side and top panels 44, 46 and 48 flare outwardly at an entrance 54 of the carriage to aid in insertion of the cassette 34.
- Two spring catches 56 on the flanges 50 and 52 engage irregular surfaces of the cassette 34 to firmly position the cassette 34 within the carriage 32.
- the carriage 32 travels along the lead screw 36 and is supported on an upper rail 58.
- a lead screw nut 60 attached to the bottom panel 44 and having a threaded opening 62 and an unthreaded opening 63 receives the lead screw 36 and effects horizontal movement of the carriage 32 in response to rotations of the lead screw 36.
- Flanges 64 extend outwardly from the top panel 48 and flanges 66 extend outwardly from the side panel 46 each having openings 69 for receiving the upper rail 58.
- the motor 38 is preferable a stepping motor and connects to the lead screw 36 to precisely control the horizontal position of the cassette 34 relative to a frame 68.
- the extraction assembly 40 comprises an upper needle 70 and a lower needle 72, each being of a lumened configuration.
- the upper needle connects to an air pump 74 which can force air out through the upper needle 70.
- the lower needle 72 connects to a valve 76 and from there is plumbed to the vaporizer 18.
- the scanner 42 can also see the spent cassette collection box barcode 82 when the carriage 32 moves inwardly and away from the scanner 42.
- Each spent cassette collection box 84 preferably has two barcodes 82, one in each opposing corner so that the scanner 42 can see one of them regardless of which end of the spent cassette collection box 84 is inserted first.
- the spent cassettes 34 block the barcode 82 which alerts the control system 28 that there is no capacity for receiving additional spent cassettes 34.
- this message will be output to a user, such as on a display screen (not shown). If the cassette 34 is empty it will not be ejected and no new cycles will be run until a spent cassette collection box 84 having capacity to receive a spent cassette 34 is placed into the sterilizer 10.
- a forward flag 86 and rearward flag 88 project outwardly and downwardly from the carriage side panel 46. They slide through a slot 90 in a slot sensor 92 which detects their presence within the slot 90, such as by blocking a beam of light. Travel of the front flag 86 and rear flag 88 through the slot sensor 92 provides a reference location of the carriage 32 to the control system 28.
- the top panel 48 of the carriage 32 can rotate about the upper rail 58.
- a spring 94 between the top panel 48 and side panel 46 biases the top panel 48 downwardly to hold the cassette 34 within the carriage 32.
- a disposing cam 96 sits behind the side panel 46 and aligns with an ejecting tab 98 which extends outwardly and downwardly from the top panel 48 and which can project through an opening 100 in the side panel 46 when the top panel 48 rotates upwardly.
- Such rotation of the top panel 48 releases its hold upon the cassette 34 and due to the ejecting tab 98 projecting through the opening 100 pushes the cassette 34 out of the carriage 32 and into the spent cassette collection box.
- the disposing cam 96 controls rotation of the top panel 48. It comprises a generally triangular shape, having an outwardly facing side 102, forwardly facing side 104 and rearwardly facing side 106. Turning also now to FIG. 5, it mounts for rotation upon an upwardly extending spindle 108.
- a spring 110 biases the disposing cam 96 counterclockwise, urging the outwardly facing side 102 into contact with an abutment 112. Inward movements of the carriage 32 allow the ejecting tab 98 to cam over the rearwardly facing side 106 of the disposing cam 96, thus allowing the disposing cam 96 to rotate clockwise and allow the ejecting tab 98 to pass thereby without effecting rotation of the top panel 48.
- the stepper motor 38 takes over and starts to move the carriage 32 inwardly.
- the scanner 42 scans the barcode 80 on the cassette 34.
- the control system 28 interprets the information coming from the barcode 80 and determines whether the cassette 34 has been used in the sterilizer 10 before, whether the cassette contains fresh sterilant, and other data as appropriate.
- the information on the barcode 80 is encrypted to prevent unauthorized parties from creating cassettes which may not meet the quality standards necessary for proper sterilization.
- control system 28 rejects the cassette 34 a carriage 32 is moved sufficiently inwardly so as to pass the ejecting tab 98 past the disposing cam 96 and is then moved back to the insertion position shown in FIG. 5 to eject the rejected cassette 34. If the cassette 34 is accepted, the carriage 32 continues inward movement to the home position as shown in FIG. 8 in which the rear flag 88 has just passed out of the slot sensor 92.
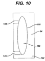
- the cassette 34 comprises a plurality of cells 118 containing liquid sterilant 120.
- the cassette 34 shown comprises a hard outer shell 122, preferably formed of an injection molded polymer, such as high impact polystyrene, high density polyethylene or high density polypropylene, which encloses the individual cells 118, the cells 118 being formed of a blow molded polymer such as low density polyethylene.
- a more rigid material can be used to form the cassette cells 118 in which case the outer shell 122 could be omitted.
- an upper aperture 124 and lower aperture 126 through the shell 122 allows the upper and lower needles 70 and 72 to penetrate the shell.
- the cell 118 is formed of a material easily penetrated by the needles. If the cell 118 is formed of a more substantial material, a thinning of the material could be provided at the locations to be penetrated by the needles 70 and 72.
- the control system 28 uses the home position of FIG. 8 as a reference position for positioning the various cells 118 in front of the extractor subsystem 40. By moving the carriage 32 a predetermined amount from the home position a given cell 118 can be brought to face the extractor system 40. In FIG. 9, cell one has been placed in front of the extractor system 40.
- an actuator 128 drives the extractor subsystem 40 toward the cassette 34 causing the upper and lower needles 70 and 72 to penetrate the upper and lower apertures 124 and 126 and enter the cell 118. After the needles have fully extended, the air pump 74 drives air into the cell 118 through the upper needle 70.
- the system waits a couple of seconds before starting the air pump 74 and opening the valve 76 to ensure proper placement and settling of the needles within the cell 118.
- the sterilant 120 flows out through the lower needle 72 and is piped off to the vaporizer 18. After a sufficient time to extract the sterilant 120, the air pump 74 switches off and the actuator retracts the extractor subsystem 40 from the cassette 34.
- the vaporizer 18 connects to the vacuum chamber 14 which allows the lower needle 72 to easily be placed at a pressure below atmospheric.
- the pump 74 can optionally be replaced by a valve (not shown) open to atmosphere, in which case the incoming atmospheric pressure air will provide the driving force to empty the cell 118.
- one needle having two lumens therethrough would suffice.
- One of the lumens would provide pressurizing gas and one would extract liquid sterilant.
- a further alternative arrangement would be to pierce the cell 118 vertically, or substantially so, from an upper part of the cell 118, preferably with such a double lumen needle. This would minimize leakage around the hole created by the needle entering the cell 118. Such entry would also allow the tip of the needle to come closer to the lowest point of the cell 118 for maximum extraction efficiency.
- the stepper motor 38 moves the cassette to position the next cell 118 in front of the extractor subsystem 40 and a new extraction takes place. Multiple extractions may be employed for a given sterilization cycle.
- the carriage 32 moves towards the insert position thus causing the ejecting tab 98 to cam over the disposing cam 96 to rotate the top panel 48 upwardly and project the ejecting tab 98 through the opening 100 to drive the cassette 34 out of the carriage 32 as described above and as shown in FIG. 13.
- the cassette 34 falls into the spent cassette collection box 84 and the carriage 32 returns to the insertion position as shown in FIG. 5.
- the system of reading barcodes on the cassette 34 and spent cassette box 84 can be replaced with radio frequency identification tags, commonly known as RFID tags.
- An RFID system 130 is shown in FIG. 15. It comprises a controller 132 connected via an SPDT reed relay 134 to a cassette insertion antenna 136 located on the carriage 32 and a cassette disposal antenna 138 located beneath the spend cassette box 84.
- Each cassette 34 carries a cassette RFID tag 140.
- each spent cassette collection box 84 carries a collection box RFID tag 142.
- the controller 132 comprises a Texas Instruments multifunction reader module S4100 and the RFID tags 140 and 42 comprise Texas Instruments RFID tag RI-101-112A each of which are available from Texas Instruments, Dallas, Texas.
- the spent collection box antenna 138 reads the spent collection box RFID tag 142 to determine the presence or absence of the spent cassette collection box 84. Other data such as a unique identifier for the box 84, the capacity of the box 84, how many cassettes 34 are currently in the box 84 and how many of the cells 118 therein are not empty can be included on the RFID tag 142.
- the control system 28 can track how many cassettes 34 have been ejected into the box to determine whether it has room for more spent cassettes 34.
- the antenna 138 can also read the cassette RFID tags 140 and count the number of cassettes 34 within the box 84. When the box 84 is full the control system 28 alerts the operator, as by a message on a screen. This message can also include information regarding the cassettes 34 within the box 84. For instance if not all of the cassettes 34 have been completely drained the operator can be informed of this to decide if more careful disposal may be indicated.
- RFID tags typically comprise an antenna and an integrated circuit produced in a thin form factor so they can be inconspicuously placed upon an object such as the cassette 34. Radio frequency energy sent by the antennas 136 and 138 induce sufficient current within the antenna inside the RFID tags 140 and 142 to power the integrated circuit therein. Some types of RFID tags carry their own power source and have longer detection ranges, but that adds additional expense and is probably not justified for the present use.
- FIG. 16 shows the memory map for the memory within the RFID tags 140 and 142.
- a 64-bit unique ID (UID) is set at the factory and cannot be changed. Each RFID tag has its own unique number here. Sixty-four 32-bit blocks can be programmed by the user. These can be populated with information such as the manufacture date, expiration date, product ID, serial number, lot numbers, manufacturing location, filling status of the cells, strength and type of sterilant, time spent within the sterilizer 10 and the like.
- the RFID tag 140 can optionally include temperature collection instrumentation and update that information on the tag. If design temperature profiles are exceeded, such as a maximum temperature or excessive temperature over a time period, then the cassette 34 can be rejected by the control system 28. Temperature measuring RFID tags are available from KSW-Microtec, Dreseden, Germany and from Identec Solutions, Inc., Kelowna, British Columbia, Canada. The interior of the sterilizer 10 where the cassette 34 sits may be higher than ambient temperature. Thus, it may be beneficial to put a maximum residence time (on board shelf life) on the tag 140 or even to update on the tag 140 this time the cassette has already spent inside of the sterilizer.
- cassettes 34 having water or other fluids within one or more cells 118 may be beneficial to provide cassettes 34 having water or other fluids within one or more cells 118. Information regarding the special nature of the cassette 34 and its contents could be written onto the RFID tag.
- the sterilizer may only require part of the contents of a cell 118. For instance, a particular cycle may call for the contents of one and a half cells. The half filled nature of the cell 118 can be stored and then for the next cycle that cell 118 can be drained.
- communications between the tag 140 and 142 and the controller 132 are encrypted.
- the UID can be XORed with an eight-bit master key to form a diversified key for encrypting the data.
- Encryption algorithms such as the data encryption standard (DES) triple DES, asymmetrical encryption standard (AES) or RSA security can be used for the encryption.
- the RFID controller 132 reads the data and the algorithm in the control system 28 decrypts the data to reveal the stored information.
- cassette 34 could include an active transmitter and a power source (i.e. a battery) such as powered RFID tags or Bluetooth, 802.11b or other communication standard.
- a power source i.e. a battery
- the sterilizer 10 can be set up to communicate back to a central source, such as the manufacturer or distributor thereof, and provide information regarding its performance and the performance of the cassettes 34. Poorly performing cassettes 34 could be identified, as for instance sterilant monitors in the sterilizer not detecting sterilant during a cycle thus indicating some failure such as an empty cassette or bad sterilant therein. An improperly manufactured batch of cassettes 34 could then be quickly identified and recalled. Such communication could occur over telephone, pager or wireless telephone networks or over the Internet.
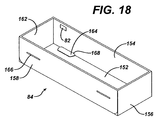
- the blank 150 is divided by a series of fold lines (shown dashed) and cut lines into a bottom panel 152, side panels 154, end panels 156 and top flaps 158.
- Folding tabs 160 extend laterally from the side panels 154. Additional folding tabs 162 extend laterally from the end panels 156.
- Barcodes 82 are printed on the side panels 154 in a position to be visible in an upper interior corner of the spent cassette collection box 84 when it is folded into the configuration shown in FIG. 18.
- a pair of top flap locking tabs 164 extend from the top flaps 158 and fit into slots 166 in the opposing top flap 158 when the box 84 is closed and into slots 168 at the intersection of the bottom panel 152 and side panel 154 when the box 84 is opened.
- the folding tabs 160 on the side panels 154 are folded upwardly and then the side panels 154 are folded upwardly, thereby aligning the folding tabs 160 with the intersection between the bottom panel 152 and the end panels 156.
- the end panels 156 are then folded upwardly and the end panel folding tabs 162 are folded downwardly over the folding tabs 160.
- Locking tabs 170 on the end panel folding tabs 162 fit into slots 172 at the intersection between the bottom panel 152 and end panels 156.
- the top flaps 158 are folded downwardly to the outside and the locking tabs 164 fitted into the slots 168. Once the box 84 is filled with spent cassettes, the top flaps 158 are folded upwardly over the top and the locking tabs 164 can then be fitted into the slots 166 on the opposing top flaps 158.
- This unique folding arrangement allows spent cassettes 34 to fall into the open box 84 easily without the top flaps 158 getting in the way and also allows easy closure of the box 84 once it has become filled.
Landscapes
- Engineering & Computer Science (AREA)
- Health & Medical Sciences (AREA)
- Life Sciences & Earth Sciences (AREA)
- Veterinary Medicine (AREA)
- Public Health (AREA)
- Epidemiology (AREA)
- Animal Behavior & Ethology (AREA)
- General Health & Medical Sciences (AREA)
- Structural Engineering (AREA)
- Mechanical Engineering (AREA)
- General Engineering & Computer Science (AREA)
- Civil Engineering (AREA)
- Mining & Mineral Resources (AREA)
- Chemical & Material Sciences (AREA)
- General Chemical & Material Sciences (AREA)
- Chemical Kinetics & Catalysis (AREA)
- Hydrology & Water Resources (AREA)
- Environmental & Geological Engineering (AREA)
- Water Supply & Treatment (AREA)
- Organic Chemistry (AREA)
- Apparatus For Disinfection Or Sterilisation (AREA)
- Automatic Analysis And Handling Materials Therefor (AREA)
- Processing Of Solid Wastes (AREA)
Applications Claiming Priority (2)
| Application Number | Priority Date | Filing Date | Title |
|---|---|---|---|
| US793115 | 2004-03-04 | ||
| US10/793,115 US7602284B2 (en) | 2004-03-04 | 2004-03-04 | Sterilizer cassette handling system with data link |
Publications (3)
| Publication Number | Publication Date |
|---|---|
| EP1570865A2 true EP1570865A2 (de) | 2005-09-07 |
| EP1570865A3 EP1570865A3 (de) | 2005-10-26 |
| EP1570865B1 EP1570865B1 (de) | 2010-04-21 |
Family
ID=34750620
Family Applications (1)
| Application Number | Title | Priority Date | Filing Date |
|---|---|---|---|
| EP05251264A Expired - Lifetime EP1570865B1 (de) | 2004-03-04 | 2005-03-03 | System zur Behandlung von Sterilisationskassetten mit Datenübertragung |
Country Status (16)
| Country | Link |
|---|---|
| US (1) | US7602284B2 (de) |
| EP (1) | EP1570865B1 (de) |
| JP (1) | JP2005296632A (de) |
| KR (1) | KR101153239B1 (de) |
| CN (1) | CN100528245C (de) |
| AR (1) | AR054654A1 (de) |
| AT (1) | ATE464914T1 (de) |
| AU (1) | AU2005200586B2 (de) |
| BR (1) | BRPI0500613B8 (de) |
| CA (1) | CA2499421C (de) |
| DE (1) | DE602005020706D1 (de) |
| ES (1) | ES2343190T3 (de) |
| MX (1) | MXPA05002449A (de) |
| RU (1) | RU2408389C2 (de) |
| TW (1) | TWI494859B (de) |
| ZA (1) | ZA200501849B (de) |
Cited By (1)
| Publication number | Priority date | Publication date | Assignee | Title |
|---|---|---|---|---|
| EP3508110A1 (de) * | 2017-12-26 | 2019-07-10 | Ethicon, Inc. | Aufbewahrungsvorrichtung und -verfahren zur bestimmung einer position eines objekts |
Families Citing this family (20)
| Publication number | Priority date | Publication date | Assignee | Title |
|---|---|---|---|---|
| US7452504B2 (en) * | 2004-05-28 | 2008-11-18 | Ethicon, Inc. | Sterilization/disinfection cycle control |
| US7811530B2 (en) * | 2004-10-29 | 2010-10-12 | Ethicon, Inc. | Sterilization cassette and packaging |
| US7757543B2 (en) * | 2006-07-13 | 2010-07-20 | Advanced Cardiovascular Systems, Inc. | Radio frequency identification monitoring of stents |
| WO2008061313A1 (en) * | 2006-11-24 | 2008-05-29 | Mems-Id Pty Ltd | Tagging methods and apparatus |
| JP6003039B2 (ja) * | 2011-10-31 | 2016-10-05 | キヤノンマーケティングジャパン株式会社 | 滅菌装置、滅菌装置の制御方法、プログラム |
| JP5754469B2 (ja) * | 2011-10-06 | 2015-07-29 | キヤノンマーケティングジャパン株式会社 | 滅菌装置、滅菌方法、プログラム |
| JP6003040B2 (ja) * | 2011-10-31 | 2016-10-05 | キヤノンマーケティングジャパン株式会社 | 滅菌装置、滅菌装置の制御方法、プログラム |
| US9393569B2 (en) * | 2012-01-10 | 2016-07-19 | SteriMed Medical Waste Solutions UK Ltd. | Integrated medical waste management system and operation |
| JP6520112B2 (ja) * | 2014-12-24 | 2019-05-29 | キヤノンマーケティングジャパン株式会社 | 滅菌装置、及びその制御方法 |
| CN105270756B (zh) * | 2015-11-09 | 2018-03-27 | 珠海格力电器股份有限公司 | 智能配送柜及其消毒方法 |
| EP3182310B1 (de) * | 2015-12-18 | 2022-10-12 | Roche Diagnostics GmbH | Verfahren zum speichern von temporären daten in einem speicher eines rfid-etiketts, das mit einem verbrauchsmaterial eines laborinstruments assoziiert ist, und system mit einem laborinstrument, einem verbrauchsmaterial und einem rfid-etikett |
| US10443083B2 (en) | 2016-03-02 | 2019-10-15 | Asp Global Manufacturing Gmbh | Apparatus and method for analyzing biological indicators |
| US10668180B2 (en) | 2016-03-02 | 2020-06-02 | Asp Global Manufacturing Gmbh | Apparatus and method for sterilizing medical devices |
| US10596287B2 (en) * | 2016-03-02 | 2020-03-24 | Asp Global Manufacturing Gmbh | Apparatus and method to link medical device sterilization equipment |
| US10561753B2 (en) | 2016-03-02 | 2020-02-18 | Asp Global Manufacturing Gmbh | Method of sterilizing medical devices, analyzing biological indicators, and linking medical device sterilization equipment |
| KR101924992B1 (ko) * | 2016-10-25 | 2018-12-04 | 주식회사 플라즈맵 | 멸균 장치 및 멸균 방법 |
| US10500297B2 (en) * | 2016-11-21 | 2019-12-10 | Asp Global Manufacturing Gmbh | Apparatus and method for detecting improper positioning of removable component of sterilizing system |
| US11603551B2 (en) | 2020-12-02 | 2023-03-14 | Steritec Products Mfg. Co., Inc. | Biological indicators, and systems and methods for determining efficacy of sterilization |
| CN113509581B (zh) * | 2021-05-07 | 2023-12-15 | 成都蓝峰科技有限公司 | 用于过氧化氢灭菌器的注液装置 |
| CN118183019B (zh) * | 2024-04-11 | 2025-09-19 | 江苏湛德医疗用品有限公司 | 一种耐高温聚醚酰亚胺灭菌盒及其制备方法 |
Family Cites Families (49)
| Publication number | Priority date | Publication date | Assignee | Title |
|---|---|---|---|---|
| US5148256A (en) | 1981-02-23 | 1992-09-15 | Unisys Corporation | Digital computer having an interconnect mechanism stacked above a semiconductor substrate |
| US4442507A (en) | 1981-02-23 | 1984-04-10 | Burroughs Corporation | Electrically programmable read-only memory stacked above a semiconductor substrate |
| US5407851A (en) | 1981-02-23 | 1995-04-18 | Unisys Corporation | Method of fabricating an electrically alterable resistive component on an insulating layer above a semiconductor substrate |
| US4796074A (en) | 1987-04-27 | 1989-01-03 | Instant Circuit Corporation | Method of fabricating a high density masked programmable read-only memory |
| JPS63180779U (de) * | 1987-05-14 | 1988-11-22 | ||
| US4913196A (en) | 1987-05-20 | 1990-04-03 | Surgikos, Inc. | Fluid injection system pumping methods |
| US4869286A (en) | 1987-05-20 | 1989-09-26 | Surgikos, Inc. | Fluid injection system coupling and injector valve |
| US4909287A (en) | 1987-05-20 | 1990-03-20 | Surgikos, Inc. | Fluid injection system |
| US4899519A (en) | 1987-05-20 | 1990-02-13 | Surgikos, Inc. | Fluid injection system cassette and fluid packaging methods |
| US4941518A (en) | 1987-05-20 | 1990-07-17 | Johnson & Johnson Medical, Inc. | Fluid injection system |
| US4938262A (en) | 1987-05-20 | 1990-07-03 | Johnson & Johnson Medical, Inc. | Fluid injection system |
| US4817800A (en) | 1987-05-20 | 1989-04-04 | Surgikos, Inc. | Fluid injection system cassette and fluid packaging methods |
| US5095362A (en) | 1990-10-23 | 1992-03-10 | Instant Circuit Corporation | Method for reducing resistance for programmed antifuse |
| US5347280A (en) | 1993-07-02 | 1994-09-13 | Texas Instruments Deutschland Gmbh | Frequency diversity transponder arrangement |
| US5378880A (en) | 1993-08-20 | 1995-01-03 | Indala Corporation | Housing structure for an access control RFID reader |
| US5541604A (en) | 1993-09-03 | 1996-07-30 | Texas Instruments Deutschland Gmbh | Transponders, Interrogators, systems and methods for elimination of interrogator synchronization requirement |
| FR2717593B1 (fr) | 1994-03-18 | 1996-08-30 | Cofale | Contenant comprenant un moyen d'identification électronique et visuel. |
| US5565846A (en) | 1994-04-25 | 1996-10-15 | Indala Corporation | Reader system for waste bin pickup vehicles |
| US5528222A (en) | 1994-09-09 | 1996-06-18 | International Business Machines Corporation | Radio frequency circuit and memory in thin flexible package |
| US5682143A (en) | 1994-09-09 | 1997-10-28 | International Business Machines Corporation | Radio frequency identification tag |
| US5550547A (en) | 1994-09-12 | 1996-08-27 | International Business Machines Corporation | Multiple item radio frequency tag identification protocol |
| US5521601A (en) | 1995-04-21 | 1996-05-28 | International Business Machines Corporation | Power-efficient technique for multiple tag discrimination |
| US5625341A (en) | 1995-08-31 | 1997-04-29 | Sensormatic Electronics Corporation | Multi-bit EAS marker powered by interrogation signal in the eight MHz band |
| JP3450658B2 (ja) | 1996-07-31 | 2003-09-29 | キヤノン株式会社 | 静電荷潜像現像用磁性トナー、装置ユニット及び画像形成方法 |
| US6611733B1 (en) * | 1996-12-20 | 2003-08-26 | Carlos De La Huerga | Interactive medication dispensing machine |
| US7205016B2 (en) * | 1997-03-13 | 2007-04-17 | Safefresh Technologies, Llc | Packages and methods for processing food products |
| US5882611A (en) | 1997-06-02 | 1999-03-16 | Ethicon, Inc. | Cassette and delivery system |
| US5887716A (en) | 1997-06-02 | 1999-03-30 | Johnson & Johnson Medical, Inc. | Liquid sterilant cassette and indicia system |
| US5842325A (en) * | 1997-12-11 | 1998-12-01 | Bausch & Lomb Incorporated | Method for labeling packages |
| US6729369B2 (en) * | 1998-07-31 | 2004-05-04 | Chata Biosystems, Inc. | Vessel for containing/transporting a fluent substance |
| ES2198938T3 (es) | 1998-08-14 | 2004-02-01 | 3M Innovative Properties Company | Aplicacion para un sistema de identificacion de radiofrecuencia. |
| US6169483B1 (en) * | 1999-05-04 | 2001-01-02 | Sensormatic Electronics Corporation | Self-checkout/self-check-in RFID and electronics article surveillance system |
| US6714121B1 (en) * | 1999-08-09 | 2004-03-30 | Micron Technology, Inc. | RFID material tracking method and apparatus |
| DE10040456B4 (de) * | 1999-10-01 | 2005-11-17 | Hewlett-Packard Development Co., L.P., Houston | Drucker und Verfahren zum Bereitstellen von Daten für eine Optimierung desselben |
| US6412340B1 (en) | 2000-02-07 | 2002-07-02 | Ethicon, Inc. | Cell detection mechanism |
| US20020067267A1 (en) | 2000-03-15 | 2002-06-06 | Richard Kirkham | Package identification system |
| DK1360658T3 (da) * | 2000-05-23 | 2008-10-13 | Munroe Chirnomas | Fremgangsmåde og apparat til inkludering af artikelidentifikation i en artikelhåndteringsanordning |
| US6724308B2 (en) | 2000-08-11 | 2004-04-20 | Escort Memory Systems | RFID tracking method and system |
| US7070053B1 (en) * | 2000-09-05 | 2006-07-04 | Cv Holdings Llc | System, method, and apparatuses for maintaining, tracking, transporting and identifying the integrity of a disposable specimen container with a re-usable transponder |
| WO2002032468A1 (en) | 2000-10-13 | 2002-04-25 | Olympus Optical Co., Ltd. | Automatic cleaning and disinfecting device |
| US6600418B2 (en) | 2000-12-12 | 2003-07-29 | 3M Innovative Properties Company | Object tracking and management system and method using radio-frequency identification tags |
| JP2002238847A (ja) * | 2001-02-21 | 2002-08-27 | Olympus Optical Co Ltd | 洗滌・消毒システム |
| JP2002272822A (ja) * | 2001-03-14 | 2002-09-24 | Olympus Optical Co Ltd | 消耗品の管理システム及び洗滌装置 |
| JP2002325826A (ja) * | 2001-04-27 | 2002-11-12 | Olympus Optical Co Ltd | 滅菌装置 |
| GB0113095D0 (en) * | 2001-05-30 | 2001-07-18 | 3M Innovative Properties Co | Liquid usage monitoring |
| WO2002100728A2 (en) * | 2001-06-13 | 2002-12-19 | Advanced Technology Materials, Inc. | Liquid handling system with electronic information storage |
| EP1429823A1 (de) | 2001-09-27 | 2004-06-23 | Gambro, Inc., | Radiofrequenz- oder elektromagnetische informationssysteme und verfahren zur verwendung in extrakorporalen blutbehandlungen |
| US6771369B2 (en) * | 2002-03-12 | 2004-08-03 | Analytical Spectral Devices, Inc. | System and method for pharmacy validation and inspection |
| US7256699B2 (en) * | 2005-03-24 | 2007-08-14 | Sdgi Holdings, Inc. | Button-type RFID tag |
-
2004
- 2004-03-04 US US10/793,115 patent/US7602284B2/en not_active Expired - Lifetime
-
2005
- 2005-02-10 AU AU2005200586A patent/AU2005200586B2/en not_active Expired
- 2005-02-28 KR KR1020050016723A patent/KR101153239B1/ko not_active Expired - Lifetime
- 2005-03-01 BR BRPI0500613A patent/BRPI0500613B8/pt not_active IP Right Cessation
- 2005-03-03 JP JP2005059247A patent/JP2005296632A/ja active Pending
- 2005-03-03 DE DE602005020706T patent/DE602005020706D1/de not_active Expired - Lifetime
- 2005-03-03 AR ARP050100814A patent/AR054654A1/es not_active Application Discontinuation
- 2005-03-03 ES ES05251264T patent/ES2343190T3/es not_active Expired - Lifetime
- 2005-03-03 MX MXPA05002449A patent/MXPA05002449A/es active IP Right Grant
- 2005-03-03 TW TW094106370A patent/TWI494859B/zh not_active IP Right Cessation
- 2005-03-03 EP EP05251264A patent/EP1570865B1/de not_active Expired - Lifetime
- 2005-03-03 AT AT05251264T patent/ATE464914T1/de not_active IP Right Cessation
- 2005-03-03 RU RU2005106081/15A patent/RU2408389C2/ru active
- 2005-03-03 ZA ZA200501849A patent/ZA200501849B/en unknown
- 2005-03-04 CA CA2499421A patent/CA2499421C/en not_active Expired - Lifetime
- 2005-03-04 CN CNB2005100531675A patent/CN100528245C/zh not_active Expired - Lifetime
Cited By (2)
| Publication number | Priority date | Publication date | Assignee | Title |
|---|---|---|---|---|
| EP3508110A1 (de) * | 2017-12-26 | 2019-07-10 | Ethicon, Inc. | Aufbewahrungsvorrichtung und -verfahren zur bestimmung einer position eines objekts |
| US10994039B2 (en) | 2017-12-26 | 2021-05-04 | Asp Global Manufacturing Gmbh | Storage apparatus and method for identifying a position of an object |
Also Published As
| Publication number | Publication date |
|---|---|
| DE602005020706D1 (de) | 2010-06-02 |
| TW200530931A (en) | 2005-09-16 |
| EP1570865B1 (de) | 2010-04-21 |
| BRPI0500613B8 (pt) | 2021-06-22 |
| BRPI0500613A (pt) | 2005-10-18 |
| US7602284B2 (en) | 2009-10-13 |
| ZA200501849B (en) | 2006-12-27 |
| AU2005200586A1 (en) | 2005-09-22 |
| ATE464914T1 (de) | 2010-05-15 |
| US20050197737A1 (en) | 2005-09-08 |
| AR054654A1 (es) | 2007-07-11 |
| AU2005200586B2 (en) | 2011-06-16 |
| CN1663618A (zh) | 2005-09-07 |
| ES2343190T3 (es) | 2010-07-26 |
| RU2408389C2 (ru) | 2011-01-10 |
| BRPI0500613B1 (pt) | 2016-03-08 |
| RU2005106081A (ru) | 2006-08-10 |
| MXPA05002449A (es) | 2005-09-30 |
| CN100528245C (zh) | 2009-08-19 |
| EP1570865A3 (de) | 2005-10-26 |
| CA2499421A1 (en) | 2005-09-04 |
| CA2499421C (en) | 2013-06-25 |
| KR101153239B1 (ko) | 2012-06-07 |
| KR20060043265A (ko) | 2006-05-15 |
| JP2005296632A (ja) | 2005-10-27 |
| TWI494859B (zh) | 2015-08-01 |
Similar Documents
| Publication | Publication Date | Title |
|---|---|---|
| EP1570865B1 (de) | System zur Behandlung von Sterilisationskassetten mit Datenübertragung | |
| US7575716B2 (en) | Sterilization/disinfection cycle control | |
| CA2499417C (en) | Method of delivering liquid sterilant to a sterilizer | |
| US7309014B2 (en) | Sterilizer cassette handling system with dual visual code reading | |
| CA2507134C (en) | Cassette assembly | |
| US20050263421A1 (en) | Cassette with encoded lumen claim | |
| JP4558538B2 (ja) | 液体滅菌剤を滅菌器に送達する方法 |
Legal Events
| Date | Code | Title | Description |
|---|---|---|---|
| PUAI | Public reference made under article 153(3) epc to a published international application that has entered the european phase |
Free format text: ORIGINAL CODE: 0009012 |
|
| AK | Designated contracting states |
Kind code of ref document: A2 Designated state(s): AT BE BG CH CY CZ DE DK EE ES FI FR GB GR HU IE IS IT LI LT LU MC NL PL PT RO SE SI SK TR |
|
| AX | Request for extension of the european patent |
Extension state: AL BA HR LV MK YU |
|
| PUAL | Search report despatched |
Free format text: ORIGINAL CODE: 0009013 |
|
| AK | Designated contracting states |
Kind code of ref document: A3 Designated state(s): AT BE BG CH CY CZ DE DK EE ES FI FR GB GR HU IE IS IT LI LT LU MC NL PL PT RO SE SI SK TR |
|
| AX | Request for extension of the european patent |
Extension state: AL BA HR LV MK YU |
|
| 17P | Request for examination filed |
Effective date: 20060412 |
|
| AKX | Designation fees paid |
Designated state(s): AT BE BG CH CY CZ DE DK EE ES FI FR GB GR HU IE IS IT LI LT LU MC NL PL PT RO SE SI SK TR |
|
| 17Q | First examination report despatched |
Effective date: 20090506 |
|
| GRAP | Despatch of communication of intention to grant a patent |
Free format text: ORIGINAL CODE: EPIDOSNIGR1 |
|
| GRAS | Grant fee paid |
Free format text: ORIGINAL CODE: EPIDOSNIGR3 |
|
| GRAA | (expected) grant |
Free format text: ORIGINAL CODE: 0009210 |
|
| AK | Designated contracting states |
Kind code of ref document: B1 Designated state(s): AT BE BG CH CY CZ DE DK EE ES FI FR GB GR HU IE IS IT LI LT LU MC NL PL PT RO SE SI SK TR |
|
| REG | Reference to a national code |
Ref country code: GB Ref legal event code: FG4D |
|
| REG | Reference to a national code |
Ref country code: CH Ref legal event code: EP Ref country code: CH Ref legal event code: NV Representative=s name: E. BLUM & CO. AG PATENT- UND MARKENANWAELTE VSP |
|
| REG | Reference to a national code |
Ref country code: IE Ref legal event code: FG4D |
|
| REF | Corresponds to: |
Ref document number: 602005020706 Country of ref document: DE Date of ref document: 20100602 Kind code of ref document: P |
|
| REG | Reference to a national code |
Ref country code: NL Ref legal event code: T3 |
|
| REG | Reference to a national code |
Ref country code: ES Ref legal event code: FG2A Ref document number: 2343190 Country of ref document: ES Kind code of ref document: T3 |
|
| LTIE | Lt: invalidation of european patent or patent extension |
Effective date: 20100421 |
|
| PG25 | Lapsed in a contracting state [announced via postgrant information from national office to epo] |
Ref country code: SE Free format text: LAPSE BECAUSE OF FAILURE TO SUBMIT A TRANSLATION OF THE DESCRIPTION OR TO PAY THE FEE WITHIN THE PRESCRIBED TIME-LIMIT Effective date: 20100421 Ref country code: LT Free format text: LAPSE BECAUSE OF FAILURE TO SUBMIT A TRANSLATION OF THE DESCRIPTION OR TO PAY THE FEE WITHIN THE PRESCRIBED TIME-LIMIT Effective date: 20100421 |
|
| PG25 | Lapsed in a contracting state [announced via postgrant information from national office to epo] |
Ref country code: SI Free format text: LAPSE BECAUSE OF FAILURE TO SUBMIT A TRANSLATION OF THE DESCRIPTION OR TO PAY THE FEE WITHIN THE PRESCRIBED TIME-LIMIT Effective date: 20100421 Ref country code: IS Free format text: LAPSE BECAUSE OF FAILURE TO SUBMIT A TRANSLATION OF THE DESCRIPTION OR TO PAY THE FEE WITHIN THE PRESCRIBED TIME-LIMIT Effective date: 20100821 Ref country code: AT Free format text: LAPSE BECAUSE OF FAILURE TO SUBMIT A TRANSLATION OF THE DESCRIPTION OR TO PAY THE FEE WITHIN THE PRESCRIBED TIME-LIMIT Effective date: 20100421 Ref country code: FI Free format text: LAPSE BECAUSE OF FAILURE TO SUBMIT A TRANSLATION OF THE DESCRIPTION OR TO PAY THE FEE WITHIN THE PRESCRIBED TIME-LIMIT Effective date: 20100421 |
|
| PG25 | Lapsed in a contracting state [announced via postgrant information from national office to epo] |
Ref country code: GR Free format text: LAPSE BECAUSE OF FAILURE TO SUBMIT A TRANSLATION OF THE DESCRIPTION OR TO PAY THE FEE WITHIN THE PRESCRIBED TIME-LIMIT Effective date: 20100722 Ref country code: CY Free format text: LAPSE BECAUSE OF FAILURE TO SUBMIT A TRANSLATION OF THE DESCRIPTION OR TO PAY THE FEE WITHIN THE PRESCRIBED TIME-LIMIT Effective date: 20100421 Ref country code: PL Free format text: LAPSE BECAUSE OF FAILURE TO SUBMIT A TRANSLATION OF THE DESCRIPTION OR TO PAY THE FEE WITHIN THE PRESCRIBED TIME-LIMIT Effective date: 20100421 |
|
| PG25 | Lapsed in a contracting state [announced via postgrant information from national office to epo] |
Ref country code: PT Free format text: LAPSE BECAUSE OF FAILURE TO SUBMIT A TRANSLATION OF THE DESCRIPTION OR TO PAY THE FEE WITHIN THE PRESCRIBED TIME-LIMIT Effective date: 20100823 Ref country code: EE Free format text: LAPSE BECAUSE OF FAILURE TO SUBMIT A TRANSLATION OF THE DESCRIPTION OR TO PAY THE FEE WITHIN THE PRESCRIBED TIME-LIMIT Effective date: 20100421 Ref country code: DK Free format text: LAPSE BECAUSE OF FAILURE TO SUBMIT A TRANSLATION OF THE DESCRIPTION OR TO PAY THE FEE WITHIN THE PRESCRIBED TIME-LIMIT Effective date: 20100421 |
|
| PLBE | No opposition filed within time limit |
Free format text: ORIGINAL CODE: 0009261 |
|
| STAA | Information on the status of an ep patent application or granted ep patent |
Free format text: STATUS: NO OPPOSITION FILED WITHIN TIME LIMIT |
|
| PG25 | Lapsed in a contracting state [announced via postgrant information from national office to epo] |
Ref country code: BE Free format text: LAPSE BECAUSE OF FAILURE TO SUBMIT A TRANSLATION OF THE DESCRIPTION OR TO PAY THE FEE WITHIN THE PRESCRIBED TIME-LIMIT Effective date: 20100421 Ref country code: SK Free format text: LAPSE BECAUSE OF FAILURE TO SUBMIT A TRANSLATION OF THE DESCRIPTION OR TO PAY THE FEE WITHIN THE PRESCRIBED TIME-LIMIT Effective date: 20100421 Ref country code: RO Free format text: LAPSE BECAUSE OF FAILURE TO SUBMIT A TRANSLATION OF THE DESCRIPTION OR TO PAY THE FEE WITHIN THE PRESCRIBED TIME-LIMIT Effective date: 20100421 Ref country code: CZ Free format text: LAPSE BECAUSE OF FAILURE TO SUBMIT A TRANSLATION OF THE DESCRIPTION OR TO PAY THE FEE WITHIN THE PRESCRIBED TIME-LIMIT Effective date: 20100421 |
|
| 26N | No opposition filed |
Effective date: 20110124 |
|
| PG25 | Lapsed in a contracting state [announced via postgrant information from national office to epo] |
Ref country code: MC Free format text: LAPSE BECAUSE OF NON-PAYMENT OF DUE FEES Effective date: 20110331 |
|
| PG25 | Lapsed in a contracting state [announced via postgrant information from national office to epo] |
Ref country code: LU Free format text: LAPSE BECAUSE OF NON-PAYMENT OF DUE FEES Effective date: 20110303 |
|
| PG25 | Lapsed in a contracting state [announced via postgrant information from national office to epo] |
Ref country code: TR Free format text: LAPSE BECAUSE OF FAILURE TO SUBMIT A TRANSLATION OF THE DESCRIPTION OR TO PAY THE FEE WITHIN THE PRESCRIBED TIME-LIMIT Effective date: 20100421 Ref country code: BG Free format text: LAPSE BECAUSE OF FAILURE TO SUBMIT A TRANSLATION OF THE DESCRIPTION OR TO PAY THE FEE WITHIN THE PRESCRIBED TIME-LIMIT Effective date: 20100721 |
|
| PG25 | Lapsed in a contracting state [announced via postgrant information from national office to epo] |
Ref country code: HU Free format text: LAPSE BECAUSE OF FAILURE TO SUBMIT A TRANSLATION OF THE DESCRIPTION OR TO PAY THE FEE WITHIN THE PRESCRIBED TIME-LIMIT Effective date: 20100421 |
|
| REG | Reference to a national code |
Ref country code: FR Ref legal event code: PLFP Year of fee payment: 12 |
|
| REG | Reference to a national code |
Ref country code: FR Ref legal event code: PLFP Year of fee payment: 13 |
|
| REG | Reference to a national code |
Ref country code: FR Ref legal event code: PLFP Year of fee payment: 14 |
|
| PGFP | Annual fee paid to national office [announced via postgrant information from national office to epo] |
Ref country code: NL Payment date: 20190214 Year of fee payment: 15 |
|
| PGFP | Annual fee paid to national office [announced via postgrant information from national office to epo] |
Ref country code: IE Payment date: 20190311 Year of fee payment: 15 Ref country code: IT Payment date: 20190326 Year of fee payment: 15 Ref country code: DE Payment date: 20190219 Year of fee payment: 15 |
|
| PGFP | Annual fee paid to national office [announced via postgrant information from national office to epo] |
Ref country code: FR Payment date: 20190213 Year of fee payment: 15 |
|
| PGFP | Annual fee paid to national office [announced via postgrant information from national office to epo] |
Ref country code: ES Payment date: 20190401 Year of fee payment: 15 |
|
| REG | Reference to a national code |
Ref country code: GB Ref legal event code: 732E Free format text: REGISTERED BETWEEN 20200109 AND 20200115 |
|
| REG | Reference to a national code |
Ref country code: DE Ref legal event code: R119 Ref document number: 602005020706 Country of ref document: DE |
|
| REG | Reference to a national code |
Ref country code: NL Ref legal event code: MM Effective date: 20200401 |
|
| PG25 | Lapsed in a contracting state [announced via postgrant information from national office to epo] |
Ref country code: NL Free format text: LAPSE BECAUSE OF NON-PAYMENT OF DUE FEES Effective date: 20200401 |
|
| PG25 | Lapsed in a contracting state [announced via postgrant information from national office to epo] |
Ref country code: FR Free format text: LAPSE BECAUSE OF NON-PAYMENT OF DUE FEES Effective date: 20200331 Ref country code: IE Free format text: LAPSE BECAUSE OF NON-PAYMENT OF DUE FEES Effective date: 20200303 Ref country code: DE Free format text: LAPSE BECAUSE OF NON-PAYMENT OF DUE FEES Effective date: 20201001 |
|
| REG | Reference to a national code |
Ref country code: ES Ref legal event code: FD2A Effective date: 20210726 |
|
| PG25 | Lapsed in a contracting state [announced via postgrant information from national office to epo] |
Ref country code: IT Free format text: LAPSE BECAUSE OF NON-PAYMENT OF DUE FEES Effective date: 20200303 |
|
| PG25 | Lapsed in a contracting state [announced via postgrant information from national office to epo] |
Ref country code: ES Free format text: LAPSE BECAUSE OF NON-PAYMENT OF DUE FEES Effective date: 20200304 |
|
| P01 | Opt-out of the competence of the unified patent court (upc) registered |
Effective date: 20231109 |
|
| PGFP | Annual fee paid to national office [announced via postgrant information from national office to epo] |
Ref country code: GB Payment date: 20240327 Year of fee payment: 20 |
|
| PGFP | Annual fee paid to national office [announced via postgrant information from national office to epo] |
Ref country code: CH Payment date: 20240402 Year of fee payment: 20 |
|
| REG | Reference to a national code |
Ref country code: CH Ref legal event code: PL |
|
| REG | Reference to a national code |
Ref country code: GB Ref legal event code: PE20 Expiry date: 20250302 |
|
| PG25 | Lapsed in a contracting state [announced via postgrant information from national office to epo] |
Ref country code: GB Free format text: LAPSE BECAUSE OF EXPIRATION OF PROTECTION Effective date: 20250302 |