EP1555368B1 - Beschlag für eine Ausstell- und Kippbewegung eines Flügels eines Gebäudefensters oder einer Gebäudetür sowie Parallelschiebekipp-Fenster oder -Tür mit einem solchen Beschlag - Google Patents
Beschlag für eine Ausstell- und Kippbewegung eines Flügels eines Gebäudefensters oder einer Gebäudetür sowie Parallelschiebekipp-Fenster oder -Tür mit einem solchen Beschlag Download PDFInfo
- Publication number
- EP1555368B1 EP1555368B1 EP04014217A EP04014217A EP1555368B1 EP 1555368 B1 EP1555368 B1 EP 1555368B1 EP 04014217 A EP04014217 A EP 04014217A EP 04014217 A EP04014217 A EP 04014217A EP 1555368 B1 EP1555368 B1 EP 1555368B1
- Authority
- EP
- European Patent Office
- Prior art keywords
- guide
- fitting
- window
- tilting
- guide element
- Prior art date
- Legal status (The legal status is an assumption and is not a legal conclusion. Google has not performed a legal analysis and makes no representation as to the accuracy of the status listed.)
- Revoked
Links
- 230000008878 coupling Effects 0.000 claims description 27
- 238000010168 coupling process Methods 0.000 claims description 27
- 238000005859 coupling reaction Methods 0.000 claims description 27
- 239000000463 material Substances 0.000 claims description 6
- 238000013461 design Methods 0.000 claims description 5
- 210000002105 tongue Anatomy 0.000 claims description 4
- 239000000470 constituent Substances 0.000 claims 1
- 239000011521 glass Substances 0.000 abstract 1
- 229910052751 metal Inorganic materials 0.000 description 4
- 239000002184 metal Substances 0.000 description 4
- 229910000831 Steel Inorganic materials 0.000 description 2
- 239000010959 steel Substances 0.000 description 2
- 229910052782 aluminium Inorganic materials 0.000 description 1
- XAGFODPZIPBFFR-UHFFFAOYSA-N aluminium Chemical compound [Al] XAGFODPZIPBFFR-UHFFFAOYSA-N 0.000 description 1
- 239000003086 colorant Substances 0.000 description 1
- 238000005553 drilling Methods 0.000 description 1
- 238000003780 insertion Methods 0.000 description 1
- 230000037431 insertion Effects 0.000 description 1
- 238000012986 modification Methods 0.000 description 1
- 230000004048 modification Effects 0.000 description 1
- 230000000284 resting effect Effects 0.000 description 1
- 230000000717 retained effect Effects 0.000 description 1
- 238000000926 separation method Methods 0.000 description 1
- 238000012549 training Methods 0.000 description 1
- 238000013022 venting Methods 0.000 description 1
- 230000000007 visual effect Effects 0.000 description 1
Images
Classifications
-
- E—FIXED CONSTRUCTIONS
- E05—LOCKS; KEYS; WINDOW OR DOOR FITTINGS; SAFES
- E05D—HINGES OR SUSPENSION DEVICES FOR DOORS, WINDOWS OR WINGS
- E05D15/00—Suspension arrangements for wings
- E05D15/06—Suspension arrangements for wings for wings sliding horizontally more or less in their own plane
- E05D15/10—Suspension arrangements for wings for wings sliding horizontally more or less in their own plane movable out of one plane into a second parallel plane
- E05D15/1005—Suspension arrangements for wings for wings sliding horizontally more or less in their own plane movable out of one plane into a second parallel plane the wing being supported on arms movable in horizontal planes
- E05D15/1013—Suspension arrangements for wings for wings sliding horizontally more or less in their own plane movable out of one plane into a second parallel plane the wing being supported on arms movable in horizontal planes specially adapted for windows
- E05D15/1015—Suspension arrangements for wings for wings sliding horizontally more or less in their own plane movable out of one plane into a second parallel plane the wing being supported on arms movable in horizontal planes specially adapted for windows with an intermediate tilt position
-
- E—FIXED CONSTRUCTIONS
- E05—LOCKS; KEYS; WINDOW OR DOOR FITTINGS; SAFES
- E05Y—INDEXING SCHEME ASSOCIATED WITH SUBCLASSES E05D AND E05F, RELATING TO CONSTRUCTION ELEMENTS, ELECTRIC CONTROL, POWER SUPPLY, POWER SIGNAL OR TRANSMISSION, USER INTERFACES, MOUNTING OR COUPLING, DETAILS, ACCESSORIES, AUXILIARY OPERATIONS NOT OTHERWISE PROVIDED FOR, APPLICATION THEREOF
- E05Y2900/00—Application of doors, windows, wings or fittings thereof
- E05Y2900/10—Application of doors, windows, wings or fittings thereof for buildings or parts thereof
- E05Y2900/13—Type of wing
- E05Y2900/148—Windows
Definitions
- the invention relates to a fitting according to the preamble of claim 1 and to a Parallelschiebekipp window or a Parallelschiebekipp door according to the preamble of claim 12.
- Parallel sliding tipping doors and windows as well as suitable for such doors or windows fittings are known in various designs.
- a fitting EP 0 231 498 B1 in which two upper opening arms are articulated for an opening or tilting movement of a window or door leaf at the upper area of this wing, with one in a horizontal guide at its other end sliding slider are hingedly connected.
- the two extension arms are additionally connected to each other in the region of their hinged ends connected to the wing via a hinged upper coupling rod to always achieve a parallel position of the upper wing area with the plane of the window frame.
- the coupling rod is seen from the inside of the building arranged in front of the casement.
- the object of the invention is to avoid the disadvantages of known fittings and to further form a fitting of the type mentioned at the beginning, that in a visually appealing appearance, a long, a coupling element or a coupling rod covering cover profile is avoided.
- a fitting according to the patent claim 1 is formed.
- a Parallelschiebekipp window or a Parallelschiebekipp door are designed according to claim 12.
- a special feature of the fitting according to the invention is that the coupling element or the coupling or connecting rod in the upper, i. first guide or in which this guide forming guide rail is received, and connects the two first guide elements together. This makes it possible to provide the coupling element optically not or hardly visible without a cover profile. Furthermore omitted in this training, additional joints between the coupling element and the upper Ausstellarmen.
- the fitting according to the invention represents a particularly cost-effective solution, namely by the saving of the cover profile and by avoiding additional joints for the coupling rod.
- the fitting according to the invention fulfills the requirements of a modern window and door design with the objective that as little as possible of the fitting used in each case is visible.
- 1 is a building window with a floor or frame 2, with a provided in the frame 2, the fixed-field glazing 3 having fixed field and a wing 4.
- the substantially consisting of the sash 5 with the glazing 6 wings is provided by means of a Parallelschiebekipp fitting on the frame 2 such that the wing 4 from its closed position shown in Figure 1, in which it closes the laterally formed by the fixed field in the frame window opening, by moving perpendicular to the window and wing level (Ausstell Gay) in a Ausstelllage ( Figure 3) and then by moving parallel to the window plane in an open position is movable, in which the wing 5 is seen from the inside of the building ago in front of the fixed-field glazing 3.
- the wing 4 is tiltable, for example, for venting from its closed position, as shown in Figure 2.
- Parallelschiebekipp fitting includes u.a. a carriage assembly, which is provided in the region of the underside of the lower horizontal Holmes 5.1 of the sash 5 and consists essentially of two spaced-apart carriage 8.
- Each carriage 8 has a carriage element 9, which is guided with carriage rollers in a lower, horizontal running or guide rail 10 at the lower, horizontal portion 2.1 of the frame 2 and hinged at one end of a lower extension arm 11.
- the other end of each stay arm 11 is pivotally connected to a bearing element 12, with which the respective carriage 8 is attached to the spar 5.1.
- the two carriage elements 9 are connected to each other via a lower coupling rod 13, so that the two extension arms 11, the coupling rod 13, the bearing elements 12 and the joints at the ends of the extension arms 11 form a lower articulated parallelogram. About this is always guaranteed a parallel position of the lower portion of the wing 5 with the plane of the frame in the wing movement perpendicular to the window plane.
- each bearing element 14 is fastened to the sash frame 5 using suitable fastening means, eg screws on its leg 14.
- each Ausstellarms 16 is provided with a pivot pin 17 which engages with ready mounted Parallelschiebekipp fitting in a bearing or joint opening 18 of a slider 19 and there about the longitudinal axis of the pivot pin 17 and also within certain limits about axes radially to this Longitudinal axis is tilted.
- the pivot pin 17 is releasably retained in the hinge opening 18, in the illustrated embodiment, characterized in that the pivot pin 17 at its reaching into the hinge opening 18 end has an annular groove 17.1, which is engaged behind in the joint opening 18 locked pivot pin 17 provided by a slider 19 and actuated by an eccentric 20 locking slide 21, as is also indicated in the figure 7 with broken lines.
- the locking slide 21 has a keyhole-shaped opening 21.1, whose area of greater width corresponds to the outer diameter of the pivot pin 17 and whose area of smaller width corresponds to the diameter of the pivot pin 17 in the region of the annular groove 17.1.
- the slider 19 designed as a narrow cuboid is formed in two parts in the illustrated embodiment, namely consisting of the one shown in FIGS and 7 lower, elongated and on the outer contour approximately parallelepiped sliding part 19.1, in which also the joint opening 18, the eccentric 20 and the locking slide 21 are provided, and from the upper sliding part 19.2 in Figures 5 and 7, which is designed like a strip and mounted slider 19 engages with integrally formed, preferably also designed as detents projections or pins 22 in openings 23 of the slider part 19.1.
- the openings 23 are each provided in pairs at the two ends of the slide part 19.1 and serve, inter alia, to form on the underside of the slide part 19.1 at the two ends of this slider part in each case two spring-like, rounded tongues 24, which will be described in more detail below Way forms a resilient investment or leadership for the respective slider 19 on the two slider longitudinal sides.
- the slide part 19.2 After the attachment of the slide part 19.2 at the top of the slide part 19.1 u.a. also closed the locking slide 21 and for the most part also the eccentric 20 receiving interior of the slide part 19.1.
- the slide part 19.2 is then adjacent to one end of one end of the slide part 19.1.
- the slide part 19.2 protrudes beyond the relevant end of the slide part 19.1 and is there provided with an integrally formed, block-like connecting piece 25 which is located at mounted slide part 19.2 in front of the relevant end or in front of the relevant end face of the slide part 19.1.
- the connector 25 is shaped so that it forms at least on the two longitudinal sides of this slider with respect to the outer contour of the continuation or approximately the continuation of the slider part 19.1 at fully assembled slider 19.
- a bore 26 is provided, which is arranged with its axis parallel to the longitudinal axis of the slider 19 and in the illustrated embodiment, both on the sliding part 19.1 side facing, and on the side facing away from the slider part of the attachment piece 25 is open.
- a clamping screw 27 extending into the bore 26 is furthermore provided.
- the two sliders 19 are slidably received in a common horizontal guide rail 28 in the longitudinal direction of this rail.
- the guide rail 28 is attached to the upper, horizontal part or spar 2.2 of the frame 2 resting, on the building interior facing surface.
- the guide rail is formed by a C-profile, which is open at its underside of the building window 1 facing bottom.
- the two sliders 19 are each received in this guide rail so that the underside of the slide part 19.1 is located on the lower open side of the guide rail 28 and the four tongues 24 each resiliently abut the slot-shaped opening of the guide rail 28 bounding edges 28.1 of this rail , with which among others a noise-free sliding of the slider 19 is ensured in the guide rail 28.
- the two sliders 19 are further arranged in the guide rail 28 that they included completely including their attachment pieces 25 in the guide rail 28 and their provided with the mounting pieces 25 ends facing each other.
- the slider 19 are connected to each other at these ends, and in fact that the connecting rod 29 engages with one end in a bore 26 of a slider 19 and anchored in this bore 26 with the clamping screw 27 by clamping is.
- the clamping screws 27 on the underside of the guide rail 28 in the region of the local slot-shaped opening of the guide rail are accessible.
- the connecting rod 29 is completely received in the guide rail 28. Between the two ends of the connecting rod 29 is still on the connecting rod 29 an additional, also guided in the guide rail 28 guide piece 30, which in particular prevents rattling by hitting the connecting rod 29 on the guide rail 28.
- the two upper extension arms 16 When the wing 4 is closed, the two upper extension arms 16 are oriented with their longitudinal extent parallel or approximately parallel to the longitudinal axis of the guide rail 28 and are located directly below this guide rail. When tilted or flared window, the two extension arms 16 are each oriented with their longitudinal extent obliquely to the longitudinal axis of the guide rail 28, i. the extension arms 16 close with the longitudinal axis of the guide rail 28 an angle less than 90 °.
- the effective length of the extension arms 16, i. the distance between the two hinges on each extension arm 16 is equal to the effective length of the extension arms 11, i. equal to the distance between the two joints on each stay 11.
- the guide rail 28 is, for example, of a length of a metal profile, e.g. formed of an aluminum profile.
- the sliders 19 and their parts 19.1 and 19.2 consisting of a lubricious material, such as a sliding plastic, but with the exception of the eccentric 20 and locking slide 21, which are made of metal.
- the additional guide piece 30 is made of a lubricious material, for example made of plastic and attached, for example by clamping on the connecting rods 29.
- the two-part slider 19 fills the entire cross section of the guide rail 28, so that the slide part 19.1 at the opening edge 28.1 of the guide rail and the slide part 19.2 supported on the bottom 28.2 of the guide rail 28 and thereby an undesirable separation over the pins 22 and openings 23 with each other connected parts 19.1 and 19.2 is prevented.
- the other elements of the Parallelschiebekipp fitting are made of metal, for example made of steel, namely the two upper Ausstellarme 16 and the associated bearing elements 14 of a metal sheet, such as steel.
- the connecting or coupling rod 29 is not optically disturbing visible.
- An additional long cover for the connecting rod 29 is not required. This results for the building window not only a visually appealing appearance in which as little as possible of the Parallelschiebekipp fitting can be seen, but also an overall very inexpensive solution in particular by saving material.
- cover elements or caps not shown, made of a suitable material, for example of plastic.
- the two-part design of the slider 19 has the advantage that such fittings, which have only the slider part 19.1 corresponding slider can be rebuilt using the slider parts 19.2 and the coupling rod 29 in the context of the invention.
Landscapes
- Engineering & Computer Science (AREA)
- Mechanical Engineering (AREA)
- Wing Frames And Configurations (AREA)
- Window Of Vehicle (AREA)
- Door And Window Frames Mounted To Openings (AREA)
- Support Devices For Sliding Doors (AREA)
Description
- Die Erfindung bezieht sich auf einen Beschlag gemäß Oberbegriff Patentanspruch 1 sowie auf ein Parallelschiebekipp-Fenster oder eine Parallelschiebekipp-Tür gemäß Oberbegriff Patentanspruch 12.
- Parallelschiebekipp-Türen und -Fenster sowie für derartige Türen oder Fenster geeignete Beschläge sind in verschiedensten Ausführungen bekannt. Bekannt ist dabei speziell ein Beschlag (EP 0 231 498 B1), bei dem für eine Ausstell- oder Kippbewegung eines Fenster- oder Türflügels am oberen Bereich dieses Flügels zwei obere Ausstellarme angelenkt sind, die mit ihrem anderen Ende mit jeweils einem in einer horizontalen Führung verschiebbaren Gleiter gelenkig verbunden sind. Die beiden Ausstellarme sind im Bereich ihrer gelenkig mit dem Flügel verbundenen Enden zusätzlich über eine angelenkte obere Koppelstange miteinander verbunden, um stets eine Parallellage des oberen Flügelbereichs mit der Ebene des Blendrahmens zu erreichen. Die Koppelstange ist von der Gebäudeinnenseite her gesehen vor dem Flügelrahmen angeordnet. Um für den Flügel ein einigermaßen ansprechendes optisches Erscheinungsbild zu erreichen, ist es notwendig, die Koppelstange über ihre gesamte Länge durch ein Abdeckprofil abzudecken. Die Verwendung eines solchen relativ langen Abdeckprofils entspricht aber vielfach nicht den gewünschten Vorstellungen hinsichtlich eines modernen Designs. Nachteilig ist weiterhin auch, dass das recht lange und damit auch teuere Abdeckprofil in unterschiedlichen Längen, Farben und/oder in unterschiedlicher Oberflächenqualität bereit gehalten werden muss, was erhebliche Kosten auch für die Lagerhaltung bedingt. Außerdem sind zum Anlenken der Koppelstange zusätzliche Gelenke an den oberen Ausstellarmen erforderlich.
- Bekannt ist weiterhin auch, bei Parallelschiebekipp-Türen oder -fenster an der Unterseite des Flügelrahmens eine Laufwagenanordnung vorzusehen, und zwar mit wenigstens zwei Laufwagen, die jeweils in einer unteren, horizontalen Führung oder Laufschiene geführt und an einem Ende eines unteren Ausstellarms angelenkt sind, der dann seinerseits an seinem anderen Ende an einem mit dem Flügelrahmen verbundenen Lager schwenkbar befestigt ist. Die beiden Laufwagen der Laufwagenanordnung sind durch eine untere Koppelstange miteinander verbunden, um stets eine Parallellage des unteren Flügelbereichs mit der Ebene des Blendrahmens zu erreichen.
- Aufgabe der Erfindung ist es, die Nachteile bekannter Beschläge zu vermeiden und einen Beschlag der Eingangs erwähnten Art derart weiter zu bilden, dass bei einem optisch ansprechenden Erscheinungsbild ein langes, ein Koppelelement oder eine Koppelstange abdeckendes Abdeckprofil vermieden ist. Zur Lösung dieser Aufgabe ist ein Beschlag entsprechend dem Patentanspruch 1 ausgebildet.
- Ein Parallelschiebekipp-Fenster oder eine Parallelschiebekipp-Tür sind entsprechend dem Patentanspruch 12 ausgeführt.
- Eine Besonderheit des erfindungsgemäßen Beschlages besteht darin, dass das Koppelelement bzw. die Koppel- oder Verbindungsstange in der oberen, d.h. ersten Führung oder in der diese Führung bildenden Führungsschiene aufgenommen ist, und die beiden ersten Führungselemente miteinander verbindet. Hierdurch ist es möglich, das Koppelelement ohne ein Abdeckprofil optisch nicht oder kaum sichtbar vorzusehen. Weiterhin entfallen bei dieser Ausbildung auch zusätzliche Gelenke zwischen dem Koppelelement und den oberen Ausstellarmen.
- Der erfindungsgemäße Beschlag stellt insgesamt eine besonders preisgünstige Lösung dar, und zwar u.a. durch die Einsparung des Abdeckprofils sowie durch die Vermeidung von zusätzlichen Gelenken für die Koppelstange. Der erfindungsgemäße Beschlag erfüllt die Vorstellungen eines modernen Fenster- und Türdesigns mit der Zielsetzung, dass von dem jeweils verwendeten Beschlag möglichst wenig sichtbar ist.
- Die Erfindung wird im Folgenden anhand der Figuren am Beispiel eines Parallelschiebekipp-Fensters näher erläutert. Es zeigen:
- Fig. 1
- das Gebäudefenster in Draufsicht und von der Gebäudeinnenseite her gesehen;
- Fig. 2 und 3
- das Gebäudefenster der Figur 1 in Seitenansicht, und zwar im gekippten Zustand (Figur 2) sowie in einer Verschiebeposition (Fig. 3);
- Fig. 4
- in perspektivischer Teildarstellung das Gebäudefenster im gekippten Zustand, und zwar im oberen Bereich des Stock-oder Blendrahmens sowie des Flügelrahmens;
- Fig. 5
- in perspektivischer Explosionsdarstellung die beiden Teile eines zweiteiligen, als Gleiter ausgeführten Führungselementes der oberen Führung des Parallelschiebekipp-Beschlages des Gebäudefensters der Figuren 1 - 4;
- Fig. 6 und 7
- den Gleiter der Figur 5 im zusammengebauten Zustand in einer Unteransicht sowie in Seitenansicht;
- Fig. 8
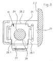
- einen Schnitt durch eine die obere Führung bildende Führungsschiene mit einem Gleiter und mit der oberen Koppelstange.
- In den Figuren ist 1 ein Gebäudefenster mit einem Stock- oder Blendrahmen 2, mit einem in dem Blendrahmen 2 vorgesehenen, die Festfeld-Verglasung 3 aufweisenden Festfeld und mit einem Flügel 4. Der im Wesentlichen aus dem Flügelrahmen 5 mit der Verglasung 6 bestehende Flügel 4 ist mittels eines Parallelschiebekipp-Beschlages am Blendrahmen 2 derart vorgesehen, dass der Flügel 4 aus seiner in der Figur 1 dargestellten Schließstellung, in der er die seitlich von dem Festfeld im Blendrahmen gebildete Fensteröffnung verschließt, durch Bewegen senkrecht zur Fenster- und Flügelebene (Ausstellbewegung) in eine Ausstelllage (Figur 3) und dann durch Verschieben parallel zur Fensterebene in eine geöffnete Stellung bewegbar ist, in der sich der Flügel 5 von der Innenseite des Gebäudes her gesehen vor der Festfeld-Verglasung 3 befindet. Weiterhin ist der Flügel 4 beispielsweise zum Lüften aus seiner geschlossenen Stellung kippbar, wie dies in der Figur 2 dargestellt ist.
- Der über einen Handgriff 7 betätigbare Parallelschiebekipp-Beschlag umfasst u.a. eine Laufwagenanordnung, die im Bereich der Unterseite des unteren horizontalen Holmes 5.1 des Flügelrahmens 5 vorgesehen ist und im Wesentlichen aus zwei von einander beabstandeten Laufwagen 8 besteht. Jeder Laufwagen 8 besitzt ein Laufwagenelement 9, welches mit Laufwagenrollen in einer unteren, horizontalen Lauf- oder Führungsschiene 10 am unteren, horizontalen Bereich 2.1 des Blendrahmens 2 geführt und an einem Ende eines unteren Ausstellarms 11 angelenkt ist. Das andere Ende jedes Ausstellarms 11 ist gelenkig mit einem Lagerelement 12 verbunden, mit dem der betreffende Laufwagen 8 an dem Holm 5.1 befestigt ist. Die beiden Laufwagenelemente 9 sind über eine untere Koppelstange 13 miteinander verbunden, sodass die beiden Ausstellarme 11, die Koppelstange 13, die Lagerelemente 12 und die Gelenke an den Enden der Ausstellarme 11 ein unteres Gelenkparallelogramm bilden. Über dieses ist bei der Flügelbewegung senkrecht zur Fensterebene stets eine Parallellage des unteren Bereichs des Flügels 5 mit der Ebene des Blendrahmens gewährleistet.
- Am oberen, horizontalen Holm 5.2 des Flügelrahmens 5 sind wiederum voneinander beabstandet und jeweils in der Nähe einer dortigen Ecke des Flügelrahmens 5 zwei Lagerelemente 14 am Flügelrahmen 5 befestigt. Die beiden Lagerelemente 14 bestehen bei der dargestellten Ausführungsform jeweils im Wesentlichen aus einem plattenförmigen Abschnitt 14.1 und einem Schenkel 14.2, der über die Unterseite des plattenförmigen Abschnittes 14.1 derart wegsteht, dass jedes Lagerelement 14 mit einem Teil des plattenförmigen Abschnittes 14.1 und dem Schenkel 14.2 ein Winkelstück bildet, mit dem das Lagerelement den oberen, an der Gebäudeinnenseite befindlichen Rand des Holmes 5.2 übergreift, und zwar bei gegen die Innenseite des Flügelrahmens 5 anliegendem Schenkel 14.2. Jedes Lagerelement 14 ist unter Verwendung von geeigneten Befestigungsmitteln, z.B. Schrauben an seinem Schenkel 14.2 und/oder an dem am oberen Rand des Flügelrahmens 5 anliegenden Teil des Abschnittes 14.1 am Flügelrahmen 5 befestigt. Der in einer Ebene senkrecht oder etwa senkrecht zur Ebene des Flügels 4 orientierte plattenförmige Abschnitt 14.1 steht mit einem Teilabschnitt über die Ebene der Innenfläche des Flügelrahmens 5 vor. An diesem Teilabschnitt ist mit Gelenkbolzen 15 an jedem Lagerelement 14 ein Ende eines oberen Ausstellarms 16 angelenkt.
- Das andere Ende jedes Ausstellarms 16 ist mit einem Gelenkzapfen 17 versehen, welcher bei fertig montiertem Parallelschiebekipp-Beschlag in eine Lager- oder Gelenköffnung 18 eines Gleiters 19 eingreift und dort um die Längsachse des Gelenkzapfens 17 drehbar sowie auch in gewissen Grenzen um Achsen radial zu dieser Längsachse kippbar ist. U.a. zur Vereinfachung der Montage des Flügels 4 am Blendrahmen 2 und/oder zum Abnehmen dieses Flügels für Reparaturzwecke ist der Gelenkzapfen 17 lösbar in der Gelenköffnung 18 gehalten, und zwar bei der dargestellten Ausführungsform dadurch, dass der Gelenkzapfen 17 an seinem in die Gelenköffnung 18 hineinreichenden Ende eine Ringnut 17.1 aufweist, die bei in der Gelenköffnung 18 verriegeltem Gelenkzapfen 17 von einem im Gleiter 19 vorgesehenen und durch einen Exzenter 20 betätigbarer Verriegelungsschieber 21 hintergriffen wird, wie dies auch in der Figur 7 mit unterbrochenen Linien angedeutet ist. Der Verriegelungsschieber 21 besitzt eine schlüssellochförmige Öffnung 21.1, deren Bereich größerer Breite dem Außendurchmesser des Gelenkszapfens 17 und deren Bereich kleinerer Breite dem Durchmesser des Gelenkzapfens 17 im Bereich der Ringnut 17.1 entspricht. In der einen Stellung des Schiebers 21, in der die schlüssellochförmige Öffnung 21.1 mit ihrem Bereich größerer Breite deckungsgleich mit der Gelenköffnung 18 liegt, ist also ein Einführen und Entfernen des Gelenkzapfens 17 in die bzw. aus der Gelenköffnung 18 möglich ist. In der anderen Stellung des Schiebers 21, in der die schlüssellochförmige Öffnung 21.1 mit ihrem Bereich kleinerer Breite deckungsgleich mit der Gelenköffnung 18 liegt, ist der Gelenkzapfen 17 durch die von dem Verriegelungsschieber 21 hintergriffene Ringnut 17.1 am Gleiter 19 verriegelt. Der Exzenter 20 und der Verriegelungsschieber 21 sind in einer Ausnehmung im Gleiter 19 untergebracht.
- Der als schmaler Quader ausgeführte Gleiter 19 ist bei der dargestellten Ausführungsform zweiteilig ausgebildet, und zwar bestehend aus dem in den Figuren 5 und 7 unteren, langgestreckten und an der Außenkontur etwa quaderförmigen Gleiterteil 19.1, in welchem auch die Gelenköffnung 18, der Exzenter 20 und der Verriegelungsschieber 21 vorgesehen sind, und aus dem in den Figuren 5 und 7 oberen Gleiterteil 19.2, welches leistenartig ausgebildet ist und bei montiertem Gleiter 19 mit angeformten, vorzugsweise auch als Rasten ausgebildeten Vorsprüngen oder Zapfen 22 in Öffnungen 23 des Gleiterteils 19.1 eingreift. Die Öffnungen 23 sind jeweils paarweise an den beiden Enden des Gleiterteils 19.1 vorgesehen und dienen u.a. auch dazu, um an der Unterseite des Gleiterteils 19.1 an den beiden Enden dieses Gleiterteils jeweils zwei federblattartige, gerundete Zungen 24 zu formen, die in der nachstehend noch näher beschriebenen Weise eine federnde Anlage- oder Führung für den jeweiligen Gleiter 19 an den beiden Gleiter-Längsseiten bildet.
- Nach der Befestigung des Gleiterteils 19.2 an der Oberseite des Gleiterteils 19.1 ist u.a. auch der den Verriegelungsschieber 21 und größtenteils auch den Exzenter 20 aufnehmende Innenraum des Gleiterteils 19.1 verschlossen. Das Gleiterteil 19.2 liegt dann mit einem Ende dem einen Ende des Gleiterteils 19.1 benachbart. Mit dem anderen Ende steht das Gleiterteil 19.2 über das betreffende Ende des Gleiterteils 19.1 vor und ist dort mit einem angeformten, klotzartigen Verbindungsstück 25 versehen, welches sich bei montiertem Gleiterteil 19.2 vor dem betreffenden Ende bzw. vor der betreffenden Stirnseite des Gleiterteils 19.1 befindet. Bei der dargestellten Ausführungsform ist das Verbindungsstück 25 so geformt, dass es bei fertig montiertem Gleiter 19 zumindest an den beiden Längsseiten dieses Gleiters in Bezug auf die Außenkontur die Fortsetzung oder in etwa die Fortsetzung des Gleiterteils 19.1 bildet.
- Im Befestigungsstück 25 ist eine Bohrung 26 vorgesehen, die mit ihrer Achse parallel zur Längsachse des Gleiters 19 angeordnet und bei der dargestellten Ausführungsform sowohl an der dem Gleiterteil 19.1 zugewandten Seite, als auch an der diesem Gleiterteil abgewandten Seite des Befestigungsstücks 25 offen ist. An der Unterseite des Befestigungsstücks 25 ist weiterhin eine in die Bohrung 26 hineinreichende Klemmschraube 27 vorgesehen.
- Die beiden Gleiter 19 sind in einer gemeinsamen horizontalen Führungsschiene 28 in Längsrichtung dieser Schiene verschiebbar aufgenommen. Die Führungsschiene 28 ist am oberen, horizontalen Teil oder Holm 2.2 des Blendrahmens 2 aufliegend befestigt, und zwar an der dem Gebäudeinnenraum zugewandten Fläche. Bei der dargestellten Ausführungsform ist die Führungsschiene von einem C-Profil gebildet, welches an seiner der Unterseite des Gebäudefensters 1 zugewandten Unterseite offen ist.
- Die beiden Gleiter 19 sind in dieser Führungsschiene jeweils so aufgenommen, dass sich die Unterseite des Gleiterteils 19.1 an der unteren offenen Seite der Führungsschiene 28 befindet und die insgesamt vier Zungen 24 jeweils an den die schlitzförmige Öffnung der Führungsschiene 28 begrenzenden Rändern 28.1 dieser Schiene federnd anliegen, womit u.a. ein geräuschfreies Gleiten der Gleiter 19 in der Führungsschiene 28 gewährleistet ist. Die beiden Gleiter 19 sind weiterhin so in der Führungsschiene 28 angeordnet, dass sie einschließlich ihrer Befestigungsstücke 25 vollständig in der Führungsschiene 28 aufgenommen und ihre mit den Befestigungsstücken 25 versehenen Enden einander zugewandt sind. Durch eine obere Koppel- oder Verbindungsstange 29 sind die Gleiter 19 an diesen Enden miteinander verbunden, und zwar dadurch, dass die Verbindungsstange 29 mit jeweils einem Ende in eine Bohrung 26 eines Gleiters 19 eingreift und in dieser Bohrung 26 mit der Klemmschraube 27 durch Festklemmen verankert ist. Ebenso wie die beiden Exzenter 20 sind auch die Klemmschrauben 27 an der Unterseite der Führungsschiene 28 im Bereich der dortigen schlitzförmigen Öffnung der Führungsschiene zugängig.
- Die Verbindungsstange 29 ist in der Führungsschiene 28 vollständig aufgenommen. Zwischen den beiden Enden der Verbindungsstange 29 befindet sich auf der Verbindungsstange 29 noch ein zusätzliches, ebenfalls in der Führungsschiene 28 geführtes Führungsstück 30, welches insbesondere ein Klappern durch Anschlagen der Verbindungsstange 29 an der Führungsschiene 28 verhindert. Die Ausstellarme 16, die über die Verbindungsstange 29 miteinander verbundenen Gleiter 19, die Lagerelemente 14 und die Gelenke an den beiden Enden der Ausstellarme 16 bilden ein oberes Gelenkparallelogramm, welches im oberen Bereich des Flügels 4 beim Kippen sowie beim Bewegen dieses Flügels senkrecht zur Fensterebene jeweils eine eindeutige Positionierung bzw. eine eindeutige Parallellage des Flügels 4 zur Fensterebene sicherstellt.
- Bei geschlossenem Flügel 4 sind die beiden oberen Ausstellarme 16 mit ihrer Längserstreckung parallel oder in etwa parallel zur Längsachse der Führungsschiene 28 orientiert und befinden sich unmittelbar unterhalb dieser Führungsschiene. Bei gekipptem oder ausgestelltem Fenster sind die beiden Ausstellarme 16 mit ihrer Längserstreckung jeweils schräg zur Längsachse der Führungsschiene 28 orientiert, d.h. die Ausstellarme 16 schließen mit der Längsachse der Führungsschiene 28 einen Winkel kleiner als 90° ein. Bei der dargestellten Ausführungsform sind die wirksame Länge der Ausstellarme 16, d.h. der Abstand zwischen den beiden Gelenken an jedem Ausstellarm 16 gleich der wirksamen Länge der Ausstellarme 11, d.h. gleich dem Abstand zwischen den beiden Gelenken an jedem Ausstellarm 11.
- Die Führungsschiene 28 ist beispielsweise von einer Länge eines Metallprofils, z.B. eines Aluminiumprofils gebildet. Die Gleiter 19 bzw. deren Teile 19.1 und 19.2 bestehend aus einem gleitfähigen Material, beispielsweise aus einem gleitfähigem Kunststoff, allerdings mit Ausnahme der Exzenter 20 und Verriegelungsschieber 21, die aus Metall gefertigt sind. Ebenso ist das zusätzliche Führungsstück 30 aus einem gleitfähigen Material, beispielsweise aus Kunststoff gefertigt und beispielsweise durch Festklemmen an der Verbindungsstangen 29 befestigt.
- Der zweiteilige Gleiter 19 füllt den gesamten Querschnitt der Führungsschiene 28 aus, so dass sich das Gleiterteil 19.1 am Öffnungsrand 28.1 der Führungsschiene und das Gleiterteil 19.2 am Boden 28.2 der Führungsschiene 28 abstützen und hierdurch ein unerwünschtes Trennen der über die Zapfen 22 und Öffnungen 23 mit einander verbundenen Teile 19.1 und 19.2 verhindert ist.
- Die übrigen Elemente des Parallelschiebekipp-Beschlages sind aus Metall, beispielsweise aus Stahl gefertigt, und zwar die beiden oberen Ausstellarme 16 und die zugehörigen Lagerelemente 14 aus einem Metallblech, beispielsweise Stahlblech.
- Durch die Aufnahme der Verbindungsstange 29 in der Führungsschiene 28 ist die Verbindungs- oder Koppelstange 29 optisch nicht störend sichtbar. Eine zusätzliche lange Abdeckung für die Verbindungsstange 29 ist nicht erforderlich. Hierdurch ergibt sich für das Gebäudefenster nicht nur ein optisch besonders ansprechendes Erscheinungsbild, bei dem möglichst wenig von dem Parallelschiebekipp-Beschlag zu sehen ist, sondern auch eine insgesamt sehr preisgünstige Lösung insbesondere durch Materialeinsparung. Zur Verbesserung des optischen Erscheinungsbildes ist es aber möglich, die Lagerelemente 14 durch nicht dargestellte Abdeckelemente oder -kappen aus einem geeigneten Material, beispielsweise aus Kunststoff abzudecken.
- Die zweiteilige Ausbildung der Gleiter 19 hat den Vorteil, dass solche Beschläge, die nur dem Gleiterteil 19.1 entsprechende Gleiter aufweisen, unter Verwendung der Gleiterteile 19.2 und der Koppelstange 29 im Sinne der Erfindung umgebaut werden können.
- Die Erfindung wurde voranstehend an einem Ausführungsbeispiel beschrieben. Es versteht sich, dass zahlreiche Änderungen sowie Abwandlungen möglich sind, ohne dass dadurch der der Erfindung zugrunde liegende Erfindungsgedanke verlassen wird. Weiterhin ist es möglich, den beschriebenen Parallelschiebekipp-Beschlag auch für eine Gebäudetür zu verwenden, d.h. eine Parallelschiebekipp-Tür in gleicher Weise auszubilden, wie dies vorstehend für das Gebäudefenster 1 beschrieben wurde, wobei dann allenfalls die Beschlagelemente einem höheren Gewicht einer Gebäudetür entsprechend verstärkt ausgeführt sind.
-
- 1
- Gebäudefenster
- 2
- Blendrahmen
- 2.1
- unterer, horizontaler Bereich des Blendrahmens
- 2.2
- oberer, horizontaler Abschnitt des Blendrahmens
- 3
- Festfeldverglasung
- 4
- Parallelschiebekipp-Flügel
- 5
- Flügelrahmen
- 5.1
- unterer, horizontaler Holm des Flügelrahmens
- 5.2
- oberer, horizontaler Holm des Flügelrahmens
- 6
- Verglasung
- 7
- Hebel
- 8
- Laufwagen
- 9
- Laufwagenelement
- 10
- untere, horizontale Führungs- oder Laufschiene
- 11
- unterer Ausstellarm
- 12
- Lagerelement
- 13
- untere, horizontale Koppelstange
- 14
- Lagerelement
- 14.1
- plattenförmiger Abschnitt des Lagerelementes 14
- 14.2
- Schenkel des Lagerelementes 14
- 15
- Gelenk
- 16
- oberer Ausstellarm
- 17
- Gelenkzapfen
- 17.1
- Ringnut
- 18
- Gelenköffnung
- 19
- Gleiter
- 19.1, 19.2
- Teil des Gleiters 19
- 20
- Exzenter
- 21
- Verriegelungsschieber
- 21.1
- Schlüssellochöffnung im Verriegelungsschieber
- 22
- Vorsprung
- 23
- Öffnung
- 24
- federnde Zunge
- 25
- Befestigungsabschnitt
- 26
- Bohrung
- 27
- Klemmschraube
- 28
- obere Führungsschiene
- 28.1
- Rand der Führungsschiene
- 28.2
- Boden der Führungsschiene
- 29
- obere, horizontale Koppelstange
- 30
- zusätzliches Führungsstück
Claims (12)
- Beschlag für eine Ausstell- und Kippbewegung eines Flügels eines Gebäudefensters oder einer Gebäudetür, insbesondere eines Parallelschiebekipp-Fensters oder einer Parallelschiebekipp-Tür, mit wenigstens zwei im Bereich der Oberseite eines Flügelrahmens (5) mit jeweils einem Ende anlenkbaren ersten Austellarmen (16), die mit ihrem anderen Ende jeweils an einem Führungselement (19) angelenkt sind, welches in einer an einem Blendrahmen (2) des Fensters oder der Tür befestigbaren ersten Führung (28) verschiebbar angeordnet ist, dadurch gekennzeichnet, dass die beiden Führungselemente (19) durch ein in der ersten Führung (28) aufgenommenes Koppelglied (29) miteinander verbunden sind, sodass bei montiertem Beschlag die Gelenke der ersten Ausstellarme (16) die Eckpunkte eines Gelenkvierecks oder Gelenkparallelogramm bilden.
- Beschlag nach Anspruch 1, dadurch gekennzeichnet,
dass das Koppelelement eine in der ersten Führung (28) aufgenommene Koppel- oder Verbindungsstange (29) ist,
und/oder
dass die ersten Führungselemente Gleiter oder Gleitstücke (19) sind, die in der ersten Führung (28) formschlüssig aber in Längsrichtung dieser Führung gleitend aufgenommen sind. - Beschlag nach Anspruch 1 oder 2, dadurch gekennzeichnet,
dass die erste Führung (28) an der einer Gebäudeinnenseite zugewandten Seite des Blendrahmens (2) aufliegend befestigbar ist;
und/oder
dass die erste Führung eine Führungsschiene (28), beispielsweise eine im Querschnitt als C-Profil ausgebildete Führungsschiene (28) ist. - Beschlag nach einem der vorhergehenden Ansprüche, dass das jeweilige erste Führungselement (19) aus einem gleitfähigen Material, beispielsweise aus einem Kunststoff gefertigt ist.
- Beschlag nach einem der vorhergehenden Ansprüche, dadurch gekennzeichnet, dass die Gelenkverbindung zwischen dem jeweiligen ersten Ausstellarm (16) und dem zugehörigen Führungselement (19) lösbar ausgebildet ist,
wobei beispielsweise für die lösbare Verbindung zwischen dem ersten Ausstellarm (16) und dem zugehörigen Führungselement (19) im Führungselement ein Lager (18) mit einer manuell betätigbaren Verriegelungseinrichtung (20, 21, 21 ') für einen Gelenkzapfen (17) am ersten Ausstellarm (16) vorgesehen ist. - Beschlag nach einem der vorhergehenden Ansprüche, dadurch gekennzeichnet, dass die Führungselemente (19) jeweils zweiteilig ausgebildet sind, und dass an einem ersten Teil (19.2) jedes Führungselementes (19) das erste Koppelelement (29) befestigt oder befestigbar ist,
wobei beispielsweise am ersten Teil jedes Führungselementes (19) Mittel (25, 26, 27) zum lösbaren Befestigen des ersten Koppelelementes (29) vorgesehen sind und diese Mittel zum Befestigen z.B. von einer Bohrung (26) mit Klemmmitteln, beispielsweise mit einer Klemmschraube (27) gebildet sind. - Beschlag nach einem der vorhergehenden Ansprüche, dadurch gekennzeichnet, dass im zweiten Teil (19.1) des Führungselementes (19) bzw. in einer in diesem Teil gebildeten Ausnehmung die Verriegelungseinrichtung (20, 21, 21 ') für den Gelenkzapfen (17) am ersten Austellarm (16) vorgesehen sind.
- Beschlag nach einem der vorhergehenden Ansprüche, gekennzeichnet durch Mittel (22, 23) über die die beiden Teile (19.1, 19.2) des zweiteiligen Führungselementes (19) durch Fügen in einer Achsrichtung senkrecht zur Längsachse der ersten Führung (28) formschlüssig miteinander verbunden sind, und dass jedes Führungselement (19) durch die erste Führung (28) derart formschlüssig aufgenommen ist, dass durch diese ein Lösen der Fügeverbindung zwischen den beiden Teilen (19.1, 19.2) des zweiteiligen Führungselementes (19) verhindert ist,
wobei beispielsweise die Mittel von Vorsprüngen und/oder Zapfen (22) sowie von diese Vorsprünge und/oder Zapfen (22) aufnehmenden Ausnehmungen und/oder Öffnungen (23) an den Teilen (19.1, 19.2) gebildet sind. - Beschlag nach einem der vorhergehenden Ansprüche, dadurch gekennzeichnet, dass das jeweilige Führungselement (19) federnde Anlageflächen aufweist, die vorzugsweise durch angeformte Abschnitte oder Zungen (24) gebildet sind.
- Beschlag nach einem der vorhergehenden Ansprüche, dadurch gekennzeichnet, dass er Bestandteil eines Parallelschiebekipp-Beschlages ist, der auch eine an einer Unterseite des Flügels (4) oder des Flügelrahmens (5) zu montierende Laufwagenanordnung mit wenigstens zwei in einer zweiten, unteren Führung (10) geführten und jeweils an einem Ende eines zweiten unteren Aufstellarmes (11) angelenkten Laufwagen (8) aufweist, welche über ein zweites, unteres Koppelelement (13) miteinander verbunden sind,
wobei beispielsweise die wirksame Länge der oberen, ersten Ausstellarme (16) gleich der wirksamen Länge der zweiten, unteren Ausstellarme (11) ist. - Beschlag nach einem der vorhergehenden Ansprüche, dadurch gekennzeichnet, dass am ersten Koppelelement (29) zwischen den beiden Führungselementen (19) ein zusätzliches, in der ersten Führung (28) geführtes Führungselement (30) vorgesehen ist,
wobei beispielsweise das zusätzliche Führungselement (30) ein Gleitstück oder Gleitkörper aus einem gleitfähigen Material, beispielsweise aus Kunststoff ist. - Parallelschiebekipp-Fenster oder Parallelschiebekipp-Tür mit wenigstens einem in einem Stock- oder Blendrahmen (2) angeordneten Flügel (4) und mit einem zwischen dem Flügel (4) oder dessen Flügelrahmen (5) und dem Blendrahmen (2) vorgesehenen Parallelschiebekipp-Beschlag, dadurch gekennzeichnet, dass der Beschlag nach einem der vorhergehenden Ansprüche ausgebildet ist.
Applications Claiming Priority (2)
| Application Number | Priority Date | Filing Date | Title |
|---|---|---|---|
| DE202004000610U DE202004000610U1 (de) | 2004-01-15 | 2004-01-15 | Beschlag für eine Ausstell- und Kippbewegung eines Flügels eines Gebäudefensters oder einer Gebäudetür sowie Parallelschiebekipp-Fenster oder -Tür mit einem solchen Beschlag |
| DE202004000610U | 2004-01-15 |
Publications (2)
| Publication Number | Publication Date |
|---|---|
| EP1555368A1 EP1555368A1 (de) | 2005-07-20 |
| EP1555368B1 true EP1555368B1 (de) | 2006-12-27 |
Family
ID=32240765
Family Applications (1)
| Application Number | Title | Priority Date | Filing Date |
|---|---|---|---|
| EP04014217A Revoked EP1555368B1 (de) | 2004-01-15 | 2004-06-17 | Beschlag für eine Ausstell- und Kippbewegung eines Flügels eines Gebäudefensters oder einer Gebäudetür sowie Parallelschiebekipp-Fenster oder -Tür mit einem solchen Beschlag |
Country Status (3)
| Country | Link |
|---|---|
| EP (1) | EP1555368B1 (de) |
| AT (1) | ATE349593T1 (de) |
| DE (2) | DE202004000610U1 (de) |
Cited By (2)
| Publication number | Priority date | Publication date | Assignee | Title |
|---|---|---|---|---|
| DE202008004292U1 (de) | 2008-03-27 | 2009-08-06 | Siegenia-Aubi Kg | Beschlag für eine Ausstell- und Kippbewegung eines Flügels eines Gebäudefensters oder einer Gebäudetür |
| EP1997989B2 (de) † | 2007-05-10 | 2015-08-26 | HAUTAU GmbH | Gleitelement für Schiebetürführung |
Families Citing this family (5)
| Publication number | Priority date | Publication date | Assignee | Title |
|---|---|---|---|---|
| PL1876319T3 (pl) * | 2006-07-06 | 2015-04-30 | Hautau Gmbh | Prowadnica ślizgowa dla skrzydeł przesuwnych albo skrzydeł przesuwnych z równoległym odstawieniem |
| HUE036727T2 (hu) | 2007-02-15 | 2018-07-30 | Hautau Gmbh | Vasalat ablak vagy ajtó tolószárnyához |
| DE102007022398B3 (de) * | 2007-05-10 | 2008-09-11 | Hautau Gmbh | Ohne Werkzeug montierfähiges Gleiterbauteil |
| EP2546441B1 (de) * | 2011-07-14 | 2017-01-04 | Sunflex Aluminiumsysteme GmbH | Schiebe- und Drehflügelsystem |
| DE102011053809A1 (de) | 2011-09-20 | 2013-03-21 | Hautau Gmbh | Leicht zugänglicher Beschlag zur Einstellung der Sperrkraft |
Family Cites Families (4)
| Publication number | Priority date | Publication date | Assignee | Title |
|---|---|---|---|---|
| DE8603031U1 (de) * | 1986-02-06 | 1986-03-27 | Gretsch-Unitas GmbH Baubeschläge, 7257 Ditzingen | Beschlag für einen wenigstens kippbaren Flügel eines Fensters, einer Tür od. dgl. |
| DE19837193A1 (de) * | 1998-08-17 | 2000-03-02 | Weidtmann Wilhelm Kg | Abstell-Schiebebeschlag für Fenster, Türen o. dgl. |
| ATE294312T1 (de) * | 2000-07-04 | 2005-05-15 | Gretsch Unitas Gmbh | Laufwagen für einen parallelschiebe- und kippbeschlag eines gebäudefensters oder einer gebäudefenstertür sowie gebäudefenster bzw. gebäudefenstertür mit einem solchen parallelschiebe-kippbeschlag |
| DE10037409A1 (de) * | 2000-08-01 | 2002-02-21 | Weidtmann Wilhelm Kg | Schiebebeschlag für Fenster, Türen oder dgl. |
-
2004
- 2004-01-15 DE DE202004000610U patent/DE202004000610U1/de not_active Expired - Lifetime
- 2004-06-17 AT AT04014217T patent/ATE349593T1/de not_active IP Right Cessation
- 2004-06-17 DE DE502004002437T patent/DE502004002437D1/de not_active Expired - Fee Related
- 2004-06-17 EP EP04014217A patent/EP1555368B1/de not_active Revoked
Cited By (3)
| Publication number | Priority date | Publication date | Assignee | Title |
|---|---|---|---|---|
| EP1997989B2 (de) † | 2007-05-10 | 2015-08-26 | HAUTAU GmbH | Gleitelement für Schiebetürführung |
| DE202008004292U1 (de) | 2008-03-27 | 2009-08-06 | Siegenia-Aubi Kg | Beschlag für eine Ausstell- und Kippbewegung eines Flügels eines Gebäudefensters oder einer Gebäudetür |
| EP2105564A2 (de) | 2008-03-27 | 2009-09-30 | Siegenia-Aubi Kg | Beschlag für eine Ausstell- und Kippbewegung eines Flügels eines Gebäudefensters oder einer Gebäudetür |
Also Published As
| Publication number | Publication date |
|---|---|
| ATE349593T1 (de) | 2007-01-15 |
| EP1555368A1 (de) | 2005-07-20 |
| DE202004000610U1 (de) | 2004-04-29 |
| DE502004002437D1 (de) | 2007-02-08 |
Similar Documents
| Publication | Publication Date | Title |
|---|---|---|
| EP0955436A2 (de) | Möbel mit einem durch eine zweiflügelige Faltschiebetür verschliessbaren Korpusteil | |
| DE3601278C2 (de) | Verdeckt im Falz angeordneter Beschlag für Schwenklager, insb. für Kipp-Schwenk-Flügel von Fenster oder Türen | |
| EP1152112A2 (de) | Verstellbare Scharnier-Rahmen-Anordnung | |
| EP2540941A2 (de) | Verdecktes Scharnier für eine Türe oder ahnliche Bauteile | |
| EP2108073A1 (de) | Verdeckt liegender beschlag für ein fenster oder eine tür | |
| DE20108229U1 (de) | Führungseinrichtung für eine Faltschiebetür | |
| EP1555368B1 (de) | Beschlag für eine Ausstell- und Kippbewegung eines Flügels eines Gebäudefensters oder einer Gebäudetür sowie Parallelschiebekipp-Fenster oder -Tür mit einem solchen Beschlag | |
| EP2105564A2 (de) | Beschlag für eine Ausstell- und Kippbewegung eines Flügels eines Gebäudefensters oder einer Gebäudetür | |
| DE3033751C2 (de) | Beschlag für den Schiebeflügel von Fenstern, Türen oder dgl. aus Holz- oder Kunststoffprofilen | |
| EP0531626B1 (de) | Beschlag für insb. zwangsweise kipp- und parallel abstellbare Flügel | |
| EP0487825B1 (de) | Verdeckt angeordneter Beschlag für Drehflügel, insb. für Dreh-Kipp-Flügel von Fenstern oder Türen | |
| EP3480407A1 (de) | Vertikalschiebeelement | |
| EP1243212B1 (de) | Duschtrennwand | |
| EP1234942B1 (de) | Beschlag für ein Fenster, eine Tür oder dergl. | |
| DE3939127C2 (de) | ||
| DE8709299U1 (de) | Verstärkungsteil für den den Schwenkzapfen eines Ausstellarmes tragenden gehäuseartigen Tragteil des unteren Beschlages eines .... | |
| DE2637027A1 (de) | Schraegdachfenster | |
| EP0874102A2 (de) | Dachfenster, insbesondere Schwingflügel-Dachfenster | |
| DE3722094C2 (de) | Leicht montierbarer Beschlag mit Sicherheit gegen Einsteigen | |
| EP1700554B1 (de) | Trennwand | |
| DE19801280A1 (de) | Führungs- und Laufschienenanordnung eines Schwingtors, Decken- oder Seiten-Sektionaltors oder Rundlauftors | |
| DE3031361A1 (de) | Dachfenster, bei dem fluegel und futterkasten ueber einen hilfsrahmen gelenkig verbunden sind | |
| DE1708176B2 (de) | Ausstellvorrichtung für Kippoder Klapp-, Schwing- oder Wendeflügel | |
| EP0429981B1 (de) | Verdeckt im Falz angeordneter Beschlag für Kipp-Schwenk-flügelfenster oder -türen, insb. mit Holzrahmen | |
| EP1813751A1 (de) | Verdeckt liegendes Band |
Legal Events
| Date | Code | Title | Description |
|---|---|---|---|
| PUAI | Public reference made under article 153(3) epc to a published international application that has entered the european phase |
Free format text: ORIGINAL CODE: 0009012 |
|
| AK | Designated contracting states |
Kind code of ref document: A1 Designated state(s): AT BE BG CH CY CZ DE DK EE ES FI FR GB GR HU IE IT LI LU MC NL PL PT RO SE SI SK TR |
|
| AX | Request for extension of the european patent |
Extension state: AL HR LT LV MK |
|
| 17P | Request for examination filed |
Effective date: 20050923 |
|
| GRAP | Despatch of communication of intention to grant a patent |
Free format text: ORIGINAL CODE: EPIDOSNIGR1 |
|
| AKX | Designation fees paid |
Designated state(s): AT DE IT TR |
|
| GRAS | Grant fee paid |
Free format text: ORIGINAL CODE: EPIDOSNIGR3 |
|
| GRAA | (expected) grant |
Free format text: ORIGINAL CODE: 0009210 |
|
| AK | Designated contracting states |
Kind code of ref document: B1 Designated state(s): AT DE IT TR |
|
| REF | Corresponds to: |
Ref document number: 502004002437 Country of ref document: DE Date of ref document: 20070208 Kind code of ref document: P |
|
| PLBI | Opposition filed |
Free format text: ORIGINAL CODE: 0009260 |
|
| PLAX | Notice of opposition and request to file observation + time limit sent |
Free format text: ORIGINAL CODE: EPIDOSNOBS2 |
|
| 26 | Opposition filed |
Opponent name: HAUTAU GMBH Effective date: 20070927 |
|
| PLAF | Information modified related to communication of a notice of opposition and request to file observations + time limit |
Free format text: ORIGINAL CODE: EPIDOSCOBS2 |
|
| PLBB | Reply of patent proprietor to notice(s) of opposition received |
Free format text: ORIGINAL CODE: EPIDOSNOBS3 |
|
| PGFP | Annual fee paid to national office [announced via postgrant information from national office to epo] |
Ref country code: AT Payment date: 20090615 Year of fee payment: 6 Ref country code: IT Payment date: 20090620 Year of fee payment: 6 Ref country code: TR Payment date: 20090528 Year of fee payment: 6 |
|
| PGFP | Annual fee paid to national office [announced via postgrant information from national office to epo] |
Ref country code: DE Payment date: 20090622 Year of fee payment: 6 |
|
| PG25 | Lapsed in a contracting state [announced via postgrant information from national office to epo] |
Ref country code: IT Free format text: LAPSE BECAUSE OF NON-PAYMENT OF DUE FEES Effective date: 20100617 |
|
| PG25 | Lapsed in a contracting state [announced via postgrant information from national office to epo] |
Ref country code: DE Free format text: LAPSE BECAUSE OF NON-PAYMENT OF DUE FEES Effective date: 20110101 |
|
| PG25 | Lapsed in a contracting state [announced via postgrant information from national office to epo] |
Ref country code: AT Free format text: LAPSE BECAUSE OF NON-PAYMENT OF DUE FEES Effective date: 20100617 |
|
| RDAF | Communication despatched that patent is revoked |
Free format text: ORIGINAL CODE: EPIDOSNREV1 |
|
| RDAG | Patent revoked |
Free format text: ORIGINAL CODE: 0009271 |
|
| STAA | Information on the status of an ep patent application or granted ep patent |
Free format text: STATUS: PATENT REVOKED |
|
| 27W | Patent revoked |
Effective date: 20110708 |