EP1553291A2 - Hubkolbenmaschine - Google Patents

Hubkolbenmaschine Download PDF

Info

Publication number
EP1553291A2
EP1553291A2 EP04405737A EP04405737A EP1553291A2 EP 1553291 A2 EP1553291 A2 EP 1553291A2 EP 04405737 A EP04405737 A EP 04405737A EP 04405737 A EP04405737 A EP 04405737A EP 1553291 A2 EP1553291 A2 EP 1553291A2
Authority
EP
European Patent Office
Prior art keywords
piston
control ring
recess
engine according
pistons
Prior art date
Legal status (The legal status is an assumption and is not a legal conclusion. Google has not performed a legal analysis and makes no representation as to the accuracy of the status listed.)
Granted
Application number
EP04405737A
Other languages
English (en)
French (fr)
Other versions
EP1553291A3 (de
EP1553291B1 (de
Inventor
Peter Kuhn
Current Assignee (The listed assignees may be inaccurate. Google has not performed a legal analysis and makes no representation or warranty as to the accuracy of the list.)
Obrist Engineering GmbH
ixetic Bad Homburg GmbH
Visteon Global Technologies Inc
Original Assignee
Obrist Engineering GmbH
LuK Fahrzeug Hydraulik GmbH and Co KG
ixetic Bad Homburg GmbH
Visteon Global Technologies Inc
Priority date (The priority date is an assumption and is not a legal conclusion. Google has not performed a legal analysis and makes no representation as to the accuracy of the date listed.)
Filing date
Publication date
Application filed by Obrist Engineering GmbH, LuK Fahrzeug Hydraulik GmbH and Co KG, ixetic Bad Homburg GmbH, Visteon Global Technologies Inc filed Critical Obrist Engineering GmbH
Publication of EP1553291A2 publication Critical patent/EP1553291A2/de
Publication of EP1553291A3 publication Critical patent/EP1553291A3/de
Application granted granted Critical
Publication of EP1553291B1 publication Critical patent/EP1553291B1/de
Anticipated expiration legal-status Critical
Expired - Lifetime legal-status Critical Current

Links

Images

Classifications

    • FMECHANICAL ENGINEERING; LIGHTING; HEATING; WEAPONS; BLASTING
    • F04POSITIVE - DISPLACEMENT MACHINES FOR LIQUIDS; PUMPS FOR LIQUIDS OR ELASTIC FLUIDS
    • F04BPOSITIVE-DISPLACEMENT MACHINES FOR LIQUIDS; PUMPS
    • F04B1/00Multi-cylinder machines or pumps characterised by number or arrangement of cylinders
    • F04B1/04Multi-cylinder machines or pumps characterised by number or arrangement of cylinders having cylinders in star- or fan-arrangement
    • F04B1/053Multi-cylinder machines or pumps characterised by number or arrangement of cylinders having cylinders in star- or fan-arrangement with actuating or actuated elements at the inner ends of the cylinders

Definitions

  • the invention relates to a reciprocating engine with annular juxtaposed, radially directed piston-cylinder units and with an eccentric shaft extending through a the cylinder enclosing housing body of a machine housing extends and whose eccentric the Ausforcehub the Piston controls, with the inward stroke of the piston by a controlled common, engaging in the piston control ring becomes.
  • a reciprocating piston engine whose pistons radially through an eccentric be moved outward, is known from EP 0088677.
  • the outward stroke of the piston is through an eccentric and a rolling bearing enclosing this mechanically controlled during the inward stroke by the force a spring deformed by the lifting movement takes place, so that They the piston in contact with the outer ring of the bearing holds.
  • Such a spring has u.a. the disadvantage that their arrangement the size of the machine adversely affected.
  • For Their arrangement in the cylinder room also requires a room which acts as a dead space by an almost on the away stroke complete ejection of the medium is prevented.
  • the Machine size mitbe carriedde size of the coupling ring results it thereby by its admission in a itself over the entire Scope of the cylinder block extending, even for his Assembly required large annular channel.
  • This ring channel is used Also, the inclusion of a stop, a lateral ejection prevent the coupling ring from the annular groove of the piston should. Also by the relatively considerable size the dome ring, for which also a design made of wire provided is such a machine for high working speeds not suitable.
  • the radial piston machine 1 has a preferably odd number For example, five piston-cylinder units 2,3, the ring-shaped next to each other, in a common, relatively flat Housing body 4 of a machine housing 5 is arranged are by in the massive material five radially directed, the piston 2 leading cylinder bores 3 incorporated are.
  • the housing body 4 is corresponding The representation in Figure 2 preferably star-shaped and has on the outside five flange 6 for the tight assembly of Exhaust valves 7 and of a discharge line 8 enclosing Cylinder heads 9.
  • the cylinder bores end 3 arranged in a centric to the eccentric shaft 12, smallest possible, circular gear chamber 10, in which the Eccentric 11 of the eccentric shaft 12 with a surrounding him Rolling 13 performs a circulation movement.
  • the outer ring 14 of e.g. Rolling bearing designed as a needle bearing 13 is in constant contact with him, inner end face 15 of the piston 2, so that the circulation movement of the eccentric 11 the pistons 2 consecutive, pushes radially outwards to perform its outward stroke.
  • This coupling causes the control ring 16 by the outward stroke of each piston 2 in order the orbital movement of the eccentric 11 is pulled outwards is and therefore arranged diametrically opposite one another Pulling the piston 2, pulls it inwards, so that it is hers Make an inward stroke.
  • the recess 17 of the piston has the shape of a toward a secant-guided and the cross-sectional shape of the control ring 16 adapted incision, thus parallel to each other Surfaces.
  • the recess 17 from the inner End face 15 of the piston 2 a minimum distance, the thickness of a bottom wall 18 of the preferably as a hollow body executed piston 2 corresponds and she is on one limited peripheral region of the piston (2) as a lateral interruption its in cylinder 3 sliding, cylindrical sliding surface executed.
  • five inner control surfaces 20 of the control ring 16 are at least approximately and go over a small, for better distribution of am Control ring 16 forces provided rounding 22 in the circumferentially following inner control surface 20 via, such that the control ring 16 has a polygonal inner contour Has.
  • a slight convex curvature of these control surfaces 20 in the circumferential direction may be advantageous to a load the transversely to the piston axis end boundary edges 61.62 of the contact surfaces 18 counteract.
  • the control ring 16 may extend across the pistons 2 and in this direction unhindered relative to the piston Transverse motion, which is characterized by the in-phase the orbital movement of the eccentric 11 taking place control movement results. In this case, slide his inner control surfaces 20 on the respective inner bottom wall 18 of the five pistons 2. In addition allow the laterally open recesses 17 of the piston. 2 when assembling the machine a simple assembly of the moving components.
  • control ring 16 has five circular arc-shaped parts 21st a cylindrical surface, each through a recess 23 of the Control ring 16 are limited. These five recesses 23 form in each case an inflow opening to the through the recess 17th laterally open, cylindrical interior 24 of the piston. 2
  • the recesses 23 are arranged such that they as shown in Fig.3 on a lateral Part of the respective engagement region of the control ring 16 extend, and the inflow into the piston recess 17th accordingly laterally and thereby tangentially in the cylindrical Interior 24 of the piston 2 takes place.
  • the diaphragm 33 of a check valve 31 by means of its edge 35 e.g. by welding attached.
  • the membrane 33 has a central locking part 32 and three extending from this arcuate to the membrane edge 35 Web portions 34, so that the web portions 34 spring elements form for the lifting movement of the closing part 32.
  • connection blocks 39 From the cylindrical work chambers 3, the working medium flows in connection blocks 39, the connection via connecting channels 40 to a the machine housing 5 enclosing manifold 41 produce. Through this outside the housing body. 4 Attached terminal blocks are the plate-shaped parts of the Cylinder heads 9 under prestress close to the housing body. 4 held.
  • the eccentric shaft 12 is in the machine housing 5 and its bell-shaped housing body 50 by two bearings 42,43 stored.
  • a drive-side sealing arrangement 44 seals the Housing interior 45 axially outward, while the free, the eccentric 11 and a balance weight 46 supporting shaft end 47 in a housing space 48 ends, by a flanged Housing cover 49 is closed.
  • a compensation channel through the eccentric shaft extend through.
  • the inflow of the working medium in the reciprocating engine. 1 takes place via at least one bell-shaped second housing block 50 radially connected connection piece 51. Subsequently flows through it according to the illustration in 5 in the housing inner wall 52 provided axial channels 53,54 and encounters a rotating with the eccentric shaft 11 Baffle 55, at which a lubricant in the gaseous Operating medium is deposited. The flow continues by flow around the baffle plate 55 and a gap 56th between the baffle plate and the housing body 50 to the centric arranged to the housing and shaft axis 57 and circular Gear chamber 10 of the housing body 4, in which the eccentric 11 rotates so that the operating medium from the end Housing chamber 48 in the manner previously described in the piston 2 can flow.
  • the reciprocating piston engine 1 is particularly suitable as a compressor of a CO 2 air conditioning system for installation in the engine compartment of a motor vehicle. Furthermore, the essential components of the invention of the machine are designed so that they can be produced in a simple manner and mounted to each other.
  • the pistons 2 are made two telescopically nested parts and before her Association is at one of these parts, i. the piston bottom 29 having part, the valve diaphragm 33 attached and on the other part the recess 17 by a lateral milling produced.
  • the piston bottom 29 having part, the valve diaphragm 33 attached and on the other part the recess 17 by a lateral milling produced.
  • a reciprocating piston engine 1 according to the invention is for high rotational speeds of more than 10 000 rpm, so that the Balancing the eccentric shaft 12 and the rotating with it Components, i.a. by the balance weight 46 and e.g. a recess 60 on the co-rotating baffle plate 55 of is of particular importance.

Landscapes

  • Engineering & Computer Science (AREA)
  • Mechanical Engineering (AREA)
  • General Engineering & Computer Science (AREA)
  • Compressors, Vaccum Pumps And Other Relevant Systems (AREA)
  • Reciprocating Pumps (AREA)
  • Details Of Reciprocating Pumps (AREA)
  • Valve Device For Special Equipments (AREA)
  • Lubrication Of Internal Combustion Engines (AREA)

Abstract

Die Hubkolbenmaschine (1) hat ringförmig nebeneinander angeordnete, radial gerichtete Kolben-Zylindereinheiten (2,3). Der Auswärtshub der Kolben (2) wird durch den Exzenter (11) einer gemeinsamen Exzenterwelle (12) gesteuert, während ihr Einwärtshub durch einen Steuerring (16) gesteuert wird, der in eine seitliche, in Richtung einer Sekante verlaufende, einer Querschnittsform des Steuerringes (16) angepasste Aussparung (17) jedes Kolbens (2) eingreift. Die Aussparung (17) wird durch eine Bodenwand des Kolbens (2) begrenzt, mit der der Steuerring (16) über eine innere Steuerfläche (20) in steuerndem Gleitkontakt steht. Die Kolben (2) sind hohl ausgeführt und tragen an ihrer Stirnseite die Membran eines Membranventils. Die Hubkolbenmaschine (1) hat somit eine besonders kompakte Bauweise und ist hoch belastbar, so dass sie sich besonders als Kompressor einer CO 2 -Fahrzeugklimaanlage eignet.

Description

Die Erfindung betrifft eine Hubkolbenmaschine mit ringförmig nebeneinander angeordneten, radial gerichteten Kolben-Zylindereinheiten und mit einer Exzenterwelle , die sich durch einen die Zylinder einschließenden Gehäusekörper eines Maschinengehäuses erstreckt und deren Exzenter den Auswärtshub der Kolben steuert, wobei der Einwärtshub der Kolben durch einen gemeinsamen, in die Kolben eingreifenden Steuerring gesteuert wird.
Eine Hubkolbenmaschinen deren Kolben durch einen Exzenter radial auswärts bewegt werden, ist durch die EP 0088677 bekannt. Bei dieser wird nur der Auswärtshub der Kolben durch einen Exzenter und über ein diesen umschließendes Wälzlager mechanisch gesteuert, während der Einwärtshub durch die Kraft einer durch die Hubbewegung verformten Feder erfolgt, so dass sie den Kolben in Kontakt mit dem Außenring des Wälzlagers hält. Eine solche Feder hat u.a. den Nachteil, dass ihre Anordnung die Baugröße der Maschine nachteilig beeinflusst. Für Ihre Anordnung im Zylinderraum wird außerdem ein Raum benötigt, der als Totraum wirkt, indem beim Auswärtshub ein nahezu vollständiger Ausschub des Mediums verhindert wird.
Durch die GB 2225614 (JP2188678) ist es auch bekannt, die Rückholbewegung von jeweils zwei sich gegenüberliegenden, durch einen Exzenter nach aussen bewegten Kolben durch ein Paar von seitlichen Fortsätzen eines Kuppelringes auszuführen, die gabelförmig in eine Eindrehung eines inneren, sich in den Gehäuseraum hinein erstreckenden Kolbenendes mit Federvorspannung eingreifen. Folglich werden die Kolben nicht auf ihrer gesamten Länge in den zugehörigen Zylindern geführt und der für die Aufnahme des Kuppelringes und der aus den Zylindern herausragenden Kolbenenden benötigte Raum verhindert eine kompakte Bauweise der Maschine. Auch ist die Maschine aufgrund der federnd ausgeführten seitlichen Fortsätze des Kuppelringes nur als Pumpe mit verhältnismäßig niedriger Arbeitsgeschwindigkeit geeignet.
Durch die AT 394892 ist es weiterhin bekannt, die Hubbewegung von ringförmig zueinander angeordneten Kolben allein durch einen Exzenter zu steuern, indem die Kolben über einen an ihrem radial inneren Ende vorgesehenen Kugelkopf in einen den Exzenter umschließenden, ringförmigen Steuerungskörper gelenkig eingreifen. Eine solche Kolbensteuerung hat für die Anordnung der mechanischen Kopplung zwischen dem den Exzenter umschließenden, z.B. ringförmigen Steuerungskörper und dem jeweiligen Kolben einen eine kompakte Bauweise verhindernden Raumbedarf, verbunden mit einer entsprechend aufwändigen Bauweise für die mechanische Kopplung mit dem Steuerungskörper.
Schließlich ist es durch die US 3259074 (DE 1453663) bekannt, für die Rückholbewegung von paarweise einander gegenüberliegenden Kolben einen gemeinsamen Kuppelring vorzusehen, der seitlich in eine umlaufende Nut der Kolben eingreift. Diese gemeinsame Kupplung von jeweils zwei gleichachsigen, einander gegenüberliegenden Kolbenpaaren durch nur einen Kuppelring wird durch einen seine Querverschiebung in dem zweiten Kolbenpaar zulassenden Eingriff über vier im Winkel von 90° zueinander angeordnete ebene Gleitflächen des Kuppelringes ermöglicht. Für ihren Kontakt mit dem Exzenter und den seitlichen Eingriff des Kuppelringes im mittleren Bereich der Kolbenlänge haben diese Kolben eine verhältnismäßig große Länge und die Maschine eine entsprechend große radiale Ausdehnung. Die die Maschinengröße mitbestimmende Größe des Kuppelringes ergibt sich dabei durch dessen Aufnahme in einem sich über den gesamten Umfang des Zylinderblocks erstreckenden, auch für seine Montage benötigten großen Ringkanal. Dieser Ringkanal dient auch der Aufnahme eines Anschlages, der ein seitliches Herausschleudern des Kuppelringes aus der Ringnut der Kolben verhindern soll. Auch durch die verhältnismäßig erhebliche Größe des Kuppelringes, für den auch eine Ausführung aus Draht vorgesehen ist, ist eine solche Maschine für hohe Arbeitsgeschwindigkeiten ungeeignet.
Der Erfindung liegt die Aufgabe zugrunde, eine Radialkolbenmaschine der genannten Art zu finden, die bei besonders kompakter Bauweise nur verhältnismäßig wenige, einfach herstellbare und einfach montierbare Bauteile benötigt und die darüber hinaus, z.B. bei der Ausführung als Kompressor einer CO2-Klimaanlage, bei hohen Drücken und durch hohe mögliche Drehgeschwindigkeiten hohe Leistungen ermöglicht. Die Lösung dieser Aufgabe erfolgt erfindungsgemäß aufgrund der kennzeichnenden Merkmale des Patentanspruchs 1. Vorteilhafte Ausführungsformen der Erfindung sind Gegenstand der abhängigen Patentansprüche und der folgenden Beschreibung anhand der Zeichnungen zu entnehmen. Es zeigt:
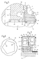
  • Fig.1 einen Axialschnitt durch eine erfindungsgemäße Radialkolbenmaschine,
  • Fig.2 einen die Kolbenachsen einschließenden Radialschnitt entlang der Linie II-II der Fig.1,
  • Fig.3 eine perspektivische Darstellung zweier benachbarter Kolben der Kolbenanordnung entsprechend Fig.2, mit einem in diese Kolben eingreifenden Umfangsbereich des Steuerringes,
  • Fig.4 eine Aufsicht auf eine Ventilmembran von an den Kolben und an den Zylinderköpfen vorgesehenen Rückschlagventilen,
  • Fig.5 eine vergrößerte Darstellung aus dem Bereich V der Fig.1,
  • Fig.6 eine Seitenansicht des Steuerringes der Hubkolbenmaschine nach Fig.1 und 2 und
  • Fig.7 einen vergrößerten Axialschnitt eines der fünf Kolben der Hubkolbenmaschine nach Fig.1 und 2 mit schematischer Darstellung einer rotierenden Zuströmung.
  • Die Radialkolbenmaschine 1 hat eine vorzugsweise ungerade Anzahl von beispielsweise fünf Kolben-Zylindereinheiten 2,3, die ringförmig nebeneinander, in einem gemeinsamen, relativ flachen Gehäusekörper 4 eines Maschinengehäuses 5 angeordnet sind, indem in dessen massives Material fünf radial gerichtete, die Kolben 2 führende Zylinderbohrungen 3 eingearbeitet sind.
    Zur Materialeinsparung ist der Gehäusekörper 4 entsprechend der Darstellung in Fig.2 vorzugsweise sternförmig ausgebildet und hat außen fünf Flanschflächen 6 für die dichte Montage von Auslassventilen 7 und von eine Abströmleitung 8 einschließenden Zylinderköpfen 9.
    Zum Zentrum des Gehäusekörpers 4 hin enden die Zylinderbohrungen 3 in einem zentrisch zur Exzenterwelle 12 angeordneten, möglichst kleinen, kreisförmigen Getrieberaum 10, in dem der Exzenter 11 der Exzenterwelle 12 mit einem ihn umschließenden Wälzlager 13 eine Umlaufbewegung ausführt.
    Der Außenring 14 des z.B. als Nadellager ausgeführten Wälzlagers 13 befindet sich in ständigem Kontakt mit der ihm zugekehrten, inneren Stirnfläche 15 der Kolben 2, so dass die Umlaufbewegung des Exzenters 11 die Kolben 2 aufeinander folgend, radial nach außen schiebt, um ihren Auswärtshub auszuführen.
    Für den Antrieb des Einwärtshubs sind die fünf Kolben 2 durch einen polygonförmigen Steuerring 16 miteinander gekoppelt, indem dieser jeweils in eine seitliche Aussparung 17 der Kolben 2 eingreift. Diese Kopplung bewirkt, dass der Steuerring 16 durch den Auswärtshub jedes Kolbens 2 in Reihenfolge entsprechend der Umlaufbewegung des Exzenters 11 nach außen gezogen wird und folglich die diametral gegenüberliegend angeordneten Kolben 2 mitnehmend, diese nach innen zieht, so dass sie ihren Einwärtshub ausführen.
    Die Aussparung 17 der Kolben hat die Form eines in Richtung einer Sekante geführten und der Querschnittsform des Steuerringes 16 angepassten Einschnittes, mit somit zueinander parallelen Flächen. Dabei hat die Aussparung 17 von der inneren Stirnfläche 15 der Kolben 2 einen möglichst geringen Abstand, der der Dicke einer Bodenwand 18 des vorzugsweise als Hohlkörper ausgeführten Kolbens 2 entspricht und sie ist auf einem begrenzten Umfangsbereich des Kolbens (2) als seitliche Unterbrechung seiner im Zylinder 3 gleitenden, zylindrischen Gleitfläche ausgeführt. Dies hat den Vorteil, dass die Kolben zumindest auf ihrer nicht durch die Aussparung 17 unterbrochenen, in Umfangsrichtung einen Bogen von wesentlich mehr als 180° aufweisenden größeren Seite, über ihre gesamte Länge lückenlos im Zylinder 3 geführt sind.
    Es versteht sich, dass die Aussparungen 17 der Kolben (2) und entsprechend der Steuerring 16, in Abweichung vom dargestellten Ausführungsbeispiel, auch auf der dem Gehäuseraum 45 zugekehrten, anderen Seite des Gehäusekörpers 4 vorgesehen sein können. Auch können für den Steuerring 16, abhängig vom Herstellungsaufwand und der an ihm auftretenden Kräfte, andere Querschnittsformen vorgesehen sein, als entsprechend der scheibenförmigen Ausführung des Steuerringes 16 des dargestellten Ausführungsbeispieles, wie z.B. quadratisch, so dass sich eine breitere innere Steuerfläche 20 ergibt.
    Die im dargestellten Ausführungsbeispiel fünf inneren Steuerflächen 20 des Steuerringes 16 verlaufen zumindest angenähert und gehen über eine kleine, zur besseren Verteilung von am Steuerring 16 wirkenden Kräften vorgesehene Ausrundung 22 in die in Umfangsrichtung folgende innere Steuerfläche 20 über, so dass der Steuerring 16 eine polygonförmige innere Kontur hat. Eine geringfügige konvexe Krümmung dieser Steuerflächen 20 in Umfangsrichtung kann von Vorteil sein, um einer Belastung der quer zur Kolbenachse endseitigen Begrenzungskanten 61,62 der Kontaktflächen 18 entgegen zu wirken.
    Da die Aussparung 17 der Kolben 2 somit seitlich offen ist, kann sich der Steuerringes 16 quer durch die Kolben 2 erstrecken und in dieser Richtung relativ zum Kolben ungehindert eine Querbewegung ausführen, die sich durch die phasengleich mit der Umlaufbewegung des Exzenters 11 erfolgende Steuerbewegung ergibt. Dabei gleiten seine inneren Steuerflächen 20 auf der jeweiligen inneren Bodenwand 18 der fünf Kolben 2. Außerdem ermöglichen die seitlich offenen Aussparungen 17 der Kolben 2 bei der Montage der Maschine ein einfaches Zusammenfügen der beweglichen Komponenten.
    Um den Steuerring 16 auch in Richtung seitlich nach außen in den Aussparungen 17 der Kolben (2) zu sichern, gleitet er bei seiner Umlaufbewegung in einer umlaufend ausgeführten Ausnehmung 65 des Gehäusekörpers 4, die beispielsweise als radialer Einschnitt ausgeführt ist. Der möglichst klein ausgeführte Getrieberaum 10 des massiven Gehäusekörpers 4 hat seitlich angrenzend an den Steuerring 16 eine kreisförmig umlaufende Erweiterung 66 entsprechend der Größe des Steuerringes 16, die sein Einsetzen in den einteilig ausgeführten Gehäusekörper 4 ermöglicht.
    Außen hat der Steuerring 16 fünf kreisbogenförmige Teile 21 einer Zylinderfläche, die jeweils durch eine Ausnehmung 23 des Steuerringes 16 begrenzt sind. Diese fünf Ausnehmungen 23 bilden jeweils eine Zuströmöffnung zu dem durch die Aussparung 17 seitlich geöffneten, zylindrischen Innenraum 24 der Kolben 2. Dabei sind die Ausnehmungen 23 derart angeordnet, dass sie sich entsprechend der Darstellung in Fig.3 über einen seitlichen Teil des jeweiligen Eingriffsbereichs des Steuerringes 16 erstrecken, und die Einströmung in die Kolbenaussparung 17 entsprechend seitlich und dadurch tangential in den zylindrischen Innenraum 24 der Kolben 2 erfolgt.
    Die tangentiale Einströmung in Richtung der doppelten Pfeile 25,26 führt im zylindrischen Innenraum 24 zu einer Spiralströmung 27 mit einer Zentrifugalwirkung, so dass ein in gasförmigem Betriebsmedium enthaltenes Schmiermittel in der Maschine 1 zurückgehalten wird, wie die gegen die zylindrische Innenwand 19 des Kolbens 2 gerichteten Pfeile 26 andeuten. Diese Zentrifugalwirkung wird durch die Abströmung des gasförmigen Mediums durch einen zentralen Innenstutzen 28 des Kolbens 2 unterstützt, dessen zentraler Kanal an der radial äußeren Stirnfläche des Kolbens (2) in einer Ventilöffnung 30 mündet.
    An der Stirnfläche der Kolben 2 ist die Membran 33 eines Rückschlagventils 31 mittels ihres Randes 35 z.B. durch Schweißen befestigt. Die Membran 33 hat einen zentralen Schließteil 32 und drei sich von diesem bogenförmig zum Membranrand 35 erstreckende Stegteile 34, so dass die Stegteile 34 Federelemente für die Hubbewegung des Schließteiles 32 bilden.
    Radial nach außen sind die Zylinderbohrungen 3 durch einen plattenförmigen Teil 36 des Zylinderkopfes 9 begrenzt, der einen zentralen Ausströmkanal 37 umschließt, an dem außen die Membran 38 eines Rückschlagventils anliegt, die entsprechend der Darstellung in Fig.4 gleich ausgeführt ist, wie die Membran 33 des am Kolben 2 vorgesehenen Rückschlagventils.
    Aus den zylindrischen Arbeitsräumen 3 strömt das Arbeitsmedium in Anschlussblöcke 39, die über Verbindungskanäle 40 die Verbindung zu einer das Maschinengehäuse 5 umschließenden Sammelleitung 41 herstellen. Durch diese außen am Gehäusekörper 4 befestigten Anschlussblöcke sind die plattenförmigen Teile der Zylinderköpfe 9 unter Vorspannung dicht am Gehäusekörper 4 gehalten.
    Die Exzenterwelle 12 ist im Maschinengehäuse 5 bzw. dessen glockenförmigem Gehäusekörper 50 durch zwei Wälzlager 42,43 gelagert. Eine antriebsseitige Dichtanordnung 44 dichtet den Gehäuseinnenraum 45 axial nach außen ab, während das freie, den Exzenter 11 und ein Ausgleichsgewicht 46 tragende Wellenende 47 in einem Gehäuseraum 48 endet, der durch einen angeflanschten Gehäusedeckel 49 verschlossen ist. Für einen Druckausgleich zwischen den Gehäuseräumen 45 und 48 kann sich auf nicht dargestellte Weise ein Ausgleichskanal durch die Exzenterwelle hindurch erstrecken.
    Die Zuströmung des Arbeitsmediums in die Hubkolbenmaschine 1 erfolgt über mindestens einen am glockenförmigen zweiten Gehäuseblock 50 radial angeschlossenen Anschlussstutzen 51. Anschließend durchströmt es entsprechend der Darstellung in Fig.5 in der Gehäuseinnenwand 52 vorgesehene Axialkanäle 53,54 und trifft auf eine sich mit der Exzenterwelle 11 drehende Prallplatte 55, an der ein Schmiermittelanteil im gasförmigen Betriebsmedium abgeschieden wird. Die Weiterströmung erfolgt durch Umströmung der Prallplatte 55 und über einen Spalt 56 zwischen der Prallplatte und dem Gehäusekörper 50 zu dem zentrisch zur Gehäuse- und Wellenachse 57 angeordneten und kreisförmigen Getrieberaum 10 des Gehäusekörpers 4, in dem der Exzenter 11 umläuft, so dass das Betriebsmedium vom endseitigen Gehäuseraum 48 in der zuvor beschriebenen Weise in die Kolben 2 einströmen kann.
    Die Ausbildung der genannten Rückschlagventile für die Zuströmung in die Arbeitszylinder 3 und die Abströmung aus diesen als Membranventil und die Anordnung eines derselben unmittelbar am Kolben 2 ermöglicht besonders geringe radiale Dimensionen bzw. eine besonders kompakte Bauweise der Hubkolbenmaschine 1 und sie kann dennoch mit hohen Drehgeschwindigkeiten ihres Exzenters 11 betrieben werden, so dass hohe Leistungen möglich sind. Entsprechend ist die erfindungsgemäße Hubkolbenmaschine 1 besonders als Kompressor einer CO2-Klimaanlage für den Einbau in den Motorraum eines Kraftfahrzeuges geeignet. Weiterhin sind die erfindungswesentlichen Komponenten der Maschine so gestaltet, dass sie auf einfache Weise herstellbar und zueinander montierbar sind.
    Für ihre einfache Herstellbarkeit bestehen die Kolben 2 aus zwei teleskopartig ineinander geschobenen Teilen und vor ihrer Vereinigung wird an einem dieser Teile, d.h. dem den Kolbenboden 29 aufweisenden Teil, die Ventilmembran 33 befestigt und am anderen Teil die Aussparung 17 durch eine seitliche Einfräsung hergestellt. Beim Zusammenfügen durch eine Presspassung nehmen sie zwischen sich einen Kolbenring 58 auf.
    Eine erfindungsgemäße Hubkolbenmaschine 1 ist für hohe Drehgeschwindigkeiten von mehr 10 000 U/min geeignet, so dass die Auswuchtung der Exzenterwelle 12 und der sich mit ihr drehenden Komponenten, u.a. durch das Ausgleichsgewicht 46 und z.B. eine Ausnehmung 60 an der mitumlaufenden Prallplatte 55 von besonderer Bedeutung ist.

    Claims (10)

    1. Hubkolbenmaschine mit ringförmig nebeneinander angeordneten, radial gerichteten Kolben-Zylindereinheiten (2,3) und mit einer Exzenterwelle (12), die sich durch einen die Zylinder (3) einschließenden Gehäusekörper (4) eines Maschinengehäuses (5) erstreckt und deren Exzenter (11) den Auswärtshub der Kolben (2) steuert, wobei der Einwärtshub der Kolben (2) durch einen gemeinsamen, in die Kolben (2) eingreifenden Steuerring (16) gesteuert wird, dadurch gekennzeichnet, dass der Eingriff des Steuerringes (16) in eine seitliche, in Richtung einer Sekante verlaufende, einer Querschnittsform des Steuerringes (16) angepasste Aussparung (17) jedes Kolbens (2) erfolgt, die eine Bodenwand des Kolbens (2) begrenzt, wobei der Steuerring (16) über eine innere Steuerfläche (20) mit dieser Bodenwand (18) in steuerndem Gleitkontakt steht.
    2. Hubkolbenmaschine nach Anspruch 1, dadurch gekennzeichnet, dass die Anzahl der Kolben-Zylindereinheiten (2,3) ungerade ist, so dass im Wesentlichen geradlinig gerichtete innere Steuerflächen (20) des Steuerringes (16) gemeinsam ein Polygon mit nicht rechtwinkliger gegenseitiger Zuordnung bilden.
    3. Hubkolbenmaschine nach Anspruch 1 oder 2, dadurch gekennzeichnet, dass die inneren Steuerflächen (20) des Steuerringes (16) eine geringfügige konvexe, einen Kantenkontakt mit der Bodenwand (18) vermeidende Krümmung aufweisen.
    4. Hubkolbenmaschine nach einem der Ansprüche 1 bis 3, dadurch gekennzeichnet, dass eine Seitenfläche des Steuerringes (16) an die in Richtung einer Sekante verlaufende Begrenzungsfläche der Aussparung (17) mit Gleitkontakt angrenzt.
    5. Hubkolbenmaschine nach einem der Ansprüche 1 bis 4, dadurch gekennzeichnet, dass die Aussparung (17) und damit der Steuerring (16) sich in den jeweiligen Kolben (2) bis zu mehr als der Hälfte des Kolbenradius hinein erstreckt.
    6. Hubkolbenmaschine nach einem der Ansprüche 1 bis 5, dadurch gekennzeichnet, dass im Gehäusekörper (4) eine mindestens eine seitliche Anlauffläche für den Steuerring (16) bildende Ausnehmung (65) vorgesehen ist.
    7. Hubkolbenmaschine nach einem der Ansprüche 1 bis 6, dadurch gekennzeichnet, dass die Kolben (2) als Hohlkörper mit einer zylindrischen Innenwand (19) ausgebildet sind, so dass die für den Steuerring (16) vorgesehene Aussparung (17) eine seitliche Kolbenöffnung bildet.
    8. Hubkolbenmaschine nach Anspruch 7, dadurch gekennzeichnet, dass der Steuerring (16) an seinen in eine Aussparung (17) der Kolben (2) eingreifenden Umfangsbereichen, jeweils eine Ausnehmung (23) aufweist, die eine zur zylindrischen Kolbeninnenwand (19) tangentiale Zuströmverbindung zum inneren Kolbenraum (24) bildet.
    9. Hubkolbenmaschine nach einem der Ansprüche 7 oder 8, dadurch gekennzeichnet, dass am äußeren Kolbenboden (29) ein Innenstutzen (28) vorgesehen ist, so dass dieser einen zentralen Kolbenkanal bildet, der an der Stirnfläche des Kolbens (2) mündet, wobei an dieser Stirnfläche die Membran (33) eines Membranventils (31) anliegt.
    10. Hubkolbenmaschine nach einem der Ansprüche 1 bis 9, dadurch gekennzeichnet, dass die Kolben (2) aus zwei teleskopartig ineinander geschobenen Teilen bestehen, die zwischen sich eine Kolbenring (58) einschließen, wobei an einem dieser Teile ein zentraler Innenstutzen (28) und eine Ventilmembran (33) vorgesehen ist und im anderen Teil die Aussparung (17) seitlich eingefräst ist.
    EP04405737A 2003-12-03 2004-11-29 Hubkolbenmaschine Expired - Lifetime EP1553291B1 (de)

    Applications Claiming Priority (2)

    Application Number Priority Date Filing Date Title
    DE10356373A DE10356373A1 (de) 2003-12-03 2003-12-03 Hubkolbenmaschine
    DE10356373 2003-12-03

    Publications (3)

    Publication Number Publication Date
    EP1553291A2 true EP1553291A2 (de) 2005-07-13
    EP1553291A3 EP1553291A3 (de) 2008-03-12
    EP1553291B1 EP1553291B1 (de) 2009-03-11

    Family

    ID=34585294

    Family Applications (1)

    Application Number Title Priority Date Filing Date
    EP04405737A Expired - Lifetime EP1553291B1 (de) 2003-12-03 2004-11-29 Hubkolbenmaschine

    Country Status (6)

    Country Link
    US (1) US7273004B2 (de)
    EP (1) EP1553291B1 (de)
    JP (1) JP4523394B2 (de)
    CN (1) CN1651720B (de)
    AT (1) ATE425358T1 (de)
    DE (2) DE10356373A1 (de)

    Cited By (2)

    * Cited by examiner, † Cited by third party
    Publication number Priority date Publication date Assignee Title
    DE102020211680A1 (de) 2020-09-17 2022-03-17 Thyssenkrupp Ag Kolben-Zylinder-Baugruppe für einen Radialkolbenverdichter sowie Radialkolbenverdichter
    WO2024170360A1 (de) * 2023-02-13 2024-08-22 Thyssenkrupp Dynamic Components Gmbh Radialkolbenverdichter

    Families Citing this family (27)

    * Cited by examiner, † Cited by third party
    Publication number Priority date Publication date Assignee Title
    CN101287891B (zh) * 2005-08-05 2011-03-02 卡尔顿生命支持系统有限公司 凸轮驱动活塞式压缩机
    DE102005061456B4 (de) * 2005-12-22 2015-09-24 Magna Powertrain Bad Homburg GmbH Zylinderblock einer Hubkolbenmaschine mit durch Spannring gehaltenen Zylinderköpfen
    KR100934297B1 (ko) * 2007-09-27 2009-12-29 김배영 유체펌프
    US8684704B2 (en) * 2007-12-21 2014-04-01 Carleton Life Support Systems, Inc. Radial cam-driven compressor and radial cam-driven compressor assemblies
    US20100101534A1 (en) * 2008-10-27 2010-04-29 Tzu-Wei Yu Multiple-fuel rotary engine
    DE102009006040A1 (de) 2009-01-24 2010-07-29 Bock Kältemaschinen GmbH Verdichter
    CN101876302B (zh) * 2010-06-23 2012-05-23 宁波运星机械制造有限公司 一种多缸往复泵
    JP5265814B2 (ja) * 2010-08-02 2013-08-14 日邦産業株式会社 流体回転機
    CN102220902B (zh) * 2011-03-13 2016-05-04 李培基 直轴偏心多缸双循环内燃发动机
    CN102900470A (zh) * 2011-07-25 2013-01-30 祁喜林 星形发动机
    DE102012005297A1 (de) * 2012-03-19 2013-09-19 Gea Bock Gmbh Verdichtereinheit, sowie Verdichter
    CN103967743A (zh) * 2013-01-29 2014-08-06 王彦彬 磁力式同平面多缸多级组合压缩机
    CN103967745A (zh) * 2013-01-30 2014-08-06 王彦彬 同平面多缸多级凸轮组合压缩机
    CN104776005A (zh) * 2015-03-25 2015-07-15 安徽工程大学 一种活塞式压缩机
    US11002268B2 (en) 2015-07-27 2021-05-11 Cobham Mission Systems Davenport Lss Inc. Sealed cavity compressor to reduce contaminant induction
    CN107313911A (zh) * 2017-06-19 2017-11-03 肖福俊 新型高性能四缸柱塞泵
    CN108869231B (zh) * 2018-08-03 2024-02-13 东莞力嘉塑料制品有限公司 一种旋转式导轨驱动活塞泵
    CN109404250B (zh) * 2018-10-17 2019-10-11 安徽工业大学 一种燃气喷射发动机
    EP4208639B1 (de) * 2020-12-16 2024-01-17 Danfoss Power Solutions (Jiangsu) Co., Ltd. Hydrostatische radialkolbeneinheit
    WO2023111621A1 (en) * 2021-12-16 2023-06-22 Danfoss Power Solutions (Jiangsu) Co., Ltd. Brake mechanism for a radial piston unit
    CN115288971B (zh) * 2022-08-22 2025-01-24 王晏 一种径向转动气缸液体活塞式往复压缩机及其工作方法
    DE102022133721A1 (de) 2022-12-16 2024-06-27 Thyssenkrupp Ag Radialkolbenverdichter, sowie Verfahren zur Montage eines Radialkolbenverdichters
    EP4634527A1 (de) 2022-12-16 2025-10-22 thyssenkrupp Dynamic Components GmbH Radialkolbenverdichter, sowie verfahren zur montage eines radialkolbenverdichters
    LU103051B1 (de) 2022-12-16 2024-06-17 Thyssenkrupp Ag Radialkolbenverdichter, sowie Verfahren zur Montage eines Radialkolbenverdichters
    DE102023103387A1 (de) 2023-02-13 2024-08-14 Thyssenkrupp Ag Kolben-Zylinderbohrung-Baugruppe für einen Radialkolbenverdichter sowie Radialkolbenverdichter
    DE102023106706A1 (de) * 2023-03-17 2024-09-19 Thyssenkrupp Ag Radialkolbenverdichter
    DE102023125557A1 (de) * 2023-09-20 2025-03-20 Thyssenkrupp Ag Radialkolbenverdichter

    Family Cites Families (9)

    * Cited by examiner, † Cited by third party
    Publication number Priority date Publication date Assignee Title
    US3259074A (en) 1963-02-16 1966-07-05 Teves Kg Alfred Radial-piston machines
    DE1653637C3 (de) * 1967-06-24 1975-03-13 Alfred Teves Gmbh, 6000 Frankfurt Radialkolbenpumpe
    US4128084A (en) * 1975-07-25 1978-12-05 Iris Jean Carrington Sutherland Rotary engine
    FR2523222A1 (fr) 1982-03-09 1983-09-16 Citroen Sa Pompe modulaire
    DE3840691C2 (de) * 1988-12-02 1997-02-13 Teves Gmbh Alfred Radialkolbenpumpe
    US5338160A (en) * 1989-09-18 1994-08-16 Gesellschaft fur okologische Okomobil Technologie fur Fahrzeuge GmbH Individual controllable cylinder-plunger assemblies of a radial piston pump
    AT394892B (de) * 1989-09-18 1992-07-10 Tech Hydraulikgeraete Ges M B Radialkolbenpumpe
    DE19948445A1 (de) * 1999-10-08 2001-04-12 Continental Teves Ag & Co Ohg 6-Kolben-Pumpe, insbesondere für geregelte Bremssysteme
    US9083674B2 (en) * 2013-03-11 2015-07-14 Aol Inc. Systems and methods for sharing audio feeds

    Cited By (4)

    * Cited by examiner, † Cited by third party
    Publication number Priority date Publication date Assignee Title
    DE102020211680A1 (de) 2020-09-17 2022-03-17 Thyssenkrupp Ag Kolben-Zylinder-Baugruppe für einen Radialkolbenverdichter sowie Radialkolbenverdichter
    WO2022058321A1 (de) 2020-09-17 2022-03-24 thyssenkrupp Presta Ilsenburg GmbH Kolben-zylinder-baugruppe für einen radialkolbenverdichter sowie radialkolbenverdichter
    US12286965B2 (en) 2020-09-17 2025-04-29 Thyssenkrupp Dynamic Components Gmbh Radial piston compressor with transmission element and piston guide ring
    WO2024170360A1 (de) * 2023-02-13 2024-08-22 Thyssenkrupp Dynamic Components Gmbh Radialkolbenverdichter

    Also Published As

    Publication number Publication date
    CN1651720A (zh) 2005-08-10
    JP2005163792A (ja) 2005-06-23
    CN1651720B (zh) 2010-10-13
    ATE425358T1 (de) 2009-03-15
    DE10356373A1 (de) 2005-07-07
    DE502004009129D1 (de) 2009-04-23
    US7273004B2 (en) 2007-09-25
    JP4523394B2 (ja) 2010-08-11
    EP1553291A3 (de) 2008-03-12
    EP1553291B1 (de) 2009-03-11
    US20050120984A1 (en) 2005-06-09

    Similar Documents

    Publication Publication Date Title
    EP1553291B1 (de) Hubkolbenmaschine
    DE102008013991A1 (de) Pumpe oder Motor
    DE102009053488B4 (de) Einrichtung zur Übertragung einer Kolbenkraft einer Ein-/Ausrückeinrichtung auf die jeweilige Teilkupplung einer Doppelkupplung
    DE2216579A1 (de) Achsialkolbenverdichter
    DE19850158A1 (de) Seitenkanal-Kraftstoffpumpe
    DE102007050820A1 (de) Innenzahnradpumpe für eine Bremsanlage
    WO2012034619A1 (de) Axialkolbenmaschine
    DE4326323A1 (de) Taumelscheibenverdichter
    WO2005085635A1 (de) Axialkolbenmaschine
    EP1076762A1 (de) Vorrichtung zur hydraulischen drehwinkelverstellung einer welle zu einem antriebsrad
    EP0320963A2 (de) Nach Art einer Drehkolbenpumpe wirkende volumetrische Pumpe für flüssige oder gasförmige Medien
    EP2585718A1 (de) Axialkolbenmaschine
    DE4326408A1 (de) Vielfach-Axialkolbenverdichter
    DE3030285A1 (de) Axialkolbenpumpe
    DE102015204385A1 (de) Axialkolbenmaschine
    DE102010032056B4 (de) Kolbeneinheit
    DE102016203587A1 (de) Taumelscheibenverdichter mit veränderlicher Verdrängung
    DE19881099B3 (de) Drehschwingungsdämpfer für eine verriegelbare Kupplung, die zu einem hydrodynamischen Momentwandler gehört, insbesondere für Kraftfahrzeuge
    EP3077656A1 (de) Kraftstoffpumpe
    DE3804842C2 (de)
    DE2825383C2 (de) Hilfskraftlenkung für Fahrzeuge
    DE2555595C2 (de) Flügelzellenpumpe
    DE102013008677A1 (de) Hydropumpe und Kolben für eine solche Hydropumpe
    DE102010036199A1 (de) Axialkolbenmaschine mit verringerter Verlustleistung
    EP1311760A1 (de) Hydraulische radialkolbenmaschine

    Legal Events

    Date Code Title Description
    PUAI Public reference made under article 153(3) epc to a published international application that has entered the european phase

    Free format text: ORIGINAL CODE: 0009012

    AK Designated contracting states

    Kind code of ref document: A2

    Designated state(s): AT BE BG CH CY CZ DE DK EE ES FI FR GB GR HU IE IS IT LI LU MC NL PL PT RO SE SI SK TR

    AX Request for extension of the european patent

    Extension state: AL HR LT LV MK YU

    PUAL Search report despatched

    Free format text: ORIGINAL CODE: 0009013

    AK Designated contracting states

    Kind code of ref document: A3

    Designated state(s): AT BE BG CH CY CZ DE DK EE ES FI FR GB GR HU IE IS IT LI LU MC NL PL PT RO SE SI SK TR

    AX Request for extension of the european patent

    Extension state: AL HR LT LV MK YU

    RAP1 Party data changed (applicant data changed or rights of an application transferred)

    Owner name: VISTEON GLOBAL TECHNOLOGIES, INC.

    Owner name: OBRIST ENGINEERING GMBH

    Owner name: IXETIC BAD HOMBURG GMBH

    17P Request for examination filed

    Effective date: 20080912

    AKX Designation fees paid

    Designated state(s): AT BE BG CH CY CZ DE DK EE ES FI FR GB GR HU IE IS IT LI LU MC NL PL PT RO SE SI SK TR

    GRAP Despatch of communication of intention to grant a patent

    Free format text: ORIGINAL CODE: EPIDOSNIGR1

    GRAS Grant fee paid

    Free format text: ORIGINAL CODE: EPIDOSNIGR3

    GRAA (expected) grant

    Free format text: ORIGINAL CODE: 0009210

    AK Designated contracting states

    Kind code of ref document: B1

    Designated state(s): AT BE BG CH CY CZ DE DK EE ES FI FR GB GR HU IE IS IT LI LU MC NL PL PT RO SE SI SK TR

    REG Reference to a national code

    Ref country code: GB

    Ref legal event code: FG4D

    Free format text: NOT ENGLISH

    REG Reference to a national code

    Ref country code: CH

    Ref legal event code: EP

    REG Reference to a national code

    Ref country code: IE

    Ref legal event code: FG4D

    Free format text: LANGUAGE OF EP DOCUMENT: GERMAN

    REF Corresponds to:

    Ref document number: 502004009129

    Country of ref document: DE

    Date of ref document: 20090423

    Kind code of ref document: P

    PG25 Lapsed in a contracting state [announced via postgrant information from national office to epo]

    Ref country code: FI

    Free format text: LAPSE BECAUSE OF FAILURE TO SUBMIT A TRANSLATION OF THE DESCRIPTION OR TO PAY THE FEE WITHIN THE PRESCRIBED TIME-LIMIT

    Effective date: 20090311

    Ref country code: NL

    Free format text: LAPSE BECAUSE OF FAILURE TO SUBMIT A TRANSLATION OF THE DESCRIPTION OR TO PAY THE FEE WITHIN THE PRESCRIBED TIME-LIMIT

    Effective date: 20090311

    Ref country code: SI

    Free format text: LAPSE BECAUSE OF FAILURE TO SUBMIT A TRANSLATION OF THE DESCRIPTION OR TO PAY THE FEE WITHIN THE PRESCRIBED TIME-LIMIT

    Effective date: 20090311

    NLV1 Nl: lapsed or annulled due to failure to fulfill the requirements of art. 29p and 29m of the patents act
    PG25 Lapsed in a contracting state [announced via postgrant information from national office to epo]

    Ref country code: SE

    Free format text: LAPSE BECAUSE OF FAILURE TO SUBMIT A TRANSLATION OF THE DESCRIPTION OR TO PAY THE FEE WITHIN THE PRESCRIBED TIME-LIMIT

    Effective date: 20090611

    Ref country code: PL

    Free format text: LAPSE BECAUSE OF FAILURE TO SUBMIT A TRANSLATION OF THE DESCRIPTION OR TO PAY THE FEE WITHIN THE PRESCRIBED TIME-LIMIT

    Effective date: 20090311

    REG Reference to a national code

    Ref country code: IE

    Ref legal event code: FD4D

    PG25 Lapsed in a contracting state [announced via postgrant information from national office to epo]

    Ref country code: CZ

    Free format text: LAPSE BECAUSE OF FAILURE TO SUBMIT A TRANSLATION OF THE DESCRIPTION OR TO PAY THE FEE WITHIN THE PRESCRIBED TIME-LIMIT

    Effective date: 20090311

    Ref country code: ES

    Free format text: LAPSE BECAUSE OF FAILURE TO SUBMIT A TRANSLATION OF THE DESCRIPTION OR TO PAY THE FEE WITHIN THE PRESCRIBED TIME-LIMIT

    Effective date: 20090622

    Ref country code: EE

    Free format text: LAPSE BECAUSE OF FAILURE TO SUBMIT A TRANSLATION OF THE DESCRIPTION OR TO PAY THE FEE WITHIN THE PRESCRIBED TIME-LIMIT

    Effective date: 20090311

    Ref country code: IE

    Free format text: LAPSE BECAUSE OF FAILURE TO SUBMIT A TRANSLATION OF THE DESCRIPTION OR TO PAY THE FEE WITHIN THE PRESCRIBED TIME-LIMIT

    Effective date: 20090311

    Ref country code: PT

    Free format text: LAPSE BECAUSE OF FAILURE TO SUBMIT A TRANSLATION OF THE DESCRIPTION OR TO PAY THE FEE WITHIN THE PRESCRIBED TIME-LIMIT

    Effective date: 20090824

    PG25 Lapsed in a contracting state [announced via postgrant information from national office to epo]

    Ref country code: RO

    Free format text: LAPSE BECAUSE OF FAILURE TO SUBMIT A TRANSLATION OF THE DESCRIPTION OR TO PAY THE FEE WITHIN THE PRESCRIBED TIME-LIMIT

    Effective date: 20090311

    Ref country code: SK

    Free format text: LAPSE BECAUSE OF FAILURE TO SUBMIT A TRANSLATION OF THE DESCRIPTION OR TO PAY THE FEE WITHIN THE PRESCRIBED TIME-LIMIT

    Effective date: 20090311

    Ref country code: IS

    Free format text: LAPSE BECAUSE OF FAILURE TO SUBMIT A TRANSLATION OF THE DESCRIPTION OR TO PAY THE FEE WITHIN THE PRESCRIBED TIME-LIMIT

    Effective date: 20090711

    PLBE No opposition filed within time limit

    Free format text: ORIGINAL CODE: 0009261

    STAA Information on the status of an ep patent application or granted ep patent

    Free format text: STATUS: NO OPPOSITION FILED WITHIN TIME LIMIT

    PG25 Lapsed in a contracting state [announced via postgrant information from national office to epo]

    Ref country code: BG

    Free format text: LAPSE BECAUSE OF FAILURE TO SUBMIT A TRANSLATION OF THE DESCRIPTION OR TO PAY THE FEE WITHIN THE PRESCRIBED TIME-LIMIT

    Effective date: 20090611

    Ref country code: DK

    Free format text: LAPSE BECAUSE OF FAILURE TO SUBMIT A TRANSLATION OF THE DESCRIPTION OR TO PAY THE FEE WITHIN THE PRESCRIBED TIME-LIMIT

    Effective date: 20090311

    26N No opposition filed

    Effective date: 20091214

    BERE Be: lapsed

    Owner name: IXETIC BAD HOMBURG G.M.B.H.

    Effective date: 20091130

    Owner name: OBRIST ENGINEERING GMBH

    Effective date: 20091130

    Owner name: VISTEON GLOBAL TECHNOLOGIES, INC.

    Effective date: 20091130

    PG25 Lapsed in a contracting state [announced via postgrant information from national office to epo]

    Ref country code: MC

    Free format text: LAPSE BECAUSE OF NON-PAYMENT OF DUE FEES

    Effective date: 20091130

    REG Reference to a national code

    Ref country code: CH

    Ref legal event code: PL

    GBPC Gb: european patent ceased through non-payment of renewal fee

    Effective date: 20091129

    PG25 Lapsed in a contracting state [announced via postgrant information from national office to epo]

    Ref country code: LI

    Free format text: LAPSE BECAUSE OF NON-PAYMENT OF DUE FEES

    Effective date: 20091130

    Ref country code: BE

    Free format text: LAPSE BECAUSE OF NON-PAYMENT OF DUE FEES

    Effective date: 20091130

    Ref country code: CH

    Free format text: LAPSE BECAUSE OF NON-PAYMENT OF DUE FEES

    Effective date: 20091130

    Ref country code: GR

    Free format text: LAPSE BECAUSE OF FAILURE TO SUBMIT A TRANSLATION OF THE DESCRIPTION OR TO PAY THE FEE WITHIN THE PRESCRIBED TIME-LIMIT

    Effective date: 20090612

    PG25 Lapsed in a contracting state [announced via postgrant information from national office to epo]

    Ref country code: GB

    Free format text: LAPSE BECAUSE OF NON-PAYMENT OF DUE FEES

    Effective date: 20091129

    PG25 Lapsed in a contracting state [announced via postgrant information from national office to epo]

    Ref country code: AT

    Free format text: LAPSE BECAUSE OF NON-PAYMENT OF DUE FEES

    Effective date: 20091129

    PG25 Lapsed in a contracting state [announced via postgrant information from national office to epo]

    Ref country code: LU

    Free format text: LAPSE BECAUSE OF NON-PAYMENT OF DUE FEES

    Effective date: 20091129

    PG25 Lapsed in a contracting state [announced via postgrant information from national office to epo]

    Ref country code: HU

    Free format text: LAPSE BECAUSE OF FAILURE TO SUBMIT A TRANSLATION OF THE DESCRIPTION OR TO PAY THE FEE WITHIN THE PRESCRIBED TIME-LIMIT

    Effective date: 20090912

    PG25 Lapsed in a contracting state [announced via postgrant information from national office to epo]

    Ref country code: TR

    Free format text: LAPSE BECAUSE OF FAILURE TO SUBMIT A TRANSLATION OF THE DESCRIPTION OR TO PAY THE FEE WITHIN THE PRESCRIBED TIME-LIMIT

    Effective date: 20090311

    PG25 Lapsed in a contracting state [announced via postgrant information from national office to epo]

    Ref country code: CY

    Free format text: LAPSE BECAUSE OF FAILURE TO SUBMIT A TRANSLATION OF THE DESCRIPTION OR TO PAY THE FEE WITHIN THE PRESCRIBED TIME-LIMIT

    Effective date: 20090311

    REG Reference to a national code

    Ref country code: FR

    Ref legal event code: PLFP

    Year of fee payment: 12

    REG Reference to a national code

    Ref country code: FR

    Ref legal event code: PLFP

    Year of fee payment: 13

    PGFP Annual fee paid to national office [announced via postgrant information from national office to epo]

    Ref country code: DE

    Payment date: 20161129

    Year of fee payment: 13

    PGFP Annual fee paid to national office [announced via postgrant information from national office to epo]

    Ref country code: FR

    Payment date: 20161213

    Year of fee payment: 13

    PGFP Annual fee paid to national office [announced via postgrant information from national office to epo]

    Ref country code: IT

    Payment date: 20161223

    Year of fee payment: 13

    REG Reference to a national code

    Ref country code: DE

    Ref legal event code: R119

    Ref document number: 502004009129

    Country of ref document: DE

    REG Reference to a national code

    Ref country code: FR

    Ref legal event code: ST

    Effective date: 20180731

    PG25 Lapsed in a contracting state [announced via postgrant information from national office to epo]

    Ref country code: DE

    Free format text: LAPSE BECAUSE OF NON-PAYMENT OF DUE FEES

    Effective date: 20180602

    Ref country code: FR

    Free format text: LAPSE BECAUSE OF NON-PAYMENT OF DUE FEES

    Effective date: 20171130

    Ref country code: IT

    Free format text: LAPSE BECAUSE OF NON-PAYMENT OF DUE FEES

    Effective date: 20171129