EP1544373A2 - Freitragendes Vordach - Google Patents
Freitragendes Vordach Download PDFInfo
- Publication number
- EP1544373A2 EP1544373A2 EP04026761A EP04026761A EP1544373A2 EP 1544373 A2 EP1544373 A2 EP 1544373A2 EP 04026761 A EP04026761 A EP 04026761A EP 04026761 A EP04026761 A EP 04026761A EP 1544373 A2 EP1544373 A2 EP 1544373A2
- Authority
- EP
- European Patent Office
- Prior art keywords
- wall
- headband
- canopy according
- der
- canopy
- Prior art date
- Legal status (The legal status is an assumption and is not a legal conclusion. Google has not performed a legal analysis and makes no representation as to the accuracy of the status listed.)
- Granted
Links
Images
Classifications
-
- E—FIXED CONSTRUCTIONS
- E04—BUILDING
- E04F—FINISHING WORK ON BUILDINGS, e.g. STAIRS, FLOORS
- E04F10/00—Sunshades, e.g. Florentine blinds or jalousies; Outside screens; Awnings or baldachins
- E04F10/005—Rigidly-arranged sunshade roofs with coherent surfaces
Definitions
- the invention relates to a cantilevered canopy, consisting of a rectangular roof plate and at least two plate-shaped, sloping downwards Retaining brackets, which are formed as an acute-angled triangle and with her be anchored to a house or façade wall wider end.
- Canopies serve, for example, to cover the entrance area of External doors, being used as a roof panel for illuminating the entrance area usually Hollow panels, corrugated sheets or flat sheets of translucent plastic be used.
- the headband When used in practice canopies, the headband first at the Bolted to the wall and then transversely connected with round profile bars, on which then the roof panel is bolted or otherwise secured.
- a corresponding to the roof pitch shaped sheet metal angle used which overlaps the upper roof area bolted to the wall and then sealed with a silicone joint.
- a gutter At the At the eaves end of the canopy is then attached a gutter, so the rainwater can be discharged from the side of the roof.
- the object of the invention is to provide a canopy, which in a stable and cost-effective construction and also easy is to assemble.
- the necessary items should, for example, on the hardware store can be prepared as a kit, so that the attachment of such a canopy on the outside wall for a hobbyist easy to accomplish is.
- the length of the roof should also be variable designable.
- the upper edges of the Retaining brackets are arc-shaped, that parallel to the upper edges respectively a slot in a width corresponding to the thickness of the roof panel until just before wall-side end of the headband is cut so that the case worked bridge both on its entire length and on the wall-side connection with the headband is flexible, that the other, namely eaves end after inserting the roof plate and depressing the web can be connected to the eaves end of the retaining clip, and that is connected to the eaves end of the headband connects a holding tray, in which a nach top open gutter with a cross section adapted to the holding cup side is insertable.
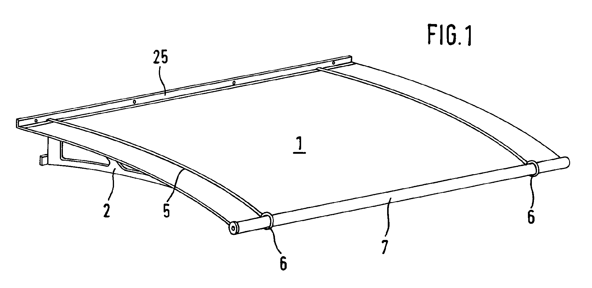
- the canopy consists essentially of a rectangular roof panel 1, which preferably consists of a transparent Acrylic glass is made, as well as from at least two plate-shaped, with her self-supporting end downwardly inclined retaining clips 2, which as acute-angled Triangle are formed and anchored with their broader ends to the wall become.
- the upper edges 3 of the headband 2 are arcuate. Parallel to the Upper edges 3 are each a slot 4 cut and that in a width b, which corresponds to the thickness D of the roof panel 1. The thereby worked out web 5 is until just before the end of the headband 2 cut so narrow that he is flexible both on its length and at its junction.
- the other end of the web 5 is after inserting the roof panel 1 and Depressing the web 5 with the free end of the retaining clip 2 in still too descriptive way connectable.
- the diameter of the disc 8 is the inner diameter of the channel wall 20 adapted so that the gutter 7, the disc 8 surrounds flush.
- the inner diameter of the holding shell 6 is expediently dimensioned slightly larger than the outer diameter of the channel wall 20, so that between groove wall 20 and holding shell 6, a gap "S" remains free. This will the lateral insertion of the gutter 7 avoided that on the Surface of the groove wall 20 can form unsightly scratch marks ( Figure 5).
- the rain gutter filling discs 8 are each with a central Bore 11 provided. Between the two discs 8 can be a pipe 12th position, which is provided at both ends with a threaded sleeve 13. This tube 12, which may also be designed as a shaft, is dimensioned such that the discs 8 are kept at the same distance as the headband 2 after her Anchoring on the house wall.
- the gutter wall 20 is here in Present embodiment at least at one end close to the Cover 16 in its lower wall area with a drain opening 23 for the Provide rainwater ( Figure 6). Instead of this drain opening 23 in the Gutter 7, it is also feasible and even cheaper from the manufacturing costs, to provide a recess in the lower region of the cap 16.
- the wall-side edge 24 of the roof panel 1 can be transferred over connect an angle section 25 waterproof with the facade wall 26.
- the Angle profile 25 is for this purpose designed so that two of the wall 26 approximately right angles projecting legs 27 and 28, the plate edge 24 include U-shaped.
- On the adjacent leg 29 on the wall is a groove 30 for receiving an elastically deformable sealing profile 31 made of rubber or the like embedded elastic PVC material.
- the two legs 27 and 28 in this case have slots 32, which the thickness of the Bracket 2 correspond and except for the distance "a" on the wall leg 29th come close.
- the depths "t" the distances "a” at the slots 32nd correspond. This ensures that when inserting the headband 2 in the Slots 32, the wall-side edges 33 with their incision 40, the two legs 27 and 28 overlap by the distance "a”. resulting in a tight bond between headband 2 and wall profile 25 results.
- the angle profiles 25 means Screws 38 and dowels 39 at the predetermined height on the facade wall 26th fastened, wherein the inserted into the groove 30 sealing profile 31, as shown in FIG. 7 can be seen, compressed.
- the gutter 7 is first at one end of the roof panel 1 with the profile edge 21 on the front edge 22 pressed and then laterally over the discs 8 of the bracket 2 so far shifted until the end edges 17 of the gutter 7 at both ends the same distance protrude beyond the headband 2. Then, the one screw 14 through the Cover 16, the lateral spacer tube 18 and the bore 11 in the disc 8 inserted through and into the threaded sleeve 13 of the middle spacer tube 12th screwed in, which previously between the two brackets 2 from above in the Rain gutter 7 has been inserted. The cap 16 is on the occasion firmly tightened against the end edge 17 of the channel wall 20.
Landscapes
- Engineering & Computer Science (AREA)
- Architecture (AREA)
- Civil Engineering (AREA)
- Structural Engineering (AREA)
- Roof Covering Using Slabs Or Stiff Sheets (AREA)
- Rotary Switch, Piano Key Switch, And Lever Switch (AREA)
- Glass Compositions (AREA)
- Closing And Opening Devices For Wings, And Checks For Wings (AREA)
Abstract
Description
- Fig. 1
- Ein nach der Erfindung aufgebautes Vordach in perspektivischer Darstellung mit Blick von oben,
- Fig. 2
- Die gleiche Darstellung des Vordaches mit Blick von unten,
- Fig. 3
- Einen Ausschnitt des Vordaches mit dem traufseitigen Ende des Haltebügels vor dem Einführen des Glasdaches und Schließen des Haltesteges sowie den Mitteln zum Verschrauben der Regenrinne in einer Explosionszeichnung,
- Fig. 4
- Den gleichen Ausschnitt des Vordaches im zusammengebauten Zustand in perspektivischer Darstellung,
- Fig. 5
- Einen Querschnitt durch die Halteschale gemäß Linie V - V in Figur 6 mit seitlich eingeführter Regenrinne und verrastetem Haltesteg,
- Fig. 6
- Einen Längsschnitt durch das Regenrinnenprofil mit am Haltebügel angeschraubter Abdeckkappe gemäß Linie VI - VI in Fig. 5,
- Fig. 7
- Einen Ausschnitt der an der Fassadenwand befestigten Vordachhalterung im Schnitt,
- Fig. 8
- Einen Querschnitt durch die Wandprofilschiene zur Aufnahme des Glasdaches mit Dichtungsprofil,
- Fig. 9
- Einen perspektivischen Ausschnitt der Wandprofilschiene, des Haltebügels und der Wandbefestigungselemente vor dem Zusammenbau in einer Explosionszeichnung,
- Fig.10
- Die gleiche perspektivische Darstellung mit an der Wand befestigtem Haltebügel beim Einschieben des Glasdaches und
- Fig. 11
- Die gleiche perspektivische Darstellung nach dem Einschieben des Glasdaches und Niederdrücken des Haltesteges.
- 1
- Dachplatte
- 2
- Haltebügel
- 3
- Oberkante
- 4
- Schlitz
- 5
- Steg
- 6
- Halteschale
- 7
- Regenrinne
- 8
- Scheibe
- 9
- Vorsprung
- 10
- Aussparung
- 11
- Zentrale Bohrung
- 12
- Mittleres Abstandsrohr
- 13
- Gewindehülse
- 14
- Schrauben
- 15
- Schraubenköpfe
- 16
- Abdeckkappen
- 17
- Stirnkanten
- 18
- Seitliche Abstandsrohre
- 19
- Schraubenschaft
- 20
- Rinnenwand
- 21
- Profilkante
- 22
- Vorderkante der Dachplatte
- 23
- Abflussöffnung
- 24
- Hinterkante der Dachplatte
- 25
- Winkelprofil
- 26
- Fassadenwand
- 27
- Oberschenkel
- 28
- Unterschenkel
- 29
- Wandschenkel
- 30
- Schenkelrinne
- 31
- Dichtungsprofil
- 32
- Schlitze
- 33
- Kante des Haltebügels
- 34
- Befestigungsschenkel
- 35
- Befestigungslöcher
- 36
- Schrauben
- 37
- Dübel
- 38
- Schrauben
- 39
- Dübel
- 40
- Einschnitt
- 41
- Scheibenfreibereich
Claims (13)
- Freitragendes Vordach, bestehend aus einer rechteckigen Dachplatte (1) sowie mindestens zwei plattenförmigen, abwärts geneigten Haltebügeln (2), welche als spitzwinkliges Dreieck ausgebildet sind und mit ihrem breiteren Ende an einer Wand verankert werden,
dadurch gekennzeichnet,dass die Oberkanten (3) der Haltebügel (2) bogenförmig ausgebildet sind,dass parallel zu den Oberkanten (3) jeweils ein Schlitz (4) in einer Breite (b) entsprechend der Dicke (D) der Dachplatte (1) bis kurz vor dem wandseitigen Ende der Haltebügel (2) eingeschnitten ist, so dass der dabei herausgearbeitete Steg (5) sowohl auf seiner ganzen Länge als auch an der wandseitigen Verbindung mit dem Haltebügel (2) biegsam ist,dass das andere, nämlich traufseitige Ende nach dem Einlegen der Dachplatte (1) und Niederdrücken des Steges (5) mit dem traufseitigen Ende des Haltebügels (2) verbindbar ist,und dass sich an das traufseitige Ende der Haltebügel (2) eine Halteschale (6) anschließt, in welche eine nach oben offene Regenrinne (7) seitlich einführbar ist. - Vordach nach Anspruch 1, dadurch gekennzeichnet, dass die Halteschale (6) etwa über ¾ des Umfangs kreisringförmig ausgeschnitten ist und die Regenrinne (7) im Querschnitt ebenfalls über ¾ des Umfangs als Kreisring ausgebildet ist.
- Vordach nach Anspruch 1 oder 2, dadurch gekennzeichnet, dass das freie Ende jeder Halteschale (6) mit einer den Rinnenquerschnitt der Regenrinne (7) bis auf einen unteren Bereich ausfüllenden Scheibe (8) einstückig verbunden ist und diese Scheibe (8) einen auf das Ende des Steges (5) weisenden, angeformten Vorsprung (9) aufweist, welcher in eine dem Vorsprung (9) entsprechende Aussparung (10) am traufseitigen Ende des bogenförmigen Steges (5) seitlich eindrückbar und und damit der Steg (5) in der Scheibenebene verrastbar ist.
- Vordach nach Anspruch 3, dadurch gekennzeichnet, dass die den Rinnenquerschnitt überwiegend ausfüllenden Scheiben (8) an den Halteschalen (6) mit je einer zentralen Bohrung (11) versehen sind und durch ein Rohr (12) im gleichen Abstand wie der bei der wandseitigen Verankerung der Haltebügel (2) vorgesehene Abstand gehalten werden.
- Vordach nach Anspruch 4, dadurch gekennzeichnet, dass Köpfe (15) vonSchrauben (14) in Abdeckkappen (16) eingelagert sind, welche sich ihrerseits auf den Stirnkanten (17) der Rinnenwand (20) abstützen, wobei das Abstandsrohr (12) an beiden Enden eine Gewindehülse (13) aufweist
- Vordach nach Anspruch 5, dadurch gekennzeichnet, dass zwischen den Abdeckkappen (16) und den Scheiben (8) der Halteschalen (6) jeweils ein weiteres Abstandsrohr (18) vorgesehen ist, durch welches die Schraube (14) mit ihrem Schaft (19) hindurchgeführt wird.
- Vordach nach einem der Ansprüche 1 bis 6, dadurch gekennzeichnet, dass an dem unter der Dachplatte (1) anliegenden Ende der Rinnenwand (20) eine Profilkante (21) mit einem U-förmigen Profilquerschnitt angeformt ist, welche in den Innenraum der Regenrinne (7) hineinragt und die untere traufseitige Kante (22) der Dachplatte (1) allseits umfasst.
- Vordach nach einem der Ansprüche 1 bis 7, dadurch gekennzeichnet, dass die Rinnenwand (20) mindestens an einem Ende dicht vor der Abdeckkappe (16) in ihrem unteren Bereich mit einer Abflussöffnung (23) für das Regenwasser versehen ist.
- Vordach nach einem der Ansprüche 1 bis 8, dadurch gekennzeichnet, dass die wandseitige Plattenkante (24) der Dachplatte (1) über ein Winkelprofil (25) mit der Wand (26) wasserdicht verbindbar ist.
- Vordach nach Anspruch 9, dadurch gekennzeichnet, dass bei dem Winkelprofil (25) zwei von der Wand etwa rechtwinklig abstehende Schenkel (27, 28) die Plattenkante (24) U-förmig umfassen und in dem an der Wand anliegenden Schenkel (29) eine Rinne (30) zur Aufnahme eines elastisch deformierbaren Dichtungsprofils (31) eingelassen ist.
- Vordach nach Anspruch 9 oder 10, dadurch gekennzeichnet, dass in den beiden Schenkeln (27) und (28) Schlitze (32) zum Einschieben der wandseitigen Kanten (33) der Haltebügel (2) eingeschnitten sind.
- Vordach nach Anspruch 11, dadurch gekennzeichnet, dass die Schlitze bis auf einen Abstand "a" an den Wandschenkel (29) heranreichen.
- Vordach nach Anspruch 12, dadurch gekennzeichnet, dass am oberen Ende der Kanten (33) der Haltebügel (2) Aussparungen (40) vorgesehen sind, deren Tiefen "t" den Abständen "a" bei den Schlitzen (33) entsprechen
Applications Claiming Priority (2)
| Application Number | Priority Date | Filing Date | Title |
|---|---|---|---|
| DE10359089 | 2003-12-17 | ||
| DE10359089A DE10359089B3 (de) | 2003-12-17 | 2003-12-17 | Freitragendes Vordach |
Publications (3)
| Publication Number | Publication Date |
|---|---|
| EP1544373A2 true EP1544373A2 (de) | 2005-06-22 |
| EP1544373A3 EP1544373A3 (de) | 2007-01-31 |
| EP1544373B1 EP1544373B1 (de) | 2009-03-11 |
Family
ID=34442522
Family Applications (1)
| Application Number | Title | Priority Date | Filing Date |
|---|---|---|---|
| EP04026761A Expired - Lifetime EP1544373B1 (de) | 2003-12-17 | 2004-11-11 | Freitragendes Vordach |
Country Status (3)
| Country | Link |
|---|---|
| EP (1) | EP1544373B1 (de) |
| AT (1) | ATE425319T1 (de) |
| DE (2) | DE10359089B3 (de) |
Cited By (7)
| Publication number | Priority date | Publication date | Assignee | Title |
|---|---|---|---|---|
| ITAN20090071A1 (it) * | 2009-10-02 | 2011-04-03 | Giampiero Properzi | Pensilina modulare componibile . |
| KR101028857B1 (ko) * | 2008-07-09 | 2011-04-12 | 안종현 | 옥외 차양용 브라켓트 |
| KR101028861B1 (ko) * | 2008-07-10 | 2011-04-12 | 안종현 | 아치형 차양용 브라켓트와 이를 이용한 아치형 차양 |
| KR200453447Y1 (ko) | 2009-03-11 | 2011-05-09 | 정영미 | 차양장치 |
| KR200465258Y1 (ko) * | 2011-03-14 | 2013-02-08 | 정영미 | 밴딩파이프를 사용하는 차양 조립장치 |
| EP1849929A3 (de) * | 2006-04-28 | 2014-03-12 | Pusch GmbH & Co. KG | Freitragendes Vordach |
| CN113152807A (zh) * | 2021-04-08 | 2021-07-23 | 中建铁路投资建设集团有限公司 | 一种圆拱形双曲线雨棚结构的施工方法 |
Families Citing this family (1)
| Publication number | Priority date | Publication date | Assignee | Title |
|---|---|---|---|---|
| DE202011000120U1 (de) | 2011-01-17 | 2012-04-18 | Pauli + Sohn Gmbh Metallwaren | Vordach |
Family Cites Families (3)
| Publication number | Priority date | Publication date | Assignee | Title |
|---|---|---|---|---|
| US3138832A (en) * | 1962-09-06 | 1964-06-30 | Lawrence J Gonnello | Awning |
| DE20017167U1 (de) * | 2000-10-06 | 2000-12-28 | Ariane Aluminiumsysteme Gmbh | Vordachanordnung |
| DE20105114U1 (de) * | 2001-03-23 | 2001-09-27 | Balustrada H.P.I. Edelstahl Design GmbH, 36124 Eichenzell | Vollständig verschraubtes Vordach |
-
2003
- 2003-12-17 DE DE10359089A patent/DE10359089B3/de not_active Expired - Fee Related
-
2004
- 2004-11-11 DE DE502004009124T patent/DE502004009124D1/de not_active Expired - Lifetime
- 2004-11-11 EP EP04026761A patent/EP1544373B1/de not_active Expired - Lifetime
- 2004-11-11 AT AT04026761T patent/ATE425319T1/de active
Cited By (9)
| Publication number | Priority date | Publication date | Assignee | Title |
|---|---|---|---|---|
| EP1849929A3 (de) * | 2006-04-28 | 2014-03-12 | Pusch GmbH & Co. KG | Freitragendes Vordach |
| KR101028857B1 (ko) * | 2008-07-09 | 2011-04-12 | 안종현 | 옥외 차양용 브라켓트 |
| KR101028861B1 (ko) * | 2008-07-10 | 2011-04-12 | 안종현 | 아치형 차양용 브라켓트와 이를 이용한 아치형 차양 |
| KR200453447Y1 (ko) | 2009-03-11 | 2011-05-09 | 정영미 | 차양장치 |
| ITAN20090071A1 (it) * | 2009-10-02 | 2011-04-03 | Giampiero Properzi | Pensilina modulare componibile . |
| EP2305916A1 (de) * | 2009-10-02 | 2011-04-06 | Giampiero Properzi | Vordach |
| KR200465258Y1 (ko) * | 2011-03-14 | 2013-02-08 | 정영미 | 밴딩파이프를 사용하는 차양 조립장치 |
| CN113152807A (zh) * | 2021-04-08 | 2021-07-23 | 中建铁路投资建设集团有限公司 | 一种圆拱形双曲线雨棚结构的施工方法 |
| CN113152807B (zh) * | 2021-04-08 | 2022-08-26 | 中建铁路投资建设集团有限公司 | 一种圆拱形双曲线雨棚结构的施工方法 |
Also Published As
| Publication number | Publication date |
|---|---|
| EP1544373A3 (de) | 2007-01-31 |
| ATE425319T1 (de) | 2009-03-15 |
| DE10359089B3 (de) | 2005-05-19 |
| EP1544373B1 (de) | 2009-03-11 |
| DE502004009124D1 (de) | 2009-04-23 |
Similar Documents
| Publication | Publication Date | Title |
|---|---|---|
| DE4242530C2 (de) | Bauelement für Wände, Decken oder Dächer von Bauwerken | |
| EP1721107B1 (de) | Montagesystem mit gewindestein | |
| EP1849929B1 (de) | Freitragendes Vordach | |
| DE202007004760U1 (de) | Freitragendes Vordach | |
| DE10359089B3 (de) | Freitragendes Vordach | |
| EP0725194B1 (de) | Entwässerungssytem für Balkone | |
| EP1965001B1 (de) | Bekleidungssystem für Bauwerke mit zweidimensional und/oder sphärisch geformten, zu bekleidenden Bereichen | |
| EP0918127B1 (de) | Türfutter und Montagevorrichtung | |
| DE3635167C2 (de) | ||
| EP0555214A1 (de) | Dach bzw. fassade insbesondere eines wintergartens | |
| DE202017006664U1 (de) | Überdachungsvorrichtung | |
| DE20319544U1 (de) | Freitragende Vordachhalterung | |
| DE102005027300A1 (de) | First- oder Gratsteine mit darauf über Befestigungsmitel angeordnetem Reiter | |
| DE29614812U1 (de) | Befestigungsvorrichtung | |
| DE3221615A1 (de) | Wandanschluss-klemmprofil | |
| DE7219803U (de) | Fensterzarge | |
| DE29705216U1 (de) | Abdeckung für eine Fensterbrüstung | |
| EP0716199A2 (de) | Stirnwand-Abschlussprofil für Balkone, Terrassen u.dgl. | |
| EP1630319B1 (de) | Freitragende Seitenblende | |
| DE202007017063U1 (de) | Dachanschlussprofil | |
| DE102017223880A1 (de) | Überdachungsvorrichtung | |
| DE2507094A1 (de) | Seitenblende | |
| DE8216635U1 (de) | Wandanschluß-Klemmprofil | |
| DE9113591U1 (de) | Befestigungselement für Rohrschellen | |
| DE102009005413A1 (de) | Bausatz zur Herstellung von Überdachungen |
Legal Events
| Date | Code | Title | Description |
|---|---|---|---|
| PUAI | Public reference made under article 153(3) epc to a published international application that has entered the european phase |
Free format text: ORIGINAL CODE: 0009012 |
|
| AK | Designated contracting states |
Kind code of ref document: A2 Designated state(s): AT BE BG CH CY CZ DE DK EE ES FI FR GB GR HU IE IS IT LI LU MC NL PL PT RO SE SI SK TR |
|
| AX | Request for extension of the european patent |
Extension state: AL HR LT LV MK YU |
|
| PUAL | Search report despatched |
Free format text: ORIGINAL CODE: 0009013 |
|
| AK | Designated contracting states |
Kind code of ref document: A3 Designated state(s): AT BE BG CH CY CZ DE DK EE ES FI FR GB GR HU IE IS IT LI LU MC NL PL PT RO SE SI SK TR |
|
| AX | Request for extension of the european patent |
Extension state: AL HR LT LV MK YU |
|
| 17P | Request for examination filed |
Effective date: 20070227 |
|
| AKX | Designation fees paid |
Designated state(s): AT BE BG CH CY CZ DE DK EE ES FI FR GB GR HU IE IS IT LI LU MC NL PL PT RO SE SI SK TR |
|
| GRAP | Despatch of communication of intention to grant a patent |
Free format text: ORIGINAL CODE: EPIDOSNIGR1 |
|
| GRAS | Grant fee paid |
Free format text: ORIGINAL CODE: EPIDOSNIGR3 |
|
| GRAA | (expected) grant |
Free format text: ORIGINAL CODE: 0009210 |
|
| AK | Designated contracting states |
Kind code of ref document: B1 Designated state(s): AT BE BG CH CY CZ DE DK EE ES FI FR GB GR HU IE IS IT LI LU MC NL PL PT RO SE SI SK TR |
|
| REG | Reference to a national code |
Ref country code: GB Ref legal event code: FG4D Free format text: NOT ENGLISH |
|
| REG | Reference to a national code |
Ref country code: CH Ref legal event code: EP |
|
| REG | Reference to a national code |
Ref country code: IE Ref legal event code: FG4D Free format text: LANGUAGE OF EP DOCUMENT: GERMAN |
|
| REF | Corresponds to: |
Ref document number: 502004009124 Country of ref document: DE Date of ref document: 20090423 Kind code of ref document: P |
|
| REG | Reference to a national code |
Ref country code: CH Ref legal event code: NV Representative=s name: BOVARD AG PATENTANWAELTE |
|
| PG25 | Lapsed in a contracting state [announced via postgrant information from national office to epo] |
Ref country code: SI Free format text: LAPSE BECAUSE OF FAILURE TO SUBMIT A TRANSLATION OF THE DESCRIPTION OR TO PAY THE FEE WITHIN THE PRESCRIBED TIME-LIMIT Effective date: 20090311 Ref country code: NL Free format text: LAPSE BECAUSE OF FAILURE TO SUBMIT A TRANSLATION OF THE DESCRIPTION OR TO PAY THE FEE WITHIN THE PRESCRIBED TIME-LIMIT Effective date: 20090311 Ref country code: FI Free format text: LAPSE BECAUSE OF FAILURE TO SUBMIT A TRANSLATION OF THE DESCRIPTION OR TO PAY THE FEE WITHIN THE PRESCRIBED TIME-LIMIT Effective date: 20090311 |
|
| NLV1 | Nl: lapsed or annulled due to failure to fulfill the requirements of art. 29p and 29m of the patents act | ||
| PG25 | Lapsed in a contracting state [announced via postgrant information from national office to epo] |
Ref country code: SE Free format text: LAPSE BECAUSE OF FAILURE TO SUBMIT A TRANSLATION OF THE DESCRIPTION OR TO PAY THE FEE WITHIN THE PRESCRIBED TIME-LIMIT Effective date: 20090611 Ref country code: PL Free format text: LAPSE BECAUSE OF FAILURE TO SUBMIT A TRANSLATION OF THE DESCRIPTION OR TO PAY THE FEE WITHIN THE PRESCRIBED TIME-LIMIT Effective date: 20090311 |
|
| REG | Reference to a national code |
Ref country code: IE Ref legal event code: FD4D |
|
| PG25 | Lapsed in a contracting state [announced via postgrant information from national office to epo] |
Ref country code: PT Free format text: LAPSE BECAUSE OF FAILURE TO SUBMIT A TRANSLATION OF THE DESCRIPTION OR TO PAY THE FEE WITHIN THE PRESCRIBED TIME-LIMIT Effective date: 20090824 Ref country code: CZ Free format text: LAPSE BECAUSE OF FAILURE TO SUBMIT A TRANSLATION OF THE DESCRIPTION OR TO PAY THE FEE WITHIN THE PRESCRIBED TIME-LIMIT Effective date: 20090311 Ref country code: EE Free format text: LAPSE BECAUSE OF FAILURE TO SUBMIT A TRANSLATION OF THE DESCRIPTION OR TO PAY THE FEE WITHIN THE PRESCRIBED TIME-LIMIT Effective date: 20090311 Ref country code: ES Free format text: LAPSE BECAUSE OF FAILURE TO SUBMIT A TRANSLATION OF THE DESCRIPTION OR TO PAY THE FEE WITHIN THE PRESCRIBED TIME-LIMIT Effective date: 20090622 Ref country code: IE Free format text: LAPSE BECAUSE OF FAILURE TO SUBMIT A TRANSLATION OF THE DESCRIPTION OR TO PAY THE FEE WITHIN THE PRESCRIBED TIME-LIMIT Effective date: 20090311 |
|
| PG25 | Lapsed in a contracting state [announced via postgrant information from national office to epo] |
Ref country code: IS Free format text: LAPSE BECAUSE OF FAILURE TO SUBMIT A TRANSLATION OF THE DESCRIPTION OR TO PAY THE FEE WITHIN THE PRESCRIBED TIME-LIMIT Effective date: 20090711 Ref country code: RO Free format text: LAPSE BECAUSE OF FAILURE TO SUBMIT A TRANSLATION OF THE DESCRIPTION OR TO PAY THE FEE WITHIN THE PRESCRIBED TIME-LIMIT Effective date: 20090311 Ref country code: SK Free format text: LAPSE BECAUSE OF FAILURE TO SUBMIT A TRANSLATION OF THE DESCRIPTION OR TO PAY THE FEE WITHIN THE PRESCRIBED TIME-LIMIT Effective date: 20090311 |
|
| PLBE | No opposition filed within time limit |
Free format text: ORIGINAL CODE: 0009261 |
|
| STAA | Information on the status of an ep patent application or granted ep patent |
Free format text: STATUS: NO OPPOSITION FILED WITHIN TIME LIMIT |
|
| PG25 | Lapsed in a contracting state [announced via postgrant information from national office to epo] |
Ref country code: DK Free format text: LAPSE BECAUSE OF FAILURE TO SUBMIT A TRANSLATION OF THE DESCRIPTION OR TO PAY THE FEE WITHIN THE PRESCRIBED TIME-LIMIT Effective date: 20090311 Ref country code: BG Free format text: LAPSE BECAUSE OF FAILURE TO SUBMIT A TRANSLATION OF THE DESCRIPTION OR TO PAY THE FEE WITHIN THE PRESCRIBED TIME-LIMIT Effective date: 20090611 |
|
| 26N | No opposition filed |
Effective date: 20091214 |
|
| BERE | Be: lapsed |
Owner name: PUSCH G.M.B.H. & CO. KG Effective date: 20091130 |
|
| PG25 | Lapsed in a contracting state [announced via postgrant information from national office to epo] |
Ref country code: MC Free format text: LAPSE BECAUSE OF NON-PAYMENT OF DUE FEES Effective date: 20091130 |
|
| GBPC | Gb: european patent ceased through non-payment of renewal fee |
Effective date: 20091111 |
|
| REG | Reference to a national code |
Ref country code: FR Ref legal event code: ST Effective date: 20100730 |
|
| PG25 | Lapsed in a contracting state [announced via postgrant information from national office to epo] |
Ref country code: GR Free format text: LAPSE BECAUSE OF FAILURE TO SUBMIT A TRANSLATION OF THE DESCRIPTION OR TO PAY THE FEE WITHIN THE PRESCRIBED TIME-LIMIT Effective date: 20090612 Ref country code: BE Free format text: LAPSE BECAUSE OF NON-PAYMENT OF DUE FEES Effective date: 20091130 Ref country code: FR Free format text: LAPSE BECAUSE OF NON-PAYMENT OF DUE FEES Effective date: 20091130 |
|
| PG25 | Lapsed in a contracting state [announced via postgrant information from national office to epo] |
Ref country code: GB Free format text: LAPSE BECAUSE OF NON-PAYMENT OF DUE FEES Effective date: 20091111 |
|
| PG25 | Lapsed in a contracting state [announced via postgrant information from national office to epo] |
Ref country code: IT Free format text: LAPSE BECAUSE OF FAILURE TO SUBMIT A TRANSLATION OF THE DESCRIPTION OR TO PAY THE FEE WITHIN THE PRESCRIBED TIME-LIMIT Effective date: 20090311 |
|
| REG | Reference to a national code |
Ref country code: CH Ref legal event code: PFA Owner name: PUSCH GMBH & CO. KG Free format text: PUSCH GMBH & CO. KG#BACHSTRASSE 6#56242 MARIENRACHDORF (DE) -TRANSFER TO- PUSCH GMBH & CO. KG#BACHSTRASSE 6#56242 MARIENRACHDORF (DE) |
|
| PG25 | Lapsed in a contracting state [announced via postgrant information from national office to epo] |
Ref country code: LU Free format text: LAPSE BECAUSE OF NON-PAYMENT OF DUE FEES Effective date: 20091111 |
|
| PG25 | Lapsed in a contracting state [announced via postgrant information from national office to epo] |
Ref country code: HU Free format text: LAPSE BECAUSE OF FAILURE TO SUBMIT A TRANSLATION OF THE DESCRIPTION OR TO PAY THE FEE WITHIN THE PRESCRIBED TIME-LIMIT Effective date: 20090912 |
|
| PG25 | Lapsed in a contracting state [announced via postgrant information from national office to epo] |
Ref country code: TR Free format text: LAPSE BECAUSE OF FAILURE TO SUBMIT A TRANSLATION OF THE DESCRIPTION OR TO PAY THE FEE WITHIN THE PRESCRIBED TIME-LIMIT Effective date: 20090311 |
|
| PG25 | Lapsed in a contracting state [announced via postgrant information from national office to epo] |
Ref country code: CY Free format text: LAPSE BECAUSE OF FAILURE TO SUBMIT A TRANSLATION OF THE DESCRIPTION OR TO PAY THE FEE WITHIN THE PRESCRIBED TIME-LIMIT Effective date: 20090311 |
|
| PGFP | Annual fee paid to national office [announced via postgrant information from national office to epo] |
Ref country code: CH Payment date: 20150127 Year of fee payment: 11 |
|
| PGFP | Annual fee paid to national office [announced via postgrant information from national office to epo] |
Ref country code: AT Payment date: 20150122 Year of fee payment: 11 |
|
| REG | Reference to a national code |
Ref country code: DE Ref legal event code: R082 Ref document number: 502004009124 Country of ref document: DE Representative=s name: HANNKE BITTNER & PARTNER, DE Ref country code: DE Ref legal event code: R081 Ref document number: 502004009124 Country of ref document: DE Owner name: HORST WELLNESS GMBH & CO. KG, DE Free format text: FORMER OWNER: PUSCH GMBH & CO. KG, 56242 MARIENRACHDORF, DE Ref country code: DE Ref legal event code: R082 Ref document number: 502004009124 Country of ref document: DE Representative=s name: VON ROHR PATENTANWAELTE PARTNERSCHAFT MBB, DE |
|
| REG | Reference to a national code |
Ref country code: CH Ref legal event code: PUE Owner name: HORST WELNESS GMBH AND CO. KG, DE Free format text: FORMER OWNER: PUSCH GMBH AND CO. KG, DE |
|
| REG | Reference to a national code |
Ref country code: DE Ref legal event code: R082 Ref document number: 502004009124 Country of ref document: DE Representative=s name: VON ROHR PATENTANWAELTE PARTNERSCHAFT MBB, DE |
|
| REG | Reference to a national code |
Ref country code: CH Ref legal event code: PK Free format text: BERICHTIGUNG INHABER |
|
| REG | Reference to a national code |
Ref country code: CH Ref legal event code: PL |
|
| REG | Reference to a national code |
Ref country code: AT Ref legal event code: MM01 Ref document number: 425319 Country of ref document: AT Kind code of ref document: T Effective date: 20151111 |
|
| PG25 | Lapsed in a contracting state [announced via postgrant information from national office to epo] |
Ref country code: LI Free format text: LAPSE BECAUSE OF NON-PAYMENT OF DUE FEES Effective date: 20151130 Ref country code: CH Free format text: LAPSE BECAUSE OF NON-PAYMENT OF DUE FEES Effective date: 20151130 |
|
| PG25 | Lapsed in a contracting state [announced via postgrant information from national office to epo] |
Ref country code: AT Free format text: LAPSE BECAUSE OF NON-PAYMENT OF DUE FEES Effective date: 20151111 |
|
| PGFP | Annual fee paid to national office [announced via postgrant information from national office to epo] |
Ref country code: DE Payment date: 20171121 Year of fee payment: 14 |
|
| REG | Reference to a national code |
Ref country code: DE Ref legal event code: R119 Ref document number: 502004009124 Country of ref document: DE |
|
| PG25 | Lapsed in a contracting state [announced via postgrant information from national office to epo] |
Ref country code: DE Free format text: LAPSE BECAUSE OF NON-PAYMENT OF DUE FEES Effective date: 20190601 |
