EP1316629A1 - Stützscheibe und Lagerung für einen Spinnrotor - Google Patents

Stützscheibe und Lagerung für einen Spinnrotor Download PDF

Info

Publication number
EP1316629A1
EP1316629A1 EP02025441A EP02025441A EP1316629A1 EP 1316629 A1 EP1316629 A1 EP 1316629A1 EP 02025441 A EP02025441 A EP 02025441A EP 02025441 A EP02025441 A EP 02025441A EP 1316629 A1 EP1316629 A1 EP 1316629A1
Authority
EP
European Patent Office
Prior art keywords
tread
rotor
nanoparticles
support
support disc
Prior art date
Legal status (The legal status is an assumption and is not a legal conclusion. Google has not performed a legal analysis and makes no representation as to the accuracy of the status listed.)
Withdrawn
Application number
EP02025441A
Other languages
English (en)
French (fr)
Inventor
Erich Bock
Werner Zott
Current Assignee (The listed assignees may be inaccurate. Google has not performed a legal analysis and makes no representation or warranty as to the accuracy of the list.)
Rieter Ingolstadt GmbH
Original Assignee
Rieter Ingolstadt Spinnereimaschinenbau AG
Priority date (The priority date is an assumption and is not a legal conclusion. Google has not performed a legal analysis and makes no representation as to the accuracy of the date listed.)
Filing date
Publication date
Priority claimed from DE10237007A external-priority patent/DE10237007A1/de
Application filed by Rieter Ingolstadt Spinnereimaschinenbau AG filed Critical Rieter Ingolstadt Spinnereimaschinenbau AG
Publication of EP1316629A1 publication Critical patent/EP1316629A1/de
Withdrawn legal-status Critical Current

Links

Images

Classifications

    • DTEXTILES; PAPER
    • D01NATURAL OR MAN-MADE THREADS OR FIBRES; SPINNING
    • D01HSPINNING OR TWISTING
    • D01H4/00Open-end spinning machines or arrangements for imparting twist to independently moving fibres separated from slivers; Piecing arrangements therefor; Covering endless core threads with fibres by open-end spinning techniques
    • D01H4/04Open-end spinning machines or arrangements for imparting twist to independently moving fibres separated from slivers; Piecing arrangements therefor; Covering endless core threads with fibres by open-end spinning techniques imparting twist by contact of fibres with a running surface
    • D01H4/08Rotor spinning, i.e. the running surface being provided by a rotor
    • D01H4/10Rotors
    • DTEXTILES; PAPER
    • D01NATURAL OR MAN-MADE THREADS OR FIBRES; SPINNING
    • D01HSPINNING OR TWISTING
    • D01H4/00Open-end spinning machines or arrangements for imparting twist to independently moving fibres separated from slivers; Piecing arrangements therefor; Covering endless core threads with fibres by open-end spinning techniques
    • D01H4/04Open-end spinning machines or arrangements for imparting twist to independently moving fibres separated from slivers; Piecing arrangements therefor; Covering endless core threads with fibres by open-end spinning techniques imparting twist by contact of fibres with a running surface
    • D01H4/08Rotor spinning, i.e. the running surface being provided by a rotor
    • D01H4/12Rotor bearings; Arrangements for driving or stopping

Definitions

  • the object of the present invention relates to a support disc for a bearing of a spinning rotor according to the preamble of claim 1 and a bearing for a spinning rotor according to claim 16 and one A rotor for an open-end spinning device according to claim 16.
  • a support disc which to remove deposits to reduce the rotor shaft of the spinning rotor, with a tread is provided, which has a cleaning groove.
  • the tread of the support disks should thus be prevented Deposits on the rotor shaft.
  • the support discs made of a plastic form, which has a relatively small electrical resistance. Thereby electrostatic charges on the support disks are to be avoided become. The dirt particles get through these electrostatic charges on the running surface of the support disc as a result of electrostatic charging. This results as a result of friction with the surrounding air, because the support disks rotate at high speeds during operation.
  • the support disc of DE 198 24 286 A1 therefore requires to prevent Deposits take special measures on their constructive design and material composition of the tread. This includes the contribution a cleaning groove and on the other hand a certain material for the tread the support disc to the electrical properties required there to achieve. Ultimately, the expert is not free to choose the Material of the support disc covering, just like the constructive one Design of the tread of the support disc.
  • the object of the present invention is a support disk and a bearing for an open-end spinning rotor, each propose the problems solve the state of the art.
  • the present one suggests Invention before a spinning rotor, which is particularly suitable with the support disks and a bearing according to the present invention to cooperate and the less to deposit in the area with the it interacts with the support disks, tends.
  • the additives are designed according to the invention such that they are the recording of dirt on the tread of the tread. That is, the deposition the dirt on the support disc is due to the invention Additions made much more difficult and sometimes even completely prevented.
  • the adhesive Forces that are responsible for dirt particles adhering to the Can store tread in the long term, are the inventive Design reduced so much that the desired effect occurs.
  • the addition is in molded the tread of the support disc, i.e. that for example components of the additive together with the polymeric material on the Base body of the support disc are applied.
  • This has the advantage that Machining of the support disc and wear of the tread are not included lead that the tread is without the additive according to the invention, because the essential part of the tread according to the invention the addition in itself contains.
  • This can advantageously be designed in such a way that the addition however, it is not included where there is tread and base touch so as not to endanger a secure connection.
  • the addition is applied to the tread of the tread.
  • This application on the The surface of the tread is the same as for a surface coating.
  • the top layer of the tread equipped with an additive according to the invention so that the surface of the tread on the tread according to the characteristics of the addition is trained.
  • the surface of the tread is advantageous Use of a dirt-repellent additive is also dirt-repellent.
  • the whole does not need to be beneficial Tread be provided with the addition, but only the relevant one Rotor shaft cooperating surface of the tread of the tread. This makes it possible to design the whole thing more cost-effectively, as if the entire covering is soaked with the additive.
  • the layer is advantageously so thin that the mechanical properties of the material, the surface structure and the elasticity of the tread are not negative to be influenced.
  • the addition is a Plastic, since plastics in particular are endowed with properties, with the help of a dirt-repellent or dirt-resistant Tread on the support disc is made possible.
  • PTFE polytetrafluoroethylene
  • a further development of the invention is the addition of polytetrafluoroethylene (PTFE), which is a particularly effective and versatile material for one Additive according to the invention is.
  • PTFE polytetrafluoroethylene
  • silicone can also be used
  • an addition made of a plastic in particular also PTFE, can be combined with other additives so that other properties, in addition to the property of dirt repellency, in the tread of the tread can be implemented.
  • a lacquer or Film is formed on the tread of the tread of the support disc.
  • Additives can be added to the paint, for example be integrated from a plastic, which is a particularly good dirt-repellent Have an effect, while at the same time components may be included, which ensure wear resistance.
  • nanoparticles with the help of different properties of Surface can be realized in a simple manner, at the same time due to the specific properties of the nanoparticles the surface the tread of the support disc according to the invention designed to be dirt-repellent.
  • the nanoparticles can consist of different materials. According to the invention, an easy-to-clean can thus be particularly effective - Surface are created.
  • Nanoparticles are structural units and measure the size of particles in nanometers because of their tiny size is. Thus, nanoparticles according to the invention can have a size of have only 100 nm.
  • the nanoparticles of the additive at least partially produced using the so-called sol-gel process Service.
  • the nanoparticles are inside a liquid eliminated, with a fixed and preferred size he follows.
  • Nanoparticles produced by evaporation with finely focused laser beams are produced that can not be produced by the gel-sol process are.
  • nanoparticles made of different materials i.e. also that they have different properties in the coating of the Can represent treads of the support disc.
  • nanoparticles can be used, which are different were manufactured.
  • the nanoparticles are formed at least partially from an organic material, which in particular can be used to achieve properties on the tread, by the specific material properties of the organic material, for example, a plastic.
  • the Nanoparticles at least partially made of an inorganic material, whereby in addition to the property that the support disc covering with a coating can be equipped that is particularly dirt-repellent, At the same time, a coating can be realized that goes beyond that is particularly wear-resistant and has other advantageous properties.
  • the nanoparticles as the basis for the formation of the Surface of the tread is advantageously allows the properties of the To design the surface freely, i.e. without the material of the support disc in must be changed to a particular extent, since with the help of the nanoparticles other required properties of the surface are also realized at the same time can be.
  • a surface can also be obtained with it For example, is antistatic. The necessary property remains, for example the elasticity and damping properties of the tread the support disc. With the help of the invention can now support disc coverings can be realized, the positive properties of different Unite materials.
  • the tread of the tread is with a dirt-repellent additive equipped, thus it is advantageously achieved that storage is created which allows the rotor shaft of the spinning rotor not to Debris comes into contact with the bearings of the State of the art on the support disc and fix the property have to pass from the support disc to the rotor shaft and this to be coated with a layer of dirt.
  • the configuration according to the invention the surface of the tread of the support disc ensures that the Storage also copes with an application where large dirt and Amounts of dust accumulate that would otherwise lead to difficulties.
  • the storage is advantageous according to the invention with one or more Support discs equipped with the features of the invention described above have.
  • a rotor for an open-end spinning device proposed, the rotor shaft at least in the area, with which he interacts with a support disc with a coating is provided, the adherence of deposits, in particular Dirt, difficult.
  • a rotor according to the invention can a storage are operated, in which the support discs according to State of the art, but are also particularly advantageous Storage according to the invention, wherein the tread of the support disks Storage is equipped with the properties as described above.
  • the rotor is provided with a coating, which are at least partially applied to the surface of the rotor shaft Nanoparticles exist.
  • This type of design can the rotor shaft can be provided with a coating that ensures that dirt particles do not stick to the surface of the rotor shaft can.
  • a coating is a particularly advantageous further development provided with nanoparticles, these in addition to the property
  • To repel dirt is also a wear protection for the rotor shaft form. So substances can be used for the nanoparticles that result in a particularly wear-resistant coating.
  • the rotor shaft can advantageously be provided with nanoparticles be as described in the dependent claims and the same As in the case of the coating in the support disk according to the invention, it has an effect.
  • the rotor shaft has a particularly advantageous effect if At the same time, the properties are dirt-repellent and wear-resistant become. Nanoparticles are particularly suitable for this. To be a special one To achieve wear resistance, nanoparticles are also particularly cheap can be used from a hard material, for example carbides such as silicon carbide.
  • the nanoparticles are also especially in the recesses of the surface structure can be deposited, whereby they are particularly protected against wear, so that the coated Component can lose the desired properties less easily. Further advantageous embodiments of the invention are described in the subclaims.
  • FIG. 1 shows a basic illustration of a bearing for an open-end spinning rotor, as they are often used on open-end spinning machines comes.
  • the bearing 1 essentially consists of a bearing block 11, which carries the support disc bearings 12.
  • the support disc bearings 12 each store one Shaft 13, which in turn has a press fit with one at each of its ends Support disc 14 is connected.
  • the support disks 14 each form two pairs of support disks, so that two wedge gaps 141 arise.
  • the support disks 14 carry the rotor shaft 21 of the open-end spinning rotor 2.
  • the open-end spinning rotor 2 for example, via a tangential belt (see Figure 2) driven, it rolls in the wedge gap 141 on the support disks 14 from. This causes them to rotate.
  • the support washers 14 are each provided with a cooling groove 3, which ensures that the in the tread 4 of the support disc 14 heat generated during operation can be dissipated more easily.
  • the resulting 4 support disks 14 in the tread Warmth is not only due to the flexing work on the tread 41 of the support disk 4 rolling rotor shaft 21, but also generated by the inclination of the shafts 13.
  • the waves 13 that the Wear support discs 4 are not formed parallel to each other, but skewed so that on the rotor shaft 21 through the support disks 4th an axial thrust is exerted.
  • This is based on one in a known manner Axial bearing 101.
  • This can be designed as a track bearing, for example be, or, as indicated in the embodiment of Figure 1, in shape of an aerostatic thrust bearing.
  • Figure 2 shows a partial front view of a bearing of an open-end spinning rotor 2.
  • the rotor shaft 21 is radial in wedge gaps 141 of two pairs supported by support disks 14.
  • the cut of Figure 2 is laid out that the section through the rotor shaft 21, which hatches accordingly is shown, is laid.
  • the other components are with dash-dotted lines shown.
  • the rotor shaft 21 is supported by a tangential belt 5 runs in one direction through the spinning machine, driven. All open-end spinning rotors on one machine side are Spinning machine driven.
  • the tangential belt 5 is in the range of each Spinning rotor 2 loaded with a pressure roller 51, which is free around an axis rotatably arranged and by means of a load spring, not shown is pressed against the tangential belt 5.
  • the support disks 14 are in known manner slightly skewed to each other, so that in connection with the direction of rotation of the tangential belt on the rotor shaft 21 against an axial bearing (see Figure 1) an axial thrust is achieved.
  • an axial thrust is achieved.
  • the open-end spinning rotor maintains its operating position in the axial direction.
  • the spinning process for open-end rotor spinning is known to the person skilled in the art and need not be explained here. In those places (compare Figure 1) on which the surface 22 of the rotor shaft 21 with the Treads 41 of the support discs 14 comes into contact, the rotor shaft tends 21 for pollution, primarily from the treads 41 of the Support discs 14 originates.
  • the tread 41 advantageously all support disks 14 are equipped with an additive, which prevents the tread 41 from picking up dirt. Because this is especially harmful because not only the tread 4 on his Tread 41 dirty, but also this dirt to the Surface 22 of the rotor shaft 21 transmits where these dirt particles lock and form a hard and irregular surface.
  • the addition of the tread can be similar to a surface coating on the tread 41 of the tread 4 of the support disk 14 be applied by a coating process.
  • Another one Embodiment of the invention is the addition according to the invention in Tread 4 of the support disc 12 is molded in, i.e. already during production the support discs 14 contains the material of the covering, which is the tread 4 forms the additive according to the invention. This can also be advantageous only be molded in a thin outer layer of the tread 4 or also in the entire radial thickness of the tread 4 of the support disk 14.
  • the addition is a plastic in the embodiment of Figure 1, especially polytetrafluoroethylene or silicone, which is particularly simply insert into the tread 4 or apply to the surface to let.
  • plastics especially polytetrafluoroethylene or silicone, which is particularly simply insert into the tread 4 or apply to the surface to let.
  • they are inexpensive and offer sufficient sure guarantee that no dirt particles on the tread 41 of the tread 4 are added. As a result, neither will Dirt on the rotor shaft 21, which cooperates with such support disks, transfer.
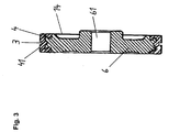
  • Figure 3 shows a section through a support disc 14 with a circumferential Cooling groove 3 in the tread 4, the tread on its outer circumference 41 forms.
  • the support disc consists of a base body 6, for example is designed as an aluminum injection molded part.
  • the support disc 14 has in the middle of a bore 61, through which it on the shaft 13 of a support disc bearing 12 (see Figure 1) is attached by means of a press fit.
  • the area of the transition between base body 6 and tread 4 is the outer circumference of the base body 6 designed in a special way, so that a ensures better adhesion between base body 6 and tread 4 can be.
  • the known basic bodies are designed so that in the area of a central Cooling groove 3 has a sufficient thickness of the tread 4.
  • the tread 41 of the tread 4 of the support disk 14 is according to the invention equipped with an additive that prevents dirt from entering the tread 41 of the tread 4 prevented, at least greatly reduced.
  • the addition is in the embodiment of Figure 3 according to the invention in the form of the tread 41 applied nanoparticles formed over a Adhesive is applied to the tread 41 of the tread 4.
  • the tread 4 with Nanoparticles is coated, is guaranteed according to their property, that dirt does not adhere to the surface of the tread 41 stay. This is a transfer of dirt from the support disc 14 to a cooperating with this spinning rotor or its rotor shaft 21 (see Figure 1) severely restricted, respectively does not take place.
  • FIG. 4 shows a spinning rotor designed according to the further invention 2 with its rotor shaft 21.
  • the invention it is provided, at least at those points on the surface 22 of the rotor shaft 21 which are associated with the running surfaces 41 of the support disks 14 come into contact, a coating that prevent deposits from adhering.
  • This Coating is according to the invention as on the surface of the rotor shaft applied nanoparticles formed In the representation of FIG. 4, the nanoparticles cannot be represented in detail since they are tiny Size are.
  • the entire surface 22 of the rotor shaft 21 with an inventive Be provided not only those parts of the coating Surface that are in contact with the support disks 14.
  • the nanoparticles with which the rotor shaft 21 of the spinning rotor 2 is coated is advantageously made of a hard material, in the embodiment of Figure 4 made of silicon carbide, which in addition to the invention dirt-repellent effect at the same time a surface is created which is wear resistant.
  • a hard material in the embodiment of Figure 4 made of silicon carbide, which in addition to the invention dirt-repellent effect at the same time a surface is created which is wear resistant.
  • other hard materials can also be used Form of nanoparticles can be used according to the invention.
  • the surfaces of the running surfaces 41 of the support disks 14 are in the exemplary embodiment of Figure 4, different from that described above according to the invention designed support disc 14, not with a coating provided, especially for rotor bearings that are less dusty Stand atmosphere, a spinning rotor designed according to the invention are sufficient can to prevent this in the area in which it is connected to the treads 41 of support disks worked together, not dirty.
  • a spinning rotor designed according to the invention are sufficient can to prevent this in the area in which it is connected to the treads 41 of support disks worked together, not dirty.
  • the treads 41 of the support plates 14 according to the invention relating to the support disks. Then it is guaranteed that even under the toughest conditions, no pollution of the rotor shaft 21 takes place.
  • the rotor shaft 21 is shown in FIG Invention in the area where he cooperates with the support discs on his Provide the surface with a structure.
  • This can, for example be a corrugation that can be cut into the Surface of the rotor shaft was stamped. Tools can also be used with diamond-embossed surfaces.
  • Such a designed surface of the rotor shaft according to the invention is in figure 5a in the form of a micrograph, greatly enlarged.

Landscapes

  • Engineering & Computer Science (AREA)
  • Mechanical Engineering (AREA)
  • Textile Engineering (AREA)
  • Spinning Or Twisting Of Yarns (AREA)

Abstract

Für die Lagerung eines Spinnrotors für eine Offenend-Spinnvorrichtung wird eine Stützscheibe vorgeschlagen, bei der die Lauffläche (41) des Laufbelages (4) mit Zusätzen ausgestattet ist, die verhindern, daß sich Schmutz an der Lauffläche (41) des Laufbelages anhaftet. Dafür werden verschiedenartige Zusätze vorgeschlagen, beispielsweise Polytetrafluorethylen. Bei einer anderen Ausgestaltung enthält der Zusatz Nanopartikel, die eine schmutzabweisende Eigenschaft besitzen und darüber hinaus verschleißbeständig sind.

Description

Der Gegenstand der vorliegenden Erfindung betrifft eine Stützscheibe für eine Lagerung eines Spinnrotors gemäß dem Oberbegriff des Anspruchs 1 sowie eine Lagerung für einen Spinnrotor gemäß Anspruch 16 und einen Rotor für eine Offenend-Spinnvorrichtung nach Anspruch 16.
Aus dem Stand der Technik ist es bekannt für die Lagerung für Spinnrotoren für Offenend-Spinnvorrichtungen Stützscheiben vorzusehen, die paarweise zueinander angeordnet sind und je einen Keilspalt bilden, der den Spinnrotor aufnimmt. Beim Betrieb des Spinnrotors rollt dieser auf der Lauffläche der Stützscheiben ab und stützt sich in bekannter Weise an einem Axiallager ab. Diese Lagerungen mittels Stützscheiben sind in der Lage Spinnrotoren mit Drehzahlen bis zu über 150.000 Umdrehungen pro Minute zu lagern. Der Laufbelag der verwendeten Stützscheiben besteht aus einem polymeren Werkstoff, der die Eigenschaft besitzt, den Lauf des Spinnrotors zu dämpfen und der gleichzeitig für die nötige Reibung sorgt, daß die Stützscheiben über den angetriebenen Spinnrotor in Drehung versetzte werden.
Die Umweltbedingungen, unter denen solche Stützscheiben betrieben werden, sind ungünstig, da die Verarbeitung von Fasern aus Kunststoffen oder Bauwolle, eine hohe Entwicklung an Faserflug und Stäuben verursacht. Dies kann in der Praxis dazu führen, daß sich während des Laufs des Offenend-Spinnrotors sich auf dessen Rotorschaft, im Bereich mit dem er mit den Stützscheiben zusammenarbeitet, Schmutz ansammelt. Dieser Schmutz gelangt indirekt auf den Rotorschaft, nämlich über den Laufbelag der Stützscheiben, die aus der Umgebung Staub und andere Schmutzteilchen ansammeln und diese während des Abrollens des Rotorschaftes an diesen übertragen.
Aus der DE 198 24 286 A1 ist eine Stützscheibe bekannt, die, um Ablagerungen am Rotorschaft des Spinnrotors zu vermindern, mit einer Lauffläche versehen ist, die eine Reinigungsnut besitzt. Durch die besondere Ausbildung der Lauffläche der Stützscheiben soll somit verhindert werden, daß sich Ablagerungen am Rotorschaft festsetzen können. Darüber hinaus ist in dieser Veröffentlichung beschrieben, die Stützscheiben aus einem Kunststoff auszubilden, der einen relativ kleinen elektrischen Widerstand besitzt. Dadurch sollen elektrostatische Aufladungen an den Stützscheiben vermieden werden. Über diese elektrostatischen Aufladungen gelangen die Schmutzteilchen auf die Lauffläche der Stützscheibe in Folge elektrostatischer Aufladung. Diese ergibt sich in Folge Reibung gegenüber der umgebenden Luft, weil die Stützscheiben im Betrieb mit hohen Drehzahlen rotieren.
Die Stützscheibe der DE 198 24 286 A1 erfordert also zum Verhindern von Ablagerungen besondere Maßnahmen an ihrer konstruktiven Ausgestaltung und Werkstoffzusammensetzung der Lauffläche. Dazu zählt das Einbringen einer Reinigungsnut und andererseits ein bestimmter Werkstoff für die Lauffläche der Stützscheibe, um die dort geforderten elektrischen Eigenschaften zu erzielen. Damit ist letztlich der Fachmann nicht frei in der Auswahl des Werkstoffs des Stützscheibenbelages, genauso wie bei der konstruktiven Ausgestaltung der Lauffläche der Stützscheibe.
Aufgabe der vorliegenden Erfindung ist es eine Stützscheibe sowie eine Lagerung für einen Offenend-Spinnrotor vorzuschlagen, die jeweils die Probleme des Standes der Technik lösen. Darüber hinaus schlägt die vorliegende Erfindung einen Spinnrotor vor, der insbesondere besonders geeignet ist mit den Stützscheiben und einer Lagerung gemäß der vorliegenden Erfindung zusammenzuarbeiten und der weniger zu Ablagerungen im Bereich mit dem er mit den Stützscheiben zusammenwirkt, neigt.
Erfindungsgemäß wird die Aufgabenstellung der vorliegenden Anmeldung durch eine Stützscheibe gemäß Patentanspruch 1 und eine Lagerung nach Anspruch 14 gelöst. Eine weitere Lösung bietet erfindungsgemäß ein Rotor nach Anspruch 16.
Durch die erfindungsgemäße Ausgestaltung, daß die Lauffläche des Laufbelages der Stützscheibe mit einem oder mit mehreren erfindungsgemäßen Zusätzen ausgestattet ist, wird erreicht, daß der Laufbelag der Lauffläche der Stützscheibe weit weniger Schmutzteilchen oder Staubteilchen aufnimmt, die somit auch nicht an den Rotorschaft übertragen werden können. Die Zusätze sind entsprechend der Erfindung derart ausgestaltet, daß sie die Aufnahme von Schmutz an der Lauffläche des Laufbelags erschweren. D.h., das Ablagern des Schmutzes auf der Stützscheibe wird durch die erfindungsgemäßen Zusätze wesentlich erschwert und teilweise sogar völlig verhindert. Die adhäsiven Kräfte, die dafür verantwortlich sind, daß Schmutzpartikel sich an der Lauffläche längerfristig anlagern können, werden durch die erfindungsgemäße Ausgestaltung so stark herabgesetzt, daß der gewünschte Effekt eintritt.
In besonders vorteilhafter Weiterbildung der Erfindung ist der Zusatz dabei in den Laufbelag der Stützscheibe eingeformt, d.h. daß beispielsweise Bestandteile des Zusatzes zusammen mit dem polymeren Werkstoff auf den Grundkörper der Stützscheibe aufgebracht werden. Dies hat den Vorteil, daß Bearbeitungen der Stützscheibe sowie Verschleiß der Laufbelages nicht dazu führen, daß die Lauffläche ohne den erfindungsgemäßen Zusatz ist, da der wesentliche Teil des Laufbelages erfindungsgemäß den Zusatz in sich enthält. Vorteilhaft kann dies im einzelnen so ausgestaltet sein, daß der Zusatz allerdings nicht da enthalten ist, wo sich Laufbelag und Grundkörper berühren, um dort eine sichere Verbindung nicht zu gefährden.
Bei einer anderen vorteilhaften Ausgestaltung der Erfindung ist der Zusatz auf der Lauffläche des Laufbelages aufgebracht. Dieses Aufbringen auf der Oberfläche der Lauffläche geschieht entsprechend wie bei einer Oberflächenbeschichtung. Dabei wird jedenfalls die oberste Schicht der Lauffläche mit einem erfindungsgemäßen Zusatz ausgestattet, so daß die Oberfläche des Laufbelages an der Lauffläche entsprechend den Merkmalen des Zusatzes ausgebildet ist. Die Oberfläche des Laufbelages wird dabei vorteilhaft bei Verwendung eines schmutzabweisenden Zusatzes dann ebenfalls schmutzabweisend. Bei diesem Verfahren braucht günstiger Weise nicht der gesamte Laufbelag mit dem Zusatz versehen sein, sondern nur die relevante, mit einem Rotorschaft zusammenarbeitende Oberfläche der Lauffläche des Laufbelags. Dadurch ist es möglich das ganze kostengünstiger auszugestalten, als wenn der gesamte Belag mit dem Zusatz durchtränkt ist. Die Schicht ist dabei vorteilhaft so dünn, daß die mechanischen Eigenschaften des Werkstoffes, die Oberflächenstruktur und die Elastizität des Laufbelags nicht negativ beeinflußt werden.
In einer besonders günstigen Weiterbildung der Erfindung ist der Zusatz ein Kunststoff, da insbesondere Kunststoffe mit Eigenschaften ausgestattet sind, mit deren Hilfe eine den Schmutz abweisende, beziehungsweise schmutzresistente Lauffläche an der Stützscheibe ermöglicht wird. In besonders vorteilhafter Weiterbildung der Erfindung ist der Zusatz Polytetraflourethylen (PTFE), der ein besonders wirkungsvolles und vielseitiges Material für einen Zusatz gemäß der Erfindung ist. Vorteilhafter Weise kann allein oder zusätzlich auch Silikon eingesetzt werden
Vorteilhafterweise kann ein Zusatz aus einem Kunststoff, insbesondere auch PTFE, mit anderen Zusätzen kombiniert werden, so daß auch weitere Eigenschaften, zusätzlich zur Eigenschaft der Schmutzabweisung, in der Lauffläche des Laufbelages umgesetzt werden können. In einer weiteren vorteilhaften Ausgestaltung der Erfindung ist der Zusatz in Form eines Lackes oder Filmes auf der Lauffläche des Laufbelags der Stützscheibe ausgebildet. Dabei können innerhalb des Lackes oder Filmes verschiedene weitere Zusätze enthalten sein, wodurch die Eigenschaften der Oberfläche besonders vielseitig gestaltet werden können. Dabei können in den Lack beispielsweise Zusätze aus einem Kunststoff integriert sein, die eine besonders gute schmutzabweisende Wirkung haben, während andererseits gleichzeitig Bestandteile enthalten sein können, die die Verschleißfestigkeit gewährleisten.
In besonders vorteilhafter Ausgestaltung der Erfindung besteht der Zusatz aus Nanopartikeln, mit deren Hilfe verschiedenartige Eigenschaften der Oberfläche auf einfache Weise realisiert werden können, wobei gleichzeitig durch die spezifischen Eigenschaften der Nanopartikel diese die Oberfläche des Laufbelags der Stützscheibe erfindungsgemäß schmutzabweisend ausgestalten. Die Nanopartikel können dabei aus verschiedenen Materialien bestehen. Gemäß der Erfindung kann somit besonders effektiv eine easy-toclean - Oberfläche erzeugt werden. Nanopartikel sind dabei Struktureinheiten und Teilchen deren Größe wegen ihrer Winzigkeit in Nanometern zu messen ist. So können Nanoteilchen gemäß der Erfindung durchaus eine Größe von nur 100 nm aufweisen.
Allein durch die Ausgestaltung der Größe der Teilchen ist es auf einfache Weise möglich praktisch, im wesentlichen ohne daß es dabei auf das Material an sich ankommt, die damit ausgestaltete Oberfläche des Laufbelages schmutzabweisend auszubilden. Die spezifische Größe der Nanopartikel gewährleistet nämlich, daß Schmutz sich bedingt durch diese besonderen Eigenschaften dieser Oberflächen, praktisch ohne Bindungen anlegt, so daß Schmutzteilchen auf einfache Weise wieder von der Oberfläche entfernt werden können. Beispielsweise geschieht dies allein schon durch die Ausbildung von Flüssigkeitstropfen oder Luftströmungen, wenn eine derart ausgestaltete Oberfläche mit Flüssigkeit benetzt oder angeströmt wird. Flüssigkeitstropfen haben dabei die Eigenschaft, daß sie die Schmutzteilchen von der Oberfläche aufnehmen und der Schmutz zusammen mit der Flüssigkeit die Oberfläche verläßt.
In vorteilhafter Weiterbildung der Erfindung sind die Nanopartikel des Zusatzes wenigstens teilweise mit Hilfe des sogenannten Sol-Gel-Prozesses hergestellt worden. Dabei werden die Nanopartikel innerhalb einer Flüssigkeit ausgeschieden, wobei dies mit einer festgelegten und bevorzugten Größe erfolgt.
In einer anderen vorteilhaften Ausgestaltung der Erfindung werden die Nanopartikel durch Verdampfen mit fein fokusierten Laserstrahlen hergestellt. Auf diese Art und Weise können vorteilhaft Nanopartikel auch aus Werkstoffen hergestellt werden, die nicht nach dem Gel-Sol-Prozeß herstellbar sind. In einer vorteilhaften Weiterbildung der Erfindung besteht der Zusatz aus Nanopartikeln, die aus verschiedenen Werkstoffen bestehen, d.h. also auch, daß sie verschiedene Eigenschaften in der Beschichtung des Laufbelags der Stützscheibe repräsentieren können. Ebensogut oder auch gleichzeitig können Nanopartikel eingesetzt werden, die auf verschiedene Art hergestellt wurden.
Bei einer anderen vorteilhaften Weiterbildung der Erfindung sind die Nanopartikel wenigstens teilweise aus einem organischen Werkstoff ausgebildet, womit insbesondere Eigenschaften an der Lauffläche realisiert werden können, die durch die spezifische Materialeigenschaft des organischen Werkstoffs, beispielsweise eines Kunststoffs, vorgegeben ist.
In einer anderen vorteilhaften Weiterbildung der Erfindung bestehen die Nanopartikel wenigstens teilweise aus einem anorganischen Werkstoff, wodurch neben der Eigenschaft, daß der Stützscheibenbelag mit einer Beschichtung ausgestattet werden kann, die besonders schmutzabweisend ist, gleichzeitig eine Beschichtung realisiert werden kann, die darüber hinaus besonders verschleißfest ist sowie weitere vorteilhafte Eigenschaften aufweist. Durch den Einsatz der Nanopartikel als Grundlage zur Bildung der Oberfläche des Laufbelages wird vorteilhaft ermöglicht die Eigenschaften der Oberfläche frei zu gestalten, d.h. ohne daß der Werkstoff der Stützscheibe in besonderem Maße verändert werden muß, da mit Hilfe der Nanopartikel auch andere erforderliche Eigenschaften der Oberfläche gleichzeitig realisiert werden können. Es kann damit auch eine Oberfläche erhalten werden die beispielsweise antistatisch ist Dabei bleibt die notwendige Eigenschaft, beispielsweise die Elastizität und die Dämpfungseigenschaften des Laufbelages der Stützscheibe erhalten. Mit Hilfe der Erfindung können nunmehr Stützscheibenbeläge realisiert werden, die die positiven Eigenschaften unterschiedlichster Materialien in sich vereinigen.
Die Lauffläche des Laufbelags ist mit einem schmutzabweisenden Zusatz ausgestattet, somit wird vorteilhaft erreicht, daß eine Lagerung geschaffen wird, die es ermöglicht, daß der Rotorschaft des Spinnrotors nicht mit Schmutzteilchen in Berührung kommt, die sich bei den Lagerungen des Standes der Technik auf der Stützscheibe festsetzen und die Eigenschaft besitzen von der Stützscheibe auf den Rotorschaft überzugehen und diesen mit einer Schmutzschicht zu beschichten. Die erfindungsgemäße Ausgestaltung der Oberfläche des Laufbelages der Stützscheibe gewährleistet, daß die Lagerung auch mit einem Einsatzfall zurecht kommt, wo große Schmutz- und Staubmengen anfallen, die ansonsten zu Schwierigkeiten führen würden. Dabei ist die Lagerung erfindungsgemäß vorteilhaft mit einer oder mehreren Stützscheiben ausgestattet, die die Merkmale der oben beschriebenen Erfindung besitzen.
Gemäß der weiteren Erfindung wird ein Rotor für eine Offenend-Spinnvorrichtung vorgeschlagen, wobei der Rotorschaft wenigstens im Bereich, mit dem er mit einer Stützscheibe zusammenwirkt mit einer Beschichtung versehen ist, die das Anhaften von Ablagerungen, insbesondere Schmutz, erschwert. Mit einem derartigen erfindungsgemäßen Rotor kann eine Lagerung betrieben werden, bei der die Stützscheiben gemäß dem Stand der Technik ausgebildet sind, aber auch besonders vorteilhaft eine Lagerung gemäß der Erfindung, wobei der Laufbelag der Stützscheiben der Lagerung mit den Eigenschaften, wie oben beschrieben, ausgestattet ist.
Gemäß der weiteren Erfindung ist der Rotor mit einer Beschichtung versehen, die wenigstens teilweise aus auf der Oberfläche des Rotorschaftes aufgebrachten Nanopartikeln besteht. Durch diese Art der Ausgestaltung kann der Rotorschaft mit einer Beschichtung versehen werden, die dafür sorgt, daß Schmutzteilchen sich nicht auf der Oberfläche des Rotorschaftes festsetzen können. In besonders vorteilhafter Weiterbildung wird eine Beschichtung mit Nanopartikeln vorgesehen, wobei diese neben der Eigenschaft Schmutz abzuweisen auch gleichzeitig einen Verschleißschutz für den Rotorschaft bilden. Dazu können also Substanzen für die Nanopartikel eingesetzt werden, die eine besonders verschleißfeste Beschichtung ergeben. Darüber hinaus kann der Rotorschaft vorteilhaft mit Nanopartikeln versehen werden, wie sie in den Unteransprüchen beschrieben sind und den gleichen Effekt bewirken wie bei der Beschichtung bei der erfindungsgemäßen Stützscheibe. Beim Rotorschaft wirkt sich insbesondere vorteilhaft aus, wenn gleichzeitig die Eigenschaften schmutzabweisend und verschleißfest realisiert werden. Nanopartikel sind dazu besonders geeignet. Um eine besondere Verschleißfestigkeit zu erreichen, sind also auch besonders günstig Nanopartikel aus einem Hartstoff einsetzbar, beispielsweise Karbide wie Silizium-Karbid.
Durch die vorteilhafte Ausgestaltung der Oberfläche des Rotorschaftes, wobei diese strukturiert ist wird erreicht, daß die Nanopartikel besonders auch in den Vertiefungen der Oberflächenstruktur angelagert werden können, wodurch sie besonders verschleißgeschützt sind, so daß das beschichtete Bauteil die gewünschte Eigenschaften weniger leicht verlieren kann. Weitere vorteilhafte Ausgestaltungen der Erfindung sind in den Unteransprüchen beschrieben.
Im folgenden wird die Erfindung anhand von zeichnerischen Darstellungen beschrieben. Es zeigen
Figur 1
eine Lagerung eines Offenend-Spinnrotors, der in Keilspalten von Stützscheiben gelagert ist, in der Draufsicht,
Figur 2
eine Prinzipdarstellung einer Rotorlagerung in der Vorderansicht,
Figur 3
eine erfindungsgemäße Stützscheibe mit einem Laufbelag im Schnitt.
Figur 4
eine Prinzipdarstellung eines Spinnrotors auf einem Stützscheibenpaar,
Figur 5a, 5b
fotografische Aufnahmen von Oberflächen gemäß der Erfindung.
Figur 1 zeigt eine Prinzipdarstellung einer Lagerung für einen Offenend-Spinnrotor, wie sie vielfach an Offenend-Spinnmaschinen zum Einsatz kommt. Die Lagerung 1 besteht im wesentlichen aus einem Lagerbock 11, der die Stützscheibenlager 12 trägt. Die Stützscheibenlager 12 lagern je eine Welle 13, die ihrerseits an jedem ihrer Enden über einen Preßsitz mit einer Stützscheibe 14 verbunden ist. Die Stützscheiben 14 bilden je zwei Stützscheibenpaare, so daß zwei Keilspalte 141 entstehen. Die Stützscheiben 14 tragen den Rotorschaft 21 des Offenend-Spinnrotor 2.
Wird der Offenend-Spinnrotor 2 beispielsweise über einen Tangentialriemen (vergleiche Figur 2) angetrieben, rollt er in dem Keilspalt 141 an den Stützscheiben 14 ab. Dadurch werden diese in Drehung versetzt. Die Stützscheiben 14 sind mit je einer Kühlnut 3 versehen, die dafür sorgt, daß die im Laufbelag 4 der Stützscheibe 14 während des Betriebs entstehende Wärme leichter abgeführt werden kann. Die im Laufbelag 4 Stützscheiben 14 entstehende Wärme wird dabei nicht nur durch die Walkarbeit des auf der Lauffläche 41 der Stützscheibe 4 abrollenden Rotorschaftes 21, sondern auch durch die Schrägstellung der Wellen 13 erzeugt. Die Wellen 13, die die Stützscheiben 4 tragen, sind nicht parallel zueinander ausgebildet sind, sondern windschief, so daß auf den Rotorschaft 21 durch die Stützscheiben 4 ein Axialschub ausgeübt wird. Dieser stützt sich in bekannter Weise an einem Axiallager 101 ab. Dieses kann beispielsweise als Spurlager ausgebildet sein, oder, wie im Ausführungsbeispiel von Figur 1 angedeutet, in Form eines aerostatischen Axiallagers.
Figur 2 zeigt eine teilweise Vorderansicht einer Lagerung eines Offenend-Spinnrotors 2. Der Rotorschaft 21 ist radial in Keilspalten 141 von zwei Paaren von Stützscheiben 14 gelagert. Die Schnittführung von Figur 2 ist so gelegt, daß der Schnitt durch den Rotorschaft 21, der entsprechend schraffiert dargestellt ist, gelegt ist. Die übrigen Bauteile sind mit strichpunktierten Linien dargestellt. Der Rotorschaft 21 wird durch einen Tangentialriemen 5, der in einer Laufrichtung durch die Spinnmaschine hindurchläuft, angetrieben. Dabei werden sämtliche Offenend-Spinnrotoren einer Maschinenseite der Spinnmaschine angetrieben. Der Tangentialriemen 5 ist im Bereich jedes Spinnrotors 2 mit einer Andrückrolle 51 belastet, die um eine Achse frei drehbar angeordnet und mittels einer nicht dargestellten Belastungsfeder gegen den Tangentialriemen 5 angedrückt wird. Die Stützscheiben 14 sind in bekannter Weise leicht windschief zueinander angeordnet, so daß in Verbindung mit der Laufrichtung des Tangentialriemens auf den Rotorschaft 21 gegen ein Axiallager (vergleiche Figur 1) ein Axialschub erreicht wird. Dadurch behält der Offenend-Spinnrotor in axialer Richtung seine Betriebsposition bei. Der Spinnvorgang für das Offenend-Rotorspinnen ist dem Fachmann bekannt und braucht hier nicht erläutert zu werden. An denjenigen Stellen (vergleiche Figur 1), an denen die Oberfläche 22 des Rotorschaftes 21 mit den Laufflächen 41 der Stützscheiben 14 in Berührung kommt, neigt der Rotorschaft 21 zur Verschmutzung, die in erster Linie von den Laufflächen 41 der Stützscheiben 14 herrührt.
Um dies gemäß der Erfindung zu vermeiden bzw. zu verhindern ist die Lauffläche 41 vorteilhaft aller Stützscheiben 14 mit einem Zusatz ausgestattet, der verhindert, daß die Lauffläche 41 Schmutz aufnimmt. Dies nämlich ist insbesondere deswegen schädlich, da nicht nur der Laufbelag 4 an seiner Lauffläche 41 dabei verschmutzt, sondern diesen Schmutz auch an die Oberfläche 22 des Rotorschaftes 21 überträgt, wo sich diese Schmutzteilchen festsetzen und einen harten und unregelmäßigen Belag bilden. Gemäß der Erfindung kann der Zusatz der Lauffläche ähnlich einer Oberflächenbeschichtung auf der Lauffläche 41 des Laufbelages 4 der Stützscheibe 14 durch einen Beschichtungsvorgang aufgebracht sein. Bei einem anderen Ausführungsbeispiel der Erfindung ist der Zusatz gemäß der Erfindung im Laufbelag 4 der Stützscheibe 12 eingeformt, d.h. schon während der Herstellung der Stützscheiben 14 enthält das Material des Belags, der den Laufbelag 4 bildet, den erfindungsgemäßen Zusatz. Dieser kann vorteilhaft auch nur in einer dünnen äußeren Schicht des Laufbelages 4 eingeformt sein oder auch in der gesamten radialen Dicke des Laufbelages 4 der Stützscheibe 14.
Erfindungsgemäß ist der Zusatz ein Kunststoff beim Ausführungsbeispiel von Figur 1, insbesondere Polytetraflourethylen oder Silikon, die sich besonders einfach in den Laufbelag 4 einbringen oder auf die Oberfläche aufbringen lassen. Darüber hinaus sind sie kostengünstig ist und bieten eine ausreichend sichere Gewähr dafür, daß keine Schmutzteilchen an der Lauffläche 41 des Laufbelages 4 aufgenommen werden. Demzufolge wird auch kein Schmutz an den Rotorschaft 21, der mit solchen Stützscheiben zusammenarbeitet, übertragen.
Figur 3 zeigt einen Schnitt durch eine Stützscheibe 14 mit einer umlaufenden Kühlnut 3 im Laufbelag 4, der an seinem Außenumfang die Lauffläche 41 bildet. Die Stützscheibe besteht aus einem Grundkörper 6, der beispielsweise als Aluminium-Spritzgußteil ausgebildet ist. Die Stützscheibe 14 besitzt in ihrer Mitte eine Bohrung 61, über die sie an der Welle 13 eines Stützscheibenlagers 12 (vergleiche Figur 1) mittels einer Preßpassung befestigt ist. Im Bereich des Übergangs zwischen Grundkörper 6 und Laufbelag 4 ist der Außenumfang des Grundkörpers 6 in besonderer Art ausgestaltet, damit eine bessere Haftung zwischen Grundkörper 6 und Laufbelag 4 gewährleistet werden kann.
Die bekannten Grundkörper sind so gestaltet, daß im Bereich einer mittigen Kühlnut 3 eine genügende Dicke des Laufbelages 4 vorhanden ist. Die Lauffläche 41 des Laufbelages 4 der Stützscheibe 14 ist erfindungsgemäß mit einem Zusatz ausgestattet, der die Aufnahme von Schmutz an der Lauffläche 41 des Laufbelages 4 verhindert, zumindest stark vermindert. Der Zusatz ist beim Ausführungsbeispiel von Figur 3 gemäß der Erfindung in Form von auf der Lauffläche 41 aufgebrachten Nanopartikeln ausgebildet, die über ein Haftmittel an der Lauffläche 41 des Laufbelages 4 aufgebracht sind. Auch bei dieser Art der Ausgestaltung der Erfindung, wo also der Laufbelag 4 mit Nanopartikeln beschichtet ist, ist gemäß deren Eigenschaft gewährleistet, daß Verschmutzungen nicht auf der Oberfläche der Lauffläche 41 haften bleiben. Dadurch ist ein Übertragen von Verschmutzungen von der Stützscheibe 14 an einen mit dieser zusammenarbeitenden Spinnrotor bzw. an dessen Rotorschaft 21 (vergleiche Figur 1) stark eingeschränkt, beziehungsweise findet nicht statt.
Figur 4 zeigt einen gemäß der weiteren Erfindung ausgestalteten Spinnrotor 2 mit seinem Rotorschaft 21. Gemäß der Erfindung ist vorgesehen, wenigstens an denjenigen Stellen der Oberfläche 22 des Rotorschaftes 21, die mit den Laufflächen 41 der Stützscheiben 14 in Berührung kommen, eine Beschichtung vorzusehen, die das Anhaften von Ablagerungen verhindern. Diese Beschichtung ist dabei erfindungsgemäß als auf der Oberfläche des Rotorschaftes aufgebrachte Nanopartikel ausgebildet In der Darstellung von Figur 4 sind die Nanopartikel im einzelnen nicht darstellbar, da sie von winziger Größe sind. Selbstverständlich kann aus Gründen einer rationellen Fertigung auch die gesamte Oberfläche 22 des Rotorschaftes 21 mit einer erfindungsgemäßen Beschichtung versehen sein, nicht nur diejenigen Teile der Oberfläche, die mit den Stützscheiben 14 in Kontakt stehen.
Die Nanopartikel, mit denen der Rotorschaft 21 des Spinnrotors 2 beschichtet ist, bestehen vorteilhaft aus einem Hartstoff, im Ausführungsbeispiel von Figur 4 aus Silizium-Karbid, wodurch neben der erfindungsgemäßen schmutzabweisenden Wirkung gleichzeitig eine Oberfläche geschaffen wird, die verschleißfest ist. Selbstverständlich können auch andere Hartstoffe in Form von Nanopartikeln erfindungsgemäß eingesetzt werden.
Die Oberflächen der Laufflächen 41 der Stützscheiben 14 sind beim Ausführungsbeispiel von Figur 4, anders als bei der oben beschriebenen erfindungsgemäß ausgestalteten Stützscheibe 14, nicht mit einer Beschichtung versehen, da insbesondere bei Rotorlagerungen, die in wenig staubhaltiger Atmosphäre stehen, ein erfindungsgemäß ausgebildeter Spinnrotor ausreichen kann, um zu verhindern, daß dieser im Bereich in dem er mit den Laufflächen 41 von Stützscheiben zusammenarbeitet, nicht verschmutzt. Selbstverständlich können die Laufflächen 41 der Stützscheiben 14 auch gemäß der Erfindung betreffend die Stützscheiben ausgebildet sein. Dann ist gewährleistet, daß auch unter härtesten Einsatzbedingungen keine Verschmutzen des Rotorschaftes 21 stattfindet.
Neben einer Beschichtung, wobei diese einheitlich mit gleichen Nanopartikeln ausgestaltet, ist es auch möglich sie aus verschiedenen Materialien herzustellen und gemeinsam auf den Rotorschaft aufzubringen, um damit verschiedene Eigenschaften gleichzeitig am Rotorschaft zu realisieren. So ist es außerdem auch beispielsweise denkbar, daß gleichzeitig mit Nanopartikeln noch eine andere Beschichtungsform mit an den betreffenden Stellen aufgebracht wird. Dies betrifft auch die Lauffläche 41 der Stützscheiben 14 gemäß der Erfindung, wobei dort auch schon bereits eine Beschichtung ohne Nanopartikel ausreichend sein kann, um das Anlagern von Verschmutzungen zu verhindern.
Zur besseren Aufnahme der Beschichtung ist der Rotorschaft 21 gemäß der Erfindung im Bereich, wo er mit den Stützscheiben zusammenwirkt, an seiner Oberfläche mit einer Strukturierung versehen. Diese kann beispielsweise eine Riffelung sein, die mit Hilfe eines entsprechenden Werkzeugs in die Oberfläche des Rotorschaftes eingeprägt wurde. Dazu können auch Werkzeuge mit diamantbestückten Prägeflächen eingesetzt werden. Eine derart ausgestaltete Oberfläche des Rotorschaftes gemäß der Erfindung ist in Figur 5a in Form einer mikroskopischen Aufnahme, stark vergrößert, dargestellt.
Neben dieser Art der Herstellung der Strukturierung mittels eines Prägewerkzeugs kann diese auch durch eine Oberflächenbearbeitung mittels einer Bearbeitung mit Laser hergestellt werden. Die dabei entstehende Oberflächenform zeigt Figur 5b. Dies hat den besonderen Vorteil, daß die Oberfläche des Rotorschaftes vor der Strukturierung bereits mit einer Verschleißschutzschicht beschichtet sein kann, Es können nunmehr also, besonders vorteilhaft, auch derartige Schichten anschließend noch mit einer Beschichtung mit Nanopartikeln gemäß der Erfindung beschichtet werden. Die Nanopartikel werden dabei auch an den Oberflächen der Vertiefungen abgelegt. Dadurch wird erreicht, daß sie vor Verschleiß geschützt sind und der Rotorschaft auch nach längerem Betrieb noch ausreichende schmutzabweisende Eigenschaften besitzt.

Claims (29)

  1. Stützscheibe für eine Lagerung eines Spinnrotors, mit einem Grundkörper mit einem auf diesen aufgebrachten Laufbelag mit einer Lauffläche, wobei der Laufbelag aus einem polymeren Werkstoff besteht, dadurch gekennzeichnet, daß die Lauffläche (41) des Laufbelags (4) mit einem oder mehreren Zusätzen ausgestattet ist, zum Verhindern der Aufnahme von Schmutz an der Lauffläche (41) des Laufbelages (4).
  2. Stützscheibe nach Anspruch 1, dadurch gekennzeichnet, daß der Zusatz im Laufbelag (4) eingeformt ist.
  3. Stützscheibe nach Anspruch 1 oder 2, dadurch gekennzeichnet, daß der Zusatz auf die Lauffläche (41) des Laufbelages (4), ähnlich einer Oberflächenbeschichtung, aufgebracht ist.
  4. Stützscheibe nach einem oder mehreren der Ansprüche 1 bis 3, dadurch gekennzeichnet, daß der Zusatz ein Kunststoff ist.
  5. Stützscheibe nach einem oder mehreren der Ansprüche 1 bis 4, dadurch gekennzeichnet, daß der Zusatz Polytetraflourethylen und / oder Silikon ist.
  6. Stützscheibe nach einem oder mehreren der Ansprüche 1 bis 5, dadurch gekennzeichnet, daß der Zusatz in Form eines Lackes oder Filmes aufgebracht wird.
  7. Stützscheibe nach einem oder mehreren der Ansprüche 1 bis 6, dadurch gekennzeichnet, daß der Zusatz Nanopartikel enthält.
  8. Stützscheibe nach Anspruch 7, dadurch gekennzeichnet, daß der Zusatz mit Hilfe des Sol-Gel-Prozesses hergestellt worden ist.
  9. Stützscheibe nach Anspruch 7, dadurch gekennzeichnet, daß der Zusatz aus einem Werkstoff besteht, der vorher durch Verdampfen mit feinfokusierten Laserstrahlen hergestellt wurde.
  10. Stützscheibe nach einem oder mehreren der Ansprüche 1 bis 8, dadurch gekennzeichnet, daß der Zusatz aus Nanopartikel aus verschiedenen Werkstoffen und / oder auf verschiedene Art hergestellten Nanopartikel besteht.
  11. Stützscheibe nach einem oder mehreren der Ansprüche 1 bis 10, dadurch gekennzeichnet, daß die Nanopartikel wenigstens teilweise aus einem organischen Werkstoff besteht.
  12. Stützscheibe nach einem oder mehreren der Ansprüche 1 bis 11, dadurch gekennzeichnet, daß die Nanopartikel wenigstens teilweise aus einem anorganischen Werkstoff bestehen.
  13. Stützscheibe nach einem oder mehreren der Ansprüche 1 bis 12, dadurch gekennzeichnet, daß die Nanopartikel wenigstens teilweise aus einem Werkstoff bestehen, der eine verschleißbeständige Oberfläche bildet.
  14. Lagerung für einen Spinnrotor für eine Offenend-Spinnmaschine, wobei der Schaft des Spinnrotors im Keilspalt wenigstens zweier Stützscheiben gelagert ist und der Rotorschaft auf der Lauffläche des Laufbelages der Stützscheiben abrollt, dadurch gekennzeichnet, daß der Laufbelag (4) wenigstens einer der Stützscheiben (14) aus einem elastomeren Werkstoff besteht und die Lauffläche (41) des Laufbelags (4) mit einem Zusatz ausgestattet ist, der die Aufnahme von Schmutz an der Oberfläche des Laufbelages (4) erschwert.
  15. Lagerung nach Anspruch 14, dadurch gekennzeichnet, daß die Stützscheibe (14) mit den Merkmalen eines oder mehrerer der Ansprüche 2 bis 13 ausgestattet ist.
  16. Rotor für eine Offenend-Spinnvorrichtung mit einer Lagerung , insbesondere nach Anspruch 14 oder 15, wobei der Rotorschaft (21) wenigstens im Bereich mit dem er mit einer Stützscheibe (14) zusammenwirkt mit einer Beschichtung versehen ist, die das Anhaften von Ablagerungen, insbesondere Schmutz, erschwert, dadurch gekennzeichnet, daß die Beschichtung wenigstens teilweise aus auf der Oberfläche (22) des Rotorschaftes (21) aufgebrachten Nanopartikel besteht.
  17. Rotor nach Anspruch 16 , dadurch gekennzeichnet, daß die Beschichtung einen Verschleißschutz für den Rotorschaft (21) bildet.
  18. Rotor nach Anspruch 17 , dadurch gekennzeichnet, daß die Beschichtung aus Nanopartikel aus einem Hartstoff besteht.
  19. Rotor nach Anspruch 17 oder 18, dadurch gekennzeichnet, daß die Nanopartikel wenigstens teilweise aus einem organischen Stoff bestehen.
  20. Rotor nach einem oder mehreren der Ansprüche 16 bis 19, dadurch gekennzeichnet, daß die Beschichtung PTFE enthält.
  21. Rotor nach einem oder mehreren der Ansprüche 16 bis 18, dadurch gekennzeichnet, daß die Nanopartikel wenigstens teilweise aus einem anorganischen Stoff bestehen.
  22. Rotor nach einem oder mehreren der Ansprüche 16 bis 21, dadurch gekennzeichnet, daß die Nanopartikel wenigstens teilweise aus einem verschleißfesten Werkstoff bestehen.
  23. Rotor nach einem oder mehreren der Ansprüche 17 bis 22, dadurch gekennzeichnet, daß die Beschichtung Silikon enthält
  24. Rotor nach einem oder mehreren der Ansprüche 17 bis 23, dadurch gekennzeichnet, daß der Rotorschaft (21) auf seiner Oberfläche (22) strukturiert ist.
  25. Rotor nach Anspruch 24, dadurch gekennzeichnet, daß der Rotorschaft (21) geriffelt ist bevor er beschichtet ist.
  26. Rotor nach Anspruch 24, dadurch gekennzeichnet, daß der Rotorschaft (21) mittels Laserbearbeitung strukturiert ist, bevor er beschichtet ist.
  27. Rotor nach einem oder mehreren der Ansprüche 24 bis 26, dadurch gekennzeichnet, daß der Rotorschaft (21) wenigstens im Bereich, mit dem er mit einer Stützscheibe (14) zusammenwirkt, strukturiert ist.
  28. Rotor nach einem oder mehreren der Ansprüche 24 bis 27, dadurch gekennzeichnet, daß der Rotorschaft (21) mit einer Beschichtung mit eingelagerten Hartstoffpartikeln beschichtet ist, bevor er strukturiert ist.
  29. Rotor nach Anspruch 28, dadurch gekennzeichnet, daß die Hartstoffpartikel Silizium-Karbid- und/oder Diamant-Partikel sind.
EP02025441A 2001-11-29 2002-11-15 Stützscheibe und Lagerung für einen Spinnrotor Withdrawn EP1316629A1 (de)

Applications Claiming Priority (4)

Application Number Priority Date Filing Date Title
DE10159693 2001-11-29
DE10159693 2001-11-29
DE10237007A DE10237007A1 (de) 2001-11-29 2002-08-13 Stützscheibe und Lagerung für einen Spinnrotor
DE10237007 2002-08-13

Publications (1)

Publication Number Publication Date
EP1316629A1 true EP1316629A1 (de) 2003-06-04

Family

ID=26010715

Family Applications (1)

Application Number Title Priority Date Filing Date
EP02025441A Withdrawn EP1316629A1 (de) 2001-11-29 2002-11-15 Stützscheibe und Lagerung für einen Spinnrotor

Country Status (1)

Country Link
EP (1) EP1316629A1 (de)

Cited By (1)

* Cited by examiner, † Cited by third party
Publication number Priority date Publication date Assignee Title
CN100554538C (zh) * 2004-01-19 2009-10-28 里特机械公司 精梳机棉网引导装置

Citations (9)

* Cited by examiner, † Cited by third party
Publication number Priority date Publication date Assignee Title
DE3050056C1 (de) * 1979-11-22 1988-06-16 Glyco Metall Werke Zwei- oder Mehrschicht-Verbundwerkstoff und Verfahren zu seiner Herstellung
DE4227909A1 (de) * 1992-08-22 1994-02-24 Glyco Metall Werke Metall-Kunststoff-Verbundlagerwerkstoff sowie Verfahren zu dessen Herstellung
US5517814A (en) * 1993-10-14 1996-05-21 Fritz Stahlecker Supporting disk for a supporting disk bearing arrangement of an open-end spinning rotor
EP0794273A1 (de) * 1996-03-05 1997-09-10 Rieter Ingolstadt Spinnereimaschinenbau AG Offenend-Spinnvorrichtung
US5992137A (en) * 1998-04-23 1999-11-30 Spindelfabrik, Suessen, Schurr, Stahlecker & Grill Gmbh Supporting disc for a supporting disc bearing of open-end spinning rotors and process of making same
EP0960963A2 (de) * 1998-05-29 1999-12-01 Rieter Ingolstadt Spinnereimaschinenbau AG Lagerung für einen Offenend-Spinnrotor mittels Stützscheiben
US6106936A (en) * 1995-07-08 2000-08-22 Glyco-Metall-Werke, Glyco B.V. & Co. Kg Overlay material for plain bearing comprising filled fluorothermoplastic material
EP1096045A1 (de) * 1999-10-26 2001-05-02 Rieter Ingolstadt Spinnereimaschinenbau AG Lagerung für einen Offenend-Spinnrotor
DE10055443A1 (de) * 2000-11-09 2002-05-29 Wacker Chemie Gmbh Beschichtete Rotorwelle für einen Spinnrotor zum Offenend-Spinnen

Patent Citations (9)

* Cited by examiner, † Cited by third party
Publication number Priority date Publication date Assignee Title
DE3050056C1 (de) * 1979-11-22 1988-06-16 Glyco Metall Werke Zwei- oder Mehrschicht-Verbundwerkstoff und Verfahren zu seiner Herstellung
DE4227909A1 (de) * 1992-08-22 1994-02-24 Glyco Metall Werke Metall-Kunststoff-Verbundlagerwerkstoff sowie Verfahren zu dessen Herstellung
US5517814A (en) * 1993-10-14 1996-05-21 Fritz Stahlecker Supporting disk for a supporting disk bearing arrangement of an open-end spinning rotor
US6106936A (en) * 1995-07-08 2000-08-22 Glyco-Metall-Werke, Glyco B.V. & Co. Kg Overlay material for plain bearing comprising filled fluorothermoplastic material
EP0794273A1 (de) * 1996-03-05 1997-09-10 Rieter Ingolstadt Spinnereimaschinenbau AG Offenend-Spinnvorrichtung
US5992137A (en) * 1998-04-23 1999-11-30 Spindelfabrik, Suessen, Schurr, Stahlecker & Grill Gmbh Supporting disc for a supporting disc bearing of open-end spinning rotors and process of making same
EP0960963A2 (de) * 1998-05-29 1999-12-01 Rieter Ingolstadt Spinnereimaschinenbau AG Lagerung für einen Offenend-Spinnrotor mittels Stützscheiben
EP1096045A1 (de) * 1999-10-26 2001-05-02 Rieter Ingolstadt Spinnereimaschinenbau AG Lagerung für einen Offenend-Spinnrotor
DE10055443A1 (de) * 2000-11-09 2002-05-29 Wacker Chemie Gmbh Beschichtete Rotorwelle für einen Spinnrotor zum Offenend-Spinnen

Cited By (1)

* Cited by examiner, † Cited by third party
Publication number Priority date Publication date Assignee Title
CN100554538C (zh) * 2004-01-19 2009-10-28 里特机械公司 精梳机棉网引导装置

Similar Documents

Publication Publication Date Title
DE2015545C2 (de) Folie für ein hydro- oder pneumodynamisches Folienlager
DE102009039279B4 (de) Dichtungsvorrichtung
DE3816915A1 (de) L-foermige lageranordnung
DE2534195B2 (de) Verfahren zur Trockenreinigung von Schallplatten sowie Reinigungsgerät zur Durchführung des Verfahrens
DE3111894A1 (de) "saugwalze zum foerdern einer materialbahn und eine derartige saugwalze enthaltende anordnung"
WO2017211638A1 (de) Windenergieanlagen-drehverbindung, rotorblatt und windenergieanlage mit selbiger
DE19824286A1 (de) Lagerung für einen Offenend-Spinnrotor mittels Stützscheiben
DE2061462B2 (de)
DE10237007A1 (de) Stützscheibe und Lagerung für einen Spinnrotor
EP1316629A1 (de) Stützscheibe und Lagerung für einen Spinnrotor
EP1146152B1 (de) Stützscheibe mit Kautschukbelag für eine Stützscheibenlagerung für Spinnrotoren
DE2931266C2 (de) Reinigungsvorrichtung für von einem optischen Strahlengang durchsetztes Fenster
DE2706760A1 (de) Beweglicher abgriff fuer potentiometer
DE4443103B4 (de) Reibfläche einer für den Einsatz in einer Riemenspanneinrichtung vorgesehenen Reibscheibe
DE10027036C2 (de) Stützscheibe einer OE-Rotorspinneinrichtung
DE2452288C3 (de) Rotationskolbenmaschine
DE10014875B4 (de) Ausgleichsgetriebe mit einem Anlaufscheibenverbund und Verfahren zur Herstellung eines Anlaufverbundes
EP0941846A1 (de) Dichtung für Kammerrakel
DE3012916C2 (de) Labyrinthwellendichtung
DE3734410C2 (de) Dichtscheibe und mit dieser ausgerüstetes Linearlager
DE102023101881A1 (de) Selbstfahrende Erntemaschine
CH654879A5 (de) Zahnradmaschine, insbesondere zahnradpumpe fuer loesungen oder schmelzen von polymeren.
DE102014017564A1 (de) Laufrollenwageneinheit einer Laufrollenführung mit einem Tragkörper und wenigstens zwei Laufrollen
DE19818125B4 (de) Stützscheibe für eine Stützscheibenlagerung von Offenend-Spinnrotoren
DE102006004749A1 (de) Axial-Schrägnadellager

Legal Events

Date Code Title Description
PUAI Public reference made under article 153(3) epc to a published international application that has entered the european phase

Free format text: ORIGINAL CODE: 0009012

AK Designated contracting states

Designated state(s): AT BE BG CH CY CZ DE DK EE ES FI FR GB GR IE IT LI LU MC NL PT SE SK TR

AX Request for extension of the european patent

Extension state: AL LT LV MK RO SI

17P Request for examination filed

Effective date: 20030617

AKX Designation fees paid

Designated state(s): AT CH DE IT LI

17Q First examination report despatched

Effective date: 20040922

STAA Information on the status of an ep patent application or granted ep patent

Free format text: STATUS: THE APPLICATION IS DEEMED TO BE WITHDRAWN

18D Application deemed to be withdrawn

Effective date: 20050203