EP1111228A2 - Filter, insbesondere Ansaugfilter - Google Patents

Filter, insbesondere Ansaugfilter Download PDF

Info

Publication number
EP1111228A2
EP1111228A2 EP00128054A EP00128054A EP1111228A2 EP 1111228 A2 EP1111228 A2 EP 1111228A2 EP 00128054 A EP00128054 A EP 00128054A EP 00128054 A EP00128054 A EP 00128054A EP 1111228 A2 EP1111228 A2 EP 1111228A2
Authority
EP
European Patent Office
Prior art keywords
housing
membrane
filter according
filter
cavity
Prior art date
Legal status (The legal status is an assumption and is not a legal conclusion. Google has not performed a legal analysis and makes no representation as to the accuracy of the status listed.)
Granted
Application number
EP00128054A
Other languages
English (en)
French (fr)
Other versions
EP1111228A3 (de
EP1111228B1 (de
Inventor
Norbert Walter
Claus Feuchter
Andreas Enderich
Current Assignee (The listed assignees may be inaccurate. Google has not performed a legal analysis and makes no representation or warranty as to the accuracy of the list.)
Mahle Filtersysteme GmbH
Original Assignee
Mahle Filtersysteme GmbH
Priority date (The priority date is an assumption and is not a legal conclusion. Google has not performed a legal analysis and makes no representation as to the accuracy of the date listed.)
Filing date
Publication date
Application filed by Mahle Filtersysteme GmbH filed Critical Mahle Filtersysteme GmbH
Publication of EP1111228A2 publication Critical patent/EP1111228A2/de
Publication of EP1111228A3 publication Critical patent/EP1111228A3/de
Application granted granted Critical
Publication of EP1111228B1 publication Critical patent/EP1111228B1/de
Anticipated expiration legal-status Critical
Expired - Lifetime legal-status Critical Current

Links

Images

Classifications

    • FMECHANICAL ENGINEERING; LIGHTING; HEATING; WEAPONS; BLASTING
    • F02COMBUSTION ENGINES; HOT-GAS OR COMBUSTION-PRODUCT ENGINE PLANTS
    • F02MSUPPLYING COMBUSTION ENGINES IN GENERAL WITH COMBUSTIBLE MIXTURES OR CONSTITUENTS THEREOF
    • F02M35/00Combustion-air cleaners, air intakes, intake silencers, or induction systems specially adapted for, or arranged on, internal-combustion engines
    • F02M35/14Combined air cleaners and silencers
    • FMECHANICAL ENGINEERING; LIGHTING; HEATING; WEAPONS; BLASTING
    • F02COMBUSTION ENGINES; HOT-GAS OR COMBUSTION-PRODUCT ENGINE PLANTS
    • F02MSUPPLYING COMBUSTION ENGINES IN GENERAL WITH COMBUSTIBLE MIXTURES OR CONSTITUENTS THEREOF
    • F02M35/00Combustion-air cleaners, air intakes, intake silencers, or induction systems specially adapted for, or arranged on, internal-combustion engines
    • F02M35/12Intake silencers ; Sound modulation, transmission or amplification
    • F02M35/1205Flow throttling or guiding
    • F02M35/1222Flow throttling or guiding by using adjustable or movable elements, e.g. valves, membranes, bellows, expanding or shrinking elements
    • FMECHANICAL ENGINEERING; LIGHTING; HEATING; WEAPONS; BLASTING
    • F02COMBUSTION ENGINES; HOT-GAS OR COMBUSTION-PRODUCT ENGINE PLANTS
    • F02MSUPPLYING COMBUSTION ENGINES IN GENERAL WITH COMBUSTIBLE MIXTURES OR CONSTITUENTS THEREOF
    • F02M35/00Combustion-air cleaners, air intakes, intake silencers, or induction systems specially adapted for, or arranged on, internal-combustion engines
    • F02M35/12Intake silencers ; Sound modulation, transmission or amplification
    • F02M35/1272Intake silencers ; Sound modulation, transmission or amplification using absorbing, damping, insulating or reflecting materials, e.g. porous foams, fibres, rubbers, fabrics, coatings or membranes

Definitions

  • the invention relates to a filter, in particular for filtering of intake air of an internal combustion engine, with the features the preamble of claim 1.
  • a known filter of this type has a housing that one Contains filter insert and a membrane that is designed in this way is that it is caused by sound generated under certain operating conditions prevails in the housing, is vibrated and so absorbs for this sound.
  • a foam insert is glued into the housing, whereby a surface exposed to the interior of the housing Foam insert is pounded and so essentially one closed skin forms. The sound absorbing membrane is formed by this skin of the foam insert.
  • the assembly of such a foam insert requires a separate assembly step and a separate production the foam insert, which causes the formation of a such filter is relatively expensive.
  • the housing has a lattice base structure that with a sound-absorbing material is encased.
  • DE 197 47 271 A1 shows a filter in the housing Breakthrough is formed, to which a channel is connected which is closed with an acoustic membrane.
  • the channel is formed by an annular sealing element, that tightly borders the breakthrough on one end and on the other lies close to a sheet metal part of the vehicle body.
  • the membrane closing the channel is thereby this sheet metal part of the vehicle body is formed.
  • the present invention addresses the problem a filter of the type mentioned in such a way that it is relatively simple and therefore inexpensive to manufacture.
  • the invention is based on the general idea of the membrane already in the course of the manufacture of the housing in this to integrate.
  • the housing or a Housing part made by an injection molding process wherein the membrane is already taken into account in the injection mold, so that housing or housing part and membrane in one injection process be trained at the same time.
  • a two-stage injection molding process be carried out, first in a first Stage one element, preferably the housing or the Housing part, is manufactured and in a second Stage the other component, preferably the membrane, is molded on, e.g. is injected.
  • the filter according to the invention is preferably made of plastic; at different Materials for the membrane and housing become compatible Plastics processed.
  • the sound-absorbing effect can be certain Frequencies or frequency bands can be set.
  • the mass the membrane can be changed.
  • a change also causes the rigidity or spring elasticity of the membrane a change in the damping property.
  • the construction is simplified by the construction according to the invention of the filter, since there is no additional manufacturing effort and required to install a separate membrane is.
  • the membrane in the housing separate a cavity.
  • the contained in this cavity Air acts as a spring, whose spring stiffness matches the Stiffness of the membrane is coupled, which reduces the vibration behavior and thus the damping effect of the membrane is influenced.
  • the membrane form an outer wall of the housing, which also results in a material saving.
  • a membrane designed as an outer wall of the housing their damping properties can also be influenced by that a mass element on the outside of the housing on the membrane is attached by the vibrating membrane itself can be excited to vibrate. It's clear, that the mass element is mounted or arranged so that there are relative movements or vibrations with respect to the Can run filter housing. By the type of coupling between the membrane and this mass element can also the damping effect of the membrane can be influenced.
  • the Coupling can for example be designed to be resilient and / or damping his.
  • the damping effect of Membrane are also affected by the fact that in this cavity a sound absorbing material is introduced.
  • Other Measures are seen in the fact that the housing in a Cavity associated wall section at least one opening contains through which the cavity with the surroundings of the housing communicates.
  • each filter 1 according to the Invention a filter housing 2, which a filter insert 3rd and has a membrane 4.
  • the housing 2 a raw air inlet 5 upstream of the filter insert 3 and a clean air outlet 6 downstream of the filter insert 3.
  • a filter 1 designed as an intake air filter the filter insert 3 the raw air before this an internal combustion engine is fed.
  • the membrane 4 is sound-absorbing.
  • the rigidity and / or their connection to the housing 2 selected is that prevailing in an interior 8 of the housing 2 Sound the wall or membrane 4 can excite vibrations. These vibrations are symbolic by a double arrow 9 shown. Due to the vibration excitation of the membrane 4 energy is extracted from the sound, causing the Sound emissions to the environment 7 reduced accordingly.
  • this membrane 4 i.e. their sound absorbing Effect with respect to certain frequencies or Frequency bands and the intensity of sound absorption, depends on various measures. For example, make up the rigidity or elasticity of the membrane 4 and their Mass important influencing factors.
  • the housing 2 is preferably made of several housing parts 2a and 2b and optionally 2c formed. These housing parts 2a to 2c are preferably friction welded together, these friction welded joints symbolic are shown and designated 10.
  • the membrane 4 separates Interior 8 of the housing 2 from a cavity 11, the gas volume, especially includes an air volume.
  • This closed gas volume acts like a spring with the Membrane 4 together, whereby their vibration property and thus their damping effect is influenced.
  • By choice of the volume of this cavity 11 and the one prevailing therein Pressure can dampen the effect on certain frequencies or frequency bands can be set.
  • a sound-absorbing can be in this cavity 11
  • Substance 12 can be introduced.
  • This substance 12 consists preferably of an open-cell foam or made of glass wool and causes a change in the spring properties of the air volume in the cavity 11 and thus an influence the damping effect of the membrane 4.
  • the entire Cavity 11 filled by the sound absorbing material 12 be, whereby the membrane 4 on the cavity 11 facing Side supported on the fabric 12. This measure too causes a change in the sound damping effect the membrane 4.
  • the wall section assigned to the cavity 11, here in a Bottom 13 at least one opening 14 may be included through which the cavity 11 communicates with the environment 7.
  • the present Embodiment are three openings 14 in the Bottom 13 introduced. This measure also causes a change the damping behavior of the membrane 4. It is clear that the measure shown in Fig. 4 also in the corresponding other embodiments of the other figures additionally can be used.
  • the membrane 4 in another Embodiment can also be designed so that they are does not extend over the entire cross section of the housing 2, whereby also the vibration behavior and thus the damping effect of the membrane 4 can be changed can.
  • FIG. 6 a horizontal installation the membrane 4 shows, in the embodiment according to FIG. 7 shows a vertical arrangement of the membrane 4.
  • a plurality of membranes 4 can be arranged in the housing 2, which are also different can be trained. By this measure can also affect the damping effect of the membrane assembly become.
  • the Membrane 4 an outer wall of the housing 2. Also this embodiment differs for example from that in Fig. 1 shown embodiment with regard to their damping behavior.
  • FIG. 9 shows a further development of that shown in FIG. 8 Embodiment in which a mass element 15 with the Outer wall forming membrane 4 is coupled.
  • This coupling takes place here via coupling members 16, which have a spring action and / or can have a damping effect.
  • two coupling elements 16 shown can also be a single one Coupling member for connecting the mass element 15 with the membrane 4 are sufficient.
  • the one shown in Fig. 9 Embodiment is the mass element 15 as a heat shield formed, which consists for example of a metal and the housing 2 from dangerous heating protects.
  • This heat shield or mass element 15 is arranged so that it is movable relative to the housing 2 is held on the membrane 4, so that the membrane 4 also excite the plate serving as mass element 15 to vibrate can.
  • the absorption effect of the membrane 4 is thereby influenced.
  • Another effect is the effect of Coupling links 16 added.
  • an open-cell foam 17 in the Injected housing has one of the interior of the housing 8 exposed surface 18 by a corresponding manufacturing step is skinned, whereby the foam 17 is a substantially closed-pore Receives skin, which then forms the membrane 4.
  • Such a thing Injection or injection of the foam 17 can be relative simply implemented in the manufacturing process of the housing 2 be, so that an integral manufacture of the housing 2 with the foam 17 and thus with the membrane 4 possible is.
  • 11 is by thickening formed on the membrane 4 19 shown by way of example how targeted, local mass changes the membrane 4 for setting a desired one Damping behavior of the membrane 4 can be used.
  • Such thickenings 19 can be carried out in an injection molding process can be realized particularly easily.
  • Figures 12 to 14 show in an enlarged view an edge region 20 of the membrane 4, in which the connection the membrane 4 is realized on the housing 2 and the hereinafter also referred to as the connection zone 20.
  • the membrane 4 and the housing 2 made of the same material, membrane 4 and housing 2 have the same wall thickness.
  • the sound absorbing Vibration property is determined by the special connection of the membrane 4 to the housing 2, that in the connecting zone 20 a reduced wall thickness having. This is due to the reduced wall thickness Connection zone 20 more flexible than those adjacent to it Areas of the housing 2 and the membrane 4, accordingly the membrane 4 can execute vibrations relative to the housing 2.
  • connection zone 20 is the connection zone 20 shaped like a bellows, resulting in a especially great elasticity and vibration ability for the Can adjust membrane 4. Also in the variant according to FIG. 13 membrane 4 and housing 2 are made of the same material.
  • connection of the membrane 4 to the housing 2 takes place as part of the manufacturing process, which is carried out by an injection molding process is formed.
  • the membrane 4 molded onto the housing 2, causing itself in the connection zone a material connection between the material of the housing 2 and the material of the membrane 4 forms.
  • the materials used, preferably plastics, are accordingly selected compatible.
  • connection zone 20 can also with interruptions, e.g. with openings and openings his.
  • the membrane is in contrast to the previous embodiments arranged obliquely in the housing 2.
  • This inclined installation position enables in the present case the integration of a relative large membrane 4, which is particularly influencing lower frequencies or frequency components is better than Membranes 4 with a smaller dimension.
  • the membrane 4 to certain frequencies or frequency bands be coordinated.
  • the membrane 4 can, for example have two or more zones that differ in terms of their Stiffness and / or in terms of their mass from each other differentiate.
  • Different stiffnesses or masses can, for example, in the manufacture of membrane 4 can be realized by a different thickness distribution.
  • a different mass distribution can be, for example by covering the membrane zones with mass elements realize; for example, in the respective Zones mass elements applied to the membrane 4 to Example by gluing, spraying or the like.

Landscapes

  • Engineering & Computer Science (AREA)
  • Chemical & Material Sciences (AREA)
  • Combustion & Propulsion (AREA)
  • Mechanical Engineering (AREA)
  • General Engineering & Computer Science (AREA)
  • Vehicle Interior And Exterior Ornaments, Soundproofing, And Insulation (AREA)
  • Filtering Of Dispersed Particles In Gases (AREA)

Abstract

Die Erfindung betrifft ein Filter (1), insbesondere zum Filtrieren von Ansaugluft einer Brennkraftmaschine, mit einem Gehäuse (2), das einen Filtereinsatz (3) und eine Membran (4) aufweist, die so ausgebildet ist, daß sie durch Schall im Gehäuse (2) zu Schwingungen angeregt wird und so für diesen Schall absorbierend wirkt. Um die Herstellung eines derartigen Filters (1) zu vereinfachen, wird vorgeschlagen, die Membran (4) und ein Teil des Gehäuses (2) als einstückiges Bauteil auszubilden. <IMAGE>

Description

Die Erfindung betrifft ein Filter, insbesondere zum Filtrieren von Ansaugluft einer Brennkraftmaschine, mit den Merkmalen des Oberbegriffs des Anspruchs 1.
Ein bekanntes Filter dieser Art besitzt ein Gehäuse, das einen Filtereinsatz und eine Membran enthält, die so ausgebildet ist, daß sie durch Schall, der bei bestimmten Betriebszuständen im Gehäuse herrscht, zu Schwingungen angeregt wird und so für diesen Schall absorbierend wirkt. Beispielsweise wird in das Gehäuse eine Schaumstoffeinlage eingeklebt, wobei eine dem Gehäuseinneren ausgesetzte Oberfläche dieser Schaumstoffeinlage verhautet ist und so eine im wesentlichen geschlossene Haut bildet. Die schallabsorbierende Membran wird dabei durch diese Haut der Schaumstoffeinlage gebildet. Das Montieren einer derartigen Schaumstoffeinlage erfordert einen separaten Montageschritt sowie eine separate Herstellung der Schaumstoffeinlage, wodurch die Ausbildung eines derartigen Filters relativ aufwendig ist.
Aus der DE 44 38 556 A1 ist ein Filter bekannt, dessen Gehäuse eine Gittergrundstruktur aufweist, die mit einem schalldämpfenden Material umhüllt ist.
Die DE 197 47 271 A1 zeigt ein Filter, in dessen Gehäuse ein Durchbruch ausgebildet ist, an den ein Kanal angeschlossen ist, der mit einer akustischen Membran verschlossen ist. Der Kanal wird dabei durch eine ringförmiges Dichtelement gebildet, das einenends den Durchbruch dicht einfaßt und anderenends dicht an einem Blechteil der Fahrzeugkarosserie anliegt. Die den Kanal verschließende Membran wird dabei durch dieses Blechteil der Fahrzeugkarosserie gebildet. Durch diese Bauweise wird eine gezielte Schalleinleitung in das Blechteil erreicht, die zur Optimierung der Geräuschentwicklung im Fahrzeuginneren, insbesondere beim Beschleunigen, dient.
Die vorliegende Erfindung beschäftigt sich mit dem Problem, ein Filter der eingangs genannten Art so auszugestalten, daß es relativ einfach und somit preiswert herstellbar ist.
Dieses Problem wird erfindungsgemäß durch ein Filter mit den Merkmalen des Anspruchs 1 gelöst.
Die Erfindung beruht auf dem allgemeinen Gedanken, die Membran bereits im Rahmen der Herstellung des Gehäuses in dieses zu integrieren. Beispielsweise wird das Gehäuse bzw. ein Gehäuseteil durch ein Spritzgußverfahren hergestellt, wobei in der Spritzform bereits die Membran berücksichtigt ist, so daß in einem Spritzvorgang Gehäuse bzw. Gehäuseteil und Membran gleichzeitig ausgebildet werden. Für den Fall, daß das Gehäuse und die Membran aus unterschiedlichen Materialien bestehen, kann beispielsweise ein zweistufiges Spritzgußverfahren ausgeführt werden, bei dem zunächst in einer ersten Stufe das eine Element, vorzugsweise das Gehäuse bzw. das Gehäuseteil, hergestellt wird und an das in einer zweiten Stufe das andere Bauelement, vorzugsweise die Membran, angeformt, z.B. angespritzt, wird. Das erfindungsgemäße Filter wird vorzugsweise aus Kunststoff hergestellt; bei verschiedenen Materialien für Membran und Gehäuse werden kompatible Kunststoffe verarbeitet.
Durch die Schwingungsanregung der Membran aufgrund des im Gehäuse herrschenden Schalls wird dem Schall Energie entzogen, wodurch sich eine schalldämpfende Wirkung ergibt. Die schalldämpfende Wirkung kann dabei hinsichtlich bestimmter Frequenzen oder Frequenzbänder eingestellt werden. Um die Schwingungseigenschaft der Membran und somit deren Dämpfungswirkung zu beeinflussen, kann beispielsweise die Masse der Membran verändert werden. Ebenso bewirkt eine Veränderung der Steifigkeit bzw. der Federelastizität der Membran eine Veränderung der Dämpfungseigenschaft.
Durch den erfindungsgemäßen Aufbau vereinfacht sich die Herstellung des Filters, da kein zusätzlicher Aufwand zur Herstellung und zur Montage einer separaten Membran erforderlich ist.
Bei einer anderen Ausführungsform kann die Membran im Gehäuse einen Hohlraum abtrennen. Die in diesem Hohlraum enthaltene Luft wirkt als Feder, deren Federsteifigkeit mit der Steifigkeit der Membran gekoppelt ist, wodurch das Schwingungsverhalten und somit die Dämpfungswirkung der Membran beeinflußt ist.
Entsprechend einer bevorzugten Ausführungsform kann die Membran eine Außenwand des Gehäuses bilden, wodurch sich außerdem eine Materialeinsparung ergibt.
Bei einer als Außenwand des Gehäuses ausgebildeten Membran kann deren Dämpfungseigenschaft auch dadurch beeinflußt werden, daß auf der Gehäuseaußenseite an der Membran ein Masseelement befestigt ist, das durch die schwingende Membran selbst zu Schwingungen angeregt werden kann. Es ist klar, daß das Masseelement dabei so gelagert oder angeordnet ist, daß es Relativbewegungen bzw. Schwingungen bezüglich des Filtergehäuses ausführen kann. Durch die Art der Kopplung zwischen der Membran und diesem Masseelement kann ebenfalls die Dämpfungswirkung der Membran beeinflußt werden. Die Kopplung kann beispielsweise federnd und/oder dämpfend ausgebildet sein.
Bei einer Ausführungsform, bei der die Membran im Gehäuseinneren einen Hohlraum abtrennt, kann die Dämpfungswirkung der Membran auch dadurch beeinflußt werden, daß in diesen Hohlraum ein schallabsorbierender Stoff eingebracht wird. Andere Maßnahmen werden darin gesehen, daß das Gehäuse in einem dem Hohlraum zugeordneten Wandabschnitt wenigstens eine Öffnung enthält, durch die der Hohlraum mit der Umgebung des Gehäuses kommuniziert.
Weitere wichtige Merkmale und Vorteile der erfindungsgemäßen Vorrichtung ergeben sich aus den Unteransprüchen, aus den Zeichnungen und aus der zugehörigen Figurenbeschreibung anhand der Zeichnungen.
Es versteht sich, daß die vorstehend genannten und die nachstehend noch zu erläuternden Merkmale nicht nur in der jeweils angegebenen Kombination, sondern auch in anderen Kombinationen oder in Alleinstellung verwendbar sind, ohne den Rahmen der vorliegenden Erfindung zu verlassen.
Bevorzugte Ausführungsbeispiele der Erfindung sind in den Zeichnungen dargestellt und werden in der nachfolgenden Beschreibung näher erläutert.
Es zeigen, jeweils schematisch,
Fig. 1 bis 11
stark vereinfachte Längsschnitte durch verschiedene Ausführungsformen erfindungsgemäßer Filter,
Fig. 12 bis 14
Detailansichten der Anbindung einer Membran an ein Gehäuse bei verschiedenen Ausführungsformen des erfindungsgemäßen Filters und
Fig. 15
einen Längsschnitt wie in den Fig. 1 bis 11, jedoch bei einer weiteren Ausführungsform.
Entsprechend den Fig. 1 bis 11 weist jedes Filter 1 nach der Erfindung ein Filtergehäuse 2 auf, das einen Filtereinsatz 3 und eine Membran 4 aufweist. Außerdem besitzt das Gehäuse 2 einen Rohlufteinlaß 5 stromauf des Filtereinsatzes 3 sowie einen Reinluftauslaß 6 stromab des Filtereinsatzes 3. Bei einem als Ansaugluftfilter ausgebildeten Filter 1 filtriert der Filtereinsatz 3 die Rohluft bevor diese einer Brennkraftmaschine zugeführt wird.
Um die Schallemission in eine Umgebung 7 aufgrund einer Luftschallübertragung durch das Filter 1 zu reduzieren, ist die Membran 4 schallabsorbierend ausgebildet. Zu diesem Zweck besteht die Membran 4 aus einer Wand, deren Steifigkeit und/oder deren Anbindung an das Gehäuse 2 so gewählt ist, daß der in einem Inneren 8 des Gehäuses 2 herrschende Schall die Wand bzw. Membran 4 zu Schwingungen anregen kann. Diese Schwingungen sind dabei durch einen Doppelpfeil 9 symbolisch dargestellt. Durch die Schwingungsanregung der Membran 4 wird dem Schall Energie entzogen, wodurch sich die Schallemission in die Umgebung 7 dementsprechend reduziert.
Die Dämpfungswirkung dieser Membran 4, d.h. ihre schallabsorbierende Wirkung hinsichtlich bestimmter Frequenzen bzw. Frequenzbänder sowie die Intensität der Schallabsorption, hängt von verschiedenen Maßnahmen ab. Beispielsweise bilden die Steifigkeit oder Elastizität der Membran 4 sowie deren Masse wichtige Einflussgrößen.
Das Gehäuse 2 wird vorzugsweise aus mehreren Gehäuseteilen 2a und 2b sowie gegebenenfalls 2c gebildet. Diese Gehäuseteile 2a bis 2c sind vorzugsweise miteinander reibverschweißt, wobei diese Reibschweißverbindungen symbolisch dargestellt und mit 10 bezeichnet sind.
Bei der Ausführungsform gemäß Fig. 1 trennt die Membran 4 im Inneren 8 des Gehäuses 2 einen Hohlraum 11 ab, der ein Gasvolumen, insbesondere ein Luftvolumen einschließt. Dieses abgeschlossene Gasvolumen wirkt dabei wie eine Feder mit der Membran 4 zusammen, wodurch deren Schwingungseigenschaft und somit deren Dämpfungswirkung beeinflußt wird. Durch die Wahl des Volumens dieses Hohlraumes 11 sowie den darin herrschenden Druck kann die Dämpfungswirkung auf bestimmte Frequenzen bzw. Frequenzbänder eingestellt werden.
Entsprechend Fig. 2 kann in diesen Hohlraum 11 ein schallabsorbierender Stoff 12 eingebracht werden. Dieser Stoff 12 besteht vorzugsweise aus einem offenporigen Schaumstoff oder aus Glaswolle und bewirkt eine Veränderung der Federeigenschaft des Luftvolumens im Hohlraum 11 und somit eine Beeinflussung der Dämpfungswirkung der Membran 4.
Entsprechend der Variante gemäß Fig. 3 kann der gesamte Hohlraum 11 von dem schallabsorbierenden Stoff 12 ausgefüllt sein, wodurch sich die Membran 4 auf der dem Hohlraum 11 zugewandten Seite auf dem Stoff 12 abstützt. Auch diese Maßnahme bewirkt eine Veränderung der Schalldämpfungswirkung der Membran 4.
Entsprechend der Ausführungsform gemäß Fig. 4 kann in einem dem Hohlraum 11 zugeordneten Wandabschnitt, hier in einem Boden 13 wenigstens eine Öffnung 14 enthalten sein, durch die der Hohlraum 11 mit der Umgebung 7 kommuniziert. Im vorliegenden Ausführungsbeispiel sind drei Öffnungen 14 in den Boden 13 eingebracht. Auch diese Maßnahme bewirkt eine Veränderung des Dämpfungsverhaltens der Membran 4. Es ist klar, daß die in Fig. 4 gezeigte Maßnahme auch bei den entsprechenden anderen Ausführungsformen der anderen Figuren zusätzlich zur Anwendung kommen kann.
Während bei den Ausführungsformen der Figuren 1 bis 4 die einteilige Ausbildung der Membran 4 und des Gehäuses 2 bzw. des Gehäuseteils 2b vorzugsweise durch ein Spritzgußverfahren herstellbar ist, zeigt Fig. 5 eine Variante, bei der das untere Gehäuseteil 2c Integral mit der Membran 4 durch ein Blasformverfahren oder dergleichen hergestellt werden kann.
Entsprechend Fig. 6 kann die Membran 4 bei einer anderen Ausführungsform auch so ausgestaltet sein, daß sie sich nicht über den gesamten Querschnitt des Gehäuses 2 erstreckt, wodurch ebenfalls das Schwingungsverhalten und somit die Dämpfungswirkung der Membran 4 verändert werden kann.
Während die Variante gemäß Fig. 6 einen waagerechten Einbau der Membran 4 zeigt, ist bei der Ausführungsform gemäß Fig. 7 eine vertikale Anordnung der Membran 4 wiedergegeben. Darüber hinaus macht Fig. 7 klar, daß auch mehrere Membranen 4 im Gehäuse 2 angeordnet sein können, die außerdem unterschiedlich ausgebildet sein können. Durch diese Maßnahme kann ebenfalls die Dämpfungswirkung der Membrananordnung beeinflußt werden.
Bei einer speziellen Ausführungsform gemäß Fig. 8 bildet die Membran 4 eine Außenwand des Gehäuses 2. Auch diese Ausführungsform unterscheidet sich beispielsweise von der in Fig. 1 wiedergegebenen Ausführungsform bezüglich ihres Dämpfungsverhaltens.
Fig. 9 zeigt eine Weiterbildung der in Fig. 8 wiedergegebenen Ausführungsform, bei der ein Masseelement 15 mit der die Außenwand bildenden Membran 4 gekoppelt ist. Diese Kopplung erfolgt hier über Kopplungsglieder 16, die eine Federwirkung und/oder eine Dämpferwirkung aufweisen können. Anstelle der zwei dargestellten Kopplungsglieder 16 kann auch ein einzelnes Kopplungsglied zur Verbindung des Masseelements 15 mit der Membran 4 ausreichen. Bei der in Fig. 9 dargestellten Ausführungsform ist das Masseelement 15 als Wärmeabschirmblech ausgebildet, das beispielsweise aus einem Metall besteht und das Gehäuse 2 vor einer gefährlichen Erhitzung schützt. Dieses Wärmeabschirmblech oder Masseelement 15 ist dabei so angeordnet, daß es relativ zum Gehäuse 2 beweglich an der Membran 4 gehaltert ist, so daß die Membran 4 auch das als Masseelement 15 dienende Blech zu Schwingungen anregen kann. Dadurch wird die Absorptionswirkung der Membran 4 beeinflußt. Als weitere Einflußgröße kommt die Wirkung der Kopplungsglieder 16 hinzu.
Bei einer anderen Ausführungsform gemäß Fig. 10 wird zur Ausbildung der Membran 4 ein offenporiger Schaum 17 in das Gehäuse eingespritzt. Der Schaum 17 weist eine dem Gehäuseinneren 8 ausgesetzte Oberfläche 18 auf, die durch einen entsprechenden Herstellungsschritt verhautet wird, wodurch der Schaumstoff 17 eine im wesentlichen geschlossenporige Haut erhält, die dann die Membran 4 bildet. Ein derartiges An- oder Einspritzen des Schaumstoffes 17 kann relativ einfach in den Herstellungsprozess des Gehäuses 2 implementiert werden, so daß eine integrale Herstellung des Gehäuses 2 mit dem Schaumstoff 17 und somit mit der Membran 4 möglich ist.
In Fig. 11 wird durch an der Membran 4 ausgebildete Verdikkungen 19 beispielhaft gezeigt, wie gezielte, lokale Masseänderungen der Membran 4 zur Einstellung eines gewünschten Dämpfungsverhaltens der Membran 4 verwendet werden können. Derartige Verdickungen 19 können im Rahmen eines Spritzgußverfahrens besonders einfach realisiert werden.
Die Figuren 12 bis 14 zeigen in einer vergrößerten Darstellung einen Randbereich 20 der Membran 4, in dem die Anbindung der Membran 4 an das Gehäuse 2 realisiert ist und der im folgenden auch als Verbindungszone 20 bezeichnet wird.
Entsprechend Fig. 12 können die Membran 4 und das Gehäuse 2 aus dem selben Material bestehen, außerdem können Membran 4 und Gehäuse 2 die selbe Wanddicke aufweisen. Die schallabsorbierende Schwingungseigenschaft wird hierbei durch die besondere Verbindung der Membran 4 mit dem Gehäuse 2 realisiert, die in der Verbindungszone 20 eine reduzierte Wandstärke aufweist. Durch die reduzierte Wandstärke wird diese Verbindungszone 20 biegeweicher als die daran angrenzenden Bereiche des Gehäuses 2 und der Membran 4, dementsprechend kann die Membran 4 Schwingungen relativ zum Gehäuse 2 ausführen.
Bei der Ausführungsform gemäß Fig. 13 ist die Verbindungszone 20 nach Art eines Faltenbalgs geformt, wodurch sich eine besonders große Elastizität und Schwingungsfähigkeit für die Membran 4 einstellen kann. Auch bei der Variante gemäß Fig. 13 bestehen Membran 4 und Gehäuse 2 aus dem selben Material.
Bei der Ausführungsform gemäß Fig. 14 sind für die Membran 4 und das Gehäuse 2 unterschiedliche Materialien vorgesehen, die sich insbesondere durch ihre Elastizität voneinander unterscheiden. Die Anbindung der Membran 4 an das Gehäuse 2 erfolgt dabei im Rahmen des Herstellungsprozesses, der durch ein Spritzgußverfahren gebildet wird. Dabei wird die Membran 4 an das Gehäuse 2 angespritzt, wodurch sich in der Verbindungszone eine stoffschlüssige Verbindung zwischen dem Material des Gehäuses 2 und dem Material der Membran 4 ausbildet. Die dabei verwendeten Materialien, vorzugsweise Kunststoffe, sind dementsprechend kompatibel ausgewählt.
Um eine elastische Anbindung zwischen Membran 4 und Gehäuse 2 zu erzielen, kann die Verbindungszone 20 auch mit Unterbrechungen, z.B. mit Durchbrüchen und Öffnungen, versehen sein.
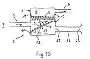
Entsprechend Fig. 15 trennt die Membran 4 bei einer besonderen Ausführungsform innerhalb des Gehäuses 2 wiederum einen Hohlraum 11 ab, der im Unterschied zu dem, den Filtereinsatz 3 enthaltenden Gehäuseabschnitt nicht von der Ansaugluft durchströmt ist. In dem, diesen Hohlraum 11 umhüllenden Wandabschnitt 13 des Gehäuses 2 ist eine Öffnung 21 ausgebildet, über die der Hohlraum 11 mit einem Schallübertragungsrohr 22 kommuniziert. Dieses Schallübertragungsrohr 22 besitzt ein nach Art eines Schalltrichters ausgebildetes offenes Ende 23. Dieses "Schalltrichterende" 23 kann beispielsweise in einem Motorraum frontal vor einer Spritzwand positioniert sein, die den Motorraum von einem Fahrzeuginnenraüm trennt. Ebenso kann das offene Ende 23 direkt in den Fahrzeuginnenraum hereingeführt sein. Mit Hilfe der Membran 4 können bestimmte Frequenzen aus dem Luftansaugtrakt ausgekoppelt werden, wodurch gezielt ein gewünschter Sound generierbar ist, der über das Schallübertragungsrohr 22 dem Fahrzeuginnenraum zuführbar ist.
Bei der in Fig. 15 gezeigten Ausführungsform ist die Membran im Unterschied zu den vorhergehenden Ausführungsformen schräg im Gehäuse 2 angeordnet. Diese schräge Einbaulage ermöglicht im vorliegenden Fall die Integration einer relativ großen Membran 4, die sich insbesondere zur Beeinflussung tieferer Frequenzen oder Frequenzanteile besser eignet, als Membranen 4 mit einer kleineren Ausdehnung.
Bei sämtlichen hier beschriebenen Ausführungsbeispielen kann die Membran 4 auf bestimmte Frequenzen bzw. Frequenzbänder abgestimmt werden. Dazu kann die Membran 4 beispielsweise zwei oder mehr Zonen aufweisen, die sich hinsichtlich ihrer Steifigkeit und/oder hinsichtlich ihrer Masse voneinander unterscheiden. Unterschiedliche Steifigkeiten bzw. Massen können beispielsweise bei der Herstellung der Membran 4 durch eine unterschiedliche Dickenverteilung realisiert werden. Eine unterschiedliche Massenverteilung läßt sich beispielsweise durch eine Belegung der Membranzonen mit Masseelementen realisieren; beispielsweise werden in den jeweiligen Zonen Masseelemente auf der Membran 4 appliziert, zum Beispiel durch Ankleben, Anspritzen oder dergleichen.
In Fig. 15 wird beispielhaft eine Massebelegung der Membran 4 schematisch dadurch erreicht, daß an der Membran 4 mehrere, insbesondere unterschiedliche, Masseelemente 24, zum Beispiel aus Kunststoff, angebracht sind.

Claims (18)

  1. Filter, insbesondere zum Filtrieren von Ansaugluft einer Brennkraftmaschine, mit einem Gehäuse (2), das einen Filtereinsatz (3) und eine Membran (4) aufweist, die so ausgebildet ist, daß sie durch Schall im Gehäuse (2) zu Schwingungen angeregt wird und so für diesen Schall absorbierend wirkt,
    dadurch gekennzeichnet,
    daß die Membran (4) und ein Teil (2b; 2c) des Gehäuses (2) als einstückiges Bauteil ausgebildet sind.
  2. Filter nach Anspruch 1,
    dadurch gekennzeichnet,
    daß das Bauteil ein Spritzgußbauteil ist.
  3. Filter nach Anspruch 1 oder 2,
    dadurch gekennzeichnet,
    daß die Membran (4) und das Gehäuseteil (2b; 2c) aus demselben Material bestehen.
  4. Filter nach Anspruch 1 oder 2,
    dadurch gekennzeichnet,
    daß die Membran (4) und das Gehäuseteil (2b; 2c) aus verschiedenen Materialien bestehen.
  5. Filter nach einem der Ansprüche 2 bis 4,
    dadurch gekennzeichnet,
    daß das Spritzgußbauteil durch ein zweistufiges Spritzgußverfahren hergestellt ist, wobei in einer ersten Stufe das Gehäuseteil (2b; 2c) spritzgeformt wird und in einer zweiten Stufe die Membran (4) an das Gehäuseteil (2b; 2c) angespritzt wird.
  6. Filter nach einem der Ansprüche 1 bis 5,
    dadurch gekennzeichnet,
    daß im Inneren (8) des Gehäuses (2) ein offenporiger Schaum (17) an das Gehäuse (2) angespritzt ist, dessen dem Gehäuseinneren (8) ausgesetzte Oberfläche (18) verhautet ist und so eine im wesentlichen geschlossene Haut des Schaumes (17) bildet, wobei die Membran (4) durch die Haut des Schaumes (17) gebildet ist.
  7. Filter nach einem der Ansprüche 1 bis 6,
    dadurch gekennzeichnet,
    daß das Gehäuse (2) im wesentlichen geschlossen ist.
  8. Filter nach einem der Ansprüche 1 bis 7,
    dadurch gekennzeichnet,
    daß die Membran (4) zumindest in einer mit dem Gehäuseteil (2b; 2c) verbundenen Verbindungszone (20) eine kleinere Steifigkeit aufweist als das Gehäuse (2).
  9. Filter nach einem der Ansprüche 1 bis 8,
    dadurch gekennzeichnet,
    daß die Membran (4) im Gehäuse (2) einen Hohlraum (11) abtrennt.
  10. Filter nach Anspruch 9,
    dadurch gekennzeichnet,
    daß im Hohlraum (11) ein schallabsorbierender Stoff (12), insbesondere Schaumstoff oder Glaswolle, untergebracht ist.
  11. Filter nach Anspruch 10,
    dadurch gekennzeichnet,
    daß der Hohlraum (11) durch den schallabsorbierenden Stoff (12) ausgefüllt ist, so daß sich die Membran (4) an diesem Stoff (12) abstützt.
  12. Filter nach einem der Ansprüche 9 bis 11,
    dadurch gekennzeichnet,
    daß das Gehäuse (2) in einem dem Hohlraum (11) zugeordneten Wandabschnitt (13) mindestens eine Öffnung (14) enthält, durch die der Hohlraum (11) mit der Umgebung (7) des Gehäuses (2) kommuniziert.
  13. Filter nach einem der Ansprüche 9 bis 12,
    dadurch gekennzeichnet,
    daß das Gehäuse (2) in einem dem Hohlraum (11) zugeordneten Wandabschnitt (13) eine Öffnung (21) enthält, die mit einem Schallübertragungsrohr (22) kommunizierend verbunden ist.
  14. Filter nach einem der Ansprüche 1 bis 8,
    dadurch gekennzeichnet,
    daß die Membran (4) eine Außenwand des Gehäuses (2) bildet.
  15. Filter nach Anspruch 14,
    dadurch gekennzeichnet,
    daß auf der Außenseite des Gehäuses (2) an der als Außenwand ausgebildeten Membran (4) ein Masseelement (15) befestigt ist, derart, daß das Masseelement (15) durch die Membran (4) zu Schwingungen angeregt wird.
  16. Filter nach Anspruch 15,
    dadurch gekennzeichnet,
    daß das Masseelement (15) als Wärmeabschirmblech ausgebildet ist.
  17. Filter nach-Anspruch 15 oder 16,
    dadurch gekennzeichnet,
    daß das Masseelement (15) über wenigstens ein Feder- und/oder Dämpferglied (16) an der Membran (4) befestigt ist.
  18. Filter nach einem der Ansprüche 1 bis 17,
    dadurch gekennzeichnet,
    daß die Membran (4) mindestens zwei Zonen aufweist, die sich hinsichtlich Steifigkeit und/oder Masse voneinander unterscheiden.
EP00128054A 1999-12-24 2000-12-21 Filter, insbesondere Ansaugfilter Expired - Lifetime EP1111228B1 (de)

Applications Claiming Priority (2)

Application Number Priority Date Filing Date Title
DE19962888 1999-12-24
DE19962888A DE19962888A1 (de) 1999-12-24 1999-12-24 Filter, insbesondere Ansaugluftfilter

Publications (3)

Publication Number Publication Date
EP1111228A2 true EP1111228A2 (de) 2001-06-27
EP1111228A3 EP1111228A3 (de) 2002-05-22
EP1111228B1 EP1111228B1 (de) 2004-11-03

Family

ID=7934409

Family Applications (1)

Application Number Title Priority Date Filing Date
EP00128054A Expired - Lifetime EP1111228B1 (de) 1999-12-24 2000-12-21 Filter, insbesondere Ansaugfilter

Country Status (2)

Country Link
EP (1) EP1111228B1 (de)
DE (2) DE19962888A1 (de)

Cited By (21)

* Cited by examiner, † Cited by third party
Publication number Priority date Publication date Assignee Title
EP1365120A1 (de) * 2002-05-15 2003-11-26 MAHLE Filtersysteme GmbH Schallwandler für ein Kraftfahrzeug
EP1350945A3 (de) * 2002-03-27 2003-12-17 Dr.Ing. h.c.F. Porsche Aktiengesellschaft Luftfilter für eine Brennkraftmaschine
EP1619659A1 (de) * 2004-07-21 2006-01-25 Mann+Hummel Gmbh Vorrichtung zur Geräuschübertragung
EP1645748A1 (de) * 2004-10-09 2006-04-12 DaimlerChrysler AG Ansaugsystem für eine Brennkraftmaschine
EP1808594A1 (de) * 2006-01-13 2007-07-18 Denso Corporation Einlassdämpfer
EP1813801A1 (de) * 2006-01-31 2007-08-01 Nissan Motor Co., Ltd. Vorrichtung und Verfahren zur Regelung des Ansaugschalls
EP1865187A3 (de) * 2006-06-05 2008-12-24 Nissan Motor Company Limited Verbesserungen bei oder im Zusammenhang mit Fahrzeuggeräuschen
US7540353B2 (en) * 2004-09-29 2009-06-02 Toyoda Gosei Co., Ltd. Resonator
EP2138700A2 (de) 2008-06-25 2009-12-30 Mahle International GmbH Luftfilter und damit ausgestattete Frischluftanlage
EP2172640A1 (de) * 2008-10-02 2010-04-07 Peugeot Citroen Automobiles SA Verfahren und Vorrichtung zur Dämpfung des Ansauggeräusches eines Verbrennungsmotors
US7717230B2 (en) 2006-06-05 2010-05-18 Nissan Motor Co., Ltd. Device and method for amplifying suction noise
JP2010180773A (ja) * 2009-02-05 2010-08-19 Toyota Boshoku Corp 車両用エアクリーナ
DE10226205B4 (de) * 2002-06-13 2013-11-28 Mann + Hummel Gmbh Vorrichtung zur Beeinflussung des Schalls im Ansaugtrakt eines Verbrenungsmotors
DE10221448B4 (de) * 2002-05-15 2014-02-13 Mahle Filtersysteme Gmbh Frischluftanlage für ein Kraftfahrzeug
DE102014009212A1 (de) 2014-06-25 2015-12-31 Mann+Hummel Gmbh Filterelement, insbesondere zur Gasfiltration
JP2016217201A (ja) * 2015-05-18 2016-12-22 タイガースポリマー株式会社 エアクリーナ
DE102015212041A1 (de) 2015-06-29 2016-12-29 Mahle International Gmbh Gasführende Einrichtung
JP2018035697A (ja) * 2016-08-29 2018-03-08 トヨタ紡織株式会社 エアクリーナ
JP2018035700A (ja) * 2016-08-29 2018-03-08 トヨタ紡織株式会社 エアクリーナ
JP2018035699A (ja) * 2016-08-29 2018-03-08 トヨタ紡織株式会社 エアクリーナ
EP3324033A1 (de) * 2016-11-10 2018-05-23 MAHLE Filter Systems Japan Corporation Luftreiniger für einen verbrennungsmotor

Families Citing this family (3)

* Cited by examiner, † Cited by third party
Publication number Priority date Publication date Assignee Title
DE102004016478A1 (de) * 2004-03-31 2005-10-20 Mann & Hummel Gmbh Ansaugsystem einer Brennkraftmaschine
DE202013105720U1 (de) * 2013-12-17 2015-03-18 Rehau Ag + Co Luftfilteraufnahme aus einem thermoplastischen Kunststoffmaterial zum Einbau in den Motorraum eines Kraftfahrzeuges
DE102015220080A1 (de) 2015-10-15 2017-04-20 Brose Fahrzeugteile Gmbh & Co. Kommanditgesellschaft, Bamberg Elektronikgehäuse und Herstellungsverfahren

Citations (2)

* Cited by examiner, † Cited by third party
Publication number Priority date Publication date Assignee Title
DE4438556A1 (de) 1994-10-28 1996-05-02 Mann & Hummel Filter Filter, insbesondere zum Filtrieren der Ansaugluft einer Brennkraftmaschine
DE19747271A1 (de) 1997-10-25 1999-04-29 Bayerische Motoren Werke Ag Kraftfahrzeug mit einer Brennkraftmaschine

Family Cites Families (7)

* Cited by examiner, † Cited by third party
Publication number Priority date Publication date Assignee Title
DE1052169B (de) * 1954-04-20 1959-03-05 Sigismond Wilman Ansauggeraeuschdaempfer
JPS6017263A (ja) * 1983-07-08 1985-01-29 Honda Motor Co Ltd 内燃機関の吸気装置
JPS6026157A (ja) * 1983-07-20 1985-02-09 Nissan Motor Co Ltd 内燃機関のエアクリ−ナ
DE4233252C1 (de) * 1992-10-02 1993-12-16 Bayerische Motoren Werke Ag Kraftfahrzeug, insbesondere PKW
DE4435296C2 (de) * 1994-10-01 2002-04-25 Bayerische Motoren Werke Ag Kraftfahrzeug mit einer Brennkraftmaschine
DE19737701A1 (de) * 1997-08-29 1999-03-04 Mann & Hummel Filter Luftfiltergehäuse
DE19940610A1 (de) * 1999-08-27 2001-03-01 Mann & Hummel Filter Luftfilter

Patent Citations (2)

* Cited by examiner, † Cited by third party
Publication number Priority date Publication date Assignee Title
DE4438556A1 (de) 1994-10-28 1996-05-02 Mann & Hummel Filter Filter, insbesondere zum Filtrieren der Ansaugluft einer Brennkraftmaschine
DE19747271A1 (de) 1997-10-25 1999-04-29 Bayerische Motoren Werke Ag Kraftfahrzeug mit einer Brennkraftmaschine

Cited By (33)

* Cited by examiner, † Cited by third party
Publication number Priority date Publication date Assignee Title
EP1350945A3 (de) * 2002-03-27 2003-12-17 Dr.Ing. h.c.F. Porsche Aktiengesellschaft Luftfilter für eine Brennkraftmaschine
US6881237B2 (en) 2002-03-27 2005-04-19 Dr. Ing. H.C.F. Aktiengesellschaft Air filter for an internal combustion engine
DE10221448B4 (de) * 2002-05-15 2014-02-13 Mahle Filtersysteme Gmbh Frischluftanlage für ein Kraftfahrzeug
EP1365120A1 (de) * 2002-05-15 2003-11-26 MAHLE Filtersysteme GmbH Schallwandler für ein Kraftfahrzeug
DE10226205B4 (de) * 2002-06-13 2013-11-28 Mann + Hummel Gmbh Vorrichtung zur Beeinflussung des Schalls im Ansaugtrakt eines Verbrenungsmotors
EP1619659A1 (de) * 2004-07-21 2006-01-25 Mann+Hummel Gmbh Vorrichtung zur Geräuschübertragung
US7540353B2 (en) * 2004-09-29 2009-06-02 Toyoda Gosei Co., Ltd. Resonator
EP1645748A1 (de) * 2004-10-09 2006-04-12 DaimlerChrysler AG Ansaugsystem für eine Brennkraftmaschine
EP1808594A1 (de) * 2006-01-13 2007-07-18 Denso Corporation Einlassdämpfer
US7350496B2 (en) 2006-01-13 2008-04-01 Denso Corporation Intake muffler
EP1813801A1 (de) * 2006-01-31 2007-08-01 Nissan Motor Co., Ltd. Vorrichtung und Verfahren zur Regelung des Ansaugschalls
CN101086240B (zh) * 2006-06-05 2010-06-09 日产自动车株式会社 进气音增强装置和方法
US7717230B2 (en) 2006-06-05 2010-05-18 Nissan Motor Co., Ltd. Device and method for amplifying suction noise
CN101086241B (zh) * 2006-06-05 2011-02-16 日产自动车株式会社 增强进气声的装置和方法
USRE42490E1 (en) 2006-06-05 2011-06-28 Nissan Motor Co., Ltd. Device and method for amplifying suction noise
EP1865187A3 (de) * 2006-06-05 2008-12-24 Nissan Motor Company Limited Verbesserungen bei oder im Zusammenhang mit Fahrzeuggeräuschen
DE102008030197A1 (de) 2008-06-25 2009-12-31 Mahle International Gmbh Luftfilter und damit ausgestattete Frischluftanlage
EP2138700A2 (de) 2008-06-25 2009-12-30 Mahle International GmbH Luftfilter und damit ausgestattete Frischluftanlage
EP2138700A3 (de) * 2008-06-25 2013-01-16 Mahle International GmbH Luftfilter und damit ausgestattete Frischluftanlage
EP2172640A1 (de) * 2008-10-02 2010-04-07 Peugeot Citroen Automobiles SA Verfahren und Vorrichtung zur Dämpfung des Ansauggeräusches eines Verbrennungsmotors
FR2936843A1 (fr) * 2008-10-02 2010-04-09 Peugeot Citroen Automobiles Sa Procede et dispositif d'attenuation des bruits de bouche d'un moteur thermique
JP2010180773A (ja) * 2009-02-05 2010-08-19 Toyota Boshoku Corp 車両用エアクリーナ
DE102014009212A1 (de) 2014-06-25 2015-12-31 Mann+Hummel Gmbh Filterelement, insbesondere zur Gasfiltration
JP2016217201A (ja) * 2015-05-18 2016-12-22 タイガースポリマー株式会社 エアクリーナ
DE102015212041A1 (de) 2015-06-29 2016-12-29 Mahle International Gmbh Gasführende Einrichtung
WO2017001272A1 (de) 2015-06-29 2017-01-05 Mahle International Gmbh Gasführende einrichtung
JP2018035697A (ja) * 2016-08-29 2018-03-08 トヨタ紡織株式会社 エアクリーナ
JP2018035700A (ja) * 2016-08-29 2018-03-08 トヨタ紡織株式会社 エアクリーナ
JP2018035699A (ja) * 2016-08-29 2018-03-08 トヨタ紡織株式会社 エアクリーナ
CN107781077A (zh) * 2016-08-29 2018-03-09 丰田纺织株式会社 空气滤清器
EP3324033A1 (de) * 2016-11-10 2018-05-23 MAHLE Filter Systems Japan Corporation Luftreiniger für einen verbrennungsmotor
CN108071532A (zh) * 2016-11-10 2018-05-25 株式会社马勒滤清系统 内燃机的空气滤清器
US10364779B2 (en) 2016-11-10 2019-07-30 Mahle Filter Systems Japan Corporation Air cleaner for internal combustion engine

Also Published As

Publication number Publication date
EP1111228A3 (de) 2002-05-22
EP1111228B1 (de) 2004-11-03
DE50008494D1 (de) 2004-12-09
DE19962888A1 (de) 2001-06-28

Similar Documents

Publication Publication Date Title
EP1111228B1 (de) Filter, insbesondere Ansaugfilter
EP1350945B1 (de) Luftfilter für eine Brennkraftmaschine
EP1697923B1 (de) Luftschallabsorbierendes bauteil
DE69505924T2 (de) Hohlgegenstand aus Kunststoff mit einem Schalldämpfer und Verfahren zur Herstellung
EP0709567B1 (de) Filtervorrichtung zum Filtrieren der Ansaugluft einer Brennkraftmaschine
DE10212257A1 (de) Vorrichtung zur Geräuschgestaltung bei einem Kraftfahrzeug
DE112004002158T5 (de) Ansaugvorrichtung einer Brennkraftmaschine
DE10042012B4 (de) Vorrichtung zur Geräuschgestaltung bei einem Kraftfahrzeug
EP2130201A1 (de) Helmholtz-resonator
DE102007005371A1 (de) Rohrdichtungselement und Verfahren zur seiner Herstellung
DE19827410A1 (de) Ansaugsystem, insbesondere zur Verwendung als Ansaugkanal einer Verbrennungskraftmaschine
DE202009002178U1 (de) Filtereinrichtung zur Filtration gasförmiger Fluide
DE10257072A1 (de) Bauteil zum Einbau in geringem Abstand unter der äußeren Karosseriehaut eines Kraftfahrzeuges im Fußgängeraufprallbereich
DE102014218730A1 (de) Energieabsorber und Überkopfsystem mit Energieabsorber
DE4420879A1 (de) Herstellverfahren für einen Hohlkörper mit einem innenliegenden Stützrahmen
DE102004013654A1 (de) Lufteinlassvorrichtung
DE19960427C1 (de) Ladeluftschlauch und Verfahren zur Herstellung eines Ladeluftschlauchs
DE10116169A1 (de) Schallübertragungsvorrichtung für ein Kraftfahrzeug
DE102004029221A1 (de) Vorrichtung zur Schalldämpfung und Vorrichtung zur Leitung eines Fluids
DE69722555T2 (de) Akustisches Gerät aus spritzgiessfähigem Kunststoff
DE10020538A1 (de) Luftfilter für Kraftfahrzeug
DE102005051676A1 (de) Ansauggeräuschdämpfer einer Brennkraftmaschine eines Kraftfahrzeugs
DE10304028A1 (de) Luftfilter für eine Brennkraftmaschine
EP1400685A2 (de) Resonatorluftfilter
DE102015113042B4 (de) Akustisches Absorptionsbauteil, damit gebildete Anordnung sowie Verfahren zur Herstellung eines Absorptionsbauteils

Legal Events

Date Code Title Description
PUAI Public reference made under article 153(3) epc to a published international application that has entered the european phase

Free format text: ORIGINAL CODE: 0009012

AK Designated contracting states

Kind code of ref document: A2

Designated state(s): AT BE CH CY DE DK ES FI FR GB GR IE IT LI LU MC NL PT SE TR

AX Request for extension of the european patent

Free format text: AL;LT;LV;MK;RO;SI

PUAL Search report despatched

Free format text: ORIGINAL CODE: 0009013

AX Request for extension of the european patent

Free format text: AL;LT;LV;MK;RO;SI

17P Request for examination filed

Effective date: 20020703

AKX Designation fees paid

Designated state(s): DE FR GB

17Q First examination report despatched

Effective date: 20030903

GRAP Despatch of communication of intention to grant a patent

Free format text: ORIGINAL CODE: EPIDOSNIGR1

GRAS Grant fee paid

Free format text: ORIGINAL CODE: EPIDOSNIGR3

GRAA (expected) grant

Free format text: ORIGINAL CODE: 0009210

AK Designated contracting states

Kind code of ref document: B1

Designated state(s): DE FR GB

REG Reference to a national code

Ref country code: GB

Ref legal event code: FG4D

Free format text: NOT ENGLISH

REF Corresponds to:

Ref document number: 50008494

Country of ref document: DE

Date of ref document: 20041209

Kind code of ref document: P

REG Reference to a national code

Ref country code: IE

Ref legal event code: FG4D

Free format text: GERMAN

GBT Gb: translation of ep patent filed (gb section 77(6)(a)/1977)

Effective date: 20041217

REG Reference to a national code

Ref country code: IE

Ref legal event code: FD4D

PLBE No opposition filed within time limit

Free format text: ORIGINAL CODE: 0009261

STAA Information on the status of an ep patent application or granted ep patent

Free format text: STATUS: NO OPPOSITION FILED WITHIN TIME LIMIT

26N No opposition filed

Effective date: 20050804

ET Fr: translation filed
REG Reference to a national code

Ref country code: FR

Ref legal event code: PLFP

Year of fee payment: 16

PGFP Annual fee paid to national office [announced via postgrant information from national office to epo]

Ref country code: DE

Payment date: 20160302

Year of fee payment: 16

REG Reference to a national code

Ref country code: FR

Ref legal event code: PLFP

Year of fee payment: 17

REG Reference to a national code

Ref country code: DE

Ref legal event code: R119

Ref document number: 50008494

Country of ref document: DE

PG25 Lapsed in a contracting state [announced via postgrant information from national office to epo]

Ref country code: DE

Free format text: LAPSE BECAUSE OF NON-PAYMENT OF DUE FEES

Effective date: 20170701

REG Reference to a national code

Ref country code: FR

Ref legal event code: PLFP

Year of fee payment: 18

PGFP Annual fee paid to national office [announced via postgrant information from national office to epo]

Ref country code: FR

Payment date: 20191226

Year of fee payment: 20

PGFP Annual fee paid to national office [announced via postgrant information from national office to epo]

Ref country code: GB

Payment date: 20191226

Year of fee payment: 20

REG Reference to a national code

Ref country code: GB

Ref legal event code: PE20

Expiry date: 20201220

PG25 Lapsed in a contracting state [announced via postgrant information from national office to epo]

Ref country code: GB

Free format text: LAPSE BECAUSE OF EXPIRATION OF PROTECTION

Effective date: 20201220