EP1106932A2 - Tür für einen Garofen mit Trägerelementen aus Kunststoff - Google Patents

Tür für einen Garofen mit Trägerelementen aus Kunststoff Download PDF

Info

Publication number
EP1106932A2
EP1106932A2 EP00117908A EP00117908A EP1106932A2 EP 1106932 A2 EP1106932 A2 EP 1106932A2 EP 00117908 A EP00117908 A EP 00117908A EP 00117908 A EP00117908 A EP 00117908A EP 1106932 A2 EP1106932 A2 EP 1106932A2
Authority
EP
European Patent Office
Prior art keywords
door
pane
elements
door according
carrier
Prior art date
Legal status (The legal status is an assumption and is not a legal conclusion. Google has not performed a legal analysis and makes no representation as to the accuracy of the status listed.)
Granted
Application number
EP00117908A
Other languages
English (en)
French (fr)
Other versions
EP1106932B1 (de
EP1106932A3 (de
Inventor
Rolf Stahlmann
Harald Pörner
Dietmar Hildner
Heinz Gieselmann
Current Assignee (The listed assignees may be inaccurate. Google has not performed a legal analysis and makes no representation or warranty as to the accuracy of the list.)
AEG Hausgeraete GmbH
Original Assignee
AEG Hausgeraete GmbH
Priority date (The priority date is an assumption and is not a legal conclusion. Google has not performed a legal analysis and makes no representation as to the accuracy of the date listed.)
Filing date
Publication date
Application filed by AEG Hausgeraete GmbH filed Critical AEG Hausgeraete GmbH
Publication of EP1106932A2 publication Critical patent/EP1106932A2/de
Publication of EP1106932A3 publication Critical patent/EP1106932A3/de
Application granted granted Critical
Publication of EP1106932B1 publication Critical patent/EP1106932B1/de
Anticipated expiration legal-status Critical
Expired - Lifetime legal-status Critical Current

Links

Images

Classifications

    • FMECHANICAL ENGINEERING; LIGHTING; HEATING; WEAPONS; BLASTING
    • F24HEATING; RANGES; VENTILATING
    • F24CDOMESTIC STOVES OR RANGES ; DETAILS OF DOMESTIC STOVES OR RANGES, OF GENERAL APPLICATION
    • F24C15/00Details
    • F24C15/02Doors specially adapted for stoves or ranges
    • F24C15/04Doors specially adapted for stoves or ranges with transparent panels

Definitions

  • the invention relates to a door for a cooking oven.
  • Doors for household ovens are known with a viewing window, that through a translucent outer pane and a translucent inner pane and possibly also a translucent washer arranged between them is formed.
  • DE 197 38 504 C1 discloses a door for a household appliance, in particular a domestic oven, with a door pane that can be installed and removed.
  • This known door comprises an outer pane to which two columnar support elements made of an enameled steel sheet formed into a profile part are fastened, and an inner pane which is held removably by two receiving devices fastened to the support elements.
  • a spring element is provided in one of the two receiving devices, the other receiving device comprises two corner brackets, each provided for a corner of the inner pane, with a circumferential receiving groove.
  • the inner pane Due to the restoring force of the spring element, the inner pane is pressed into the receiving groove of the second receiving device and held there (locked, fixed). To remove the inner pane is simply pressed against the restoring force of the spring element until it emerges from the grooves, and can then be easily removed from the door. In the installed position, the inner pane rests on the flat middle parts of the two column-like support elements and is pushed along these middle parts during assembly or disassembly.
  • DE 197 05 120 A1 discloses a door for closing an oven muffle of an oven with a frame-like, circumferential carrier (door frame) made of plastic for enclosing an inner pane, an outer pane and an intermediate pane.
  • the frame-like carrier comprises a frame-like filler plate and lateral edging strips which form a frame wall which borders a door interior.
  • the frame wall and the filler plate form an integral frame profile part of the frame-like carrier.
  • a bracket is glued to the outer pane by means of an adhesive, to which the frame profile part is fastened by means of a screw.
  • the inner pane is glued to a support surface of the frame profile part facing away from the outer pane.
  • a spacer element which extends into the interior of the door and has a support surface, is formed on the frame profile part.
  • the washer rests on one side on the contact surface of the spacer element. On the opposite side, the washer rests on the retaining washer on the outer pane via an elastic element.
  • the intermediate pane is clamped between the support surface of the spacer and the elastic element.
  • an elastic element can also be arranged on the support surface provided for the outer pane and on the support surface provided for the intermediate pane.
  • the inner pane of this oven door known from DE 197 05 120 A1 cannot be removed.
  • the invention has for its object a special To specify a door for a cooking oven, preferably for the household, which is easy to assemble.
  • the door for a cooking oven preferably a household oven, comprises at least two arranged separately Support elements, each made of a temperature-resistant and mechanically stable (impact-resistant, mechanical tough) polymer material (plastic) are formed, and at least a door window, particularly on the door front, on the outside facing away from the oven, is arranged (outer pane).
  • On the two support elements are receiving means (holding means) and / or fastening means (Lanyard) arranged with the associated Carrier element in one piece (as a common coherent Shaped body) are formed and for receiving or fastening the door window and / or at least a further door component are provided.
  • the polymer material can in particular be a thermoplastic or also a thermoset with the appropriate thermal and mechanical properties.
  • the molded body made of carrier elements and associated receiving means or fasteners are in an advantageous embodiment as injection molded parts and / or essentially uniform made of a polymer material.
  • the additional door components next to the door window can in particular door hinges and / or further door panes and / or a door handle.
  • Each door pane generally consists of an optical one transparent material, especially a glass or a glassy material to close a window into the cooking space form.
  • each of the carrier elements can each formed at least one spacer be to maintain a predetermined distance between the remaining surface of the carrier element and one of the above Door windows. This leads to better thermal decoupling the door window from the support element because of the spacer a smaller contact area than the whole Has carrier element and preferably made of one material with low heat conduction.
  • Each spacer is preferred at least partially elastically deformable, in particular through training as a resilient element. This will Power surges between the door pane and the support element, those when installing or removing the door window or Movements and shocks to the door occur during use dampened (soft storage of the door glass on the spacer).
  • Every Spacer preferably between the associated door window and the associated carrier element under a prestress, to reduce the rattling noise of the door window.
  • everyone Spacers at least on the door pane facing Surface consist of a lubricious material, so that the door glass on each spacer with a slight Sliding friction is movable.
  • the spacers can be used for this be provided with a sliding layer or even even consist of a lubricious plastic such as a suitable fluorocarbon. Because of the sliding ability of each spacer is the door pane on each spacer with a slight Movable sliding friction and therefore smooth. This makes it easier the assembly and disassembly of the door window.
  • the mounting or fastening of the door panes and / or others Door components are preferably detachable, so that these Parts out of the door, for example to replace them with new ones Parts or for cleaning purposes, disassembled and reassembled can be.
  • the associated receptacles or Fasteners on the support elements and any existing ones are corresponding means on the door component trained accordingly, for example by means of receiving grooves or detachable connections.
  • a preferred method of fastening one or more door components on the support elements is a snap or Snap connection.
  • the fastening means preferably comprise molded or molded on the support elements Snap or locking elements that correspond with Snap or locking elements on the door window or the other Interact door component.
  • the carrier elements advantageous because a snap or Snap connection in a plastic very easy to implement while this is the case with support elements made of enamelled Steel sheet has been problematic so far.
  • the connecting elements between the pull-outs and the door inside or on the support elements attachable via a snap or snap connection.
  • the door hinges are a snap or snap connection or connecting elements then resilient in the carrier elements hung up with the positive consequence that power surges when opening the door by the door hinge (connecting bracket) are transferred to the carrier element, are damped.
  • a resilient damping of the hinge suspension or other door connection with the oven can also in Combined with another type of attachment be, for example by a resilient screw connection, in particular a resilient element with a Screw thread can be integrally formed on the carrier element.
  • Another advantageous embodiment of the door relates the holder of at least one door pane. At least it is an elastic (resilient) return device is provided, that of one receiving means on each of the Carrier elements a by a predetermined minimum insertion length has a smaller distance than a dimension of Door pane in one direction (e.g. with vertical installation the pane height and, if installed horizontally, the pane width).
  • the door window is at least around specified minimum insertion path length against a resetting one Moved (pressed) and then positioned so that it has the restoring force the reset device in the receiving means on the carrier elements pressed and thereby between the receiving means and the resetting device is held resiliently is.
  • the reset device is also preferably at least one of the support elements as a coherent Molded part (one-piece training).
  • At least one of the door panes with two support elements each via one Adhesive connection connected are formed Door pane and the two glued support elements for the subsequent assembly is a fixed assembly unit.
  • the door pane and generally also the support elements then preferably consist of an optically transparent Plastic.
  • a door handle of the door can be used together with the two support elements a coherent molded part and thus a Form assembly unit.
  • the carrier elements can, however, also be used as hollow profile parts be massive.
  • FIGS. 1 to 7 provided the same reference numerals.
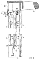
  • Figures 1 to 3 show in different views Furnace muffle door to close a loading opening an oven muffle, not shown, of a cooking oven, in particular a household oven.
  • the door comprises a rear view shown in FIG. 1 front inner pane 2 and one behind lying outer pane 3, both preferably from one clear glass or clear glass ceramic consist.
  • the inner pane 2 and the outer pane 3 are preferably rectangular in shape, the inner pane 2 is somewhat smaller than the outer pane 3.
  • the two Carrier elements 5 and 6 each have a columnar shape Middle part 51 or 61 and two laterally from the middle part 51 or 61 projecting flange edges 50 or 60.
  • the two support elements 5 or 6 each glued to the outer pane 3.
  • the adhesive connection also ensures a gentle connection of the carrier elements 5 and 6 with the Outer pane 3 during manufacture.
  • it can also be a Screw connection, a snap or snap connection or another detachable connection of the carrier elements 5 and 6 can be provided with the outer pane 3.
  • Receiving parts 7 and 8 is in a lower area of the door in each case an opening 52 or 62 is provided for carrying out of components for moving the door, in particular of Door hinge or trolley pull-out parts, which then in the inside hollow support element 5 or 6 inserted and locked there (attached), especially via a screw connection, a snap or snap connection or another Detachable or non-detachable connection with the carrier elements 5 and 6.
  • a door handle 21 In an upper area of the door is on the support elements 5 and 6 a door handle 21 attached.
  • the door handle 21 has a stop area 22 that overlaps the inner pane 2 on. Between this stop area 22 and the contact surfaces the carrier elements 5 and 6 is the inner pane 2 held in their upper area.
  • the one between the extreme Edge of the stop area 22 and the carrier element 5 or 6 formed receiving opening (receiving gap) for the Inner pane 2 is designated by 24.
  • the attack area 22 is in the illustrated embodiment over the whole Width of the inner pane 2 is formed.
  • the door handle 21 has one above the stop area 22 or more air outlet openings 23 for out of the oven escaping cooling air. Below these openings 23 is now, as can be seen particularly in FIG. 3, behind the Stop area 22 a spring element 4 arranged on the inner pane 2 a when inserting the inner pane 2 resilient force.
  • the spring element 4 has one to the inner pane 2 directed spring tongue and extends preferably also across the entire width of the stop area 22.
  • Spring elements distributed over the width of the stop region 22 be provided, in particular two each spring elements arranged in a carrier element.
  • each spring element 4 is between a starting position at a distance L3 from the receiving opening 24 am End of the stop area 22 to the end position in one Distance L1> L3 deflectable from the receiving opening 24 and exercises a resetting depending on their deflection Force on the inner pane 2.
  • the stop area 22, and the spring element 4 together form a first receiving device for receiving the inner pane 2 with the receiving opening 24th
  • each of the two support elements the lower areas of which each have a receiving part 7 and 8 arranged for the inner pane 2.
  • the two recording parts 7 and 8 form a common second receiving device for the inner pane 2.
  • Each of the two lower ones Corners of the inner pane 2 is in a corresponding, angular region of the associated receiving part 7 or 8 fitted, the inner pane 2 at each corner on a vertical stop 70 or 80 and a horizontal one Stop 71 or 81 abuts and thereby to the inside, i.e. towards the oven muffle, secured against falling out is.
  • the stops 70 and 71 of the receiving part 7 and the stops 80 and 81 of the receiving part 8 are on the one hand thus recordings 72 and 82 of the second recording device formed for the inner pane 2.
  • the length of the entry path for the inner pane 2 in the receptacles 72 and 82 of the second Pickup device is designated L2 and is smaller than the maximum insertion path L1 of the first receiving device.
  • the inner pane 2 can now be installed in the door as follows or be taken out of the door.
  • the first receiving device is inserted around an insertion path, which is larger than L2 and upwards by the maximum Insertion path L1 is limited.
  • the spring element 4 excited.
  • the inner pane 2 is now centered that they are in the recordings 72 and 82 of the second recording device under the restoring force of the spring element 4 - and also gravity in the illustrated Embodiment - can snap.
  • the spring element 4 holds the inner pane 2 under a certain force in the second receiving device so that the inner pane 2 laterally (in the disc plane) is securely fixed.
  • plastics can also or be glass fiber reinforced to increase their mechanical Strength and / or to adjust its elasticity, especially at higher temperatures.
  • the plastic used is a thermoplastic, so offers themselves for the production of the carrier elements 5 and 6 and any additional parts located there in particular Injection molding process and / or a thermoforming process. It but can also have several parts, for example, by plastic welding be connected to each other.
  • thermosets is usually used to shape the molded body used a pressing process.
  • the use of a plastic for the carrier elements 5 and 6 has the great advantage that different components the door individually or together on the support elements 5 and 6 can be molded or molded so that coherent (One-piece) moldings are formed, which in one Manufacturing process can be made. This saves one assembly step to assemble of the components. So the receiving parts 7 and 8th for the inner pane 2 and possibly for other panes and / or one or more spring elements 4 for resetting the inner pane 2 and / or the door handle 21 or at least the stop area 22 expediently on the associated support elements 5 and 6 be formed.
  • connection means for connecting the support elements 5 and 6 with door components to be held thereon.
  • snap or locking elements such as locking heads or locking bolts or locking lugs or corresponding Locking recordings on the support elements 5 and 6 be formed with the door component to be attached provided corresponding snap or locking elements work together.
  • Such or other, especially springy, Lanyards can be used in particular to attach the Receiving parts 7 and 8 and / or one or more spring elements 4 for resetting the inner pane 2 and / or of the door handle 21 is provided on the support elements 5 and 6 his.
  • Resilient connecting means are particularly advantageous such as a snap or snap connection to Connect the support elements 5 and 6 to the door hinges or the trolley pull-outs.
  • the formation of the said receiving means or connecting means on the support elements 5 and 6 for other door components can already during a shaping process, such as injection molding or pressing, or by one Plastic connection, such as plastic welding, made of two separately manufactured plastic parts become.
  • a spacer is provided for holding a predetermined one Distance between the carrier elements 5 and 6 on the one hand and the inner pane 2 on the other.
  • the spacers 67 and 68 have a smaller surface (support surface, contact surface) on than the surface of the middle parts (61) of the Carrier elements (5 and 6) and preferably consist of one heat-insulating, poorly heat-conducting material.
  • the through the spacers (67 and 68) between the inner pane 2 and the support elements (6) created space is filled with air, which is a good heat insulator. With each of these measures, the heat conduction between the inner pane 2 and the carrier elements 5 and 6 are reduced.
  • Each spacer 67, 68 is also preferably resilient or elastic, so it is reversibly deformable and exerts a restoring force when deformed.
  • To the spacers 67, 68 can at least predominantly consist of a highly elastic material, especially an elastic one Polymer (elastomer) based on a plastic, one Natural rubber or a plastic / natural rubber compound, preferably a (solid) silicone (polysiloxane or polyfluorosiloxane), even at higher temperatures is persistent.
  • the spacers 67, 68 can but can also be designed as a resilient body, for example with cantilever or spiral spring areas.
  • the modulus of elasticity of the material must be the spacer not be as low as massive spacers, that have to be deformed in volume.
  • the springy or elastic spacers 67 and 68 take when opening and Closing the door or when assembling or disassembling the Inner pane 2 damping on occurring, so that Damage to the door window can be prevented.
  • the fat ones spacers 67 and 68, i.e. their perpendicular to the surface of the middle parts 51 and 61 of the carrier elements 6 measured Dimensions are now preferably as large chosen that the spacers 67 and 68 when installed
  • the inner pane 2 is under a prestress, ie not are completely elastically demolded.
  • the spacers 67, 68 can be made as prefabricated parts the surface of the middle parts 61, for example by means of an adhesive, or in a Recess or an opening introduced in the support member 6 be, especially in a detachable connection by clipping, snapping or pinching.
  • the spacers 67, 68 can also on the support elements 5 and 6 can be formed in one piece (e.g. as a stud) as with the other functional parts already mentioned the assembly effort is also reduced.
  • FIG. 3 additionally shows one not shown in FIGS. 1 and 2 Shim 14 shown between the outer pane 3 and the inner pane 2 and between the two Carrier elements 5 and 6 is inserted into the door.
  • This Intermediate disc 14 preferably has inserted or sprayed Frame elements (frame parts, edge parts) 93 and 94 preferably made of plastic.
  • On the frame elements 93 and 94 are a plurality of spacers 15 and 17 for holding one Distance between the intermediate plate 14 and the inner plate 2 on the one hand and on the opposite Side spacers 16 and 18 for keeping a distance between the intermediate disc 14 and the outer disc 3 provided.
  • the spacers 15 to 18 on the frame elements 93 and 94 can in particular be a round, preferably have a semicircular shape.
  • the spacer 14 can each have three spacers be provided at the front and rear. If the washer 14 with the inner pane 2 removed now on the spacers 16 and 18 along the inner flange edges 51 and 61 the carrier elements 5 and 6 or the outer pane 3 in Is pushed towards handle 21, it will be on one in upper contours running across the door (guide link) 90 lifted up. The then sloping The intermediate disc 14 can now easily be removed from the door be used, especially for cleaning purposes. Furthermore are on the frame elements 93 and 94 of the washer 14 stops 91 and 92 provided with which the washer 14 on corresponding contact surfaces on the receiving parts 7 and 8 sits on.
  • Receiving elements or fasteners are replaced, for example brackets, double leg springs or the like.
  • spring elements can also other reset devices such as pneumatic or electromagnetic Devices may be provided, in particular can be operated by a switch, so that too automatic installation and removal would be possible.
  • the first receiving device can also preferably at least one side guide, seen in the Direction of insertion, for the door pane, which with the Spring element itself or an additional component is formed can be.
  • FIGS. 4 to 7 each show essential components of a Door in different views.
  • On the outer pane 3 are again, analogous to the embodiment according to FIG. 1 to 3, two columnar, designed as profile parts and carrier elements running essentially parallel to one another 5 and 6 attached.
  • the two support elements 5 and 6 differ from the embodiment according to FIG 1 to 3 only on the outer sides facing away from each other a continuous flange 50 or 60 on their mutually facing insides only on the outer edges a flange 53 and 63, respectively an air exchange and thus a temperature drop in to reach the hollow support elements 5 and 6 and Avoid air turbulence in the door.
  • At the flange edges 50 and 53 or 60 and 63 of the carrier elements 5 and 6 embossments 59 and 69 are also provided, which define the distance between the carrier elements 5 and 6 and the outer pane 3 ensure during the gluing process.
  • each support element 5 and 6 On the flat surface facing away from the outer pane 3 of the middle part 51, 61 of each support element 5 and 6 in each case a spacer 55 or 65 in a central area arranged.
  • Each spacer 55 and 65 is in one corresponding opening (only opening 66 in the carrier element 6 in FIGS. 6 and 7) in the sheet metal of the carrier elements 5 and 6 inserted.
  • the dimensions of the spacers 55 and 65 are preferably chosen somewhat larger than the dimensions of the openings (66) in the carrier elements 5 and 6, so that the elastic spacers 55 and 65 under an elastic deformation in the corresponding openings pressed in and by the restoring force now acting be held firmly in the opening. Additional fasteners are therefore not necessary and the spacers 55 and 65 can also from the support elements 5 and 6 can be removed.
  • the two spacers 55 and 65 lie with a Opening (66) overlapping edge on the surface of the support elements 5 and 6 so that the opening (66) seals is.
  • the spacers have 55 and 65 a rectangular contour and one of the surface of the associated support element 5 and 6 convex surface on the outside.
  • the shape of the spacers 55 and 65 is of course not on this Shape limited, but can also be chosen differently become.
  • FIGS. 6 and 7 each show a side view of the door according to FIG 4 and 5 with an installed or removed inner pane 2.
  • a receiving element 85 in FIG 6 and 7 for the inner pane 2 attached.
  • Each holding element (85) has a receiving groove into which the inner pane 2 can be inserted and is the weight of the inner pane 2 in the vertical Position of the door.
  • it is Inner pane 2 essentially parallel to the inner surface the carrier elements (6) aligned and lies with their inside on the elastic spacers 55 and 65 (only 65 shown in FIGS. 6 and 7), preferably again under a bias. This is between the Inner pane 2 and the surface of the carrier element (6) Gap formed.
  • the inner pane 2 can now be removed from the receiving element 85 in Removed the direction of the arrow shown, designated P become. With this removal movement slides the inner pane 2 on the surfaces of the spacer 55 and 65 along.
  • the spacers 55 and 65 are therefore again at least on its surface from a slippery one Material formed, preferably again with the above Materials and sliding friction coefficients.
  • the inner pane 2 from the receiving groove of the receiving element 85 it can be swung forward and be removed, as illustrated in FIG 7.
  • the on the side of the inner pane opposite the receiving element 85 predictable additional recording device is in 6 and 7 not shown, but can again as in the embodiments shown in FIGS 1 to 3 be so that the inner pane 2 against a resetting Element in the further receiving device in the direction of shown arrow P is pressed until it comes out of the receiving element 85 can be removed and then in the shown in FIG7 be removed from the door can.
  • the inner pane 2 can also be embodied snapped onto the support elements 5 and 6, clipped on or be releasably attached in another way. You can do this in particular on the inner pane 2 on its carrier elements 5 and 6 facing surface one or more locking elements, for example double leg springs or the like, are attached, in particular by an adhesive connection, and corresponding to the support elements 5 and 6 Openings can be provided into which the latching elements can be snapped are.
  • the movement of the inner pane 2 during assembly or disassembly then has a movement component perpendicular to the support elements 5 and 6 and can additionally a rotary movement around one of the locking elements Execute distant point (or axis).
  • Support elements also a surrounding frame, be provided.
  • the invention is not based on the exemplary embodiments described limited.
  • the exemplary embodiments have in common that according to the invention the at least two support elements (Door pillars) of the oven door formed from a plastic become.
  • the plastic is a polymer material that up to a temperature occurring in a muffle door is stable and the necessary for the carrying function in the door Has dimensional stability.
  • the plastic has in particular, sufficient mechanical toughness (mechanical Impact resistance) so that it can withstand impact loads like when you open the door not to warp or even breakage of the material.
  • the choice of materials according to the invention allows the direct molding or molding of functional parts of the door on the support elements.
  • the known sheet metal parts can be Plastic molded parts also have greater design freedom, Achieve color choice and more flexible design.

Landscapes

  • Engineering & Computer Science (AREA)
  • Chemical & Material Sciences (AREA)
  • Combustion & Propulsion (AREA)
  • Mechanical Engineering (AREA)
  • General Engineering & Computer Science (AREA)
  • Securing Of Glass Panes Or The Like (AREA)
  • Seal Device For Vehicle (AREA)

Abstract

Die Tür für einen Garofen umfasst eine Außenscheibe (2) und wenigstens zwei an der Außenscheibe befestigte Trägerelemente (5,6). Gemäß der Erfindung sind die Trägerelemente aus einem Kunststoff gebildet, der bis zu einer in einer Ofenmuffeltür auftretenden Temperatur beständig ist und die für die Tragefunktion in der Tür erforderliche Formstabilität aufweist. An den Trägerelementen sind weitere Funktionsteile angeformt, insbesondere Scheibenhalterungen, Scharnierhalterungen, Abstandhalter und dergleichen Vorteile: einfachere Montage, größere Gestaltungsfreiheit und flexiblere Formgebung <IMAGE>

Description

Die Erfindung betrifft eine Tür für einen Garofen.
Es sind Türen für Haushaltsgaröfen bekannt mit einem Sichtfenster, das durch eine lichtdurchlässige Außenscheibe und eine lichtdurchlässige Innenscheibe und gegebenenfalls auch eine dazwischen angeordnete lichtdurchlässige Zwischenscheibe gebildet ist.
Aus DE 197 38 504 C1 ist eine Tür für ein Haushaltsgerät, insbesondere einen Haushaltsgarofen, bekannt mit einer ein-und ausbaubaren Türscheibe. Diese bekannte Tür umfasst eine Außenscheibe, an der zwei säulenartige Trägerelemente aus einem zu einem Profilteil geformten emaillierten Stahlblech befestigt sind, und eine Innenscheibe, die von zwei an den Trägerelementen befestigten Aufnahmeeinrichtungen entnehmbar gehalten ist. In einer der beiden Aufnahmeeinrichtungen ist ein Federelement vorgesehen, die andere Aufnahmeeinrichtung umfasst zwei für jeweils eine Ecke der Innenscheibe vorgesehene Eckhalter mit einer umlaufenden Aufnahmenut. Beim Montieren wird die Innenscheibe in die erste Aufnahmeeinrichtung gegen die rückstellende Kraft des Federelements so weit eingeführt, bis sie auch in die Aufnahmenuten der zweiten Aufnahmeeinrichtung eingeführt werden kann. Durch die rückstellende Kraft des Federelements wird die Innenscheibe in die Aufnahmenut der zweiten Aufnahmeeinrichtung gedrückt und dort gehalten (arretiert, fixiert). Zum Herausnehmen wird die Innenscheibe einfach wieder gegen die Rückstellkraft des Federelements so weit gedrückt, bis sie aus den Aufnahmenuten heraustritt, und kann dann einfach aus der Tür entnommen werden. In der eingebauten Position liegt die Innenscheibe auf den flachen Mittelteilen der beiden säulenartigen Trägerelemente auf und wird beim Montieren oder Demontieren auf diesen Mittelteilen entlanggeschoben.
Die DE 197 05 120 A1 offenbart eine Tür zum Verschließen einer Backofenmuffel eines Backofens mit einem rahmenartigen, umlaufenden Träger (Türrahmen) aus Kunststoff zum Einfassen einer Innenscheibe, einer Außenscheibe sowie einer Zwischenscheibe. Der rahmenartige Träger umfasst eine rahmenartige Füllplatte und seitliche Einfassungsleisten, die eine einen Türinnenraum umgrenzende Rahmenwand bilden. Die Rahmenwand und die Füllplatte bilden ein einstückiges Rahmenprofilteil des rahmenartigen Trägers. An der Außenscheibe ist ein Haltebügel mittels eines Klebstoffes festgeklebt, an dem das Rahmenprofilteil mittels einer Schraube befestigt ist. Die Innenscheibe ist auf eine von der Außenscheibe abgewandte Auflagefläche des Rahmenprofilteils aufgeklebt. An dem Rahmenprofilteil ist ein sich in den Türinnenraum erstreckendes Abstandselement mit einer Auflagefläche angeformt. An der Auflagefläche des Abstandselements liegt die Zwischenscheibe an einer Seite an. An der gegenüberliegenden Seite liegt die Zwischenscheibe über ein elastisches Element auf dem Haltebügel auf der Außenscheibe auf. Beim Verschrauben des Rahmenprofilteils mit dem Haltebügel der Außenscheibe wird die Zwischenscheibe zwischen der Auflagefläche des Abstandhalters und dem elastischen Element festgeklemmt. Zum Schutz der Außenscheibe und der Zwischenscheibe kann auch auf der für die Außenscheibe vorgesehene Auflagefläche und der für die Zwischenscheibe vorgesehenen Auflagefläche am Abstandhalter jeweils ein elastisches Element angeordnet sein. Die Innenscheibe ist bei dieser aus DE 197 05 120 A1 bekannten Backofentür nicht herausnehmbar.
Der Erfindung liegt die Aufgabe zugrunde, eine besondere Tür für einen Garofen, vorzugsweise für den Haushalt, anzugeben, die einfach montierbar ist.
Diese Aufgabe wird gemäß der Erfindung gelöst mit den Merkmalen des Anspruchs 1.
Die Tür für einen Garofen, vorzugsweise einen Haushaltsgarofen, umfasst wenigstens zwei voneinander getrennt angeordnete Trägerelemente, die jeweils aus einem temperaturbeständigen und mechanisch stabilen (schlagfesten, mechanisch zähen) Polymerwerkstoff (Kunststoff) gebildet sind, und wenigstens eine Türscheibe, die insbesondere an der Türfront, also an der von der Garofenmuffel abgewandten Außenseite, angeordnet ist (Außenscheibe). An den beiden Trägerelementen sind Aufnahmemittel (Haltemittel) und/oder Befestigungsmittel (Verbindungsmittel) angeordnet, die mit dem zugehörigen Trägerelement einstückig (als ein gemeinsamer zusammenhängender Formkörper) ausgebildet sind und zum Aufnehmen bzw. Befestigen der Türscheibe und/oder wenigstens einer weiteren Türkomponente vorgesehen sind.
Vorteilhafte Ausgestaltungen und Weiterbildungen der Tür gemäß der Erfindung ergeben sich aus den vom Anspruch 1 abhängigen Ansprüchen.
Der Polymerwerkstoff kann insbesondere ein Thermoplast oder auch ein Duroplast mit den entsprechenden thermischen und mechanischen Eigenschaften sein. Die Formkörper aus Trägerelementen und zugehörigen Aufnahmemitteln bzw. Befestigungsmitteln sind in einer vorteilhaften Ausführungsform als Spritzgussformteile und/oder im Wesentlichen einheitlich aus einem Polymerwerkstoff hergestellt.
Die zusätzlichen Türkomponenten neben der Türscheibe können insbesondere Türscharniere und/oder weitere Türscheiben und/oder ein Türgriff sein.
Jede Türscheibe besteht im Allgemeinen aus einem optisch transparenten Material, insbesondere einem Glas oder einem glasartigen Material, um ein Sichtfenster in den Garraum zu bilden.
An jedem der Trägerelemente kann in einer besonderen Ausführungsform jeweils wenigstens ein Abstandhalter angeformt sein zum Halten eines vorbestimmten Abstandes zwischen der übrigen Oberfläche des Trägerelements und einer der genannten Türscheiben. Dies zeitigt eine bessere thermische Entkopplung der Türscheibe von dem Trägerelement, da der Abstandhalter eine geringere Auflagefläche als das gesamte Trägerelement aufweist und vorzugsweise aus einem Material mit geringer Wärmeleitung. Jeder Abstandhalter ist vorzugsweise zumindest teilweise elastisch verformbar, insbesondere durch Ausbildung als federndes Element. Dadurch werden Kraftstöße zwischen der Türscheibe und dem Trägerelement, die bei der Montage oder Demontage der Türscheibe oder bei Bewegungen und Erschütterungen der Tür im Gebrauch auftreten können, gedämpft (weiche Lagerung der Türscheibe auf dem Abstandhalter). Bei eingebauter Türscheibe steht jeder Abstandhalter vorzugsweise zwischen der zugehörigen Türscheibe und dem zugehörigen Trägerelement unter einer Vorspannung, um Klappergeräusche der Türscheibe zu verringern. Ferner kann in einer vorteilhaften Ausführungsform jeder Abstandhalter zumindest an der der Türscheibe zugewandten Oberfläche aus einem gleitfähigen Material bestehen, so dass die Türscheibe auf jedem Abstandhalter mit einer geringen Gleitreibung bewegbar ist. Dazu können die Abstandhalter mit einer Gleitschicht versehen sein oder sogar selbst aus einem gleitfähigen Kunststoff bestehen wie beispielsweise einem geeigneten Fluorkohlenwasserstoff. Aufgrund der Gleitfähigkeit jedes Abstandhalters ist die Türscheibe auf jedem Abstandhalter mit einer geringen Gleitreibung bewegbar und damit leichtgängig. Dies erleichtert die Montage und Demontage der Türscheibe.
Die Halterung oder Befestigung der Türscheiben und/oder anderer Türkomponenten ist vorzugsweise lösbar, so dass diese Teile aus der Tür, beispielsweise zum Ersatz durch neue Teile oder zu Reinigungszwecken, demontiert und wieder montiert werden können. Die zugehörigen Aufnahmemittel bzw. Befestigungsmittel an den Trägerelementen sowie ggf. vorhandene korrespondierende Mittel an der Türkomponente sind dazu entsprechend ausgebildet, beispielsweise mittels Aufnahmenuten bzw. lösbaren Verbindungen.
Eine bevorzugte Befestigungsart einer oder mehrerer Türkomponenten an den Trägerelementen ist eine Schnapp- oder Rastverbindung. Die Befestigungsmittel umfassen dazu vorzugsweise an den Trägerelementen angeformte oder ausgeformte Schnapp- oder Rastelemente, die mit korrespondierenden Schnapp- bzw. Rastelementen an der Türscheibe bzw. der anderen Türkomponente zusammenwirken. Hier kommt die Materialwahl gemäß der Erfindung für die Trägerelemente besonders vorteilhaft zur Geltung, da eine Schnapp- oder Rastverbindung in einem Kunststoff sehr einfach zu verwirklichen ist, während dies bei Trägerelementen aus emailiertem Stahlblech bislang problematisch war.
Damit sind im Falle einer schwenkbaren Tür für die Befestigung auch die Türscharniere oder, im Falle einer axial verschiebbaren Tür (Backwagen), die Verbindungselemenete zwischen den Auszügen und der Tür innerhalb oder an den Trägerelementen über eine Schnapp- oder Rastverbindung befestigbar. Wegen der federnden Nachgiebigkeit (Flexibilität) einer Schnapp- oder Rastverbindung sind die Türscharniere oder Verbindungselemente dann federnd in den Trägerelementen aufgehängt mit der positiven Folge, dass Kraftstöße beim Öffnen der Tür, die vom Türscharnier (Verbindungsträger) auf das Trägerelement übertragen werden, gedämpft werden. Eine federnde Dämpfung der Scharnieraufhängung oder sonstigen Türverbindung mit dem Garofen kann aber auch in Kombination mit einer anderen Befestigungsart verwirklicht werden, beispielsweise durch eine federnde Schraubverbindung, wobei insbesondere ein federndes Element mit einem Schraubengewinde an dem Trägerelement angeformt sein kann.
Eine weitere vorteilhafte Ausführungsform der Tür betrifft die Halterung wenigstens einer Türscheibe. Es ist wenigstens eine elastische (federnde) Rückstelleinrichtung vorgesehen, die von jeweils einem Aufnahmemittel an jedem der Trägerelemente einen um eine vorgegebene minimale Einführweglänge kleineren Abstand aufweist als eine Abmessung der Türscheibe in einer Richtung (z.B. bei senkrechtem Einbau die Scheibenhöhe und bei waagrechtem Einbau die Scheibenbreite). Beim Einbau wird die Türscheibe wenigstens um die vorgegebene minimale Einführweglänge gegen eine rückstellende Kraft der Rückstelleinrichtung bewegt (gedrückt) und dann so positioniert, dass sie von der rückstellenden Kraft der Rückstelleinrichtung in die Aufnahmemittel an den Trägerelementen gedrückt wird und dadurch zwischen den Aufnahmemitteln und der Rückstelleinrichtung federnd gehalten ist. Auch die Rückstelleinrichtung ist vorzugsweise mit wenigstens einem der Trägerelemente als ein zusammenhängendes Formteil ausgebildet (einstückige Ausbildung).
In einer vorteilhaften Ausführungsform ist wenigstens eine der Türscheiben mit beiden Trägerelemente über jeweils eine Klebeverbindung verbunden. In diesem Fall bilden also die Türscheibe und die beiden angeklebten Trägerelemente für die anschließende Montage eine feste Montageeinheit. In einer besonderen Ausgestaltung kann sogar zumindest eine der genannten Türscheibe mit wenigstens einem Teil der Trägerelemente als ein zusammenhängendes Formteil ausgebildet sein. Die Türscheibe und im Allgemeinen auch die Trägerelemente bestehen dann vorzugsweise aus einem optisch transparenten Kunststoff.
Auch ein Türgriff der Tür kann zusammen mit den beiden Trägerelementen ein zusammenhängendes Formteil und damit eine Montageeinheit bilden.
Es werden also weitere Funktionsteile der Tür mit den Trägerelementen zu gemeinsamen Formkörpern integriert. Grundsätzlich gilt: Je mehr Teile der Tür zu einem einzigen Formteil integriert werden können, desto einfacher wird die Montage. Allerdings ist der Integrationsgrad auch von der Auswahl der zur Verfügung stehenden und auch bezahlbaren Materialien sowie den Formgebungsprozessen abhängig.
Die Trägerelemente können als Hohlprofilteile, aber auch massiv ausgebildet sein.
Zur weiteren Erläuterung der Erfindung wird auf die Zeichnungen Bezug genommen, in denen ein Ausführungsbeispiel gemäß der Erfindung schematisch dargestellt ist. Es zeigen:
FIG 1
eine Tür in einer Rückansicht,
FIG 2
die Tür gemäß FIG 1 in einer Seitenansicht
FIG 3
die Tür gemäß FIG 1 und 2 in einem seitlichen Schnitt,
FIG 4
eine weitere Ausführungsform einer Tür mit herausgenommener Innenscheibe in einer Rückansicht,
FIG 5
die Tür gemäß FIG 4 in einem in FIG 4 mit den Pfeilen V-V veranschaulichten Schnitt,
FIG 6
die Tür gemäß FIG 4 und 5 mit eingebauter Innenscheibe in einer Seitenansicht,
FIG 7
die Tür gemäß FIG 6 mit herausgenommener Innenscheibe.
Einander entsprechende Teile sind in den FIG 1 bis 7 mit denselben Bezugszeichen versehen.
Die FIG 1 bis 3 zeigen in verschiedenen Ansichten eine Ofenmuffeltür zum Verschließen einer Beschickungsöffnung einer nicht dargestellten Ofenmuffel eines Garofens, insbesondere eines Haushaltsgarofens.
Die Tür umfasst eine in der in FIG 1 dargestellten Rückansicht vorne angeordnete Innenscheibe 2 und eine dahinter liegende Außenscheibe 3, die beide vorzugsweise aus einem durchsichtigen Glas oder einer durchsichtigen Glaskeramik bestehen. Die Innenscheibe 2 und die Außenscheibe 3 sind vorzugsweise rechteckig geformt, wobei die Innenscheibe 2 etwas kleiner als die Außenscheibe 3 ausgebildet ist.
An der Außenscheibe 3 sind zwei im Wesentlichen parallel verlaufende Trägerelemente 5 und 6 angeordnet. Die beiden Trägerelemente 5 und 6 weisen jeweils einen säulenartigen Mittelteil 51 bzw. 61 sowie zwei seitlich von dem Mittelteil 51 bzw. 61 abstehende Flanschränder 50 bzw. 60 auf. An den Flanschrändern 50 und 60 sind die beiden Trägerelemente 5 bzw. 6 jeweils mit der Außenscheibe 3 verklebt. Durch die vergleichsweise große Klebefläche werden Kräfte von den Trägerelementen 5 und 6 gleichmäßig auf die Außenscheibe 3 übertragen, so dass ein Zerspringen der Außenscheibe 3 durch thermische oder mechanische Spannungen praktisch vermieden wird. Die Klebeverbindung gewährleistet überdies eine schonende Verbindung der Trägerelemente 5 und 6 mit der Außenscheibe 3 bei der Herstellung. Es kann jedoch auch eine Schraubverbindung, eine Schnapp- oder Rastverbindung oder eine andere lösbare Verbindung der Trägerelemente 5 und 6 mit der Außenscheibe 3 vorgesehen sein.
In den Trägerelementen 5 und 6 und den daran befestigten Aufnahmeteilen 7 und 8 ist in einem unteren Bereich der Tür jeweils ein Durchbruch 52 bzw. 62 vorgesehen zum Durchführen von Komponenten zur Bewegung der Tür, insbesondere von Türscharnier- oder Backwagenauszugteilen, die dann in das innen hohle Trägerelement 5 bzw. 6 eingeführt und dort arretiert (befestigt) werden, insbesondere über eine Schraubverbindung, eine Schnapp- oder Rastverbindung oder eine andere lösbare oder auch unlösbare Verbindung mit den Trägerelementen 5 und 6.
In einem oberen Bereich der Tür ist an den Trägerelementen 5 und 6 ein Türgriff 21 befestigt. Der Türgriff 21 weist einen die Innenscheibe 2 übergreifenden Anschlagsbereich 22 auf. Zwischen diesem Anschlagsbereich 22 und den Auflageflächen der Trägerelemente 5 und 6 ist die Innenscheibe 2 in ihrem oberen Bereich gehalten. Die zwischen dem äußersten Rand des Anschlagsbereich 22 und dem Trägerelement 5 bzw. 6 gebildete Aufnahmeöffnung (Aufnahmespalt) für die Innenscheibe 2 ist mit 24 bezeichnet. Der Anschlagsbereich 22 ist im dargestellten Ausführungsbeispiel über die ganze Breite der Innenscheibe 2 ausgebildet.
Der Türgriff 21 weist oberhalb des Anschlagsbereich 22 eine oder mehrere Luftaustrittsöffnungen 23 für aus dem Garofen austretende Kühlluft auf. Unterhalb dieser Öffnungen 23 ist nun, wie insbesondere in FIG 3 zu erkennen ist, hinter dem Anschlagsbereich 22 ein Federelement 4 angeordnet, das auf die Innenscheibe 2 beim Einführen der Innenscheibe 2 eine rückstellende Kraft ausübt. Das Federelement 4 weist eine zur Innenscheibe 2 hin gerichtete Federzunge auf und erstreckt sich vorzugsweise ebenfalls über die ganze Breite des Anschlagsbereiches 22. Es können aber auch mehrere, über die Breite des Anschlagsbereiches 22 verteilte Federelemente vorgesehen sein, insbesondere zwei an jeweils einem Trägerelement angeordnete Federelemente. Die Federzunge jedes Federelements 4 ist zwischen einer Ausgangsstellung in einem Abstand L3 von der Aufnahmeöffnung 24 am Ende des Anschlagsbereichs 22 bis zur Endstellung in einem Abstand L1 > L3 von der Aufnahmeöffnung 24 auslenkbar und übt in Abhängigkeit von ihrer Auslenkung eine rückstellende Kraft auf die Innenscheibe 2 aus. Der Anschlagsbereich 22, und das Federelement 4 bilden zusammmen eine erste Aufnahmeeinrichtung zum Aufnehmen der Innenscheibe 2 mit der Aufnahmeöffnung 24.
Ferner sind an den beiden Trägerelementen 5 und 6 in jeweils deren unteren Bereichen jeweils ein Aufnahmeteil 7 und 8 für die Innenscheibe 2 angeordnet. Die beiden Aufnahmeteile 7 und 8 bilden eine gemeinsame zweite Aufnahmeeinrichtung für die Innenscheibe 2. Jede der beiden unteren Ecken der Innenscheibe 2 wird dabei in einen entsprechenden, winkelförmigen Bereich des zugehörigen Aufnahmeteils 7 bzw. 8 eingepasst, wobei die Innenscheibe 2 an jeder Ecke an einem vertikalen Anschlag 70 bzw. 80 und einem horizontalen Anschlag 71 bzw. 81 anliegt und dadurch zur Innenseite, d.h. zur Ofenmuffel hin, vor dem Herausfallen gesichert ist. Mit den Anschlägen 70 und 71 des Aufnahmeteils 7 sowie der Anschläge 80 und 81 des Aufnahmeteils 8 einerseits sind somit Aufnahmen 72 bzw. 82 der zweiten Aufnahmeeinrichtung für die Innenscheibe 2 gebildet. Die Länge des Einführweges für die Innenscheibe 2 in den Aufnahmen 72 und 82 der zweiten Aufnahmeeinrichtung ist mit L2 bezeichnet und ist kleiner als der maximale Einführweg L1 der ersten Aufnahmeeinrichtung.
Die Innenscheibe 2 kann nun folgendermaßen in der Tür montiert oder aus der Tür herausgenommen werden. Zum Montieren wird die Innenscheibe 2 zunächst in die Aufnahmeöffnung 24 der ersten Aufnahmeeinrichtung um einen Einführweg eingeführt, der größer ist als L2 und nach oben durch den maximalen Einführweg L1 begrenzt ist. Dabei wird das Federelement 4 gespannt. Die Innenscheibe 2 wird nun so zentriert, dass sie in die Aufnahmen 72 und 82 der zweiten Aufnahmeeinrichtung unter der rückstellenden Kraft des Federelements 4 - und auch der Schwerkraft in der dargestellten Ausführungsform - einrasten kann. Das Federelement 4 hält die Innenscheibe 2 unter einer bestimmten Kraft in der zweiten Aufnahmeeinrichtung, so dass die Innenscheibe 2 lateral (in der Scheibenebene) sicher fixiert ist.
Zum Herausnehmen (Demontage) der Innenscheibe 2 wird die Innenscheibe 2 wieder gegen die rückstellende Kraft des Federelements 4 in die erste Aufnahmeeinrichtung gedrückt und dann aus den Aufnahmen 72 und 82 entnommen.
Die beiden Trägerelemente 5 und 6 sind nun als Formkörper aus einem Polymerwerkstoff gebildet, der bei den an oder in einer Garofentür herrschenden Temperaturen eine ausreichende mechanische Festigkeit (Stabilität) aufweist, um die in der Tür wirkenden Kräfte tragen zu können. Geeignete hochtemperaturfeste polymerisierte Kunststoffe (Polymere oder Polymerverbindungen) sind beispielsweise
  • Polyimide (PI), insbesondere Polymethacrylimid (PMI) oder das aus Pyrazintetracarbonsäureanhydrid und Diaminothiodiazol hergestellte PPDA,
  • Polyoxymethylen (Polyacetal, POM) für nicht zu hohe Temperaturen,
  • Polyamide,
  • Halogen-Kohlenstoff-Polymere, insbesondere fluorierte oder anders halogenierte Kohlenwasserstoffe , insbesondere Fluorcarbon-Polymere oder Copolymere, beispielsweise Polyfluorethylene, insbesondere Polytetrafluorethylen oder ein Copolymer aus Tetrafluorethylen und Propylen, oder Chlorbutadien-Polymere
  • Acrylester-Polymere,
  • Ethylen-Propylen-Dien-Elastomere
  • Ethylen-Vinylacetat-Copolymere
  • Polyphenylen (PPH).
  • Polyphenylensulfid (PPS)
  • Polyaryletheretherketon (PEEK) und Abwandlungen wie Polyaryletherketon (PAEK) und Polyetheretherketonketon (PEEKK)
Alle diese Kunststoffe (Polymerwerkstoffe) können auch kohle- oder glasfaserverstärkt sein zur Erhöhung ihrer mechanischen Festigkeit und/oder zur Einstellung ihrer Elastizität, insbesondere bei höheren Temperaturen.
Wenn der verwendete Kunststoff ein Thermoplast ist, so bietet sich zur Herstellung der Trägerelemente 5 und 6 und eventuell daran befindlicher Zusatzteile insbesondere ein Spritzgießprozeß und/oder ein Warmformungsprozeß an. Es können aber auch mehrere Teile beispielsweise durch Kunststoffschweißen miteinander verbunden werden. Bei Duroplasten wird dagegen zum Formen der Formkörper in der Regel ein Pressverfahren verwendet.
Die Verwendung eines Kunststoffes für die Trägerelemente 5 und 6 hat den großen Vorteil, dass verschiedene Komponenten der Tür einzeln oder gemeinsam an den Trägerelementen 5 und 6 an- oder ausgeformt sein können, so daß zusammenhängende (einstückiger) Formkörper gebildet werden, die in einem Herstellungsprozeß hergestellt werden können. Dadurch erspart man sich jeweils einen Montageschritt zum Zusammenbauen der Komponenten. So können die Aufnahmeteile 7 und 8 für die Innenscheibe 2 und eventuell für weitere Scheiben und/oder eines oder mehrere Federelemente 4 zum Rückstellen der Innenscheibe 2 und/oder der Türgriff 21 oder zumindest der Anschlagsbereich 22 zweckmäßig an den zugehörigen Trägerelementen 5 und 6 ausgebildet sein.
An den Formkörpern der Trägerelemente 5 und 6 lassen sich aber auch einfach Verbindungsmittel ausbilden zum Verbinden der Trägerelemente 5 und 6 mit daran zu haltenden Türkomponenten. So können insbesondere Schnapp- oder Rastelemente wie Rastköpfe oder Rastbolzen oder Rastnasen oder korrespondierende Rastaufnahmen an den Trägerelementen 5 und 6 geformt sein, die mit an der zu befestigenden Türkomponente vorgesehenen korrespondierenden Schnapp- bzw. Rastelementen zusammenwirken. Solche oder andere, insbesondere federnde, Verbindungsmittel können insbesondere zur Befestigung der Aufnahmeteile 7 und 8 und/oder eines oder mehrerer Federelemente 4 zum Rückstellen der Innenscheibe 2 und/oder des Türgriffes 21 an den Trägerelementen 5 und 6 vorgesehen sein. Besonders vorteilhaft sind federnde Verbindungsmittel wie beispielsweise eine Rast- oder Schnappverbindung zum Verbinden der Trägerelemente 5 und 6 mit den Türscharnieren oder den Backwagenauszügen.
Die Ausbildung der genannten Aufnahmemittel oder Verbindungsmittel an den Trägerelementen 5 und 6 für andere Türkomponenten kann bereits während eines Formgebungsprozesses, wie Spritzgießen oder Pressen, oder auch durch eine Kunststoffverbindung, wie beispielsweise Kunststoffschweißen, zweier separat hergestellter Kunststoffteile vorgenommen werden.
An den beiden Trägerelementen 5 und 6 ist jeweils wenigstens ein Abstandhalter vorgesehen zum Halten eines vorbestimmten Abstandes zwischen den Trägerelementen 5 und 6 einerseits und der Innenscheibe 2 andererseits. In FIG 2 sind zwei solche Abstandhalter für das dort dargestellte Trägerelement 6 mit 67 und 68 bezeichnet. Die Abstandhalter 67 und 68 weisen eine kleinere Oberfläche (Abstützfläche, Kontaktfläche) auf als die Oberfläche der Mittelteile (61) der Trägerelemente (5 und 6) und bestehen vorzugsweise aus einem wärmeisolierenden, schlecht wärmeleitenden Material. Der durch die Abstandhalter (67 und 68) zwischen der Innenscheibe 2 und den Trägerelementen (6) geschaffene Zwischenraum ist mit Luft gefüllt, die ein guter Wärmeisolator ist. Durch jede dieser Maßnahmen wird die Wärmeleitung zwischen der Innenscheibe 2 und den Trägerelementen 5 und 6 verringert.
Jeder Abstandhalter 67, 68 ist ferner vorzugsweise federnd oder elastisch ausgebildet, ist also reversibel verformbar und übt bei Verformung eine rückstellende Kraft aus. Dazu können die Abstandhalter 67, 68 zumindest überwiegend aus einem hochelastischen Material, insbesondere einem elastischen Polymer (Elastomer) auf Basis eines Kunststoffes, eines Naturkautschuks oder einer Kunststoff-/Naturkautschuk-Verbindung, vorzugsweise einem (festes) Silikon (Polysiloxan oder Polyfluorsiloxan), das auch bei höheren Temperaturen beständig ist, bestehen. Die Abstandhalter 67, 68 können aber auch als federnde Körper ausgebildet werden, beispielsweise mit Federbalken- oder Spiralfederbereichen. Bei einer solchen Ausbildung der Abstandhalter als Federelemente muss der Elastizitätsmodul des Materials der Abstandhalter nicht so niedrig sein wie bei massiven Abstandhalter, die im Volumen verformt werden müssen. Die federnden oder elastischen Abstandhalter 67 und 68 nehmen beim Öffnen und Schließen der Tür oder bei der Montage oder Demontage der Innenscheibe 2 auftretende Kraftstöße dämpfend auf, so dass Beschädigungen der Türscheibe verhindert werden. Die Dicken der Abstandhalter 67 und 68, d.h. ihre senkrecht zur Oberfläche der Mittelteile 51 und 61 der Trägerelemente 6 gemessene Abmessungen, sind nun vorzugsweise jeweils so groß gewählt, dass die Abstandhalter 67 und 68 bei eingebauter Innenscheibe 2 unter einer Vorspannung stehen, also nicht vollständig elastisch entformt sind. Dadurch üben die Abstandhalter 67 und 68 auf die Innenscheibe 2 eine rückstellende Kraft aus, die gegen den Anschlagsbereich 22 in der ersten Aufnahmeeinrichtung und gegen die Anschläge 70 und 71 sowie 80 und 81 in der zweiten Aufnahmeeinrichtung gerichtet ist. Die Innenscheibe 2 wird somit durch die Abstandhalter 67 und 68 in ihren Aufnahmeeinrichtungen vorgespannt, um Klappergeräusche in der Tür zu mildern.
Bei der Montage oder Demontage der Innenscheibe 2 wird die Innenscheibe 2 über die Abstandhalter 67 und 68 in reibendem Kontakt geführt. Es kann deshalb in einer vorteilhaften Ausführungsform die Oberfläche der Abstandhalter 67 und 68 mit einer gleitfähigen Beschichtung (Gleitschicht) versehen. Diese Gleitschicht wird mit einem gleitfähigen Polymer gebildet, vorzugsweise mit Polyfluorethylen, insbesondere in der unter dem Handelsnamen Teflon bekannten Zusammensetzung.
Die Abstandhalter 67, 68 können als vorgefertigte Teile auf der Oberfläche der Mittelteile 61 befestigt sein, beispielsweise mittels eines Klebemittels, oder auch in einer Ausnehmung oder einer Öffnung in dem Trägerelement 6 eingebracht sein, insbesondere in einer lösbaren Verbindung durch Einclipsen, Einrasten oder Einklemmen. Die Abstandhalter 67, 68 können aber auch an den Trägerelementen 5 und 6 einstückig ausgeformt sein (z.B. als Anstandsnoppen), wodurch wie bei den anderen bereits genannten Funktionsteilen ebenfalls der Montageaufwand reduziert wird.
In FIG 3 ist zusätzlich eine in den FIG 1 und 2 nicht dargestellte Zwischenscheibe 14 gezeigt, die zwischen die Außenscheibe 3 und die Innenscheibe 2 und zwischen die beiden Trägerelemente 5 und 6 in die Tür eingelegt wird. Diese Zwischenscheibe 14 weist vorzugsweise gesteckte oder aufgespritzte Rahmenelemente (Rahmenteile, Randteile) 93 und 94 vorzugsweise aus Kunststoff auf. An den Rahmenelementen 93 und 94 sind mehrere Abstandhalter 15 und 17 zum Halten eines Abstandes zwischen der Zwischenscheibe 14 und der Innenscheibe 2 einerseits sowie auf der gegenüberliegenden Seite jeweils Abstandhalter 16 und 18 zum Halten eines Abstandes zwischen der Zwischenscheibe 14 und der Außenscheibe 3 vorgesehen. Die Abstandhalter 15 bis 18 an den Rahmenelementen 93 und 94 können insbesondere eine runde, vorzugsweise halbkreisförmige Gestalt haben. An beiden Seiten der Zwischenscheibe 14 können jeweils drei Abstandhalter vorne und hinten vorgesehen sein. Wenn die Zwischenscheibe 14 bei entnommener Innenscheibe 2 nun auf den Abstandhaltern 16 und 18 entlang der inneren Flanschränder 51 und 61 der Trägereelemente 5 und 6 oder der Außenscheibe 3 in Richtung Griff 21 geschoben wird, so wird sie an einer im oberen, quer zur Tür verlaufenden vorgesehenen Kontur (Führungskulisse) 90 nach oben gehoben. Die dann schräg stehende Zwischenscheibe 14 kann nun leicht aus der Tür entnommen werden, insbesondere zu Reinigungszwecken. Ferner sind an den Rahmenelementen 93 und 94 der Zwischenscheibe 14 Anschläge 91 und 92 vorgesehen, mit denen die Zwischenscheibe 14 an entsprechenden Auflageflächen an den Aufnahmeteilen 7 und 8 aufsitzt.
Es können also bei dem beschriebenen Türaufbau sowohl die Innenscheibe 2 als auch danach eine gegebenenfalls zusätzlich vorhandene Zwischenscheibe 14 einfach und ohne Werkzeuge entnommen werden, wodurch die Reinigung der Tür erleichtert wird.
Die Aufnahmenuten und sonstigen Aufnahmen können in allen Ausführungsformen auch wenigstens teilweise durch andere Aufnahmeelemente oder Befestigungselemente ersetzt werden, beispielsweise Klammern, Zweischenkelfedern oder dgl. Anstelle von Federelementen können auch andere Rückstelleinrichtungen wie beispielsweise pneumatische oder elektromagnetische Vorrichtungen vorgesehen sein, die insbesondere durch einen Schalter betätigt werden können, so dass auch ein automatischer Ein- und Ausbau möglich wäre. Zur besseren Führung der Türscheibe auch in der ersten Aufnahmeeinrichtung kann die erste Aufnahmeeinrichtung auch vorzugsweise wenigstens eine seitliche Führung, gesehen in der Einführrichtung, für die Türscheibe aufweisen, die mit dem Federelement selbst oder einem zusätzlichen Bauteil gebildet sein kann.
Die FIG 4 bis 7 zeigen jeweils wesentliche Bestandteile einer Tür in verschiedenen Ansichten. An der Außenscheibe 3 sind wieder, analog zu der Ausführungsform gemäß den FIG 1 bis 3, zwei säulenförmige, als Profilteile ausgebildete und zueinander im Wesentlichen parallel verlaufende Trägerelemente 5 und 6 befestigt. Die beiden Trägerelemente 5 und 6 weisen im Unterschied zu der Ausführungsform gemäß den FIG 1 bis 3 nur an den voneinander abgewandten Außenseiten jeweils einen durchgehenden Flanschrand 50 bzw. 60 auf, an ihren aneinander zugewandten Innenseiten jedoch nur an den äußeren Rändern jeweils einen Flanschrand 53 bzw. 63, um einen Luftaustausch und damit eine Temperaturabsenkung in den innen hohlen Trägerelementen 5 und 6 zu erreichen und Luftwirbel in der Tür zu vermeiden. An den Flanschrändern 50 und 53 bzw. 60 und 63 der Trägerelemente 5 und 6 sind auch Prägungen 59 bzw. 69 vorgesehen, die den Abstand zwischen den Trägerelementen 5 und 6 und der Außenscheibe 3 beim Klebeprozess sicherstellen.
An der von der Außenscheibe 3 abgewandten, ebenen Oberfläche des Mittelteils 51, 61 jedes Trägerelements 5 und 6 ist jeweils ein Abstandhalter 55 bzw. 65 in einem mittleren Bereich angeordnet. Jeder Abstandhalter 55 und 65 ist in einer entsprechenden Öffnung (nur Öffnung 66 in Trägerelement 6 in FIG 6 und 7 dargestellt) im Blech der Trägerelemente 5 und 6 eingesteckt. Die Abmessungen der Abstandhalter 55 und 65 sind dabei vorzugsweise etwas größer gewählt als die Abmessungen der Öffnungen (66) in den Trägerelementen 5 und 6, so dass die elastischen Abstandhalter 55 und 65 unter eine elastischen Verformung in die entsprechenden Öffnungen eingedrückt und durch die nun wirkende rückstellende Kraft fest in der Öffnung gehalten werden. Zusätzliche Befestigungselemente sind somit nicht erforderlich, und die Abstandhalter 55 und 65 können auch wieder von den Trägerelementen 5 und 6 entfernt werden.
Die beiden Abstandhalter 55 und 65 liegen mit einem die Öffnung (66) überlappenden Rand auf der Oberfläche der Trägerelemente 5 und 6 auf, so dass die Öffnung (66) abgedichtet ist. Im dargestellten Ausführungsbeispiel haben die Abstandhalter 55 und 65 eine rechteckige Kontur und eine von der Oberfläche des zugehörigen Trägerelements 5 und 6 nach außen gewölbte, konvexe Oberfläche. Die Gestalt der Abstandhalter 55 und 65 ist selbstverständlich nicht auf diese Formgebung beschränkt, sondern kann auch anders gewählt werden.
FIG 6 und 7 zeigen jeweils eine Seitenansicht der Tür gemäß den FIG 4 und 5 mit eingebauter bzw. ausgebauter Innenscheibe 2. In einem unteren Bereich der Tür ist an jedem Trägerelement (in FIG 6 und 7 ist nur das Trägerelement 6 dargestellt) ein Aufnahmeelement (85 in FIG 6 und 7) für die Innenscheibe 2 befestigt. Jedes Halteelement (85) weist eine Aufnahmenut auf, in die die Innenscheibe 2 einführbar ist und die das Gewicht der Innenscheibe 2 in der vertikalen Stellung der Tür trägt. Im eingebauten Zustand ist die Innenscheibe 2 im Wesentlichen parallel zur inneren Oberfläche der Trägerelemente (6) ausgerichtet und liegt mit ihrer Innenseite an den elastischen Abstandhaltern 55 und 65 (in FIG 6 und 7 nur 65 dargestellt) an, vorzugsweise wieder unter einer Vorspannung. Dadurch ist zwischen der Innenscheibe 2 und er Oberfläche des Trägerelement (6) ein Zwischenraum gebildet.
Die Innenscheibe 2 kann nun aus dem Aufnahmeelement 85 in Richtung des dargestellten, mit P bezeichneten Pfeiles herausgenommen werden. Bei dieser Herausnahmebewegung gleitet die Innenscheibe 2 auf den Oberflächen des Abstandhalter 55 und 65 entlang. Die Abstandhalter 55 und 65 sind deshalb wieder zumindestens an ihrer Oberfläche aus einem gleitfähigen Material gebildet, vorzugsweise wieder mit den genannten Materialien und Gleitreibungskoeffizienten. Sobald die Innenscheibe 2 aus der Aufnahmenut des Aufnahmeelements 85 entnommen ist, kann sie nach vorne weggeschwenkt und weggenommen werden, wie in FIG 7 veranschaulicht. Die auf der vom Aufnahmeelement 85 gegenüberliegende Seite der Innenscheibe vorsehbare weitere Aufnahmeeinrichtung ist in den FIG 6 und 7 nicht dargestellt, kann aber wieder wie in den Ausführungsbeispielen gemäß den FIG 1 bis 3 ausgebildet sein, so dass die Innenscheibe 2 gegen ein rückstellendes Element in der weiteren Aufnahmeeinrichtung in Richtung des dargestellten Pfeiles P gedrückt wird, bis sie aus dem Aufnahmeelement 85 herausgenommen werden kann und dann in der in FIG7 dargestellten Weise von der Tür abgenommen werden kann.
In einer nicht dargestellten Abwandlung zu den bislang beschriebenen Ausführungsformen kann die Innenscheibe 2 auch an den Trägerelementen 5 und 6 eingerastet, eingeclipst oder auf andere Weise lösbar befestigt werden. Dazu können insbesondere an der Innenscheibe 2 an deren den Trägerelementen 5 und 6 zugewandter Oberfläche ein oder mehrere Rastelemente, beispielsweise Zweischenkelfedern oder dergleichen, befestigt werden, insbesondere durch eine Klebeverbindung, und an den Trägerelementen 5 und 6 entsprechende Öffnungen vorgesehen sein, in die die Rastelemente einrastbar sind. Die Bewegung der Innenscheibe 2 bei der Montage oder Demontage weist dann eine Bewegungskomponente senkrecht zu den Trägerelementen 5 und 6 auf und kann zusätzlich eine Drehbewegung um einen von den Rastelementen entfernten Punkt (oder Achse) ausführen.
Ferner kann in Abweichung von den dargestellten zwei säulenartigen Trägerelementen auch ein umlaufender Rahmen, vorgesehen sein.
Die Erfindung ist nicht auf die beschriebenen Ausführungsbeispiele beschränkt. Den Ausführungsbeispielen ist gemeinsam, daß gemäß der Erfindung die wenigstens zwei Trägerelemente (Türsäulen) der Garofentür aus einem Kunststoff gebildet werden. Der Kunststoff ist ein Polymerwerkstoff, der bis zu einer in einer Ofenmuffeltür auftretenden Temperatur beständig ist und die für die Tragefunktion in der Tür erforderliche Formstabilität aufweist. Der Kunststoff weist insbesondere eine ausreichende mechanische Zähigkeit (mechanische Schlagfestigkeit) auf, damit es bei Stoßbeanspruchungen wie beim Öffnen der Tür nicht zu einem Verziehen oder gar Bruch des Materials kommt. Die Materialwahl gemäß der Erfindung erlaubt das direkte Anformen oder Ausformen von Funktionsteilen der Tür an den Trägerelementen. Im Gegensatz zu den bekannten Blechteilen lassen sich mit den Kunststoff-Formteilen auch eine größere Gestaltungsfreiheit, Farbwahl und flexiblere Formgebung erreichen.

Claims (19)

  1. Tür für einen Garofen, vorzugsweise für den Haushalt, mit
    a) wenigstens zwei voneinander beabstandeten Trägerelementen, die aus einem temperaturbeständigen und mechanisch stabilen Polymerwerkstoff, insbesondere einem thermoplastischen oder einem duroplastischen Polymerwerkstoff, gebildet sind,
    b) einer Türscheibe (2),
    wobei
    c) an den beiden Trägerelementen Aufnahmemittel und/oder Befestigungsmittel angeordnet sind, die mit dem zugehörigen Trägerelement als zusammenhängendes Formteilausgebildet sind und zum Aufnehmen bzw. Befestigen der Türscheibe und/oder wenigstens einer weiteren Türkomponente, insbesondere jeweils eines Türscharniers und/oder wenigstens einer weiteren Türscheibe und/oder eines Türgriffes, vorgesehen sind.
  2. Tür nach Anspruch 1, bei der jede Türscheibe aus einem optisch transparenten Material, insbesondere einem Glas oder einem glasartigen Material, besteht.
  3. Tür nach Anspruch 1 oder Anspruch 2 mit wenigstens einer weiteren Türscheibe als weitere Türkomponente.
  4. Tür nach einem der vorhergehenden Ansprüche, bei der an jedem der Trägerelemente wenigstens ein Abstandhalter angeformt ist zum Halten eines vorbestimmten Abstandes zwischen der übrigen Oberfläche des Trägerelements und einer der genannten Türscheiben.
  5. Tür nach Anspruch 4, bei der jeder Abstandhalter zumindest teilweise elastisch verformbar ist.
  6. Tür nach Anspruch 4 oder Anspruch 5, bei der jeder Abstandhalter zwischen der zugehörigen Türscheibe und dem zugehörigen Trägerelement unter einer Vorspannung steht.
  7. Tür nach einem der Ansprüche 4 bis 6, bei der jeder Abstandhalter zumindest an der der Türscheibe zugewandten Oberfläche aus einem gleitfähigen Material besteht, so dass die Türscheibe auf jedem Abstandhalter mit einer geringen Gleitreibung bewegbar ist.
  8. Tür nach einem der vorhergehenden Ansprüche, bei der eine oder mehrere der genannten Türscheiben und/oder andere Türkomponenten mittels zugehöriger Aufnahmemittel bzw. Befestigungsmittel lösbar an den Trägerelementen gehalten sind.
  9. Tür nach Anspruch 8, bei der die Befestigungsmittel an den Trägerelementen angeformte oder ausgeformte Schnappelemente oder Rastelemente umfassen, die mit korrespondierenden Schnapp- bzw. Rastelementen an der Türscheibe bzw. der anderen Türkomponente zusammenwirken.
  10. Tür nach einem der vorhergehenden Ansprüche mit zwei Verbindungselementen zur Verbindung mit dem restlichen Garofen, insbesondere zwei Türscharnieren, die jeweils in, vorzugsweise in einem Hohlraum des Trägerelements, oder an einem Trägerelement, vorzugsweise federnd nachgiebig, befestigt sind.
  11. Tür nach einem der vorhergehenden Ansprüche mit
    a) wenigstens einer elastischen Rückstelleinrichtung, die von jeweils einem Aufnahmemittel an jedem der Trägerelemente einen um eine vorgegebene minimale Einführweglänge kleineren Abstand aufweist als eine Abmessung der Türscheibe,
    b) die Türscheibe zum Einbauen gegen eine rückstellende Kraft der Rückstelleinrichtung um die vorgegebene minimale Einführweglänge bewegbar ist und dann von der rückstellenden Kraft der Rückstelleinrichtung (4) in die Aufnahmemittel an den Trägerelementen eindrückbar ist.
  12. Tür nach Anspruch 11, bei der die Rückstelleinrichtung mit wenigstens einem der Trägerelemente als ein zusammenhängendes Formteil ausgebildet ist.
  13. Tür nach einem der vorhergehenden Ansprüche, bei der wenigstens eine Türscheibe und die Trägerelemente über jeweils eine Klebeverbindung miteinander verbunden sind.
  14. Tür nach einem der vorhergehenden Ansprüche, bei der zumindest eine der genannten Türscheibe mit wenigstens einem Teil der Trägerelemente als ein zusammenhängendes Formteil ausgebildet ist.
  15. Tür nach einem der vorhergehenden Ansprüche mit einem Türgriff, der mit den beiden Trägerelementen ein zusammenhängendes Formteil bildet.
  16. Tür nach einem der vorhergehenden Ansprüche, bei der die Trägerelemente als Hohlprofilteile ausgebildet sind.
  17. Tür nach einem der vorhergehenden Ansprüche, bei der wenigstens eines und vorzugsweise alle der genannten Formteile aus Polymerwerkstoff Spritzgussformteile sind.
  18. Tür nach einem der vorhergehenden Ansprüch, bei der wenigstens eines und vorzugsweise alle der genannten Formteile jeweils aus einem einzigen Polymerwerkstoff gebildet sind.
  19. Garofen mit
    a) einer Ofenmuffel mit einer Beschickungsöffnung zum Einbringen von Gargut und
    b) einer Tür nach einem der vorhergehenden Ansprüche zum Verschließen der Beschickungsöffnung.
EP00117908A 1999-11-30 2000-08-18 Tür für einen Garofen mit Trägerelementen aus Kunststoff Expired - Lifetime EP1106932B1 (de)

Applications Claiming Priority (2)

Application Number Priority Date Filing Date Title
DE19957515 1999-11-30
DE19957515 1999-11-30

Publications (3)

Publication Number Publication Date
EP1106932A2 true EP1106932A2 (de) 2001-06-13
EP1106932A3 EP1106932A3 (de) 2002-01-30
EP1106932B1 EP1106932B1 (de) 2004-04-28

Family

ID=7930800

Family Applications (1)

Application Number Title Priority Date Filing Date
EP00117908A Expired - Lifetime EP1106932B1 (de) 1999-11-30 2000-08-18 Tür für einen Garofen mit Trägerelementen aus Kunststoff

Country Status (2)

Country Link
EP (1) EP1106932B1 (de)
DE (1) DE50006235D1 (de)

Cited By (13)

* Cited by examiner, † Cited by third party
Publication number Priority date Publication date Assignee Title
DE10243552A1 (de) * 2002-09-19 2004-04-01 BSH Bosch und Siemens Hausgeräte GmbH Backofentür und Türboden dafür
EP1475570A3 (de) * 2003-05-07 2005-01-26 Samsung Electronics Co., Ltd. Ofentür mit Fenster
EP1522250A2 (de) * 2003-10-10 2005-04-13 Diehl AKO Stiftung &amp; Co. KG Gehäuseteil eines Haushaltsgerätes
EP1548367A2 (de) 2003-12-22 2005-06-29 Electrolux Home Products N.V. Vorrichtung zum Verschliessen der Zugangsöffnung eines Innenraums eines Haushaltsgeräts
WO2006059303A3 (en) * 2004-12-01 2007-04-26 Arcelik As A cooking appliance
EP1939534A2 (de) 2006-12-21 2008-07-02 BSH Bosch und Siemens Hausgeräte GmbH Tür für ein Hausgerät
EP2011399A1 (de) * 2007-07-02 2009-01-07 Electrolux Home Products Corporation N.V. Ofentür mit Türrahmen und Türblatt
DE10360385B4 (de) * 2003-12-22 2010-06-24 Electrolux Home Products Corporation N.V. Türscharnier für eine Tür eines Haushaltsgeräts sowie Haushaltsgerät mit wenigstens einem Türscharnier
WO2010076173A1 (en) * 2008-12-30 2010-07-08 Arcelik Anonim Sirketi An oven comprising a door
EP2341292A1 (de) * 2009-12-30 2011-07-06 Electrolux Home Products Corporation N.V. Ofentür mit einer Kunststofftürsäule und Verfahren zur Montage besagter Kunststofftürsäule
ES2384921A1 (es) * 2008-09-30 2012-07-16 Bsh Bosch Und Siemens Hausgerate Gmbh Puerta de horno para el espacio de cocción de un horno preferiblemente con un dispositivo para la autolimpieza pirolítica.
EP2615377A1 (de) * 2012-01-13 2013-07-17 Electrolux Home Products Corporation N.V. Ofeninnenraum und Ofen
EP3031328A3 (de) * 2014-12-08 2016-07-20 Marion Stadler Hordengestell für einen, eine backkammer aufweisenden backofen zum backen von insbesondere teigwaren

Citations (2)

* Cited by examiner, † Cited by third party
Publication number Priority date Publication date Assignee Title
DE19705120A1 (de) 1997-02-11 1998-08-13 Gaggenau Hausgeraete Gmbh Backofentür
DE19738504C1 (de) 1997-09-03 1998-11-26 Aeg Hausgeraete Gmbh Tür für ein Haushaltsgerät, insbesondere einen Haushaltsgarofen

Family Cites Families (2)

* Cited by examiner, † Cited by third party
Publication number Priority date Publication date Assignee Title
DE59702655D1 (de) * 1996-06-05 2000-12-28 Aeg Hausgeraete Gmbh Tür zum Verschliessen der Ofenmuffel eines Back- und Bratofens
DE19738505C1 (de) * 1997-09-03 1999-03-18 Aeg Hausgeraete Gmbh Tür für ein Haushaltsgerät, insbesondere einen Haushaltsgarofen

Patent Citations (2)

* Cited by examiner, † Cited by third party
Publication number Priority date Publication date Assignee Title
DE19705120A1 (de) 1997-02-11 1998-08-13 Gaggenau Hausgeraete Gmbh Backofentür
DE19738504C1 (de) 1997-09-03 1998-11-26 Aeg Hausgeraete Gmbh Tür für ein Haushaltsgerät, insbesondere einen Haushaltsgarofen

Cited By (24)

* Cited by examiner, † Cited by third party
Publication number Priority date Publication date Assignee Title
DE10243552A1 (de) * 2002-09-19 2004-04-01 BSH Bosch und Siemens Hausgeräte GmbH Backofentür und Türboden dafür
EP1475570A3 (de) * 2003-05-07 2005-01-26 Samsung Electronics Co., Ltd. Ofentür mit Fenster
EP1522250A2 (de) * 2003-10-10 2005-04-13 Diehl AKO Stiftung &amp; Co. KG Gehäuseteil eines Haushaltsgerätes
EP1548367B1 (de) * 2003-12-22 2010-10-13 Electrolux Home Products Corporation N.V. Vorrichtung zum Verschliessen der Zugangsöffnung eines Innenraums eines Haushaltsgeräts
EP1548367A2 (de) 2003-12-22 2005-06-29 Electrolux Home Products N.V. Vorrichtung zum Verschliessen der Zugangsöffnung eines Innenraums eines Haushaltsgeräts
DE10362318B4 (de) * 2003-12-22 2011-02-03 Electrolux Home Products Corporation N.V. Türscharnier für eine Tür eines Haushaltsgeräts sowie Haushaltsgerät mit wenigstens einem Türscharnier
DE10360385B4 (de) * 2003-12-22 2010-06-24 Electrolux Home Products Corporation N.V. Türscharnier für eine Tür eines Haushaltsgeräts sowie Haushaltsgerät mit wenigstens einem Türscharnier
WO2006059303A3 (en) * 2004-12-01 2007-04-26 Arcelik As A cooking appliance
EP1939534A2 (de) 2006-12-21 2008-07-02 BSH Bosch und Siemens Hausgeräte GmbH Tür für ein Hausgerät
EP1939534A3 (de) * 2006-12-21 2011-01-19 BSH Bosch und Siemens Hausgeräte GmbH Tür für ein Hausgerät
EP2011399A1 (de) * 2007-07-02 2009-01-07 Electrolux Home Products Corporation N.V. Ofentür mit Türrahmen und Türblatt
WO2009003591A1 (en) * 2007-07-02 2009-01-08 Electrolux Home Product Corporation N.V. An oven door with a door frame and door panel
EP2263466A3 (de) * 2007-07-02 2015-08-26 Electrolux Home Products Corporation N.V. Ofentür mit Türrahmen und Türblatt
ES2384921A1 (es) * 2008-09-30 2012-07-16 Bsh Bosch Und Siemens Hausgerate Gmbh Puerta de horno para el espacio de cocción de un horno preferiblemente con un dispositivo para la autolimpieza pirolítica.
WO2010076173A1 (en) * 2008-12-30 2010-07-08 Arcelik Anonim Sirketi An oven comprising a door
AU2010338367B2 (en) * 2009-12-30 2014-05-01 Electrolux Home Products Corporation N.V. An oven door with a plastic door column and a method for assembling said plastic door column
EP2341292A1 (de) * 2009-12-30 2011-07-06 Electrolux Home Products Corporation N.V. Ofentür mit einer Kunststofftürsäule und Verfahren zur Montage besagter Kunststofftürsäule
WO2011080178A1 (en) * 2009-12-30 2011-07-07 Electrolux Home Products Corporation N.V. An oven door with a plastic door column and a method for assembling said plastic door column
CN102667347A (zh) * 2009-12-30 2012-09-12 伊莱克斯家用产品股份有限公司 具有塑料门柱的炉门和用于组装所述塑料门柱的方法
EP2615377A1 (de) * 2012-01-13 2013-07-17 Electrolux Home Products Corporation N.V. Ofeninnenraum und Ofen
CN104067057A (zh) * 2012-01-13 2014-09-24 伊莱克斯家用产品股份有限公司 烤箱腔体和烤箱
WO2013104644A1 (en) * 2012-01-13 2013-07-18 Electrolux Home Products Corporation N. V. Oven cavity and oven
US10371388B2 (en) 2012-01-13 2019-08-06 Electrolux Home Products Corporation N.V. Oven cavity and oven
EP3031328A3 (de) * 2014-12-08 2016-07-20 Marion Stadler Hordengestell für einen, eine backkammer aufweisenden backofen zum backen von insbesondere teigwaren

Also Published As

Publication number Publication date
EP1106932B1 (de) 2004-04-28
DE50006235D1 (de) 2004-06-03
EP1106932A3 (de) 2002-01-30

Similar Documents

Publication Publication Date Title
EP1106932B1 (de) Tür für einen Garofen mit Trägerelementen aus Kunststoff
EP2024685A1 (de) Haushaltsgerät, insbesondere haushaltsofen
DE19738506C1 (de) Tür für ein Haushaltsgerät, insbesondere einen Haushaltsgarofen, mit Zwischenscheibe mit Abstandshalterahmen
EP1076210B1 (de) Tür für ein Gerät, insbesondere einen Garofen, mit elastischen Rückstellkörpern zum Halten der Scheiben
WO2022017794A1 (de) Tür und haushaltsgargerät
DE102016224743A1 (de) Haushaltsgargerät
EP1081437A2 (de) Tür für ein Gerät, insbesondere einen Garofen, mit Scheibenhalter für mehrere Scheiben
EP1079180A2 (de) Tür für ein Gerät, insbesondere einen Garofen, mit unverwechselbar montierbaren Scheiben
EP1069378B1 (de) Tür für ein Gerät, insbesondere einen Garofen
EP0900987B1 (de) Tür für ein Haushaltsgerät, insbesondere einen Haushaltsgarofen
EP2634493B1 (de) Tür für ein Haushaltsgerät zum Zubereiten von Lebensmitteln mit einem Trägerteil
EP2921782B1 (de) Tür für ein haushaltsgerät mit einer als hybrid-bauteil ausgebildeten abdeckung für zumindest eine türscheibe sowie haushaltsgerät mit einer derartigen tür
DE19738505C1 (de) Tür für ein Haushaltsgerät, insbesondere einen Haushaltsgarofen
EP2430368B1 (de) Tür mit einem trägerelement
EP1687571A1 (de) Haushaltsgerät mit einer bedienleiste
DE102021204626B4 (de) Tür für ein Küchengerät und Küchengerät mit einer derartigen Tür
EP1555486A2 (de) Ofentür
EP2072722B1 (de) Schließkraftunterstützte Verriegelungsvorrichtung
EP1172614B1 (de) Tür für ein Haushaltsgerät, insbesondere einen Haushaltsgarofen
DE102018213978B4 (de) Haushaltsgerät mit einer Projektionsvorrichtung und Verfahren zum Montieren eines Haushaltsgerätes
DE29724279U1 (de) Haushaltsgarofen mit Tür mit herausnehmbarer Zwischenscheibe
DE29724273U1 (de) Tür für ein Haushaltsgerät, insbesondere einen Haushaltsgarofen, mit Zwischenscheibe
EP4185815B1 (de) Tür und haushaltsgargerät
DE102010029331B4 (de) Gargerätetür
DE10360384A1 (de) Vorrichtung zum Verschließen der Zugangsöffnung eines Innenraums eines Haushaltsgeräts

Legal Events

Date Code Title Description
PUAI Public reference made under article 153(3) epc to a published international application that has entered the european phase

Free format text: ORIGINAL CODE: 0009012

AK Designated contracting states

Kind code of ref document: A2

Designated state(s): CH DE FR GB IT LI

Kind code of ref document: A2

Designated state(s): AT BE CH CY DE DK ES FI FR GB GR IE IT LI LU MC NL PT SE

AX Request for extension of the european patent

Free format text: AL;LT;LV;MK;RO;SI

PUAL Search report despatched

Free format text: ORIGINAL CODE: 0009013

AK Designated contracting states

Kind code of ref document: A3

Designated state(s): AT BE CH CY DE DK ES FI FR GB GR IE IT LI LU MC NL PT SE

AX Request for extension of the european patent

Free format text: AL;LT;LV;MK;RO;SI

17P Request for examination filed

Effective date: 20020218

AKX Designation fees paid

Free format text: CH DE FR GB IT LI

17Q First examination report despatched

Effective date: 20030624

GRAP Despatch of communication of intention to grant a patent

Free format text: ORIGINAL CODE: EPIDOSNIGR1

GRAS Grant fee paid

Free format text: ORIGINAL CODE: EPIDOSNIGR3

GRAA (expected) grant

Free format text: ORIGINAL CODE: 0009210

AK Designated contracting states

Kind code of ref document: B1

Designated state(s): CH DE FR GB IT LI

REG Reference to a national code

Ref country code: GB

Ref legal event code: FG4D

Free format text: NOT ENGLISH

REG Reference to a national code

Ref country code: CH

Ref legal event code: EP

REG Reference to a national code

Ref country code: CH

Ref legal event code: NV

Representative=s name: TROESCH SCHEIDEGGER WERNER AG

REG Reference to a national code

Ref country code: IE

Ref legal event code: FG4D

Free format text: GERMAN

REF Corresponds to:

Ref document number: 50006235

Country of ref document: DE

Date of ref document: 20040603

Kind code of ref document: P

GBT Gb: translation of ep patent filed (gb section 77(6)(a)/1977)

Effective date: 20040713

REG Reference to a national code

Ref country code: IE

Ref legal event code: FD4D

ET Fr: translation filed
PLBE No opposition filed within time limit

Free format text: ORIGINAL CODE: 0009261

STAA Information on the status of an ep patent application or granted ep patent

Free format text: STATUS: NO OPPOSITION FILED WITHIN TIME LIMIT

26N No opposition filed

Effective date: 20050131

PGFP Annual fee paid to national office [announced via postgrant information from national office to epo]

Ref country code: CH

Payment date: 20070828

Year of fee payment: 8

PGFP Annual fee paid to national office [announced via postgrant information from national office to epo]

Ref country code: GB

Payment date: 20070829

Year of fee payment: 8

REG Reference to a national code

Ref country code: CH

Ref legal event code: PL

GBPC Gb: european patent ceased through non-payment of renewal fee

Effective date: 20080818

PG25 Lapsed in a contracting state [announced via postgrant information from national office to epo]

Ref country code: CH

Free format text: LAPSE BECAUSE OF NON-PAYMENT OF DUE FEES

Effective date: 20080831

Ref country code: LI

Free format text: LAPSE BECAUSE OF NON-PAYMENT OF DUE FEES

Effective date: 20080831

PG25 Lapsed in a contracting state [announced via postgrant information from national office to epo]

Ref country code: GB

Free format text: LAPSE BECAUSE OF NON-PAYMENT OF DUE FEES

Effective date: 20080818

PGFP Annual fee paid to national office [announced via postgrant information from national office to epo]

Ref country code: DE

Payment date: 20140821

Year of fee payment: 15

PGFP Annual fee paid to national office [announced via postgrant information from national office to epo]

Ref country code: IT

Payment date: 20140828

Year of fee payment: 15

REG Reference to a national code

Ref country code: FR

Ref legal event code: PLFP

Year of fee payment: 16

PGFP Annual fee paid to national office [announced via postgrant information from national office to epo]

Ref country code: FR

Payment date: 20150626

Year of fee payment: 16

REG Reference to a national code

Ref country code: DE

Ref legal event code: R119

Ref document number: 50006235

Country of ref document: DE

PG25 Lapsed in a contracting state [announced via postgrant information from national office to epo]

Ref country code: IT

Free format text: LAPSE BECAUSE OF NON-PAYMENT OF DUE FEES

Effective date: 20150818

PG25 Lapsed in a contracting state [announced via postgrant information from national office to epo]

Ref country code: DE

Free format text: LAPSE BECAUSE OF NON-PAYMENT OF DUE FEES

Effective date: 20160301

REG Reference to a national code

Ref country code: FR

Ref legal event code: ST

Effective date: 20170428

PG25 Lapsed in a contracting state [announced via postgrant information from national office to epo]

Ref country code: FR

Free format text: LAPSE BECAUSE OF NON-PAYMENT OF DUE FEES

Effective date: 20160831