EP1008454B1 - Tintenstrahldruckverfahren zur Bildherstellung - Google Patents
Tintenstrahldruckverfahren zur Bildherstellung Download PDFInfo
- Publication number
- EP1008454B1 EP1008454B1 EP19980123046 EP98123046A EP1008454B1 EP 1008454 B1 EP1008454 B1 EP 1008454B1 EP 19980123046 EP19980123046 EP 19980123046 EP 98123046 A EP98123046 A EP 98123046A EP 1008454 B1 EP1008454 B1 EP 1008454B1
- Authority
- EP
- European Patent Office
- Prior art keywords
- carrier material
- base layer
- ink
- jet printing
- printing process
- Prior art date
- Legal status (The legal status is an assumption and is not a legal conclusion. Google has not performed a legal analysis and makes no representation as to the accuracy of the status listed.)
- Expired - Lifetime
Links
- 238000000034 method Methods 0.000 title claims description 14
- 238000007641 inkjet printing Methods 0.000 title claims description 6
- 238000004519 manufacturing process Methods 0.000 title description 4
- 239000012876 carrier material Substances 0.000 claims description 11
- 238000007639 printing Methods 0.000 claims description 10
- 239000003795 chemical substances by application Substances 0.000 description 4
- 239000000463 material Substances 0.000 description 4
- 239000011148 porous material Substances 0.000 description 4
- 239000002250 absorbent Substances 0.000 description 2
- 230000002745 absorbent Effects 0.000 description 2
- 239000013051 drainage agent Substances 0.000 description 2
- 239000000758 substrate Substances 0.000 description 2
- 230000001419 dependent effect Effects 0.000 description 1
- 238000011161 development Methods 0.000 description 1
- 230000018109 developmental process Effects 0.000 description 1
- 230000000694 effects Effects 0.000 description 1
- 239000007788 liquid Substances 0.000 description 1
- 239000002689 soil Substances 0.000 description 1
- 239000011343 solid material Substances 0.000 description 1
- 239000002699 waste material Substances 0.000 description 1
Images
Classifications
-
- B—PERFORMING OPERATIONS; TRANSPORTING
- B41—PRINTING; LINING MACHINES; TYPEWRITERS; STAMPS
- B41J—TYPEWRITERS; SELECTIVE PRINTING MECHANISMS, i.e. MECHANISMS PRINTING OTHERWISE THAN FROM A FORME; CORRECTION OF TYPOGRAPHICAL ERRORS
- B41J11/00—Devices or arrangements of selective printing mechanisms, e.g. ink-jet printers or thermal printers, for supporting or handling copy material in sheet or web form
- B41J11/0065—Means for printing without leaving a margin on at least one edge of the copy material, e.g. edge-to-edge printing
-
- B—PERFORMING OPERATIONS; TRANSPORTING
- B41—PRINTING; LINING MACHINES; TYPEWRITERS; STAMPS
- B41J—TYPEWRITERS; SELECTIVE PRINTING MECHANISMS, i.e. MECHANISMS PRINTING OTHERWISE THAN FROM A FORME; CORRECTION OF TYPOGRAPHICAL ERRORS
- B41J11/00—Devices or arrangements of selective printing mechanisms, e.g. ink-jet printers or thermal printers, for supporting or handling copy material in sheet or web form
- B41J11/0085—Using suction for maintaining printing material flat
-
- B—PERFORMING OPERATIONS; TRANSPORTING
- B41—PRINTING; LINING MACHINES; TYPEWRITERS; STAMPS
- B41J—TYPEWRITERS; SELECTIVE PRINTING MECHANISMS, i.e. MECHANISMS PRINTING OTHERWISE THAN FROM A FORME; CORRECTION OF TYPOGRAPHICAL ERRORS
- B41J11/00—Devices or arrangements of selective printing mechanisms, e.g. ink-jet printers or thermal printers, for supporting or handling copy material in sheet or web form
- B41J11/02—Platens
-
- B—PERFORMING OPERATIONS; TRANSPORTING
- B41—PRINTING; LINING MACHINES; TYPEWRITERS; STAMPS
- B41J—TYPEWRITERS; SELECTIVE PRINTING MECHANISMS, i.e. MECHANISMS PRINTING OTHERWISE THAN FROM A FORME; CORRECTION OF TYPOGRAPHICAL ERRORS
- B41J11/00—Devices or arrangements of selective printing mechanisms, e.g. ink-jet printers or thermal printers, for supporting or handling copy material in sheet or web form
- B41J11/02—Platens
- B41J11/06—Flat page-size platens or smaller flat platens having a greater size than line-size platens
-
- B—PERFORMING OPERATIONS; TRANSPORTING
- B41—PRINTING; LINING MACHINES; TYPEWRITERS; STAMPS
- B41J—TYPEWRITERS; SELECTIVE PRINTING MECHANISMS, i.e. MECHANISMS PRINTING OTHERWISE THAN FROM A FORME; CORRECTION OF TYPOGRAPHICAL ERRORS
- B41J2/00—Typewriters or selective printing mechanisms characterised by the printing or marking process for which they are designed
- B41J2/005—Typewriters or selective printing mechanisms characterised by the printing or marking process for which they are designed characterised by bringing liquid or particles selectively into contact with a printing material
- B41J2/01—Ink jet
Definitions
- the invention relates to an ink jet printing method for recording image information on a particular sheet-shaped carrier material, as known according to US 5,717,446 is, and according to the preamble of claims 1 and 2.
- the exposure range is the same size as or slightly larger as the sheet-shaped copy material.
- the exposure area is the same width as or slightly wider than the copy material web.
- inkjet printers are often used to record the Image information used on the substrate.
- this is always printed with a border, the unprinted edge may later be separated as well.
- the reason for this can be seen in that when printing up to the edge of the substrate and in particular beyond the edge the printing unit and the back of the following pictures would be polluted.
- the printable Area can not be fully exploited and arises on the other unwanted waste.
- JP 07 009712 also discloses an ink jet printing method, wherein here an absorbent Device is arranged opposite to a printhead that absorb this ink can.
- the present invention is now an ink jet printing method of the generic Art be improved so that borderless can be printed without the printing unit or the following pictures are dirty.
- the carrier material is during the Pressurized on a provided with drainage agent pad. Outside the edges The ink droplets striking the base of the carrier material are thereby passed through the drainage means designed according to the characteristics of the independent claims are discharged and so can not pollute the printer or the subsequent pictures.
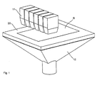
- a sheet B to be printed lies a support material during the printing process on a base 20, which as a porous, air and liquid permeable tarpaulin is formed.
- the drainage agents are here so formed by the pores 21 of the plate (Fig.2).
- the pad 30 shown in Figure 3 is also designed as a porous tarpaulin, but indicates their top additionally a grid-shaped arrangement of channels 31, whose Clearances are preferably chosen so that they fit the common sheet formats. This ensures that the sheet B is each enclosed directly by channels. In addition to the leaf falling ink drops fall directly into the channels and thus can do not soil the following leaves. The excess ink drops will turn sucked through the porous tarpaulin.
- the drainage agents are here through the pores of the Plane and formed by their channels 31.
- FIG. 4 shows a pad 40, which consists of a porous film 41 and an underlying open-cell honeycomb 42 exists. In the effect corresponds this embodiment of that of Fig.1.
- the drainage agents are going through here the pores of the film 41 and formed by the open-cell honeycomb 42.
- the pad 50 shown in Figure 5 is made of non-porous solid material, but is similar to the embodiment of Figure 3 at its top with a network provided by channels 51, wherein in the raised portions between the channels and possibly also in the channels themselves passage openings 52 are provided.
- the drainage means are here so through the through holes 52 and through the channels 51 formed.
- FIG. 6 shows a support in the form of an endless belt 60, which is wound around two rollers 61 and 62.
- the band 60 consists of an absorbent or porous material forming the drainage means.
- the excess Ink is stored either in belt 60 or as in the other embodiments sucked through the band 60.
- the band 60 of course cleaned or replaced from time to time depending on the degree of soiling. at Demand, the belt 60 can also be used as a transport for the sheet B.
Landscapes
- Ink Jet (AREA)
- Delivering By Means Of Belts And Rollers (AREA)
- Handling Of Cut Paper (AREA)
- Feeding Of Articles By Means Other Than Belts Or Rollers (AREA)
Priority Applications (5)
| Application Number | Priority Date | Filing Date | Title |
|---|---|---|---|
| EP19980123046 EP1008454B1 (de) | 1998-12-08 | 1998-12-08 | Tintenstrahldruckverfahren zur Bildherstellung |
| DE59812684T DE59812684D1 (de) | 1998-12-08 | 1998-12-08 | Tintenstrahldruckverfahren zur Bildherstellung |
| JP34483099A JP2000168108A (ja) | 1998-12-08 | 1999-12-03 | 絵図の生産のためのインキジェット印刷方法 |
| CN 99125461 CN1256206A (zh) | 1998-12-08 | 1999-12-07 | 用于制图的喷墨印刷设备和方法 |
| CA 2291925 CA2291925A1 (en) | 1998-12-08 | 1999-12-07 | Ink jet printing process for the production of pictures |
Applications Claiming Priority (1)
| Application Number | Priority Date | Filing Date | Title |
|---|---|---|---|
| EP19980123046 EP1008454B1 (de) | 1998-12-08 | 1998-12-08 | Tintenstrahldruckverfahren zur Bildherstellung |
Publications (2)
| Publication Number | Publication Date |
|---|---|
| EP1008454A1 EP1008454A1 (de) | 2000-06-14 |
| EP1008454B1 true EP1008454B1 (de) | 2005-03-23 |
Family
ID=8233090
Family Applications (1)
| Application Number | Title | Priority Date | Filing Date |
|---|---|---|---|
| EP19980123046 Expired - Lifetime EP1008454B1 (de) | 1998-12-08 | 1998-12-08 | Tintenstrahldruckverfahren zur Bildherstellung |
Country Status (5)
| Country | Link |
|---|---|
| EP (1) | EP1008454B1 (enExample) |
| JP (1) | JP2000168108A (enExample) |
| CN (1) | CN1256206A (enExample) |
| CA (1) | CA2291925A1 (enExample) |
| DE (1) | DE59812684D1 (enExample) |
Families Citing this family (14)
| Publication number | Priority date | Publication date | Assignee | Title |
|---|---|---|---|---|
| DE10037952A1 (de) * | 2000-08-03 | 2002-02-21 | Agfa Gevaert Ag | Vorrichtung zum Randlosbedrucken von Bildmaterial mittels eines Ink-Jet-Printers |
| US7101032B2 (en) | 2001-10-17 | 2006-09-05 | Seiko Epson Corporation | Fixed material transportation apparatus and liquid fixing apparatus |
| US7322690B2 (en) | 2001-10-17 | 2008-01-29 | Seiko Epson Corporation | Fixed material transportation apparatus, liquid fixing apparatus having transporatation apparatus and sucking unit of fixed material in liquid fixing apparatus |
| CN1212233C (zh) * | 2001-10-17 | 2005-07-27 | 精工爱普生株式会社 | 被固定件输送装置、具有它的液体固定装置及其吸引部件 |
| US7467845B2 (en) | 2003-09-22 | 2008-12-23 | Fujifilm Corporation | Image forming apparatus |
| US7360853B2 (en) | 2004-03-04 | 2008-04-22 | Fujifilm Dimatix, Inc. | Morphology-corrected printing |
| DE102004031157A1 (de) * | 2004-06-28 | 2006-01-12 | Promaxx Cards Vertriebs Gmbh | Druckerzeugnis sowie Verfahren zum Bedrucken eines Druckerzeugnisses |
| US7845790B2 (en) | 2006-04-07 | 2010-12-07 | Fujifilm Dimatix, Inc. | Ink jet printing |
| US7524050B2 (en) * | 2006-04-11 | 2009-04-28 | Fujifilm Dimatix, Inc. | Ink jet printing |
| JP4626563B2 (ja) * | 2006-04-24 | 2011-02-09 | セイコーエプソン株式会社 | インクジェット式記録装置 |
| JP2010125635A (ja) | 2008-11-26 | 2010-06-10 | Brother Ind Ltd | 吸引キャップ装置及びキャップチップ |
| US8281715B2 (en) | 2009-02-16 | 2012-10-09 | Vistaprint Technologies Limited | Printer pallet assembly for use in printing multiple articles of manufacture |
| JP2017177344A (ja) * | 2016-03-28 | 2017-10-05 | 船井電機株式会社 | 印刷装置 |
| FR3051718A1 (fr) * | 2016-05-27 | 2017-12-01 | Mgi Digital Tech | Dispositif et procede de maintien/transport de substrats dans une machine d'impression |
Family Cites Families (3)
| Publication number | Priority date | Publication date | Assignee | Title |
|---|---|---|---|---|
| JPS5732971A (en) * | 1980-08-08 | 1982-02-22 | Seiko Epson Corp | Ink jet type recorder |
| JPH079712A (ja) * | 1993-06-15 | 1995-01-13 | Canon Inc | インクジェット記録装置 |
| US5717446A (en) * | 1994-12-12 | 1998-02-10 | Xerox Corporation | Liquid ink printer including a vacuum transport system and method of purging ink in the printer |
-
1998
- 1998-12-08 DE DE59812684T patent/DE59812684D1/de not_active Expired - Fee Related
- 1998-12-08 EP EP19980123046 patent/EP1008454B1/de not_active Expired - Lifetime
-
1999
- 1999-12-03 JP JP34483099A patent/JP2000168108A/ja active Pending
- 1999-12-07 CN CN 99125461 patent/CN1256206A/zh active Pending
- 1999-12-07 CA CA 2291925 patent/CA2291925A1/en not_active Abandoned
Also Published As
| Publication number | Publication date |
|---|---|
| DE59812684D1 (de) | 2005-04-28 |
| EP1008454A1 (de) | 2000-06-14 |
| CA2291925A1 (en) | 2000-06-08 |
| CN1256206A (zh) | 2000-06-14 |
| JP2000168108A (ja) | 2000-06-20 |
Similar Documents
| Publication | Publication Date | Title |
|---|---|---|
| EP1008454B1 (de) | Tintenstrahldruckverfahren zur Bildherstellung | |
| DE69520469T2 (de) | Tintenstrahlaufzeichnungsvorrichtung | |
| DE60311565T2 (de) | Tintenstrahldrucken | |
| DE3336815C2 (enExample) | ||
| DE60015009T2 (de) | Tintenstrahlaufzeichnungsapparat | |
| DE69631782T2 (de) | Vorrichtung und druckverfahren | |
| DE69302288T2 (de) | Etikettenthaltendes Geschäftsformular | |
| DE69512633T2 (de) | Gleichzeitiges Drucken mit verschiedenen Abschnitten von Druckköpfen für verbesserte Druckqualität | |
| DE69631741T2 (de) | Instandsetzungsstelle mit translatorischer Bewegung für Farbstrahldruckköpfe | |
| DE69622441T2 (de) | Verfahren zur Optimierung der Druckgeschwindigkeit eines Tintenstrahldruckers | |
| DE69311885T2 (de) | Tintenstrahlpatrone | |
| DE60023952T2 (de) | Sensor für die papierdicke in einem printer | |
| DE69711552T2 (de) | Kappe einer Wartungsstation für Tintenstrahldruckköpfe | |
| DE69709008T2 (de) | Tintenstrahlaufzeichnungsgerät mit hoher und niedriger Tintenfarbdichte | |
| DE69721536T2 (de) | Verbund-hochdruckplatten und verfahren zu deren herstellung | |
| DE10108931A1 (de) | Vakuumsystem, insbesondere für Tintenstrahldruckvorrichtungen | |
| DE69912572T2 (de) | Ablageeinheit für ausgegebene Bögen | |
| DE19929322A1 (de) | Tintenstrahldrucker für die Herstellung von Fotoabzügen | |
| DE69504746T2 (de) | Schablonenstempelvorrichtung | |
| DE3339031A1 (de) | Tintenstrahldrucker | |
| DE60025571T2 (de) | Medientransportsystem | |
| DE4041430C2 (de) | Steuereinrichtung für ein Matrizenkopiergerät | |
| DE69528959T2 (de) | Tintenstrahldruckverfahren unter Verwendung von Farbenverstärkung in schwarzen Gebieten | |
| DE69312811T2 (de) | Kartendruckverfahren, Vorrichtung zur Aufrechterhaltung der Position von Originalen und Papier für Kartendruck | |
| DE60115750T2 (de) | Druckkopf mit unterschiedlichem Düsenabstand zwischen Düsenreihen |
Legal Events
| Date | Code | Title | Description |
|---|---|---|---|
| PUAI | Public reference made under article 153(3) epc to a published international application that has entered the european phase |
Free format text: ORIGINAL CODE: 0009012 |
|
| AK | Designated contracting states |
Kind code of ref document: A1 Designated state(s): CH DE FR GB IT LI |
|
| AX | Request for extension of the european patent |
Free format text: AL;LT;LV;MK;RO;SI |
|
| 17P | Request for examination filed |
Effective date: 20001115 |
|
| AKX | Designation fees paid |
Free format text: CH DE FR GB IT LI |
|
| 111Z | Information provided on other rights and legal means of execution |
Free format text: 20021022 CH DE FR GB IT LI |
|
| 17Q | First examination report despatched |
Effective date: 20030716 |
|
| GRAP | Despatch of communication of intention to grant a patent |
Free format text: ORIGINAL CODE: EPIDOSNIGR1 |
|
| GRAS | Grant fee paid |
Free format text: ORIGINAL CODE: EPIDOSNIGR3 |
|
| GRAA | (expected) grant |
Free format text: ORIGINAL CODE: 0009210 |
|
| RAP1 | Party data changed (applicant data changed or rights of an application transferred) |
Owner name: AGFA-GEVAERT AG |
|
| AK | Designated contracting states |
Kind code of ref document: B1 Designated state(s): CH DE FR GB IT LI |
|
| PG25 | Lapsed in a contracting state [announced via postgrant information from national office to epo] |
Ref country code: IT Free format text: LAPSE BECAUSE OF FAILURE TO SUBMIT A TRANSLATION OF THE DESCRIPTION OR TO PAY THE FEE WITHIN THE PRE;WARNING: LAPSES OF ITALIAN PATENTS WITH EFFECTIVE DATE BEFORE 2007 MAY HAVE OCCURRED AT ANY TIME BEFORE 2007. THE CORRECT EFFECTIVE DATE MAY BE DIFFERENT FROM THE ONE RECORDED.SCRIBED TIME-LIMIT Effective date: 20050323 |
|
| REG | Reference to a national code |
Ref country code: GB Ref legal event code: FG4D Free format text: NOT ENGLISH |
|
| REG | Reference to a national code |
Ref country code: CH Ref legal event code: EP |
|
| REF | Corresponds to: |
Ref document number: 59812684 Country of ref document: DE Date of ref document: 20050428 Kind code of ref document: P |
|
| GBT | Gb: translation of ep patent filed (gb section 77(6)(a)/1977) |
Effective date: 20050624 |
|
| RAP2 | Party data changed (patent owner data changed or rights of a patent transferred) |
Owner name: AGFA-GEVAERT HEALTHCARE GMBH |
|
| PG25 | Lapsed in a contracting state [announced via postgrant information from national office to epo] |
Ref country code: LI Free format text: LAPSE BECAUSE OF NON-PAYMENT OF DUE FEES Effective date: 20051231 Ref country code: CH Free format text: LAPSE BECAUSE OF NON-PAYMENT OF DUE FEES Effective date: 20051231 |
|
| PLBE | No opposition filed within time limit |
Free format text: ORIGINAL CODE: 0009261 |
|
| STAA | Information on the status of an ep patent application or granted ep patent |
Free format text: STATUS: NO OPPOSITION FILED WITHIN TIME LIMIT |
|
| ET | Fr: translation filed | ||
| 26N | No opposition filed |
Effective date: 20051227 |
|
| REG | Reference to a national code |
Ref country code: CH Ref legal event code: PL |
|
| PGFP | Annual fee paid to national office [announced via postgrant information from national office to epo] |
Ref country code: GB Payment date: 20071025 Year of fee payment: 10 Ref country code: FR Payment date: 20071023 Year of fee payment: 10 |
|
| PGFP | Annual fee paid to national office [announced via postgrant information from national office to epo] |
Ref country code: DE Payment date: 20071025 Year of fee payment: 10 |
|
| GBPC | Gb: european patent ceased through non-payment of renewal fee |
Effective date: 20081208 |
|
| REG | Reference to a national code |
Ref country code: FR Ref legal event code: ST Effective date: 20090831 |
|
| PG25 | Lapsed in a contracting state [announced via postgrant information from national office to epo] |
Ref country code: DE Free format text: LAPSE BECAUSE OF NON-PAYMENT OF DUE FEES Effective date: 20090701 |
|
| PG25 | Lapsed in a contracting state [announced via postgrant information from national office to epo] |
Ref country code: GB Free format text: LAPSE BECAUSE OF NON-PAYMENT OF DUE FEES Effective date: 20081208 |
|
| PG25 | Lapsed in a contracting state [announced via postgrant information from national office to epo] |
Ref country code: FR Free format text: LAPSE BECAUSE OF NON-PAYMENT OF DUE FEES Effective date: 20081231 |