EP0949045A2 - Aus mehreren standardisierten Teilen zusammengesetzter Schraubenschlüssel für schlecht zugängliche Verschraubungsstellen - Google Patents

Aus mehreren standardisierten Teilen zusammengesetzter Schraubenschlüssel für schlecht zugängliche Verschraubungsstellen Download PDF

Info

Publication number
EP0949045A2
EP0949045A2 EP19990104733 EP99104733A EP0949045A2 EP 0949045 A2 EP0949045 A2 EP 0949045A2 EP 19990104733 EP19990104733 EP 19990104733 EP 99104733 A EP99104733 A EP 99104733A EP 0949045 A2 EP0949045 A2 EP 0949045A2
Authority
EP
European Patent Office
Prior art keywords
lever
plug
rectangular
opening
square
Prior art date
Legal status (The legal status is an assumption and is not a legal conclusion. Google has not performed a legal analysis and makes no representation as to the accuracy of the status listed.)
Withdrawn
Application number
EP19990104733
Other languages
English (en)
French (fr)
Inventor
Josef Dominik
Current Assignee (The listed assignees may be inaccurate. Google has not performed a legal analysis and makes no representation or warranty as to the accuracy of the list.)
Mercedes Benz Group AG
Original Assignee
DaimlerChrysler AG
Priority date (The priority date is an assumption and is not a legal conclusion. Google has not performed a legal analysis and makes no representation as to the accuracy of the date listed.)
Filing date
Publication date
Priority claimed from DE19903173A external-priority patent/DE19903173B4/de
Application filed by DaimlerChrysler AG filed Critical DaimlerChrysler AG
Publication of EP0949045A2 publication Critical patent/EP0949045A2/de
Withdrawn legal-status Critical Current

Links

Images

Classifications

    • BPERFORMING OPERATIONS; TRANSPORTING
    • B25HAND TOOLS; PORTABLE POWER-DRIVEN TOOLS; MANIPULATORS
    • B25BTOOLS OR BENCH DEVICES NOT OTHERWISE PROVIDED FOR, FOR FASTENING, CONNECTING, DISENGAGING OR HOLDING
    • B25B23/00Details of, or accessories for, spanners, wrenches, screwdrivers
    • B25B23/0007Connections or joints between tool parts
    • B25B23/0035Connection means between socket or screwdriver bit and tool
    • BPERFORMING OPERATIONS; TRANSPORTING
    • B25HAND TOOLS; PORTABLE POWER-DRIVEN TOOLS; MANIPULATORS
    • B25BTOOLS OR BENCH DEVICES NOT OTHERWISE PROVIDED FOR, FOR FASTENING, CONNECTING, DISENGAGING OR HOLDING
    • B25B13/00Spanners; Wrenches
    • B25B13/48Spanners; Wrenches for special purposes
    • B25B13/481Spanners; Wrenches for special purposes for operating in areas having limited access
    • BPERFORMING OPERATIONS; TRANSPORTING
    • B25HAND TOOLS; PORTABLE POWER-DRIVEN TOOLS; MANIPULATORS
    • B25BTOOLS OR BENCH DEVICES NOT OTHERWISE PROVIDED FOR, FOR FASTENING, CONNECTING, DISENGAGING OR HOLDING
    • B25B23/00Details of, or accessories for, spanners, wrenches, screwdrivers
    • B25B23/0007Connections or joints between tool parts
    • B25B23/0014Screwdriver- or wrench-heads provided with cardan joints or the like
    • BPERFORMING OPERATIONS; TRANSPORTING
    • B25HAND TOOLS; PORTABLE POWER-DRIVEN TOOLS; MANIPULATORS
    • B25BTOOLS OR BENCH DEVICES NOT OTHERWISE PROVIDED FOR, FOR FASTENING, CONNECTING, DISENGAGING OR HOLDING
    • B25B23/00Details of, or accessories for, spanners, wrenches, screwdrivers
    • B25B23/0007Connections or joints between tool parts
    • B25B23/0021Prolongations interposed between handle and tool

Definitions

  • the invention relates to one of several standardized Share compound wrenches for hard-to-get access Bolting points according to the preamble of claim 1, such as from workshop practice, in particular the automotive repair industry is known.
  • the composable Individual parts of such wrenches are printed e.g. from the sales catalogs of relevant specialist companies known.
  • the object of the invention is that of the generic type To improve wrenches so far screwing points not accessible due to building developments with the wrench even without disassembling Units reached and released or tightened in a reliable manner can be.
  • Figures 1, 12 and 13 show different, angled wrenches 1 and 1 ' for difficult to access screwing points, which are more or less completely composed of several standardized parts. They have a composite hand lever, which is oriented transversely to the axis of rotation when actuated and is designed differently in the exemplary embodiments shown.
  • this hand lever is formed in each case from a round rotary rod 15, onto which a sliding piece 15 ' is attached, which in turn carries a square plug pin 7 which is transverse to the rotary rod 15.
  • the hand lever is only indicated by a dash-dotted line;
  • the assigned reference number 15 ′′ indicates that in this case the hand lever is formed by a combination of parts according to FIG.
  • torque lever 15 with a torque lever 15 ′′ with corresponding plug-in parts.
  • This type of torque lever is known and commercially available in different lengths and sizes. They are available in rigid and torque-sensitive designs, which are shown in FIG. 2.
  • the torque lever or rigid hand lever has a standardized plug-in opening with a rectangular cross-section for receiving tool inserts at the end facing away from the handle. Because of the bending stress on the plug connection, the longer side of the cross section of the insertion opening or the plug pin is arranged in the plane of rotation.
  • the housing comprising the insertion opening 35 merges rigidly into the corresponding lever arm, whereas, in the case of a torque-sensitive embodiment in the form of a torque lever, the housing of the insertion opening is connected to the corresponding lever arm to a limited extent.
  • the mobility of the insertion opening with respect to the lever arm is only released by overcoming a certain, presettable torque, whereby a loud audible crackling noise is generated.
  • a connector 12 is received with a cross-section-corresponding rectangular plug 38 in the insertion opening 35 of the torque lever, which in turn contains a square plug opening, the axis of which is transverse to the plane of rotation, i.e. parallel to the axis of rotation 5 of the screw connection.
  • the square pin piece 7 '' can be inserted into this square plug opening, so that a square square pin protrudes at right angles on the output side of the torque lever.
  • a nut 3 for gripping a screw element that is, a screw 2 or a nut 2 '
  • Such nuts are available in different, screw-side form-fitting designs, for example in hexagon shape or in a so-called Torx® shape for external attack as a sleeve or for internal attack as a pin, or in a twelve-corner shape for external attack as a sleeve.
  • a ratchet or ratchet 6 can also be attached to the end of the torque lever.
  • Key inserts 36 with a rectangular plug-in pin 38 are also commercially available, which can be attached directly to the end of the torque lever, and these key inserts are also available in a variety of variants as the nuts 3 in the trade, in contrast to the twelve-corner design shown in FIG. 3.
  • the assembled wrench 1 or 1 ' further contains a transmission shaft 19 or 19 ' which is subjected to torsional stress when actuated, which is oriented approximately parallel to the axis of rotation 5 of the screw point and which is also composed of several parts can be.
  • the parts that can be plugged together to form a transmission shaft contain, at their end pointing towards the screwing point, a square plug 7 with a square cross-section and at their end pointing towards the hand lever a cross-section-corresponding square plug opening 8, so that different transmission shafts can be combined as required from any plug-in parts of this type.
  • the square plug pins 7 carry elastically resilient locking balls, whereas the square plug openings have correspondingly machined pockets into which the locking balls can snap after being plugged together.
  • shaft extensions 14 in different lengths and joints 13 are commercially available as plug-in parts from which different transmission shafts can be put together. No matter how a transmission shaft is assembled, in any case there is a last square plug 7 '' at the screw-side end of the transmission shaft. In turn, a nut 3 that can be positively attached to the screwing element to be rotated can be plugged onto this.
  • screwing points can also be achieved in this way that are only accessible at an incline to the screwing axis 5.
  • the intermediate lever 40, 40 ' carries at one end a square plug-in opening 8 ' which extends transversely to the longitudinal axis 41 of the intermediate lever and with which the latter at the output end of the transmission shaft 19, 19 ' onto the square plug 7''there is attached.
  • the intermediate lever has a prismatic, rectangular insertion opening 18 extending in the longitudinal direction 41, the longer cross-sectional side of which lies parallel to the plane of rotation.
  • a multi-part key insert consisting of nut 3, square pin piece 7 ' and connecting part 12 according to FIG. 2 on the left or riddle 6 according to FIG. 3 can be used as the key insert which can be positively attached to the screwing element 2, 2 ' .
  • a one-piece, standardized key insert 36 according to FIG. 4 is more expedient.
  • the intermediate lever in turn can also be designed differently, in particular it can in turn be composed of a plurality of parts which can be plugged together independently of the insertable key insert, as is shown in the exemplary embodiment of the intermediate lever 40 according to FIG.
  • the intermediate lever shown there consists of a connecting part 12 and an intermediate piece 10.
  • the connecting part 12 is a known plug-in part which is known per se, but which is for direct connection with a hand lever according to FIG. 2, but not for a combination with the end Square stack pin 7 '' of a transmission shaft is intended.
  • this is plugged with the square plug opening 8 ' onto the square stacking pin 7''of the transmission shaft.
  • the intermediate piece 10 is provided according to the invention, which is shown individually in FIG. 6. It has a prismatic rectangular plug-in opening 17 and 18 at its two opposite ends, which can be plugged together with the rectangular plug-in pin 38.
  • this is designed as a one-piece and as short as possible connecting part 42.
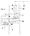
  • small offsets V between the transmission shaft and the screwing axis can be realized, as is necessary in restricted environmental conditions - they are indicated by dash-dotted lines in FIG. 13.
  • the total length L of the connecting part 42 or intermediate lever 40 ′ measured without the radially insertable key insert 26 corresponds approximately to three times the clear side length S of the square plug-in opening 8 ′ plus the depth T of the rectangular plug-in opening 18.
  • the connecting part 42 can be extended to a longer intermediate lever by insertable lever extension pieces.
  • different lever extension pieces are provided. In any case, they each carry a rectangular plug 38 at one end and a corresponding rectangular plug opening 18 at the other end.
  • the lever extension pieces are also provided in different shapes and lengths.
  • the exemplary embodiment of a lever extension piece 43 shown in FIG. 8 has a straight design and is made as short as possible. Overall, it is only slightly longer than the length of the right-hand plug-in pin 38 plus the insertion depth T of the plug-in opening 18.
  • FIGS. 9 and 11 show two exemplary embodiments of angled lever extension pieces of different lengths.
  • the lever extension piece 44 according to FIG. 9 is only slightly longer than that according to FIG. 8. With it, the axes of the plug opening 18 ' and plug pin 38 ' are also in a common plane, but they are arranged inclined to one another.
  • the angled extension piece 45 according to FIG. 11 has a very long and curved rectangular plug 38 ′′. With the lever extension piece 45 or with another multi-part and angled lever extension, obstacles that lie in the straight connection of the transmission shaft and the screwing point can be avoided.
  • the intermediate lever or the lever extension pieces can also be meaningfully used together with a key insert 36 detached from the transmission shaft 19, 19 ' .
  • torque-sensitive torque levers 15 '' are used, see above usually the preset torque on one very close to the screw axis within of the torque lever. Strictly speaking, the tightening torque a screw connection directly in the screw axis are detected, but what with the known torque levers, where the moment-capturing and limiting Element arranged radially offset within the lever arm is not possible. However, the resulting incorrect measurement through appropriate provision when setting the torque compensated.
  • the torque-detecting and -limiting element is displaced radially further away from the screwing axis along the lever arm that actually acts.
  • the actually effective lever length is not increased by the offset according to the invention, provided that - which can be assumed here without further ado - the transmission shaft 19, 19 ' can transmit no transverse forces, but only torques lying parallel to the axis 16.
  • the lever arm 15, 15 ' When actuated at the free end, the lever arm 15, 15 ' must be pulled with one hand with an actuating force and supported at the shaft-side end with an equally large opposite force.
  • the transmission shaft is free of transverse force, only the torque applied manually at the end of the lever arm 15, 15 'is transmitted to the intermediate lever 40, 40 ' , but no transverse force. Only the torque introduced into the intermediate lever on the shaft side is transmitted to the screw connection at the same level. A lateral force does not act on the shaft end of the intermediate lever.
  • it is irrelevant how large the offset between the transmission shaft and the screw axis or how long the intermediate lever is.
  • the relative position of the hand lever 15, 15 '' on the one hand and the intermediate lever 40, 40 ' on the other hand - viewed in the direction of the transmission shaft 19, 19 ' - is irrelevant.

Landscapes

  • Engineering & Computer Science (AREA)
  • Mechanical Engineering (AREA)
  • Details Of Spanners, Wrenches, And Screw Drivers And Accessories (AREA)
  • Adornments (AREA)

Abstract

Die Erfindung betrifft einen mehrteilig zusammengesetzten, abgewinkelten Schraubenschlüssel, bei dem an einen biegebeanspruchten Handhebel über Vierkant-Steckverbindungen eine torsionsbeanspruchte, mehrteilige Übertragungswelle angebracht ist, an deren unteren Ende ein Schlüsseleinsatz aufsteckbar ist. Um schlecht zugängliche Verschraubungsstellen mit einem solchen Schraubenschlüssel besser erreichen oder überhaupt erreichen zu können, ist erfindungsgemäß ein radialer Versatz zwischen der Übertragungswelle und dem Schlüsseleinsatz unter Zwischenfügung eines Zwischenhebels vorgesehen. Der Zwischenhebel trägt an seinem einen Ende eine parallel zur Drechachse ausgerichtete Vierkant-Stecköffnung und an seinem anderen Ende eine prismatische, parallel zur Drehebene orientierte, im Querschnitt rechteckige Stecköffnung. Der Schlüsseleinsatz weist einen radial in Bezug auf die Drehachse abragenden, im Querschnitt rechteckigen Steckzapfen auf, der in die rechteckige Stecköffnung des Zwischenhebels einsteckbar ist. Der Zwischenhebel kann seinerseits aus mehreren zusammensteckbaren Teilen zusammengesetzt sein und dann aus einem Anschlußteil und einem Zwischenstück bestehen. Ersteres trägt die Vierkant-Stecköffnung und einen radial zur Verdrehachse abragenden, im Querschnitt rechteckigen Steckzapfen, und letzteres weist beiderends je eine rechteckige Stecköffnung auf. Im Fall eines einstückigen Zwischenhebels ist dieser möglichst kurz ausgebildet. Er kann bedarfsweise durch einsteckbare Verlängerungsstücke verlängert werden, die einerends einen rechteckigen Steckzapfen und anderends eine entsprechende rechteckige Stecköffnung aufweisen. <IMAGE>

Description

Die Erfindung betrifft einen aus mehreren standardisierten Teilen zusammengesetzten Schraubenschlüssel für schlecht zu-gängliche Verschraubungsstellen nach dem Oberbegriff von Anspruch 1, wie er beispielsweise aus der Werkstattpraxis, insbesondere des Kfz-Reparaturgewerbes bekannt ist. Die zusammensetzbaren Einzelteile solcher Schraubenschlüssel sind druckschriftlich z.B. aus den Verkaufskatalogen einschlägiger Fachfirmen bekannt.
Aus den bekannten Teilen lassen sich lediglich T-förmig oder L-förmig ausgebildete Schraubenschlüssel zusammensetzen, die im Wesentlichen aus einem Handhebel und einer vorzugsweise mehrteiligen Übertragungswelle bestehen. Mit solchen Schlüsseln lassen sich tief versenkt liegende Verschraubungsstellen erreichen. Durch ein in die Übertragungswelle endseitig eingesetztes Gelenk lassen sich auch noch Schrauben oder Muttern erreichen, die zwar geradlinig zugänglich sind, deren Achse aber geneigt zur Übertragungswelle des angesetzten Schraubenschlüssels angeordnet ist.
Die Motorräume von modernen Personenkraftwagen sind mehr und mehr eng mit Aggregaten vollgepakt, so daß die Zugänglichkeit zu einzelnen Verschraubungsstellen durch Überbauung zum Teil ganz erheblich gestört ist. In der Serienmontage ist dies nicht weiter schädlich, weil die Teile dort in montagerechter Reihenfolge eingebaut werden und/oder weil in der Serienmontage bedarfsweise hochspezialisierte Sonderwerkzeuge zum Einsatz gebracht werden können. Im Bereich der Kraftfahrzeugreparatur müssen jedoch gelegentlich Teile erneuert werden, deren Verschraubungsstellen von anderen Aggregaten überbaut sind. Außerdem sollen in diesem mehr handwerklich und mittelständisch ausgerichteten Gewerbe aus Kostengründen möglichst wenig marken- und typgebundene Sonderwerkzeuge erforderlich werden. Aufgrund dessen läßt es sich bei Reparaturen häufig nicht vermeiden, überbauenden Aggregate zunächst auszubauen, dann das zu reparierende Teil auszutauschen und schließlich die überbauenden, demontierten Aggregate wieder einzubauen. Diese nur aus Gründen der Zugänglichkeit zu bestimmten Verschraubungsstellen erforderlichen Demontage- und Montageumfänge von an sich nicht betroffenen Aggregaten nehmen gelegentlich weit mehr Zeit als die eigentliche Reparatur in Anspruch und müssen vom Kunden mit bezahlt werden.
Aufgabe der Erfindung ist es, den gattungsgemäß zugrundegelegten Schraubenschlüssel dahingehend zu verbessern, daß bisher aufgrund von Überbauungen nicht zugängliche Verschraubungsstellen mit dem Schraubenschlüssel auch ohne Demontage überbauender Aggregate erreicht und betriebssicher gelost bzw. angezogen werden können.
Diese Aufgabe wird bei Zugrundelegung des gattungsgemäßen Schraubenschlüssels erfindungsgemäß durch die kennzeichnenden Merkmale von Anspruch 1 gelöst. Danach ist ein radialer Versatz zwischen dem verschraubungsseitigen Ende der Übertragungswelle des Schraubenschlüssels und dem Schlüsseleinsatz unter Zwischenfügung eines radialen Zwischenhebels vorgesehen, der aus zwar neuartigen, aber sich in bestehende Standards einfügenden Teilen zusammensteckbar ist. Erfindungsgemäß kann ein Z-förmig gekröpfter, also zweifach abgekröpfter Schraubenschlüssel zusammengesteckt werden. Mit dem unten von der Übertragungswelle radial abragenden Zwischenhebel kann eine tief liegende und überbaute Verschraubungstelle sicher erreicht werden.
Zweckmäßige Ausgestaltungen der Erfindung können den Unteransprüchen entnommen werden; im übrigen ist die Erfindung anhand verschiedener in den Zeichnungen dargestellter Ausführungsbeispiele nachfolgend noch erläutert; dabei zeigen:
Fig. 1
einen aus mehreren herkömmlichen, standardisierten Teilen zusammengesetzten, T- oder L-förmig abgewinkelten Schraubenschlüssel nach dem Stand der Technik,
Fig. 2
einen ebenfalls aus herkömmlichen, standardisierten Teilen zusammengesetzten, L-förmig abgewinkelten Drehmomentenschlüssel nach dem Stand der Technik,
Fig. 3
eine standardisierte, in den Handhebel des Drehmomentenschlüssels nach Figur 2 einsetzbare Rätsche nach dem Stand der Technik,
Fig. 4
einen standardisierten, in den Handhebel des Drehmomentenschlüssels nach Figur 2 einsetzbaren Zwölfeck-Schlüsseleinsatz nach dem Stand der Technik,
Fig. 5
eine zwar mit herkömmlichen, standardisierten Teilen mögliche, aber nur für die Zwecke der vorliegenden Erfindung sinnvolle Kombination im Bereich des unteren Endes eines Schraubenschlüssels nach Figur 1,
Fig. 6
ein erfindungsgemäßes Zwischenstück zum Ansetzen an den nach Figur 5 kombinierten Schraubenschlüssel zwecks Aufnahme von standardisierten Schlüsseleinsätzen,
Fig. 7
ein erfindungsgemäßes Aufnahmestück zum unmittelbaren Ansetzen an einen Schraubenschlüssel z.B. nach Figur 1 zwecks Aufnahme von standardisierten Schlüsseleinsätzen oder anderen Teilen,
Fig. 8
ein erfindungsgemäßes Verlängerungsstück zum Einsetzen in das Aufnahmestück nach Figur 7,
Fig. 9
ein erfindungsgemäßes Verlängerungsstück in der Funktion wie das nach Figur 8, jedoch in einer abgewinkelten Ausführung,
Fig. 10
ein erfindungsgemäßes Zwischenstück in der Funktion wie das nach Figur 6, jedoch in einer abgewinkelten Ausführung,
Fig. 11
ein erfindungsgemäßes Verlängerungsstück in der Funktion wie das nach Figur 8, jedoch in einer bogenförmigen Ausführung, mit einem eingesetzten Zwölfeck-Schlüsseleinsatz,
Fig. 12
ein erstes vollständiges Ausführungsbeispiel eines zweifach abgekröpften Schraubenschlüssel in einer Überkopf-Anwendung und
Fig. 13
ein weiteres Ausführungsbeispiel eines zweifach abgekröpften Schraubenschlüssels, angewandt bei einer überbauten Verschraubung in extrem beengten Platzverhältnissen.
Die Figuren 1, 12 und 13 zeigen verschiedene, abgewinkelte Schraubenschlüssel 1 bzw. 1' für schlecht zugängliche Verschraubungsstellen, die aus mehreren standardisierten Teilen mehr oder weniger vollständig zusammengesetzt sind. Sie haben einen zusammengesetzten, bei Betätigung quer zur Drehachse orientierten, biegebeanspruchten Handhebel, der bei den dargestellten Ausführungsbeispielen unterschiedlich ausgebildet ist. Bei den Ausführungsbeispielen nach den Figuren 1 und 12 ist dieser Handhebel jeweils aus einer runden Drehstange 15 gebildet, auf die ein Schiebestück 15' aufgesteckt ist, welches seinerseits einen Vierkant-Steckzapfen 7 trägt, der quer zur Drehstange 15 steht. Bei dem Ausführungsbeispiel nach Figur 13 ist der Handhebel nur durch eine strichpunktierte Linie angedeutet; durch die zugeordnete Bezugszahl 15'' ist darauf hingewiesen, daß in diesem Fall der Handhebel durch eine Teilekombination nach Figur 2 mit einem Drehmomenthebel 15'' mit entsprechenden Einsteckteilen gebildet ist. Diese Art von Drehmomenthebel ist bekannt und in unterschiedlichen Längen und Größen im Handel erhältlich. Es gibt sie in starrer und in drehmomentsensitiver Ausbildung, die in Figur 2 gezeigt ist. Auf jeden Fall weist der Drehmomenthebel bzw. starre Handhebel an dem von der Handhabe abgewandten Ende eine standardisierte, im Querschnitt rechteckige Einstecköffnung zur Aufnahme von Werkzeugeinsätzen auf. Wegen der Biegebeanspruchung der Steckverbindung ist die längere Seite des Querschnittes der Einstecköffnung bzw. des Steckzapfens in der Drehebene angeordnet. Das die Einstecköffnung 35 umfassenden Gehäuse geht im Falle eines starren Handhebels starr in den entsprechenden Hebelarm über, wogegen bei einer drehmomentsensitiven Ausführung in Form eines Drehmomenthebels das Gehäuse der Einstecköffnung beschränkt winkelbeweglich mit dem entsprechenden Hebelarm verbunden ist. Die Beweglichkeit der Einstecköffnung gegenüber dem Hebelarm wird allerdings erst unter Überwindung eines bestimmten, voreinstellbaren Drehmomentes freigegeben, wobei ein laut hörbares Knack-Geräusche erzeugt wird.
Bei dem in Figur 2 gezeigten Ausführungsbeispiel ist ein Anschlußteil 12 mit einem querschnittsentsprechenden Rechtecksteckzapfen 38 in die Einstecköffnung 35 des Drehmomenthebels aufgenommen, welches seinerseits eine Vierkantstecköffnung enthält, deren Achse quer zur Drehebene, also parallel zur Drehachse 5 der Verschraubung steht. In diese Vierkantstecköffnung ist das Vierkantzapfenstück 7'' einsteckbar, so daß an der Abtriebsseite des Drehmomenthebels ein quadratischer Vierkant-Steckzapfen rechtwinklig abragt. Üblicherweise wird auf den abragenden Vierkantsteckzapen unmittelbar - oder mittelbar unter Zwischenschaltung einer Übertragungswelle 19, 19' - eine Nuß 3 zum Erfassen eines Verschraubungselementes, also einer Schraube 2 oder einer Mutter 2', aufgesteckt. Derartige Nüsse sind in unterschiedlichen, verschraubungsseitigen Formschluß-Ausführungen erhältlich, z.B. in Sechseckform oder in sog. Torx®-Form für Außenangriff als Hülse oder für Innenangriff als Zapfen, oder in Zwölfeckform für Außenangriff als Hülse. Anstelle des Anschlußteiles 12 kann auch eine Rätsche oder Knarre 6 nach Figur 3 endseitig an den Drehmomenthebel angesteckt werden. Auch sind im Handel Schlüsseleinsätze 36 mit einem Rechtecksteckzapfen 38 erhältlich, die unmittelbar endseitig an den Drehmomenthebel angesteckt werden können, und zwar sind auch diese Schlüsseleinsätze abweichend von der in Figur 3 dargestellten Zwölfeckausführung ebenfalls in der Variantenvielfalt wie die Nüsse 3 im Handel erhältlich.
Um die aus Rechtecksteckzapfen 38 und querschnittsentsprechender Einstecköffnung 35 zusammensteckbare Steckverbindung formschlüssig in einer bestimmten Einstecktiefe zu sichern, sind an den die Einstecköffnung umschließenden Wandungen Bohrungen 20 und an dem Rechtecksteckzapfen 38 elastisch eindrückbare Rastzapfen 29 angebracht. Und zwar läßt sich der Zapfen 29 gegen elastischen Widerstand oberflächenbündig in den Rechtecksteckzapfen zurückdrücken. Es sind mehrere Bohrungen 20 in unterschiedlichen Abständen vom freien Rand der Einstecköffnung angebracht, so daß der Rechtecksteckzapfen in entsprechend unterschiedlichen Einstecktiefen in der Einstecköffnung verriegelt werden kann. Durch Zurückdrücken des Zapfens 29 kann die Verriegelung wieder gelöst werden; die zusammengesteckten Teile können dann auseinander gezogen werden.
Um mit Schraubenschlüsseln der geschilderten Art tief versenkt liegende Verschraubungsstellen erreichen zu können, enthält der zusammengesetzte Schraubenschlüssel 1 bzw. 1' ferner eine bei Betätigung torsionsbeanspruchte Übertragungswelle 19 bzw. 19', die etwa parallel zur Drehachse 5 der Verschraubungsstelle orientiert ist und die ebenfalls mehrteilig zusammengesetzt sein kann. Die zu einer Übertragungswelle zusammensteckbaren Teile enthalten an ihrem zur Verschraubungsstelle hin weisenden Ende einen im Querschnitt quadratischen Vierkantsteckzapfen 7 und an ihrem zum Handhebel hin weisenden Ende eine querschnittsentsprechende Vierkantstecköffnung 8, so daß aus belibigen Steckteilen dieser Art bedarfsgerecht unterschiedliche Übertragungswellen kombiniert werden können. Die Vierkantsteckzapfen 7 tragen elastisch nachgiebig gelagerte Rastkugeln, wogegen die Vierkantstecköffnungen lageentsprechend eingearbeitete Taschen aufweisen, in die die Rastkugeln nach dem Zusammenstecken einrasten können. Als Steckteile, aus denen unterschiedliche Übertragungswellen zusammengestellt werden können, sind neben dem Schiebestück 15' und dem Vierksantzapfenstück 7' vor allem Wellenverlängerungen 14 in unterschiedlichen Längen und Gelenke 13 im Handel erhältlich. Wie immer eine Übertragungswelle zusammengesetzt wird, in jedem Fall ist am verschraubungsseitigen Ende der Übertragungswelle ein letzter Vierkantsteckzapfen 7'' vorhanden. Auf diesen ist wiederum eine an das zu verdrehende Verschraubungselement formschlüssig ansetzbare Nuß 3 aufsteckbar. Bei Verwendung eines Gelenkes 13 in der Übertragungswelle können auf diese Weise auch solche Verschraubungsstellen erreicht werden, die nur geneigt zur Verschraubungsachse 5 zugänglich sind.
Um auch überbaute Verschraubungsstellen mit dem Schraubenschlüssel erreichen und betriebssicher lösen bzw. anziehen zu können, ohne die überbauenden Aggregate dazu demontieren zu müssen, ist erfindungsgemäß ein radialer Versatz V zwischen der Übertragungswelle 19, 19' und dem auf das Verschraubungselement formschlüssig ansetzbaren Schlüsseleinsatz unter Zwischenfügung eines endseitig an der Übertragungswelle angeordneten Zwischenhebels 40, 40' in unterschiedlichen Ausgestaltungsmöglichkeiten vorgesehen.
Grundsätzlich trägt der Zwischenhebel 40, 40' an seinem einen Ende eine Vierkant-Stecköffnung 8', die sich quer zur Längsachse 41 des Zwischenhebel erstreckt und mit der dieser am abtriebsseitigen Ende der Übertragungswelle 19, 19' auf den dortigen Vierkant-Steckzapfen 7'' aufgesteckt ist. An seinem anderen Ende weist der Zwischenhebel eine prismatische, sich in Längsrichtung 41 erstreckende Rechteck-Stecköffnung 18 auf, deren längere Querschnittseite parallel zur Drehebene liegt.
Als auf das Verschraubungselement 2, 2' formschlüssig ansetzbarer Schlüsseleinsatz ist ein mehrteiliger Schlüsseleinsatz, bestehend aus Nuß 3, Vierkantzapfenstück 7' und Anschlußteil 12 nach Figur 2 links oder Rätsche 6 nach Figur 3 verwendbar. Zweckmäßiger ist jedoch ein einteiliger, standardisierter Schlüsseleinsatz 36 nach Figur 4. Ob ein- (36) oder mehrteiliger Schlüsseleinsatz 3, 7', 12 oder 3, 7', 6, auf jeden Fall enthält er einen radial zur Verdrehachse 5 des Verschraubungselementes abragenden, im Querschnitt rechteckigen Rechteck-Steckzapfen 38, der in die Rechteck-Stecköffnung 18 des Zwischenhebels 40, 40' eingesteckt ist.
Auch der Zwischenhebel seinerseits kann unterschiedlich ausgebildet, insbesondere kann er unabhängig von dem einsteckbaren Schlüsseleinsatz seinerseits aus mehreren zusammensteckbaren Teilen zusammengesetzt sein, wie dies am Ausführungsbeispiel des Zwischenhebels 40 nach Figur 12 gezeigt ist. Und zwar besteht der dort gezeigte Zwischenhebel aus einem Anschlußteil 12 und aus einem Zwischenstück 10. Das Anschlußteil 12 ist zwar ein an sich bekanntes standardisiertes Steckteil, welches jedoch für das unmittelbare Zusammenstecken mit einem Handhebel nach Figur 2, nicht jedoch für eine Kombination mit dem endseitigen Vierkantstackzapfen 7'' einer Übertragungswelle gedacht ist. In der neuartigen Anwendung des Anschlußteils 12 im Zusammenhang mit dem erfindungsgemäßen Zwischenhebel ist dieses mit der Vierkantstecköffnung 8' auf den Vierkantstackzapfen 7'' der Übertragungswelle aufgesteckt. In dieser Anwendung - siehe auch Figur 5 - wird am Ende der Übertragungswelle ein radial abragender Rechteck-Steckzapfen 38 geschaffen. Auf diesen Zapfen lassen sich die erwähnten ein- oder mehrteiligen Schlüsseleinsätze nicht aufstecken, die ebenfalls einen Rechteck-Steckzapfen 38 tragen. Um hier ein Zusammenstecken möglich zu machen, ist erfindungsgemäß das Zwischenstück 10 vorgesehen, welches in Figur 6 einzeln dargestellt ist. Es weist an seinen beiden gegenüberliegenden Enden jeweils eine prismatische Rechteck-Stecköffnung 17 und 18 auf, die mit dem Rechteck-Steckzapfen 38 zusammensteckbar sind.
Es sind je nach Lage der zu lösenden oder anzuziehenden Verschraubungsstelle unterschiedliche Zwischenstücke denkbar. Bei dem geradlinigen Zwischenstück nach Figur 12 bzw. 6 erstrecken sich die Stecköffnung 17 und 18 in Längsrichtung des Zwischenstückes 10 und fluchten zueinander. Diese geradlinigen Zwischenstücke können in unterschiedlichen Längen bereitgehalten werden, wobei jedoch aller Wahrscheinlichkeit nach die kurzen Zwischenstücke häufiger zum Einsatz gelangen werden, weil bei beengten Umgebungsverhältnissen lange Zwischenhebel vermutlich weniger häufig nötig sind. Neben geradlinigen Zwischenstücken erscheinen auch noch Zwischenstücke 46 in abgewinkelter Form zweckmäßig, bei denen die Achsen der Einstecköffnungen 17' und 18' zwar in der gleichen Ebene liegen, aber geneigt zueinander angeordnet sind. Ein Ausführungsbeispiel eines abgewinkelten Zwischenstückes ist in Figur 10 dargestellt. Durch solche "geknickten" Zwischenstücke läßt sich ein gekrümmter Zwischenhebel darstellen, wie er u.U. zur Umgehung eines Hindernisses erforderlich werden könnte.
In einer anderen Ausgestaltung des Zwischenhebels 40' nach Figur 13 bzw. 7 ist dieser als einstückiges und möglichst kurzes Anschlußteil 42 ausgebildet. Dadurch lassen sich geringe Versätze V zwischen Übertragungswelle und Verschraubungsachse realisieren, wie dies in beengten Umgebungsverhältnissen - sie sind in Figur 13 durch strichpunktierte Linien angedeutet - erforderlich ist. Die ohne den radial einsteckbaren Schlüsseleinsatz 26 gemessene Gesamtlänge L des Anschlußteils 42 bzw. Zwischenhebels 40' entspricht annähernd dem Dreifachen der lichten Seitenlänge S der Vierkant-Stecköffnung 8' zuzüglich der Tiefe T der Rechteck-Stecköffnung 18.
Sollten größere radiale Versätze V als in Figur 13 gezeigt zwischen Übertragungswelle und Verschraubungsachse realisiert werden müssen, so läßt sich durch einsteckbare Hebelverlängerungsstücke das Anschlußteil 42 zu einem längeren Zwischenhebel verlängern. In zweckmäßiger Ausgestaltung der Erfindung sind unterschiedliche Hebelverlängerungsstücke vorgesehen. In jedem Fall tragen diese an ihrem einen Ende jeweils einen Rechteck-Steckzapfen 38 und am anderen Ende jeweils eine entsprechende Rechteck-Stecköffnung 18. Auch die Hebelverlängerungsstücke werden in unterschiedlicher Form und Länge bereitgestellt. Das in Figur 8 gezeigte Ausführungsbeispiel eines Hebelverlängerungsstückes 43 ist geradlinig ausgebildet und möglichst kurz gestaltet. Es ist insgesamt nur geringfügig länger als die Länge des Rechstecksteckzapfesns 38 zuzüglich der Einstecktiefte T der Einstecköffnung 18. Die Achsen von Stecköffnung und Steckzapfen fluchten hier zueinander. In den Figuren 9 und 11 sind zwei Ausführungsbeispiele von abgewinkelten Hebelverlängerungsstücken unterschiedlicher Länge dargestellt. Das Hebelverlängerungsstuck 44 nach Figur 9 ist nur geringfügig länger als das nach Figur 8. Bei ihm liegen die Achsen von Stecköffnung 18' und Steckzapfen 38' ebenfalls in einer gemeinsamen Ebene, jedoch sind sie geneigt zueinander angeordnet. Das winklige Verlängerungsstück 45 nach Figur 11 weist einen sehr langen und gebogenen Rechtecksteckzapfen 38'' auf. Mit dem Hebelverlängerungsstück 45 oder mit einer anderen mehrteilig und winklig zusammengesetzten Hebelverlängerung lassen sich Hindernisse, die in der geradlinigen Verbindung von Übertragungswelle und Verschraubungsstelle liegen, umgehen.
Der Zwischenhebel oder die Hebelverlängerungsstücke lassen sich auch losgelöst von der Übertragungswelle 19, 19' zusammen mit einem Schlüsseleinsatz 36 sinnvoll verwenden. Und zwar lassen sich damit handliche und kurze oder beliebig geformte Schraubenschlüssel zum manuellen Verdrehen zwar gelöster, aber schwergängiger Verschraubungselemente zusammenstellen.
Werden drehmomentsensitive Drehmomenthebel 15'' verwendet, so wird üblicherweise das voreingestellte Drehmoment an einer sehr nahe an der Verschraubungsachse liegenden Stelle innerhalb des Drehmomenthebels erfaßt. Genau genommen muß das Anzugsmoment einer Verschraubung unmittelbar in der Verschraubungsachse erfaßt werden, was jedoch mit den bekannten Drehmomenthebeln, bei denen das momentenerfassende und -begrenzende Element radial versetzt innerhalb des Hebelarmes angeordnet ist, nicht möglich ist. Jedoch wird die dadurch bedingte Fehlmessung durch eine entsprechende Vorhaltung bei der Momenteneinstellung kompensiert.
Aufgrund des mehr oder weniger großen, erfindungsgemäßen Versatzes zwischen Verschraubungsstelle und Übertragungswelle wird das drehmomenten-erfassende und -begrenzende Element entlang des tatsächlich wirkenden Hebelarmes von der Verschraubungsachse radial weiter weg verlagert. Durch den erfindungsgemäßen Versatz wird jedoch nicht die tatsächlich wirksame Hebellänge vergrößert, sofern - was hier ohne weiteres unterstellt werden kann - die Übertragungswelle 19, 19' keine Querkräfte, sondern nur parallel zur Achse 16 liegende Drehmomente übertragen kann. Der Hebelarm 15, 15' muß bei Betätigung am freien Ende mit einer Hand mit einer Betätigungskraft gezogen und am wellenseitigen Ende mit einer gleichgroßen entgegengesetzten Kraft abgestützt werden. Unter der Voraussetzung einer Querkraftfreien Übertragungswelle wird nur das am Ende des Hebelarmes 15, 15' wirksame, manuell aufgebrachte Drehmoment auf den Zwischenhebel 40, 40' übertragen, jedoch keine Querkraft. Nur das wellenseitig in den Zwischenhebel eingeleitete Drehmoment wird in gleicher Höhe auf die Verschraubungsstelle übertragen. Eine Querkraft wirkt am wellenseitigen Ende des Zwischenhebels nicht ein. Es ist also bei einem momentengenauen Anziehen einer Verschraubung mit einem erfindungsgemäß ausgebildeten, mehrfach gekröpften Schraubenschlüssel unerheblich, wie groß der Versatz zwischen Übertragungswelle und Verschraubungsachse bzw. wie lang der Zwischenhebel ist. Auch die relative Stellung des Handhebels 15, 15'' einerseits und des Zwischenhebels 40, 40' andererseits - in Richtung,der Übertragungswelle 19, 19' gesehen - ist unerheblich. Bei Strecklage dieser beiden Hebel nach Figur 12 und einer im wesentlichen Z-förmigen Hebelanordnung würde sich eine scheinbare Verlänge-rung der Hebellänge ergeben, wogegen bei einer umgekehrten, nämlich U-förmigen Hebellage eine scheinbare Verkürzung der wirksamen Hebellänge vermutet werden könnte. Diese möglichen Relativlagen der beiden Hebelarten haben keinen Einfluß auf die wirksame Hebellängen. Ein an dem Drehmomenthebel 15'' voreingestelltes Grenzdrehmoment braucht also nicht in Abhängigkeit von der Größe des Versatzmaßes V korrigiert zu werden.

Claims (10)

  1. Aus mehreren standardisierten Teilen zusammengesetzter, abgewinkelter Schraubenschlüssel für schlecht zugängliche Verschraubungsstellen, mit einem zusammengesetzten, bei Betätigung quer zur Drehachse orientierten, biegebeanspruchten Handhebel, der an seiner Abtriebsseite einen rechtwinklig abragenden, im Querschnitt quadratischen Vierkant-Steckzapfen aufweist, und mit einer bei Betätigung etwa parallel zur Drehachse orientierten, torsionsbeanspruchten Übertragungswelle, an deren der Verschraubungsstelle zugekehrten Ende ein an das zu verdrehende Verschraubungselement formschlüssig ansetzbarer Schlüsseleinsatz aufsteckbar ist, wobei die Teile, aus der die Übertragungswelle zusammensetzbar ist, jeweils handhebelseitig eine im Querschnitt quadratische Vierkant-Stecköffnung und verschraubungsseitig einen entsprechenden Vierkant-Steckzapfen aufweisen,
    gekennzeichnet durch einen radialen Versatz (V) zwischen der Übertragungswelle (19) und dem auf das Verschraubungselement (2, 2') formschlüssig ansetzbaren Schlüsseleinsatz (3 und 6, 36) unter Zwischenfügung eines am verschraubungsnahen Ende (7'') der Übertragungswelle (19) angeordneten Zwischenhebels (40, 40') mit folgenden Merkmalen:
    Figure 00120001
    der Zwischenhebel (40, 40') trägt an seinem einen Ende eine Vierkant-Stecköffnung (8'), die sich quer zur Längsachse (41) des Zwischenhebel (40, 40') erstreckt und mit der dieser am abtriebsseitigen Ende der Übertragungswelle (19) auf den dortigen Vierkant-Steckzapfen (7'') aufgesteckt ist,
    der Zwischenhebel (40, 40') trägt an seinem anderen Ende eine prismatische, sich in Längsrichtung (41) des Zwischenhebels (40) erstreckende, im Querschnitt rechteckige Rechteck-Stecköffnung (18), deren längere Querschnittseite parallel zur Drehebene liegt, und
    als auf das Verschraubungselement (2, 2') formschlüssig ansetzbarer Schlüsseleinsatz ist ein an sich bekannter, standardisierter, ein- oder mehrteiliger Schlüsseleinsatz (3 und 6, 36) vorgesehen, der eine radial zur Verdrehachse (5) des Verschraubungselementes (2, 2') vom Schlüsseleinsatz (3 und 6, 36) abragenden, im Querschnitt rechteckigen Rechteck-Steckzapfen (38) aufweist, dessen längere Querschnittseite parallel zur Drehebene liegt, der in die Rechteck-Stecköffnung (18) des Zwischenhebels (40, 40') eingesteckt ist.
  2. Schraubenschlüssel nach Anspruch 1,
    dadurch gekennzeichnet, daß
    der Zwischenhebel (40) unabhängig von dem einsteckbaren Schlüsseleinsatz (3 und 6, 36) seinerseits aus mehreren zusammensteckbaren Teilen zusammengesetzt ist.
  3. Schraubenschlüssel nach Anspruch 2,
    dadurch gekennzeichnet, daß
    der aus mehreren Teilen zusammensteckbare Zwischenhebel (40) unabhängig von dem radial einsteckbaren Schlüsseleinsatz (3 und 6, 36) folgende Teile umfaßt:
    ein Anschlußteil (12), welches die parallel zur Drehachse (5, 16) ausgerichtete Vierkant-Stecköffnung (8') aufweist und welches ferner einen radial zur Verdrehachse (5) des Verschraubungselementes (2, 2') vom Anschlußteil (12) abragenden, im Querschnitt rechteckigen Rechteck-Steckzapfen (38) aufweist, dessen längere Querschnittsseite parallel zur Drehebene liegt, und
    ein vorzugsweise geradliniges Zwischenstück (10), welches an seinen beiden gegenüberliegenden Enden jeweils eine prismatische, sich in Längsrichtung des Zwischenstückes (10) erstreckende, mit dem Rechteck-Steckzapfen (38) zusammensteckbare Rechteck-Stecköffnung (17 und 18) aufweist.
  4. Schraubenschlüssel nach Anspruch 1,
    dadurch gekennzeichnet, daß
    der Zwischenhebel (40', Anschlußteil 42) einstückig ausgebildet ist.
  5. Schraubenschlüssel nach Anspruch 4,
    dadurch gekennzeichnet, daß
    der einstückige Zwischennebel (40', Anschlußteil 42) möglichst kurz ausgebildet ist und eine ohne den radial einsteckbaren Schlüsseleinsatz gemessene Gesamtlänge (L) aufweist, die annähernd dem Dreifachen der lichten Seitenlänge (S) der Vierkant-Stecköffnung (8') zuzüglich der Tiefe (T) der Rechteck-Stecköffnung (18) entspricht.
  6. Schraubenschlüssel nach Anspruch 4 oder 5,
    dadurch gekennzeichnet, daß
    der einstückige Zwischenhebel (40') durch einsteckbare Hebelverlängerungsstücke (43 - 45) verlängerbar ist, die einerends einen Rechteck-Steckzapfen (38) und anderends eine entsprechende Rechteck-Stecköffnung (18) aufweisen.
  7. Schraubenschlüssel nach Anspruch 6,
    dadurch gekennzeichnet, daß
    einsteckbare Hebelverlängerungsstücke (43 - 45) unterschiedlicher Länge bereitgestellt sind.
  8. Schraubenschlüssel nach Anspruch 6,
    dadurch gekennzeichnet, daß
    wenigstens ein einsteckbares Hebelverlängerungsstück (44, 45) in abgewinkelter Form bereitgestellt ist.
  9. Schraubenschlüssel nach Anspruch 3,
    dadurch gekennzeichnet, daß
    einsteckbare Zwischenstücke (10, 46) unterschiedlicher Länge bereitgestellt sind.
  10. Schraubenschlüssel nach Anspruch 3,
    dadurch gekennzeichnet, daß
    wenigstens ein einsteckbares Zwischenstuck (46) in abgewinkelter Form bereitgestellt ist.
EP19990104733 1998-04-06 1999-03-10 Aus mehreren standardisierten Teilen zusammengesetzter Schraubenschlüssel für schlecht zugängliche Verschraubungsstellen Withdrawn EP0949045A2 (de)

Applications Claiming Priority (4)

Application Number Priority Date Filing Date Title
DE19815310 1998-04-06
DE19815310 1998-04-06
DE19903173A DE19903173B4 (de) 1998-04-06 1999-01-27 Aus mehreren standardisierten Teilen zusammengesetzter Schraubenschlüssel für schlecht zugängliche Verschraubungsstellen
DE19903173 1999-01-27

Publications (1)

Publication Number Publication Date
EP0949045A2 true EP0949045A2 (de) 1999-10-13

Family

ID=26045300

Family Applications (1)

Application Number Title Priority Date Filing Date
EP19990104733 Withdrawn EP0949045A2 (de) 1998-04-06 1999-03-10 Aus mehreren standardisierten Teilen zusammengesetzter Schraubenschlüssel für schlecht zugängliche Verschraubungsstellen

Country Status (2)

Country Link
EP (1) EP0949045A2 (de)
DE (1) DE29905038U1 (de)

Cited By (3)

* Cited by examiner, † Cited by third party
Publication number Priority date Publication date Assignee Title
EP1627702A2 (de) 2004-08-16 2006-02-22 Josef Hasler Bearbeitungsset für Profilsysteme
CN100458254C (zh) * 2006-12-28 2009-02-04 天津市金锚集团有限责任公司 用于工具杆的连接组件及其工具握杆
DE102021104262A1 (de) 2021-02-23 2022-08-25 Uhlig Präzisions Fertigungs GmbH Kupplungsschlüssel und Adapter

Families Citing this family (2)

* Cited by examiner, † Cited by third party
Publication number Priority date Publication date Assignee Title
DE19932353A1 (de) * 1999-07-10 2001-01-11 Adolf Wuerth Gmbh & Co Kg Einsatzwerkzeug für einen Schlüssel
DE102014011778B3 (de) * 2014-08-11 2015-12-17 Hubert Koschinat Nothandkurbeltrieb für eine in Drehung zu bringende Welle

Cited By (4)

* Cited by examiner, † Cited by third party
Publication number Priority date Publication date Assignee Title
EP1627702A2 (de) 2004-08-16 2006-02-22 Josef Hasler Bearbeitungsset für Profilsysteme
CN100458254C (zh) * 2006-12-28 2009-02-04 天津市金锚集团有限责任公司 用于工具杆的连接组件及其工具握杆
DE102021104262A1 (de) 2021-02-23 2022-08-25 Uhlig Präzisions Fertigungs GmbH Kupplungsschlüssel und Adapter
DE102021104262B4 (de) 2021-02-23 2024-04-18 Uhlig Präzisions Fertigungs GmbH Kupplungsschlüssel und Adapter

Also Published As

Publication number Publication date
DE29905038U1 (de) 1999-07-08

Similar Documents

Publication Publication Date Title
DE102008042437C5 (de) Fluidbetriebener Drehmomentschlüssel und Verfahren zum Festziehen und Lösen von Befestigungsmitteln
EP2376259A2 (de) Ring-maul-schlüssel
DE102020107354B4 (de) Hochrobuster Schraubenschlüssel
EP2049307B1 (de) Aggregat mit wenigstens zwei daran befestigter hydraulikanschlüsse
EP2676040A2 (de) Kraftangriff
EP0810377A1 (de) Schraubverbindung zum Verbinden von zwei Profilen
DE3705914A1 (de) Befestigungsvorrichtung fuer den mitnehmer von kettenfoerderern
EP0949045A2 (de) Aus mehreren standardisierten Teilen zusammengesetzter Schraubenschlüssel für schlecht zugängliche Verschraubungsstellen
EP1143182A2 (de) Überwurfschraube und Schraubverbindung zwischen einem Bremsschlauch und einer Bremsleitung
DE19903173B4 (de) Aus mehreren standardisierten Teilen zusammengesetzter Schraubenschlüssel für schlecht zugängliche Verschraubungsstellen
EP1413400A1 (de) Werkzeug zum Festziehen oder zum Lösen von Kabel-Verschraubungen
DE202011003315U1 (de) Verbindungsvorrichtung
DE202023103565U1 (de) Aufsatzstruktur eines Handwerkszeugs
DE102004002810A1 (de) Drehmomentdoppelschrauber
DE60019140T2 (de) Drehantriebswerkzeug für eine schraubelement
DE19934974C1 (de) Verbindung einer Schraube mit mehrkantigem Kopf oder einer mehrkantigen Mutter und eines Maulschraubenschlüssels
DE3534431C2 (de)
DE19716385A1 (de) Schraubenschlüssel, insbesondere zum Anziehen und Lösen von schwer zugänglichen Schrauben und Muttern
DE19942292A1 (de) Zwischenglied für eine Handschrauberwelle
DE102021102937A1 (de) Schraubwerkzeug
DE102017105219B4 (de) Schaltschrankschlüssel
DE20007156U1 (de) Schlüsselwerkzeug
EP4230883B1 (de) Antriebselement, insbesondere in der form einer schraube
DE202018003142U1 (de) Multifunktionsstab
DE29520090U1 (de) Werkzeug

Legal Events

Date Code Title Description
PUAI Public reference made under article 153(3) epc to a published international application that has entered the european phase

Free format text: ORIGINAL CODE: 0009012

AK Designated contracting states

Kind code of ref document: A2

Designated state(s): AT BE CH CY DE DK ES FI FR GB GR IE IT LI LU MC NL PT SE

AX Request for extension of the european patent

Free format text: AL;LT;LV;MK;RO;SI

STAA Information on the status of an ep patent application or granted ep patent

Free format text: STATUS: THE APPLICATION HAS BEEN WITHDRAWN

18W Application withdrawn

Withdrawal date: 20010602