EP0924324A1 - Vorrichtung zur Ueberwachung von Garnen an Ringspinnmaschinen - Google Patents

Vorrichtung zur Ueberwachung von Garnen an Ringspinnmaschinen Download PDF

Info

Publication number
EP0924324A1
EP0924324A1 EP98122732A EP98122732A EP0924324A1 EP 0924324 A1 EP0924324 A1 EP 0924324A1 EP 98122732 A EP98122732 A EP 98122732A EP 98122732 A EP98122732 A EP 98122732A EP 0924324 A1 EP0924324 A1 EP 0924324A1
Authority
EP
European Patent Office
Prior art keywords
yarn
sensor
light
traveling sensor
measuring element
Prior art date
Legal status (The legal status is an assumption and is not a legal conclusion. Google has not performed a legal analysis and makes no representation as to the accuracy of the status listed.)
Granted
Application number
EP98122732A
Other languages
English (en)
French (fr)
Other versions
EP0924324B1 (de
Inventor
Ernst Felix
Current Assignee (The listed assignees may be inaccurate. Google has not performed a legal analysis and makes no representation or warranty as to the accuracy of the list.)
Zellweger Luwa AG
Original Assignee
Zellweger Luwa AG
Priority date (The priority date is an assumption and is not a legal conclusion. Google has not performed a legal analysis and makes no representation as to the accuracy of the date listed.)
Filing date
Publication date
Application filed by Zellweger Luwa AG filed Critical Zellweger Luwa AG
Publication of EP0924324A1 publication Critical patent/EP0924324A1/de
Application granted granted Critical
Publication of EP0924324B1 publication Critical patent/EP0924324B1/de
Anticipated expiration legal-status Critical
Expired - Lifetime legal-status Critical Current

Links

Images

Classifications

    • DTEXTILES; PAPER
    • D01NATURAL OR MAN-MADE THREADS OR FIBRES; SPINNING
    • D01HSPINNING OR TWISTING
    • D01H13/00Other common constructional features, details or accessories
    • D01H13/14Warning or safety devices, e.g. automatic fault detectors, stop motions ; Monitoring the entanglement of slivers in drafting arrangements
    • D01H13/16Warning or safety devices, e.g. automatic fault detectors, stop motions ; Monitoring the entanglement of slivers in drafting arrangements responsive to reduction in material tension, failure of supply, or breakage, of material
    • D01H13/1616Warning or safety devices, e.g. automatic fault detectors, stop motions ; Monitoring the entanglement of slivers in drafting arrangements responsive to reduction in material tension, failure of supply, or breakage, of material characterised by the detector
    • D01H13/1633Electronic actuators
    • D01H13/165Photo-electric sensing means
    • DTEXTILES; PAPER
    • D01NATURAL OR MAN-MADE THREADS OR FIBRES; SPINNING
    • D01HSPINNING OR TWISTING
    • D01H13/00Other common constructional features, details or accessories
    • D01H13/14Warning or safety devices, e.g. automatic fault detectors, stop motions ; Monitoring the entanglement of slivers in drafting arrangements
    • D01H13/145Warning or safety devices, e.g. automatic fault detectors, stop motions ; Monitoring the entanglement of slivers in drafting arrangements set on carriages travelling along the machines; Warning or safety devices pulled along the working unit by a band or the like

Definitions

  • the invention relates to a device for monitoring yarns on spinning machines, with a sensor that is arranged to be movable along a path in front of the production sites.
  • CH 601093 from CH 601093 is a device for monitoring a running sequence known from workplaces of a testile machine for thread breakage, at which, at the workplaces guided probe, for contactless recording of electrical signals, is guided past the workplaces on a guide rail.
  • This hiking sensor or probe reacts to the rotation of the ferromagnetic according to a magnetic principle Ring traveler of the workplace.
  • a disadvantage of the device mentioned is that it only breaks the thread can be detected via the stationary ring traveler. In particular, this gives Device does not specify the quality of the spun yarn, because it reacts not on the yarn itself.
  • the object of the present invention as characterized in the claims is to create a device with which each spinning station of a ring spinning machine as far as can be monitored that outliers and other irregularities in the Yarn can be found.
  • a so-called walking sensor along the production or spinning stations along a path is carried out, which is a special measuring element for determining the gam cross section and / or Yarn diameter contains.
  • the rotating yarn, especially the so-called Illuminated balloon and thereby light changes are caused by the yarn when the walking sensor passes at each spinning position at least approximately in an instantaneous value of the yarn diameter and / or yarn cross-section are implemented.
  • Features can now be calculated from the yarn diameter or yarn mass determined in this way from which the quality of the yarn can be determined.
  • the device according to the invention therefore has a hiking sensor with at least one Measuring device that is suitable to determine the diameter or the mass.
  • a hiking sensor with at least one Measuring device that is suitable to determine the diameter or the mass.
  • the advantages achieved by the invention are to be seen in particular in that after a short time on a ring spinning machine spindles can be recognized Produce yarn with outliers. This is a complex test of the yarn for outliers no longer necessary and the results can be achieved much more quickly. In addition systematically recorded all spinning positions evenly, so that one can count on that outliers and other irregularities in the yarn are practically continuously recorded become.
  • the proposed device is also very simple and therefore inexpensive. It can also be easily automated.
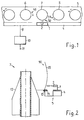
  • Fig. 1 shows schematically a hiking sensor 1 with a measuring element 2, which is on a rail 4 or a web along a ring bench 5 with spinning or production stations 6, 7 and 8 slides.
  • the typical parts of a ring spinning machine, as well as the traveling sensors for detection Thread breaks are assumed to be known from CH 601093.
  • the hiking sensor 1 is connected to an evaluation unit 10, which also has a Output 11, for example for the output of outliers or others, the quality of the Yarn representing values.
  • the transmission of the signals from the hiking sensor 1 the line 9 is carried out either via the drive of the traveling sensor as in that CH 601 093, or via the conductive rail 4.
  • FIG. 2 again shows some of the elements known from FIG. 1, namely in particular a spinning station 7 with a spool 12, the ring bench 5 with a ring 13 and one Ring traveler 14, the rail 4 with the traveling sensor 1, and the measuring element 2. It can be seen here also the yarn 15, which forms the known balloon 16.
  • FIG 3 shows an embodiment of a traveling sensor 17 with an optically operating measuring element 18 and light sources 19 and 20 arranged on both sides thereof, which are aligned in this way are that the surface 21 of a coil is illuminated.
  • FIG. 4 shows an embodiment of a traveling sensor 22 with an optically operating measuring element 23 and light sources 24 and 25 arranged on both sides thereof, which are so aligned are that the track 26 or the balloon of a spinning station is illuminated.
  • Fig. 6 shows a schematic representation of the operation of a receiver or measuring element 41, which cooperates with an upstream gap 42.
  • Fig. 7 shows a schematic representation of the operation of a receiver or measuring element 43, which works with an upstream lens or lens 44.
  • Fig. 8 shows pulses 45, 46 of different amplitude A, which are proportional to the diameter of a yarn.
  • the pulses 45, 46 are accordingly signals as they are emitted by the measuring element can.
  • Fig. 9 shows pulses 47, 48 of different lengths, which are also proportional to the diameter of a yarn.
  • the pulses 47, 48 are accordingly signals as they are emitted by the measuring element can.
  • the mode of operation of the invention is as follows: When moving past the spinning positions 6, 7, 8, the measuring element 2 in the traveling sensor 1 does not detect the ring traveler, but directly the yarn 49, 50, 51, which rotates around the spindle. From this, a measured value is derived that corresponds at least approximately to the thread diameter or thread cross-section. Basically, such a measuring device only records one measuring point per revolution of the yarn around the spindle and this only when driving in front of the spindle in question. However, the outliers can be identified by appropriate statistical evaluation of the measurement results in the evaluation unit 10, which therefore consists of a suitably programmed processor.
  • FIGS. 3 and 4 Show a first example of a special measuring device for measuring the yarn diameter Figures 2 to 4.
  • the yarn above the ring 13 with at least one, better but illuminated with two crossing light sources 19, 20 or 24, 25.
  • the area the light rays are indicated by dashed lines in FIGS. 3 and 4.
  • a light-sensitive measuring device 23 (Fig. 4) is now designed so that it only reflects the light reflected by the yarn in a very short area.
  • the yarn can also be used for measurement appear as if it were only viewed through a narrow slit, what with the Arrangement according to FIG. 6 is indicated.
  • the yarn 52 radiates its reflected light through the gap 42 onto the measuring element 41, here, for example, as a photo element, from.
  • Optics 44 with at least one lens, as shown in principle in FIG. 7, is better than a gap is shown.
  • the theory of optics is well known and does not need to be explained further.
  • FIG. 3 Another possibility for detecting the yarn diameter is shown in Fig. 3.
  • the yarn is not illuminated by the light rays. It remains in it Shadow.
  • the spinning cop now reflects light onto the measuring element, the optics of which are basically like can be carried out in the previous example.
  • the yarn now shadows the reflected light.
  • one Light pulse as in the previous example, becomes the shading pulse in this case evaluated.
  • FIG. 5 Another embodiment is shown in FIG. 5.
  • the light from the light transmitter 35 is transmitted Mirror elements 30, 29 deflected to the light receiver 36.
  • the light receiver 36 is in turn only equipped with a gap.
  • the light beam is weakened by the rotating yarn or completely interrupted.
  • the same considerations apply to the impulses and the optics as in the examples above.
  • the speed at which the hiking sensor 34 moves is of course much less than the speed at which the yarn rotates around the bobbin. Therefore, the position shown, at least once per passage of the hiking sensor 34, where the yarn 32 falls into the light beam 53 occur.
  • the measured values can also be per pass of the traveling sensor along the entire ring spinning machine be averaged. This can cause the unevenness over time are tracked per ring spinning machine side. Changes such as those caused by climate disturbances, raw material fluctuations and the like can occur ascertain immediately, in contrast to the usual sampling with subsequent Testing in the laboratory.

Landscapes

  • Engineering & Computer Science (AREA)
  • Mechanical Engineering (AREA)
  • Textile Engineering (AREA)
  • Spinning Or Twisting Of Yarns (AREA)
  • Filamentary Materials, Packages, And Safety Devices Therefor (AREA)

Abstract

Die Erfindung betrifft eine Vorrichtung zur Überwachung von Garnen an Spinnmaschinen, mit einem Sensor, der längs einer Bahn vor den Produktionsstellen fahrbar angeordnet ist. Um eine Vorrichtung zu schaffen, mit der jede Spinnstelle einer Spinnmaschine soweit überwacht werden kann, dass Ausreisser und andere Unregelmässigkeiten im Garn festgestellt werden können, ist der Sensor (2) zur Erfassung des Durchmessers des Garns ausgebildet und angeordnet. <IMAGE>

Description

Die Erfindung betrifft eine Vorrichtung zur Überwachung von Garnen an Spinnmaschinen, mit einem Sensor, der längs einer Bahn vor den Produktionsstellen fahrbar angeordnet ist.
In der Spinnerei ist die Ungleichmässigkeit des Garns einer der wichtigsten Parameter bei der Qualitätskontrolle von Garnen. Diese Qualitätskontrolle wird bis heute fast ausschliesslich anhand von Stichproben im Labor durchgeführt. Mit Stichproben ist es aber nicht möglich sog. Ausreisser, also Stellen im Garn, die eine wesentliche Abweichung vom gewünschten Durchmesser haben, zu erfassen. Solche Ausreisser treten aber immer wieder auf. Diese zu erkennen ist aber nur mit einer Kontrolle sämtlicher Produktionsstellen möglich. Eine umfassende Qualitätskontrolle direkt an jeder Produktionsstelle ist aber absolut unrealistisch.
Heute ist es üblich, z. B. mit sog. Wandersensoren, die Anzahl der Fadenbrüche an jeder Spinnstelle zu erfassen. Die Fadenbruchzahl der einzelnen Spinnstellen gibt einen Hinweis auf eventuelle Ausreisser im Garn.
Insbesondere ist aus der CH 601093 eine Vorrichtung zum Überwachen einer laufenden Folge von Arbeitsstellen einer Testilmaschine auf Fadenbruch bekannt, bei der ein, an den Arbeitsstellen vorbeigeführter Tastkopf, zur berührungslosen Aufnahme von elektrischen Signalen, auf einer Führungsschiene an den Arbeitsstellen vorbeigeführt wird. Dieser Wandersensor oder Tastkopf reagiert nach einem magnetischem Prinzip auf die Rotation des ferromagnetischen Ringläufers der Arbeitsstelle.
Ein Nachteil der genannten Vorrichtung besteht aber darin, dass damit lediglich ein Fadenbruch über den stillstehenden Ringläufer detektiert werden kann. Insbesondere gibt diese Vorrichtung keine Angaben über die Qualität des gesponnenen Garnes, ab, denn sie reagiert nicht auf das Garn an sich.
Die Qualitätskontrolle im Labor erfolgt aus praktischen Gründen erst einige Tage nach der Stichprobenentnahme. Eine rasche Reaktion auf eventuelle Veränderungen genereller Art ist daher so nur bedingt möglich.
Es ist deshalb die Aufgabe der vortiegenden Erfindung, wie sie in den Patentansprüchen gekennzeichnet ist, eine Vorrichtung zu schaffen, mit der jede Spinnstelle einer Ringspinnmaschine soweit überwacht werden kann, dass Ausreisser und andere Unregelmässigkeiten im Garn festgestellt werden können. Dies wird mit der vorliegenden Erfindung dadurch erreicht, dass ein sog. Wandersensor entlang der Produktions- oder Spinnstellen längs einer Bahn geführt wird, der ein spezielles Messorgan zur Bestimmung des Gamquerschnittes und/oder Garndurchmessers enthält. Dazu wird das rotierende Garn, insbesondere der sogenannte Ballon beleuchtet und dabei werden durch das Garn Lichtveränderungen verursacht, die beim Vorbeifahren des Wandersensors an jeder Spinnstelle mindestens näherungsweise in einen Momentanwert des Garndurchmessers und/oder Garnquerschnittes umgesetzt werden. Aus dem so bestimmten Garndurchmesser oder der Garnmasse können nun Merkmale berechnet werden, aus denen die Qualität des Garns bestimmt werden kann.
Die erfindungsgemässe Vorrichtung weist deshalb einen Wandersensor mit mindestens einem Messorgan auf, das geeignet ist den Durchmesser oder die Masse zu bestimmen. Beispielsweise ist mindestens eine Lichtquelle und mindestens ein Lichtempfänger im Bereich des rotierenden Garnes zur Erfassung des Garnquerschnitts und/oder des Garndurchmessers vorgesehen.
Die durch die Erfindung erreichten Vorteile sind insbesondere darin zu sehen, dass damit bereits nach kurzer Zeit an einer Ringspinnmaschine Spindeln erkannt werden können, die Garn mit Ausreissern produzieren. Damit ist eine aufwendige Prüfung des Garns auf Ausreisser nicht mehr notwendig und die Resultate sind viel kurzfristiger erreichbar. Zudem werden systematisch alle Spinnstellen gleichmässig erfasst, so dass man damit rechnen kann, dass eben Ausreisser und auch andere Unregelmässigkeiten im Garn praktisch laufend erfasst werden. Die vorgeschlagene Vorrichtung ist zudem sehr einfach und damit kostengünstig. Sie ist auch problemlos automatisierbar.
Im folgenden wird die Erfindung anhand eines Beispiels und mit Bezug auf die beiliegenden Figuren näher erläutert. Es zeigen:
  • Figur 1 ein schematische Darstellung der erfindungsgemässen Vorrichtung,
  • Figur 2 einen Schnitt durch einen Teil der Vorrichtung,
  • Figur 3, 4 und 5 je eine Aufsicht je einer Ausführung,
  • Figur 6 und 7 je ein Detail der Vorrichtung und
  • Figuren 8 und 9 je einen Signalverlauf wie er in der Vorrichtung auftreten kann.
  • Fig. 1 zeigt schematisch einen Wandersensor 1 mit einem Messorgan 2, der auf einer Schiene 4 oder einer Bahn entlang einer Ringbank 5 mit Spinn- oder Produktionsstellen 6, 7 und 8 gleitet. Die typischen Teile einer Ringspinnmaschine, sowie die Wandersensoren zur Erfassung von Fadenbrüchen werden aus der CH 601093 als bekannt vorausgesetzt. Über eine Leitung 9 ist der Wandersensor 1 mit einer Auswerteeinheit 10 verbunden, die auch einen Ausgang 11, beispielsweise für die Ausgabe von Ausreissem oder anderen, die Qualität des Garns darstellenden Werten, aufweist. Die Übertragung der Signale vom Wandersensor 1 an die Leitung 9 erfolgt dabei entweder über den Antrieb des Wandersensors wie in der genannten CH 601 093 beschrieben, oder aber über die leitend ausgebildete Schiene 4.
    In Fig. 2 sind wiederum einige der aus Fig. 1 bekannten Elemente zu sehen, nämlich insbesondere eine Spinnstelle 7 mit einer Spule 12, die Ringbank 5 mit einem Ring 13 und einem Ringläufer 14, die Schiene 4 mit dem Wandersensor 1, sowie das Messorgan 2. Man erkennt hier auch das Garn 15, das den bekannten Ballon 16 bildet.
    Fig. 3 zeigt eine Ausführung eines Wandersensors 17 mit einem optisch arbeitenden Messorgan 18 und beidseitig davon angeordneten Lichtquellen 19 und 20, die so ausgerichtet sind, dass die Oberfläche 21 einer Spule beleuchtet wird.
    Fig. 4 zeigt eine Ausführung eines Wandersensors 22 mit einem optisch arbeitenden Messorgan 23 und beidseitig davon angeordneten Lichtquellen 24 und 25, die so ausgerichtet sind, dass die Laufbahn 26 oder der Ballon einer Spinnstelle beleuchtet wird.
    Fig. 5 zeigt eine Spinnstelle mit Separatoren 27, 28 und ortsfesten, daran angebrachten Spiegelelementen 29, 30. Ferner erkennt man die Laufbahn 31 des Garns 32 sowie die Schiene 33 mit einem Wandersensor 34 und seinen weiteren Stellungen 34' und 34'=, die er im Vorbeigehen zeitweise einnimmt. Auf dem Wandersensor 34 ist ein Sender 35 und ein Empfänger 36 für Wellen, vorzugsweise Licht-Wellen vorgesehen. Jedes Spiegelelement 29, 30 und die Sender 35 und Empfänger 36 weisen je eine Schnittfläche 37, 38 und 39, 40 auf, die einander in der gezeigten Stellung des Wandersensors 34 gegenüberstehen.
    Fig. 6 zeigt eine schematische Darstellung der Arbeitsweise eines Empfängers oder Messorgans 41, das mit einem vorgeschalteten Spalt 42 zusammenarbeitet.
    Fig. 7 zeigt eine schematische Darstellung der Arbeitsweise eines Empfängers oder Messorgans 43, das mit einer vorgeschalteten Linse oder einem Objektiv 44 zusammenarbeitet.
    Fig. 8 zeigt Impulse 45, 46 verschiedener Amplitude A, die proportional zum Durchmesser eines Garnes sind. Die Impulse 45, 46 sind demnach Signale, wie sie das Messorgan abgeben kann.
    Fig. 9 zeigt Impulse 47, 48 verschiedener Länge, die ebenfalls proportional zum Durchmesser eines Garnes sind. Die Impulse 47, 48 sind demnach Signale, wie sie das Messorgan abgeben kann.
    Die Wirkungsweise der Erfindung ist wie folgt:
    Das Messorgan 2 im Wandersensor 1 erfasst beim Vorbeifahren an den Spinnstellen 6, 7, 8 nicht den Ringläufer, sondern direkt das Garn 49, 50, 51, das um die Spindel rotiert. Davon wird jeweils ein Messwert, der mindestens näherungsweise dem Garndurchmesser bzw. Garnquerschnitt entspricht abgeleitet. Grundsätzlich erfasst ein solches Messorgan also jeweils nur einen Messpunkt pro Umdrehung des Garns um die Spindel und dies nur beim Vorbefahren vor der betreffenden Spindel. Durch entsprechende statistische Auswertung der Messresultate in der Auswerteeinheit 10, die deshalb aus einem entsprechend programmierten Prozessor besteht, lassen sich die Ausreisser jedoch erkennen.
    Allen nachfolgend beschriebenen möglichen Lösungen gemeinsam ist ferner das Prinzip, dass das Garn durch seine Rotation eine Veränderung des Lichtes bewirkt, das in einem Empfänger in einem Wandersensor aufgenommen wird. Dabei muss die Veränderung des empfangenen Lichtes eine gute Korrelation zum Garndurchmesser und damit auch zum Garnquerschnitt aufweisen.
    Ein erstes Beispiel für ein spezielles Messorgan zur Erfassung des Garndurchmessers zeigen die Figuren 2 bis 4. Dabei wird das Garn oberhalb des Ringes 13 mit mindestens einer, besser aber mit zwei sich kreuzenden Lichtquellen 19, 20 oder 24, 25 angestrahlt. Der Bereich der Lichtstrahlen ist in Fig. 3 und 4 gestrichelt angedeutet. Ein lichtempfindliches Messorgan 23 (Fig. 4) ist nun so ausgebildet, dass es das vom Garn reflektierte Licht nur in einem sehr kurzen Bereich aufnimmt. Das Messorgan 18 gemäss Fig. 3 dagegen nimmt das vom Garn abgeschattete Licht in einem kurzen Bereiche auf. Im weiteren kann das Garn zur Messung so erscheinen, wie wenn es nur durch einem schmalen Schlitz betrachtet würde, was mit der Anordnung gemäss Fig. 6 angedeutet ist. Dabei strahlt das Garn 52 sein reflektiertes Licht durch den Spalt 42 auf das Messorgan 41, hier beispielsweise als Fotoelement ausgebildet, ab.
    Besser als ein Spalt ist eine Optik 44 mit mindestens einer Linse, wie sie prinzipiell in Fig.7 dargestellt ist. Die Theorie der Optik ist bekannt und muss damit nicht weiter erläutert werden.
    Bei jeder Umdrehung des Garnes ergibt sich ein Impuls. Je nach scheinbarer Breite des Spaltes 42 sind zwei verschiedene Auswerteverfahren möglich. Ist das Garn immer dünner als die Spaltbreite, so ergibt sich ein Impuls wie er typisch in Fig. 8 aufgezeigt ist. Je grösser der Garndurchmesser, umso grösser ist die Amplitude A des Impulses. Ist der Garndurchmesser hingegen immer grösser als die Spaltbreite, so ergibt sich ein typischer Impulsverlauf gemäss Fig. 9. In diesem Falle ist die Zeit T1, T2 ein Mass für den Garndurchmesser. Für die Signalverabeitung in Prozessoren ist die Variante mit der Zeitmessung günstiger.
    Eine andere Möglichkeit zur Erfassung des Garndurchmessers ist in Fig. 3 dargestellt. Hierbei wird statt des Garnes der Spinncops auf seiner Oberfläche 21 hinter dem rotierenden Garn angestrahlt Das Garn wird von den Lichtstrahlen nicht beleuchtet. Es bleibt in dessen Schatten. Der Spinncops reflektiert nun Licht auf das Messorgan, dessen Optik im Prinzip wie im vorangehenden Beispiel ausgeführt sein kann. Im Gegensatz zum vorangehenden Beispiel erfolgt nun jedoch eine Abschattung des reflektierten Lichtes durch das Garn. Statt eines Lichtimpulses, wie im vorangehenden Beispiel, wird in diesem Falle der Abschattungsimpuls ausgewertet.
    Um Einflüsse durch Fremdlicht zu vermeiden, ist es vorteilhaft, z.B. Infrarotlicht zu verwenden, oder das Licht der Lichtsender 19 bis 25 zu modulieren und nach dem Empfang wieder zu demodulieren.
    Ein weiteres Ausführungsbeispiel zeigt Fig. 5. Hierbei wird das Licht vom Lichtsender 35 über Spiegelelemente 30, 29 zum Lichtempfänger 36 umgelenkt. Im Beispiel in Fig. 5 werden zwei Spiegel 29 und 30 verwendet. Der Lichtempfänger 36 ist wiederum nur mit einem Spalt ausgestattet. In diesem Beispiel wird der Lichtstrahl durch das rotierende Garn abgeschwächt oder ganz unterbrochen. Es gelten für die Impulse und die Optik die gleichen Überlegungen wie bei den obigen Beispielen. Die Geschwindigkeit mit der der Wandersensor 34 bewegt wird ist natürlich viel kleiner als die Geschwindigkeit mit der das Garn um die Spule rotiert. Deshalb wird mindestens einmal pro Durchgang des Wandersensors 34 die gezeigte Stellung, bei der das Garn 32 in den Lichtstrahl 53 fällt, auftreten.
    Wenn sich der Wandersensor der Spindel nähert, ergeben sich vorerst nur schwache Impulse, die dann immer stärker werden bis zu einem Maximum, wenn sich der Wandersensor direkt vor der Spindel befindet. Nachher werden die Impulse wieder schwächer. Es ergibt sich also eine ganze Reihe von Lichtimpulsen. Damit stets reproduzierbare Werte erhalten werden, soll z.B. jeweils nur der Maximalwert, oder der Mittelwert von ein paar Impulsen vor und nach dem Maximalwert, als eigentlicher Messwert erachtet werden.
    In den obigen Ausführungen ist gezeigt, wie jeweils ein einzelner Messwert pro Spindel erhalten werden kann. Diese Messwerte können nun in bekannter Weise pro Spindel gespeichert werden. Aus diesen Messwerten kann dann die Streuung berechnet werden. Diejenigen Spindeln, bei denen die Streuung am grössten ist, sind die gesuchten Spindeln, die Ausreisser im Garn produzieren.
    Die Messwerte können auch pro Durchgang des Wandersensors entlang der ganzen Ringspinnmaschine gemittelt werden. Dadurch kann der zeitliche Verlauf der Ungleichmässigkeit pro Ringspinnmaschinenseite verfolgt werden. Veränderungen wie sie beispielsweise durch Klimastörungen, Rohmaterialschwankungen und dergleichen auftreten können, lassen sich derart unmittelbar feststellen, im Gegensatz zur üblichen Stichprobenentnahme mit anschliessender Prüfung im Labor.

    Claims (9)

    1. Vorrichtung zur Überwachung von Garnen an Spinnmaschinen, mit einem Wandersensor (1), der längs einer Bahn (4) vor den Produktionsstellen fahrbar angeordnet ist, dadurch gekennzeichnet, dass der Wandersensor zur Erfassung des Durchmessers des Garns ausgebildet und angeordnet ist.
    2. Vorrichtung nach Anspruch 1, dadurch gekennzeichnet, dass der Wandersensor ein optisch arbeitendes Messorgan (2) aufweist.
    3. Vorrichtung nach Anspruch 1, dadurch gekennzeichnet, dass der Wandersensor oberhalb einer Ringbank (5) im Bereiche eines Ballons (16) angeordnet ist.
    4. Vorrichtung nach Anspruch 1, dadurch gekennzeichnet, dass der Wandersensor mit einer Auswerteeinheit (10) verbunden ist.
    5. Vorrichtung nach Anspruch 1, dadurch gekennzeichnet, dass der Wandersensor Lichtquellen (19, 20, 24, 25, 35) aufweist.
    6. Vorrichtung nach Anspruch 1, dadurch gekennzeichnet, dass der Wandersensor einen Empfänger (36) aufweist.
    7. Vorrichtung nach Anspruch 1, dadurch gekennzeichnet, dass dem Wandersensor (1) für jede Spindel ortsfeste Spiegelelemente (29, 30) zugeordnet sind.
    8. Vorrichtung nach Anspruch 5, dadurch gekennzeichnet, dass die Lichtquellen moduliert sind.
    9. Vorrichtung nach Anspruch 2, dadurch gekennzeichnet, dass das Messorgan zur Auswertung von Lichtveränderungen ausgebildet ist, die durch das rotierende Garn verursacht sind.
    EP98122732A 1997-12-17 1998-11-30 Vorrichtung zur Ueberwachung von Garnen an Ringspinnmaschinen Expired - Lifetime EP0924324B1 (de)

    Applications Claiming Priority (2)

    Application Number Priority Date Filing Date Title
    CH289097 1997-12-17
    CH289097 1997-12-17

    Publications (2)

    Publication Number Publication Date
    EP0924324A1 true EP0924324A1 (de) 1999-06-23
    EP0924324B1 EP0924324B1 (de) 2002-09-04

    Family

    ID=4243905

    Family Applications (1)

    Application Number Title Priority Date Filing Date
    EP98122732A Expired - Lifetime EP0924324B1 (de) 1997-12-17 1998-11-30 Vorrichtung zur Ueberwachung von Garnen an Ringspinnmaschinen

    Country Status (5)

    Country Link
    US (1) US6112508A (de)
    EP (1) EP0924324B1 (de)
    JP (1) JPH11269729A (de)
    CN (1) CN1154759C (de)
    DE (1) DE59805401D1 (de)

    Cited By (2)

    * Cited by examiner, † Cited by third party
    Publication number Priority date Publication date Assignee Title
    WO2001051397A1 (de) * 2000-01-14 2001-07-19 Zellweger Luwa Ag Verfahren zur erfassung von qualitätsmerkmalen an garn
    WO2019227241A1 (de) * 2018-05-28 2019-12-05 Uster Technologies Ag Ringspinnanlage und verfahren zu ihrem betrieb

    Families Citing this family (17)

    * Cited by examiner, † Cited by third party
    Publication number Priority date Publication date Assignee Title
    DE10020694A1 (de) * 2000-04-27 2001-10-31 Stahlecker Fritz Spinnmaschine mit einer Vielzahl von Spinnstellen
    JP2005535794A (ja) * 2002-08-13 2005-11-24 マシーネンファブリク リーター アクチェンゲゼルシャフト リング紡糸機のためのセンサ装置
    ES2316282B1 (es) * 2007-05-18 2010-01-26 Twistechnology S.L. Sistema de torcido de hilo en maquinas retorcedoras e hiladoras.
    WO2009073993A1 (de) * 2007-12-13 2009-06-18 Uster Technologies Ag Vorrichtung und verfahren zur überwachung einer mehrzahl von arbeitsstellen einer ringspinnmaschine
    US7918387B2 (en) * 2008-11-04 2011-04-05 Jerome Kahn Thread identification system
    US20100224112A1 (en) * 2009-03-05 2010-09-09 Jerome Kahn Automatic sizing of embroidery
    EP2284303B1 (de) * 2009-08-12 2011-11-23 Karl Mayer Textilmaschinenfabrik GmbH Drehgatter einer Musterkettenschärmaschine, Musterkettenschärmaschine und Verfahren zum Messen eines Spulendurchmessers
    JP5796558B2 (ja) * 2012-09-05 2015-10-21 株式会社豊田自動織機 紡機の糸検出装置
    CN102995188A (zh) * 2012-11-30 2013-03-27 宁波瑞能电子科技有限公司 断纱检测机构
    CN103498225B (zh) * 2013-06-09 2015-07-01 江南大学 环锭纺细纱机工作状态的监测方法及判断方法
    CN104420035B (zh) * 2013-08-28 2016-10-12 江南大学 赛络纺粗纱断条检测与指示装置
    CN103981607B (zh) * 2014-05-23 2016-08-17 汪建建 一种螺旋光电清纱器
    DE102016001099A1 (de) * 2016-02-02 2017-08-03 Saurer Germany Gmbh & Co. Kg Vorrichtung und Verfahren zum Ermitteln des Durchmessers eines durch einen laufenden Faden gebildeten Fadenballons an einer Arbeitsstelle einer fadenballonbildenden Textilmaschine
    CN107815761A (zh) 2016-09-13 2018-03-20 第伊沃尔维克斯私人有限公司 用于加工连续条状纺织材料的机器的测量系统
    CN111926427B (zh) * 2020-08-07 2021-12-28 苏州汇川技术有限公司 单锭检测系统、控制方法、设备和存储介质
    DE102022132168B4 (de) * 2021-12-07 2024-01-11 Oerlikon Textile Gmbh & Co. Kg Vorrichtung und Verfahren zum Aufwickeln eines Schmelzspinnfadens
    CN117568965A (zh) * 2023-11-08 2024-02-20 宜昌经纬纺机有限公司 测距判断纱线张力异常的方法

    Citations (5)

    * Cited by examiner, † Cited by third party
    Publication number Priority date Publication date Assignee Title
    DE2558297B1 (de) * 1975-12-04 1977-06-16 Peyer Siegfried Verfahren zum herstellen eines elektrischen abbildes des einen garnreiniger durchlaufenden fadens und garnreiniger zum durchfuehren des verfahrens
    US4112665A (en) * 1977-06-23 1978-09-12 Parks-Cramer Company Plural sensor ends down detecting apparatus
    DE2750153A1 (de) * 1977-03-21 1978-09-28 Zellweger Uster Ag Verfahren und vorrichtung zur auswertung von garnsignalen in bezug auf der ungleichmaessigkeit ueberlagerte, mindestens angenaehert periodische anteile
    JPS62154915A (ja) * 1985-12-27 1987-07-09 Hitachi Comput Eng Corp Ltd 半導体集積回路装置
    EP0286046A1 (de) * 1987-04-10 1988-10-12 Zellweger Uster Ag Vorrichtung zur Ueberwachung der Produktionsstellen an mehrspindligen Textilmaschinen

    Family Cites Families (12)

    * Cited by examiner, † Cited by third party
    Publication number Priority date Publication date Assignee Title
    US3498039A (en) * 1968-07-29 1970-03-03 Leesona Corp Control system
    US3638412A (en) * 1970-05-01 1972-02-01 Leesona Corp Textile machine
    US3672143A (en) * 1970-10-20 1972-06-27 Leesona Corp Doffing apparatus and method
    US3803822A (en) * 1970-12-14 1974-04-16 Parks Cramer Co Radiation sensitive ends down detecting apparatus and method
    US3789595A (en) * 1971-12-20 1974-02-05 Leesona Corp Automatic control system for correcting textile machinery malfunctions from sensed and stored malfunction data
    US3945181A (en) * 1973-08-11 1976-03-23 Toray Industries, Inc. Process and apparatus for measuring uniformity of physical properties of yarn
    US3902308A (en) * 1973-09-19 1975-09-02 Leesona Corp Optical sensing system for textile apparatus
    CH601093A5 (de) * 1976-11-05 1978-06-30 Zellweger Uster Ag
    DE3028453A1 (de) * 1980-07-26 1982-03-18 Zinser Textilmaschinen Gmbh, 7333 Ebersbach Spinnmaschine
    JPS5862511A (ja) * 1981-10-09 1983-04-14 Murata Mach Ltd 糸ムラ情報の解析方法および解析装置
    CH675133A5 (de) * 1987-07-06 1990-08-31 Zellweger Uster Ag
    DE4119382A1 (de) * 1991-06-12 1992-12-17 Zinser Textilmaschinen Gmbh Verfahren und vorrichtung zum suchen eines fadenendes oder aufwerfen eines hilfsfadens an einem kops bzw. an einen kops oder eine leere huelse

    Patent Citations (5)

    * Cited by examiner, † Cited by third party
    Publication number Priority date Publication date Assignee Title
    DE2558297B1 (de) * 1975-12-04 1977-06-16 Peyer Siegfried Verfahren zum herstellen eines elektrischen abbildes des einen garnreiniger durchlaufenden fadens und garnreiniger zum durchfuehren des verfahrens
    DE2750153A1 (de) * 1977-03-21 1978-09-28 Zellweger Uster Ag Verfahren und vorrichtung zur auswertung von garnsignalen in bezug auf der ungleichmaessigkeit ueberlagerte, mindestens angenaehert periodische anteile
    US4112665A (en) * 1977-06-23 1978-09-12 Parks-Cramer Company Plural sensor ends down detecting apparatus
    JPS62154915A (ja) * 1985-12-27 1987-07-09 Hitachi Comput Eng Corp Ltd 半導体集積回路装置
    EP0286046A1 (de) * 1987-04-10 1988-10-12 Zellweger Uster Ag Vorrichtung zur Ueberwachung der Produktionsstellen an mehrspindligen Textilmaschinen

    Non-Patent Citations (1)

    * Cited by examiner, † Cited by third party
    Title
    PATENT ABSTRACTS OF JAPAN vol. 13, no. 179 (C - 590) 26 April 1989 (1989-04-26) *

    Cited By (2)

    * Cited by examiner, † Cited by third party
    Publication number Priority date Publication date Assignee Title
    WO2001051397A1 (de) * 2000-01-14 2001-07-19 Zellweger Luwa Ag Verfahren zur erfassung von qualitätsmerkmalen an garn
    WO2019227241A1 (de) * 2018-05-28 2019-12-05 Uster Technologies Ag Ringspinnanlage und verfahren zu ihrem betrieb

    Also Published As

    Publication number Publication date
    JPH11269729A (ja) 1999-10-05
    CN1230608A (zh) 1999-10-06
    EP0924324B1 (de) 2002-09-04
    CN1154759C (zh) 2004-06-23
    DE59805401D1 (de) 2002-10-10
    US6112508A (en) 2000-09-05

    Similar Documents

    Publication Publication Date Title
    EP0924324B1 (de) Vorrichtung zur Ueberwachung von Garnen an Ringspinnmaschinen
    EP0572592B1 (de) Fremdfasererkennung in garnen
    EP0891436B1 (de) Verfahren und vorrichtung zur qualitätsüberwachung von garnen
    EP0761585B1 (de) Garnsensor
    EP1143236B1 (de) Verfahren und Vorrichtung zur optischen Detektion von Verunreinigungen, insbesondere Fremdfasern, in längsbewegtem Garn
    EP1655599B1 (de) Garnsensor
    WO2008012093A2 (de) Verfahren und anordnung zur bestimmung der garnqualität und/oder spulenqualität eines laufenden fadens auf basis der laser-doppler-anemometrie
    DE2839439A1 (de) Verfahren und vorrichtung zum bestimmen des verschlingungsgrades in multifilamentgarnen aus miteinander verschlungenen einzelfilamenten
    EP0282742A1 (de) Verfahren und Vorrichtung zur On-line Produktions- und Qualitätsüberwachung an Textilmaschinen
    DE10161502A1 (de) Verfahren und Vorrichtung zur kontinuierlichen Ermittlung und Lokalisierung von Fadenfehlern einer in einer Ebene laufenden Fadenschar
    DE2700287A1 (de) Verfahren und vorrichtung zur automatischen feststellung des vorhandenseins oder nichtvorhandenseins eines fadens in einer spinnmaschine
    DE10342383A1 (de) Verfahren und Vorrichtung zum berührungslosen Bestimmen der Geschwindigkeit eines laufenden Fadens
    DE3834478C2 (de)
    EP0282745A1 (de) Verfahren und Vorrichtung zur Produktions- und Qualitätsüberwachung der Produktionsstellen an mehrspindligen Textilmaschinen
    DE10003861A1 (de) Vorrichtung zur Erfassung der Bewegung und/oder des Vorhandenseins eines Textilfaserbandes aus Baumwolle und/oder Chemiefaser, insbesondere an einer Srecke
    DE2953108A1 (en) Electro-optical control to detect filament passing through a guide-eye
    EP0927887A1 (de) Verfahren zur Erkennung periodischer Fehler in einem längsbewegten Prüfgut
    EP2042877A1 (de) Verfahren und Vorrichtung zum Messen der Geschwindigkeit eines Garns
    DE3522809A1 (de) Verfahren und messanlage zur durchmesserbestimmung der raeder von radsaetzen
    EP0565906A2 (de) Verfahren und Vorrichtung zum Erfassen von Längenungleichmässigkeiten der einzelnen Garnkomponenten eines Zwirns
    DE4034333A1 (de) Anordnung zur beruehrungslosen einzelueberwachung fadenfoermigen materials
    DE2918740A1 (de) Verfahren und vorrichtung zur gewinnung elektrischer signale, die dem querschnitt von garnen, vorgarnen oder baendern entsprechen und von der fadengeschwindigkeit unabhaengig sind
    DE3640851A1 (de) Anordnung zur signalbeeinflussung in optoelektronischen mess- und ueberwachungsgeraeten, vorzugsweise fuer textile flaechengebilde, faeden und arbeitselemente an textilmaschinen
    WO2001051397A1 (de) Verfahren zur erfassung von qualitätsmerkmalen an garn
    DE3419677C2 (de)

    Legal Events

    Date Code Title Description
    PUAI Public reference made under article 153(3) epc to a published international application that has entered the european phase

    Free format text: ORIGINAL CODE: 0009012

    AK Designated contracting states

    Kind code of ref document: A1

    Designated state(s): BE CH DE FR GB IT LI

    AX Request for extension of the european patent

    Free format text: AL;LT;LV;MK;RO;SI

    17P Request for examination filed

    Effective date: 19991223

    AKX Designation fees paid

    Free format text: BE CH DE FR GB IT LI

    GRAG Despatch of communication of intention to grant

    Free format text: ORIGINAL CODE: EPIDOS AGRA

    17Q First examination report despatched

    Effective date: 20011105

    GRAG Despatch of communication of intention to grant

    Free format text: ORIGINAL CODE: EPIDOS AGRA

    GRAH Despatch of communication of intention to grant a patent

    Free format text: ORIGINAL CODE: EPIDOS IGRA

    GRAH Despatch of communication of intention to grant a patent

    Free format text: ORIGINAL CODE: EPIDOS IGRA

    GRAA (expected) grant

    Free format text: ORIGINAL CODE: 0009210

    AK Designated contracting states

    Kind code of ref document: B1

    Designated state(s): BE CH DE FR GB IT LI

    PG25 Lapsed in a contracting state [announced via postgrant information from national office to epo]

    Ref country code: GB

    Free format text: LAPSE BECAUSE OF FAILURE TO SUBMIT A TRANSLATION OF THE DESCRIPTION OR TO PAY THE FEE WITHIN THE PRESCRIBED TIME-LIMIT

    Effective date: 20020904

    REG Reference to a national code

    Ref country code: GB

    Ref legal event code: FG4D

    Free format text: NOT ENGLISH

    REG Reference to a national code

    Ref country code: CH

    Ref legal event code: EP

    REF Corresponds to:

    Ref document number: 59805401

    Country of ref document: DE

    Date of ref document: 20021010

    GBV Gb: ep patent (uk) treated as always having been void in accordance with gb section 77(7)/1977 [no translation filed]

    Effective date: 20020904

    REG Reference to a national code

    Ref country code: CH

    Ref legal event code: PUE

    Owner name: USTER TECHNOLOGIES AG

    Free format text: ZELLWEGER LUWA AG#WILSTRASSE 11#8610 USTER (CH) -TRANSFER TO- USTER TECHNOLOGIES AG#WILSTRASSE 11#8610 USTER (CH)

    ET Fr: translation filed
    PLBE No opposition filed within time limit

    Free format text: ORIGINAL CODE: 0009261

    STAA Information on the status of an ep patent application or granted ep patent

    Free format text: STATUS: NO OPPOSITION FILED WITHIN TIME LIMIT

    26N No opposition filed

    Effective date: 20030605

    REG Reference to a national code

    Ref country code: FR

    Ref legal event code: TP

    PGFP Annual fee paid to national office [announced via postgrant information from national office to epo]

    Ref country code: FR

    Payment date: 20061108

    Year of fee payment: 9

    PGFP Annual fee paid to national office [announced via postgrant information from national office to epo]

    Ref country code: DE

    Payment date: 20071122

    Year of fee payment: 10

    PGFP Annual fee paid to national office [announced via postgrant information from national office to epo]

    Ref country code: CH

    Payment date: 20071128

    Year of fee payment: 10

    Ref country code: IT

    Payment date: 20071123

    Year of fee payment: 10

    PGFP Annual fee paid to national office [announced via postgrant information from national office to epo]

    Ref country code: BE

    Payment date: 20071130

    Year of fee payment: 10

    REG Reference to a national code

    Ref country code: FR

    Ref legal event code: ST

    Effective date: 20080930

    PG25 Lapsed in a contracting state [announced via postgrant information from national office to epo]

    Ref country code: FR

    Free format text: LAPSE BECAUSE OF NON-PAYMENT OF DUE FEES

    Effective date: 20071130

    BERE Be: lapsed

    Owner name: *USTER TECHNOLOGIES A.G.

    Effective date: 20081130

    REG Reference to a national code

    Ref country code: CH

    Ref legal event code: PL

    PG25 Lapsed in a contracting state [announced via postgrant information from national office to epo]

    Ref country code: IT

    Free format text: LAPSE BECAUSE OF NON-PAYMENT OF DUE FEES

    Effective date: 20081130

    PG25 Lapsed in a contracting state [announced via postgrant information from national office to epo]

    Ref country code: BE

    Free format text: LAPSE BECAUSE OF NON-PAYMENT OF DUE FEES

    Effective date: 20081130

    PG25 Lapsed in a contracting state [announced via postgrant information from national office to epo]

    Ref country code: LI

    Free format text: LAPSE BECAUSE OF NON-PAYMENT OF DUE FEES

    Effective date: 20081130

    Ref country code: DE

    Free format text: LAPSE BECAUSE OF NON-PAYMENT OF DUE FEES

    Effective date: 20090603

    Ref country code: CH

    Free format text: LAPSE BECAUSE OF NON-PAYMENT OF DUE FEES

    Effective date: 20081130