EP0919686A2 - Tür- oder Fensterband - Google Patents

Tür- oder Fensterband Download PDF

Info

Publication number
EP0919686A2
EP0919686A2 EP98122090A EP98122090A EP0919686A2 EP 0919686 A2 EP0919686 A2 EP 0919686A2 EP 98122090 A EP98122090 A EP 98122090A EP 98122090 A EP98122090 A EP 98122090A EP 0919686 A2 EP0919686 A2 EP 0919686A2
Authority
EP
European Patent Office
Prior art keywords
hinge
door
wing
window
sash
Prior art date
Legal status (The legal status is an assumption and is not a legal conclusion. Google has not performed a legal analysis and makes no representation as to the accuracy of the status listed.)
Granted
Application number
EP98122090A
Other languages
English (en)
French (fr)
Other versions
EP0919686B1 (de
EP0919686A3 (de
Inventor
Michael Albert Piqeur
Current Assignee (The listed assignees may be inaccurate. Google has not performed a legal analysis and makes no representation or warranty as to the accuracy of the list.)
Roto Frank AG
Original Assignee
Niemann Hans-Dieter
Roto Frank AG
Priority date (The priority date is an assumption and is not a legal conclusion. Google has not performed a legal analysis and makes no representation as to the accuracy of the date listed.)
Filing date
Publication date
Family has litigation
First worldwide family litigation filed litigation Critical https://patents.darts-ip.com/?family=8049210&utm_source=google_patent&utm_medium=platform_link&utm_campaign=public_patent_search&patent=EP0919686(A2) "Global patent litigation dataset” by Darts-ip is licensed under a Creative Commons Attribution 4.0 International License.
Application filed by Niemann Hans-Dieter, Roto Frank AG filed Critical Niemann Hans-Dieter
Publication of EP0919686A2 publication Critical patent/EP0919686A2/de
Publication of EP0919686A3 publication Critical patent/EP0919686A3/de
Application granted granted Critical
Publication of EP0919686B1 publication Critical patent/EP0919686B1/de
Anticipated expiration legal-status Critical
Expired - Lifetime legal-status Critical Current

Links

Images

Classifications

    • EFIXED CONSTRUCTIONS
    • E05LOCKS; KEYS; WINDOW OR DOOR FITTINGS; SAFES
    • E05DHINGES OR SUSPENSION DEVICES FOR DOORS, WINDOWS OR WINGS
    • E05D7/00Hinges or pivots of special construction
    • E05D7/04Hinges adjustable relative to the wing or the frame
    • E05D7/0415Hinges adjustable relative to the wing or the frame with adjusting drive means
    • E05D7/0423Screw-and-nut mechanisms
    • EFIXED CONSTRUCTIONS
    • E05LOCKS; KEYS; WINDOW OR DOOR FITTINGS; SAFES
    • E05DHINGES OR SUSPENSION DEVICES FOR DOORS, WINDOWS OR WINGS
    • E05D7/00Hinges or pivots of special construction
    • E05D7/0009Adjustable hinges
    • E05D7/0018Adjustable hinges at the hinge axis
    • E05D7/0027Adjustable hinges at the hinge axis in an axial direction
    • EFIXED CONSTRUCTIONS
    • E05LOCKS; KEYS; WINDOW OR DOOR FITTINGS; SAFES
    • E05DHINGES OR SUSPENSION DEVICES FOR DOORS, WINDOWS OR WINGS
    • E05D7/00Hinges or pivots of special construction
    • E05D7/0009Adjustable hinges
    • E05D7/0018Adjustable hinges at the hinge axis
    • E05D7/0045Adjustable hinges at the hinge axis in a radial direction
    • E05D7/0054Adjustable hinges at the hinge axis in a radial direction by means of eccentric parts
    • EFIXED CONSTRUCTIONS
    • E05LOCKS; KEYS; WINDOW OR DOOR FITTINGS; SAFES
    • E05DHINGES OR SUSPENSION DEVICES FOR DOORS, WINDOWS OR WINGS
    • E05D11/00Additional features or accessories of hinges
    • E05D11/0018Anti-tamper devices
    • EFIXED CONSTRUCTIONS
    • E05LOCKS; KEYS; WINDOW OR DOOR FITTINGS; SAFES
    • E05DHINGES OR SUSPENSION DEVICES FOR DOORS, WINDOWS OR WINGS
    • E05D11/00Additional features or accessories of hinges
    • E05D11/0054Covers, e.g. for protection
    • EFIXED CONSTRUCTIONS
    • E05LOCKS; KEYS; WINDOW OR DOOR FITTINGS; SAFES
    • E05DHINGES OR SUSPENSION DEVICES FOR DOORS, WINDOWS OR WINGS
    • E05D7/00Hinges or pivots of special construction
    • E05D7/04Hinges adjustable relative to the wing or the frame
    • E05D2007/0484Hinges adjustable relative to the wing or the frame in a radial direction
    • EFIXED CONSTRUCTIONS
    • E05LOCKS; KEYS; WINDOW OR DOOR FITTINGS; SAFES
    • E05DHINGES OR SUSPENSION DEVICES FOR DOORS, WINDOWS OR WINGS
    • E05D5/00Construction of single parts, e.g. the parts for attachment
    • E05D5/02Parts for attachment, e.g. flaps
    • E05D5/0215Parts for attachment, e.g. flaps for attachment to profile members or the like
    • E05D5/0223Parts for attachment, e.g. flaps for attachment to profile members or the like with parts, e.g. screws, extending through the profile wall or engaging profile grooves
    • E05D5/023Parts for attachment, e.g. flaps for attachment to profile members or the like with parts, e.g. screws, extending through the profile wall or engaging profile grooves with parts extending through the profile wall
    • EFIXED CONSTRUCTIONS
    • E05LOCKS; KEYS; WINDOW OR DOOR FITTINGS; SAFES
    • E05DHINGES OR SUSPENSION DEVICES FOR DOORS, WINDOWS OR WINGS
    • E05D5/00Construction of single parts, e.g. the parts for attachment
    • E05D5/10Pins, sockets or sleeves; Removable pins
    • E05D5/14Construction of sockets or sleeves
    • EFIXED CONSTRUCTIONS
    • E05LOCKS; KEYS; WINDOW OR DOOR FITTINGS; SAFES
    • E05YINDEXING SCHEME ASSOCIATED WITH SUBCLASSES E05D AND E05F, RELATING TO CONSTRUCTION ELEMENTS, ELECTRIC CONTROL, POWER SUPPLY, POWER SIGNAL OR TRANSMISSION, USER INTERFACES, MOUNTING OR COUPLING, DETAILS, ACCESSORIES, AUXILIARY OPERATIONS NOT OTHERWISE PROVIDED FOR, APPLICATION THEREOF
    • E05Y2900/00Application of doors, windows, wings or fittings thereof
    • E05Y2900/10Application of doors, windows, wings or fittings thereof for buildings or parts thereof
    • E05Y2900/13Type of wing
    • E05Y2900/132Doors
    • EFIXED CONSTRUCTIONS
    • E05LOCKS; KEYS; WINDOW OR DOOR FITTINGS; SAFES
    • E05YINDEXING SCHEME ASSOCIATED WITH SUBCLASSES E05D AND E05F, RELATING TO CONSTRUCTION ELEMENTS, ELECTRIC CONTROL, POWER SUPPLY, POWER SIGNAL OR TRANSMISSION, USER INTERFACES, MOUNTING OR COUPLING, DETAILS, ACCESSORIES, AUXILIARY OPERATIONS NOT OTHERWISE PROVIDED FOR, APPLICATION THEREOF
    • E05Y2900/00Application of doors, windows, wings or fittings thereof
    • E05Y2900/10Application of doors, windows, wings or fittings thereof for buildings or parts thereof
    • E05Y2900/13Type of wing
    • E05Y2900/148Windows

Definitions

  • the invention relates to a door or window hinge, with one against a door or window sash Wing hinge flap, which by means of spaced parallel to Wing of vertical webs hinged to a pivot bearing pin and is adjustable across the wing, with a between the webs arranged clamping plate, which on the Wing is to be fastened and against the wing hinge flap presses the wing, and with in the adjustment directions between the sash hinge and the clamping plate acting screw adjustment means, the one attached to the wing hinge flap Cap are covered.
  • a volume with the above characteristics is from the DE-GM 296 22 639 known.
  • the wing band flap is consistent U-shaped and the cap is at one end at a bottom of this Wing hinge flap set by using it with a Clasped U-shaped end.
  • this clasp is uncertain especially since the cap has a through opening at this end for the screw adjustment means to attach a lever is suitable with which the cap from the wing hinge flap can be lifted off.
  • the other, swivel bearing side The end of the cap is also U-shaped and encompasses the pivot bearing pin. The assembly takes place in such a way that first the cap in position to the wing hinge flap brought and then the pivot bearing pin is inserted.
  • the cap is easy to remove when the Pivot pin has been removed by force, e.g. by knocking out the pivot pin. In this case they are Sash hinge and the frame hinge separated from each other and the wing is no longer held.
  • the invention is based on the object a door or window hinge with the features mentioned above to improve so that the security against break-in increases will, in particular by an improved fixing of the cap.
  • the vertical webs of the wing hinge projecting to the wing plane are rigidly connected to one another by a connecting web, which also in the same direction perpendicular from the wing protrudes.
  • This arrangement of the connecting web causes Completing the space in which the clamping plate is arranged is in the adjustment directions.
  • Stabilization of the wing hinge in the pivot pin remote end area This stabilization means an improvement in security against intrusion, because the space is practically inaccessible. He is special inaccessible with regard to fastening the Cap, for which the connecting bridge is also basically can be available.
  • the band is expediently designed such that the The connecting bridge is just as high as the spaced parallel ones Walkways. Then the space between the webs of the Wing hinge flaps to the same extent through the connecting web shielded, as by the webs themselves a harmonious appearance of the wing hinge flap in the area of the Connecting bridge.
  • wing hinge flap results itself when the connecting web is integral with the spaced apart parallel webs.
  • Such embodiments of the tape or the wing hinge flap can by injection molding are produced, so that an additional manufacturing effort separate part connecting bridge is omitted.
  • the band can be designed so that the connecting web the end of the wing hinge flap over the distance rounded between the webs. Such a rounding saves not just material compared to an angular formation wing flap, but also gives it a pleasing look. In addition, through such Form evident that the tape in any case in this area burglarproof.
  • this is designed so that the connecting web a passage opening that can be closed with a stopper if necessary for the screw adjustment means.
  • the Passage opening cannot be used as an approach for an intrusion be used because of the connecting bridge with the wing flap is rigidly connected, unlike one reaching behind the bottom of the wing hinge flap from the outside Cap.
  • the band can be designed so that the connecting web has an abutment for one end of the cap. Training the abutment in detail is a constructive one Task. It only needs to be ensured that an otherwise immovable cap perpendicular to the wing is set.
  • wing hinge flap Another significant stabilization of the wing hinge flap is achieved in that the pivot bearing side Ends of the webs from a receiving the pivot bearing pin Bearing sleeve are firmly connected. Deformations of the Wing hinge flap or the webs of the wing hinge flap in the area the ends of these webs on the bearing side are thereby avoided. This not only makes the tape more break-proof, but is also for larger loads from the dormant or operated wing. If necessary, the wing band flap are weaker, especially in Area of its webs.
  • the band can be designed so that the pivot bearing side End of the cap is U-shaped and clutched the bearing sleeve.
  • the bearing sleeve is not only for Improved the stability of the tape, but instead also for fastening the cap. This cap attachment regardless of the presence of a pivot pin, so that there is a risk of manipulation in the rest of the area of the wing hinge flap can be significantly reduced can.
  • the tape be formed so that the cap on her on the pivot bearing side and / or on its pivot bearing remote side End is locked.
  • the band can be designed so that the wing band tab a coupling projection and the frame strap two coupling recesses designed for right / left stop having. This configuration has the advantage that the due to the component and movement tolerances required Free spaces are to be accommodated in the frame hinge part in this way is weakened less than in the reverse case.
  • the band is designed so that the wing hinge flap has a coupling projection, which in the plane of symmetry of the frame band between this and the Swivel bearing pin is arranged as well as in a single for Coupling recess designed on the right / left stop engages.
  • the coupling projection is further from the outer circumference removed the frame tape, which is the security against break-in promotes. It’s also easier to make the tape that the cap by means of a slot on the coupling projection is to be put on. Such locking is very stable, so that the fixation of the cap is improved accordingly becomes.
  • the band can be further developed so that the Frame hinge underneath a continuous bolt hole a covering wall covering this, rigidly connected to the band is provided, if necessary, a passage opening for an axle abutment that is height-adjustable in the bolt hole having.
  • the cover wall makes it impossible the pivot pin, the wing hinge and the frame hinge horizontally positively connected, upwards drive out because the cover wall has access to the bolt decidedly more difficult. Also driving out the pivot bearing pin down can be excluded if one further existing vertical support of the bolt against this should be insufficient. This cover wall too can signal to the unauthorized attacker that the tape burglarproof.
  • the axle abutment is through the cover wall captive.
  • the compactness and thus the resilience of the belt can be improved in that the frame strap itself has a recess extending over the height of the wing hinge, the one offset arrangement of the wing hinge to the wing allowed.
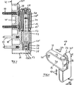
  • the door hinge shown in Fig.1 has as main components a wing hinge 33 and a frame hinge 25.
  • the wing hinge 33 is struck on the wing and the frame band 25 on one fixed frame of the door.
  • the two bands 33.25 are horizontally positive by means of a pivot bearing pin 15 coupled, consequently the wing hinge 33 with one pivoting, not shown wing about a pivot axis 15 'of the pivot bearing pin 15 is pivotable.
  • Wing hinge flap 11 An essential part of the wing hinge 33 is a Wing hinge flap 11, which has a bottom 11 '' on one wing surface shown rests. The bottom is with two Provide webs 12, 13, the distance shown in Figure 3 from each other and perpendicular to the wing contact surface of the floor 11 '' or project to the wing. Between Web 12, 13 is a clamping plate 16 in an intermediate space 22 arranged, which engages with fitting bolts 35 in the wing and it is to be fastened with fastening screws 36. A vigorous tightening of the fastening screws 36 presses the Bottom of the sash hinge 11 firmly against the window sash and thus jams the wing hinge flap 11.
  • the arrows 37 mean that the wing hinge flap 11 is horizontal parallel to the sash level in the adjustment directions 17, 18 can be adjusted according to FIG.
  • the adjustment will by the adjustment means 19 shown in FIGS. 3 and 4 causes.
  • the adjustment means 19 consist essentially of an adjusting screw 38 which with its head 38 'in a Recess 39 of the flap hinge 11 is rotatably adjustable, however axially immovable is fixed to the sash hinge 11.
  • a another essential part of the screw adjustment device 19 is a nut 40 which is attached to the clamping plate 16 is.
  • Prerequisite for such Adjustment is that the fastening screws 38 move allow the wing hinge flap 11, for example because they were loosened accordingly.
  • An adjustment of the Wing hinge flap 11 causes a corresponding adjustment of the wing, because the frame part coupled with the wing hinge 33 25 on the frame is fixed to the frame.
  • the cap 20 is present, with their Ends 20 'and 20' 'on the wing hinge flap 11 is fixed.
  • the wing hinge flap 11 has the pivot bearing on its turned end 11 'a connecting web 21, which is from the ground of the wing hinge tab 11 projects in the same direction as the webs 12, 13, i.e. perpendicular to the wing.
  • the connecting bridge 21 is in the area of the connection to the ends 12 ', 13' the bridges 12, 13 as high as these ends.
  • Fig.1 shows that the webs 12, 13 lie with their outer edges in the same plane, like the outer edge of the connecting web 21 '.
  • the connecting bridge 21 is semicircular round and thus designed the end 11 'of the wing hinge flap 11.
  • the connecting web 21 has a passage opening, which is closed by a plug 23 is. The plug 23 is removed when access to the screw adjustment means 19 should be.
  • the ends 12 ′′, 13 ′′ are in one piece with a bearing sleeve 24 connected with each other.
  • the bearing sleeve 24 encloses the pivot bearing pin 15, which is arranged in a bearing bush 41 is.
  • Their outside diameter corresponds to the inside diameter the bearing sleeve 24.
  • the outer circumference of the bearing sleeve 24 becomes U-shaped trained end 20 '' of the cap 20 clasped.
  • the cap 20 is arranged between the webs 12, 13 of the sash hinge 11 and their outer surfaces lie according to Figure 1 with the outer surfaces or edges of the webs 12, 13 flush.
  • the Cap 20 matched that the webs 12,13 from their ends 12 '', 13 '' on the pivot bearing side to their ends 12 ', Taper 13 '.
  • the end 20 'of the cap 20 is on the connecting web 21 set.
  • the connecting bridge is appropriate for this the dashed line 42 in FIG. 3 is correspondingly thinner, so that there is an undercut 43 in which the Cap end 20 'are used with an angle 44 can so that the outer surface of the cap 20 with the outer wall as abutment 45 of the cap 20 is approximately flush.
  • the end 20 '' of the cap 20 is with the wing band cap 11 locked, for which purpose a locking projection 46 and the cap 20 has a corresponding receptacle on its U-web 47.
  • the latching is in the space 48 between the Bearing sleeve 24 and the frame part 25 and is closed Wings accordingly inaccessible.
  • a wing flap is also inaccessible 11 one-piece coupling projection 27, which is in a coupling recess 26 of the frame band 25 engages.
  • the vertical to Plane height of the coupling projection 27 corresponds approximately to its thickness which can be seen in FIG.
  • the clear height of the coupling recess 26 is matched to this, as can be seen from Fig.1. Because the tape on the right and to be struck on the left are in frame 25 two symmetrical to the vertical plane of symmetry in Fig.4 Coupling recesses 26 available.
  • the frame band 25 is with a contact surface 49 on one Stripped frame, not shown, the outer surface determines the frame contact level 32 shown in FIG.
  • the attachment of the frame part serve the illustrated Fastening screws 50 in connection with the fitting bolts 51. It can be seen that the wing hinge 33 facing Surface has a recess 34 which allows the wing hinge towards the wing or towards the frame offset. This results in a correspondingly more compact one and more resilient training of the tape.
  • Pivot bearing pin 15 is mounted with his for reasons of wear upper end in a bearing bush 41 and with its lower End in a bearing bushing 51. It rests on both of them Ends of the bolt 15 separating collar 52 on the lower Bearing bush 51 from. This is inside the pin bore 28 Height-adjustable by one end 51 ' a height-adjustable axle abutment 31 is seated.
  • This Axial abutment 31 engages in an internal thread 54 of the bolt bore 28 and has a non-circular engagement recess 53, with which it is screw adjustable.
  • Screw adjustment of the axis abutment 31 to a limited Height adjustment of the wing hinge 33 and thus of the wing, as symbolized by the two arrows 55.
  • the band 10 is also in the directions of the Arrows 56 adjustable by an eccentric arrangement of the pivot bearing pin 15 within the bearing bush 41. This can be rotated within the bearing sleeve 24 and thereby moves the pivot axis 15 'on an arc about the longitudinal axis 57 of the frame hinge 25. A cap 58 engages over the bearing bush 41 above the web 12.
  • the lower end 25 'of the frame band 25 is semicircular trained round.
  • a cover wall 29 is provided for this purpose, which is formed with a clear distance to the pin bore 28.
  • a through opening 59 is located in the cover wall 29 to the axle abutment 31.
  • the free distance between the pin bore and the cover wall 29 is smaller than the height of the axle abutment 31.
  • axle abutment 31 of the assembled tape practically not again can be screwed in because it is no longer in one accessible area e.g. is located near the frame system level 32. Rather, the axle abutment 31 hangs with its thread in the internal thread 54.
  • Fig. 5 shows a modification of the hinge regarding the arrangement of a coupling projection 27 with respect to the Frame strap 25.
  • the coupling projection 27 is at the height arranged between the frame band 25 and the pivot bearing pin 15 and engages in a coupling recess 26 'which between the two side surfaces of the frame band 25 continuously is trained.
  • the clutch protrusion 27 when swiveling the sash open from the frame hinge 25 be moved regardless of whether the wing on the right or on the left.
  • the swivel range can also be compared to the anti-lift device of Fig. 4 be comparatively large. As a result, the anti-lift device up to a swivel angle of approximately 45 degrees effective.
  • the above arrangement of Coupling projection 27 between the pivot bearing pin 15 in the axis of symmetry of the frame band 25 the advantage that it as Locking abutment for the cap 20 can serve.
  • the cap 20 is provided in its U-web 47 with a slot 47 'with which the cap when it is assembled with the wing flap 11 can be locked. This is achieved, for example, that the slit narrows in the area of its mouth is.

Landscapes

  • Engineering & Computer Science (AREA)
  • Mechanical Engineering (AREA)
  • Hinges (AREA)
  • Liquid Crystal (AREA)

Abstract

Tür- oder Fensterband (10), mit einem an einem Tür- oder Fensterflügel anliegenden Flügelbandlappen, der mittels beabstandet paralleler, zum Flügel vertikaler Stege (12,13) an einem Schwenklagerbolzen angelenkt und dazu quer am Flügel verstellbar ist, mit einer zwischen den Stegen (12,13) angeordneten Klemmplatte, die unverschieblich am Flügel zu befestigen ist und dabei den Flügelbandlappen (11) gegen den Flügel preßt, und mit in den Verstellrichtungen zwischen dem Flügelbandlappen (11) und der Klemmplatte wirkenden Schraubverstellmitteln, die von einer am Flügelbandlappen (11) befestigten Kappe (20) abgedeckt sind. Um ein Tür- oder Fensterband mit den eingangs genannten Merkmalen so zu verbessern, daß die Aufbruchssicherheit gesteigert wird, insbesondere durch eine verbesserte Festlegung der Kappe, wird es so ausgebildet, daß die Stege (12,13) des Flügelbandlappens an ihren dem Schwenklagerbolzen abgewandten Enden mit einem Verbindungssteg (21) des Flügelbandlappens (11) fest miteinander verbunden sind, und daß der Verbindungssteg (21) den die Klemmplatte aufnehmenden Zwischenraum zumindest teilweise in den Verstellrichtungen abschließt. <IMAGE>

Description

Die Erfindung bezieht sich auf ein Tür- oder Fensterband, mit einem an einem Tür- oder Fensterflügel anliegenden Flügelbandlappen, der mittels beabstandet paralleler, zum Flügel vertikaler Stege an einem Schwenklagerbolzen angelenkt und dazu quer am Flügel verstellbar ist, mit einer zwischen den Stegen angeordneten Klemmplatte, die unverschieblich am Flügel zu befestigen ist und dabei den Flügelbandlappen gegen den Flügel preßt, und mit in den Verstellrichtungen zwischen dem Flügelbandlappen und der Klemmplatte wirkenden Schraubverstellmitteln, die von einer am Flügelbandlappen befestigten Kappe abgedeckt sind.
Ein Band mit den oben genannten Merkmalen ist aus der DE-GM 296 22 639 bekannt. Der Flügelbandlappen ist durchweg U-förmig und die Kappe ist mit einem Ende an einem Boden dieses Flügelbandlappens festgelegt, indem sie ihn mit einem U-förmigen Ende umklammert. Diese Umklammerung ist jedoch unsicher, zumal die Kappe an diesem Ende eine Durchgriffsöffnung für die Schraubverstellmittel aufweist, die zum Ansetzen eines Hebels geeignet ist, mit dem die Kappe vom Flügelbandlappen abgehoben werden kann. Das andere, schwenklagerseitige Ende der Kappe ist ebenfalls U-förmig ausgebildet und umgreift den Schwenklagerbolzen. Der Zusammenbau erfolgt derart, daß zunächst die Kappe in Position zum Flügelbandlappen gebracht und danach der Schwenklagerbolzen eingesetzt wird. Umgekehrt ist die Kappe jedoch leicht zu entfernen, wenn der Schwenklagerbolzen gewaltsam ausgebaut wurde, z.B. durch Ausschlagen des Schwenklagerbolzens. In diesem Fall sind der Flügelbandlappen und der Rahmenbandlappen voneinander getrennt und der Flügel ist nicht mehr gehalten.
Demgegenüber liegt der Erfindung die Aufgabe zugrunde, ein Tür- oder Fensterband mit den eingangs genannten Merkmalen so zu verbessern, daß die Aufbruchssicherheit gesteigert wird, insbesondere durch eine verbesserte Festlegung der Kappe.
Diese Aufgabe wird dadurch gelöst, daß die Stege des Flügelbandlappens an ihren dem Schwenklagerbolzen abgewandten Enden mit einem Verbindungssteg des Flügelbandlappens fest miteinander verbunden sind, und daß der Verbindungssteg den die Klemmplatte aufnehmenden Zwischenraum zumindest teilweise in den Verstellrichtungen abschließt.
Für die Erfindung ist von Bedeutung, daß die vertikal zur Flügelebene vorspringenden Stege des Flügelbandlappens durch einen Verbindungssteg miteinander starr verbunden sind, der ebenfalls in derselben Richtung senkrecht vom Flügel aus vorspringt. Diese Anordnung des Verbindungsstegs bewirkt ein Abschließen des Zwischenraums, in dem die Klemmplatte angeordnet ist, in den Verstellrichtungen. Es erfolgt eine bedeutende Stabilisierung des Flügelbandes in dessen vom Schwenklagerbolzen abgelegenen Endbereich. Diese Stabilisierung bedeutet eine Verbesserung der Einbruchssicherheit an sich, weil der Zwischenraum praktisch unzugänglich ist. Er ist insbesondere unzugänglich hinsichtlich einer Befestigung der Kappe, für die der Verbindungssteg ebenfalls grundsätzlich zur Verfügung stehen kann.
Zweckmäßigerweise wird das Band so ausgebildet, daß der Verbindungssteg ebenso hoch ist, wie die beabstandet parallelen Stege. Dann ist der Zwischenraum zwischen den Stegen des Flügelbandlappens in gleichem Maße durch den Verbindungssteg abgeschirmt, wie durch die Stege selbst. Außerdem ergibt sich ein harmonisches Äußeres des Flügelbandlappens im Bereich des Verbindungsstegs.
Ein optimale Festigkeit des Flügelbandlappens ergibt sich, wenn der Verbindungssteg einstückig mit den beabstandet parallelen Stegen ist. Derartige Ausführungsformen des Bandes bzw. des Flügelbandlappens können durch dessen Spritzgießen hergestellt werden, so daß ein Herstellungsmehraufwand eines separatteiligen Verbindungsstegs entfällt.
Das Band kann so ausgebildet werden, daß der Verbindungssteg das Ende des Flügelbandlappens über den Abstand zwischen den Stegen abrundet. Eine solche Abrundung spart nicht nur Werkstoff im Vergleich zu einer eckigen Ausbildung eines Flügelbandlappens, sondern gibt diesem zugleich auch ein gefälliges Aussehen. Darüber hinaus ist durch eine solche Form augenscheinlich, daß das Band jedenfalls in diesem Bereich einbruchssicher ist.
Um die Schraubverstellmittel des Bandes betätigen zu können, wird dieses so ausgebildet, daß der Verbindungssteg eine bedarfsweise mit einem Stopfen verschließbare Durchgriffsöffnung für die Schraubverstellmittel aufweist. Die Durchtrittsöffnung kann hier nicht als Ansatz für ein Aufbruchsmittel verwendet werden, weil der Verbindungssteg mit dem Flügelbandlappen starr verbunden ist, anders als bei einer den Boden des Flügelbandlappens von außen hintergreifenden Kappe.
Damit die Kappe mit dem Flügelbandlappen verbunden werden kann, kann das Band so ausgebildet sein, daß der Verbindungssteg ein Widerlager für ein Ende der Kappe hat. Die Ausbildung des Widerlagers im einzelnen ist eine konstruktive Aufgabe. Es braucht lediglich gewährleistet zu werden, daß eine im übrigen unverschiebliche Kappe senkrecht zum Flügel festgelegt ist.
Eine weitere bedeutende Stabilisierung des Flügelbandlappens wird dadurch erreicht, daß die schwenklagerseitigen Enden der Stege von einer den Schwenklagerbolzen aufnehmenden Lagerhülse fest miteinander verbunden sind. Verformungen des Flügelbandlappens bzw. der Stege des Flügelbandlappens im Bereich der lagerseitigen Enden dieser Stege werden dadurch vermieden. Das Band wird dadurch nicht nur aufbruchssicherer, sondern ist auch für größere Belastungen durch den ruhenden oder betätigten Flügel geeignet. Bedarfsweise kann der Flügelbandlappen schwächer ausgebildet werden, insbesondere im Bereich seiner Stege.
Das Band kann so ausgebildet werden, daß das schwenklagerseitige Ende der Kappe U-förmig ist und die Lagerhülse umklammert. In diesem Fall wird die Lagerhülse nicht nur zur Verbesserung der Stabilität des Bandes herangezogen, sondern zugleich auch zur Befestigung der Kappe. Diese Kappenbefestigung wird unabhängig von dem Vorhandensein eines Schwenklagerbolzens, so daß eine Manipulationsgefahr im übrigen Bereich des Flügelbandlappens erheblich herabgesetzt werden kann.
Um die Fixierung der Kappe weiterhin zu verbessern, kann das Band so ausgebildet werden, daß die Kappe an ihrem schwenklagerseitigen und/oder an ihrem schwenklagerabgewandten Ende verrastet ist.
Ein weitere erhebliche Verbesserung der Aufbruchssicherheit des Flügels ergibt sich, wenn das Band so ausgebildet wird, daß der Flügelbandlappen mit einem Rahmenband mittels eines in eine Kupplungsausnehmung eingreifenden Kupplungsvorsprungs bei geschlossenem Flügel vertikal formschlüssig kuppelbar ist. Insbesondere wird ein Ausheben des Flügels entschieden erschwert, weil die formschlüssige Kupplung des Flügelbandlappens mit dem Rahmenbandteil eine Abstützung des Flügels am Rahmen bewirkt, die gewaltsam nicht zu überwinden ist. Hierzu kann das Band so ausgebildet werden, daß der Flügelbandlappen einen Kupplungsvorsprung und das Rahmenband zwei für Rechts/Linksanschlag ausgelegte Kupplungsausnehmungen aufweist. Diese Ausgestaltung hat den Vorteil, daß die aufgrund der Bauteils- und Bewegungstoleranzen erforderlichen Freiräume im Rahmenbandteil unterzubringen sind, daß hierdurch weniger geschwächt wird, als im umgekehrten Fall.
Praktisch ist es, wenn das Band so ausgebildet wird, daß der Flügelbandlappen einen Kupplungsvorsprung hat, der in der Symmetrieebene des Rahmenbands zwischen diesem und dem Schwenklagerbolzen angeordnet ist sowie in eine einzige für Rechts/Linksanschlag ausgelegte Kupplungsausnehmung eingreift. Der Kupplungsvorsprung liegt weiter von dem Außenumfang des Rahmenbandes entfernt, was die Aufbruchsicherheit fördert. Es ist dann auch einfacher, das Band so auszubilden, daß die Kappe mittels eines Schlitzes auf den Kupplungsvorsprung aufzustecken ist. Eine derartige Verrastung ist sehr stabil, so daß die Fixierung der Kappe entsprechend verbessert wird.
Das Band kann dahingehend weitergebildet werden, daß das Rahmenband unterhalb einer durchgängigen Bolzenbohrung mit einer diese abdeckenden, mit dem Band starr verbundenen Abdeckwand versehen ist, die bedarfsweise eine Durchgriffsöffnung für ein in der Bolzenbohrung höhenverstellbares Achsenwiderlager aufweist. Durch die Abdeckwand ist es unmöglich, den Schwenklagerbolzen, der das Flügelband und das Rahmenband horizontal formschlüssig miteinander verbindet, nach oben auszutreiben, weil die Abdeckwand einen Zugriff zum Bolzen entschieden erschwert. Auch ein Austreiben des Schwenklagerbolzens nach unten kann ausgeschlossen werden, falls eine des weiteren vorhandene vertikale Abstützung des Bolzens hiergegen unzureichend sein sollte. Auch diese Abdeckwand kann dem unbefugten Angreifer signalisieren, daß das Band einbruchssicher ist. Durch die Abdeckwand ist das Achsenwiderlager unverlierbar.
Besonders montage- und bedienungsfreundlich ist das Band, wenn der freie Abstand der Abdeckwand zur Bolzenbohrung so gering ist, daß das Achsenwiderlager nicht aus einem Innengewinde der Bolzenbohrung herauszudrehen ist. Es kann nicht geschehen, daß das Achsenwiderlager aus dem Innengewinde bei der Montage oder bei der Justierung des Flügels herausgedreht wird, z.B. aus Versehen. Das Achsenwiderlager stößt vorher an die Abdeckwand.
Die vorstehend beschriebenen Vorteile werden dadurch verbessert, daß die Abdeckwand mit freiem Abstand zur Bolzenbohrung angeordnet und bis zu einer Rahmenanlageebene ausgebildet ist. Insbesondere ergibt sich ein geschlossenes und einheitliches Aussehen des unteren Ende des Rahmensbandes.
Besonders vorteilhaft ist es, das Band so auszubilden, daß das schwenklagerabgewandte Ende des Flügelbandlappens und die beiden Enden des Rahmenbandes jeweils in gleicher Weise halbkreisförmig rund enden. Es ergibt sich insgesamt ein unangreifbares Aussehen des Bandes, daß auch den Formensinn des Betrachters anspricht.
Die Kompaktheit und damit die Belastbarkeit des Bandes kann dadurch verbessert werden, daß das Rahmenband eine sich über die Höhe des Flügelbandes erstreckende Aussparung aufweist, die eine zum Flügel versetzte Anordnung des Flügelbandes erlaubt.
Die Erfindung wird anhand eines in der Zeichnung dargestellten Ausführungsbeispiels erläutert. Es zeigt:
Fig.1
eine perspektivische Übersichtsdarstellung des Tür- oder Fensterbandes,
Fig.2
einen Längsschnitt durch einen Schwenklagerbolzen quer zum Flügel,
Fig.3
eine Ansicht des Bandes senkrecht zum Flügel mit teilweise ausgebrochen dargestellter Kappe,
Fig.4
den Querschnitt IV-IV der Fig.3, und
Fig.5
eine der Fig.4 entsprechende Darstellung mit einer Abänderung im Bereich des Rahmenbands.
Das in Fig.1 dargestellte Türband hat als Hauptbestandteile ein Flügelband 33 und ein Rahmenband 25. Das Flügelband 33 wird am Flügel angeschlagen und das Rahmenband 25 an einem feststehenden Blendrahmen der Tür. Die beiden Bänder 33,25 werden mittels eines Schwenklagerbolzens 15 horizontal formschlüssig gekuppelt, infolgedessen das Flügelband 33 mit einem schwenkenden, nicht dargestellten Flügel um eine Schwenkachse 15' des Schwenklagerbolzens 15 verschwenkbar ist.
Wesentlicher Bestandteil des Flügelbandes 33 ist ein Flügelbandlappen 11, der mit einem Boden 11'' auf einer nicht dargestellten Flügelfläche aufliegt. Der Boden ist mit zwei Stegen 12,13 versehen, die den aus Fig.3 ersichtlichen Abstand voneinander haben und senkrecht zur Flügelanlagefläche des Bodens 11'' bzw. zum Flügel vorspringen. Zwischen den Stegen 12,13 ist in einem Zwischenraum 22 eine Klemmplatte 16 angeordnet, die mit Paßbolzen 35 in den Flügel eingreift und daran mit Befestigungsschrauben 36 zu befestigen ist. Ein kräftiges Anziehen der Befestigungsschrauben 36 drückt den Boden des Flügelbandlappens 11 fest gegen den Fensterflügel und verklemmt damit den Flügelbandlappen 11.
Die Pfeile 37 bedeuten, daß der Flügelbandlappen 11 horizontal parallel zur Flügelebene in den Verstellrichtungen 17,18 gemäß Fig.3 verstellt werden kann. Die Verstellung wird durch die aus den Fig.3 und 4 ersichtlichen Verstellmittel 19 bewirkt. Die Verstellmittel 19 bestehen im wesentlichen aus einer Verstellschraube 38, die mit ihrem Kopf 38' in eine Ausnehmung 39 des Flügelbandlappens 11 drehverstellbar, aber axial unverschieblich am Flügelbandlappen 11 festliegt. Ein weiterer wesentlicher Bestandteil der Schraubverstellmittel 19 ist eine Mutter 40, die an der Klemmplatte 16 befestigt ist. Ein Verdrehen der Schraube 38 durch Eingriff mit einem Schraubenschlüssel in eine nicht dargestellte Innenmehrkantausnehmung des Kopfes 38' bewirkt, daß die Schraube 38 mittels Abstützung ihres Kopfes 38' am Flügelbandlappen 11 die Mutter 40 und damit den Flügel in den Verstellrichtungen 17 oder 18 verstellt, je nach Drehrichtung der Schraube, weil der Flügelbandlappen 11 infolge seiner Befestigung am Rahmenband 25 flügelortsfest ist. Voraussetzung für eine solche Verstellung ist es, daß die Befestigungsschrauben 38 ein Verschieben des Flügelbandlappens 11 zulassen, beispielsweise weil sie entsprechend gelockert wurden. Eine Verstellung des Flügelbandlappens 11 bewirkt eine entsprechende Verstellung des Flügels, weil das mit dem Flügelband 33 gekuppelte Rahmenteil 25 am Blendrahmen blendrahmenortsfest ist.
Damit die Schraubverstellmittel 19 nicht ohne weiteres zugänglich sind, ist die Kappe 20 vorhanden, die mit ihren Enden 20' und 20'' am Flügelbandlappen 11 festgelegt ist.
Der Flügelbandlappen 11 hat an seinem dem Schwenklager abgewendeten Ende 11' einen Verbindungssteg 21, der vom Boden des Flügelbandlappens 11 in dieselbe Richtung vorspringt, wie die Stege 12,13, also senkrecht zum Flügel. Der Verbindungssteg 21 ist im Bereich des Anschlusses an die Enden 12',13' der Stege 12,13 ebensohoch, wie diese Enden. Fig.1 zeigt, daß die Stege 12,13 mit ihren Außenkanten in derselben Ebene liegen, wie die Außenkante des Verbindungsstegs 21'. Der Verbindungssteg 21 ist halbkreisförmig rund und gestaltet dadurch das Ende 11' des Flügelbandlappens 11. Der Verbindungssteg 21 hat eine Durchgriffsöffnung, die von einem Stopfen 23 verschlossen ist. Der Stopfen 23 wird entfernt, wenn Zugriff auf die Schraubverstellmittel 19 sein soll.
Die Enden 12'',13'' sind mit einer Lagerhülse 24 einstückig miteinander verbunden. Die Lagerhülse 24 umschließt den Schwenklagerbolzen 15, der in einer Lagerbuchse 41 angeordnet ist. Ihr Außendurchmesser entspricht dem Innendurchmesser der Lagerhülse 24.
Der Außenumfang der Lagerhülse 24 wird von dem U-förmig ausgebildeten Ende 20'' der Kappe 20 umklammert. Die Kappe 20 ist zwischen den Stegen 12,13 des Flügelbandlappens 11 angeordnet und ihre Außenflächen liegen gemäß Fig.1 mit den Aussenflächen bzw. Kanten der Stege 12,13 bündig. Dabei ist die Kappe 20 darauf abgestimmt, daß sich die Stege 12,13 von ihren schwenklagerseitigen Enden 12'',13'' zu ihren Enden 12', 13' hin verjüngen.
Die Kappe 20 ist mit ihrem Ende 20' am Verbindungssteg 21 festgelegt. Hierzu ist der Verbindungssteg entsprechend der gestrichelten Linie 42 in Fig.3 entsprechend dünner ausgebildet, so daß sich ein Hinterschnitt 43 ergibt, in den das Kappenende 20' mit einer Abwinkelung 44 eingesetzt werden kann, so daß die Außenfläche der Kappe 20 mit der Außenwand als Widerlager 45 der Kappe 20 etwa bündig liegt.
Das Ende 20'' der Kappe 20 ist mit der Flügelbandkappe 11 verrastet, wozu diese einen Rastvorsprung 46 und die Kappe 20 an ihrem U-Steg 47 eine entsprechende Aufnehmung aufweist. Die Verrastung befindet sich im Zwischenraum 48 zwischen der Lagerhülse 24 und dem Rahmenteil 25 und ist bei geschlossenem Flügel dementsprechend unzugänglich.
Ebenfalls unzugänglich ist ein mit dem Flügelbandlappen 11 einstückiger Kupplungsvorsprung 27, der in eine Kupplungsausnehmung 26 des Rahmenbandes 25 eingreift. Die vertikal zur Darstellungsebene gemessene Höhe des Kupplungsvorsprungs 27 entspricht etwa seiner aus der Fig.4 entnehmbaren Dicke. Hierauf ist die lichte Höhe der Kupplungsausnehmung 26 abgestimmt, wie sich aus Fig.1 entnehmen läßt. Da das Band rechts und links angeschlagen werden soll, sind im Rahmenband 25 zwei symmetrisch zur in Fig.4 vertikalen Symmetrieebene ausgebildete Kupplungsausnehmungen 26 vorhanden.
Das Rahmenband 25 wird mit einer Anlagefläche 49 an einem nicht dargestellten Blendrahmen angeschlagen, dessen Aussenfläche die aus Fig.2 ersichtliche Rahmenanlageebene 32 bestimmt. Der Befestigung des Rahmenteils dienen die dargestellten Befestigungsschrauben 50 in Verbindung mit den Paßbolzen 51. Es ist ersichtlich, daß die dem Flügelband 33 zugewendete Fläche eine Aussparung 34 aufweist, die es erlaubt, das Flügelband zum Flügel hin bzw. zum Blendrahmen hin zu versetzen. Hierdurch ergibt sich eine entsprechend kompaktere und höher belastbare Ausbildung des Bandes.
Der das Rabmenband 25 mit dem Flügelband 33 kuppelnde Schwenklagerbolzen 15 lagert aus Verschleißgründen mit seinem oberen Ende in einer Lagerbuchse 41 und mit seinem unteren Ende in einer Lagerbuchse 51. Er stützt sich über einen beide Enden des Bolzens 15 trennenden Ringbund 52 auf der unteren Lagerbuchse 51 ab. Diese ist innerhalb der Bolzenbohrung 28 höhenverstellbar gelagert, indem sie mit einem Ende 51' auf einem höhenverstellbaren Achsenwiderlager 31 aufsitzt. Dieses Achsenwiderlager 31 greift in ein Innengewinde 54 der Bolzenbohrung 28 ein und hat eine unrunde Eingriffsausnehmung 53, mit der es schraubverstellbar ist. Infolgedessen führt eine Schraubverstellung des Achsenwiderlagers 31 zu einer begrenzten Höhenverstellung des Flügelbands 33 und damit des Flügels, wie es durch die beiden Pfeile 55 symbolisiert wird.
Außerdem ist das Band 10 auch in den Richtungen der Pfeile 56 verstellbar, und zwar durch eine exzentrische Anordnung des Schwenklagerbolzens 15 innerhalb der Lagerbuchse 41. Diese kann innerhalb der Lagerhülse 24 verdreht werden und verschiebt dadurch die Schwenkachse 15' auf einem Kreisbogen um die Längsachse 57 des Rahmenbands 25. Eine Kappe 58 übergreift die Lagerbuchse 41 oberhalb des Stegs 12.
Unterhalb des höhenverstellbaren Achsenwiderlagers 31 ist das untere Ende 25' des Rahmenbandes 25 halbkreisförmig rund ausgebildet. Hierzu ist eine Abdeckwand 29 vorgesehen, die mit freiem Abstand zur Bolzenbohrung 28 ausgebildet ist. In der Abdeckwand 29 befindet sich eine Durchgriffsöffnung 59 zum Achsenwiderlager 31. Der freie Abstand zwischen der Bolzenbohrung und der Abdeckwand 29 ist kleiner, als die Höhe des Achsenwiderlagers 31. Infolgedessen kann das Achsenwiderlager 31 nicht ungewollt durch falsche Schraubverstellung nach unten aus dem Innengewinde 54 herausgedreht werden, weil das Achsenwiderlager 31 vorher an die ihm zugewendete Wandfläche der Abdeckwand 29 stößt. Damit wird beispielsweise auch verhindert, daß ein versehentlich herausgedrehtes Achsenwiderlager 31 des montierten Bandes praktisch nicht wieder eingeschraubt werden kann, weil es sich in einem nicht mehr zugänglichen Bereich z.B. nahe der Rahmenanlageebene 32 befindet. Vielmehr hängt das Achsenwiderlager 31 mit seinem Gewinde im Innengewinde 54.
Das untere Ende 25' des Rahmenbandes 25, dessen oberes Ende 25'' und das schwenklagerabgewandte Ende 11' des Flügelbandlappens 11 sind in gleicher Weise halbkreisförmig rund, wobei die Enden 25',25'' gleiche Radien aufweisen. Es ergibt sich die aus Fig.1 ersichtliche ansprechende äußere Gestaltung des Bandes.
Fig.5 zeigt eine Abänderung des Türbandes hinsichtlich der Anordnung eines Kupplungsvorsprungs 27 in Bezug auf das Rahmenband 25. Der Kupplungsvorsprung 27 ist auf der Höhe zwischen dem Rahmenband 25 und dem Schwenklagerbolzen 15 angeordnet und greift in eine Kupplungsausnehmung 26', die zwischen den beiden Seitenflächen des Rahmenbands 25 durchgehend ausgebildet ist. Infolgedessen kann der Kupplungsvorsprung 27 beim Schwenköffnen des Flügels vom Rahmenband 25 unbehindert bewegt werden, und zwar unabhängig davon, ob der Flügel rechts angeschlagen oder links angeschlagen ist. Der Schwenkbereich kann im Vergleich zudem der Aushebesicherung der Fig. 4 vergleichsweise groß sein. Infolgedessen ist die Aushebesicherung bis zu einem Schwenkwinkel von etwa 45 Winkelgrad wirksam.
Darüber hinaus hat die vorbeschriebene Anordnung des Kupplungsvorsprungs 27 zwischen dem Schwenklagerbolzen 15 in der Symmetrieachse des Rahmenbands 25 den Vorteil, daß er als Verrastungswiderlager für die Kappe 20 dienen kann. Die Kappe 20 ist in ihrem U-Steg 47 mit einem Schlitz 47' versehen, mit dem die Kappe bei ihrem Zusammenbau mit dem Flügelbandlappen 11 verrastet werden kann. Das wird beispielsweise dadurch erreicht, daß der Schlitz im Bereich seiner Mündung verengt ist.

Claims (18)

  1. Tür- oder Fensterband (10), mit einem an einem Tür- oder Fensterflügel anliegenden Flügelbandlappen (11), der mittels beabstandet paralleler, zum Flügel vertikaler Stege (12,13) an einem Schwenklagerbolzen (15) angelenkt und dazu quer am Flügel verstellbar ist, mit einer zwischen den Stegen (12,13) angeordneten Klemmplatte (16), die unverschieblich am Flügel zu befestigen ist und dabei den Flügelbandlappen (11) gegen den Flügel preßt, und mit in den Verstellrichtungen (17,18) zwischen dem Flügelbandlappen (11) und der Klemmplatte (16) wirkenden Schraubverstellmitteln (19), die von einer am Flügelbandlappen (11) befestigten Kappe (20) abgedeckt sind, dadurch gekennzeichnet, daß die Stege (12,13) des Flügelbandlappens (11) an ihren dem Schwenklagerbolzen (15) abgewandten Enden (12',13') mit einem Verbindungssteg (21) des Flügelbandlappens (11) fest miteinander verbunden sind, und daß der Verbindungssteg (21) den die Klemmplatte (16) aufnehmenden Zwischenraum (22) zumindest teilweise in den Verstellrichtungen (17,18) abschließt.
  2. Tür- oder Fensterband nach Anspruch 1, dadurch gekennzeichnet, daß der Verbindungssteg (21) ebenso hoch ist, wie die beabstandet parallelen Stege (12,13).
  3. Tür- oder Fensterband nach Anspruch 1 oder 2, dadurch gekennzeichnet, daß der Verbindungssteg (21) einstückig mit den beabstandet parallelen Stegen (12,13) ist.
  4. Tür- oder Fensterband nach einem der Ansprüche 1 bis 3, dadurch gekennzeichnet, daß der Verbindungssteg (21) das Ende (11') des Flügelbandlappens (11) über den Abstand zwischen den Stegen (12,13) abrundet.
  5. Tür- oder Fensterband nach einem der Ansprüche 1 bis 4, dadurch gekennzeichnet, daß der Verbindungssteg (21) eine bedarfsweise mit einem Stopfen (23) verschließbare Druchgriffsöffnung für die Schraubverstellmittel (19) aufweist.
  6. Tür- oder Fensterband nach einem der Ansprüche 1 bis 5, dadurch gekennzeichnet, daß der Verbindungssteg (21) ein Widerlager (45) für ein Ende (20') der Kappe (20) hat.
  7. Tür- oder Fensterband nach einem der Ansprüche 1 bis 6, dadurch gekennzeichnet, daß die schwenklagerseitigen Enden (12'',13'') der Stege (12,13) von einer den Schwenklagerbolzen (15) aufnehmenden Lagerhülse (24) fest miteinander verbunden sind.
  8. Tür- oder Fensterband nach einem der Ansprüche 1 bis 7, dadurch gekennzeichnet, daß das schwenklagerseitige Ende (20'') der Kappe (20) U-förmig ist und die Lagerhülse (24) umklammert.
  9. Tür- oder Fensterband nach einem der Ansprüche 1 bis 8, dadurch gekennzeichnet, daß die Kappe (20) an ihrem schwenklagerseitigen und/oder an ihrem schwenklagerabgewandten Ende (20',20'') verrastet ist.
  10. Tür- oder Fensterband nach einem der Ansprüche 1 bis 9, dadurch gekennzeichnet, daß der Flügelbandlappen (11) mit einem Rahmenband (25) mittels eines in eine Kupplungsausnehmung (26) eingreifenden Kupplungsvorsprungs (27) bei geschlossenem Flügel vertikal formschlüssig kuppelbar ist.
  11. Tür- oder Fensterband nach Anspruch 10, dadurch gekennzeichnet, daµ der Flügelbandlappen (11) einen Kupplungsvorsprung (27) und das Rahmenband (25) zwei für Rechts/Linksanschlag ausgelegte Kupplungsausnehmungen (26) aufweist.
  12. Tür- oder Fensterband nach Anspruch 10, dadurch gekennzeichnet, daß der Flügelbandlappen (11) einen Kupplungsvorsprung (27) hat, der in der Symmetrieebene des Rahmenbands (25) zwischen diesem und dem Schwenklagerbolzen (15) angeordnet ist sowie in eine einzige für Rechts/Linksanschlag ausgelegte Kupplungsausnehmung (26') eingreift.
  13. Tür- oder Fensterband nach einem der Ansprüche 10 bis 12, dadurch gekennzeichnet, daß die Kappe (20) mittels eines Schlitzes (47') auf den Kupplungsvorsprung (27) aufzustecken ist.
  14. Tür- oder Fensterband nach einem der Ansprüche 1 bis 13, dadurch gekennzeichnet, daß das Rahmenband (25) unterhalb einer durchgängigen Bolzenbohrung (28) mit einer diese abdeckenden, mit dem Band (25) starr verbundenen Abdeckwand (29) versehen ist, die bedarfsweise eine Durchgriffsöffnung (30) für ein in der Bolzenbohrung (28) höhenverstellbares Achsenwiderlager (31) aufweist.
  15. Tür- oder Fensterband nach Anspruch 14, dadurch gekennzeichnet, daß die Abdeckwand (29) mit freiem Abstand zur Bolzenbohrung (28) angeordnet und bis zu einer Rahmenanlageebene (32) ausgebildet ist.
  16. Tür- oder Fensterband nach Anspruch 14 oder 15, dadurch gekennzeichnet, daß der freie Abstand der Abdeckwand (29) zur Bolzenbohrung (28) so gering ist, daß das Achsenwiderlager (31) nicht aus einem Innengewinde (54) der Bolzenbohrung (28) herauszudrehen ist.
  17. Tür- oder Fensterband nach Anspruch 14, dadurch gekennzeichnet, daß das schwenklagerabgewandte Ende (11') des Flügelbandlappens (11) und die beiden Enden (25',25'') des Rahmenbandes (25) jeweils in gleicher Weise halbkreisförmig rund enden.
  18. Tür- oder Fensterband nach einem der Ansprüche 1 bis 17, dadurch gekennzeichnet, daß das Rahmenband (25) eine sich über die Höhe des Flügelbandes (33) erstreckende Aussparung (34) aufweist, die eine zum Flügel versetzte Anordnung des Flügelbandes (33) erlaubt.
EP98122090A 1997-11-28 1998-11-21 Tür- oder Fensterband Expired - Lifetime EP0919686B1 (de)

Applications Claiming Priority (2)

Application Number Priority Date Filing Date Title
DE29721037U DE29721037U1 (de) 1997-11-28 1997-11-28 Tür- oder Fensterband
DE29721037U 1997-11-28

Publications (3)

Publication Number Publication Date
EP0919686A2 true EP0919686A2 (de) 1999-06-02
EP0919686A3 EP0919686A3 (de) 2001-03-21
EP0919686B1 EP0919686B1 (de) 2004-04-21

Family

ID=8049210

Family Applications (1)

Application Number Title Priority Date Filing Date
EP98122090A Expired - Lifetime EP0919686B1 (de) 1997-11-28 1998-11-21 Tür- oder Fensterband

Country Status (4)

Country Link
EP (1) EP0919686B1 (de)
DE (2) DE29721037U1 (de)
HU (1) HU219418B (de)
PL (1) PL186418B1 (de)

Cited By (11)

* Cited by examiner, † Cited by third party
Publication number Priority date Publication date Assignee Title
EP1091067A1 (de) * 1999-10-04 2001-04-11 Niemann, Hans Dieter Drehband für Türen oder Fenster
EP0952291A3 (de) * 1998-04-24 2003-01-29 Hans Dieter Niemann Tür- oder Fensterband
GB2444419A (en) * 2004-05-28 2008-06-04 Trojan Hardware & Designs Ltd Hinge with leaf and spindle blocking access to fixing screws
EP1223275A3 (de) * 2001-01-15 2008-09-03 Niemann, Hans Dieter Band für Türen oder Fenster
WO2011064100A1 (de) * 2009-11-27 2011-06-03 Dr. Hahn Gmbh & Co. Kg Bandteil eines scharnierbandes sowie verfahren zur befestigung eines bandteils
FR2993299A1 (fr) * 2012-07-10 2014-01-17 Monin Paumelle pour huisserie reglable en trois dimensions
EP2345787A3 (de) * 2010-01-14 2014-01-22 Simonswerk, Gesellschaft mit beschränkter Haftung Türband für Aluminiumtüren
EP2345786A3 (de) * 2010-01-14 2014-01-22 Simonswerk, Gesellschaft mit beschränkter Haftung Türband für Aluminiumtüren
EP2492424A3 (de) * 2011-02-23 2014-10-08 Altura Leiden Holding B.V. Verbindungsvorrichtung einer Trennwand, insbesondere Duschtrennwand
EP2862997A1 (de) * 2013-10-18 2015-04-22 Joseph Talpe Scharnieranordnung
EP3447223A1 (de) * 2009-11-27 2019-02-27 Dr. Hahn GmbH & Co. KG Bandteil eines scharnierbandes

Citations (1)

* Cited by examiner, † Cited by third party
Publication number Priority date Publication date Assignee Title
DE29622639U1 (de) 1996-11-05 1997-04-17 Haps + Sohn GmbH + Co KG, 42551 Velbert Tür- oder Fensterband

Family Cites Families (7)

* Cited by examiner, † Cited by third party
Publication number Priority date Publication date Assignee Title
CH392314A (de) * 1962-04-12 1965-05-15 Eugen Schneider Ernst Gelenkband für Türen, Fenster und dergleichen
FR2339044A1 (fr) * 1976-01-22 1977-08-19 Laurent Philippe Paumelle reglable en trois directions
DE3245205A1 (de) * 1981-12-09 1983-07-21 F. Hesterberg & Söhne GmbH & Co KG, 5828 Ennepetal Scharnier fuer tueren von fahrzeugkofferaufbauten, containern und dergleichen mit einer zollsicherung
DE3406984C2 (de) * 1984-02-13 1993-11-18 Scharwaechter Gmbh Co Kg Aushängbares Flügelscharnier
DE3546253A1 (de) * 1985-12-28 1987-07-02 Hahn Gmbh & Co Kg Dr Band fuer tueren, fenster und dergleichen
DE9200563U1 (de) * 1992-01-18 1992-04-02 Breuer & Schmitz, 5650 Solingen Dreidimensional verstellbares Aufschraubband für Tür- oder Fensterflügel
DE9413892U1 (de) * 1994-08-27 1995-12-21 Dr. Hahn GmbH & Co. KG., 41189 Mönchengladbach Band für Türen, Fenster u.dgl.

Patent Citations (1)

* Cited by examiner, † Cited by third party
Publication number Priority date Publication date Assignee Title
DE29622639U1 (de) 1996-11-05 1997-04-17 Haps + Sohn GmbH + Co KG, 42551 Velbert Tür- oder Fensterband

Cited By (14)

* Cited by examiner, † Cited by third party
Publication number Priority date Publication date Assignee Title
EP0952291A3 (de) * 1998-04-24 2003-01-29 Hans Dieter Niemann Tür- oder Fensterband
EP1091067A1 (de) * 1999-10-04 2001-04-11 Niemann, Hans Dieter Drehband für Türen oder Fenster
EP1091066A3 (de) * 1999-10-04 2001-08-01 Niemann, Hans Dieter Drehband für Türen oder Fenster
EP1223275A3 (de) * 2001-01-15 2008-09-03 Niemann, Hans Dieter Band für Türen oder Fenster
GB2444419A (en) * 2004-05-28 2008-06-04 Trojan Hardware & Designs Ltd Hinge with leaf and spindle blocking access to fixing screws
GB2444419B (en) * 2004-05-28 2008-12-03 Trojan Hardware & Designs Ltd Hinge arrangements
WO2011064100A1 (de) * 2009-11-27 2011-06-03 Dr. Hahn Gmbh & Co. Kg Bandteil eines scharnierbandes sowie verfahren zur befestigung eines bandteils
EP3447223A1 (de) * 2009-11-27 2019-02-27 Dr. Hahn GmbH & Co. KG Bandteil eines scharnierbandes
EP2504511B1 (de) * 2009-11-27 2020-02-19 Dr. Hahn GmbH & Co. KG Bandteil eines scharnierbandes
EP2345787A3 (de) * 2010-01-14 2014-01-22 Simonswerk, Gesellschaft mit beschränkter Haftung Türband für Aluminiumtüren
EP2345786A3 (de) * 2010-01-14 2014-01-22 Simonswerk, Gesellschaft mit beschränkter Haftung Türband für Aluminiumtüren
EP2492424A3 (de) * 2011-02-23 2014-10-08 Altura Leiden Holding B.V. Verbindungsvorrichtung einer Trennwand, insbesondere Duschtrennwand
FR2993299A1 (fr) * 2012-07-10 2014-01-17 Monin Paumelle pour huisserie reglable en trois dimensions
EP2862997A1 (de) * 2013-10-18 2015-04-22 Joseph Talpe Scharnieranordnung

Also Published As

Publication number Publication date
EP0919686B1 (de) 2004-04-21
DE59811232D1 (de) 2004-05-27
DE29721037U1 (de) 1999-04-22
HU219418B (hu) 2001-04-28
HU9802756D0 (en) 1999-01-28
HUP9802756A1 (hu) 1999-10-28
PL329964A1 (en) 1999-06-07
PL186418B1 (pl) 2004-01-30
EP0919686A3 (de) 2001-03-21

Similar Documents

Publication Publication Date Title
EP0919686B1 (de) Tür- oder Fensterband
EP0678636B1 (de) Verbindungsvorrichtung für den Einbau des Flügels eines Wohndachfensters in den Futterkasten
DE3605434A1 (de) Befestigung fuer ein mit einem tuerfeststeller baulich vereinigtes tuerscharnier
DE102011006023B3 (de) Verstellbares Scharnierband
EP1215357B1 (de) Bandanordnung für Türen, Fenster und dergleichen
DE202006002236U1 (de) Band für Türen, Fenster o.dgl.
EP0164381A1 (de) Scharnierkonstruktion für einen, wahlweise um zwei schwenkachsen, drehbaren flügel
EP1023515B1 (de) Tür- oder fensterband
EP3887631B1 (de) Bandlappen und band zur um eine scharnierachse scharniergelenkigen verbindung eines flügels mit einem rahmen
EP0861953A1 (de) Betätigungshandhabe
DE3228933A1 (de) Drehzapfenlager fuer tueren, insbesondere fuer pendeltueren
EP2385200B1 (de) Beschlagteil zur Befestigung an einer C-förmigen Beschlagteilnut
EP0748911B1 (de) Treibstangen-Verschlussvorrichtung für die Flügel von Fenstern, Türen od. dgl.
EP1267025B1 (de) Fenster oder Fenstertür
DE19918283B4 (de) Tür- oder Fensterdrehband
EP1560996A1 (de) Beschlaganordnung für glastüren
EP1255005B1 (de) Riegelbeschlag
DE29615631U1 (de) Sicherungseinrichtung
EP1386050B1 (de) Halteelement zum halten einer führungsschiene für schiebetüren
DE4323939C5 (de) Gelenkvorrichtung, insbesondere für Drehkipptür oder -fenster
EP0677631B2 (de) Betätigungsvorrichtung für ein Verschlussgetriebe
EP4105420B1 (de) Band fuer eine tuer oder ein fenster
EP1388628A2 (de) Scharnierband mit einer winkel- und höheneinstellbaren Hebe-Senkvorrichtung für Türen oder Fenster
EP1405975A1 (de) Einstellbare Türbandanordnung
DE202006009972U1 (de) Band für Fenster, Türen o.dgl.

Legal Events

Date Code Title Description
PUAI Public reference made under article 153(3) epc to a published international application that has entered the european phase

Free format text: ORIGINAL CODE: 0009012

AK Designated contracting states

Kind code of ref document: A2

Designated state(s): DE FR GB IT

AX Request for extension of the european patent

Free format text: AL;LT;LV;MK;RO;SI

PUAL Search report despatched

Free format text: ORIGINAL CODE: 0009013

AK Designated contracting states

Kind code of ref document: A3

Designated state(s): AT BE CH CY DE DK ES FI FR GB GR IE IT LI LU MC NL PT SE

AX Request for extension of the european patent

Free format text: AL;LT;LV;MK;RO;SI

17P Request for examination filed

Effective date: 20010629

AKX Designation fees paid

Free format text: DE FR GB IT

17Q First examination report despatched

Effective date: 20030411

GRAP Despatch of communication of intention to grant a patent

Free format text: ORIGINAL CODE: EPIDOSNIGR1

GRAS Grant fee paid

Free format text: ORIGINAL CODE: EPIDOSNIGR3

GRAA (expected) grant

Free format text: ORIGINAL CODE: 0009210

AK Designated contracting states

Kind code of ref document: B1

Designated state(s): DE FR GB IT

REG Reference to a national code

Ref country code: GB

Ref legal event code: FG4D

Free format text: NOT ENGLISH

REF Corresponds to:

Ref document number: 59811232

Country of ref document: DE

Date of ref document: 20040527

Kind code of ref document: P

GBT Gb: translation of ep patent filed (gb section 77(6)(a)/1977)

Effective date: 20040721

ET Fr: translation filed
PLBE No opposition filed within time limit

Free format text: ORIGINAL CODE: 0009261

STAA Information on the status of an ep patent application or granted ep patent

Free format text: STATUS: NO OPPOSITION FILED WITHIN TIME LIMIT

26N No opposition filed

Effective date: 20050124

REG Reference to a national code

Ref country code: FR

Ref legal event code: PLFP

Year of fee payment: 18

REG Reference to a national code

Ref country code: FR

Ref legal event code: PLFP

Year of fee payment: 19

REG Reference to a national code

Ref country code: FR

Ref legal event code: PLFP

Year of fee payment: 20

PGFP Annual fee paid to national office [announced via postgrant information from national office to epo]

Ref country code: DE

Payment date: 20171127

Year of fee payment: 20

Ref country code: FR

Payment date: 20171121

Year of fee payment: 20

PGFP Annual fee paid to national office [announced via postgrant information from national office to epo]

Ref country code: GB

Payment date: 20171123

Year of fee payment: 20

Ref country code: IT

Payment date: 20171124

Year of fee payment: 20

REG Reference to a national code

Ref country code: DE

Ref legal event code: R071

Ref document number: 59811232

Country of ref document: DE

REG Reference to a national code

Ref country code: GB

Ref legal event code: PE20

Expiry date: 20181120

PG25 Lapsed in a contracting state [announced via postgrant information from national office to epo]

Ref country code: GB

Free format text: LAPSE BECAUSE OF EXPIRATION OF PROTECTION

Effective date: 20181120