EP0906239B1 - Verfahren zum steuern einer changiereinrichtung - Google Patents

Verfahren zum steuern einer changiereinrichtung Download PDF

Info

Publication number
EP0906239B1
EP0906239B1 EP98916956A EP98916956A EP0906239B1 EP 0906239 B1 EP0906239 B1 EP 0906239B1 EP 98916956 A EP98916956 A EP 98916956A EP 98916956 A EP98916956 A EP 98916956A EP 0906239 B1 EP0906239 B1 EP 0906239B1
Authority
EP
European Patent Office
Prior art keywords
flux
stator
actual
torque
rotor
Prior art date
Legal status (The legal status is an assumption and is not a legal conclusion. Google has not performed a legal analysis and makes no representation as to the accuracy of the status listed.)
Expired - Lifetime
Application number
EP98916956A
Other languages
English (en)
French (fr)
Other versions
EP0906239A1 (de
Inventor
Uwe Baader
Current Assignee (The listed assignees may be inaccurate. Google has not performed a legal analysis and makes no representation or warranty as to the accuracy of the list.)
Oerlikon Barmag AG
Original Assignee
Barmag AG
Barmag Barmer Maschinenfabrik AG
Priority date (The priority date is an assumption and is not a legal conclusion. Google has not performed a legal analysis and makes no representation as to the accuracy of the date listed.)
Filing date
Publication date
Application filed by Barmag AG, Barmag Barmer Maschinenfabrik AG filed Critical Barmag AG
Publication of EP0906239A1 publication Critical patent/EP0906239A1/de
Application granted granted Critical
Publication of EP0906239B1 publication Critical patent/EP0906239B1/de
Anticipated expiration legal-status Critical
Expired - Lifetime legal-status Critical Current

Links

Images

Classifications

    • BPERFORMING OPERATIONS; TRANSPORTING
    • B65CONVEYING; PACKING; STORING; HANDLING THIN OR FILAMENTARY MATERIAL
    • B65HHANDLING THIN OR FILAMENTARY MATERIAL, e.g. SHEETS, WEBS, CABLES
    • B65H54/00Winding, coiling, or depositing filamentary material
    • B65H54/02Winding and traversing material on to reels, bobbins, tubes, or like package cores or formers
    • B65H54/28Traversing devices; Package-shaping arrangements
    • B65H54/2821Traversing devices driven by belts or chains
    • BPERFORMING OPERATIONS; TRANSPORTING
    • B65CONVEYING; PACKING; STORING; HANDLING THIN OR FILAMENTARY MATERIAL
    • B65HHANDLING THIN OR FILAMENTARY MATERIAL, e.g. SHEETS, WEBS, CABLES
    • B65H54/00Winding, coiling, or depositing filamentary material
    • B65H54/02Winding and traversing material on to reels, bobbins, tubes, or like package cores or formers
    • B65H54/28Traversing devices; Package-shaping arrangements
    • B65H54/2833Traversing devices driven by electromagnetic means
    • BPERFORMING OPERATIONS; TRANSPORTING
    • B65CONVEYING; PACKING; STORING; HANDLING THIN OR FILAMENTARY MATERIAL
    • B65HHANDLING THIN OR FILAMENTARY MATERIAL, e.g. SHEETS, WEBS, CABLES
    • B65H54/00Winding, coiling, or depositing filamentary material
    • B65H54/02Winding and traversing material on to reels, bobbins, tubes, or like package cores or formers
    • B65H54/28Traversing devices; Package-shaping arrangements
    • B65H54/2884Microprocessor-controlled traversing devices in so far the control is not special to one of the traversing devices of groups B65H54/2803 - B65H54/325 or group B65H54/38
    • BPERFORMING OPERATIONS; TRANSPORTING
    • B65CONVEYING; PACKING; STORING; HANDLING THIN OR FILAMENTARY MATERIAL
    • B65HHANDLING THIN OR FILAMENTARY MATERIAL, e.g. SHEETS, WEBS, CABLES
    • B65H2701/00Handled material; Storage means
    • B65H2701/30Handled filamentary material
    • B65H2701/31Textiles threads or artificial strands of filaments

Definitions

  • the invention relates to a method for controlling a Stepper motor driven traversing device according to the preamble of claim 1 and a traversing device according to the preamble of claim 11.
  • a traversing thread guide becomes one Traversing device for laying a thread by a stepper motor driven. To and around the thread guide within a traverse stroke To lead here, the movement of the rotor of the stepper motor is directly transfer the thread guide. The transmission takes place via a Belt drive.
  • the stepper motor is used in the Stroke reversal areas operated with a higher nominal current. Thereby the stepper motor is able to generate a higher torque.
  • Such an increase in current leads to a Generation of the high acceleration and deceleration required Cadence to an overshoot of the rotor in the stepper motor what transfers directly to the traversing thread guides. This also gets the rotor from its sequence of steps.
  • a current increase requires one correspondingly powerful stepper motor.
  • the torque increase at however, a larger motor usually has a higher moment of inertia result in what to achieve the high acceleration and Braking times is disadvantageous.
  • Another object of the invention is to guide the traversing thread in the To drive the stroke reversing area as vibration-free as possible.
  • the particular advantage of the method according to the invention is that directly the field sizes generated in the stepper motor to control the Traversing device can be used. Since the process on the Stator flow of the stepper motor is oriented, is a highly dynamic Control of the drive reached.
  • the principle of the stepper motor is based on the fact that a permanent magnet executed rotor itself within a stator with several windings turns. To move the rotor, they are offset from each other arranged windings supplied with current after a time sequence. Magnetic fields are generated in connection with the magnetic field of the rotor allow the movement of the rotor.
  • the Stator is formed from a variety of windings, called pole pairs determine the step size of the stepper motor.
  • the torque of the The stepper motor is driven by the magnetic flux in the stator (Stator flux) and the magnetic flux in the rotor (rotor flux) are determined.
  • the rotor Since the rotor is designed as a permanent magnet, the rotor flux will increase do not change, so that the torque of the stepper motor in essentially by the stator flux amplitude and the angle to Rotor flux is affected.
  • the method according to the invention now uses this dependence on the movement of the rotor and thus the Control the traversing thread guide.
  • To control the stator flow a stator voltage generated by a flow control device given.
  • the movement of the rotor is changing magnetic excitations with given magnetic Stator flow controlled in the stator windings.
  • Torque generated by the stepper motor is controlled.
  • Torque controller performs an actual-target comparison between one Actual torque and a predetermined target torque.
  • a corresponding torque correction value is generated, which is used to control the stepper motor in the stator voltage becomes. This allows one to guide each in the traversing device of the traversing thread guide in every position of the traversing thread guide generate sufficient torque and acceleration.
  • the stator voltage generated by the torque control the phase position, i.e. regulate the angular velocity of the rotor.
  • the torque acting on the rotor is essentially dependent on the position of the rotor, the rotor flux and the stator flux. Since the Rotor has a constant rotor flux, can be according to one particularly advantageous development of the invention, the actual torque solely from the electrical parameters stator current and stator flux to calculate. There are two options here, the current actual stator flow of the stepper motor.
  • the first possibility is that the rotor position is encoderless is determined.
  • the stator voltage and the stator current continuously measured and linked in a calculation circuit in such a way that results in a stator flux dependent on the rotor position.
  • the actual torque can now be determined, so that the determined actual torque is compared with a target torque can be.
  • the target torque results from the law of motion of the traversing thread guide and depends on the respective Wrapping laws known.
  • the torque can be removed from the position and the speed of the traversing thread guide for each position of the Determine the rotor beforehand and is given to the torque controller.
  • the Angular position of the rotor detected by a sensor and in the control of the stepper motor included. Bring these location signals in Phase equilibrium with the rotor, so you have a standardized Rotor flux signal.
  • These standardized rotor flux signals can be advantageously in transfer appropriate stator flow signals. So that is the stator flow known.
  • the actual stator flow is continuously determined and a flow controller for actual-target comparison given up.
  • a flow controller for actual-target comparison can be advantageous Correct interference immediately.
  • the stepper motor can have a target stand flow profile be specified that exactly the movement of the traversing thread guide reproduces.
  • stator voltages generated by the controllers can be used directly advantageous to a pulse width modulator for controlling a Abandon converter. This allows all common types of windings such as wild winding, precision winding etc. as well as traversing stroke changes be carried out with the traversing device.
  • a traversing device is shown schematically in FIG. 1.
  • the traversing thread guide 8 by means of a stepping motor 4 within a Changierhubes moved back and forth.
  • the transmission of the movement from Stepper motor 4 to the thread guide 8 takes place via a belt 7
  • Belt 7 wraps around the pulleys 6, 9 and 11.
  • the Traversing thread guide 8 is firmly connected to the endless belt 7 and is on the belt 7 between the pulleys 11 and 9 back and forth brought forth.
  • the pulley 11 is rotatably mounted on an axis 12, the pulley 9 is rotatably mounted on the axis 10.
  • the Pulley 6 is attached to a rotor shaft 5, which by means of a
  • the rotor of the stepper motor 4 is driven with an alternating direction of rotation.
  • the stepper motor 4 is controlled via a control unit 22.
  • the control unit 22 has a converter 2 and one Flow control device 1.
  • the flow control device 1 is with a Control line 23 and a signal line 24 with the converter 2 connected.
  • the flow control device 1 is connected to a sensor 3, which senses the position of the rotor or the rotor shaft 5.
  • the Flow control device also has an input for the transmission of Target values for the change.
  • a winding spindle 15 is arranged below the belt drive, on the a sleeve 14 is attached.
  • a coil 13 is placed on the sleeve 14 wrapped.
  • a thread from the traversing thread guide 8 along the Coil surface moved back and forth.
  • the flow control device 1 the stepper motor 4 for each traversing thread guide position Field sizes for influencing the rotor can be specified.
  • the operation of the stepper motor can be described as follows using the schematic illustration shown in FIG. 2.
  • the stepping motor 4 has at least two windings 16 and 17 arranged offset by 90 ° to one another.
  • the windings 16 and 17 are alternately controlled by a converter 2 according to a predetermined time sequence.
  • a magnetic field with a magnetic flux ⁇ S builds up in the windings.
  • a load current (stator current) i S flows in windings.
  • a rotor (not shown here) mounted in the middle of the windings will move with its permanent magnetic field.
  • a sensor 3 is attached to the stepper motor to detect the position of the rotor.
  • the sensor 3 is designed so that the number of steps of the sensor can be divided in whole numbers by the number of pole pairs of the step motor.
  • His signal can thus be used for position control of the rotor as well as for stator flux determination.
  • Particularly simple relationships result when a gearwheel is used whose number of teeth is identical to the number of pole pairs of the motor.
  • a sine signal and a cosine signal are obtained by means of two field plates, which have an offset of 90 ° in relation to the tooth pitch. If you bring these signals into phase equilibrium with the rotor, you get my normalized rotor flux signal.
  • the instantaneous stator current i S and the sensor signal ⁇ are then - as shown in FIG. 3 - given to a converter 18 of the flow control.
  • the flow control device is shown schematically in FIG. 3. Vector sizes are indicated by an arrow.
  • the converter 18 determines an actual value of the stator flux ⁇ S from the stator current and the sensor signal ⁇ .
  • the actual value of the stator flux is then fed to a flux regulator 20 and at the same time to a torque regulator 19.
  • a comparison is made directly at the controller input between a predetermined setpoint value of the stator flow with the instantaneous actual value of the stator flow.
  • the flux controller 20 will generate a voltage signal which is applied to a pulse width modulator 21 which is connected to the converter 2.
  • a comparison is made in the torque controller 19 between a predetermined target value of the torque and the actual value of the torque of the stepping motor.
  • the actual torque is determined from the given values of the stator current i S and the stator flux ⁇ S. If there is a deviation, the torque controller 19 likewise generates a voltage signal which is fed to the pulse width modulator 21.
  • the stator voltage u S is composed of a torque-forming component u M and a flux-forming component u ⁇ , the connection of which will be discussed in more detail later.
  • the equivalent circuit diagram shown in FIG. 4 and the pointer diagram shown in FIG. 5 are also used to describe the stepping motor.
  • the machine sizes are understood as space pointers in a fixed coordinate system, the ⁇ axis of the coordinate system coinciding with the winding axis of the machine and the ⁇ axis being orthogonal to the ⁇ axis.
  • p is the number of pole pairs of the stepper motor
  • is the angle between the stator and rotor flux space pointer.
  • the rotor flux cannot be influenced in its amplitude because of the permanent excitation. Its position only depends on the position of the rotor.
  • the tip of the stator flow space pointer should be guided on a circular path. This can be achieved in that a voltage space vector uM is connected to the winding, the direction of which is orthogonal to the stator flow direction. Since the stator flux ⁇ S is essentially an integral of the stator voltage, such a voltage space pointer sets the stator flow space pointer ⁇ S in rotation. However, this voltage space pointer alone can only influence the angular velocity ⁇ , but not the amplitude of the stator flux. Therefore a further voltage space vector u ⁇ is required which points in the direction of the stator flow space vector ⁇ S.
  • the stator voltage u S is thus the sum of the two components u M and u ⁇ .
  • stator flux in the stepper motor can thus be determined or controlled in its amplitude and in its phase position by the stator voltage u S.
  • the output signal of the stator voltage can be used directly as an input signal of a pulse width modulator after appropriate standardization. It should be noted that the voltage space pointer can only be influenced in the periods in which the converter is still clocking.
  • stator flow can now be a flow controller or a Torque regulator are abandoned.
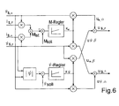
  • FIG. 6 shows a block diagram of a combined control of a stator flux and the torque.

Landscapes

  • Engineering & Computer Science (AREA)
  • Microelectronics & Electronic Packaging (AREA)
  • Physics & Mathematics (AREA)
  • Electromagnetism (AREA)
  • Control Of Stepping Motors (AREA)
  • Winding Filamentary Materials (AREA)
  • Manufacture Of Motors, Generators (AREA)

Description

Die Erfindung betrifft ein Verfahren zum Steuern einer mittels eines Schrittmotors angetriebenen Changiereinrichtung gemäß dem Oberbegriff des Anspruchs 1 sowie eine Changiereinrichtung gemäß dem Oberbegriff des Anspruchs 11.
Ein derartiges Verfahren sowie eine derartige Vorrichtung ist aus der EP 0 453 622 bekannt. Hierbei wird ein Changierfadenführer einer Changiereinrichtung zum Verlegen eines Fadens durch einen Schrittmotor angetrieben. Um den Fadenführer innerhalb eines Changierhubes hin und her zu führen, wird direkt die Bewegung des Rotors des Schrittmotors an den Fadenführer übertragen. Die Übertragung erfolgt hierbei über einen Riementrieb.
Bei der Changierung eines Fadens kommt es sehr darauf an, daß die Umkehrpunkte des Changierfadenführers an den Enden des Changierhubes immer an gleicher Stelle liegen. Desweiteren ist erforderlich, daß der Changierfadenführer an den Enden des Changierhubes in sehr kurzer Zeit aus einer Führungsgeschwindigkeit verzögert und wieder auf eine Führungsgeschwindigkeit beschleunigt wird .
Um diesen Anforderungen zu genügen, wird der Schrittmotor in den Hubumkehrbereichen mit einem höheren Nenn-Strom betrieben. Dadurch ist der Schrittmotor in der Lage, ein höheres Drehmoment zu erzeugen. Eine derartige Stromerhöhung führt in Verbindung mit einer zur Erzeugung der hohen Beschleunigung und Verzögerung erforderlichen Schrittfrequenz zu einem Überschwingen des Rotors im Schrittmotor, was sich direkt auf die Changierfadenführer überträgt. Hierdurch gerät zudem der Rotor aus seiner Schrittfolge. Eine Stromerhöhung erfordert einen entsprechend leistungsstarken Schrittmotor. Die Drehmomenterhöhung bei einem größeren Motor hat in der Regel jeoch ein höheres Trägheitsmoment zur Folge, was zur Erreichung der hohen Beschleunigungs- und Bremszeiten nachteilig ist.
Demgegenüber ist es Aufgabe der Erfindung, ein Verfahren zum Steuern einer mittels eines Schrittmotors angetriebenen Changiereinrichtung sowie eine Vorrichtung zu schaffen, bei der der Changierfadenführer im Umkehrbereich bei optimaler Auslastung des Schrittmotors geführt wird. Ein weiteres Ziel der Erfindung ist es, den Changierfadenführer im Hubumkehrbereich möglichst schwingungsfrei anzutreiben.
Diese Aufgabe wird erfindungsgemäß durch ein Verfahren mit den Merkmalen des Anspruchs 1 sowie durch eine Changiereinrichtung gemäß den Merkmalen des Anspruchs 11 gelöst.
Der besondere Vorteil des erfindungsgemäßen Verfahrens liegt darin, daß direkt die im Schrittmotor erzeugten Feldgrößen zur Steuerung der Changiereinrichtung verwendet werden. Da das Verfahren an dem Ständerfluß des Schrittmotors orientiert ist, wird eine hochdynamische Regelung des Antriebes erreicht.
Das Prinzip des Schrittmotors basiert darauf, daß ein als Permanentmagnet ausgeführter Rotor sich innerhalb eines Ständers mit mehreren Wicklungen dreht. Um den Rotor zu bewegen, werden die versetzt zueinander angeordneten Wicklungen nach einer Zeitfolge mit Strom beaufschlagt. Dabei werden magnetische Felder erzeugt, die in Verbindung mit dem magnetischen Feld des Rotors die Bewegung des Rotors ermöglichen. Der Ständer wird aus einer Vielzahl von Wicklungen gebildet, die als Polpaare die Schrittweite des Schrittmotors bestimmen. Das Drehmoment des Schrittmotors wird dabei durch den magnetischen Fluß im Ständer (Ständerfluß) und dem magnetischen Fluß im Rotor (Rotorfluß) bestimmt. Da der Rotor als Permanentmagnet ausgeführt ist, wird sich der Rotorfluß nicht verändern, so daß das Drehmoment des Schrittmotors im wesentlichen durch die Ständerflußamplitude und den Winkel zum Rotorfluß beeinflußt wird. Das erfindungsgemäße Verfahren nutzt nun diese Abhängigkeit, um die Bewegung des Rotors und damit des Changierfadenführers zu steuern. Zur Steuerung des Ständerflusses wird eine durch eine Flußsteuereinrichtung erzeugte Ständerspannung vorgegeben. Somit wird die Bewegung des Rotors durch wechselnde magnetische Erregungen mit jeweils vorgegebenem magnetischen Ständerfluß in den Wicklungen des Ständers gesteuert.
Dem Schrittmotor werden somit keine Ströme vorgegeben. Der Laststrom wird sich in Abhängigkeit von dem Betriebspunkt des Schrittmotors selbsttätig einstellen.
Eine besonders vorteilhafte Weiterbildung der Erfindung sieht vor, daß das vom Schrittmotor erzeugte Drehmoment geregelt wird. Ein Drehmomentenregler führt hierzu einen Ist-Soll-Vergleich zwischen einem Ist-Drehmoment und einem vorgegebenen Soll-Drehmoment durch. Bei Abweichung wird ein entsprechender Drehmomentkorrekturwert erzeugt, der zur Steuerung des Schrittmotors in die Ständerspannung umgewandelt wird. Damit läßt sich in der Changiereinrichtung jeweils ein zur Führung des Changierfadenführers in jeder Stellung des Changierfadenführers ausreichendes Drehmoment sowie Beschleunigung erzeugen. Durch die aus der Drehmomentregelung erzeugten Ständerspannung läßt sich die Phasenlage, d.h. die Winkelgeschwindigkeit, des Rotors regeln.
Der besondere Vorteil des erfindungsgemäßen Verfahrens mit Drehmomentenregelung liegt darin, daß in jeder Stellung des Rotors ein bestimmtes Drehmoment zugeordnet werden kann. Somit wird eine optimale Auslastung des Schrittmotors erreicht.
Das auf den Rotor wirkende Drehmoment ist im wesentlichen abhängig von der Lage des Rotors, dem Rotorfluß und dem Ständerfluß. Da der Rotor einen konstanten Rotorfluß aufweist, läßt sich gemäß einer besonders vorteilhaften Weiterbildung der Erfindung das Ist-Drehmoment allein aus den elektrischen Parametern Ständerstrom und Ständerfluß berechnen. Hierbei gibt es zwei Möglichkeiten, den momentanen Ist-Ständerfluß des Schrittmotors zu ermitteln.
Die erste Möglichkeit besteht darin, daß die Rotorposition geberlos ermittelt wird. Hierbei werden die Ständerspannung und der Ständerstrom laufend gemessen und in einer Rechenschaltung derart verknüpft, daß sich ein von der Rotorlage abhängiger Ständerfluß ergibt. Mit dem Ständerfluß und dem Ständerstrom kann nun das Ist-Drehmoment bestimmt werden, so daß das ermittelte Ist-Drehmoment mit einem Solldrehmoment verglichen werden kann. Das Solldrehmoment ergibt sich aus dem Bewegungsgesetz des Changierfadenführers und ist in Abhängigkeit von den jeweiligen Wickelgesetzen bekannt. Hierbei läßt sich das Drehmoment aus der Lage und der Geschwindigkeit des Changierfadenführers für jede Stellung des Rotors vorher bestimmen und wird dem Drehmomentregler vorgegeben.
Bei einer besonders vorteilhaften Variante des Verfahrens wird die Winkellage des Rotors mittels eines Sensors erfaßt und in die Regelung des Schrittmotors mit einbezogen. Bringt man diese Lagesignale in Phasengleichgewicht mit dem Rotor, so verfügt man über ein normiertes Rotorflußsignal. Diese normierten Rotorflußsignale lassen sich vorteilhaft in entsprechende Ständerflußsignale überführen. Damit ist der Ständerfluß bekannt.
Bei einer bevorzugten Weiterbildung des Verfahrens wird laufend der Ist-Ständerfluß ermittelt und einem Flußregler zum Ist-Soll-Vergleich aufgegeben. Durch eine derartige Regelung lassen sich vorteilhaft Störeinflüsse unmittelbar ausregeln. Dem Schrittmotor kann ein Sollständerfluß-Profil vorgegeben werden, das exakt die Bewegung des Changierfadenführers wiedergibt.
Da die Phasenlage des Ständerflusses im wesentlichen den Anstieg des Drehmomentes beeinflußt, jedoch die Amplitude des Ständerflusses den Absolutwert des Drehmomentes bestimmt, wird eine optimale Auslastung des Schrittmotors erreicht, wenn neben der Drehmomentregelung auch eine Flußregelung erfolgt.
Die von den Reglern erzeugten Ständerspannungen lassen sich dabei direkt vorteilhaft auf einen Pulsweitenmodulator zur Ansteuerung eines Umrichters aufgeben. Damit können alle üblichen Wicklungsarten wie wilde Wicklung, Präzisionswicklung usw. sowie Changierhubveränderungen mit der Changiereinrichtung durchgeführt werden.
Weitere vorteilhafte Weiterbildungen der Erfindung sind in den Unteransprüchen definiert.
Weitere Vorteile und Weiterbildungen des erfindungsgemäßen Verfahrens werden anhand eines Ausführungsbeispiels unter Hinweis auf die beigefügten Zeichnungen näher beschrieben.
Es stellen dar:
Fig. 1
schematisch eine erfindungsgemäße Changiereinrichtung;
Fig. 2
schematisch einen Schrittmotor mit zwei Ständerwicklungen;
Fig. 3
den schematischen Aufbau einer Flußsteuereinrichtung;
Fig. 4
ein Ersatzschaltbild eines Schrittmotors;
Fig. 5
den Ständerfluß und Rotorfluß im ständerfesten Koordinatensystem;
Fig. 6
ein Blockschaltbild der Flußsteuereinrichtung.
In Fig. 1 ist schematisch eine Changiereinrichtung gezeigt. Hierbei wird der Changierfadenführer 8 mittels eines Schrittmotors 4 innerhalb eines Changierhubes hin- und herbewegt. Die Übertragung der Bewegung vom Schrittmotor 4 zum Fadenführer 8 erfolgt über einen Riemen 7. Der Riemen 7 umschlingt die Riemenscheiben 6, 9 und 11. Der Changierfadenführer 8 ist fest mit dem endlosen Riemen 7 verbunden und wird an dem Riemen 7 zwischen den Riemenscheiben 11 und 9 hin- und hergeführt. Die Riemenscheibe 11 ist drehbar an einer Achse 12 gelagert, die Riemenscheibe 9 ist drehbar an der Achse 10 gelagert. Die Riemenscheibe 6 ist an einer Rotorwelle 5 befestigt, die mittels eines Rotors des Schrittmotors 4 mit wechselndem Drehsinn angetrieben wird. Der Schrittmotor 4 wird über eine Steuereinheit 22 angesteuert. Hierzu weist die Steuereinheit 22 einen Umrichter 2 und eine Flußsteuereinrichtung 1 auf. Die Flußsteuereinrichtung 1 ist mit einer Steuerleitung 23 und einer Signalleitung 24 mit dem Umrichter 2 verbunden. Die Flußsteuereinrichtung 1 ist mit einem Sensor 3 verbunden, der die Lage des Rotors bzw. der Rotorwelle 5 sensiert. Die Flußsteuereinrichtung besitzt zudem einen Eingang zur Übertragung von Sollvorgaben für die Changierung.
Parallel zu dem zwischen der Riemenscheibe 9 und 11 gespannten Riemen 7 ist eine Spulspindel 15 unterhalb des Riementriebs angeordnet, auf der eine Hülse 14 befestigt ist. Auf der Hülse 14 wird eine Spule 13 gewickelt. Hierzu wird ein Faden vom Changierfadenführer 8 entlang der Spulenoberfläche hin- und herverlegt. Hierbei ist jede Stellung des Changierfadenführers 8 einer bestimmten Winkellage des Rotors im Schrittmotor zugeordnet. Somit können über die Flußsteuereinrichtung 1 dem Schrittmotor 4 zu jeder Changierfadenführerposition die erforderlichen Feldgrößen zur Beeinflussung des Rotors vorgegeben werden.
Die Funktionsweise des Schrittmotors läßt sich anhand der in Fig. 2 gezeigten schematischen Abbildung wie folgt beschreiben. Der Schrittmotor 4 besitzt zumindest zwei um 90° versetzt zueinander angeordnete Wicklungen 16 und 17. Die Wicklungen 16 und 17 werden über einen Umrichter 2 nach einer vorgegebenen Zeitfolge wechselweise angesteuert. Dabei baut sich jeweils in den Wicklungen ein magnetisches Feld mit einem magnetischen Fluß ΨS auf. In Wicklungen fließt ein Laststrom (Ständerstrom) iS. Nun wird sich ein in der Mitte der Wicklungen gelagerter Rotor (hier nicht gezeigt) mit seinem Permanentmagnetfeld bewegen.
Zur Lageerfassung des Rotors ist ein Sensor 3 an dem Schrittmotor angebracht. Der Sensor 3 ist so ausgelegt, daß die Schrittzahl des Sensors durch die Polpaarzahl des Schrittmotors ganzzahlig teilbar ist. Damit kann sein Signal sowohl für eine Lageregelung des Rotors als auch für die Ständerflußbestimmung benutzt werden. Besonders einfache Verhältnisse ergeben sich dann, wenn ein Zahnrad verwendet wird, dessen Zähnezahl identisch mit der Polpaarzahl des Motors ist. Mittels zweier Feldplatten, die diesbezüglich der Zahnteilung einen Versatz von 90° aufweisen, erhält man ein Sinussignal und ein Cosinussignal. Bringt man diese Signale in Phasengleichgewicht mit dem Rotor, so erhält mein normiertes Rotorflußsignal.
Der momentane Ständerstrom iS und das Sensorsignal ϕ werden dann - wie in Fig. 3 gezeigt - einem Wandler 18 der Flußsteuerung aufgegeben. Die Flußsteuereinrichtung ist schematisch in Fig. 3 dargestellt. Hierbei sind Vektorgrößen durch einen Pfeil gekennzeichnet.
Der Wandler 18 ermittelt aus dem Ständerstrom und dem Sensorsignal ϕ einen Istwert des Ständerflusses ΨS. Der Istwert des Ständerflusses wird sodann einem Flußregler 20 und gleichzeitig einem Drehmomentenregler 19 zugeführt. In dem Flußregler 20 erfolgt direkt am Reglereingang ein Vergleich zwischen einem vorgegebenen Sollwert des Ständerflusses mit momentanen Istwert des Ständerflusses. Im Fall einer Abweichung, wird der Flußregler 20 ein Spannungssignal erzeugen, welches einem Pulsweitenmodulator 21 aufgegeben wird, der mit dem Umrichter 2 verbunden ist. Parallel zur Flußreglung erfolgt in dem Drehmomentenregler 19 ein Vergleich zwischen einem vorgegebenen Sollwert des Drehmomentes sowie dem Istwert des Drehmomentes des Schrittmotors. Das Ist-Drehmoment wird hierbei aus den aufgegebenen Größen des Ständertroms iS und des Ständerflusses ΨS ermittelt. Der Drehmomentenregler 19 erzeugt bei Abweichung ebenfalls ein Spannungssignal, das dem Pulsweitenmodulator 21 zugeführt wird. Die Ständerspannung uS setzt sich hierbei aus einer Drehmoment bildenden Komponente uM und einer Fluß bildenden Komponente uΨ zusammen, auf dessen Zusammenhang später noch genauer eingegangen wird.
Zur Beschreibung des Schrittmotors wird weiterhin das in Fig. 4 gezeigte Ersatzschaltbild und das in Fig. 5 gezeigte Zeigerdiagramm verwendet. Die Maschinengrößen werden als Raumzeiger in einem ständerfesten Koordinatensystem verstanden, wobei die α-Achse des Koordinatensystems mit der Wicklungsachse der Maschine zusammenfällt und die β-Achse zur α-Achse orthogonal ist. Das Drehmoment eines zweiphasigen Schrittmotors läßt sich dann nach folgender Gleichung berechnen: M = p*1/L*|ΨS|*|ΨR|*sinδ. Hierbei ist p die Polpaarzahl des Schrittmotors und δ der Winkel zwischen dem Ständer- und Rotorflußraumzeiger. Der Ständerfluß ΨS kann direkt aus der Ständerspannung uS aus folgender Gleichung ermittelt werden: ΨS = ∫ (uS-iS*R)*dt
Demgegenüber kann der Rotorfluß wegen der Permanenterregung nicht in seiner Amplitude beeinflußt werden. Seine Lage ist nur von der Stellung des Rotors abhängig. Um die Maschine möglichst gut ausnutzen zu können, sollte die Spitze des Ständerflußraumzeigers auf einer Kreisbahn geführt werden. Dies kann dadurch erreicht werden, daß ein Spannungsraumzeiger uM auf die Wicklung geschaltet wird, dessen Richtung orthogonal zur Ständerflußrichtung liegt. Da der Ständerfluß ΨS im wesentlichen ein Integral der Ständerspannung ist, versetzt ein solcher Spannungsraumzeiger den Ständerflußraumzeiger ΨS in Rotation. Dieser Spannungsraumzeiger allein kann aber nur die Winkelgeschwindigkeit ω, nicht aber die Amplitude des Ständerflusses beeinflussen. Es wird deshalb ein weiterer Spannungsraumzeiger uΨ benötigt der in Richtung des Ständerflußraumzeigers ΨS zeigt. Die Ständerspannung uS ergibt sich damit als Summe aus beiden Komponenten uM und uΨ.
Bei idealem Leerlauf der Maschine M=0 müssen ΨS und ΨR deckungsgleich umlaufen. Soll nun das Drehmoment schnell wachsen, so muß der Spannungsraumzeiger uM stark vergrößert werden. Hierdurch vergrößert sich sofort die Winkelgeschwindigkeit ωS des Ständerflußraumzeigers, während der Rotorflußraumzeiger aufgrund seiner festen Bindung an die Rotorlage zunächst noch mit seiner alten langsameren Winkelgeschwindigkeit umläuft. Mit der Differenzwinkelgeschwindigkeit vergrößert sich jetzt der Winkel δ zwischen Ständer-und Rotorflußraumzeiger und damit auch das Drehmoment. Ist der gewünschte Drehmoment-Sollwert erreicht, muß die Spannungsamplitude von uM wieder auf einen niedrigeren Wert verringert werden. Gleichzeitig muß uΨ verstellt werden, da sich die Komponente des Spannungsabfalls (iS*R) am Ständerwiderstand R entgegen der Richtung von ΨS aufgrund des Laststromsanstieges vergrößert hat. Damit kann der Ständerfluß im Schrittmotor in seiner Amplitude und in seiner Phasenlage durch die Ständerspannung uS bestimmt bzw. gesteuert werden. Das Ausgangssignal der Ständerspannung kann nach entsprechender Normierung direkt als Eingangssignal eines Pulsbreitenmodulators genutzt werden. Dabei ist zu beachten, daß der Spannungsraumzeiger nur noch in den Zeitabschnitten beinflußt werden kann, in denen der Umrichter überhaupt noch taktet.
Ist die Ständerflußbestimmung mit einer Lageregelung gekoppelt, so läßt sich der Ständerfluß ΨS aus folgender Gleichung berechnen: ΨS = ΨR + iS*L
Mit Hilfe der - wie in Fig. 2 gezeigt - ermittelten Sinus- und Cosinus-Rotorsignale und einem konstanten Rotorfluß-Nennwert ergeben sich bezogen auf das Ständerkoordinatensystem folgende Ständerflüsse: ΨS,α = Ψ0*cos ϕ+iS,α*L ΨS,β = Ψ0*sin ϕ+iS,β*L
Diese Istwerte des Ständerflusses können nun einem Flußregler oder einem Drehmomentregler aufgegeben werden.
In Fig. 6 ist ein Blockschaltbild einer kombinierten Regelung eines Ständerflusses und des Drehmoments gezeigt. Hierbei wird zunächst aus den Ist-Ständerflüssen und den Ständerströmen ein Ist-Drehmoment wie folgt berechnet: M = p(ΨS,α *iS,β)-(ΨS,β*iS,α)
Der bestimmte Istwert des Drehmomentes wird einem Drehmomentregler zugeführt, der einen Ist-Soll-Vergleich durchführt. Bei Feststellung einer Abweichung wird ein Drehmomenten-Korrekturwert kM erzeugt. Aus der Beziehung uM=jkMS wird der Korrekturwert in eine Ständerspannung umgewandelt und einem Pulsweitenmodulator zur Ansteuerung des Umrichters aufgegeben. Parallel zur Drehmomentregelung wird gleichzeitig eine Flußregelung durchgeführt. Hierbei wird der Ständerfluß nach der Normierung mit einem Sollständerfluß-Reglereingang verglichen. Bei Abweichung wird der Flußregler einen Fluß-Korrekturwert kΨ erzeugen. Über die Beziehung uΨ = jkΨS ergibt sich ein Spannungswert, der ebenfalls dem Pulsweitenmodulator aufgegeben wird.
Mittels dieser Regelung gelingt es, bei dem Schrittmotor häufig auftretende Schwingungen bei schnellen Reversiervorgängen durch die direkte Kontrolle des Motormoments zu beseitigen, so daß der Changierfadenführer in den Endbereichen des Changierhubes sicher und schwingungsfrei geführt wird. Hierdurch kann der Motor weit besser ausgenutzt werden als dies in dem meist nur gesteuerten Betrieb möglich ist.
BEZUGSZEICHENLISTE
1
Flußsteuerung
2
Umrichter
3
Sensor
4
Schrittmotor
5
Rotorwelle
6
Riemenscheibe
7
Riemen
8
Changierfadenführer
9
Riemenscheibe
10
Achse
11
Riemenscheibe
12
Achse
13
Spule
14
Hülse
15
Spulspindel
16
Wicklung
17
Wicklung
18
Wandler
19
Drehmomentregler
20
Flußregler
21
Pulsweitenmodulator
22
Steuereinheit
23
Steuerleitung
24
Signalleitung

Claims (13)

  1. Verfahren zum Steuern einer Changiereinrichtung, bei welchem ein Changierfadenführer (8) der Changiereinrichtung durch einen steuerbaren Schrittmotor (4) oszillierend innerhalb eines Changierhubes angetrieben wird und bei welchem der Changierfadenführer (8) in seiner Position und seiner Geschwindigkeit durch einen Rotor des Schrittmotors (4), bestimmt ist, wobei der Rotor sich innerhalb eines Ständers des Schrittmotors (4) mit mehreren Wicklungen bewegt,
    dadurch gekennzeichnet, daß
    eine Ständerspannung (uS) mittels einer Flußsteuereinrichtung laufend erzeugt und dem Schrittmotor (4) aufgegeben wird, so daß die Bewegung des Rotors durch einen durch die Ständerspannung (uS) bestimmten Ständerfluß (ΨS) gesteuert wird.
  2. Verfahren nach Anspruch 1,
    dadurch gekennzeichnet, daß
    ein auf den Rotor wirkendes Ist-Drehmoment (Mist) laufend ermittelt wird,
    daß das Ist-Drehmomnet (Mist) einem Drehmomentenregler aufgegeben wird,
    daß der Drehmomentenregler nach einem Ist-Soll-Vergleich zwischen dem Ist-Drehmoment (Mist) und einem vorgegebenen Soll-Drehmoment (Msoll) einen Drehmomentkorrekturwert (kM) erzeugt und daß der Drehmomentenkorrekturwert (kM) in die Ständerspannug (uM) gewandelt wird.
  3. Verfahren nach Anspruch 2,
    dadurch gekennzeichnet, daß
    das Ist-Drehmoment (Mist) bei einem konstanten Rotorfluß (ΨR) aus einem laufend gemessenen Ständerstrom (iS) und einem Ist-Ständerfluß (ΨS) berechnet wird.
  4. Verfahren nach Anspruch 3,
    dadurch gekennzeichnet, daß
    der Ist-Ständerfluß (ΨS) aus einer Ständerspannung (uS) und dem Ständerstrom (iS) mittels einer Rechenschaltung ermittelt wird.
  5. Verfahren nach Anspruch 3,
    dadurch gekennzeichnet, daß
    der Ist-Ständerfluß (ΨS) aus der Winkellage (ϕ) des Rotors und dem Ständerstrom (iS) bestimmt wird, wobei die Winkellage (ϕ) des Rotors durch einen Lagesensor gemessen wird und daß aus dem Sensorsignal, dem Rotorfluß (ΨR) und dem Ständerstrom (iS) der Ist-Ständerfluß (ΨS) berechnet wird.
  6. Verfahren nach einem der Ansprüche 2 bis 5,
    dadurch gekennzeichnet, daß
    das Soll-Drehmoment (Msoll) aus der Lage und der Geschwindigkeit des Changierfadenführers innerhalb des Changierhubes bestimmt wird.
  7. Verfahren nach Anspruch 1,
    dadurch gekennzeichnet, daß
    der Ist-Ständerfluß (ΨS) einem Flußregler aufgegeben wird, daß der Flußregler nach einem Ist-Soll-Vergleich zwischen dem Ist-Ständerfluß (ΨS) und einem Soll-Ständerfluß (Ψsoll) einen Flußkorrekturwert (kΨ) erzeugt und daß der Flußkorrekturwert (kΨ) in die Ständerspannug (uΨ) zur Steuerung des Schrittmotors gewandelt wird.
  8. Verfahren nach einem der Ansprüche 1 bis 7,
    dadurch gekennzeichnet, daß
    der Ist-Ständerfluß (ΨS) dem Flußregler aufgegeben wird, daß der Flußregler nach einem Ist-Soll-Vergleich zwischen dem Ist-Ständerfluß (ΨS) und einem Soll-Ständerfluß (Ψsoll) einen Flußkorrekturwert (kΨ) zur Steuerung des Schrittmotors erzeugt und daß der Flußkorrekturwert (kΨ) und der Drehmomentenkorrekturwert (kM) in eine Ständerspannug (uS) gewandelt wird.
  9. Verfahren nach einem der Ansprüche 1 bis 8,
    dadurch gekennzeichnet, daß
    die Ständerspannung einem Pulsweitenmodulator aufgegeben wird.
  10. Verfahren nach einem der Ansprüche 1 bis 9,
    dadurch gekennzeichnet, daß
    die Regler jeweils einen proportionalen und einen integralen Anteil aufweisen.
  11. Changiereinrichtung zum Verlegen eines Fadens mit einem innerhalb eines Changierhubes hin- und herbewegten Changierfadenführers (8), mit einem den Changierfadenführer (8) antreibenden Schrittmotor (4) und mit einer mit dem Schrittmotor (4) verbundenen Steuereinheit (22), welche den Schrittmotor (4) derart steuert, daß die Position und die Geschwindigkeit des Changierfadenführers (4) durch einen Rotor (5) des Schrittmotors (4) bestimmt ist,
    dadurch gekennzeichnet, daß
    die Steuereinheit (22) eine Flußsteuereinrichtung (1) und einen Umrichter (2) aufweist, daß die Flußsteuereinrichtung (1) mit dem Umrichter (2) verbunden ist und daß die Flußsteuereinrichtung (1) eine Ständerspannung erzeugen und die Ständerspannung dem Umrichter (2) zur Steuerung des Schrittmotors (4) aufgeben kann.
  12. Changiereinrichtung nach Anspruch 11,
    dadurch gekennzeichnet, daß
    die Flußsteuereinrichtung (1) einen Drehmomentenregler (19) und/oder einen Flußregler (20) aufweist, deren Ausgangssignale mitttels eines Pulsweitenmodulator (21) dem Umrichter (2) aufgegeben werden.
  13. Changiereinrichtung nach Anspruch 11 oder 12,
    dadurch gekennzeichnet, daß
    die Flußsteuereinrichtung (1) mit einem am Schrittmotor(4) angeordneten Lagesensor (3) verbunden ist, welcher die Winkellage des Rotors (5) erfaßt.
EP98916956A 1997-03-20 1998-03-16 Verfahren zum steuern einer changiereinrichtung Expired - Lifetime EP0906239B1 (de)

Applications Claiming Priority (3)

Application Number Priority Date Filing Date Title
DE19711546 1997-03-20
DE19711546 1997-03-20
PCT/EP1998/001504 WO1998042606A1 (de) 1997-03-20 1998-03-16 Verfahren zum steuern einer changiereinrichtung

Publications (2)

Publication Number Publication Date
EP0906239A1 EP0906239A1 (de) 1999-04-07
EP0906239B1 true EP0906239B1 (de) 2000-11-02

Family

ID=7823960

Family Applications (1)

Application Number Title Priority Date Filing Date
EP98916956A Expired - Lifetime EP0906239B1 (de) 1997-03-20 1998-03-16 Verfahren zum steuern einer changiereinrichtung

Country Status (8)

Country Link
US (1) US6008613A (de)
EP (1) EP0906239B1 (de)
JP (1) JP4647043B2 (de)
CN (1) CN1131839C (de)
DE (1) DE59800323D1 (de)
TR (1) TR199802005T1 (de)
TW (1) TW492944B (de)
WO (1) WO1998042606A1 (de)

Cited By (1)

* Cited by examiner, † Cited by third party
Publication number Priority date Publication date Assignee Title
DE102009022061A1 (de) 2009-05-20 2010-11-25 Oerlikon Textile Gmbh & Co. Kg Changiereinrichtung

Families Citing this family (15)

* Cited by examiner, † Cited by third party
Publication number Priority date Publication date Assignee Title
DE59810677D1 (de) * 1997-07-26 2004-03-04 Barmag Barmer Maschf Verfahren und changiereinrichtung zum verlegen eines fadens
DE29904699U1 (de) * 1999-03-15 2000-09-28 Münnekehoff, Gerd, Dipl.-Ing., 42857 Remscheid Changiereinrichtung
IT1312588B1 (it) * 1999-05-31 2002-04-22 Sp El Srl Procedimento e apparecchiatura per il controllo dell'avvolgimento difili e simili su supporti rotanti quali rocche di filati e simili.
ITMI20011851A1 (it) * 2001-09-03 2003-03-03 Sp El Srl Dispositivo e apparecchiatura a guidafilo magnetico per l'avvolgimento di un filo su supporti cilindrici
JP3697583B2 (ja) * 2002-01-29 2005-09-21 村田機械株式会社 トラバース制御装置
JP4711103B2 (ja) * 2003-03-28 2011-06-29 村田機械株式会社 糸の巻き取り方法とその装置
DE102005002409A1 (de) * 2005-01-19 2006-07-27 Saurer Gmbh & Co. Kg Verfahren und Vorrichtung zum Bestimmen der Nullposition eines changierbaren Fadenführers
JP2006298499A (ja) * 2005-04-15 2006-11-02 Murata Mach Ltd 糸のトラバース装置
CN101513966B (zh) * 2009-01-20 2012-01-11 常州工学院 线型收卷机
JP5368205B2 (ja) * 2009-07-24 2013-12-18 Tmtマシナリー株式会社 トラバース装置の制御装置
JP5291058B2 (ja) * 2010-08-26 2013-09-18 村田機械株式会社 糸の巻き取り方法とその装置
JP2014094786A (ja) * 2012-11-07 2014-05-22 Murata Mach Ltd 綾振装置およびこれを備えた巻取装置
CZ201380A3 (cs) * 2013-02-07 2014-08-27 Rieter Cz S.R.O. Způsob rozvádění navíjené příze a zařízení k jeho provádění
DE102018112802A1 (de) 2018-05-29 2019-12-05 Maschinenfabrik Rieter Ag Verfahren zum Betreiben einer Textilmaschine sowie Textilmaschine
WO2020182980A1 (de) * 2019-03-14 2020-09-17 Oerlikon Textile Gmbh & Co. Kg Verfahren zur steuerung einer mehrzahl von spuleinrichtungen sowie eine textilmaschine

Family Cites Families (14)

* Cited by examiner, † Cited by third party
Publication number Priority date Publication date Assignee Title
NL160125C (nl) * 1967-10-28 1979-09-17 Vdo Schindling Stapmotor met een permanent-magnetisch rotor.
US3945581A (en) * 1970-08-14 1976-03-23 Barmag Barmer Maschinenfabrik Aktiengesellschaft High-speed cross-winding device
DE2935800A1 (de) * 1979-09-05 1981-04-02 Ibm Deutschland Gmbh, 7000 Stuttgart Quantisierte geschwindigkeitssteuerung eines schrittmotors
US4336484A (en) * 1980-07-03 1982-06-22 Textron, Inc. Motor control
US4437619A (en) * 1981-05-06 1984-03-20 Hall Cary Catenary controller
JPS63277495A (ja) * 1987-05-09 1988-11-15 Oki Electric Ind Co Ltd ステッピングモ−タ駆動装置
US4928050A (en) * 1988-01-29 1990-05-22 Canon Kabushiki Kaisha Recorder
JP2524807B2 (ja) * 1988-04-22 1996-08-14 帝人製機株式会社 糸条の巻取機におけるトラバ―ス装置
JPH0798414B2 (ja) * 1989-07-18 1995-10-25 キヤノン株式会社 記録装置
DE8915275U1 (de) * 1989-12-30 1990-02-15 Palitex Project-Company GmbH, 47804 Krefeld Textilmaschine mit einer oder mehreren parallel liegenden Reihen von Fadenaufwickelaggregaten
EP0453622B1 (de) * 1990-04-23 1995-02-15 Ssm Schärer Schweiter Mettler Ag Verfahren und Vorrichtung zum Aufwickeln eines Fadens auf eine Spule
JPH04312400A (ja) * 1991-04-09 1992-11-04 Seikosha Co Ltd ステップモータの逆転駆動方法
JP2692548B2 (ja) * 1993-11-04 1997-12-17 村田機械株式会社 ワインダの巻取制御方法
DE29616651U1 (de) * 1996-09-25 1998-01-29 C + L Textilmaschinen GmbH, 88367 Hohentengen Wickelmaschine

Cited By (1)

* Cited by examiner, † Cited by third party
Publication number Priority date Publication date Assignee Title
DE102009022061A1 (de) 2009-05-20 2010-11-25 Oerlikon Textile Gmbh & Co. Kg Changiereinrichtung

Also Published As

Publication number Publication date
JP2001516319A (ja) 2001-09-25
WO1998042606A1 (de) 1998-10-01
JP4647043B2 (ja) 2011-03-09
DE59800323D1 (de) 2000-12-07
EP0906239A1 (de) 1999-04-07
TR199802005T1 (xx) 2001-03-21
CN1220641A (zh) 1999-06-23
TW492944B (en) 2002-07-01
US6008613A (en) 1999-12-28
CN1131839C (zh) 2003-12-24

Similar Documents

Publication Publication Date Title
EP0906239B1 (de) Verfahren zum steuern einer changiereinrichtung
EP0453622B1 (de) Verfahren und Vorrichtung zum Aufwickeln eines Fadens auf eine Spule
EP0999992B1 (de) Verfahren und changiereinrichtung zum verlegen eines fadens
EP1159216B1 (de) Fadenführer zum traversierenden zuführen eines fadens zu einer rotierend angetriebenen auflaufspule
EP2068436B1 (de) Verfahren und Vorrichtung zum Erkennen von Schrittverlusten eines Schrittmotors
DE10300106B4 (de) Verfahren zur Steuerung des Antriebsmotors einer Traversierführung
DE2219755B2 (de) Vorrichtung zum konstanthalten des fadenzuges an praezisionskreuzspulmaschinen
DE102008027720A1 (de) Verfahren zur sensorlosen Positionserfassung eines elektrischen Stell- oder Positionierantriebs mit einem Gleichstrommotor
EP0768271A2 (de) Spulmaschine für einen kontinuierlich auflaufenden Faden
DE2534239C2 (de) Verfahren und Vorrichtung zur Bildstörung an einer Kreuzspuleinrichtung
EP0853961A1 (de) Trainingsgerät
DE19519542B4 (de) Verfahren und Vorrichtung zur Vermeidung von Bildwicklungen
DE4442151A1 (de) Schaltungsanordnung zum Steuern eines elektronisch kommutierten Motors
DE10322533A1 (de) Traversiervorrichtung und Traversiersteuervorrichtung
EP3374304B1 (de) Verfahren zum steuern einer flügelrad-fadenverlegevorrichtung, flügelrad-fadenverlegevorrichtung sowie spulmaschine
EP0469177A1 (de) Verfahren und Vorrichtung zum Wiederanlassen eines Induktionsmotors
EP3864746B1 (de) Verfahren zum bestimmen einer rotorstellung eines bldc-motors
WO2015078763A1 (de) Changiereinheit und verfahren zur steuerung einer changiereinheit
EP1684403B1 (de) Verfahren und Vorrichtung zum Bestimmen der Nullposition eines changierbaren Fadenführers
DE19835888B4 (de) Verfahren zum Aufwickeln eines Fadens
DE3621460A1 (de) Drehkoerper-positionsregelgeraet
EP1342688B1 (de) Verfahren und Vorrichtung zum Aufwinden eines Fadens an einer Kreuzspuleinrichtung
EP1883597B1 (de) Fadenverlegeantrieb, insbesondere für eine arbeitsstelle einer textilmaschine
DE3225729C2 (de) Vorrichtung zum Drehen eines schwenkbaren Maschinenelements zwischen zwei Rastpositionen
EP0827267A1 (de) Verfahren zur Bestimmung der Lage des Flussmaximums bei einer permanenterregten oder fremdmagnetisierten Synchronmaschine sowie Vorrichtung zur Durchführung des Verfahrens

Legal Events

Date Code Title Description
PUAI Public reference made under article 153(3) epc to a published international application that has entered the european phase

Free format text: ORIGINAL CODE: 0009012

17P Request for examination filed

Effective date: 19990209

AK Designated contracting states

Kind code of ref document: A1

Designated state(s): CH DE FR GB IT LI

GRAG Despatch of communication of intention to grant

Free format text: ORIGINAL CODE: EPIDOS AGRA

GRAG Despatch of communication of intention to grant

Free format text: ORIGINAL CODE: EPIDOS AGRA

GRAH Despatch of communication of intention to grant a patent

Free format text: ORIGINAL CODE: EPIDOS IGRA

17Q First examination report despatched

Effective date: 20000216

GRAH Despatch of communication of intention to grant a patent

Free format text: ORIGINAL CODE: EPIDOS IGRA

GRAA (expected) grant

Free format text: ORIGINAL CODE: 0009210

AK Designated contracting states

Kind code of ref document: B1

Designated state(s): CH DE FR GB IT LI

REG Reference to a national code

Ref country code: CH

Ref legal event code: EP

REG Reference to a national code

Ref country code: CH

Ref legal event code: NV

Representative=s name: HERMANN KAHLHOEFER

REF Corresponds to:

Ref document number: 59800323

Country of ref document: DE

Date of ref document: 20001207

GBT Gb: translation of ep patent filed (gb section 77(6)(a)/1977)

Effective date: 20001120

ITF It: translation for a ep patent filed
ET Fr: translation filed
PLBE No opposition filed within time limit

Free format text: ORIGINAL CODE: 0009261

STAA Information on the status of an ep patent application or granted ep patent

Free format text: STATUS: NO OPPOSITION FILED WITHIN TIME LIMIT

26N No opposition filed
REG Reference to a national code

Ref country code: GB

Ref legal event code: IF02

PGFP Annual fee paid to national office [announced via postgrant information from national office to epo]

Ref country code: GB

Payment date: 20080326

Year of fee payment: 11

PGFP Annual fee paid to national office [announced via postgrant information from national office to epo]

Ref country code: FR

Payment date: 20080319

Year of fee payment: 11

GBPC Gb: european patent ceased through non-payment of renewal fee

Effective date: 20090316

REG Reference to a national code

Ref country code: FR

Ref legal event code: ST

Effective date: 20091130

PG25 Lapsed in a contracting state [announced via postgrant information from national office to epo]

Ref country code: GB

Free format text: LAPSE BECAUSE OF NON-PAYMENT OF DUE FEES

Effective date: 20090316

Ref country code: FR

Free format text: LAPSE BECAUSE OF NON-PAYMENT OF DUE FEES

Effective date: 20091123

PGFP Annual fee paid to national office [announced via postgrant information from national office to epo]

Ref country code: CH

Payment date: 20160318

Year of fee payment: 19

PGFP Annual fee paid to national office [announced via postgrant information from national office to epo]

Ref country code: DE

Payment date: 20160331

Year of fee payment: 19

PGFP Annual fee paid to national office [announced via postgrant information from national office to epo]

Ref country code: IT

Payment date: 20160331

Year of fee payment: 19

REG Reference to a national code

Ref country code: DE

Ref legal event code: R119

Ref document number: 59800323

Country of ref document: DE

REG Reference to a national code

Ref country code: CH

Ref legal event code: PL

PG25 Lapsed in a contracting state [announced via postgrant information from national office to epo]

Ref country code: DE

Free format text: LAPSE BECAUSE OF NON-PAYMENT OF DUE FEES

Effective date: 20171003

PG25 Lapsed in a contracting state [announced via postgrant information from national office to epo]

Ref country code: CH

Free format text: LAPSE BECAUSE OF NON-PAYMENT OF DUE FEES

Effective date: 20170331

Ref country code: IT

Free format text: LAPSE BECAUSE OF NON-PAYMENT OF DUE FEES

Effective date: 20170316

Ref country code: LI

Free format text: LAPSE BECAUSE OF NON-PAYMENT OF DUE FEES

Effective date: 20170331