EP0840073A2 - Warmluftheizeinrichtung - Google Patents

Warmluftheizeinrichtung Download PDF

Info

Publication number
EP0840073A2
EP0840073A2 EP97810758A EP97810758A EP0840073A2 EP 0840073 A2 EP0840073 A2 EP 0840073A2 EP 97810758 A EP97810758 A EP 97810758A EP 97810758 A EP97810758 A EP 97810758A EP 0840073 A2 EP0840073 A2 EP 0840073A2
Authority
EP
European Patent Office
Prior art keywords
air
fan
warm air
cooling
shut
Prior art date
Legal status (The legal status is an assumption and is not a legal conclusion. Google has not performed a legal analysis and makes no representation as to the accuracy of the status listed.)
Granted
Application number
EP97810758A
Other languages
English (en)
French (fr)
Other versions
EP0840073B1 (de
EP0840073A3 (de
Inventor
Martin Frei
Current Assignee (The listed assignees may be inaccurate. Google has not performed a legal analysis and makes no representation or warranty as to the accuracy of the list.)
Individual
Original Assignee
Individual
Priority date (The priority date is an assumption and is not a legal conclusion. Google has not performed a legal analysis and makes no representation as to the accuracy of the date listed.)
Filing date
Publication date
Application filed by Individual filed Critical Individual
Publication of EP0840073A2 publication Critical patent/EP0840073A2/de
Publication of EP0840073A3 publication Critical patent/EP0840073A3/de
Application granted granted Critical
Publication of EP0840073B1 publication Critical patent/EP0840073B1/de
Anticipated expiration legal-status Critical
Expired - Lifetime legal-status Critical Current

Links

Images

Classifications

    • FMECHANICAL ENGINEERING; LIGHTING; HEATING; WEAPONS; BLASTING
    • F04POSITIVE - DISPLACEMENT MACHINES FOR LIQUIDS; PUMPS FOR LIQUIDS OR ELASTIC FLUIDS
    • F04DNON-POSITIVE-DISPLACEMENT PUMPS
    • F04D29/00Details, component parts, or accessories
    • F04D29/05Shafts or bearings, or assemblies thereof, specially adapted for elastic fluid pumps
    • F04D29/056Bearings
    • F04D29/059Roller bearings
    • FMECHANICAL ENGINEERING; LIGHTING; HEATING; WEAPONS; BLASTING
    • F04POSITIVE - DISPLACEMENT MACHINES FOR LIQUIDS; PUMPS FOR LIQUIDS OR ELASTIC FLUIDS
    • F04DNON-POSITIVE-DISPLACEMENT PUMPS
    • F04D29/00Details, component parts, or accessories
    • F04D29/58Cooling; Heating; Diminishing heat transfer
    • F04D29/582Cooling; Heating; Diminishing heat transfer specially adapted for elastic fluid pumps
    • FMECHANICAL ENGINEERING; LIGHTING; HEATING; WEAPONS; BLASTING
    • F24HEATING; RANGES; VENTILATING
    • F24HFLUID HEATERS, e.g. WATER OR AIR HEATERS, HAVING HEAT-GENERATING MEANS, e.g. HEAT PUMPS, IN GENERAL
    • F24H3/00Air heaters
    • F24H3/02Air heaters with forced circulation
    • F24H3/06Air heaters with forced circulation the air being kept separate from the heating medium, e.g. using forced circulation of air over radiators

Definitions

  • the invention relates to a warm air heater according to the Preamble of claim 1.
  • the warm air can either be caused by a chimney-like one Generate heating system and / or by an electric heater.
  • the Warm air then circulates over heat storage stones.
  • the input temperature should be relatively high via storage stones adequate heat radiation along the entire circulation path to get the warm air.
  • the air circulation must pass through a Fan to be supported, which is to be arranged in a heat chamber. As the temperature of the hot air to be circulated increases Difficulty with the bearings of the fan because of the temperature which endure the bearings in continuous operation without damage, is limited.
  • the object of the invention is to be achieved in a warm air heating system the bearings of a fan arranged in a heat chamber to protect against overheating.
  • shut-off devices either on recirculated air, fresh air and room air supply or can be switched to storage mode.
  • the generation of warm air can be done either by a fireplace, for example of the type shown in Fig. 3 or by Electric heating. It is also possible to combine the two types of heating to combine so that, for example, in the event of a long absence the electric heater is switched on manually or automatically as required can be.
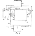
  • a pre-heating chamber is located on a base box or base 7 7 or overpressure chamber in which a ventilation box 21 is built into it.
  • the warm air to be circulated is here fireplace not shown, for example a natural stone oven, warmed, which housed in a remote housing is.
  • a fan designed as a radial fan 24 - also a radial fan called - serves for the closed circulation of warm air and is located inside a heat chamber 20.
  • the variable speed electric drive motor 22 - at most together with control electronics - Is arranged outside the heat chamber 20.
  • the motor 22 is outside of a casing 19 surrounded with openings for access to room air.
  • the two lateral bearings 50, 51 of the fan 24 are preferably ball bearings, the resiliently supported on a housing surrounding the fan impeller or are hung.
  • the fan housing is one after Provide outlet opening facing above.
  • the cooling of the ball bearings 50.51 takes place by supplying cooling air such as this is indicated by arrows in Fig. 1.
  • the cooling air for the bearing 50 is fed through a channel 54 which is between the radial fan and the housing 19 is located. In Fig. 2, this channel is the For the sake of clarity, partially open.
  • a hose or pipeline 60 is provided, which starts from the housing 19 which surrounds the motor 22.
  • the cooling air could instead of from space 23 also from anywhere in the area be sucked in.
  • the cooling air is then turned of the fan impeller 24 by its axially extending, inclined blades spaced apart from one another in the circumferential direction 29 is transported radially outwards, where it finds itself with the warm air in the heating chamber 20 mixes.
  • the cooling air for the ball bearings is thus from Fan impeller 24 is sucked in without an additional fan or Like. is necessary.
  • the cooling air causes the temperature of the bearings be kept at a temperature permissible for continuous operation can.
  • the warm air is circulated by the radial fan 24 through a Nozzle 25 discharged upwards and then to the storage stones passed, as explained below with reference to FIGS. 2 and 3 becomes.
  • the embodiment shown in Fig. 2 relates to an electric heater, in which the heat by a resistance heater, not shown is produced.
  • the structure is similar to that in Fig. 1, wherein same reference numbers mean same parts.
  • the housing 19 stands for Cooling of the bearings 50, 51 in connection with the room air.
  • the cooling channel 54 is shown partially open to make the drive shaft 56 visible.
  • the drive motor 22 together with any associated electronics is from the heat chamber 20 through a heat insulating partition 69 severed.
  • the 3 contains a housing 1 with a Base 2.
  • the combustion chamber 4 with grate 5 is through a movable viewing window 3 lockable. From the combustion chamber 4 leads in the usual way a flue gas pipe 6 in a chimney.
  • a conventional heat exchanger 8 which is heated by the flue gases is and gives off heat to the circulating air, which circulates through the tube 10 Emits air.
  • the hot air passes from this pipe section 10 on upper end of the housing through lines 12 via an inlet connection 9
  • Storage stones 12 are hollow and preferably contain baffles 14 to create turbulence.
  • Of the Outlet 16 of the storage stones 12 stands for the return air via a line with a pipe stub 18 in the base 2 in flow connection. Thereby the warm air can move in a closed circulating air system.
  • Fig. 4 shows a horizontal section through the base 2 of a heating device 3 with the heat chamber 20 with a mixing room 17 is combined.
  • the heat chamber 20 is the through the radial fan 24 driven by the motor 22.
  • the two pairs of end flaps 30, 31 and 36, 37 are via holders 39, 40 with a common actuating rod 42 connected.
  • actuating rod 42 One engages in this actuating rod 42 Pivot 44 a pivotable lever 46, which - according to FIG. 5 - over a further linkage 48 connected to an outwardly projecting hand lever 49 is.
  • the lever movement is thus a multiple translation on the operating rod 42 transferred.
  • the extreme locations are either the openings 26, 28 closed by the flaps 30, 31 and at the same time the Openings 32, 34 opened by the flaps 36, 37 and vice versa.
  • the Bearings 50, 51 of the fan 24 in the heat chamber 20 fresh air the fresh air inlet duct 54 is supplied. This allows the temperature to succeed cool the bearings to such an extent that the bearings - preferably ball bearings - take no damage, even if the temperature in the heating chamber 20 is relatively high.
  • the flaps 36, 37 are opened, fish air and Indoor air via the nozzles 53 and 66 in the combined heat and Mixing chamber 20, 17 and then flows into the driven by the fan 24 Outlet pipe 64 (Fig. 3). From there, the warm air flows openly into the one to be heated Rooms.
  • the fresh air can be connected via connections 53/66 or 18/62 will.
  • connections 53/66 the flaps 36, 37 are closed and at the same time the Connections 18/62 from and to the storage stones open, so that one internal circuit (circulating air) via the storage stones 12 forms.

Landscapes

  • Engineering & Computer Science (AREA)
  • Mechanical Engineering (AREA)
  • General Engineering & Computer Science (AREA)
  • Physics & Mathematics (AREA)
  • Thermal Sciences (AREA)
  • Chemical & Material Sciences (AREA)
  • Combustion & Propulsion (AREA)
  • Drying Of Solid Materials (AREA)
  • Pharmaceuticals Containing Other Organic And Inorganic Compounds (AREA)
  • Amplifiers (AREA)
  • Structures Of Non-Positive Displacement Pumps (AREA)
  • Rolling Contact Bearings (AREA)
  • Direct Air Heating By Heater Or Combustion Gas (AREA)

Abstract

Bei einer Warmluftheizung befindet sich der Ventilator für die Zirkulation der Warmluft in einer Wärmekammer (20). Um zu vermeiden, dass die Temperatur der Lager - vorzugsweise Kugellager - für eine Dauerbelastung zu hoch ist, werden die Lager (50, 51) des Ventilators (24) gekühlt. Zu diesem Zweck wird den Lagern (50, 51) Kühlluft über Leitungen (54, 60) zugeführt. Die Kühlluft wird von einem Ventilator-Laufrad angesaugt und durch die Zwischenräume zwischen den Schaufeln (29) ausgestossen. Dadurch kommt man ohne zusätzliches Gebläse od. dgl. für die Kühlluft aus. <IMAGE>

Description

Die Erfindung bezieht sich auf eine Warmluftheizeinrichtung nach dem Oberbegriff des Patentanspruches 1.
Bei Warmluftheizungen lässt sich die Warmluft entweder durch eine cheminéeartige Heizanlage und/oder durch eine Elektroheizung erzeugen. Die Warmluft zirkuliert sodann über Wärmespeichersteine.
Mit zunehmender Grösse einer Wärmespeicherheizung mit Luftumwälzung über Speichersteine soll die Eingangs-Temperatur relativ hoch liegen, um eine ausreichende Wärmeabstrahlung entlang des ganzen Zirkulationsweges der Warmluft zu erhalten. Dabei muss die Luftumwälzung durch einen Ventilator unterstützt werden, der in einer Wärmekammer anzuordnen ist. Mit zunehmender Temperatur der umzuwälzenden Warmluft entstehen Schwierigkeiten bei den Lagern des Ventilators, da die Temperatur, welche die Lager im Dauerbetrieb unbeschadet aushalten, beschränkt ist.
Mit der Erfindung soll die Aufgabe gelöst werden, bei einer Warmluftheizanlage die Lager eines in einer Wärmekammer angeordneten Ventilators vor Ueberhitzung zu schützen.
Die Erfindung mit der diese Aufgabe gelöst wird, geht aus dem kennzeichnenden Teil des Patentanspruches 1 hervor.
Durch die Zufuhr von Kühlluft zu den Lagern des Ventilators, gelingt es, die Lager, insbesondere Kugellager, auf einer noch zulässigen Temperatur zu halten und eine Ueberhitzung derselben zu vermeiden. Dies geschieht durch von ausserhalb der Wärmekammer einzuführende Luftleitungen, wobei das Ansaugen der Kühlluft direkt durch einen Radial-Ventilator erfolgt, sodass also kein zusätzliches Gebläse erforderlich ist.
Gemäss der Ausführungsvariante nach Fig. 4 ist es auch möglich, bei cheminée-artigen Heizanlagen die Warmluft mit einem Mischraum zu verbinden, in welchen durch Absperrorgane wahlweise auf Umluft, Frischluft- und Raumluftzufuhr oder auf Speicherbetrieb umgestellt werden kann.
In der Zeichnung sind Ausführungsbeispiele des Erfindungsgegenstandes dargestellt. Es zeigen:
  • Fig.1 eine schematische Darstellung der Wärmekammer mit Kühlluftführung für den Radial-Ventilator für eine Heizeinrichtung mit geschlossenem Umluft-System
  • Fig. 2 eine perspektivische Darstellung - teilweise im Schnitt - der Wärmekammer, des Ventilators und der Kühlluftführung zu den Ventilator-Lagern, wobei diese Ausgestaltung vorwiegend für Elektroheizungen bestimmt ist
  • Fig. 3 eine schematische Darstellung der Warmluftführung in einer Cheminée-Heizung und Wärmespeichersteinen
  • Fig. 4 einen Horizontalschnitt durch die Wärme- und Mischkammer im Cheminée-Fuss mit Klappen-Vorrichtung
  • Fig. 5 eine Ansicht in Richtung des Pfeiles A in Fig. 4 mit den Betätigungsmitteln für die Klappen.
  • Die Erzeugung der Warmluft kann entweder durch ein Cheminée, beispielsweise der in Fig. 3 dargestellten Bauart erfolgen oder aber durch eine Elektroheizung. Es ist auch möglich, die beiden Heizarten miteinander zu kombinieren, sodass beispielsweise bei längerer Abwesenheit lediglich die Elektroheizung nach Bedarf von Hand oder automatisch eingeschaltet werden kann.
    Nachfolgend wird anhand der Fig. 1 eine erste Ausführungsform einer Warmluftheizung mit geschlossenem System, also mit zirkulierender Umluft beschrieben.
    Auf einem Unterbaukasten oder Sockel 7 befindet sich eine Vor-Wärmekammer 7 oder Ueberdruckkammer, in die ein Ventilationskasten 21 hineingebaut ist. Die umzuwälzende Warmluft wird durch eine hier nicht näher dargestellte Feuerstelle , beispielsweise einen Natursteinofen, erwärmt, welche in einem entfernt angeordneten Gehäuse untergebracht ist. Ein als Radial-Ventilator 24 ausgebildeter Ventilator - auch Radialgebläse genannt - dient zur geschlossenen Zirkulation der Warmluft und befindet sich im Innern einer Wärmekammer 20. Der drehzahl-veränderliche elektrische Antriebsmotor 22 - allenfalls zusammen mit einer Steuerelektronik - ist ausserhalb der Wärmekammer 20 angeordnet. Die Verbindung zwischen dem Antriebsmotor 22 und dem Radial-Ventilator 24 erfolgt durch eine Antriebswelle 56. Der Motor 22 ist aussen von einer Verschalung 19 umgeben mit Oeffnungen für den Zutritt von Raumluft. Zwischen Motor 22 und Gehäuse 19 besteht ein Zwischenraum 23 zur Luft-Zirkulation von Kühlluft, die durch Oeffnungen 55 Zutritt hat. Die beiden seitlichen Lager 50,51 des Ventilators 24 sind vorzugsweise Kugellager, die an einem das Ventilator-Laufrad umgebenden Gehäuse federnd abgestützt bzw. aufgehängt sind. Das Ventilator-Gehäuse ist mit einer nach oben gerichteten Austritts-Oeffnung versehen.
    Die Kühlung der Kugellager 50,51 erfolgt durch Zufuhr von Kühlluft, wie dies durch Pfeile in Fig. 1 angedeutet ist. Die Kühlluft für das Lager 50 wird durch einen Kanal 54 zugeführt, der sich zwischen dem Radial-Ventilator und dem Gehäuse 19 befindet. In Fig. 2 ist dieser Kanal der besseren Uebersicht halber teilweise geöffnet dargestellt. Für die Kühlung des Lagers 51 ist eine Schlauch- oder Rohrleitung 60 vorgesehen, welche vom Gehäuse 19 ausgeht, das den Motor 22 umgibt. Die Kühlluft könnte statt vom Zwischenraum 23 auch von irgend einer Stelle der Umgebung angesaugt werden. Zwischen den Kugellagern 50, 51 besteht je ein zentraler Durchgang in das Innere des Ventilator-Laufrades 24, sodass die Kühlluft nach der Lagerkühlung in den Innenraum des Ventilator-Laufrades 24 gelangen kann. Die Kühlluft wird sodann durch die Drehung des Ventilator-Laufrades 24 durch seine sich in Axialrichtung erstreckenden, in Umlaufsrichtung voneinander distanzierten, geneigten Schaufeln 29 radial nach aussen befördert, wo sie sich mit der Warmluft in der Wärmekammer 20 mischt. Die Kühlluft für die Kugellager wird somit vom Ventilator-Laufrad 24 angesaugt, ohne dass ein zusätzliches Gebläse od. dgl. notwendig ist. Die Kühlluft bewirkt, dass die Temperatur der Lager auf einer für den Dauerbetrieb zulässigen Temperatur gehalten werden kann. Die Warmluft wird als Umluft vom Radial-Ventilator 24 durch einen Stutzen 25 nach oben abgeführt und anschliessend zu den Speichersteinen geleitet, wie dies nachfolgend anhand der Fig. 2 und 3 näher erläutert wird.
    Nach Abgabe der Wärme an die Speichersteine 12 gelangt die Luft über einen rechts- oder linksseitigen Rohrstutzen 18, 18' wieder in die Ueberdruck-Kammer 20.
    Die in Fig. 2 dargestellte Ausführungsform bezieht sich auf eine Elektroheizung, bei der die Wärme durch eine nicht näher dargestellte Widerstandsheizung erzeugt wird. Der Aufbau ist ähnlich wie in Fig. 1, wobei gleiche Bezugszahlen gleiche Teile bedeuten. Das Gehäuse 19 steht für die Kühlung der Lager 50, 51 mit der Raumluft in Verbindung. Der Kühlkanal 54 ist zur Sichtbarmachung der Antriebswelle 56 teilweise geöffnet dargestellt. Der Antriebsmotor 22 samt einer zugeordneten allfälligen Elektronik ist von der Wärmekammer 20 durch eine wärmeisolierende Trennwand 69 abgetrennt.
    Vom Radial-Ventilator 24 wird die Warmluft als Umluft über einen Rohrstutzen 25 zu den Speichersteinen geführt. Nach Abgabe ihrer Wärme gelangt die Rückluft über den Stutzen 27 wieder in die Wärmekammer 20.
    Nachfolgend wird eine Warmluft-Heizeinrichtung zusammen mit einem Cheminée gemäss den Fig. 3-5 näher erläutert.
    Das Warmluftcheminée gemäss Fig. 3 enthält ein Gehäuse 1 mit einem Sockel 2. Die Brennkammer 4 mit Rost 5 ist durch ein bewegliches Sichtfenster 3 abschliessbar. Von der Brennkammer 4 führt in üblicher Weise ein Rauchgasrohr 6 in ein Kamin. Oberhalb der Brennkammer 4 befindet sich ein konventioneller Wärmetauscher 8, der von den Rauchgasen aufgeheizt wird und Wärme an die Umluft abgibt, welche über das Rohr 10 zirkulierende Luft abgibt. Die Warmluft gelangt von diesem Rohrstück 10 am oberen Gehäuseende durch Leitungen 12 über einen Einlassstutzen 9 zu Speichersteinen 12. Diese Speichersteine 12 sind hier hohl ausgebildet und enthalten vorzugsweise Schikanen 14 zur Erzeugung von Turbulenz. Der Auslass 16 der Speichersteine 12 steht für die Rückluft über eine Leitung mit einem Rohrstummel 18 im Sockel 2 in Durchflussverbindung. Dadurch kann sich die Warmluft in einem geschlossenen Umluft-System bewegen.
    Fig. 4 zeigt einen Horizontalschnitt durch den Sockel 2 einer Heizeinrichtung gemäss Fig. 3 mit der Wärmekammer 20, die mit einem Mischraum 17 kombiniert ist. In der Wärmekammer 20 befindet sich der durch den Motor 22 angetriebene Radial-Ventilator 24.
    Vor den Einströmöffnungen 26, 28 der Umluft befindet sich in der Mischkammer 17 je eine Abschlussklappe 30, 31, mit denen die Oeffnungen 26, 28 überdeckt oder für den Luftdurchfluss freigegeben werden können.
    Auf der gegenüberliegenden Seite der Mischkammer 17 sind ein Frischluftstutzen 53 und ein Raumluftstutzen 66 angeordnet, die mit Abschlussklappen 36, 37 zusammenwirken. Die zwei Abschlussklappen-Paare 30, 31 und 36, 37 sind über Halter 39, 40 mit einer gemeinsamen Betätigungsstange 42 verbunden. In diese Betätigungsstange 42 greift ein um einen Drehpunkt 44 schwenkbarer Hebel 46 ein, der - gemäss Fig. 5 - über ein weiteres Gestänge 48 mit einem nach aussen ragenden Handhebel 49 verbunden ist.
    Die Hebelbewegung wird somit als Mehrfachübersetzung auf die Betätigungsstange 42 übertragen. In den Extremlagen sind entweder die Oeffnungen 26, 28 durch die Klappen 30, 31 geschlossen und gleichzeitig die Oeffnungen 32, 34 durch die Klappen 36, 37 geöffnet und umgekehrt.
    Analog zur Ausführungsform nach den Fig. 1 und 2 wird zur Kühlung der Lager 50, 51 des Ventilators 24 in der Wärmekammer 20 Frischluft über den Frischluft-Einlasskanal 54 zugeführt. Dadurch gelingt es, die Temperatur der Lager soweit abzukühlen, dass die Lager - vorzugsweise Kugellager - keinen Schaden nehmen, auch wenn die Temperatur in der Wärmekammer 20 relativ hoch ist.
    Wenn die Klappen 30, 31 durch entsprechende Betätigung des Handhebels 49 geöffnet sind, findet eine reine Umluft-Zirkulation statt, indem über die geöffneten Klappen 30, 31 die einströmende Luft in den mit dem Mischraum kombinierten Wärmekammer 20 durch den Radial-Ventilator 24 nach oben in das Auslassrohr 10 (Fig. 3) gedrückt wird, zur Wärmeabgabe in den Speichersteinen 12.
    Wenn dagegen die Klappen 36, 37 geöffnet werden, gelangt Fischluft und Raumluft über die Stutzen 53 und 66 in die kombinierte Wärme- und Mischkammer 20, 17 und strömt dann vom Ventilator 24 getrieben in das Auslassrohr 64 (Fig. 3). Von dort fliesst die Warmluft offen in die zu beheizenden Räume.
    Die Frischluft kann wahlweise über die Anschlüsse 53/66 oder 18/62 angeschlossen werden. Wenn die Frischluft über die Anschlüsse 53/66 angeschlossen wird, sind die Klappen 36, 37 geschlossen und zugleich sind die Anschlüsse 18/62 von und zu den Speichersteinen offen, sodass sich ein interner Kreislauf (Umluft) über die Speichersteine 12 bildet.

    Claims (9)

    1. Warmluftheizeinrichtung mit einer Wärmequelle, mit einem sich in einer Wärmekammer (20) befindlichen , der Umwälzung der Warmluft dienenden Ventilator (24), dadurch gekennzeichnet, dass der Ventilator ein Radial-Ventilator (24) ist, dessen Antriebsmotor (22) ausserhalb der als Ueberdruck-Kammer ausgebildeten Wärmekammer (20) angeordnet ist, zur Kühlung der Lager (50, 51), Kühlluftleitungen (54,60) zu den Lagern (50,51) des Radial-Ventilators (24) geführt sind, welche die Wärmekammer (20) durchdringen und das Radial-Ventilator-Laufrad die Zirkulation der Kühlluft bewirkt.
    2. Warmluftheizeinrichtung nach Anspruch 1, dadurch gekennzeichnet, dass der Radial-Ventilator (22) Durchlassöffnungen aufweist zur zentralen Durchführung der Kühlluft in das Innere des Radial-Ventilators und radialer Abfuhr derselben über Schaufelspalte des Ventilator-Laufrades.
    3. Warmluftheizeinrichtung nach Anspruch 1 oder 2, dadurch gekennzeichnet, dass .der Antriebsmotor (22) von einem mit der Frischluft in Verbindung stehenden Verschalung (19) umgeben ist, von dem die Kühlleitungen (54,60) abgehen.
    4. Warmluftheizeinrichtung nach einem der Ansprüche 1-3, dadurch gekennzeichnet, dass die Lager (50,51) Kugellager sind, die im Ventilator-gehäuse elastisch abgestützt sind.
    5. Warmluftheizeinrichtung.nach einem der Ansprüche 1-4, dadurch gekennzeichnet, dass zur Kühlung des einen Lagers (60) eine von der Verschalung (19) abgehende Schlauch- oder Rohrleitung (60) vorhanden ist und zur Kühlung des andern Lagers (50) ein die Antriebswelle (56) umgebender Kühlkanal (54) vorhanden ist.
    6. Warmluftheizeinrichtung, insbesondere nach Anspruch 1, mit einer Brennkammer mit Rauchabzug und mit einem Wärmetauscher zur Erzeugung von Warmluft, mit einer in einem Sockel angeordneten Frischluft- und Umluftleitung sowie mit diesen Leitungen zugeordnete Absperrorgane und mit einem im Sockel befindlichen Ventilator, dadurch gekennzeichnet, dass die Wärmekammer (20) mit einem Mischraum (17) kombiniert ist, der lagergekühlte Radial-Ventilator (24) sich in der Wärmekammer (20) befindet, dem Mischraum (17) Absperrorgange (30, 31) zugeordnet sind, mit denen wahlweise eine Umluftzirkulation über Speichersteine (12) oder ein Warmluftaustritt (64) in Wohnräume stattfindet.
    7. Warmluftheizeinrichtung nach Anspruch 6, dadurch gekennzeichnet, dass zwei Absperrorganpaare (30, 31; 36, 37) vorhanden sind, die mit gemeinsamen Betätigungsorganen (42) zusammenwirken, derart, dass wenn das eine Absperrorganpaar geschlossen ist, das andere Absperrorganpaar offen ist und umgekehrt.
    8. Warmluftheizeinrichtung nach einem der Ansprüche 6 oder 7, dadurch gekennzeichnet, dass das ein erstes Absperrorganpaar (30,31) den Umluft-Ein- und Auslassöffnungen (26,28) der Umluft und das zweite Absperrorganpaar (36, 37) den Raumluft- und Frischluft-Oeffnungen (32, 34) zugeordnet ist.
    9. Warmluftheizeinrichtung nach Anspruch 8, dadurch gekennzeichnet, dass für die Betätigung der Absperrorgane (30, 31, 36, 37) ein auf die Aussenseite geführter Handhebel (49) vorhanden ist.
    EP97810758A 1996-11-01 1997-10-09 Warmluftheizeinrichtung Expired - Lifetime EP0840073B1 (de)

    Applications Claiming Priority (3)

    Application Number Priority Date Filing Date Title
    CH270996 1996-11-01
    CH2709/96 1996-11-01
    CH270996 1996-11-01

    Publications (3)

    Publication Number Publication Date
    EP0840073A2 true EP0840073A2 (de) 1998-05-06
    EP0840073A3 EP0840073A3 (de) 1999-10-13
    EP0840073B1 EP0840073B1 (de) 2003-07-23

    Family

    ID=4239833

    Family Applications (1)

    Application Number Title Priority Date Filing Date
    EP97810758A Expired - Lifetime EP0840073B1 (de) 1996-11-01 1997-10-09 Warmluftheizeinrichtung

    Country Status (3)

    Country Link
    EP (1) EP0840073B1 (de)
    AT (1) ATE245788T1 (de)
    DE (1) DE59710466D1 (de)

    Families Citing this family (1)

    * Cited by examiner, † Cited by third party
    Publication number Priority date Publication date Assignee Title
    DE202004000733U1 (de) * 2004-01-19 2005-06-09 Riese, Wolfgang Kühlvorrichtung, insbesondere zum Kühlen von Druckluft

    Family Cites Families (4)

    * Cited by examiner, † Cited by third party
    Publication number Priority date Publication date Assignee Title
    GB1254691A (en) * 1967-11-16 1971-11-24 Simplex Electric Co Ltd Improvements relating to space heaters
    CA851296A (en) * 1968-05-02 1970-09-08 Geerinck Raymond Poele electrique a accumulation de chaleur
    GB1273602A (en) * 1969-10-03 1972-05-10 Chidlow & Company Ltd E Improvements in thermal storage heaters
    GB1551818A (en) * 1975-05-06 1979-09-05 Ti Creda Mfg Air heating devices

    Non-Patent Citations (1)

    * Cited by examiner, † Cited by third party
    Title
    None

    Also Published As

    Publication number Publication date
    ATE245788T1 (de) 2003-08-15
    EP0840073B1 (de) 2003-07-23
    DE59710466D1 (de) 2003-08-28
    EP0840073A3 (de) 1999-10-13

    Similar Documents

    Publication Publication Date Title
    DE1204379B (de) Konvektionsheizgeraet mit Querstromgeblaese
    EP0053403B1 (de) Lüftungs- und Heizeinrichtung für Einzelräume u. dgl.
    DE19810357A1 (de) Lüftungs-Heizvorrichtung
    EP0840073B1 (de) Warmluftheizeinrichtung
    EP2366961A2 (de) Verfahren und Vorrichtung zum Lüften eines Objekts
    DE3834440C2 (de) Vorrichtung mit Wärmerückgewinnung zur Be- und Entlüftung von Räumen mit Wärmeüberschuß
    DE102004010738A1 (de) Raumlufttechnische Einrichtung zum Heizen, Kühlen und/oder Belüften eines Raumes sowie entsprechendes Verfahren
    DE2648848A1 (de) Luefter zum reinigen und/oder austauschen von luft
    DE2536124C3 (de) Vorrichtung zum Temperieren Von Räumen, die mit Kälteanlagen betriebene Kühleinrichtungen enthalten
    EP1936285B1 (de) Gargerät mit Wärmespeicher und Verfahren zu dessen Betrieb
    DE4017272A1 (de) Luftaufbereitungsgeraet fuer einzelraeume mit dezentraler zumischung von aussenluft
    DE19521542A1 (de) Raumlüftungsgerät
    EP1176368B1 (de) Backofen
    DE3878138T2 (de) Lueftungsmittel und lueftungsverfahren.
    DE3209569A1 (de) Anordnung zur klimatisierung von gebaeuden, insbesondere von staellen
    DE2719499C3 (de) Induktionsgerät für eine Hochdruckklimaanlage
    DE3808227A1 (de) Heizeinrichtung
    DE4024321C2 (de)
    DE3602212A1 (de) Vorrichtung zum mischen von luft sowie verfahren zum erzeugen von heizluft unter verwendung einer solchen mischvorrichtung
    CH658899A5 (en) Room air-conditioning device
    DE10242268C1 (de) Kabine zum Saunen und Wärmestrahlungsbaden
    DE19740291A1 (de) Kompaktsystem für Heizung und Motorkühlung
    CH425146A (de) Raumbelüftungsanlage, insbesondere für Stallungen
    EP0093402A2 (de) Verfahren zur günstigen Beeinflussung der Temperaturverteilung von geheizten Räumen und eine Anlage zum Durchführen des Verfahrens
    AT231120B (de) Einrichtung für die Belüftung, Beheizung, Kühlung und Befeuchtung der Luft von Großräumen

    Legal Events

    Date Code Title Description
    PUAI Public reference made under article 153(3) epc to a published international application that has entered the european phase

    Free format text: ORIGINAL CODE: 0009012

    AK Designated contracting states

    Kind code of ref document: A2

    Designated state(s): AT CH DE FR IT LI

    AX Request for extension of the european patent

    Free format text: AL;LT;LV;RO;SI

    PUAL Search report despatched

    Free format text: ORIGINAL CODE: 0009013

    AK Designated contracting states

    Kind code of ref document: A3

    Designated state(s): AT BE CH DE DK ES FI FR GB GR IE IT LI LU MC NL PT SE

    AX Request for extension of the european patent

    Free format text: AL;LT;LV;RO;SI

    17P Request for examination filed

    Effective date: 20000321

    AKX Designation fees paid

    Free format text: AT CH DE FR IT LI

    17Q First examination report despatched

    Effective date: 20020717

    GRAH Despatch of communication of intention to grant a patent

    Free format text: ORIGINAL CODE: EPIDOS IGRA

    GRAH Despatch of communication of intention to grant a patent

    Free format text: ORIGINAL CODE: EPIDOS IGRA

    GRAA (expected) grant

    Free format text: ORIGINAL CODE: 0009210

    AK Designated contracting states

    Designated state(s): AT CH DE FR IT LI

    PG25 Lapsed in a contracting state [announced via postgrant information from national office to epo]

    Ref country code: IT

    Free format text: LAPSE BECAUSE OF FAILURE TO SUBMIT A TRANSLATION OF THE DESCRIPTION OR TO PAY THE FEE WITHIN THE PRESCRIBED TIME-LIMIT;WARNING: LAPSES OF ITALIAN PATENTS WITH EFFECTIVE DATE BEFORE 2007 MAY HAVE OCCURRED AT ANY TIME BEFORE 2007. THE CORRECT EFFECTIVE DATE MAY BE DIFFERENT FROM THE ONE RECORDED.

    Effective date: 20030723

    Ref country code: FR

    Free format text: LAPSE BECAUSE OF FAILURE TO SUBMIT A TRANSLATION OF THE DESCRIPTION OR TO PAY THE FEE WITHIN THE PRESCRIBED TIME-LIMIT

    Effective date: 20030723

    REG Reference to a national code

    Ref country code: CH

    Ref legal event code: EP

    REF Corresponds to:

    Ref document number: 59710466

    Country of ref document: DE

    Date of ref document: 20030828

    Kind code of ref document: P

    REG Reference to a national code

    Ref country code: CH

    Ref legal event code: NV

    Representative=s name: LONZA A.G.

    PLBE No opposition filed within time limit

    Free format text: ORIGINAL CODE: 0009261

    STAA Information on the status of an ep patent application or granted ep patent

    Free format text: STATUS: NO OPPOSITION FILED WITHIN TIME LIMIT

    26N No opposition filed

    Effective date: 20040426

    EN Fr: translation not filed
    PGFP Annual fee paid to national office [announced via postgrant information from national office to epo]

    Ref country code: AT

    Payment date: 20041021

    Year of fee payment: 8

    PGFP Annual fee paid to national office [announced via postgrant information from national office to epo]

    Ref country code: DE

    Payment date: 20041027

    Year of fee payment: 8

    PGFP Annual fee paid to national office [announced via postgrant information from national office to epo]

    Ref country code: CH

    Payment date: 20041227

    Year of fee payment: 8

    PG25 Lapsed in a contracting state [announced via postgrant information from national office to epo]

    Ref country code: AT

    Free format text: LAPSE BECAUSE OF NON-PAYMENT OF DUE FEES

    Effective date: 20051009

    PG25 Lapsed in a contracting state [announced via postgrant information from national office to epo]

    Ref country code: LI

    Free format text: LAPSE BECAUSE OF NON-PAYMENT OF DUE FEES

    Effective date: 20051031

    Ref country code: CH

    Free format text: LAPSE BECAUSE OF NON-PAYMENT OF DUE FEES

    Effective date: 20051031

    PG25 Lapsed in a contracting state [announced via postgrant information from national office to epo]

    Ref country code: DE

    Free format text: LAPSE BECAUSE OF NON-PAYMENT OF DUE FEES

    Effective date: 20060503

    REG Reference to a national code

    Ref country code: CH

    Ref legal event code: PL