EP0823752A2 - Zugfederanschluss für elektrische Leiter - Google Patents

Zugfederanschluss für elektrische Leiter Download PDF

Info

Publication number
EP0823752A2
EP0823752A2 EP97113203A EP97113203A EP0823752A2 EP 0823752 A2 EP0823752 A2 EP 0823752A2 EP 97113203 A EP97113203 A EP 97113203A EP 97113203 A EP97113203 A EP 97113203A EP 0823752 A2 EP0823752 A2 EP 0823752A2
Authority
EP
European Patent Office
Prior art keywords
tension spring
conductor
clamping
spring connection
connection according
Prior art date
Legal status (The legal status is an assumption and is not a legal conclusion. Google has not performed a legal analysis and makes no representation as to the accuracy of the status listed.)
Granted
Application number
EP97113203A
Other languages
English (en)
French (fr)
Other versions
EP0823752A3 (de
EP0823752B1 (de
Inventor
Werner Beege
Reinhard Ruhm
Jürgen Ude
Current Assignee (The listed assignees may be inaccurate. Google has not performed a legal analysis and makes no representation or warranty as to the accuracy of the list.)
Weidmueller Interface GmbH and Co KG
Original Assignee
Weidmueller Interface GmbH and Co KG
Priority date (The priority date is an assumption and is not a legal conclusion. Google has not performed a legal analysis and makes no representation as to the accuracy of the date listed.)
Filing date
Publication date
Application filed by Weidmueller Interface GmbH and Co KG filed Critical Weidmueller Interface GmbH and Co KG
Publication of EP0823752A2 publication Critical patent/EP0823752A2/de
Publication of EP0823752A3 publication Critical patent/EP0823752A3/de
Application granted granted Critical
Publication of EP0823752B1 publication Critical patent/EP0823752B1/de
Anticipated expiration legal-status Critical
Expired - Lifetime legal-status Critical Current

Links

Images

Classifications

    • HELECTRICITY
    • H01ELECTRIC ELEMENTS
    • H01RELECTRICALLY-CONDUCTIVE CONNECTIONS; STRUCTURAL ASSOCIATIONS OF A PLURALITY OF MUTUALLY-INSULATED ELECTRICAL CONNECTING ELEMENTS; COUPLING DEVICES; CURRENT COLLECTORS
    • H01R4/00Electrically-conductive connections between two or more conductive members in direct contact, i.e. touching one another; Means for effecting or maintaining such contact; Electrically-conductive connections having two or more spaced connecting locations for conductors and using contact members penetrating insulation
    • H01R4/28Clamped connections, spring connections
    • H01R4/48Clamped connections, spring connections utilising a spring, clip, or other resilient member
    • H01R4/4809Clamped connections, spring connections utilising a spring, clip, or other resilient member using a leaf spring to bias the conductor toward the busbar
    • H01R4/4811Spring details
    • H01R4/4816Spring details the spring shape preventing insertion of the conductor end when the spring is unbiased
    • HELECTRICITY
    • H01ELECTRIC ELEMENTS
    • H01RELECTRICALLY-CONDUCTIVE CONNECTIONS; STRUCTURAL ASSOCIATIONS OF A PLURALITY OF MUTUALLY-INSULATED ELECTRICAL CONNECTING ELEMENTS; COUPLING DEVICES; CURRENT COLLECTORS
    • H01R4/00Electrically-conductive connections between two or more conductive members in direct contact, i.e. touching one another; Means for effecting or maintaining such contact; Electrically-conductive connections having two or more spaced connecting locations for conductors and using contact members penetrating insulation
    • H01R4/28Clamped connections, spring connections
    • H01R4/48Clamped connections, spring connections utilising a spring, clip, or other resilient member
    • H01R4/4809Clamped connections, spring connections utilising a spring, clip, or other resilient member using a leaf spring to bias the conductor toward the busbar
    • H01R4/4846Busbar details

Definitions

  • the present invention relates to a tension spring connection for electrical conductors the preamble of claim 1.
  • a tension spring connection is known for example from DE-OS-39 11 459.
  • the The spring force of the tension spring cannot be increased arbitrarily, so that to increase the surface pressure minimizing the printing area remains as the only alternative.
  • connection should be gas-tight.
  • the present invention is therefore based on the object of a tension spring connection of the generic type so that the surface pressure in Connection area between the tension spring or the busbar and the conductor with unchanged spring force of the tension spring, even with the smallest tension spring connection elements, is as big as possible.
  • the busbar a sharp-edged area on the side facing the conductor has, which runs transversely to the longitudinal axis of the conductor and which is also digs into the conductor when pressed against it.
  • This sharp-edged design can be achieved, for example, in that the busbar has a tongue-like punching, the free end in Is bent towards the conductor, which results in a sharp clamping edge.
  • this clamping edge the tongue is offset in relation to the clamping edge of the window opening is.
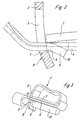
  • a tension spring connection which consists of a tension spring 1 and a Busbar 4 exists.
  • the tension spring 1 is loop-shaped and has a clamping leg 2 and a contact leg 3. On this, the busbar 4 is fixed, which in a window cut 5 provided in the clamping leg 2 passes.
  • a clamping edge 9 is formed through which a pin-shaped conductor 11, the as can be seen from FIG. 3, can be guided through the window cutout to the Busbar 4 is pressed.
  • the busbar 4 has a pronounced tongue 6, which is under a certain Angle in the direction of the end region 8 of the clamping leg 2 inclines and whose free outer edge also forms a clamping edge 10, which is in the use position, that is, with the conductor 11 inserted, on the clamping edge 9 opposite Side of the conductor 11 is supported and there due to the clamping leg 2 applied spring force, which presses the conductor 11 against the clamping edge 10, digs in.
  • crank angle of the end region 8 and the angle of inclination of the tongue 6 are the to determine the respective requirements, which depend on the conductor cross-section.

Landscapes

  • Installation Of Bus-Bars (AREA)
  • Details Of Connecting Devices For Male And Female Coupling (AREA)
  • Connections Effected By Soldering, Adhesion, Or Permanent Deformation (AREA)

Abstract

Insbesondere bei kleinen Zugfederanschlüssen treten erhebliche Probleme auf, um den eingeführten Leiter sicher gegen ein Herausziehen zu halten. Die Aufgabe der Erfindung ist es daher, den Zugfederanschluß so zu verändern, daß die geforderten Haltekräfte mit geringem konstruktiven Aufwand aufbringbar sind.
Dazu ist vorgesehen, daß der der Unterseite eines Fensterausschnitts (5), der in einem Klemmschenkel (2) der Zugfeder vorgesehen ist, unmittelbar folgende Endbereich (8) des Klemmschenkels (2) gekröpft ist.
Dadurch wird eine Klemmkante (9) gebildet, die sich in den Leiter eingräbt und so eine sichere, formschlüssige Verbindung bildet.

Description

Die vorliegende Erfindung betrifft einen Zugfederanschluß für elektrische Leiter gemäß dem Oberbegriff des Anspruchs 1.
Ein Zugfederanschluß ist beispielsweise aus der DE-OS-39 11 459 bekannt.
Solche Zugfederanschlüsse finden mehr und mehr Verwendung, da sie gegenüber Schraubanschlüssen erhebliche Vorteile bieten.
So ist neben einer einfacheren Handhabung vor allem zu erwähnen, daß, unabhängig vom Fließverhalten des Leiters, auf diesen ein ständiger Druck ausgeübt wird, der auftretenden Auszugskräften entgegenwirkt.
Darüber hinaus besteht eine weitere Forderung darin, eine gasdichte Verbindung zwischen der Zugfeder bzw. der Stromschiene und dem Leiter zu schaffen, was neben den aufzubringenden Federkräften auch durch eine entsprechende Formgebung im Berührungsbereich erzielt wird.
Dabei ist eine möglichst hohe Flächenpressung gewünscht, die jedoch nicht zur Beschädigung des Leiters führen darf.
Vor allem bei den immer kleiner werdenden Zugfederanschluß-Elementen kann die Federkraft der Zugfeder nicht beliebig erhöht werden, so daß zur Erhöhung der Flächenpressung die Minimierung der Druckflächen als einzige Alternative verbleibt.
Allerdings ist zu beachten, daß, wie erwähnt, die Verbindung gasdicht sein soll.
Mittels der bekannten Zugfederanschlüsse ist eine Vergrößerung der Flächenpressung im Sinne einer Optimierung nicht möglich.
Der vorliegenden Erfindung liegt daher die Aufgabe zugrunde, einen Zugfederanschluß der gattungsgemäßen Art so zu gestalten, daß die Flächenpressung im Verbindungsbereich zwischen der Zugfeder bzw. der Stromschiene und dem Leiter bei unveränderter Federkraft der Zugfeder, auch bei kleinsten Zugfederanschluß-Elementen, größtmöglich ist.
Diese Aufgabe wird durch einen Zugfederanschluß gelöst, der die Merkmale des Anspruchs 1 aufweist.
Nunmehr erfolgt die Klemmung zwischen dem Klemmschenkel der Zugfeder und dem Leiter durch eine Klemmkante, die sich durch die Kröpfung des Klemmschenkels ergibt und die sich in den Leiter durch die Federbelastung eingräbt.
Gegenüber den bekannten Zugfederanschlüssen ist die Anpreßfläche erheblich verringert, so daß sich bei gleichbleibender Federkraft der Zugfeder eine um ein vielfaches erhöhte spezifische Flächenpressung ergibt.
Nach einem vorteilhaften Gedanken der Erfindung ist vorgesehen, daß die Stromschiene auf ihrer dem Leiter zugewandten Seite ebenfalls einen scharfkantigen Bereich aufweist, der quer zur Längsachse des Leiters verläuft und der sich gleichfalls beim Anpressen des Leiters in diesen eingräbt.
Diese scharfkantige Ausbildung kann beispielsweise dadurch erreicht werden, daß die Stromschiene eine zungenartige Ausstanzung aufweist, deren freies Ende in Richtung des Leiters gebogen ist, wodurch sich eine scharfe Klemmkante ergibt.
Nach einem weiteren Gedanken der Erfindung ist vorgesehen, daß diese Klemmkante der Zunge im Verhältnis zur Klemmkante des Fensterausschnitts versetzt angeordnet ist.
Hierdurch ergibt sich, bei Einkerbung des Leiters, keine unzulässige Querschnittseinschnürung, so daß die geforderte Belastungsfähigkeit des Leiters voll erhalten bleibt.
Weitere vorteilhafte Ausgestaltungen der Erfindung sind in den Unteransprüchen gekennzeichnet.
Ein Ausführungsbeispiel der Erfindung wird nachfolgend anhand der beigefügten Zeichnungen beschrieben.
Es zeigen:
Figur 1
einen erfindungsgemäßen Zugfederanschluß in einer teilweise geschnittenen Seitenansicht;
Figur 2
einen stark vergrößerten Teilausschnitt des Zugfederanschlusses gemäß der Figur 1;
Figur 3
einen Zugfederanschluß mit montiertem Leiter in einer perspektivischen Ansicht.
In den Figuren ist ein Zugfederanschluß gezeigt, der aus einer Zugfeder 1 und einer Stromschiene 4 besteht.
Die Zugfeder 1 ist schlaufenförmig gebogen und weist einen Klemmschenkel 2 sowie einen Anlageschenkel 3 auf. An diesem ist die Stromschiene 4 festgelegt, die im weiteren Verlauf einen im Klemmschenkel 2 vorgesehenen Fensterausschnitt 5 durchtritt.
Der sich unmittelbar an die untere Laibung 7 des Fensterausschnitts 5 anschließende Endbereich des Klemmschenkels 2 ist unter einem bestimmten Winkel gekröpft, wobei die Kröpfkante etwa mit der Laibung 7 zusammenfällt.
Durch die Kröpfung und der damit verbundenen Schrägstellung der Laibung 7 im Querschnitt wird eine Klemmkante 9 gebildet, durch die ein stiftförmiger Leiter 11, der wie aus der Figur 3 ersichtlich, durch den Fensterausschnitt führbar ist, an die Stromschiene 4 gepreßt wird.
Dabei gräbt sich die Klemmkante 9 in den Leiter 11 ein, wodurch dieser sicher gegen ein Herausziehen gehalten wird.
Die Stromschiene 4 weist eine ausgeprägte Zunge 6 auf, die sich unter einem bestimmten Winkel in Richtung des Endbereiches 8 des Klemmschenkels 2 neigt und deren freie Außenkante gleichfalls eine Klemmkante 10 bildet, die sich in Gebrauchsstellung, also bei eingeführtem Leiter 11, an der der Klemmkante 9 gegenüberliegenden Seite des Leiters 11 abstützt und sich dort aufgrund der durch den Klemmschenkel 2 aufgebrachten Federkraft, die den Leiter 11 gegen die Klemmkante 10 drückt, eingräbt.
Als besonders vorteilhaft hinsichtlich der Vermeidung einer durch die Klemmkanten 9, 10 verursachten Kerbwirkung im Bereich des Leiters 11 und einer damit verbundenen Schwächung der Zugfestigkeit, hat sich eine versetzte Anordnung der Klemmkanten 9, 10 zueinander erwiesen.
Der Kröpfwinkel des Endbereiches 8 sowie der Neigungswinkel der Zunge 6 sind den jeweiligen Erfordernissen, die abhängig vom Leiterquerschnitt sind, festzulegen.
Zweckmäßig ist es, den Endbereich 8 in Einschieberichtung des Leiters 11 zu kröpfen, wodurch ein einfacheres Einschieben des Leiters 11 gewährleistet ist. In diese Richtung sollte auch die Schräge der Zunge 6 verlaufen.
Bezugszeichenliste
1
Zugfeder
2
Klemmschenkel
3
Anlageschenkel
4
Stromschiene
5
Fensterausschnitt
6
Zunge
7
Laibung
8
Endbereich
9
Klemmkante
10
Klemmkante
11
Leiter

Claims (7)

  1. Zugfederanschluß für elektrische Leiter mit einer schlaufenförmig gebogenen Zugfeder (1), die einen Klemm- und einen Anlageschenkel (2, 3) aufweist, an dem eine Stromschiene (4) anliegt, die einen im Klemmschenkel (2) vorgesehenen Fensterausschnitt (5) durchtritt, dessen untere Laibung (7) einen Klemmbereich für die Klemmung eines an die Stromschiene (4) andrückbaren Leiters (11) bildet, dadurch gekennzeichnet, daß der der Unterseite des Fensterausschnitts (5) unmittelbar folgende Endbereich (8) des Klemmschenkels (2) gekröpft ist.
  2. Zugfederanschluß nach Anspruch 1, dadurch gekennzeichnet, daß die Stromschiene (4) auf ihrer dem Leiter (11) zugewandten Seite eine Klemmkante (10) aufweist.
  3. Zugfederanschluß nach Anspruch 2, dadurch gekennzeichnet, daß die Stromschiene (4) im Andrückbereich des Leiters (11) mit einer zum Endbereich (8) geneigten Zunge (6) versehen ist, durch deren freies Ende die Klemmkante (10) gebildet wird.
  4. Zugfederanschluß nach Anspruch 1, dadurch gekennzeichnet, daß die Kröpfkante in gleicher Ebene wie die oder oberhalb der Laibung (7) verläuft.
  5. Zugfederanschluß nach einem oder mehreren der Ansprüche 1 - 4, dadurch gekennzeichnet, daß die Klemmkante (10) der Zunge (6) sowie eine gebildete Klemmkante (9) in Längsachsrichtung des Leiters (11) gesehen, versetzt zueinander angeordnet sind.
  6. Zugfederanschluß nach Anspruch 1, dadurch gekennzeichnet, daß der Endbereich (8) in Einführrichtung des Leiters (11) gekröpft ist.
  7. Zugfederanschluß nach Anspruch 3, dadurch gekennzeichnet, daß die Neigung der Zunge (6) in Einführrichtung des Leiters (11) verläuft.
EP97113203A 1996-08-09 1997-07-31 Zugfederanschluss für elektrische Leiter Expired - Lifetime EP0823752B1 (de)

Applications Claiming Priority (2)

Application Number Priority Date Filing Date Title
DE19632187A DE19632187C2 (de) 1996-08-09 1996-08-09 Zugfederanschluß für elektrische Leiter
DE19632187 1996-08-09

Publications (3)

Publication Number Publication Date
EP0823752A2 true EP0823752A2 (de) 1998-02-11
EP0823752A3 EP0823752A3 (de) 1999-03-10
EP0823752B1 EP0823752B1 (de) 2003-03-12

Family

ID=7802239

Family Applications (1)

Application Number Title Priority Date Filing Date
EP97113203A Expired - Lifetime EP0823752B1 (de) 1996-08-09 1997-07-31 Zugfederanschluss für elektrische Leiter

Country Status (3)

Country Link
US (1) US5938484A (de)
EP (1) EP0823752B1 (de)
DE (2) DE19632187C2 (de)

Cited By (4)

* Cited by examiner, † Cited by third party
Publication number Priority date Publication date Assignee Title
FR2782848A1 (fr) * 1998-09-02 2000-03-03 Entrelec Sa Dispositif elastique permettant de realiser une connexion electrique dans une borne de raccordement
EP1059705A3 (de) * 1999-06-11 2002-04-17 Weidmüller Interface GmbH & Co. Zugfederanschluss
FR2936656A1 (fr) * 2008-09-29 2010-04-02 Legrand France Borne de connexion electrique automatique
FR2954604A1 (fr) * 2009-12-22 2011-06-24 Legrand France Borne de connexion electrique automatique et appareillage electrique comportant une telle borne

Families Citing this family (18)

* Cited by examiner, † Cited by third party
Publication number Priority date Publication date Assignee Title
DE19615706A1 (de) * 1996-04-22 1997-10-23 Teves Gmbh Alfred Aggregat
DE19916755B4 (de) 1999-04-14 2007-06-28 Weidmüller Interface Gmbh & Co. Zugfederklemme
DE29919903U1 (de) * 1999-11-12 2001-03-29 Weidmüller Interface GmbH & Co, 32760 Detmold Zugfederanschluß für große Leiterquerschnitte
FR2809537B1 (fr) * 2000-05-24 2003-09-26 Entrelec Sa Ressort de connexion
DE10134417C1 (de) * 2001-07-19 2003-01-23 Phoenix Contact Gmbh & Co Elektrische Anschluß- oder Verbindungseinrichtung
ATE496406T1 (de) * 2002-04-12 2011-02-15 Weidmueller Interface Anschlussvorrichtung für leiter
DE10304493A1 (de) * 2003-02-05 2004-08-26 Phoenix Contact Gmbh & Co. Kg Zugfeder für eine elektrische Klemme
US6893286B2 (en) * 2003-09-06 2005-05-17 Weidmüller Interface GmbH & Co. KG Connector apparatus adapted for the direct plug-in connection of conductors
DE202005013056U1 (de) 2005-08-18 2007-01-04 Weidmüller Interface GmbH & Co. KG Elektrische Anschlussvorrichtung
US9246242B2 (en) * 2012-09-05 2016-01-26 Hubbell Incorporated Push wire connector having a rotatable release member
US9576762B2 (en) 2015-04-03 2017-02-21 Eaton Corporation Electrical switching apparatus and secondary disconnect assembly with error-proofing features therefor
US9570261B2 (en) 2015-04-03 2017-02-14 Eaton Corporation Electrical switching apparatus and secondary disconnect assembly with contact alignment features therefor
US9396889B1 (en) 2015-04-03 2016-07-19 Eaton Corporation Electrical switching apparatus and secondary disconnect assembly with cradle assembly alignment and positioning features therefor
US9336977B1 (en) 2015-04-03 2016-05-10 Eaton Corporation Electrical switching apparatus and secondary disconnect assembly with terminal retention and correction features therefor
DE102016111536A1 (de) * 2016-06-23 2017-12-28 Wago Verwaltungsgesellschaft Mbh Kontakteinsatz einer Federkraftanschlussklemme sowie damit ausgebildete Federkraftanschlussklemme
TWM550925U (zh) * 2017-05-26 2017-10-21 Switchlab Inc 用於電聯接端子之金屬彈片保護結構
US10153562B1 (en) * 2017-11-08 2018-12-11 Xiamen Ghgm Industrial Trade Co., Ltd. Patch cord connecting metal terminal having a pushbutton on a lateral side of a resilient arm
GB2592263B (en) * 2020-02-24 2024-06-12 Linian Lab Ltd Fastening device

Family Cites Families (10)

* Cited by examiner, † Cited by third party
Publication number Priority date Publication date Assignee Title
FR1602459A (de) * 1968-10-23 1970-11-30
DE3122303A1 (de) * 1981-06-04 1983-01-27 Felten & Guilleaume Energietechnik GmbH, 5000 Köln Federklemme zum anschluss isolierter elektrischer leiter
DE3504317A1 (de) * 1985-02-08 1986-08-14 Licentia Patent-Verwaltungs-Gmbh, 6000 Frankfurt Klemme fuer elektrische leiter
DE3514099C2 (de) * 1985-04-16 1994-11-17 Wago Verwaltungs Gmbh Verbindungsklemme für elektrische Leiter
DE3911459A1 (de) * 1989-04-05 1990-10-11 Wago Verwaltungs Gmbh Schraubenlose anschluss- und/oder verbindungsklemme
DE3911457A1 (de) * 1989-04-05 1990-10-18 Ifm Electronic Gmbh Verfahren und schaltungsanordnung zur umsetzung einer analogen messspannung in ein digitales messsignal
DE4016770A1 (de) * 1990-05-25 1991-11-28 Guenter Trautmann Kabelverbinder - oder anschlussklemme fuer massivdraht und feindrahtlitze gleichzeitig
DE4237733C1 (de) * 1992-11-09 1993-12-23 Weidmueller Interface Schraubenlose Anschlußklemme für elektrische Leiter
GB9311559D0 (en) * 1993-06-04 1993-07-21 Amp Gmbh Spring clamp actuator
GB9508153D0 (en) * 1995-04-21 1995-06-07 Amp Gmbh Spring clamp terminal

Cited By (6)

* Cited by examiner, † Cited by third party
Publication number Priority date Publication date Assignee Title
FR2782848A1 (fr) * 1998-09-02 2000-03-03 Entrelec Sa Dispositif elastique permettant de realiser une connexion electrique dans une borne de raccordement
US6183288B1 (en) 1998-09-02 2001-02-06 Entrelec S.A. Resilient device allowing an electrical connection to be made in a connection terminal
DE19939572B4 (de) * 1998-09-02 2007-06-28 Entrelec S.A. Federklemmvorrichtung für den Anschluß eines elektrischen Leiters in einer Anschlußanordnung
EP1059705A3 (de) * 1999-06-11 2002-04-17 Weidmüller Interface GmbH & Co. Zugfederanschluss
FR2936656A1 (fr) * 2008-09-29 2010-04-02 Legrand France Borne de connexion electrique automatique
FR2954604A1 (fr) * 2009-12-22 2011-06-24 Legrand France Borne de connexion electrique automatique et appareillage electrique comportant une telle borne

Also Published As

Publication number Publication date
DE19632187C2 (de) 1998-07-02
DE19632187A1 (de) 1998-02-12
DE59709471D1 (de) 2003-04-17
US5938484A (en) 1999-08-17
EP0823752A3 (de) 1999-03-10
EP0823752B1 (de) 2003-03-12

Similar Documents

Publication Publication Date Title
DE19632187C2 (de) Zugfederanschluß für elektrische Leiter
DE3811974C2 (de)
DE3127704C2 (de) Verbinder zum Anschließen eines Vielleiter-Flachkabels
DE2633972B2 (de) Anordnung zum Verbinden zweier Bauteile
DE1765818C3 (de) Verbindungsklemme zum Andrücken an elektrische Drähte
DE202007001701U1 (de) Universalkontakt
DE8816798U1 (de) Stiftförmiges Kontaktelement zur Befestigung in Leiterplattenbohrungen
DE2201099C2 (de) Quetschklemme
DE8906684U1 (de) Elektrischer Verbinder
DE2435461A1 (de) Elektrischer kontaktstift
DE102007046616A1 (de) Schneidklemmanschluss
DE202016100798U1 (de) Federanschlussklemme
DE3818497C5 (de) Anschlußblock für eine Kabelabschlußeinheit
DE3784911T2 (de) Nachgiebiger einpressstift.
DE69923651T2 (de) Verbindungsfeder
DE102019120305B4 (de) Leiteranschlussklemme
DE3118057C2 (de) Anschlußklemme für elektrische Leiter
DE102018206849B4 (de) Vorrichtung zur klemmenden Befestigung
EP0901186B1 (de) Anschlusselement für Schirmkabel
DE102008015374B4 (de) Elektrische Klemme
EP0481309A2 (de) Klemme für ein Schaltgerät
EP0704931B1 (de) Klemmaufbau zum Anschliessen von Kabeln an Schienen
DE2052388A1 (de) Anschlussklemme fur elektrische Apparate
EP2242146A2 (de) Klemmaufbau sowie Lastschaltleiste oder Trenner mit Klemmaufbau
DE29616837U1 (de) Reihenklemme mit Stromschiene

Legal Events

Date Code Title Description
PUAI Public reference made under article 153(3) epc to a published international application that has entered the european phase

Free format text: ORIGINAL CODE: 0009012

17P Request for examination filed

Effective date: 19970827

AK Designated contracting states

Kind code of ref document: A2

Designated state(s): DE ES FR GB IT

AX Request for extension of the european patent

Free format text: AL;LT;LV;RO;SI

PUAL Search report despatched

Free format text: ORIGINAL CODE: 0009013

AK Designated contracting states

Kind code of ref document: A3

Designated state(s): AT BE CH DE DK ES FI FR GB GR IE IT LI LU MC NL PT SE

AX Request for extension of the european patent

Free format text: AL;LT;LV;RO;SI

AKX Designation fees paid

Free format text: DE ES FR GB IT

17Q First examination report despatched

Effective date: 19991215

GRAH Despatch of communication of intention to grant a patent

Free format text: ORIGINAL CODE: EPIDOS IGRA

GRAH Despatch of communication of intention to grant a patent

Free format text: ORIGINAL CODE: EPIDOS IGRA

GRAA (expected) grant

Free format text: ORIGINAL CODE: 0009210

AK Designated contracting states

Designated state(s): DE ES FR GB IT

PG25 Lapsed in a contracting state [announced via postgrant information from national office to epo]

Ref country code: GB

Free format text: LAPSE BECAUSE OF FAILURE TO SUBMIT A TRANSLATION OF THE DESCRIPTION OR TO PAY THE FEE WITHIN THE PRESCRIBED TIME-LIMIT

Effective date: 20030312

REG Reference to a national code

Ref country code: GB

Ref legal event code: FG4D

Free format text: NOT ENGLISH

REF Corresponds to:

Ref document number: 59709471

Country of ref document: DE

Date of ref document: 20030417

Kind code of ref document: P

GBV Gb: ep patent (uk) treated as always having been void in accordance with gb section 77(7)/1977 [no translation filed]

Effective date: 20030312

PG25 Lapsed in a contracting state [announced via postgrant information from national office to epo]

Ref country code: ES

Free format text: LAPSE BECAUSE OF FAILURE TO SUBMIT A TRANSLATION OF THE DESCRIPTION OR TO PAY THE FEE WITHIN THE PRESCRIBED TIME-LIMIT

Effective date: 20030930

ET Fr: translation filed
PLBE No opposition filed within time limit

Free format text: ORIGINAL CODE: 0009261

STAA Information on the status of an ep patent application or granted ep patent

Free format text: STATUS: NO OPPOSITION FILED WITHIN TIME LIMIT

26N No opposition filed

Effective date: 20031215

PGFP Annual fee paid to national office [announced via postgrant information from national office to epo]

Ref country code: FR

Payment date: 20110729

Year of fee payment: 15

PGFP Annual fee paid to national office [announced via postgrant information from national office to epo]

Ref country code: DE

Payment date: 20110722

Year of fee payment: 15

PGFP Annual fee paid to national office [announced via postgrant information from national office to epo]

Ref country code: IT

Payment date: 20110726

Year of fee payment: 15

REG Reference to a national code

Ref country code: FR

Ref legal event code: ST

Effective date: 20130329

PG25 Lapsed in a contracting state [announced via postgrant information from national office to epo]

Ref country code: DE

Free format text: LAPSE BECAUSE OF NON-PAYMENT OF DUE FEES

Effective date: 20130201

Ref country code: FR

Free format text: LAPSE BECAUSE OF NON-PAYMENT OF DUE FEES

Effective date: 20120731

REG Reference to a national code

Ref country code: DE

Ref legal event code: R119

Ref document number: 59709471

Country of ref document: DE

Effective date: 20130201

PG25 Lapsed in a contracting state [announced via postgrant information from national office to epo]

Ref country code: IT

Free format text: LAPSE BECAUSE OF NON-PAYMENT OF DUE FEES

Effective date: 20120731