EP0809012B1 - Abgasrückführeinrichtung - Google Patents
Abgasrückführeinrichtung Download PDFInfo
- Publication number
- EP0809012B1 EP0809012B1 EP97107793A EP97107793A EP0809012B1 EP 0809012 B1 EP0809012 B1 EP 0809012B1 EP 97107793 A EP97107793 A EP 97107793A EP 97107793 A EP97107793 A EP 97107793A EP 0809012 B1 EP0809012 B1 EP 0809012B1
- Authority
- EP
- European Patent Office
- Prior art keywords
- recirculated gas
- intake pipe
- recirculated
- valve
- exhaust gas
- Prior art date
- Legal status (The legal status is an assumption and is not a legal conclusion. Google has not performed a legal analysis and makes no representation as to the accuracy of the status listed.)
- Expired - Lifetime
Links
- 238000011144 upstream manufacturing Methods 0.000 claims description 21
- 238000002485 combustion reaction Methods 0.000 claims description 12
- 238000005192 partition Methods 0.000 claims description 11
- 238000010992 reflux Methods 0.000 claims description 3
- 230000000052 comparative effect Effects 0.000 description 36
- 230000000694 effects Effects 0.000 description 13
- 239000002245 particle Substances 0.000 description 8
- OKTJSMMVPCPJKN-UHFFFAOYSA-N Carbon Chemical compound [C] OKTJSMMVPCPJKN-UHFFFAOYSA-N 0.000 description 6
- 229910052799 carbon Inorganic materials 0.000 description 6
- 230000001133 acceleration Effects 0.000 description 4
- 239000000203 mixture Substances 0.000 description 4
- 230000004044 response Effects 0.000 description 4
- 230000006835 compression Effects 0.000 description 3
- 238000007906 compression Methods 0.000 description 3
- 239000000470 constituent Substances 0.000 description 3
- 230000005484 gravity Effects 0.000 description 3
- 239000000314 lubricant Substances 0.000 description 3
- 230000008901 benefit Effects 0.000 description 2
- 230000008859 change Effects 0.000 description 2
- 230000006866 deterioration Effects 0.000 description 2
- 238000009434 installation Methods 0.000 description 2
- 238000000034 method Methods 0.000 description 2
- 230000002265 prevention Effects 0.000 description 2
- 238000000746 purification Methods 0.000 description 2
- 239000000779 smoke Substances 0.000 description 2
- 230000009471 action Effects 0.000 description 1
- 230000002411 adverse Effects 0.000 description 1
- 230000015572 biosynthetic process Effects 0.000 description 1
- 230000003111 delayed effect Effects 0.000 description 1
- 230000001419 dependent effect Effects 0.000 description 1
- 238000013461 design Methods 0.000 description 1
- 238000011161 development Methods 0.000 description 1
- 230000018109 developmental process Effects 0.000 description 1
- 239000000284 extract Substances 0.000 description 1
- 239000000446 fuel Substances 0.000 description 1
- 238000002347 injection Methods 0.000 description 1
- 239000007924 injection Substances 0.000 description 1
- 238000004519 manufacturing process Methods 0.000 description 1
- 230000004048 modification Effects 0.000 description 1
- 238000012986 modification Methods 0.000 description 1
- 230000008569 process Effects 0.000 description 1
- 238000012545 processing Methods 0.000 description 1
- 230000003134 recirculating effect Effects 0.000 description 1
- 230000009467 reduction Effects 0.000 description 1
Images
Classifications
-
- F—MECHANICAL ENGINEERING; LIGHTING; HEATING; WEAPONS; BLASTING
- F02—COMBUSTION ENGINES; HOT-GAS OR COMBUSTION-PRODUCT ENGINE PLANTS
- F02M—SUPPLYING COMBUSTION ENGINES IN GENERAL WITH COMBUSTIBLE MIXTURES OR CONSTITUENTS THEREOF
- F02M25/00—Engine-pertinent apparatus for adding non-fuel substances or small quantities of secondary fuel to combustion-air, main fuel or fuel-air mixture
- F02M25/08—Engine-pertinent apparatus for adding non-fuel substances or small quantities of secondary fuel to combustion-air, main fuel or fuel-air mixture adding fuel vapours drawn from engine fuel reservoir
- F02M25/0872—Details of the fuel vapour pipes or conduits
-
- F—MECHANICAL ENGINEERING; LIGHTING; HEATING; WEAPONS; BLASTING
- F02—COMBUSTION ENGINES; HOT-GAS OR COMBUSTION-PRODUCT ENGINE PLANTS
- F02M—SUPPLYING COMBUSTION ENGINES IN GENERAL WITH COMBUSTIBLE MIXTURES OR CONSTITUENTS THEREOF
- F02M26/00—Engine-pertinent apparatus for adding exhaust gases to combustion-air, main fuel or fuel-air mixture, e.g. by exhaust gas recirculation [EGR] systems
- F02M26/13—Arrangement or layout of EGR passages, e.g. in relation to specific engine parts or for incorporation of accessories
- F02M26/17—Arrangement or layout of EGR passages, e.g. in relation to specific engine parts or for incorporation of accessories in relation to the intake system
- F02M26/21—Arrangement or layout of EGR passages, e.g. in relation to specific engine parts or for incorporation of accessories in relation to the intake system with EGR valves located at or near the connection to the intake system
-
- F—MECHANICAL ENGINEERING; LIGHTING; HEATING; WEAPONS; BLASTING
- F02—COMBUSTION ENGINES; HOT-GAS OR COMBUSTION-PRODUCT ENGINE PLANTS
- F02M—SUPPLYING COMBUSTION ENGINES IN GENERAL WITH COMBUSTIBLE MIXTURES OR CONSTITUENTS THEREOF
- F02M26/00—Engine-pertinent apparatus for adding exhaust gases to combustion-air, main fuel or fuel-air mixture, e.g. by exhaust gas recirculation [EGR] systems
- F02M26/50—Arrangements or methods for preventing or reducing deposits, corrosion or wear caused by impurities
-
- F—MECHANICAL ENGINEERING; LIGHTING; HEATING; WEAPONS; BLASTING
- F02—COMBUSTION ENGINES; HOT-GAS OR COMBUSTION-PRODUCT ENGINE PLANTS
- F02M—SUPPLYING COMBUSTION ENGINES IN GENERAL WITH COMBUSTIBLE MIXTURES OR CONSTITUENTS THEREOF
- F02M26/00—Engine-pertinent apparatus for adding exhaust gases to combustion-air, main fuel or fuel-air mixture, e.g. by exhaust gas recirculation [EGR] systems
- F02M26/13—Arrangement or layout of EGR passages, e.g. in relation to specific engine parts or for incorporation of accessories
- F02M26/17—Arrangement or layout of EGR passages, e.g. in relation to specific engine parts or for incorporation of accessories in relation to the intake system
- F02M26/19—Means for improving the mixing of air and recirculated exhaust gases, e.g. venturis or multiple openings to the intake system
Definitions
- the present invention relates to an exhaust gas recirculation device in an internal combustion engine according to the preamble of claim 1.
- valve diameter of the recirculated gas control valve it is necessary to make the valve diameter of the recirculated gas control valve large, but in the conventional exhaust gas recirculation device as mentioned above, if the valve diameter of the recirculated gas control valve is enlarged and the flow rate of the recirculated gas is increased, there arises a problem that an actuator comprising a diaphragm or stepping motor or the like for opening or closing the recirculated gas control valve will be damaged due to the heat of the recirculated gas.
- the inflowing port of the recirculated gas to the intake passage and the valve body of the recirculated gas control valve are provided at bottom portions of the intake pipe, the actuator is provided at an upper portion of the intake pipe, the two are connected by a long valve stem, and the valve stem is cooled by intake air (fresh air) of a relatively low temperature flowing through the intake passage so as prevent the heat of the recirculated gas received by the valve body from being directly transferred to the actuator as thereby preventing actuator damage (for example, refer to Japanese Unexamined Patent Publication (Kokai) No. 60-243359).
- a generic exhaust gas recirculation device is known from EP-A-0 586 123. According thereto, a throttle valve with a valve steam is provided in the middle of an intake pipe and adjusts an amount of intake air passing therethrough.
- a recirculated gas introduction passages refluxes part of an exhaust gas of an internal combustion engine into the intake pipe.
- a recirculated gas control valve is provided in the recirculated gas introduction passage and adjusts the amount of the recirculated gas passing through the passage.
- the recirculated gas introduction passage opens via a recirculated gas inflowing port in a forward flow area of the intake air.
- a recirculated gas directing passage at the recirculated gas inflowing port is provided with an inclined surface which is positioned on an outside area of the intake pipe and inclined toward the downstream side of the intake pipe.
- the exhaust gas recirculation device uses a new configuration to enable that the recirculated gas can be smoothly fed into the engine.
- an enhanced exhaust gas recirculation device is provided with which the deposits can be prevented from being adhered around the throttle valve due to the back flow of the recirculated gas.
- the recirculated gas can be smoothly fed into the engine without trouble such as deposits being produced near the recirculated gas inflowing port at which the recirculated gas control valve is provided and the inflowing port being clogged or the valve body sticking to the valve seat portion.
- the recirculated gas inflowing port is opened in the forward flow area of the intake air flowing in the intake pipe from the upstream side to the downstream side at the downstream side part of the throttle valve provided in the intake pipe, therefore the recirculated gas flowing into the intake pipe from the recirculated gas inflowing port smoothly flows to the downstream side while riding the forward flow of the intake air so as to be fed into the engine again, so it is possible to avoid the recirculated gas flowing back in the intake pipe and reaching the throttle valve to cause the buildup of deposits.
- one end of a bent passage means is connected to an end of the recirculated gas introduction passage, the internal portion thereof is defined as the recirculated gas guide passage and, at the same time, the other end thereof is defined as the recirculated gas inflowing port and opened toward the downstream side at the forward flow area of the flow of the intake air in the intake pipe, therefore, regardless of the positions of disposition of the recirculated gas introduction passage and recirculated gas control valve, the recirculated gas inflowing port can be opened in the forward flow area of the flow of the intake air at the downstream side of the throttle valve and, at the same time, the recirculated gas is smoothly guided to the opening thereof and can be discharged toward the downstream side of the flow of the intake air. Accordingly, the recirculated gas does not enter into the back flow area but flows into the forward flow area and flows to the downstream side, therefore it is possible to reliably prevent deposits from building up at the throttle valve.
- a prevention wall for preventing the intrusion of the blow-by gas etc. as much as possible is formed at the upper portion of the intake passage at which the adhesion of the oil components in the blow-by gas is most difficult in the intake pipe and, at the same time, the valve seat portion of the recirculated gas control valve is provided in that prevention wall, thereby solving the problems possessed by the related art mentioned above.
- the exhaust gas recirculation device of the present invention by providing the valve seat portion of the recirculated gas control valve at a position of the upper portion of the intake passage and, at the same time, providing the partition wall extending toward the downstream side so as to provide a space between the valve seat portion and the intake passage, the recirculated gas introduction port, which opens toward the downstream side when seen from the valve seat portion, is formed in the upper portion of the intake passage.
- the recirculated gas passing through the valve gap of the valve seat portion passes through the recirculated gas introduction port and flows toward the downstream side where it merges with the intake air flowing in the intake passage and is taken into the engine to perform a purification action of the exhaust gas.
- Figure 1 and Fig. 2 show an example of an internal combustion engine 2 provided with an exhaust gas recirculation device 1 as a first comparative example not claimed.
- Figure 1 is a front view showing a cylinder block 9 of a multi-cylinder engine 2 from the front of a not illustrated crankshaft; while Fig. 2 is a plan view showing this from above.
- a throttle valve 3 of the engine 2 and a recirculated gas control valve 4 forming the principal element of the exhaust gas recirculation device 1 are successively attached at a predetermined interval in an intake pipe 5 in a direction (direction indicated by an arrow) in which the intake air, that is, an intaken fresh air (indicated as FA in the figure) flows.
- FA intaken fresh air
- the throttle valve 3 is provided as a variable opening valve at an appropriate position in the intake pipe 5 so as to adjust the flow rate of the intake air flowing in the intake pipe 5, while the recirculated gas control valve 4 is inserted as a variable opening valve at an appropriate position of the recirculated gas introduction passage 8 so as to adjust the flow rate of the recirculated gas (indicated as RG in the figure, with the gas exhausted to the outside being conversely indicated as EG) for taking out part of the exhaust gas from the exhaust manifold 6 side and refluxing the same into the intake air flowing in the intake pipe 5 at the intake manifold 7 side.
- the first embodiment is an example showing a case where the recirculated gas control valve 4 is directly attached to the pipe wall of the intake pipe 5.
- a blow-by gas introduction passage 10 which introduces the blow-by gas (the blow-by gas is indicated as BG in the figure) accumulated in a crank case or cylinder head cover of the engine 2 into the intake pipe 5 for processing is opened in the pipe wall of the intake pipe 5 on the upstream side of the throttle valve 3.
- the characteristic feature of the present invention basically resides in that the recirculated gas inflowing port 11 is opened in the forward flow area of the intake air.
- the shape of a curve B indicating the border of the forward flow area and the back flow area in the lateral cross sectional view is not a circular shape following the pipe wall of the intake pipe 5 in Fig. 4 indicating the lateral cross section of the intake pipe 5, but becomes a flat long oval shape due to the influence of the valve stem 12 of the throttle valve 3.
- a phenomenon where the thickness of the forward flow area in the radial direction becomes the smallest at the part where the valve stem 12 intersects the pipe wall of the intake pipe 5 and becomes the largest at the part near a straight line R-R orthogonal to the valve stem 12 was found. Accordingly, one of the concrete characteristic features in the first embodiment resides in that, as shown in Fig.
- the opening of the recirculated gas introduction passage 8, that is, the recirculated gas inflowing port 11, is provided particularly at the lower position of the pipe wall intersecting the straight line R-R in the forward flow area at the downstream side of the throttle valve 3.
- the position suitable for providing the recirculated gas inflowing port 11 corresponds to the downstream side of the position where the throttle valve 3 opens earliest when it starts to open from the closed state.
- Fig. 22 showing the related art, for example, in a four-cylinder internal combustion engine 2, the intake pipe 5 is extended in a right angle direction with respect to the direction of arrangement of the serially arranged four cylinders #1 to #4, but in order to make the distribution of the intake air to the combustion chambers 14 of the cylinders uniform, it is necessary to provide the valve stem 12 of the butterfly type throttle valve 3 parallel to the direction of arrangement of the cylinders.
- the recirculated gas introduction passage 8 extending from one part of the exhaust manifold 6 to the intake pipe 5 side is guided to the opposite side of the cylinder block 9 at substantially the same height as that of the intake pipe 5, therefore due to the necessity of making the length of the passage 8 the shortest, the recirculated gas inflowing port 11 is provided in the plane containing the valve stem 12 of the throttle valve 3.
- the thickness of the forward flow area of the intake air has become small as shown in Fig. 4, and the back flow area of the intake air extends to the considerably downstream side. Accordingly, as shown in Fig. 5, in the case of the conventional example where the recirculated gas inflowing port 11 is provided in the plane containing the valve stem 12, the inflowing port 11 will be opened in the back flow area of the intake air.
- the recirculated gas inflowing port 11 When the recirculated gas inflowing port 11 is opened in the back flow area of the intake air of the intake pipe 5 as in the conventional example shown in Fig. 5, the recirculated gas flowing from the inflowing port 11 into the intake pipe 5 reaches the throttle valve 3 while riding the flow flowing back from the downstream side of the intake pipe 5 toward the upstream side and buildup of deposits on the throttle valve 3 occurs, but if the recirculated gas inflowing port 11 is provided in the forward flow area of the intake air as in the first comparative example shown in Fig. 6, the inflowing recirculated gas flows to the downstream side from the inflowing port 11 while ridingthe forward flow of the intake air, so the buildup of deposits on the throttle valve 3 can be prevented.
- the inflowing port 11 is provided at the position where the thickness of the forward flow area becomes the largest, that is, the valve stem 15 of the poppet type recirculated gas control valve is provided on a straight line at right angles relative to the valve stem 12, therefore the best effect is obtained.
- the inflowing port 11 exists in the forward flow area of the intake air, substantially the same effect is obtained.
- a second comparative example is shown in Fig. 7. If the recirculated gas inflowing port 11 is opened in the forward flow area of the intake air on the downstream side of the throttle valve 3 in this way, even if the recirculated gas control valve 4 is provided at the middle of the recirculated gas introduction passage 8 as exemplified in Fig. 7, a similar effect to that of the case of the first comparative example is obtained.
- FIG. 8 An undesirable conventional example is shown in Fig. 8.
- the valve stem 12 of the throttle valve 3 is provided in a direction at right angles with respect to the direction of arrangement of the cylinders #1 to #4 of the engine 2, therefore the distribution of the intake air to the cylinders is no longer uniformly carried out.
- the recirculated gas inflowing port 11 is opened on the downstream side at the position where the valve stem 12 intersects with the pipe wall of the intake pipe 5, it will cause the flow of the recirculated gas into the back flow area of the intake air, therefore there arises the problem of buildup of deposits at the throttle valve 3.
- these problems are simultaneously solved by merely aligning the valve stem 12 of the throttle valve 3 in Fig. 8 in direction with the direction of arrangement of the cylinders.
- Figure 9A shows a similar configuration to that shown in Fig. 8, in which the valve stem 12 of the butterfly type throttle valve 3 is arranged in the direction at right angles with respect to the direction of arrangement of the plurality of cylinders.
- Figure 10A compared with this shows a configuration similar to that shown in Fig. 7, in which the direction of arrangement of the plurality of cylinders and the direction of the valve stem 12 of the throttle valve 3 coincide.
- the characteristic feature resides in that the valve stem 15 of the recirculated gas control valve 4 is supported in parallel to the valve stem 12 of the throttle valve 3 and, at the same time, the position of the former is set at a position separate from the position of the latter by exactly the required distance, whereby the valve stem 15 and the valve seat 16 of the recirculated gas control valve 4 are offset at the outside of the pipe wall of the intake pipe 5.
- a recirculated gas directing passage 17 is mounted on the pipe wall of the intake pipe 5, and the valve seat 16 is connected to the recirculated gas inflowing port 11.
- an inclined surface (indicated as 18) is provided so as to enable the recirculated gas to easily ride on the forward flow of the intake air.
- the recirculated gas guide passage 18 having the inclined surface 18 inclined toward the forward flow area of the intake air was provided, even if the valve stem 12 of the throttle valve 3 and the valve stem 15 of the recirculated gas control valve are provided close to each other in the direction of the intake pipe 5, the back flow of the recirculated gas to the throttle valve 3 can be prevented. Further, if the partition flange 19 as shown in Fig. 12 and Fig.
- the flow rate of the forward flow of the intake air (mixture of the fresh air and blow-by gas) in the inflowing port 11 can be raised in comparison with a case where the partition flange 19 is not provided, therefore the recirculated gas can easily ride on the forward flow and the back flow of the recirculated gas to the throttle valve 3 can be further effectively hindered.
- the recirculated gas directing passage 17 is provided with the inclined surface 18 inclined toward the downstream side of the intake pipe 5, the recirculated gas gradually smoothly flows out into the intake air flow and diffuses uniformly, therefore the distribution of the recirculated gas with respect to the cylinders is uniformly carried out, occurrence of a variation in the output of the different cylinders can be prevented, and the speed of the engine at the time of a low load operation becomes smoother than in the conventional case.
- valve stem 12 of the throttle valve 3 and the valve stem 15 of the recirculated gas control valve 4 are arranged in parallel and the distance between the valve stems 12 and 15 in the direction of the intake pipe 5 is made small, it becomes possible to shorten the length of the intake pipe 5 near the throttle valve 3, and consequently the entire engine can be made smaller in size. By this, the response of acceleration is improved.
- the area of the flow path of the recirculated gas inflowing port 11 opened to the intake pipe 5 is made larger than the valve seat 16 of the recirculated gas control valve 4, and, for example, as in the second embodiment shown in Fig. 16, a fan-shaped gas inflowing port 20, the flow rate of the recirculated gas into the intake pipe 5 is lowered and, at the same time, the recirculated gas can flow into the flow of the intake air (mixture of the fresh air and blow-by gas) while being dispersed, therefore it becomes further easier for the recirculated gas having a lowered density to ride on the forward flow of the intake air, and the back flow to the throttle valve 3 can be prevented.
- valve seat 16 of the recirculated gas control gas 4 and the recirculated gas inflowing port 11 above the throttle valve 4 corresponding to the direction of the opening and closing of the butterfly type throttle valve 3 with the parallel supported valve stem 12 by providing the valve seat 16 of the recirculated gas control gas 4 and the recirculated gas inflowing port 11 above the throttle valve 4 corresponding to the direction of the opening and closing of the butterfly type throttle valve 3 with the parallel supported valve stem 12, the buildup of deposits due to not only the components contained in the recirculated gas, but also the lubricant oil particles of the engine contained in the blow-by gas can be prevented, whereby the inconvenience of reduction of the sectional area of the flow path of the valve seat 16 can be avoided.
- the position of the upper portion of the throttle valve 3 provided with the recirculated gas inflowing port 11 is downstream of the position at which the throttle valve 3 opens earliest when it starts to gradually open from the closed state. Accordingly, the recirculated gas flowing into the intake pipe 5 from the recirculated gas inflowing port 11 is mixed well with the intake air even if the degree of opening of the throttle valve 37 is small. Then, when the recirculated gas is shut off, the influence of the recirculated gas quickly disappears at the downstream side of the throttle valve 3, therefore the response with respect to the opening and closing of the recirculated gas control valve 4 becomes high. Also in this case, there is a large effect that the intrusion of the blow-by gas into the recirculated gas control valve 4 can be hindered by providing the recirculated gas directing passage 17 provided with the partition flange 19 and the inclined surface 18.
- the throttle valve 3 can be made placed closer to the cylinder block 9 than that in the other embodiments, therefore, when the recirculated gas control valve 4 is opened for acceleration, the volume of the intake pipe 5 containing the intake manifold 7 on the downstream side from this is smaller than that of the case where the throttle valve 3 and the recirculated gas control valve 4 are provided at the more upstream position, therefore the amount of the recirculated gas remaining in the intake pipe 5 is small, and thus the acceleration response of the engine 2 becomes high and, at the same time, it becomes possible to make the exhaust gas recirculation device 1 compact in size.
- the point that the recirculated gas directing passage 17 and the recirculated gas inflowing port 11 are provided in the intake manifold 7 for this purpose is different from the third embodiment, but substantially the same mode of operation and effect are obtained.
- Both of the third embodiment and the fourth embodiment have the recirculated gas directing passage 17 provided with the inclined surface 18 as shown in Fig. 17 and Fig. 20, therefore, similar to the above embodiments, the distribution of the recirculated gas with respect to the cylinders of the engine becomes more uniform, the variation of output of the different cylinders becomes small, the speed becomes stable in the time of a low load operation, etc.
- FIG. 23 to Fig. 25 A common characteristic feature of this comparative example with a further comparative example (Fig. 26) and fifth embodiment (Fig. 27) mentioned later resides in that an elbow-shaped bent pipe 24 is provided so as to be connected to the end of the recirculated gas introduction passage 8, the recirculated gas directing passage 17 is formed inside the bent pipe 24 and, at the same time, the opening of the other end of the bent pipe 24 is defined as the recirculated gas inflowing port 11 opening toward the downstream side of the intake pipe 5, whereby the recirculated gas inflowing port 11 of this bent pipe 24 is opened at a relatively downstream part of the flow of the intake air in the forward flow area of the intake air formed in the intake pipe 5.
- bent pipes 24 are shaped as elbows, but the pipes used as the bent recirculated gas guide passage in the present invention are not always formed by just elbow-shaped bent pipes 24 and be any bent pipes 24 so far as the bent recirculated gas directing passage 17 is formed and the recirculated gas flowing inside this is guided to the forward flow area at the relatively downstream side of the intake pipe 5 and, at the same time, they can discharge the recirculated gas toward the downstream side of the flow of the intake air in the opening of the other end. Therefore the bent pipe 24 should be generally read as a "bent passage means".
- the flow rate of the fresh air in the intake pipe 5 becomes low, but in contrast, the flow rate of the recirculated gas flowing out of the inflowing port 11 becomes high, therefore there is a case where the recirculated gas penetrates through the forward flow area of the fresh air and flows into the back flow area. In such a case, similar to the related art, the recirculated gas will flow back, although the amount thereof is small, and a deposit will sometimes be produced in the throttle valve 3, etc.
- the recirculated gas flowing in the introduction passage 8 passes the valve seat 16 of the recirculated gas control valve and is then guided by the smooth directing passage 17 formed inside the bent pipe 24 and changes in direction of flow, then is discharged to the direction of flow of the forward flow area of fresh air from the inflowing port 11 opened in the forward flow area of the fresh air, therefore even if the recirculated gas control valve 4 is provided close to the throttle valve 3 and even in a case where the valve stem 15 of the recirculated gas control valve 4 is located at the upstream side in the direction of the intake pipe 5 from the valve stem 12 of the throttle valve 3 as an extreme case, it becomes possible to open the inflowing port 11 in the forward flow area of the fresh air by using the bent pipe 24.
- the recirculated gas is fed into the forward flow area of the fresh air (intake air) sufficiently downstream from the throttle valve 3 by the directing passage 17 of the bent pipe 24, and therefore the back flow of the recirculated gas to the throttle valve 3 is reliably hindered.
- Figure 26 shows the further comparative example not claimed.
- the bent pipe 24 is used at the end of the recirculated gas introduction passage 8.
- the recirculated gas control valve 4 is not provided in the pipe wall of the intake pipe 5, but is provided in the middle of the recirculated gas introduction passage 8.
- the recirculated gas control valve 4 in the mode of operation and effect the recirculated gas can be fed into the forward flow area of the fresh air in the intake pipe 5 sufficiently downstream from the throttle valve 3 by the bent pipe 24, therefore an adverse influence upon the throttle valve 3 due to the back flow of the recirculated gas can be prevented.
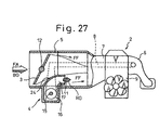
- FIG. 27 shows the fifth embodiment of the present invention.
- the valve stem 12 of the throttle valve 3 and the valve stem 15 of the recirculated gas control valve 4 have become parallel, therefore it is difficult to make the recirculated gas evenly flow into the flow of fresh air at the downstream side of the throttle valve 3 as it is, but by providing the bent pipe 24 so as to be connected to the downstream side of the valve seat 16 of the recirculated gas control valve 4 and opening the inflowing port 11 of the end of the recirculated gas directing passage 17 in the forward flow area of the fresh air sufficiently downstream from the throttle valve 3, it becomes possible to prevent the back flow of the recirculated gas to the direction of the throttle valve 3 and, at the same time, the recirculated gas can be evenly mixed into the fresh air.
- the bent pipe 24 opened at the end of the recirculated gas introduction passage 8 there is an advantage that a large degree of freedom is obtained in the positional relationship between the throttle valve 3 and the recirculated gas control valve
- the example of using a diaphragm actuator operating by the negative pressure so as to operate the throttle valve 3 and the recirculated gas control valve 4 (the negative pressure added is indicated as NP in the figure, while atmospheric pressure is indicated as AP) was shown, but needless to say other types of actuators, for example, a stepping motor, a piezoactuator, and a solenoid type actuator can be used as the actuator of these valves.
- Fig. 31 101 is a multi-cylinder engine, and 102 indicates a conventional exhaust gas recirculation device mounted on this.
- Reference numeral 103 is an air cleaner, and 104 is an intake passage connected to this and formed in an intake pipe 105, an intake manifold 106, etc.
- Reference numeral 107 indicates an exhaust manifold of the engine 101.
- the exhaust gas recirculation device 102 is constituted by a recirculated gas introduction passage 108 which extracts part of the exhaust gas EG from the exhaust manifold 107 as the recirculated gas and feeds this to part of the intake passage 104 and a recirculated gas control valve 109 provided at the end of the passage 108.
- the conventional recirculated gas control valve 109 comprises a valve seat 110 acting also as the recirculated gas inflowing port formed in the lower portion of the intake pipe 105, a valve body 111 of a frustoconical shape opening and closing this, a long rod-like valve stem 112 which is integrally formed with the valve body 111 and crosses the intake passage 104, and an actuator 113 driving the upper end of the valve stem 112. Further, the actuator 113 is provided with a diaphragm 114 engaged with the upper end of the valve stem 112 and a compression spring 116 placed in a negative pressure chamber 115 formed in the upper portion of the diaphragm 114.
- blow-by gas introduction passage 118 Separate from the exhaust gas recirculation device 102, in order to guide and process the blow-by gas BG accumulated in the crank case and the cylinder head cover 117 of the engine 101, a blow-by gas introduction passage 118 connecting them is provided.
- the blow-by gas inflowing port 119 which is the outlet opening thereof is opened in the pipe wall of the intake pipe 105 at the 5 upstream side of the valve seat 110 of the recirculated gas control valve 109.
- a long valve stem 112 of the recirculated gas control valve 109 is provided so as to cross the intake passage 104 in which the intake air containing a large amount of low temperature fresh air flows, therefore even if the temperature of the valve seat 110 and the valve body 111 becomes high, the heat is scattered from the long valve stem 112 into the intake air, therefore the breakage of the diaphragm 114 etc. of the actuator 113 due to the heat can be prevented.
- the valve seat 110 which is the opening of the end of the recirculated gas introduction passage 108, emits the recirculated gas, therefore there is the possibility as mentioned above that the carbon particles contained in this will be mixed with the oil component in the blow-by gas and build up near the valve seat 110 to form a deposit that reduces the sectional area of the flow path or that causes the valve body 111 to stick to the valve seat 110 to make the operation impossible.
- 101 denotes a multi-cylinder engine, 103 an air cleaner, 104 an intake passage, 105 an intake pipe, 106 an intake manifold, 107 an exhaust manifold, 108 a recirculated gas introduction passage, 113 a diaphragm actuator, 114 a diaphragm, 115 a negative pressure chamber, 116 a compression spring, 117 a cylinder head cover, 118 a blow-by gas introduction passage, and 119 a blow-by gas inflowing port.
- the characteristic feature of the exhaust gas recirculation device 120 of Fig. 28 to Fig. 30 resides in the related configuration of the recirculated gas control valve 121 attached to the intake pipe 105 and the downstream side part thereof.
- This control valve 121 is constituted in a pipe part 122 which is provided so as to be inserted into the middle of the intake pipe 105 and forms part of the intake passage 104.
- One part 105a of the intake pipe 105 which is located on the downstream side of the pipe part 122 has a shape matched with the end surface of the control valve 121 including the pipe part 122.
- the part 105a of the intake pipe 105 is separately provided from the pipe part 122 of the control valve 121, but it is also possible to integrally form them from the first.
- the partition wall 123 with the intake passage 104, the intake air and blow-by gas flowing toward the downstream side are prevented from directly flowing into the recirculated gas control valve 121.
- the partition wall 123 it is possible for the partition wall 123 to be formed by part of the pipe part 122 so far as it does not hinder installation of the recirculated gas control valve 121.
- the recirculated gas control valve 121 is provided with a valve body 124 which is attached in a direction with its axial line intersecting the axial line of the pipe part 122 at right angles at the upper portion of the pipe part 122 and accordingly at the upper portion of the intake passage 104, an inlet 125 of the recirculated gas provided there, an annular valve seat 126 formed in the valve body 124, a valve body 127 of a frustoconical shape opening and closing this, and a recirculated gas introduction port 128 which is opened toward the downstream side so that, when the valve body 127 is separated from the valve seat 126, the recirculated gas flowing through the valve gap between them is guided to the intake passage 104 and flows into the intake flow.
- the valve stem 129 integrally formed with the valve body 127 is driven by the actuator 133 in the same way as that of the conventional example.
- the actuator 113 can 10 be located at a position close to the intake pipe 105, therefore it will be cooled together with the valve body 124 by the intake air of the relatively low temperature flowing in the intake pipe 105. Accordingly, when the actuator 113 is a diaphragm type, deterioration of the diaphragm 114 due to the heat of the recirculated gas transferred from the valve body 127 via the valve stem 129 can be prevented.
- the valve body 127 of the recirculated gas control valve 121 opens or closes the valve gap with the valve seat 126 and makes an appropriate amount of recirculated gas flow into the flow of the intake air flowing in the intake passage 104 toward the downstream side from the introduction port 128 when necessary.
- the blow-by gas flowing from the blow-by gas inflowing port 119 opened at the upstream side from the recirculated gas control valve 121 is contained in the intake air, and therefore the oil component in the blow-by gas adheres to the inner wall surface of the intake pipe 105 and coagulates to form an oil film, but the oil film flows downward due to gravity.
- the partition wall 123 is provided in the lower portion of the recirculated gas control valve 121 with the intake passage 104, even if there is no inflow of the recirculated gas, the blow-by gas will not slip around to near the valve seat 126.
- the intrusion and adhesion of the oil component in the blow-by gas to the periphery of the valve seat 126 of the recirculated gas control valve 121 are reliably hindered.
- the trouble of the carbon particles contained in the recirculated gas flowing out of the control valve 121 to be mixed with the oil component in the blow-by gas and forming a deposit in the flow path which reduces the sectional area of the flow path or causes sticking of the valve body 127 and the valve seat 126 and thereby poor operation of the control valve 121 can be avoided.
- the present comparative example has an inclined recirculated gas inflowing passage 131 which not only is shaped so that the control valve 121 and the part 105b of the intake pipe 5 connected to the downstream side of the pipe part 122 thereof match with the upstream side in the connected end surface, but also is connected to the recirculated gas introduction port 128 of the control valve 121 on the upstream side and, at the same time, opens in the intake passage 104 on the downstream side.
- the opening of the inflowing passage 131 with respect to the intake passage 104 that is, the recirculated gas inflowing port 132, can smoothly combine the recirculated gas flowing while passing through the control valve 121 with the intake air in the intake passage 104.
- the flow rate is lowered during the period when the recirculated gas passing through the valve gap between the valve body 127 and valve seat 126 of the control valve 121 flows in the inflowing passage 131, thus there are the advantages that the mixture with the intake air flowing in the intake passage 104 becomes better and the distribution of the recirculated gas with respect to cylinders becomes more uniform than that of the case of the preceding comparative example.
- Figure 34 and Fig. 35 show the exhaust gas recirculation device 133 according to a sixth embodiment of the present invention.
- the characteristic feature of the sixth embodiment resides in that, while maintaining the substantive configuration of the exhaust gas recirculation device 130 of the above comparative example as it is, the pipe part 122 of the recirculated gas control valve 121 and the part 105a of the intake pipe 105 on the downstream side are combined so as to provide the recirculated gas inflowing member 134.
- part of the recirculated gas inflowing member 134 corresponds to the pipe part 122 in the above comparative example, therefore only the valve part excluding the pipe part 122 from the recirculated gas control valve 121 in the above comparative example is shown as the recirculated gas control valve 121' in the sixth embodiment.
Landscapes
- Engineering & Computer Science (AREA)
- Chemical & Material Sciences (AREA)
- Combustion & Propulsion (AREA)
- Mechanical Engineering (AREA)
- General Engineering & Computer Science (AREA)
- Exhaust-Gas Circulating Devices (AREA)
- Lubrication Details And Ventilation Of Internal Combustion Engines (AREA)
Claims (11)
- Abgasrückführeinrichtung in einem Verbrennungsmotor, ausgestattet mit einer Drosselklappe (3) mit einem Ventilschaft (12), der in der Mitte eines Ansaugrohres (5) angeordnet ist und eine Menge von durch das Ansaugrohr (5) strömende und zu einer Brennkammer in einem Zylinder zu leitende Ansaugluft regelt; Zuführleitung (8) für zurückgeführtes Gas zum Zurückführen eines Teils eines Abgases als zurückgeführtes Gas in das Ansaugrohr (5); Steuerventil (21) für zurückgeführtes Gas mit einem Ventilschaft (15), der in der Zuführleitung (8) für zurückgeführtes Gas angeordnet ist und die Menge des durch die Leitung und in das Ansaugrohr (5) strömenden zurückgeführten Gases regelt; und Zustromöffnung (11) für zurückgeführtes Gas, die sich in dem Ansaugrohr (5) öffnet, um das zurückgeführte Gas am Ende der Zuführleitung (8) für zurückgeführtes Gas in das Ansaugrohr (5) strömen zu lassen, wobei
die Zustromöffnung (11) für zurückgeführtes Gas in einem Vorwärtsstrombereich von Ansaugluft geöffnet wird, die auf der stromabwärts gelegenen Seite der Drosselklappe (3) von der stromaufwärts zur stromabwärts gelegenen Seite des Ansaugrohres (5) strömt, und wobei
eine Führungsleitung (17) für zurückgeführtes Gas bereitgestellt wird, um die Zustromöffnung (11) für zurückgeführtes Gas und einen Ventilsitzteil (16) des Steuerventils (21) für zurückgeführtes Gas zu verbinden, und wobei die Führungsleitung (17) für zurückgeführtes Gas mit einer geneigten Oberfläche (18) ausgestattet ist, die im Außenbereich des Ansaugrohrs (5) angeordnet und in Richtung der stromabwärts gelegenen Seite des Ansaugrohrs (5) geneigt ist,
dadurch gekennzeichnet, dass
der Ventilschaft (12) der Drosselklappe (3) und der Ventilschaft (15) des Steuerventils (21) für zurückgeführtes Gas parallel angeordnet sind und ihr Abstand in Richtung des Ansaugrohrs (5) gering ist. - Abgasrückführeinrichtung nach Anspruch 1,
dadurch gekennzeichnet, dass
ein Teilungsflansch (19) an einer stromaufwärts der Ansaugluft gelegenen Seite der Zustromöffnung (11) für zurückgeführtes Gas angeordnet ist und das Strömen des zurückgeführten Gases zur stromaufwärts gelegenen Seite der Zustromöffnung (11) für zurückgeführtes Gas verhindert, wenn es in das Ansaugrohr (5) strömt. - Abgasrückführeinrichtung nach Anspruch 1 oder 2,
dadurch gekennzeichnet, dass
eine Zuführleitung (10) für Durchblasgas das in dem Motor erzeugte Durchblasgas in das Ansaugrohr (5) an der stromaufwärts gelegenen Seite der Drosselklappe (3) strömen lässt und gleichzeitig die Zustromöffnung (11) für zurückgeführtes Gas im oberen Teil der Drosselklappe (3) angeordnet ist. - Abgasrückführeinrichtung nach einem beliebigen der Ansprüche 1 bis 3,
dadurch gekennzeichnet, dass
die Drosselklappe (3) vom Typ eines Klappenventils ausgeführt ist und sein Ventilschaft (12) parallel zur Anordnungsrichtung mehrerer Zylinder des Motors angeordnet ist. - Abgasrückführeinrichtung nach Anspruch 4,
dadurch gekennzeichnet, dass
die Zustromöffnung (11) für zurückgeführtes Gas im unteren Teil der Drosselklappe (3) in der Rohrwand des Ansaugrohrs (5) auf der stromabwärts gelegenen Seite der Drosselklappe (3) vom Typ eines Klappenventils geöffnet wird. - Abgasrückführeinrichtung nach Anspruch 5,
dadurch gekennzeichnet, dass
die Zustromöffnung (11) für zurückgeführtes Gas im oberen Teil der Drosselklappe (3) in der Rohrwand des Ansaugrohrs (5) an auf der stromabwärts gelegenen Seite der Drosselklappe (3) vom Typ eines Klappenventils geöffnet wird. - Abgasrückführeinrichtung nach einem beliebigen der Ansprüche 1 bis 6, wobei die Zustromöffnung (11) für zurückgeführtes Gas eine Fächerform hat.
- Abgasrückführeinrichtung nach einem beliebigen der Ansprüche 1 bis 7,
dadurch gekennzeichnet, dass
die Zustromleitung (17) für zurückgeführtes Gas im Verhältnis zum Ansaugrohr (5) geneigt ist. - Abgasrückführeinrichtung nach Anspruch 8,
dadurch gekennzeichnet, dass
die Zustromleitung (17) für zurückgeführtes Gas in das Steuerventil (21) für zurückgeführtes Gas integriert ist. - Abgasrückführeinrichtung nach einem beliebigen der Ansprüche 2,
dadurch gekennzeichnet, dass
sowohl der Teilungsflansch (19) als auch die Zuführleitung (8) für zurückgeführtes Gas im oberen Teil des Ansaugrohrs (5) angeordnet sind. - Abgasrückführeinrichtung nach einem beliebigen der Ansprüche 1 bis 10,
dadurch gekennzeichnet, dass
die Drosselklappe (3) und das Steuerventil (21) für zurückgeführtes Gas in einem gemeinsamen Gehäuse angeordnet sind.
Applications Claiming Priority (9)
| Application Number | Priority Date | Filing Date | Title |
|---|---|---|---|
| JP119112/96 | 1996-05-14 | ||
| JP11911296 | 1996-05-14 | ||
| JP11911296 | 1996-05-14 | ||
| JP31649696 | 1996-11-27 | ||
| JP31649696 | 1996-11-27 | ||
| JP316496/96 | 1996-11-27 | ||
| JP3030497 | 1997-02-14 | ||
| JP9030304A JPH1030504A (ja) | 1996-05-14 | 1997-02-14 | 排出ガス再循環装置 |
| JP30304/97 | 1997-02-14 |
Publications (3)
| Publication Number | Publication Date |
|---|---|
| EP0809012A2 EP0809012A2 (de) | 1997-11-26 |
| EP0809012A3 EP0809012A3 (de) | 1999-03-24 |
| EP0809012B1 true EP0809012B1 (de) | 2003-08-20 |
Family
ID=27286919
Family Applications (1)
| Application Number | Title | Priority Date | Filing Date |
|---|---|---|---|
| EP97107793A Expired - Lifetime EP0809012B1 (de) | 1996-05-14 | 1997-05-13 | Abgasrückführeinrichtung |
Country Status (2)
| Country | Link |
|---|---|
| EP (1) | EP0809012B1 (de) |
| DE (1) | DE69724180T2 (de) |
Cited By (2)
| Publication number | Priority date | Publication date | Assignee | Title |
|---|---|---|---|---|
| DE102008023381A1 (de) * | 2008-05-13 | 2009-11-19 | GM Global Technology Operations, Inc., Detroit | Saugrohranordnung |
| US8423269B2 (en) | 2009-07-08 | 2013-04-16 | Cummins Inc. | Exhaust gas recirculation valve contaminant removal |
Families Citing this family (4)
| Publication number | Priority date | Publication date | Assignee | Title |
|---|---|---|---|---|
| EP1152141B1 (de) * | 2000-05-05 | 2005-02-09 | Siemens Aktiengesellschaft | Verfahren und Vorrichtung zur Rückführung von Abgas in den Ansaugluftstrom |
| US8181633B2 (en) | 2008-12-17 | 2012-05-22 | Aisin Seiki Kabushiki Kaisha | Intake manifold |
| FR3028555B1 (fr) * | 2014-11-19 | 2020-01-03 | Renault S.A.S | Connecteur d'entree de turbocompresseur avec connexions egr et blow-by |
| US11118546B2 (en) | 2017-08-25 | 2021-09-14 | Mazda Motor Corporation | Engine intake system |
Citations (1)
| Publication number | Priority date | Publication date | Assignee | Title |
|---|---|---|---|---|
| EP0586123A2 (de) * | 1992-08-31 | 1994-03-09 | Hitachi, Ltd. | Einlassluftanlage für Brennkraftmaschine |
Family Cites Families (3)
| Publication number | Priority date | Publication date | Assignee | Title |
|---|---|---|---|---|
| US4373496A (en) * | 1981-04-01 | 1983-02-15 | Robert Bosch Gmbh | Apparatus for controlling an exhaust recirculation device in internal combustion engines |
| JPS6060252A (ja) * | 1983-09-13 | 1985-04-06 | Mazda Motor Corp | V型エンジンの排気ガス還流装置 |
| US5333456A (en) * | 1992-10-01 | 1994-08-02 | Carter Automotive Company, Inc. | Engine exhaust gas recirculation control mechanism |
-
1997
- 1997-05-13 EP EP97107793A patent/EP0809012B1/de not_active Expired - Lifetime
- 1997-05-13 DE DE69724180T patent/DE69724180T2/de not_active Expired - Lifetime
Patent Citations (1)
| Publication number | Priority date | Publication date | Assignee | Title |
|---|---|---|---|---|
| EP0586123A2 (de) * | 1992-08-31 | 1994-03-09 | Hitachi, Ltd. | Einlassluftanlage für Brennkraftmaschine |
Cited By (2)
| Publication number | Priority date | Publication date | Assignee | Title |
|---|---|---|---|---|
| DE102008023381A1 (de) * | 2008-05-13 | 2009-11-19 | GM Global Technology Operations, Inc., Detroit | Saugrohranordnung |
| US8423269B2 (en) | 2009-07-08 | 2013-04-16 | Cummins Inc. | Exhaust gas recirculation valve contaminant removal |
Also Published As
| Publication number | Publication date |
|---|---|
| DE69724180T2 (de) | 2004-04-01 |
| DE69724180D1 (de) | 2003-09-25 |
| EP0809012A3 (de) | 1999-03-24 |
| EP0809012A2 (de) | 1997-11-26 |
Similar Documents
| Publication | Publication Date | Title |
|---|---|---|
| US9506383B2 (en) | Blow-by gas refluxing device | |
| US10337398B2 (en) | Blowby gas treatment device for internal combustion engine with supercharger | |
| CN101495719B (zh) | 用在排气通气系统中的多功能阀门 | |
| CN101230792A (zh) | 具有流量调节文丘里喷嘴的发动机曲轴箱强制通风系统 | |
| US20170107955A1 (en) | Intake system of internal combustion engine with supercharger | |
| US20100242904A1 (en) | Internal Combustion Engine | |
| US4318273A (en) | Internal combustion engine equipped with a turbocharger | |
| JPH10213019A (ja) | 排出ガス再循環装置 | |
| EP0809012B1 (de) | Abgasrückführeinrichtung | |
| JP3218883B2 (ja) | 吸気通路内蓄積オイルの排出構造 | |
| US6945238B2 (en) | Air intake arrangement for an internal combustion engine | |
| EP3808966B1 (de) | Lufteinlassvorrichtung für einen motor | |
| JPH1030504A (ja) | 排出ガス再循環装置 | |
| US11236706B2 (en) | Evaporated fuel treatment device for engine | |
| JP3890669B2 (ja) | 排出ガス再循環装置 | |
| JPH1113553A (ja) | 排出ガス再循環装置 | |
| KR102842998B1 (ko) | 자동차의 듀얼 연료 퍼지 시스템 | |
| JPS628627B2 (de) | ||
| JP5577836B2 (ja) | 内燃機関のブローバイガス処理装置 | |
| US20050189167A1 (en) | Noise suppression system and method | |
| JP2001073881A (ja) | 内燃機関の吸気装置 | |
| CN1707087B (zh) | 至少具有一个进气流道的内燃机 | |
| JPS6040811Y2 (ja) | 内燃機関のブロ−バイガス還流装置 | |
| JPS6149496B2 (de) | ||
| JP4930064B2 (ja) | 内燃機関のガス導入装置 |
Legal Events
| Date | Code | Title | Description |
|---|---|---|---|
| PUAI | Public reference made under article 153(3) epc to a published international application that has entered the european phase |
Free format text: ORIGINAL CODE: 0009012 |
|
| AK | Designated contracting states |
Kind code of ref document: A2 Designated state(s): DE GB IT |
|
| PUAL | Search report despatched |
Free format text: ORIGINAL CODE: 0009013 |
|
| AK | Designated contracting states |
Kind code of ref document: A3 Designated state(s): DE GB IT |
|
| 17P | Request for examination filed |
Effective date: 19990504 |
|
| 17Q | First examination report despatched |
Effective date: 20020128 |
|
| GRAH | Despatch of communication of intention to grant a patent |
Free format text: ORIGINAL CODE: EPIDOS IGRA |
|
| GRAS | Grant fee paid |
Free format text: ORIGINAL CODE: EPIDOSNIGR3 |
|
| GRAA | (expected) grant |
Free format text: ORIGINAL CODE: 0009210 |
|
| AK | Designated contracting states |
Designated state(s): DE GB IT |
|
| REG | Reference to a national code |
Ref country code: GB Ref legal event code: FG4D |
|
| REF | Corresponds to: |
Ref document number: 69724180 Country of ref document: DE Date of ref document: 20030925 Kind code of ref document: P |
|
| PLBE | No opposition filed within time limit |
Free format text: ORIGINAL CODE: 0009261 |
|
| STAA | Information on the status of an ep patent application or granted ep patent |
Free format text: STATUS: NO OPPOSITION FILED WITHIN TIME LIMIT |
|
| 26N | No opposition filed |
Effective date: 20040524 |
|
| PGFP | Annual fee paid to national office [announced via postgrant information from national office to epo] |
Ref country code: DE Payment date: 20120510 Year of fee payment: 16 |
|
| PGFP | Annual fee paid to national office [announced via postgrant information from national office to epo] |
Ref country code: GB Payment date: 20120509 Year of fee payment: 16 |
|
| PGFP | Annual fee paid to national office [announced via postgrant information from national office to epo] |
Ref country code: IT Payment date: 20120516 Year of fee payment: 16 |
|
| GBPC | Gb: european patent ceased through non-payment of renewal fee |
Effective date: 20130513 |
|
| PG25 | Lapsed in a contracting state [announced via postgrant information from national office to epo] |
Ref country code: DE Free format text: LAPSE BECAUSE OF NON-PAYMENT OF DUE FEES Effective date: 20131203 |
|
| REG | Reference to a national code |
Ref country code: DE Ref legal event code: R119 Ref document number: 69724180 Country of ref document: DE Effective date: 20131203 |
|
| PG25 | Lapsed in a contracting state [announced via postgrant information from national office to epo] |
Ref country code: IT Free format text: LAPSE BECAUSE OF NON-PAYMENT OF DUE FEES Effective date: 20130513 |
|
| PG25 | Lapsed in a contracting state [announced via postgrant information from national office to epo] |
Ref country code: GB Free format text: LAPSE BECAUSE OF NON-PAYMENT OF DUE FEES Effective date: 20130513 |