EP0802372B1 - Verfahren und Einrichtung zur Steuerung eines Verbrennungsprozesses in einem Kessel - Google Patents

Verfahren und Einrichtung zur Steuerung eines Verbrennungsprozesses in einem Kessel Download PDF

Info

Publication number
EP0802372B1
EP0802372B1 EP97710009A EP97710009A EP0802372B1 EP 0802372 B1 EP0802372 B1 EP 0802372B1 EP 97710009 A EP97710009 A EP 97710009A EP 97710009 A EP97710009 A EP 97710009A EP 0802372 B1 EP0802372 B1 EP 0802372B1
Authority
EP
European Patent Office
Prior art keywords
flame
fact
local
low
sensor
Prior art date
Legal status (The legal status is an assumption and is not a legal conclusion. Google has not performed a legal analysis and makes no representation as to the accuracy of the status listed.)
Expired - Lifetime
Application number
EP97710009A
Other languages
English (en)
French (fr)
Other versions
EP0802372A1 (de
Inventor
Franz Dipl.-Ing. Wintrich
Current Assignee (The listed assignees may be inaccurate. Google has not performed a legal analysis and makes no representation or warranty as to the accuracy of the list.)
Orfeus Combustion Engr GmbH
Original Assignee
Orfeus Combustion Engr GmbH
Priority date (The priority date is an assumption and is not a legal conclusion. Google has not performed a legal analysis and makes no representation as to the accuracy of the date listed.)
Filing date
Publication date
Application filed by Orfeus Combustion Engr GmbH filed Critical Orfeus Combustion Engr GmbH
Publication of EP0802372A1 publication Critical patent/EP0802372A1/de
Application granted granted Critical
Publication of EP0802372B1 publication Critical patent/EP0802372B1/de
Anticipated expiration legal-status Critical
Expired - Lifetime legal-status Critical Current

Links

Images

Classifications

    • FMECHANICAL ENGINEERING; LIGHTING; HEATING; WEAPONS; BLASTING
    • F23COMBUSTION APPARATUS; COMBUSTION PROCESSES
    • F23NREGULATING OR CONTROLLING COMBUSTION
    • F23N5/00Systems for controlling combustion
    • F23N5/02Systems for controlling combustion using devices responsive to thermal changes or to thermal expansion of a medium
    • F23N5/08Systems for controlling combustion using devices responsive to thermal changes or to thermal expansion of a medium using light-sensitive elements
    • F23N5/082Systems for controlling combustion using devices responsive to thermal changes or to thermal expansion of a medium using light-sensitive elements using electronic means
    • FMECHANICAL ENGINEERING; LIGHTING; HEATING; WEAPONS; BLASTING
    • F23COMBUSTION APPARATUS; COMBUSTION PROCESSES
    • F23NREGULATING OR CONTROLLING COMBUSTION
    • F23N2229/00Flame sensors
    • F23N2229/14Flame sensors using two or more different types of flame sensor
    • FMECHANICAL ENGINEERING; LIGHTING; HEATING; WEAPONS; BLASTING
    • F23COMBUSTION APPARATUS; COMBUSTION PROCESSES
    • F23NREGULATING OR CONTROLLING COMBUSTION
    • F23N2229/00Flame sensors
    • F23N2229/16Flame sensors using two or more of the same types of flame sensor
    • FMECHANICAL ENGINEERING; LIGHTING; HEATING; WEAPONS; BLASTING
    • F23COMBUSTION APPARATUS; COMBUSTION PROCESSES
    • F23NREGULATING OR CONTROLLING COMBUSTION
    • F23N2229/00Flame sensors
    • F23N2229/20Camera viewing

Definitions

  • the invention relates to a method and a device for controlling a Combustion process in a boiler according to the preamble of claim 1 or Claim 10.
  • Burners collect data on various process parameters and use them to derive Interventions on manipulated variables processed. For example, temperature and Composition of combustion gases at the boiler outlet, steam parameters such as Temperature and steam mass flow and temperatures measured in the boiler.
  • interventions on the actuators of the Combustion process derived so that, for example, at a high NOX concentration in the combustion gas actuators of the burner to be operated globally supply higher amounts of combustion air.
  • a Measurement of a relatively low steam mass flow through the fuel supply appropriate control of actuators can be increased. Stable control of the The combustion process with the known methods is due to several at the same time Parameters to be observed are relatively difficult.
  • EP-A-0 616 200 describes a device for control and evaluation a combustion process in which a CCD camera has a high spatial resolution captured the fields of a flame.
  • a CCD camera has a high spatial resolution captured the fields of a flame.
  • nine pixels of the CCD camera filtered such that they are adjacent spectral bands of the detect visible light, the resulting curve of each nine Pixel is added to a total.
  • the spectral resolution is roughly tripled, nevertheless is a high spatial resolution and low spectral resolution, since all radiators (radical radiators) falling in one area are added together and taking into account the temperature dependent basis as well also a precise determination of the exact wavelength of one or more Do not allow peaks in the spectrum. Due to peaks due to contamination the fuel, e.g. by salts, the evaluation is falsified and the Regulation misguided accordingly.
  • EP-A-0 581 451 describes a method for controlling a combustion process, in which the time course of the various fields of the Process are recorded.
  • the flame formation behavior in the actual Combustion process of the fuel in a burner number can provide data on a direct control can be provided.
  • others will Process parameters are already automatically regulated. Will the flame come with an optimal training, it can be assumed that the usual process parameters are at least in the vicinity of an optimal operating point.
  • the supply of primary-secondary and / or Tertiary air the supply of fuel and fluidic Adjustment devices of the burner can be set.
  • the swirl at Entry of the fuel can be set.
  • the fuel / air ratio can be local can be optimally adjusted. This enables either the amount of fuel or set to an optimal value in air to achieve the desired value Achieve fuel / air ratio.
  • the high location and low spectral resolution sensor is preferred as a CCD camera educated. With the CCD camera, the shape and the environment of the Flame can be detected. This sensor preferably detects the flow field of the flame. It can also detect a relatively accurate local distribution of the temperature.
  • the sensor with low local and high spectral resolution is preferred as a glass fiber cable assigned spectral decomposition devices.
  • a spectral decomposition device can easily be designed as a grid, slit or prism his. This is preferred with the low-location and high-spectral resolution sensor Radical and / or temperature field of the flame detected. Here is the registration of individual Radicals of special and their exact localization rather less Importance.,
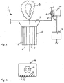
  • Fig. Shows schematically a section of a boiler for coal combustion.
  • FIG. 2 shows a view of the detector from FIG. 1.
  • the boiler 1 for coal combustion shown schematically in FIG. 1 has a burner 2 on. Via the burner 2, fuel and air are introduced into the boiler 1 and under Formation of a flame 3 burned.
  • the essentially cylindrical burner 2 comprises an outer air duct 4, an inner air duct 5 and an entry duct 6 for fuel entry. On that An inlet funnel 7 is provided for the boiler 1 facing the end of the burner 2.
  • a wall 8 of the boiler 1 is connected to a computing device 9 Detector 10 added.
  • the detector 10 is directed towards the flame 3 and comprises a sensor which is designed as a CCD camera 11 and has a high local and low spectral resolution and one through fiber optic cable 12 with associated spectral decomposition devices trained low-location and high-spectral resolution sensor.
  • the fiber optic cables 12 of the sensor below the lens of the CCD camera 11 arranged.
  • the computing device 9 is connected to actuators via signal lines (not shown) of the burner 2 and a fuel mill, not shown.
  • the fiber optic cables 12 are arranged like a fan.
  • the shape and the flow field are determined by the sensor 11 and detects the radical and temperature field of the flame 3 via the sensor 12.
  • the output signals of the detector 10 are forwarded to the computing device 9 and there to control signals for the actuators of the burner 2 and the fuel mill Control of flame 3 processed.

Landscapes

  • Engineering & Computer Science (AREA)
  • Chemical & Material Sciences (AREA)
  • Combustion & Propulsion (AREA)
  • Mechanical Engineering (AREA)
  • General Engineering & Computer Science (AREA)
  • Control Of Combustion (AREA)
  • Incineration Of Waste (AREA)
  • Regulation And Control Of Combustion (AREA)
  • Control Of Steam Boilers And Waste-Gas Boilers (AREA)

Description

Die Erfindung betrifft ein Verfahren und eine Einrichtung zur Steuerung eines Verbrennungsprozesses in einem Kessel nach dem Oberbegriff des Anspruchs 1 bzw. Anspruchs 10.
Bei bekannten Verfahren zur Steuerung eines Verbrennungsprozesses in einem Kessel mit Brennern werden Daten über verschiedene Prozeßparameter erfaßt und zum Ableiten von Eingriffen auf Stellgrößen verarbeitet. So werden zum Beispiel Temperatur und Zusammensetzung von Verbrennungsgasen am Kesselaustritt, Dampfparameter wie Temperatur und Dampfmassenstrom und Temperaturen im Kessel gemessen.
In Abhängigkeit der gemessenen Größen werden Eingriffe auf Stellglieder des Verbrennungsprozesses abgeleitet, so daß beispielsweise bei einer hohen NOX-Konzentration im Verbrennungsgas Stellglieder des Brenners betätigt werden, um global höhere Mengen an Verbrennungsluft zuzuführen. In einem anderen Fall kann bei einer Messung eines relativ niedrigen Dampfmassenstroms die Brennstoffzufuhr durch entsprechende Ansteuerung von Stellgliedern erhöht werden. Eine stabile Steuerung des Verbrennungsprozesses mit den bekannten Verfahren ist aufgrund mehrerer gleichzeitig einzuhaltender Parameter relativ schwierig.
Die bekannten Verfahren haben den Nachteil, daß sie den eigentlichen Verbrennungsvorgang des Brennstoffs nicht erfassen und nur indirekt steuern.
EP-A-0 616 200 beschreibt eine Einrichtung zur Steuerung und Bewertung eines Verbrennungsprozesses, bei der eine CCD-Kamera hochortsauflösend die Felder einer Flamme erfaßt. Hierbei sind jeweils neun Pixel der CCD-Kamera derart gefiltert, daß sie zueinander benachbarte Spektralbanden des sichtbaren Lichts erfassen, wobei die resultierende Kurve der jeweils neun Pixel zu einem Gesamtwert aufaddiert wird. Durch die Unterteilung in neun Bereiche anstelle der von Videokameras bekannten drei Bereiche Rot, Grün und Blau wird zwar die spektrale Auflösung in etwa verdreifacht, dennoch handelt es sich um eine hohe Ortsauflösung und geringe spektrale Auflösung, da alle in einen Bereich fallenden Strahler (Radikalenstrahler) aufaddiert werden und sowohl eine Berücksichtigung der temperaturabhängigen Basis als auch eine präzise Ermittlung von genauer Wellenlänge eines oder mehrerer Peaks im Spektrum nicht zulassen. Durch Peaks aufgrund von Verunreinigung des Brenstoffs, z.B. durch Salze, wird die Auswertung verfälscht und die Regelung entsprechend fehlgeleitet.
EP-A-0 581 451 beschreibt ein Verfahren zur Steuerung eines Verbrennungsprozesses, bei dem der zeitliche Verlauf der verschiedenen Felder des Prozesses aufgezeichnet werden.
Es ist die Aufgabe der Erfindung, ein Verfahren nach dem Oberbegriff des Anspruchs 1 bzw. eine Einrichtung nach dem Oberbegriff des Anspruchs 10 anzugeben, mit dem bzw. der eine günstige Erfassung und Regelung der Verbrennung möglich ist.
Diese Aufgabe wird erfindungsgemäß bei dem eingangs genannten Verfahren bzw. bei der eingangs genannten Einrichtung mit den kennzeichnenden Merkmalen des Anspruchs 1 bzw. des Anspruchs 10 gelöst.
Durch die Beobachtung und Analyse des Flammenbildungsverhaltens bei dem eigentlichen Verbrennungsvorgang des Brennstoffs in einem Brennernahleld können Daten zu einer direkten Steuerung bereitgestellt werden. Mit einer Regelung der Flamme werden andere Prozeßparameter bereits zwangsläufig mitgeregelt. Wird die Flamme mit einer optimalen Ausbildung gehalten, kann davon ausgegangen werden, daß die üblichen Prozeßparameter zumindest in der Nähe eines optimalen Betriebspunktes liegen. Anhand der verarbeiteten Ausgangssignale des Detektors können die Zufuhr von Primär-Sekundär-und/oder Tertiärluft, die Zufuhr von Brennstoff und strömungstechnische Einstellvorrichtungen des Brenners eingestellt werden. Beispielsweise kann der Drall beim Eintrag des Brennstoffs eingestellt werden. Ferner kann das Brennstoff/Luftverhältnis lokal optimal eingestellt werden. Hierbei wird es ermöglicht, entweder die Menge an Brennstoff oder an Luft gezielt auf einen optimalen Wert einzustellen, um das gewünschte Brennstoff/Luftverhältnis zu erreichen.
Der hochorts- und geringspektralauflösende Sensor ist bevorzugt als CCD-Kamera ausgebildet. Mit der CCD-Kamera kann auf einfache Weise die Form und das Umfeld der Flamme erfaßt werden. Dieser Sensor erfaßt bevorzugt das Strömungsfeld der Flamme. Er kann auch eine relativ genaue örtliche Verteilung der Temperatur erfassen.
Der geringorts- und hochspektralauflösende Sensor ist bevorzugt als Glasfaserkabel mit zugeordneten Spektralzerlegungsvorrichtungen ausgebildet. Eine Spektralzerlegungsvorrichtung kann in einfacher Weise als Gitter, Spalt oder Prisma ausgebildet sein. Mit dem geringorts- und hochspektralauflösenden Sensor wird bevorzugt das Radikalen- und/oder Temperaturfeld der Flamme erfaßt. Hierbei ist die Erfassung einzelner Radikaie von besonderer und deren genaue örtliche Zuordnung eher von geringerer Bedeutung.,
Um eine relativ stabile Steuerung des Verbrennungsprozesses zu ermöglichen, werden bevorzugt zeitliche Veränderungen des Temperatur-, Strömungs- und/oder Radikalenfelds der Flamme erfaßt.
Weitere Ausgestaltungen der Erfindung sind den abhängigen Ansprüchen und der nachfolgenden Beschreibung zu entnehmen.
Die Erfindung wird nachfolgend anhand eines in den Abbildungen schematisch dargestellten Ausführungsbeispiels näher erläutert.
Fig. zeigt schematisch einen Ausschnitt eines Kessels zur Kohleverfeuerung.
Fig. 2 zeigt eine Ansicht des Detektors aus Fig. 1.
Der in Fig. 1 schematisch dargestellte Kessel 1 zur Kohleverfeuerung weist einen Brenner 2 auf. Über den Brenner 2 wird Brennstoff und Luft in den Kessel 1 eingetragen und unter Bildung einer Flamme 3 verbrannt.
Der im wesentlichen zylinderförmig ausgebildete Brenner 2 umfaßt einen äußeren Luftkanal 4, einen inneren Luftkanal 5 und einen Eintragskanal 6 zum Brennstoffeintrag. An dem dem Kessel 1 zugewandten Ende des Brenners 2 ist ein Eintragstrichter 7 vorgesehen.
Von einer Wandung 8 des Kessels 1 ist ein mit einer Recheneinrichtung 9 verbundener Detektor 10 aufgenommen. Der Detektor 10 ist auf die Flamme 3 gerichtet und umfaßt einen als CCD-Kamera 11 ausgebildeten hochorts- und geringspektralauflösenden Sensor und einen durch Glasfaserkabel 12 mit zugeordneten Spektralzerlegungsvorrichtungen ausgebildeten geringorts- und hochspektralauflösenden Sensor.
Wie in der in Fig. 2 schematisch dargestellten Frontansicht des Detektors 10 gezeigt, sind die Glasfaserkabel 12 des Sensors unterhalb des Objektivs der CCD-Kamera 11 angeordnet.
Die Recheneinrichtung 9 ist über weiter nicht dargestellte Signalleitungen mit Stellgliedern des Brenners 2 und einer nichtdargestellten Brennstoffmühle verbunden.
Um einen im wesentlichen gleichgroßen Blickwinkel wie die CCD-Kamera 11 zu ermöglichen, sind die Glasfaserkabel 12 fächerartig angeordnet.
Zur Steuerung des Verbrennungsprozesses in dem Kessel 1 wird die bei der Kohleverbrennung gebildete Flamme 3 durch den Detektor 10 beobachtet und deren Ausbildung erfaßt. Hierbei werden über den Sensor 11 die Form und das Strömungsfeld und über den Sensor 12 das Radikalen- und Temperaturfeld der Flamme 3 erfaßt.
Die Ausgangssignale des Detektors 10 werden an die Recheneinrichtung 9 weitergeleitet und dort zu Steuersignalen für die Stellglieder des Brenners 2 und der Brennstoffmühle zur Regelung der Flamme 3 verarbeitet.

Claims (14)

  1. Verfahren zur Steuerung eines Verbrennungsprozesses in einem Kessel (1) mit einem Brenner (2), über den Brennstoff in den Kessel (1) eingetragen und unter Bildung einer Flamme (3) verbrannt wird, bei dem ein Temperaturfeld, ein Strömungsfeld und ein Radikalenfeld der Flamme (3) durch einen Detektor (10) erfaßt wird und die Flamme (3) in Abhängigkeit der in einer Recheneinrichtung (9) verarbeiteten Ausgangssignale des Detektors (10) durch Stellgrößeneingriffe auf den Brenner (2) und/oder eine dem Brenner (2) vorgeschaltete Vorrichtung geregelt wird, wobei der Detektor (10) die Felder der Flamme (3) mittels eines hochorts- und geringspektralauflösenden Sensors (11) erfaßt,
    dadurch gekennzeichnet,
    daß der Detektor (10) einzelne Punkte der Flamme (3) mittels eines weiteren geringorts- und hochspektralauflösenden Sensors (12) erfaßt.
  2. Verfahren nach Anspruch 1, dadurch gekennzeichnet, daß zeitliche Veränderungen des Temperaturfelds, des Strömungsfelds und/oder des Radikalenfelds der Flamme (3) erfaßt werden.
  3. Verfahren nach Anspruch 1 oder 2, dadurch gekennzeichnet, daß das Temperaturfeld und das Strömungsfeld der Flamme (3) durch den hochorts- und geringspektralauflösenden Sensor (11) erfaßt wird.
  4. Verfahren nach einem der Ansprüche 1 bis 3, dadurch gekennzeichnet, daß das Radikalenfeld der Flamme (3) durch den geringorts- und hochspektralauflösenden Sensor (12) erfaßt wird.
  5. Verfahren nach einem der Ansprüche 1 bis 4, dadurch gekennzeichnet, daß der geringorts- und hochspektralauflösende Sensor wenigstens ein auf die Flamme gerichtetes Glasfaserkabel (12) mit zugeordneten Spektralzerlegungsvorrichtungen umfaßt.
  6. Verfahren nach Anspruch 5, dadurch gekennzeichnet, daß der geringorts- und hochspektralauflösende Sensor mehrere fächerförmig angeordnete Glasfaserkabel (12) umfaßt.
  7. Verfahren nach einem der Ansprüche 1 bis 6, dadurch gekennzeichnet, daß der hochorts- und geringspektralauflösende Sensor als CCD-Kamera (11) ausgebildet ist.
  8. Verfahren nach einem der Ansprüche 1 bis 7, dadurch gekennzeichnet, daß Stellgrößeneingriffe auf eine dem Brenner (2) vorgeschaltete Brennstoffmühle vorgenommen werden.
  9. , Verfahren nach einem der Ansprüche 1 bis 8, dadurch gekennzeichnet, daß Stellgrößeneingriffe auf eine dem Brenner (2) vorgeschaltete Verbrennungsluftzufuhr vorgenommen werden
  10. Einrichtung zur Steuerung eines Verbrennungsprozesses in einem Kessel (1) mit einem Brenner (2), über den Brennstoff in den Kessel (1) eingetragen und unter Bildung einer Flamme (3) verbrannt wird, wobei ein Temperaturfeld, ein Strömungsfeld und ein Radikalenfeld der Flamme durch einen von einem an einer Wandung (8) des Kessels (2) angeordneten und auf die Flamme (3) gerichteten und mit einer Recheneinrichtung (9) verbundenen Detektor (10) aufnehmbar ist, wobei der Brenner (2) und/oder eine dem Brenner (2) vorgeschaltete Vorrichtung mittels von der Recheneinrichtung (9) verarbeiteten Ausgangssignalen des Detektors (10) durch Stellgrößeneingriffe regelbar ist, wobei der Detektor (10) die Ausbildung der Flamme (3) mittels eines hochorts- und geringspektralauflösenden Sensors (11) erfaßt,
    dadurch gekennzeichnet,
    daß der Detektor (10) einzelne Punkte der Flamme (3) mittels eines weiteren geringorts- und hochspektralauflösenden Sensors (12) erfaßt
  11. Einrichtung nach Anspruch 10, dadurch gekennzeichnet, daß der geringorts- und hochspektralauflösende Sensor wenigstens ein auf die Flamme gerichtetes Glasfaserkabel (12) mit zugeordneten Spektralzerlegungsvorrichtungen umfaßt.
  12. Einrichtung nach Anspruch 10 oder 11, dadurch gekennzeichnet, daß der hochorts- und geringspektralauflösende Sensor als CCD-Kamera (11) ausgebildet ist.
  13. Einrichtung nach Anspruch 11 und 12, dadurch gekennzeichnet, daß die Glasfaserkabel (12) unterhalb des Objektivs der CCD-Kamera (11) angeordnet sind.
  14. Einrichtung nach Anspruch 11 oder 13, dadurch gekennzeichnet, daß der geringorts- und hochspektralauflösende Sensor mehrere fächerförmig angeordnete Glasfaserkabel (12) umfaßt.
EP97710009A 1996-04-17 1997-04-15 Verfahren und Einrichtung zur Steuerung eines Verbrennungsprozesses in einem Kessel Expired - Lifetime EP0802372B1 (de)

Applications Claiming Priority (2)

Application Number Priority Date Filing Date Title
DE19615141A DE19615141A1 (de) 1996-04-17 1996-04-17 Verfahren und Einrichtung zur Steuerung eines Verbrennungsprozesses in einem Kessel
DE19615141 1996-04-17

Publications (2)

Publication Number Publication Date
EP0802372A1 EP0802372A1 (de) 1997-10-22
EP0802372B1 true EP0802372B1 (de) 2001-06-13

Family

ID=7791520

Family Applications (1)

Application Number Title Priority Date Filing Date
EP97710009A Expired - Lifetime EP0802372B1 (de) 1996-04-17 1997-04-15 Verfahren und Einrichtung zur Steuerung eines Verbrennungsprozesses in einem Kessel

Country Status (7)

Country Link
EP (1) EP0802372B1 (de)
CN (1) CN1177076A (de)
AT (1) ATE202196T1 (de)
AU (1) AU686966B2 (de)
DE (2) DE19615141A1 (de)
ES (1) ES2159825T3 (de)
ZA (1) ZA973113B (de)

Cited By (1)

* Cited by examiner, † Cited by third party
Publication number Priority date Publication date Assignee Title
CN102564768A (zh) * 2011-11-14 2012-07-11 北京理工大学 一种基于光谱仪组件的非接触式发动机羽焰监测装置

Families Citing this family (13)

* Cited by examiner, † Cited by third party
Publication number Priority date Publication date Assignee Title
DE19649264A1 (de) * 1996-11-28 1998-06-10 Bfi Automation Gmbh Flammenbeobachtungsgerät
DE19715040A1 (de) * 1997-04-11 1998-10-15 Bfi Automation Gmbh Brenner und Betriebsverfahren für diesen
GB2344883B (en) * 1998-12-16 2003-10-29 Graviner Ltd Kidde Flame monitoring methods and apparatus
DE19915663C1 (de) * 1999-04-07 2000-12-28 Siemens Ag Verfahren zur Ermittlung des Strömungsfelds in einem Verbrennungsraum
DE19931111A1 (de) * 1999-07-06 2001-01-11 Electrowatt Tech Innovat Corp Vorrichtung zum Überwachen von Flammen mit einem Flammenfühler bzw. Flammendetektor (Flammenwächter) und Verwendung desselben
DE10110181A1 (de) * 2001-03-02 2002-09-12 Powitec Intelligent Tech Gmbh Meßvorrichtung, insbesondere zur Flammenbeobachtung während eines Verbrennungsprozesses
ES2240726T3 (es) * 2001-03-02 2005-10-16 Powitec Intelligent Technologies Gmbh Dispositivo de medida, en particular para la observacion de la llama durante un proceso de combustion.
ATE458169T1 (de) 2006-09-19 2010-03-15 Abb Research Ltd Flammendetektor zur überwachung einer flamme während eines verbrennungsprozesses
WO2011072730A1 (en) * 2009-12-16 2011-06-23 Abb Research Ltd Optical flame sensor
BRPI1003906A2 (pt) * 2010-01-21 2013-02-26 Universidade Federal Da Bahia sistema de combustço de gÁs natural para o controle das correlaÇÕes entre radiaÇço tÉrmica formaÇço da fuligem e nox com a utilizaÇço da combustço enriquecida com oxigÊnio
FR2959298B1 (fr) * 2010-04-23 2012-09-21 Air Liquide Four a flamme et procede de regulation de la combustion dans un four a flamme
DE102010044430A1 (de) 2010-09-04 2012-03-08 G I W E P Gesellschaft für industrielle Wärme, Energie- und Prozeßtechnik m.b.H Verfahren zur Überwachung von gasbeheizten Ofenanlagen
RU207903U1 (ru) * 2021-07-01 2021-11-23 Павел Дмитриевич Дуньшин Цифровое устройство для контроля, анализа и оптимизации процесса сжигания топлива в котлоагрегате

Family Cites Families (12)

* Cited by examiner, † Cited by third party
Publication number Priority date Publication date Assignee Title
DE8017259U1 (de) * 1980-06-28 1983-04-28 Steag Ag, 4300 Essen Feuerungsanlage zur gesteuerten verbrennung von festen fossilen brennstoffen
US4620491A (en) * 1984-04-27 1986-11-04 Hitachi, Ltd. Method and apparatus for supervising combustion state
DE3508253A1 (de) * 1985-03-08 1986-09-18 Kurt-Henry Dipl.-Ing. 4030 Ratingen Mindermann Verfahren zur flammenueberwachung und flammenwaechter fuer seine durchfuehrung
US4701624A (en) * 1985-10-31 1987-10-20 Santa Barbara Research Center Fire sensor system utilizing optical fibers for remote sensing
DD286944A7 (de) * 1988-05-30 1991-02-14 Chemieanlagenbau Gmbh,De Verfahren zur ueberwachung des prozesszustandes von getauchten gasfackeln zum zweck der regelung
DE3825931A1 (de) * 1988-07-29 1990-02-01 Martin Umwelt & Energietech Verfahren und vorrichtung zur regelung der feuerungsleistung von verbrennungsanlagen
US4983853A (en) * 1989-05-05 1991-01-08 Saskatchewan Power Corporation Method and apparatus for detecting flame
DE9011973U1 (de) * 1989-09-28 1990-11-08 Mindermann, Kurt-Henry, Dipl.-Ing., 4030 Ratingen Einrichtung zur Überwachung und Bewertung von Flammen
EP0581451B1 (de) * 1992-07-01 1996-10-30 Toyota Jidosha Kabushiki Kaisha Verfahren zur Verbrennungsregelung
DE4305645C2 (de) * 1993-02-24 1996-10-02 Rwe Entsorgung Ag Verfahren zur Ermittlung charakteristischer Eigenschaften von Radikale bildenden Prozessen, Verwendung des Verfahrens und Vorrichtung zur Durchführung des Verfahrens
JPH06273322A (ja) * 1993-03-17 1994-09-30 Hitachi Ltd カメラ、分光システムおよびこれらを用いた燃焼評価装置
DE4416270A1 (de) * 1994-05-07 1995-11-09 Peter L Prof Dr Andresen Optimierung von turbulenten Verbrennungs- und Mischprozessen durch gezielte Zugabe von Substanzen

Cited By (2)

* Cited by examiner, † Cited by third party
Publication number Priority date Publication date Assignee Title
CN102564768A (zh) * 2011-11-14 2012-07-11 北京理工大学 一种基于光谱仪组件的非接触式发动机羽焰监测装置
CN102564768B (zh) * 2011-11-14 2014-02-12 北京理工大学 一种基于光谱仪组件的非接触式发动机羽焰监测装置

Also Published As

Publication number Publication date
DE59703750D1 (de) 2001-07-19
ZA973113B (en) 1998-08-05
ES2159825T3 (es) 2001-10-16
DE19615141A1 (de) 1997-10-23
CN1177076A (zh) 1998-03-25
AU686966B2 (en) 1998-02-12
EP0802372A1 (de) 1997-10-22
AU1895097A (en) 1997-11-13
ATE202196T1 (de) 2001-06-15

Similar Documents

Publication Publication Date Title
EP0802372B1 (de) Verfahren und Einrichtung zur Steuerung eines Verbrennungsprozesses in einem Kessel
DE3825931C2 (de)
DE69413277T2 (de) Verbrennungsauswertungsvorrichtung zum Auswerten eines Verbrennungszustandes von Flammen
EP2132543B1 (de) Verfahren zur kameragestützen erfassung der strahlungsintensität eines gasförmigen chemischen reaktionsproduktes sowie anwendungen des verfahrens und korrespondierende vorrichtung
EP0612961B1 (de) Verfahren zur Ermittlung charakteristischer Eigenschaften von Radikale bildenden Prozessen
EP3663648B1 (de) Verfahren zur regelung des mischungsverhältnisses von verbrennungsluft und brenngas bei einem verbrennungsprozess
WO1998040673A1 (de) Verfahren und vorrichtung zur verbrennungsanalyse sowie flammenüberwachung in einem verbrennungsraum
DE3904272C3 (de) Verfahren zum Erfassen der von mindestens zwei räumlich getrennten Stellen mindestens einer Verbrennungszone auf einem Rost ausgehenden Strahlung und Vorrichtung zum Erfassen einer solchen Strahlung
DE19847832C1 (de) Verfahren zum Überwachen eines optischen Systems mit einer unmittelbar an einem Verbrennungsraum angeordneten Frontlinse und Überwachungsmodul
EP2920515B1 (de) Cfd-simulation eines feuerraums mit mehreren brennern mit getrennter berücksichtigung der von den jeweiligen brennern stammenden brennstoff- und luftanteile
EP0696708A1 (de) Verfahren zur Regelung der Feuerung bei Verbrennungsanlagen, insbesondere Abfallverbrennungsanlagen
WO2011151143A2 (de) Verfahren zum bestimmen des zeitpunktes der zündung beim aufblasverfahren
DE2351922A1 (de) Vorrichtung zum nachweis von makroteilchen in einem gasstrom
EP1364164A1 (de) Me vorrichtung, insbesondere zur flammenbeobachtung während eines verbrennungsprozesses
EP1048900A1 (de) Verfahren und Vorrichtung zum Steuern der Verbrennung von Brennstoff mit variablem Heizwert
DE3823494C2 (de) Verfahren und Vorrichtung zur Feuerungsdiagnose und dessen Ergebnisse verwendende Feuerungsregelung
DE1526221A1 (de) Verfahren und Vorrichtung zum Betrieb eines Vielfachoelbrenners
EP1529182A1 (de) Verfahren zur überwachung eines thermodynamischen prozesses
EP3403027B1 (de) Auswerte- und regelungsverfahren für mehrstoffbrenner
EP3139147A1 (de) Vorrichtung und verfahren zur messung einer wellenlängenabhängigen optischen kenngrösse eines optischen systems
EP1051585B1 (de) Verfahren und vorrichtung zum betreiben einer verbrennungsanlage
DE19605287C2 (de) Verfahren und Einrichtung zur Steuerung der Reisezeit eines Kessels
EP2784392B1 (de) Strahlungsdetektor
DE10347340A1 (de) Vorrichtung und Verfahren zur Optimierung des Abgasausbrandes in Verbrennungsanlagen
DE102008022117B4 (de) Verfahren und Prüfstand zum Bestimmen einer Transferfunktion

Legal Events

Date Code Title Description
PUAI Public reference made under article 153(3) epc to a published international application that has entered the european phase

Free format text: ORIGINAL CODE: 0009012

17P Request for examination filed

Effective date: 19970602

AK Designated contracting states

Kind code of ref document: A1

Designated state(s): AT DE DK ES FR GB GR IE IT NL SE

17Q First examination report despatched

Effective date: 19990119

RAP1 Party data changed (applicant data changed or rights of an application transferred)

Owner name: ORFEUS COMBUSTION ENGINEERING GMBH

GRAG Despatch of communication of intention to grant

Free format text: ORIGINAL CODE: EPIDOS AGRA

GRAG Despatch of communication of intention to grant

Free format text: ORIGINAL CODE: EPIDOS AGRA

GRAH Despatch of communication of intention to grant a patent

Free format text: ORIGINAL CODE: EPIDOS IGRA

GRAH Despatch of communication of intention to grant a patent

Free format text: ORIGINAL CODE: EPIDOS IGRA

GRAA (expected) grant

Free format text: ORIGINAL CODE: 0009210

AK Designated contracting states

Kind code of ref document: B1

Designated state(s): AT DE DK ES FR GB GR IE IT NL SE

PG25 Lapsed in a contracting state [announced via postgrant information from national office to epo]

Ref country code: NL

Free format text: LAPSE BECAUSE OF FAILURE TO SUBMIT A TRANSLATION OF THE DESCRIPTION OR TO PAY THE FEE WITHIN THE PRESCRIBED TIME-LIMIT

Effective date: 20010613

Ref country code: IE

Free format text: LAPSE BECAUSE OF FAILURE TO SUBMIT A TRANSLATION OF THE DESCRIPTION OR TO PAY THE FEE WITHIN THE PRESCRIBED TIME-LIMIT

Effective date: 20010613

REF Corresponds to:

Ref document number: 202196

Country of ref document: AT

Date of ref document: 20010615

Kind code of ref document: T

REF Corresponds to:

Ref document number: 59703750

Country of ref document: DE

Date of ref document: 20010719

REG Reference to a national code

Ref country code: IE

Ref legal event code: FG4D

Free format text: GERMAN

ITF It: translation for a ep patent filed
PG25 Lapsed in a contracting state [announced via postgrant information from national office to epo]

Ref country code: SE

Free format text: LAPSE BECAUSE OF FAILURE TO SUBMIT A TRANSLATION OF THE DESCRIPTION OR TO PAY THE FEE WITHIN THE PRESCRIBED TIME-LIMIT

Effective date: 20010913

Ref country code: DK

Free format text: LAPSE BECAUSE OF FAILURE TO SUBMIT A TRANSLATION OF THE DESCRIPTION OR TO PAY THE FEE WITHIN THE PRESCRIBED TIME-LIMIT

Effective date: 20010913

PG25 Lapsed in a contracting state [announced via postgrant information from national office to epo]

Ref country code: GR

Free format text: LAPSE BECAUSE OF FAILURE TO SUBMIT A TRANSLATION OF THE DESCRIPTION OR TO PAY THE FEE WITHIN THE PRESCRIBED TIME-LIMIT

Effective date: 20010914

REG Reference to a national code

Ref country code: ES

Ref legal event code: FG2A

Ref document number: 2159825

Country of ref document: ES

Kind code of ref document: T3

GBT Gb: translation of ep patent filed (gb section 77(6)(a)/1977)

Effective date: 20010921

NLV1 Nl: lapsed or annulled due to failure to fulfill the requirements of art. 29p and 29m of the patents act
ET Fr: translation filed
REG Reference to a national code

Ref country code: GB

Ref legal event code: IF02

PLBE No opposition filed within time limit

Free format text: ORIGINAL CODE: 0009261

STAA Information on the status of an ep patent application or granted ep patent

Free format text: STATUS: NO OPPOSITION FILED WITHIN TIME LIMIT

26N No opposition filed
PGFP Annual fee paid to national office [announced via postgrant information from national office to epo]

Ref country code: AT

Payment date: 20050414

Year of fee payment: 9

PG25 Lapsed in a contracting state [announced via postgrant information from national office to epo]

Ref country code: AT

Free format text: LAPSE BECAUSE OF NON-PAYMENT OF DUE FEES

Effective date: 20060415

PGFP Annual fee paid to national office [announced via postgrant information from national office to epo]

Ref country code: ES

Payment date: 20080429

Year of fee payment: 12

PGFP Annual fee paid to national office [announced via postgrant information from national office to epo]

Ref country code: GB

Payment date: 20080421

Year of fee payment: 12

GBPC Gb: european patent ceased through non-payment of renewal fee

Effective date: 20090415

PG25 Lapsed in a contracting state [announced via postgrant information from national office to epo]

Ref country code: GB

Free format text: LAPSE BECAUSE OF NON-PAYMENT OF DUE FEES

Effective date: 20090415

REG Reference to a national code

Ref country code: ES

Ref legal event code: FD2A

Effective date: 20090416

PG25 Lapsed in a contracting state [announced via postgrant information from national office to epo]

Ref country code: ES

Free format text: LAPSE BECAUSE OF NON-PAYMENT OF DUE FEES

Effective date: 20090416

PGFP Annual fee paid to national office [announced via postgrant information from national office to epo]

Ref country code: FR

Payment date: 20110510

Year of fee payment: 15

Ref country code: DE

Payment date: 20110421

Year of fee payment: 15

PGFP Annual fee paid to national office [announced via postgrant information from national office to epo]

Ref country code: IT

Payment date: 20110422

Year of fee payment: 15

REG Reference to a national code

Ref country code: FR

Ref legal event code: ST

Effective date: 20121228

REG Reference to a national code

Ref country code: DE

Ref legal event code: R119

Ref document number: 59703750

Country of ref document: DE

Effective date: 20121101

PG25 Lapsed in a contracting state [announced via postgrant information from national office to epo]

Ref country code: FR

Free format text: LAPSE BECAUSE OF NON-PAYMENT OF DUE FEES

Effective date: 20120430

Ref country code: IT

Free format text: LAPSE BECAUSE OF NON-PAYMENT OF DUE FEES

Effective date: 20120415

PG25 Lapsed in a contracting state [announced via postgrant information from national office to epo]

Ref country code: DE

Free format text: LAPSE BECAUSE OF NON-PAYMENT OF DUE FEES

Effective date: 20121101