EP0801010B2 - Klappschachtel, insbesondere für Zigaretten - Google Patents
Klappschachtel, insbesondere für Zigaretten Download PDFInfo
- Publication number
- EP0801010B2 EP0801010B2 EP97104336A EP97104336A EP0801010B2 EP 0801010 B2 EP0801010 B2 EP 0801010B2 EP 97104336 A EP97104336 A EP 97104336A EP 97104336 A EP97104336 A EP 97104336A EP 0801010 B2 EP0801010 B2 EP 0801010B2
- Authority
- EP
- European Patent Office
- Prior art keywords
- lid
- collar
- box
- protrusion
- closed position
- Prior art date
- Legal status (The legal status is an assumption and is not a legal conclusion. Google has not performed a legal analysis and makes no representation as to the accuracy of the status listed.)
- Expired - Lifetime
Links
- 235000019504 cigarettes Nutrition 0.000 title claims description 17
- 238000004080 punching Methods 0.000 claims description 4
- 230000009471 action Effects 0.000 claims description 2
- 230000013011 mating Effects 0.000 claims 2
- 230000000087 stabilizing effect Effects 0.000 claims 1
- 238000004519 manufacturing process Methods 0.000 description 4
- 210000000056 organ Anatomy 0.000 description 4
- 238000004806 packaging method and process Methods 0.000 description 4
- 238000004026 adhesive bonding Methods 0.000 description 3
- 230000000694 effects Effects 0.000 description 3
- 238000004049 embossing Methods 0.000 description 3
- 239000000463 material Substances 0.000 description 3
- 238000012856 packing Methods 0.000 description 3
- 238000010276 construction Methods 0.000 description 2
- 238000005516 engineering process Methods 0.000 description 1
- 230000003993 interaction Effects 0.000 description 1
- 238000000034 method Methods 0.000 description 1
- 230000008569 process Effects 0.000 description 1
- 230000008719 thickening Effects 0.000 description 1
Images
Classifications
-
- B—PERFORMING OPERATIONS; TRANSPORTING
- B65—CONVEYING; PACKING; STORING; HANDLING THIN OR FILAMENTARY MATERIAL
- B65D—CONTAINERS FOR STORAGE OR TRANSPORT OF ARTICLES OR MATERIALS, e.g. BAGS, BARRELS, BOTTLES, BOXES, CANS, CARTONS, CRATES, DRUMS, JARS, TANKS, HOPPERS, FORWARDING CONTAINERS; ACCESSORIES, CLOSURES, OR FITTINGS THEREFOR; PACKAGING ELEMENTS; PACKAGES
- B65D5/00—Rigid or semi-rigid containers of polygonal cross-section, e.g. boxes, cartons or trays, formed by folding or erecting one or more blanks made of paper
- B65D5/42—Details of containers or of foldable or erectable container blanks
- B65D5/64—Lids
- B65D5/66—Hinged lids
- B65D5/6685—Hinged lids formed by extensions hinged to the upper edge of a container body formed by erecting a blank to U-shape
- B65D5/6691—Hinged lids formed by extensions hinged to the upper edge of a container body formed by erecting a blank to U-shape the container being provided with an internal frame or the like for maintaining the lid in the closed position by friction
-
- B—PERFORMING OPERATIONS; TRANSPORTING
- B65—CONVEYING; PACKING; STORING; HANDLING THIN OR FILAMENTARY MATERIAL
- B65D—CONTAINERS FOR STORAGE OR TRANSPORT OF ARTICLES OR MATERIALS, e.g. BAGS, BARRELS, BOTTLES, BOXES, CANS, CARTONS, CRATES, DRUMS, JARS, TANKS, HOPPERS, FORWARDING CONTAINERS; ACCESSORIES, CLOSURES, OR FITTINGS THEREFOR; PACKAGING ELEMENTS; PACKAGES
- B65D85/00—Containers, packaging elements or packages, specially adapted for particular articles or materials
- B65D85/07—Containers, packaging elements or packages, specially adapted for particular articles or materials for compressible or flexible articles
- B65D85/08—Containers, packaging elements or packages, specially adapted for particular articles or materials for compressible or flexible articles rod-shaped or tubular
- B65D85/10—Containers, packaging elements or packages, specially adapted for particular articles or materials for compressible or flexible articles rod-shaped or tubular for cigarettes
- B65D85/1036—Containers formed by erecting a rigid or semi-rigid blank
- B65D85/1045—Containers formed by erecting a rigid or semi-rigid blank having a cap-like lid hinged to an edge
- B65D85/1048—Containers formed by erecting a rigid or semi-rigid blank having a cap-like lid hinged to an edge characterized by the shape of the container
- B65D85/10484—Containers formed by erecting a rigid or semi-rigid blank having a cap-like lid hinged to an edge characterized by the shape of the container having rounded corners
-
- B—PERFORMING OPERATIONS; TRANSPORTING
- B65—CONVEYING; PACKING; STORING; HANDLING THIN OR FILAMENTARY MATERIAL
- B65D—CONTAINERS FOR STORAGE OR TRANSPORT OF ARTICLES OR MATERIALS, e.g. BAGS, BARRELS, BOTTLES, BOXES, CANS, CARTONS, CRATES, DRUMS, JARS, TANKS, HOPPERS, FORWARDING CONTAINERS; ACCESSORIES, CLOSURES, OR FITTINGS THEREFOR; PACKAGING ELEMENTS; PACKAGES
- B65D85/00—Containers, packaging elements or packages, specially adapted for particular articles or materials
- B65D85/07—Containers, packaging elements or packages, specially adapted for particular articles or materials for compressible or flexible articles
- B65D85/08—Containers, packaging elements or packages, specially adapted for particular articles or materials for compressible or flexible articles rod-shaped or tubular
- B65D85/10—Containers, packaging elements or packages, specially adapted for particular articles or materials for compressible or flexible articles rod-shaped or tubular for cigarettes
- B65D85/1036—Containers formed by erecting a rigid or semi-rigid blank
- B65D85/1045—Containers formed by erecting a rigid or semi-rigid blank having a cap-like lid hinged to an edge
- B65D85/1056—Containers formed by erecting a rigid or semi-rigid blank having a cap-like lid hinged to an edge characterized by the lid
- B65D85/10564—Containers formed by erecting a rigid or semi-rigid blank having a cap-like lid hinged to an edge characterized by the lid having means for holding the lid in a closed position
Definitions
- the invention relates to a cigarette folding box, consisting of a box part and a hinged lid connected thereto, as well as a collar which is formed from a separate blank.
- Such (cigarette) folding boxes or hinge-lid packs are typical for cigarettes but also for other items.
- the standard design looks like that a formatted cigarette group is wrapped by an inner blank and forms as a cigarette block the contents of the package.
- the folding box itself consists of thin cardboard.
- the lid is connected in the region of a lid rear wall via a line joint with a box rear wall of the box part.
- the collar usually consists of a separate blank, but may also be integrally connected to the rest of the blank.
- Collar front wall and collar side wall are connected to the inside of the box part with this, in particular by gluing. A collar top protrudes from the box part.
- a problem with this type of package is that the lid is kept in an exact closed position when the package is closed. Especially with hinged boxes with rounded, upright packing edges (round edges) and bevelled edges, a closing aid is desirable.
- a folding box for cigarettes in which in one embodiment, by folding a lid inner flap a bead-like thickening is formed as a projection.
- This projection is in closed lid in engagement with a recess formed in the outside of the collar side wall.
- the projection and the recess extend in the longitudinal direction of the folding box, so that they counteract the opening of the lid by frictional engagement.
- the invention has for its object to propose a cigarette carton, which is equipped with a simple to produce and in practice even more effective closing aid for the lid.
- the cigarette carton according to the invention has the features of claim 1.
- the closing aid is formed in the region of narrow side walls, between the collar side wall on the one hand and the lid side wall on the other.
- the closing aid consists of mutually corresponding organs, which are immediately parts of the lid side wall and / or the collar side wall.
- the organs of the closing aid are formed exclusively by embossing, ie material deformation, and / or by punching.
- the cut for the folding box has the rest of the standard contour.
- lid side walls are double-layered. They consist of an outer lid-Seftenlappen and an inner lid-side flap. Formed on the collar side walls, directed towards the lid side wall projections are in the closed position on the inner lid side tabs or are in engagement with arranged here corresponding projections.
- projections each on the opposite wall of the folding box with increased friction.
- the folding box which is provided with a closing aid wall, in particular the collar side wall, provided with a projection and the other wall with a recess or an opening or a hole, in particular the inner lid side tabs.
- a closing aid wall in particular the collar side wall
- the other wall In the closed position, the projection of the collar side wall enters the opening or the hole in the lid side tabs.
- the organs of the closing aid are mounted on the one hand and for the collar on the other hand in the production of the blanks for the folding box on the other hand, so that in relation to the closing aid ready blanks of the packaging machine are provided.
- Manufacturing technology it is easy to attach the projections, recesses or punches in the field of flat blanks in their production.
- the exemplary embodiments illustrated in the drawings are the design of folding boxes for cigarettes.
- This type of packaging is made of thin cardboard.
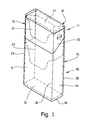
- a lower box part 10 and a hinged lid 11 are connected together in one unit.
- the box part 10 consists of box front wall 12, box rear wall 13, box side walls 14,15 and a bottom wall 16.
- the lid 11 consists of the lid front wall 17, lid rear wall 18, lid side walls 19, 20th and an upper end wall 21. Box part 10 and lid 11 are connected to each other in the region of the box rear wall 13 and the lid rear wall 18 along a transverse unien joint 22.
- the folding box whose upright packing edges 23, 24, 25, 26 formed as round edges, ie with a cross section in the form of about a quarter circle to adapt to the dimensions of a cigarette.
- Bottom wall 16 and end wall 21 are rounded in the area of corners in an adapted manner.
- the packing edges 23..26 arise during the folding of the blanks for the folding box ( Fig. 7 . Fig. 10 ).
- the blanks are provided with edge strips 27, namely with knockouts, which in this case consist of narrow, parallel grooves extending in the longitudinal direction of the blank or of the package edges 23.
- the box side walls 14, 15 are as well as the lid side walls 19, 20 formed double-layered or double-walled.
- the inner carton side panels 28 laterally connect to the carton rear wall 13 while the outer carton side panels 29 are connected to the carton front wall. Accordingly, the lid is designed.
- lid Ecidappen 32 With the inner lid side strips 31 lid Ecidappen 32 are connected, which abut in the finished packaging on the inside of the end wall 21 and are glued thereto. Accordingly, bottom corner tabs 33 are connected to the bottom wall 16.
- lid inner tabs 34 which is folded in the finished folding box against the inside of the lid front wall 17 and connected thereto.
- a collapsible box further includes a collar 35.
- This consists of a separate blank ( Fig. 3 ).
- the collar 35 is comprised of a collar front wall 36 and collar sidewalls 37, 38.
- the thus formed collar 35 is positioned in the carton portion 10 such that a lower portion of the collar front wall 36 engages the inside of the box front wall 12.
- the collar sidewalls 37, 38 rest on the inside of the box sidewalls 14, 15.
- the collar 35 is connected to the box part 10, for example by gluing.
- the relative position of the collar 35 to the box part 10 is selected so that an upper part, namely a collar upper part 39 protrudes from the box part 10.
- the collar upper part 39 is positioned in the closed position of the folding box within the lid 11, namely in the region of the lid front wall 17 and lid side walls 19, 20.
- the collar side walls 37, 38 lie on the associated lid side walls 19, 20th at.
- the present folding boxes are provided with a closing aid, ie with organs, the in Fig. 1 .
- Fig. 2 and in Fig. 9 Stabilize shown closed position of the folding box, but not hinder the opening and closing process.
- the closing aids consist in the present case of deformed and / or punched portions of existing due to the construction of a folding box walls of the same.
- an additional closing force is caused by interaction between the lid side walls 19, 20 on the one hand and the collar side walls 37, 38 on the other.
- FIG. 1 such as FIG. 3 to FIG. 5 such as FIGS. 7 and 8
- Fig. 1 such as FIG. 3 to FIG. 5
- projections which when the folding box closed ( Fig. 1 . Fig. 5 ) together positively engage.
- the cross section of the projections 40 results from Fig. 4 , Thereafter, an angular cross-section is given with a lower inclined support surface 41.
- the adjoining wall 42 of the projection 40 is curved here.
- the projection 40 has an arcuate contour with a transverse termination as a support surface 41.
- the projection 40 is advantageously formed in the manufacture of the blank for the collar 35 by embossing.
- a counter-projection 43 is formed on the opposite side, so on the inner lid side strips 31, a counter-projection 43 is formed.
- This has in the present case, the same geometric shape as the projection 40, wherein the support surface 41 is directed upward.
- the relative position of projection 40 and counter projection 43 is selected so that in the closed position of the folding box ( Fig. 1 . Fig. 5 ), the projections 40, 43 are positively engaged with each other. This means that the support surfaces 41 of the two projections abut each other ( Fig. 5 ). This results in closing the folding box an effect of snapping or snapping. When opening the lid 11, a slight resistance is overcome.
- FIG. 6 A modified version of the closing aid results from Fig. 6 as well as out Fig. 9 to Fig. 11 ,
- a projection 44 is formed on one side, namely on the collar side walls 37, 38. This is designed here in the same way as the projection 40 of the described embodiments, ie with support surface 41 and wall 42nd
- the projection 44 cooperates with the inner lid side strip 31.
- the projection 44 slides along with an outwardly directed friction edge 45 on the inside of the lid side strip 31. This results in the closed position an increased clamping force.
- the projection 44 engages in the closed position in a recess 11 of the lid, namely in a hole 46 which is formed in the lid side strip 31.
- the hole 46 ( Fig. 10, Fig. 11 ) is positioned so that exactly in the closed position of the lid 11, the latching effect arises.
- the geometric shape of the hole 46 corresponds to that of the projection 44, so that it fits fittingly in the closed position of the folding box in the hole 46 ( Fig. 9 ). The latching action when closing and opening the lid 11 is facilitated.
- the closing aids can be modified in various ways. This applies in particular to the projections formed from the material of the collar 35 or the cover 11 by embossing and / or punching.
Landscapes
- Engineering & Computer Science (AREA)
- Mechanical Engineering (AREA)
- Packaging Of Annular Or Rod-Shaped Articles, Wearing Apparel, Cassettes, Or The Like (AREA)
- Cartons (AREA)
Description
- Die Erfindung betrifft eine Zigarettenklappschachtel, bestehend aus einem Schachtelteil und einem mit diesem klappbar verbundenen Deckel, sowie aus einem Kragen der aus einem gesonderten Zuschnitt gebildet ist.
- Derartige (Zigaretten-)Klappschachteln bzw. Hinge-Lid-Packungen sind typisch für Zigaretten aber auch für andere Gegenstände. Der standardmäßige Aufbau sieht so aus, dass eine formatierte Zigaretten-Gruppe von einem Innenzuschnitt umhüllt ist und als Zigaretten-Block den Packungsinhalt bildet. Die Klappschachtel selbst besteht aus dünnem Karton. Der Deckel ist im Bereich einer Deckel-Rückwand über ein Liniengelenk mit einer Schachtel-Rückwand des Schachtelteils verbunden. Der Kragen besteht üblicherweise aus einem gesonderten Zuschnitt, kann aber auch einstückig mit dem übrigen Zuschnitt verbunden sein. Kragen-Vorderwand und Kragen-Seitenwand sind an der Innenseite des Schachtelteils mit diesem verbunden, insbesondere durch Klebung. Ein Kragen-Oberteil ragt aus dem Schachtelteil heraus.
- Ein Problem dieses Packungstyps besteht darin, den Deckel bei geschlossener Verpackung in einer exakten Schließstellung zu halten. Besonders bei Klappschachteln mit abgerundeten, aufrechten Packungskanten (Rundkanten) und abgeschrägten Kanten ist eine Schließhilfe wünschenswert.
- Aus der
EP-A-0 507 112 ist eine Klappschachtel für Zigaretten bekannt, bei der im Bereich von Kragenseitenwänden durch geeignete Schnitte gebildete Auswölbungen vorhanden sind, die in Schließstellung einen zusätzlichen Reibschluss zwischen Deckel und Kragen bewirken. - Aus der
ist weiterhin eine Klappschachtel für Zigaretten bekannt, bei der in einem Ausführungsbeispiel durch Umfalten eines Deckelinnenlappens eine wulstartige Verdickung als Vorsprung gebildet ist. Dieser Vorsprung steht bei geschlossenem Deckel in Eingriff mit einer in der Außenseite der Kragen-Seitenwand gebildeten Vertiefung. In allen gezeigten Ausführungsbeispielen verlaufen der Vorsprung und die Vertiefung in Längsrichtung der Klappschachtel, sodass diese dem Öffnen des Deckels durch Reibschluss entgegenwirken.GB 863 920 - Der Erfindung liegt die Aufgabe zugrunde, eine Zigarettenklappschachtel vorzuschlagen, die mit einer einfach herzustellenden und in der Praxis noch wirksameren Schließhilfe für den Deckel ausgestattet ist.
- Zur Lösung dieser Aufgabe weist die erfindungsgemäße Zigarettenklappschachtel die Merkmale des Anspruchs 1 auf.
- Bei der erfindungsgemäßen Klappschachtel wird demnach die Schließhilfe im Bereich von schmalen Seitenwänden gebildet, und zwar zwischen Kragen-Seitenwand einerseits und Deckel-Seitenwand andererseits. Die Schließhilfe besteht aus miteinander korrespondierenden Organen, die unmittelbar Teile der Deckel-Seitenwand und/oder der Kragen-Seitenwand sind. Die Organe der Schließhilfe werden ausschließlich durch Prägen, also Materialverformung, und/oder durch Stanzen gebildet. Der Zuschnitt für die Klappschachtel hat im übrigen die standardmäßige Kontur.
- Vorteilhafte Ausführungsbeispiele der Erfindung machen sich die übliche Konstruktion einer Klappschachtel zunutze, bei der nämlich die Deckel-Seitenwände doppellagig ausgebildet sind. Sie bestehen aus einem äußeren Deckel-Seftenlappen und einem inneren Deckel-Seitenlappen. An den Kragen-Seitenwänden gebildete, zur Deckel-Seitenwand gerichtete Vorsprünge liegen in Schließstellung am inneren Deckel-Seitenlappen an oder stehen in Eingriff mit hier angeordneten korrespondierenden Vorsprüngen. Bei Nutzung lediglich kraftschlüssiger Verbindungen liegen Vorsprünge jeweils an der gegenüberliegenden Wandung der Klappschachtel mit erhöhter Reibung an.
- Bei einer weiteren vorteilhaften Ausführung der Klappschachtel ist die eine mit einer Schließhilfe versehene Wandung, insbesondere die Kragen-Seitenwand, mit einem Vorsprung und die andere Wandung mit einer Vertiefung bzw. einer Öffnung oder einem Loch versehen, insbesondere der innere Deckel-Seitenlappen. In Schließstellung tritt der Vorsprung der Kragen-Seitenwand in die Öffnung bzw. das Loch in dem Deckel-Seitenlappen ein.
- Die Organe der Schließhilfe werden bei der Fertigung der Zuschnitte für die Klappschachtel einerseits und für den Kragen andererseits angebracht, so daß in bezug auf die Schließhilfe fertige Zuschnitte der Verpackungsmaschine zur Verfügung gestellt werden. Fertigungstechnisch ist es einfach, die Vorsprünge, Vertiefungen oder Stanzungen im Bereich der ebenen Zuschnitte bei deren Fertigung anzubringen.
- Weitere Einzelheiten und Vorteile der Erfindung werden nachfolgend anhand von in den Zeichnungen dargestellten Ausführungsbeispielen näher erläutert. Es zeigt:
- Fig. 1
- eine geschlossene Klappschachtel in perspektivischer Darstellung,
- Fig. 2
- die Klappschachtel gemäß
Fig. 1 in Vorderansicht, in verkleinertem Maßstab, - Fig. 3
- einen Zuschnitt für einen Kragen als Teil einer Klappschachtel,
- Fig. 4
- einen Schnitt durch einen Teil des Kragens gemäß
Fig. 3 in der Schnittebene IV-IV, in vergrößertem Maßstab, - Fig. 5
- einen Ausschnitt der Verpackung gemäß
Fig. 2 , teilweise im Vertikalschnitt, bei vergrößertem Maßstab, - Fig. 6
- eine Darstellung analog zu
Fig. 5 für ein anderes Ausführungsbeispiel, - Fig. 7
- einen ausgebreiteten Zuschnitt für eine Klappschachtel gemäß
Fig. 1 , - Fig. 8
- einen Schnitt durch einen Teilbereich des Zuschnitts gemäß
Fig. 7 in der Schnittebene VIII-VIII, in vergrößertem Maßstab, - Fig. 9
- eine Klappschachtel in einer Darstellung entsprechend
Fig. 1 für ein anderes Ausführungsbeispiel, - Fig. 10
- einen ausgebreiteten Zuschnitt für eine Klappschachtel gemäß
Fig. 9 , - Fig. 11
- einen Detailschnitt zu
Fig. 10 in der Schnittebene XI-XI bei vergrößertem Maßstab. - Bei den in den Zeichnungen dargestellten Ausführungsbeispielen handelt es sich um die Gestaltung von Klappschachteln für Zigaretten. Dieser Verpakkungstyp besteht aus dünnem Karton. Ein unterer Schachtelteil 10 und ein klappbarer Deckel 11 sind zu einer Einheit miteinander verbunden. Das Schachtelteil 10 besteht aus Schachtel-Vorderwand 12, Schachtel-Rückwand 13, Schachtel-Seitenwänden 14,15 und aus einer Bodenwand 16. Analog hierzu besteht der Deckel 11 aus Deckel-Vorderwand 17, Deckel-Rückwand 18, Deckel-Seitenwänden 19, 20 und einer oberen Stirnwand 21. Schachtelteil 10 und Deckel 11 sind im Bereich der Schachtel-Rückwand 13 und der Deckel-Rückwand 18 entlang einem quergerichteten Uniengelenk 22 miteinander verbunden.
- Als Besonderheit sind bei den vorliegenden Ausführungsbeispielen der Klappschachtel deren aufrechte Packungskanten 23, 24, 25, 26 als Rundkanten ausgebildet, also mit einem Querschnitt in Gestalt etwa eines Viertelkreises unter Anpassung an die Abmessungen einer Zigarette. Bodenwand 16 und Stirnwand 21 sind im Bereich von Ecken in angepaßter Weise abgerundet. Die Packungskanten 23..26 entstehen bei der Faltung der Zuschnitte für die Klappschachtel (
Fig. 7 ,Fig. 10 ). Zu diesem Zweck sind die Zuschnitte mit Kantenstreifen 27 versehen, nämlich mit Vorprägungen, die hier als in Längsrichtung des Zuschnitts bzw. der Packungskanten 23..26 verlaufenden, engen, parallelen Rillen bestehen. - Die Schachtel-Seitenwände 14, 15 sind ebenso wie die Deckel-Seitenwände 19, 20 doppellagig bzw. doppelwandig ausgebildet. Je zwei mindestens in einem Teilbereich einander überdeckende Schachtel-Seitenstreifen 28, 29 bzw. entsprechende Deckel-Seitenstreifen 30, 31 bilden die genannten Seitenwände 19, 20 und sind zu diesem Zweck miteinander durch Klebung oder dergleichen verbunden. Die innenliegenden Schachtel-Seitenstreifen 28 schließen seitlich an die Schachtel-Rückwand 13 an, während die äußeren Schachtel-Seitenstreifen 29 mit der Schachtel-Vorderwand verbunden sind. Entsprechend ist der Deckel gestaltet.
- Mit den innenliegenden Deckel-Seitenstreifen 31 sind Deckel-Ecidappen 32 verbunden, die bei der fertigen Verpackung an der Innenseite der Stirnwand 21 anliegen und mit dieser verklebt sind. Entsprechend sind Boden-Ecklappen 33 mit der Bodenwand 16 verbunden.
- An die Deckel-Vorderwand 17 schließt ein Dekkel-Innenlappen 34 an, der bei der fertigen Klappschachtel gegen die Innenseite der Deckel-Vorderwand 17 gefaltet und mit dieser verbunden ist.
- Zu einer Klappschachtel gehört weiterhin ein Kragen 35. Dieser besteht hier aus einem gesonderten Zuschnitt (
Fig. 3 ). Der Kragen 35 besteht aus einer Kragen-Vorderwand 36 und Kragen-Seitenwänden 37, 38. Der so ausgebildete Kragen 35 ist im Schachtelteil 10 positioniert, derart, daß ein unterer Teil der Kragen-Vorderwand 36 innen an der Schachtel-Vorderwand 12 anliegt. Die Kragen-Seitenwände 37, 38 liegen innen an den Schachtel-Seitenwänden 14, 15 an. Der Kragen 35 ist mit dem Schachtelteil 10 verbunden, zum Beispiel durch Klebung. - Die Relativstellung des Kragens 35 zum Schachtelteil 10 ist so gewählt, daß ein oberer Teil, nämlich ein Kragen-Oberteil 39 aus dem Schachtelteil 10 herausragt. Das Kragen-Oberteil 39 ist in Schließstellung der Klappschachtel innerhalb des Deckels 11 positioniert, nämlich im Bereich von Deckel-Vorderwand 17 und Deckel-Seitenwänden 19, 20. Die Kragen-Seitenwände 37, 38 liegen dabei an den zugeordneten Deckel-Seitenwänden 19, 20 an.
- Die vorliegenden Klappschachteln sind mit einer Schließhilfe versehen, also mit Organen, die die in
Fig. 1 ,Fig. 2 und inFig. 9 gezeigte Schließstellung der Klappschachtel stabilisieren, gleichwohl aber den Öffnungs- und Schließvorgang nicht behindern. - Die Schließhilfen bestehen im vorliegenden Fall aus verformten und/oder gestanzten Teilbereichen von aufgrund der Konstruktion einer Klappschachtel vorhandenen Wandungen derselben. Im vorliegenden Falle wird eine zusätzliche Schließkraft durch Wechselwirkung zwischen den Deckel-Seitenwänden 19, 20 einerseits und den Kragen-Seitenwänden 37, 38 andererseits bewirkt.
- Eine Ausführungsform der Schließhilfe ergibt sich aus
Fig. 1 sowieFig. 3 bis Fig. 5 sowieFig. 7 und Fig. 8 . Einander zugekehrte Wandungen im Bereich des Deckels 11, nämlich Kragen-Seitenwände 37, 38 einerseits und die innenliegenden Deckel-Seitenstreifen 31 andererseits sind mit Vorsprüngen versehen, die bei geschlossener Klappschachtel (Fig. 1 ,Fig. 5 ) miteinander formschlüssig in Eingriff stehen. Zu diesem Zweck sind im Bereich der Kragen-Seitenwände 37, 38 im oberen Bereich, also innerhalb des Kragen-Oberteils 39, zu den Deckel-Seitenwänden 19, 20 gerichtete Vorsprünge 40 angeordnet. Diese sind durch Prägen des Materials der Kragen-Seitenwände 37, 38 gebildet. Der Querschnitt der Vorsprünge 40 ergibt sich ausFig. 4 . Danach ist ein winkelförmiger Querschnitt gegeben mit einer unteren schräggerichteten Stützfläche 41. Die hieran oben anschließende Wandung 42 des Vorsprungs 40 ist hier gewölbt. Insgesamt hat der Vorsprung 40 eine bogenförmige Kontur mit einem quergerichteten Abschluß als Stützfläche 41. Der Vorsprung 40 wird zweckmäßigerweise bei der Herstellung des Zuschnitts für den Kragen 35 durch Prägen eingeformt. - Auf der gegenüberliegenden Seite, also an den inneren Deckel-Seitenstreifen 31, ist ein Gegenvorsprung 43 gebildet. Dieser hat im vorliegenden Falle die gleiche geometrische Gestalt wie der Vorsprung 40, wobei die Stützfläche 41 nach oben gerichtet ist. Die Relativstellung von Vorsprung 40 und Gegenvorsprung 43 ist so gewählt, daß in Schließstellung der Klappschachtel (
Fig. 1 ,Fig. 5 ) die Vorsprünge 40, 43 formschlüssig miteinander in Eingriff stehen. Dies bedeutet, daß die Stützflächen 41 der beiden Vorsprünge aneinanderliegen (Fig. 5 ). Dadurch ergibt sich beim Schlie-ßen der Klappschachtel ein Effekt des Einrastens bzw. des Einschnappens. Beim Öffnen des Deckels 11 ist ein leichter Widerstand zu überwinden. - Eine modifizierte Ausführung der Schließhilfe ergibt sich aus
Fig. 6 sowie ausFig. 9 bis Fig. 11 . Bei dieser Ausführung ist lediglich an einer Seite, nämlich an den Kragen-Seitenwänden 37, 38, ein Vorsprung 44 gebildet. Dieser ist hier in gleicher Weise gestaltet wie der Vorsprung 40 der beschriebenen Ausführungsbeispiele, also mit Stützfläche 41 und Wandung 42. - Der Vorsprung 44 arbeitet mit dem inneren Deckel-Seitenstreifen 31 zusammen. Beim Öffnen und Schließen des Deckels gleitet der Vorsprung 44 mit einer nach außen gerichteten Reibkante 45 an der Innenseite des Deckel-Seitenstreifens 31 entlang. Dadurch ergibt sich in Schließstellung eine erhöhte Schließkraft.
- Dieser Effekt wird im vorliegenden Falle dadurch verstärkt, daß der Vorsprung 44 in Schließstellung in eine Vertiefung des Deckels 11 einrastet, nämlich in ein Loch 46, welches im Deckel-Seitenstreifen 31 gebildet ist. Das Loch 46 (
Fig. 10, Fig. 11 ) ist so positioniert, daß exakt in der Schließstellung des Deckels 11 der Einrasteffekt entsteht. Die geometrische Form des Lochs 46 entspricht der des Vorsprungs 44, so daß dieser in Schließstellung der Klappschachtel passend, formschlüssig in dem Loch 46 Aufnahme findet (Fig. 9 ). Der Einrastvorgang beim Schließen und Öffnen des Deckels 11 ist dadurch erleichtert. - Die Schließhilfen können in verschiedener Hinsicht abgewandelt sein. Dies gilt insbesondere für die aus dem Material des Kragens 35 bzw. des Deckels 11 durch Prägen und/oder Stanzen geformten Vorsprünge.
Claims (5)
- Zigarettenklappschachtel, bestehend aus einem Schachtelteil (10) und einem mit diesem klappbar verbundenen Deckel (11), sowie aus einem Kragen (35), der aus einem gesonderten Zuschnitt gebildet ist, mit Kragen-Vorderwand (36) und Kragen-Seitenwänden (37, 38), wobei der Kragen (35) mit einem Kragen-Oberteil (39) aus dem Schachtelteil (10) herausragt, derart, dass das Kragen-Oberteil (39) in Schließstellung durch den Deckel (11) umfasst ist, wobei Organe zur Stabilisierung der Schließstellung im Bereich der Außenseite mindestens einer der Kragen-Seitenwände (37, 38) vorgesehen sind, und wobei der Deckel (11) Deckel-Seitenwände (19, 20) aufweist, die durch einander zumindest teilweise überdeckende Deckel-Seitenstreifen (30, 31) gebildet sind, und wobei an der Außenseite der mindestens einen Kragen-Seitenwand (37, 38) und an der Innenseite mindestens einer der innenliegenden Deckel-Seitenstreifen (31) Vorsprünge (40, 43, 44) und/oder Vertiefungen (46) gebildet sind, die in Schließstellung formschlüssig miteinander in Eingriff sind und die als Schließhilfe unmittelbar Teile der innenliegenden Deckel-Seitenstreifen (31) und der Kragen-Seitenwand (37, 38) sind und die durch Prägen und/oder Stanzen der innenliegenden Deckel-Seitenstreifen (31) und der Kragen-Seitenwand (37, 38) aus diesen gebildet sind, wobei die Vorsprünge (40, 43, 44) zum formschlüssigen Eingriff mit anderen Vorsprüngen (40, 43, 44) und/oder Vertiefungen (46) jeweils eine quer zur Längserstreckung der Zigarettenklappschachtel gerichtete Stützfläche (41) aufweisen.
- Zigarettenklappschachtel nach Anspruch 1, wobei ein an einer Kragen-Seitenwand (37, 38) angeordneter Vorsprung (40) in Schließstellung mit einem an einem Deckel-Seitenstreifen (31) angeordneten Gegenvorsprung (43) in Eingriff steht, insbesondere derart, dass eine am Gegenvorsprung (43) des Deckel-Seitenstreifens (31) gebildete, nach oben weisende Stützfläche (41) an einer nach unten gerichteten Stützfläche (41) des Vorsprungs (40) an der Kragen-Seitenwand (37, 38) anliegt.
- Zigarettenklappschachtel nach Anspruch 1 oder 2, wobei die Vorsprünge (40, 43, 44) durch Verformen eines den Vorsprung (40, 43, 44) aufweisenden Faltlappens gebildet sind, und zwar derart, dass eine bogenförmig begrenzte, gewölbte Wandung (42) des Vorsprungs (40, 43, 44) in eine quergerichtete Stützfläche (41) übergeht, wobei zwischen Wandung (42) und Stützfläche (41) eine Reibkante (45) verläuft.
- Zigarettenklappschachtel nach Anspruch 1 oder einem der weiteren Ansprüche, wobei der Vorsprung (44) in Schließstellung des Deckels (11) in eine Vertiefung, insbesondere in ein Loch (46), eines gegenüberliegenden Faltlappens der Verpackung eintritt.
- Zigarettenklappschachtel nach Anspruch 4, wobei ein an der Kragen-Seitenwand (37, 38) angeordneter Vorsprung (44) in eine Vertiefung, insbesondere in ein durch Stanzen hergestelltes Loch (46) im innenliegenden Deckel-Seitenstreifen (31) in Schließstellung formschlüssig eintritt.
Applications Claiming Priority (2)
| Application Number | Priority Date | Filing Date | Title |
|---|---|---|---|
| DE19614043 | 1996-04-10 | ||
| DE19614043A DE19614043B4 (de) | 1996-04-10 | 1996-04-10 | Klappschachtel für eine Zigaretten-Gruppe oder dergleichen |
Publications (3)
| Publication Number | Publication Date |
|---|---|
| EP0801010A1 EP0801010A1 (de) | 1997-10-15 |
| EP0801010B1 EP0801010B1 (de) | 1999-06-30 |
| EP0801010B2 true EP0801010B2 (de) | 2008-03-19 |
Family
ID=7790822
Family Applications (1)
| Application Number | Title | Priority Date | Filing Date |
|---|---|---|---|
| EP97104336A Expired - Lifetime EP0801010B2 (de) | 1996-04-10 | 1997-03-14 | Klappschachtel, insbesondere für Zigaretten |
Country Status (6)
| Country | Link |
|---|---|
| US (1) | US5806671A (de) |
| EP (1) | EP0801010B2 (de) |
| JP (1) | JPH1029677A (de) |
| CN (1) | CN1115114C (de) |
| BR (1) | BR9701761A (de) |
| DE (2) | DE19614043B4 (de) |
Families Citing this family (33)
| Publication number | Priority date | Publication date | Assignee | Title |
|---|---|---|---|---|
| DE19741481A1 (de) | 1997-09-19 | 1999-03-25 | Focke & Co | Klappschachtel für Zigaretten |
| JPH11310221A (ja) * | 1998-04-28 | 1999-11-09 | Toppan Printing Co Ltd | 印籠付きカートン |
| IT1304241B1 (it) * | 1998-11-12 | 2001-03-13 | Gd Spa | Pacchetto rigido con coperchio incernierato per elementi allungati. |
| IT1308982B1 (it) * | 1999-01-21 | 2002-01-15 | Gd Spa | Pacchetto rigido con coperchio incernierato |
| DE19938167A1 (de) | 1999-08-16 | 2001-02-22 | Focke & Co | Klappschachtel für Zigaretten |
| US6276600B1 (en) | 2000-04-18 | 2001-08-21 | Westvaco Corporation | Hinged-lid pack for cigarettes or the like |
| US6364106B1 (en) | 2000-06-16 | 2002-04-02 | R.J. Reynolds Tobacco Company | Package with embossed product symbol and a method of associating a symbol with a product |
| CA2420078C (en) * | 2000-08-08 | 2006-09-26 | The Procter & Gamble Company | Asymmetrical carton for rolled sheet materials |
| USD474856S1 (en) | 2001-02-23 | 2003-05-20 | Greg Hatto | Raised or embossed texture, imitative of reptile skin, applied to a cigarette packet |
| ITBO20010522A1 (it) * | 2001-08-22 | 2003-02-22 | Gd Spa | Pacchetto rigido con coperchio incernierato |
| ITBO20010669A1 (it) * | 2001-11-05 | 2003-05-05 | Gd Spa | Pacchetto rigido con coperchio incernierato per articoli da fumo |
| ITBO20010747A1 (it) * | 2001-12-11 | 2003-06-11 | Gd Spa | Contenitore rigido per articoli da fumo |
| WO2004028926A2 (de) * | 2002-09-19 | 2004-04-08 | Schlattl, Ralph | Zigarettenschachtel |
| DE10335525A1 (de) * | 2003-07-31 | 2005-05-12 | Focke & Co | Klappschachtel für Zigaretten |
| ITBO20030469A1 (it) * | 2003-08-01 | 2005-02-02 | Gd Spa | Confezione rigida con coperchio incernierato di articoli di fumo e relativo sbozzato. |
| US7228961B2 (en) * | 2004-05-04 | 2007-06-12 | R.J. Reynolds Tobacco Company | Packaged article with tear-away label portion |
| WO2009125240A1 (en) * | 2008-04-10 | 2009-10-15 | Marco Vecchi | Packet for smoke articles and corresponding blank. |
| ITMO20080104A1 (it) * | 2008-04-14 | 2009-10-15 | Marco Vecchi | Mezzi di connessione per articoli |
| GB0806700D0 (en) * | 2008-04-14 | 2008-05-14 | British American Tobacco Co | Package for smoking articles |
| PL2361204T3 (pl) * | 2008-11-20 | 2014-01-31 | Gima Tt S P A | Opakowanie na wyroby tytoniowe |
| GB0822143D0 (en) | 2008-12-04 | 2009-01-14 | British American Tobacco Co | Packet |
| DE102009049130A1 (de) * | 2009-10-12 | 2011-04-14 | Focke & Co.(Gmbh & Co. Kg) | Zigarettenpackung sowie Verfahren zum Herstellen derselben |
| EP2651777A1 (de) | 2010-12-14 | 2013-10-23 | Altria Client Services Inc. | Scharnierklappenverpackung |
| GB2488595A (en) * | 2011-03-04 | 2012-09-05 | British American Tobacco Co | Cigarette Pack with Recess and Locking Element |
| WO2012131834A1 (ja) * | 2011-03-25 | 2012-10-04 | 日本たばこ産業株式会社 | ブランクの罫線形成方法及びこれを用いたパッケージの製造方法及びパッケージ |
| DE102012103863A1 (de) * | 2012-05-03 | 2013-11-07 | Focke & Co. (Gmbh & Co. Kg) | Packung für Zigaretten |
| USD753960S1 (en) * | 2012-12-03 | 2016-04-19 | Wm. Wrigley Jr. Company | Gum holder |
| DE102014013821A1 (de) * | 2014-09-23 | 2016-03-24 | Focke & Co. (Gmbh & Co. Kg) | Klappschachtel für Zigaretten |
| US9950858B2 (en) | 2015-01-16 | 2018-04-24 | R.J. Reynolds Tobacco Company | Tobacco-derived cellulose material and products formed thereof |
| DE102016118581A1 (de) | 2016-09-30 | 2018-04-05 | Focke & Co. (Gmbh & Co. Kg) | Packung für Zigaretten, sowie Verfahren und Vorrichtung zur Herstellung derselben |
| GB201911720D0 (en) | 2019-08-15 | 2019-10-02 | British American Tobacco Investments Ltd | A Package |
| GB201911723D0 (en) * | 2019-08-15 | 2019-10-02 | British American Tobacco Investments Ltd | A package |
| EP3795487A1 (de) * | 2019-09-23 | 2021-03-24 | Philip Morris Products S.a.s. | Klappdeckelbehälter mit verriegelungsmechanismus |
Family Cites Families (16)
| Publication number | Priority date | Publication date | Assignee | Title |
|---|---|---|---|---|
| GB863920A (en) * | 1957-12-16 | 1961-03-29 | Schmermund Alfred | Improvements in or relating to boxes |
| DE1967145U (de) * | 1967-05-03 | 1967-08-24 | Osthushenrich Kg | Stuelpdeckelschachtel. |
| US3708108A (en) * | 1971-09-22 | 1973-01-02 | Burt Co Inc F | Flip top carton |
| DE2360701C3 (de) * | 1973-12-06 | 1978-06-08 | Focke & Pfuhl, 3090 Verden | Packung mit Klappdeckel für Zigaretten o.dgl |
| GB2059387B (en) * | 1979-10-04 | 1983-12-14 | British American Tobacco Co | Hinged-lid packets |
| GB8401163D0 (en) * | 1984-01-17 | 1984-02-22 | British American Tobacco Co | Hinged-lid packets |
| DE3515775A1 (de) * | 1985-05-02 | 1986-11-06 | Focke & Co (GmbH & Co), 2810 Verden | Verfahren und vorrichtung zum herstellen von packungen mit abgerundeten oder abgeschraegten kanten |
| AU637131B2 (en) * | 1989-08-22 | 1993-05-20 | Tobacco Research And Development Institute Limited | Flip-top cartons |
| ES2041547T3 (es) * | 1990-02-20 | 1993-11-16 | Hugues Nicollet S.A. | Embalaje de carton, carton ondulado u otro material en hoja convencionalmente recortado y doblado, una tapa equipada de un asidero cerrable, y molde(s) de carton correspondiente(s). |
| DE4109702A1 (de) * | 1991-03-23 | 1992-09-24 | Focke & Co | Klappschachtel, insbesondere fuer zigaretten |
| DK170417B1 (da) * | 1991-07-10 | 1995-08-28 | Schur Eng As | Kartonæske af klaplågstypen og med midler til snaplåsning af klaplåget |
| US5129513A (en) * | 1991-11-22 | 1992-07-14 | Philip Morris Incorporated | Cigarette packs with retention cuts to facilitate consistent lid closure |
| SE469515B (sv) | 1991-12-02 | 1993-07-19 | Sandvik Ab | Drivhjul foer kedjesaagar |
| DE4141678A1 (de) * | 1991-12-17 | 1993-07-01 | Focke & Co | Verpackung aus karton sowie verfahren und vorrichtung zum herstellen derselben |
| US5341925A (en) * | 1993-07-30 | 1994-08-30 | Philip Morris Incorporated | Cigarette hardpack having rounded corners and lid retaining flaps |
| DE19519437A1 (de) * | 1995-05-26 | 1996-11-28 | Henkel Kgaa | Wiederverschließbare Faltschachtel mit Öffnungssicherung |
-
1996
- 1996-04-10 DE DE19614043A patent/DE19614043B4/de not_active Expired - Fee Related
-
1997
- 1997-03-14 DE DE59700235T patent/DE59700235D1/de not_active Expired - Lifetime
- 1997-03-14 EP EP97104336A patent/EP0801010B2/de not_active Expired - Lifetime
- 1997-03-27 US US08/827,373 patent/US5806671A/en not_active Expired - Fee Related
- 1997-04-03 CN CN97104986A patent/CN1115114C/zh not_active Expired - Fee Related
- 1997-04-09 BR BR9701761A patent/BR9701761A/pt not_active IP Right Cessation
- 1997-04-10 JP JP9092439A patent/JPH1029677A/ja active Pending
Also Published As
| Publication number | Publication date |
|---|---|
| EP0801010B1 (de) | 1999-06-30 |
| DE19614043B4 (de) | 2005-07-28 |
| DE59700235D1 (de) | 1999-08-05 |
| EP0801010A1 (de) | 1997-10-15 |
| BR9701761A (pt) | 1998-11-10 |
| JPH1029677A (ja) | 1998-02-03 |
| DE19614043A1 (de) | 1997-10-16 |
| US5806671A (en) | 1998-09-15 |
| CN1115114C (zh) | 2003-07-23 |
| CN1169836A (zh) | 1998-01-14 |
Similar Documents
| Publication | Publication Date | Title |
|---|---|---|
| EP0801010B2 (de) | Klappschachtel, insbesondere für Zigaretten | |
| EP0745541B1 (de) | Klappschachtel für Zigaretten | |
| EP0675056B1 (de) | Klappschachtel für Zigaretten oder dergleichen | |
| EP0650907B1 (de) | Klappschachtel, insbesondere für Zigaretten | |
| EP0204933B1 (de) | Klappdeckelschachtel für Zigaretten oder dgl. | |
| EP1615830B1 (de) | Klappschactel für zigaretten | |
| EP0778212B1 (de) | Klappschachtel für Zigaretten oder dergleichen | |
| EP0835827B1 (de) | Quaderförmige Verpackung für Zigaretten sowie Zuschnitt für die Verpackung | |
| EP0625469B1 (de) | Verpackung, nämlich Klappschachtel | |
| WO1999065796A1 (de) | Klappschachtel für zigaretten oder dergleichen | |
| EP0841263A1 (de) | Klappschachtel für Zigaretten | |
| EP1140661A1 (de) | Klappschachtel für zigaretten | |
| DE4310769A1 (de) | Klappschachtel | |
| EP3504133A1 (de) | Packung für zigaretten | |
| EP1007446A1 (de) | Klappschachtel für zigaretten | |
| EP1015353B1 (de) | Klappschachtel für zigaretten | |
| EP2445813A1 (de) | Klappschachtel für zigaretten | |
| EP1799566B1 (de) | Klappschachtel für zigaretten | |
| EP0614824B1 (de) | Klappschachtel für stabförmige Gegenstände, wie Zigaretten | |
| EP0703160B1 (de) | Klappschachtel für Zigaretten oder dergleichen | |
| EP1648800A1 (de) | Klappschachtel für zigaretten | |
| DE19858781A1 (de) | Klappschachtel für Zigaretten o. dgl. | |
| DE2350023A1 (de) | Faltschachtel mit einem einsatz | |
| DE9410750U1 (de) | Halterung für in Kapseln eingelegte Konfektstücke oder Kekse |
Legal Events
| Date | Code | Title | Description |
|---|---|---|---|
| PUAI | Public reference made under article 153(3) epc to a published international application that has entered the european phase |
Free format text: ORIGINAL CODE: 0009012 |
|
| AK | Designated contracting states |
Kind code of ref document: A1 Designated state(s): CH DE FR GB IT LI NL |
|
| 17P | Request for examination filed |
Effective date: 19970827 |
|
| 17Q | First examination report despatched |
Effective date: 19971117 |
|
| GRAG | Despatch of communication of intention to grant |
Free format text: ORIGINAL CODE: EPIDOS AGRA |
|
| GRAG | Despatch of communication of intention to grant |
Free format text: ORIGINAL CODE: EPIDOS AGRA |
|
| GRAH | Despatch of communication of intention to grant a patent |
Free format text: ORIGINAL CODE: EPIDOS IGRA |
|
| GRAH | Despatch of communication of intention to grant a patent |
Free format text: ORIGINAL CODE: EPIDOS IGRA |
|
| GRAA | (expected) grant |
Free format text: ORIGINAL CODE: 0009210 |
|
| AK | Designated contracting states |
Kind code of ref document: B1 Designated state(s): CH DE FR GB IT LI NL |
|
| REG | Reference to a national code |
Ref country code: CH Ref legal event code: NV Representative=s name: ISLER & PEDRAZZINI AG Ref country code: CH Ref legal event code: EP |
|
| GBT | Gb: translation of ep patent filed (gb section 77(6)(a)/1977) |
Effective date: 19990630 |
|
| REF | Corresponds to: |
Ref document number: 59700235 Country of ref document: DE Date of ref document: 19990805 |
|
| ITF | It: translation for a ep patent filed | ||
| ET | Fr: translation filed | ||
| PLBQ | Unpublished change to opponent data |
Free format text: ORIGINAL CODE: EPIDOS OPPO |
|
| PLBQ | Unpublished change to opponent data |
Free format text: ORIGINAL CODE: EPIDOS OPPO |
|
| PLBI | Opposition filed |
Free format text: ORIGINAL CODE: 0009260 |
|
| PLBF | Reply of patent proprietor to notice(s) of opposition |
Free format text: ORIGINAL CODE: EPIDOS OBSO |
|
| 26 | Opposition filed |
Opponent name: FABRIQUES DE TABAC REUNIES S.A. Effective date: 20000330 Opponent name: G.D S.P.A. Effective date: 20000328 |
|
| NLR1 | Nl: opposition has been filed with the epo |
Opponent name: FABRIQUES DE TABAC REUNIES S.A. Opponent name: G.D S.P.A. |
|
| PLBF | Reply of patent proprietor to notice(s) of opposition |
Free format text: ORIGINAL CODE: EPIDOS OBSO |
|
| PLBF | Reply of patent proprietor to notice(s) of opposition |
Free format text: ORIGINAL CODE: EPIDOS OBSO |
|
| PLBF | Reply of patent proprietor to notice(s) of opposition |
Free format text: ORIGINAL CODE: EPIDOS OBSO |
|
| REG | Reference to a national code |
Ref country code: GB Ref legal event code: IF02 |
|
| PLAB | Opposition data, opponent's data or that of the opponent's representative modified |
Free format text: ORIGINAL CODE: 0009299OPPO |
|
| R26 | Opposition filed (corrected) |
Opponent name: G.D S.P.A. * 20000330 PHILIP MORRIS PRODUCTS S.A. Effective date: 20000328 |
|
| NLR1 | Nl: opposition has been filed with the epo |
Opponent name: PHILIP MORRIS PRODUCTS S.A. Opponent name: G.D S.P.A. |
|
| RDAH | Patent revoked |
Free format text: ORIGINAL CODE: EPIDOS REVO |
|
| RDAH | Patent revoked |
Free format text: ORIGINAL CODE: EPIDOS REVO |
|
| APAC | Appeal dossier modified |
Free format text: ORIGINAL CODE: EPIDOS NOAPO |
|
| NLR1 | Nl: opposition has been filed with the epo |
Opponent name: PHILIP MORRIS PRODUCTS S.A. Opponent name: G.D S.P.A. |
|
| APBQ | Date of receipt of statement of grounds of appeal recorded |
Free format text: ORIGINAL CODE: EPIDOSNNOA3O |
|
| RAP2 | Party data changed (patent owner data changed or rights of a patent transferred) |
Owner name: FOCKE & CO. (GMBH & CO. KG) |
|
| NLT2 | Nl: modifications (of names), taken from the european patent patent bulletin |
Owner name: FOCKE & CO. (GMBH & CO. KG) |
|
| APAA | Appeal reference recorded |
Free format text: ORIGINAL CODE: EPIDOS REFN |
|
| PLAQ | Examination of admissibility of opposition: information related to despatch of communication + time limit deleted |
Free format text: ORIGINAL CODE: EPIDOSDOPE2 |
|
| PLAR | Examination of admissibility of opposition: information related to receipt of reply deleted |
Free format text: ORIGINAL CODE: EPIDOSDOPE4 |
|
| PLBQ | Unpublished change to opponent data |
Free format text: ORIGINAL CODE: EPIDOS OPPO |
|
| PLAB | Opposition data, opponent's data or that of the opponent's representative modified |
Free format text: ORIGINAL CODE: 0009299OPPO |
|
| PLBP | Opposition withdrawn |
Free format text: ORIGINAL CODE: 0009264 |
|
| APBU | Appeal procedure closed |
Free format text: ORIGINAL CODE: EPIDOSNNOA9O |
|
| R26 | Opposition filed (corrected) |
Opponent name: G.D S.P.A. Effective date: 20000328 |
|
| NLR1 | Nl: opposition has been filed with the epo |
Opponent name: G.D S.P.A. |
|
| APAH | Appeal reference modified |
Free format text: ORIGINAL CODE: EPIDOSCREFNO |
|
| PLAY | Examination report in opposition despatched + time limit |
Free format text: ORIGINAL CODE: EPIDOSNORE2 |
|
| PLAH | Information related to despatch of examination report in opposition + time limit modified |
Free format text: ORIGINAL CODE: EPIDOSCORE2 |
|
| PLBC | Reply to examination report in opposition received |
Free format text: ORIGINAL CODE: EPIDOSNORE3 |
|
| PLAY | Examination report in opposition despatched + time limit |
Free format text: ORIGINAL CODE: EPIDOSNORE2 |
|
| PLBC | Reply to examination report in opposition received |
Free format text: ORIGINAL CODE: EPIDOSNORE3 |
|
| PGFP | Annual fee paid to national office [announced via postgrant information from national office to epo] |
Ref country code: NL Payment date: 20070304 Year of fee payment: 11 |
|
| PGFP | Annual fee paid to national office [announced via postgrant information from national office to epo] |
Ref country code: CH Payment date: 20070314 Year of fee payment: 11 |
|
| REG | Reference to a national code |
Ref country code: CH Ref legal event code: PCAR Free format text: ISLER & PEDRAZZINI AG;POSTFACH 1772;8027 ZUERICH (CH) |
|
| PUAH | Patent maintained in amended form |
Free format text: ORIGINAL CODE: 0009272 |
|
| STAA | Information on the status of an ep patent application or granted ep patent |
Free format text: STATUS: PATENT MAINTAINED AS AMENDED |
|
| 27A | Patent maintained in amended form |
Effective date: 20080319 |
|
| AK | Designated contracting states |
Kind code of ref document: B2 Designated state(s): CH DE FR GB IT LI NL |
|
| REG | Reference to a national code |
Ref country code: CH Ref legal event code: AEN Free format text: AUFRECHTERHALTUNG DES PATENTES IN GEAENDERTER FORM |
|
| PGFP | Annual fee paid to national office [announced via postgrant information from national office to epo] |
Ref country code: FR Payment date: 20070308 Year of fee payment: 11 |
|
| NLR2 | Nl: decision of opposition |
Effective date: 20080319 |
|
| NLV1 | Nl: lapsed or annulled due to failure to fulfill the requirements of art. 29p and 29m of the patents act | ||
| REG | Reference to a national code |
Ref country code: CH Ref legal event code: PL |
|
| PG25 | Lapsed in a contracting state [announced via postgrant information from national office to epo] |
Ref country code: NL Free format text: LAPSE BECAUSE OF FAILURE TO SUBMIT A TRANSLATION OF THE DESCRIPTION OR TO PAY THE FEE WITHIN THE PRESCRIBED TIME-LIMIT Effective date: 19990630 |
|
| REG | Reference to a national code |
Ref country code: FR Ref legal event code: ST Effective date: 20081125 |
|
| EN | Fr: translation not filed | ||
| PG25 | Lapsed in a contracting state [announced via postgrant information from national office to epo] |
Ref country code: LI Free format text: LAPSE BECAUSE OF NON-PAYMENT OF DUE FEES Effective date: 20080331 Ref country code: CH Free format text: LAPSE BECAUSE OF NON-PAYMENT OF DUE FEES Effective date: 20080331 |
|
| PG25 | Lapsed in a contracting state [announced via postgrant information from national office to epo] |
Ref country code: FR Free format text: LAPSE BECAUSE OF NON-PAYMENT OF DUE FEES Effective date: 20080331 |
|
| PGFP | Annual fee paid to national office [announced via postgrant information from national office to epo] |
Ref country code: IT Payment date: 20110322 Year of fee payment: 15 |
|
| PGFP | Annual fee paid to national office [announced via postgrant information from national office to epo] |
Ref country code: GB Payment date: 20110309 Year of fee payment: 15 Ref country code: DE Payment date: 20110322 Year of fee payment: 15 |
|
| GBPC | Gb: european patent ceased through non-payment of renewal fee |
Effective date: 20120314 |
|
| REG | Reference to a national code |
Ref country code: DE Ref legal event code: R119 Ref document number: 59700235 Country of ref document: DE Effective date: 20121002 |
|
| PG25 | Lapsed in a contracting state [announced via postgrant information from national office to epo] |
Ref country code: GB Free format text: LAPSE BECAUSE OF NON-PAYMENT OF DUE FEES Effective date: 20120314 |
|
| PG25 | Lapsed in a contracting state [announced via postgrant information from national office to epo] |
Ref country code: IT Free format text: LAPSE BECAUSE OF NON-PAYMENT OF DUE FEES Effective date: 20120314 |
|
| PG25 | Lapsed in a contracting state [announced via postgrant information from national office to epo] |
Ref country code: DE Free format text: LAPSE BECAUSE OF NON-PAYMENT OF DUE FEES Effective date: 20121002 |