EP0732271B1 - Behälter, insbesondere für ein Kosmetikum wie Nagellack oder dergleichen - Google Patents

Behälter, insbesondere für ein Kosmetikum wie Nagellack oder dergleichen Download PDF

Info

Publication number
EP0732271B1
EP0732271B1 EP96102699A EP96102699A EP0732271B1 EP 0732271 B1 EP0732271 B1 EP 0732271B1 EP 96102699 A EP96102699 A EP 96102699A EP 96102699 A EP96102699 A EP 96102699A EP 0732271 B1 EP0732271 B1 EP 0732271B1
Authority
EP
European Patent Office
Prior art keywords
screw cap
stop
reservoir
recesses
shoulder
Prior art date
Legal status (The legal status is an assumption and is not a legal conclusion. Google has not performed a legal analysis and makes no representation as to the accuracy of the status listed.)
Expired - Lifetime
Application number
EP96102699A
Other languages
English (en)
French (fr)
Other versions
EP0732271A1 (de
Inventor
Günter Bachmann
Norbert Dumler
Werner Fischer
Dieter Wolfsgruber
Current Assignee (The listed assignees may be inaccurate. Google has not performed a legal analysis and makes no representation or warranty as to the accuracy of the list.)
Georg Karl Geka Brush GmbH
Original Assignee
Georg Karl Geka Brush GmbH
Priority date (The priority date is an assumption and is not a legal conclusion. Google has not performed a legal analysis and makes no representation as to the accuracy of the date listed.)
Filing date
Publication date
Application filed by Georg Karl Geka Brush GmbH filed Critical Georg Karl Geka Brush GmbH
Publication of EP0732271A1 publication Critical patent/EP0732271A1/de
Application granted granted Critical
Publication of EP0732271B1 publication Critical patent/EP0732271B1/de
Anticipated expiration legal-status Critical
Expired - Lifetime legal-status Critical Current

Links

Images

Classifications

    • BPERFORMING OPERATIONS; TRANSPORTING
    • B65CONVEYING; PACKING; STORING; HANDLING THIN OR FILAMENTARY MATERIAL
    • B65DCONTAINERS FOR STORAGE OR TRANSPORT OF ARTICLES OR MATERIALS, e.g. BAGS, BARRELS, BOTTLES, BOXES, CANS, CARTONS, CRATES, DRUMS, JARS, TANKS, HOPPERS, FORWARDING CONTAINERS; ACCESSORIES, CLOSURES, OR FITTINGS THEREFOR; PACKAGING ELEMENTS; PACKAGES
    • B65D41/00Caps, e.g. crown caps or crown seals, i.e. members having parts arranged for engagement with the external periphery of a neck or wall defining a pouring opening or discharge aperture; Protective cap-like covers for closure members, e.g. decorative covers of metal foil or paper
    • B65D41/02Caps or cap-like covers without lines of weakness, tearing strips, tags, or like opening or removal devices
    • B65D41/04Threaded or like caps or cap-like covers secured by rotation
    • B65D41/0471Threaded or like caps or cap-like covers secured by rotation with means for positioning the cap on the container, or for limiting the movement of the cap, or for preventing accidental loosening of the cap
    • YGENERAL TAGGING OF NEW TECHNOLOGICAL DEVELOPMENTS; GENERAL TAGGING OF CROSS-SECTIONAL TECHNOLOGIES SPANNING OVER SEVERAL SECTIONS OF THE IPC; TECHNICAL SUBJECTS COVERED BY FORMER USPC CROSS-REFERENCE ART COLLECTIONS [XRACs] AND DIGESTS
    • Y10TECHNICAL SUBJECTS COVERED BY FORMER USPC
    • Y10STECHNICAL SUBJECTS COVERED BY FORMER USPC CROSS-REFERENCE ART COLLECTIONS [XRACs] AND DIGESTS
    • Y10S206/00Special receptacle or package
    • Y10S206/823Cosmetic, toilet, powder puff

Definitions

  • the invention is directed to a container with a screw cap, in particular for a cosmetic such as nail polish or the like, with a container neck, with an external thread on which the screw cap with an internal thread can be screwed on, in the area below the External thread formed on the container neck a circumferential shoulder is and this shoulder at least one stop in the form of a projection has, which extends over a certain circumferential angle range protrudes from the shoulder of the ring, and being on the lower edge the screw cap corresponding to the stop projections Stop recesses are provided, which when turning the Screw cap can be snapped onto the stop projections, so that the Screw cap in a defined end position with return resistance is set.
  • a container is e.g. known from FR-A-2 439 137.
  • Such closable containers generally comprise a closing unit made of plastic and the actual container made of glass or another plastic. Such containers are used to hold very different products, such as Medicines or cosmetics.
  • the closure cap in one precisely defined angular position relative to the container is, since the container is often designed so that it may be out of round Align the outer contours of the container and the sealing cap or that at least the container and cap have a decor, which should offer a uniform appearance when closed.
  • the object of the invention is a container with a screw cap of the type mentioned at the beginning, that despite inevitable manufacturing tolerances of the actual Container a defined closed state with a good fit Sealing surfaces and a pronounced click effect can be achieved.
  • Such a recess provided according to the invention in the form of a complete breakthrough or a weakening of the wall thickness or a recess which may also be open at the bottom leads to increased elasticity in the area of the lower edge of the screw cap, so that an elastic yield when screwing on and an audible and tactile Locking can be achieved even if the container-side dimensions within fluctuate within a tolerance range.
  • the recesses are slit-like configured the stop recesses in the circumferential direction are.
  • the area of the lower edge of the Screw cap, which, when screwed on, initially on the top of the container Stop projections hits, in the direction of the thread pitch is inclined. This will initiate the snapping process facilitated. It is conveniently provided that the Inclination corresponds to the thread pitch.
  • Another measure to compensate for tolerances on the container side can be consist in that at least part of the threads of the internal thread the screw cap is elastically designed such that the Comb of the respective thread a the thread flank elastically compliant making groove extends radially inward.
  • the container is designed, for example, as a nack lacquer unit, So an applicator with a stem and one in the screw cap latched holding approach is provided, it can be provided that the Holding approach has a lower annular shoulder so that it snaps into place the stop recess in the stop projections plan on the Front of the container mouth with the formation of a tight connection is present.
  • Such a unit can also be constructed in one or two parts and still is what has not been the case with such units was possible to achieve a click effect.
  • FIG. 1 shows a container 1 in the form of a glass bottle for nail polish, which can be closed with a screw cap 2, whereby a cap 3 is placed on the actual screw cap 2 and accordingly the external appearance shapes.
  • the stem 4 is one as Brush trained applicator 5
  • the upper end of the handle 4th is integrally formed with a retaining lug 6, which in the interior of the Screw cap 2 is engaged.
  • the retaining lug 6 is on the front side 7 of the container 1 with a sealing surface 8 flat, with an additional Sealing cone 9 is provided which engages in the container mouth and in the inner wall 10 lies sealingly.
  • the neck 11 of the container 1 has an external thread 12 which corresponds with your internal thread 13 of the screw cap 2.
  • the internal thread 13 of the screw cap 2 is designed so that the thread flanks 14 are provided with a groove 15 which the thread flanks practically divides and thereby ensures that to compensate for Tolerances the thread flanks 14 are slightly resilient.
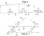
  • the container neck 11 has a circumferential shoulder 16, which at least a stop 17 in the form of itself in the embodiment 2 axially extending from the shoulder upward projection 17 owns.
  • the projection 17 extends over a circumferential angle range ⁇ .
  • Corresponding stop recesses are on the lower edge 18 of the screw cap 2 19 provided, one approximately at right angles to the lower edge 18 extending section 20 of these recesses 19 to the system on a corresponding, right-angled flank 21 of the projections 17 in the screwed-on final state.
  • 2 is the thread pitch 22 of the in the internal thread 13 and the outer wind 12 shown.
  • each Stop recess 19 is a slit-like recess that overlaps this 23 is provided, which enables the web area 24 Above each recess 19 when you unscrew in the direction of arrow 25, so if the lower edge 18 of the screw cap 2 on the The top 26 of the stop projections 17 hits, yield elastically can, so that afterwards a hearing and when reaching the end position you feel it click into place.
  • the area 18 ' is the lower edge 18, the first when screwing onto the top 26 of the stop projections 17 strikes, inclined in the direction of the thread pitch 22 formed, the inclination approximately corresponds to the thread pitch 22.

Landscapes

  • Engineering & Computer Science (AREA)
  • Mechanical Engineering (AREA)
  • Closures For Containers (AREA)

Description

Die Erfindung richtet sich auf einen Behälter mit Schraubkappe, insbesondere für ein Kosmetikum wie Nagellack oder dergleichen, mit einem Behälterhals, mit einem Außengewinde, auf welches die Schraubkappe mit einem Innengewinde aufschraubbar ist, wobei im Bereich unterhalb des Außengewindes an dem Behälterhals eine umlaufende Schulter ausgebildet ist und diese Schulter wenigstens einen Anschlag in Form eines Vorsprungs aufweist, der sich über einen gewissen Umfangswinkelbereich erstreckend von der Ringschulter nach oben vorsteht, und wobei an der Unterkante der Schraubkappe mit den Anschlag-Vorsprüngen korrespondierende Anschlag-Ausnehmungen vorgesehen sind, welche beim Aufdrehen der Schraubkappe auf die Anschlag-Vorsprünge aufrastbar sind, so daß die Schraubkappe in einer definierten Endposition mit Rücklaufwiderstand festgelegt ist. Ein derartiger Behälter ist z.B. aus der FR-A-2 439 137 bekannt.
Derartige verschließbare Behälter umfassen in der Regel eine Verschließeinheit aus Kunststoff und den eigentlichen Behälter, der aus Glas oder einem anderen Kunststoff besteht. Solche Behälter dienen zur Aufnahme ganz unterschiedlicher Produkte, wie z.B. Arzneimittel oder Kosmetika.
Bei der Verwendung für ein Kosmetikum, insbesondere wenn es sich um leicht flüchtige Substanzen wie Nagellack handelt, ist es wichtig, daß die den Behälter benutzende Person eine taktile und audiovisuelle Kontrolle darüber hat, daß der Behälter auch wirklich richtig geschlossen ist. Zu diesem Zweck versucht man die Rasteinrichtungen nicht nur so auszubilden, daß die Schraubkappe in ihrer Endlage zuverlässig arretiert und an einem Zurückdrehen gehindert wird, sondern der Einrastvorgang soll auch hörbar und fühlbar sein.
Gleichzeitig soll gewährleistet sein, daß die Verschlußkappe in einer exakt definierten Drehwinkelposition relativ zu dem Behälter festgelegt ist, da häufig der Behälter so konzipiert ist, daß die gegebenfalls unrunden Außenkonturen von Behälter und Verschlußkappe miteinander fluchten oder daß zumindest Behälter und Verschlußkappe ein Dekor aufweisen, welches im Schließzustand ein einheitliches Erscheinungsbild bieten soll.
Letztlich wird auch noch die Forderung gestellt, daß im Schließzustand innere Dichtflächen dichtend aufeinanderliegen, so daß weder Flüssigkeit austreten kann noch flüchtige Komponenten.
Um all diesen Anforderungen gerecht zu werden, sind verschiedene Lösungen entwickelt worden, welche aber jeweils einen Kompromiss insoweit darstellen, als entweder der wünschenswerte Click-Effekt nicht eintritt, keine hinreichend zuverlässige Dichtung erfolgt oder aber die Schraubkappe sich nicht mit der insbesondere bei der Handhabung durch Frauen wünschenswerten Leichtigkeit drehen läßt. Eine wesentliche Ursache dafür, daß keine hinreichend befriedigenden Ergebnisse erzielt werden konnten, liegt darin, daß zwar die Verschlußeinheit aus Kunststoff sehr genau gespritzt werden kann, daß demgegenüber aber die Behälter, insbesondere bei der Herstellung aus Glas, herstellungsbedingt relativ große Toleranzen aufweisen.
Hiervon ausgehend liegt der Erfindung die Aufgabe zugrunde, einen Behälter mit Schraubverschluß der eingangs genannten Art so auszugestalten, daß trotz unvermeidlicher herstellungsbedingter Toleranzen des eigentlichen Behälters ein definierter Schließzustand mit gut anliegenden Dichtflächen und einem ausgeprägten Click-Effekt erzielbar ist.
Diese Aufgabe wird erfindungsgemäß dadurch gelöst, daß im Bereich oberhalb jeder Anschlagausnehmung in der Mantelfläche der Schraubkappe eine die Wandstärke verjüngende oder die Wandung durchbrechende Ausnehmung vorgesehen ist.
Eine derartige erfindungsgemäß vorgesehene Ausnehmung in Form einer vollständigen Durchbrechung oder einer Schwächung der Wandstärke bzw. einer gegebenenfalls auch nach unten hin offenen Ausnehmung führt zu einer erhöhten Elastizität im Bereich der Unterkante der Schraubkappe, so daß ein elastisches Nachgeben beim Aufschrauben und ein hör- und fühlbares Einrasten erzielbar ist, auch wenn die behälterseitigen Maße innerhalb eines Toleranzbereiches schwanken.
In weiterer Ausgestaltung ist vorgesehen, daß die Ausnehmungen schlitzartig die Anschlag-Ausnehmungen in Umfangsrichtung übergreifend ausgestaltet sind. Durch die Dimensionierung der Ausnehmungen kann in der Abhängigkeit von dem gewählten Kunststoff und dem zu erwartenden Toleranzbereich der Behälterabmessungen praktisch die erforderliche Elastizität gezielt eingestellt werden.
Weiterhin kann vorgesehen sein, daß der Bereich der Unterkante der Schraubkappe, der beim Aufschrauben zunächst auf die Oberseite der behälterseitigen Anschlag-Vorsprünge auftrifft, in Richtung der Gewindesteigung geneigt ausgebildet ist. Hierdurch wird die Einleitung des Aufrastvorganges erleichtert. Dabei ist günstigerweise vorgesehen, daß die Neigung der Gewindesteigung entspricht.
Eine weitere Maßnahme zum Ausgleich behälterseitiger Toleranzen kann darin bestehen, daß wenigstens ein Teil der Gewindegänge des Innengewindes der Schraubkappe elastisch derart ausgebildet ist, daß sich vom Kamm des jeweiligen Gewindegangs eine die Gewindeflanke elastisch nachgiebig machende Nut radial nach innen erstreckt.
Wenn der Behälter beispielsweise als Nackellack-Einheit ausgestaltet ist, wobei also ein Applikator mit einem Stiel und einem in die Schraubkappe eingerasteten Halteansatz vorgesehen ist, kann vorgesehen sein, daß der Halteansatz eine untere Ringschulter derart aufweist, daß diese beim Einrasten der Anschlag-Ausnehmung in die Anschlag-Vorsprünge plan auf der Stirnseite der Behältermündung unter Ausbildung einer dichten Verbindung anliegt. Eine solche Einheit kann auch ein- oder zweiteilig ausgebildet werden und trotzdem ist, was bisher bei derartigen Einheiten nicht möglich war, ein Click-Effekt erzielbar.
Nachfolgend wird die Erfindung anhand bevorzugter Ausführungsbeispiele in Verbindung mit der Zeichnung näher erläutert. Dabei zeigen:
Fig. 1
einen Schnitt durch einen erfindungsgemäßen Behälter mit Schraubkappe,
Fig. 2 und 3
unterschiedliche Ausführungsformen der Abwicklungen von Schraubkappen-Unterkante bzw. Flaschenhalskontur.
In Fig. 1 ist ein Behälter 1 in Form einer Glasflasche für Nagellack dargestellt, der mit einer Schraubkappe 2 verschlossen werden kann, wobei eine Übersteckkappe 3 auf die eigentliche Schraubkappe 2 gesteckt ist und dementsprechend das äußere Erscheinungsbild prägt.
In das Innere der Schraubkappe 2 eingesetzt ist der Stiel 4 eines als Pinsel ausgebildeten Applikators 5, wobei das obere Ende des Stiels 4 einstückig ausgebildet ist mit einem Halteansatz 6, der in das Innere der Schraubkappe 2 eingerastet ist. Der Halteansatz 6 liegt auf der Stirnseite 7 des Behälters 1 mit einer Dichtfläche 8 plan auf, wobei zusätzlich ein Dichtkonus 9 vorgesehen ist, der in die Behältermündung eingreift und in der Mündungsinnenwand 10 dichtend anliegt.
Der Hals 11 des Behälters 1 weist ein Außengewinde 12 auf, welches korrespondiert mit dein Innengewinde 13 der Schraubkappe 2.
Das Innengewinde 13 der Schraubkappe 2 ist so ausgebildet, daß die Gewindeflanken 14 mit einer Nut 15 versehen sind, welche die Gewindeflanken praktisch teilt und hierdurch dafür sorgt, daß zum Ausgleich von Toleranzen die Gewindeflanken 14 leicht elastisch nachgiebig sind.
Der Behälterhals 11 weist eine umlaufende Schulter 16 auf, die wenigstens einen Anschlag 17 in Form eines sich bei der Ausführungsform nach Fig. 2 axial von der Schulter weg nach oben erstreckenden Vorsprungs 17 besitzt. Der Vorsprung 17 erstreckt sich über einen Umfangswinkelbereich α.
An der Unterkante 18 der Schraubkappe 2 sind korrespondierende Anschlagausnehmungen 19 vorgesehen, wobei ein etwa rechtwinklig zur Unterkante 18 verlaufender Abschnitt 20 dieser Ausnehmungen 19 zur Anlage an einer korrespondierenden, rechtwinkligen Flanke 21 der Vorsprünge 17 im aufgeschraubten Endzustand gelangt. In Fig. 2 ist die Gewindesteigung 22 des in dem Innengewinde 13 bzw. des Außenwindes 12 dargestellt.
Im Bereich oberhalb der Unterkante 18 der Schraubkappe 2 oberhalb jeder Anschlag-Ausnehmung 19 ist eine diese übergreifende, schlitzartige Ausnehmung 23 vorgesehen, welche es ermöglicht, daß der Stegbereich 24 oberhalb jeder Rastausnehmung 19 bei dein Aufdrehvorgang in Richtung des Pfeils 25, wenn also die Unterkante 18 der Schraubkappe 2 auf die Oberseite 26 der Anschlagvorsprünge 17 auftrifft, elastisch nachgeben kann, so daß im Anschluß hieran bei Erreichen der Endposition ein hör- und fühlbares Einrasten erfolgt.
Zur Erzielung eines weichen Aufrastvorganges ist der Bereich 18' der Unterkante 18, der beim Aufschrauben zunächst auf die Oberseite 26 der Anschlag-Vorsprünge 17 auftrifft, in Richtung der Gewindesteigung 22 geneigt ausgebildet, wobei die Neigung etwa der Gewindesteigung 22 entspricht.
Bei der abgewandelten Ausführungsform nach Fig. 3 sind an der Schulter 16a ebenfalls Anschlagvorsprünge 17a vorgesehen, wobei sich oberhalb derselben etwa im Bereich der Anschlagschulter 21a jedoch zusätzlich noch radial von dem Flaschenhals 11a nach außen vorspringende Vorsprünge 27a befinden. Das Gewinde weist eine steilere Steigung 22a auf und die im Bereich oberhalb der Unterkante 18a vorgesehenen Ausnehmungen 23a kommen beim Aufschrauben über den Vorsprüngen 27a diese umgreifend zu liegen.

Claims (7)

  1. Behälter mit einer Schraubkappe, insbesondere für ein Kosmetikum wie Nagellack od.dgl., mit einem Behälterhals mit einem Außengewinde (12), auf welches die Schraubkappe (2) mit einem Innengewinde (13) aufschraubbar ist, wobei im Bereich unterhalb des Außengewindes an dem Behälterhals eine umlaufende Schulter (16) ausgebildet ist und diese Schulter wenigstens einen Anschlag in Form eines Vorsprungs (17; 17a) aufweist, der sich über einen gewissen Umfangswinkelbereich (α) erstreckend von der Ringschulter nach oben vorsteht, und wobei an der Unterkante (18, 18a) der Schraubkappe mit den Anschlag-Vorsprüngen korrespondierende Anschlag-Ausnehmungen (19) vorgesehen sind, welche beim Aufdrehen der Schraubkappe auf die Anschlag-Vorsprünge aufrastbar sind, so daß die Schraubkappe in einer definierten Endposition mit Rücklaufwiderstand festgelegt ist, dadurch gekennzeichnet, daß im Bereich oberhalb jeder Anschlag-Ausnehmung (19) in der Mantelfläche der Schraubkappe (2) eine die Wandstärke verjüngende oder die Wandung durchbrechende Ausnehmung (23) vorgesehen ist.
  2. Behälter nach Anspruch 1, dadurch gekennzeichnet, daß die Ausnehmungen (23) schlitzartig, die Anschlag-Ausnehmungen (19) in Umfangsrichtung übergreifend ausgestaltet sind.
  3. Behälter nach Anspruch 1, dadurch gekennzeichnet, daß der Bereich (18') der Unterkante (18) der Schraubkappe (2), der beim Aufschrauben zunächst auf die Oberseite (26) der behälterseitigen Anschlag-Vorsprünge (17) auftrifft, in Richtung der Gewindesteigung (22) geneigt ausgebildet ist.
  4. Behälter nach Anspruch 3, dadurch gekennzeichnet, daß der Bereich (18') eine Neigung entsprechend der Gewindesteigung (22) aufweist.
  5. Behälter nach Anspruch 1, dadurch gekennzeichnet, daß wenigstens ein Teil der Gewindeflanken (14) des Innengewindes (13) der Schraubkappe (2) elastisch derart ausgebildet ist, daß sich vom Kamm des jeweiligen Gewindegangs eine die Gewindeflanke (14) elastisch nachgiebig machende Nut (15) radial nach innen erstreckt.
  6. Behälter nach Anspruch 1, wobei ein Applikator mit einem Stiel und einem in die Schraubkappe eingerasteten Halteansatz eingesetzt ist, dadurch gekennzeichnet, daß der Halteansatz (6) eine untere Ringschulter (7) derart aufweist, daß diese beim Einrasten der Anschlag-Ausnehmungen (19) in die Anschlag-Vorsprünge (17) plan auf der Stirnseite (8) der Behältermündung unter Ausbildung einer dichten Verbindung anliegt.
  7. Behälter, insbesondere nach Anspruch 1, dadurch gekennzeichnet, daß an dem Behälterhals (11) sich von diesem radial nach außen wegerstreckende Vorsprünge (27a) vorgesehen sind, welche im Schließzustand in die Ausnehmungen (23a) eingreifen.
EP96102699A 1995-03-11 1996-02-23 Behälter, insbesondere für ein Kosmetikum wie Nagellack oder dergleichen Expired - Lifetime EP0732271B1 (de)

Applications Claiming Priority (2)

Application Number Priority Date Filing Date Title
DE19508836A DE19508836A1 (de) 1995-03-11 1995-03-11 Behälter, insbesondere für ein Kosmetikum wie Nagellack oder dergleichen
DE19508836 1995-03-11

Publications (2)

Publication Number Publication Date
EP0732271A1 EP0732271A1 (de) 1996-09-18
EP0732271B1 true EP0732271B1 (de) 1999-02-03

Family

ID=7756421

Family Applications (1)

Application Number Title Priority Date Filing Date
EP96102699A Expired - Lifetime EP0732271B1 (de) 1995-03-11 1996-02-23 Behälter, insbesondere für ein Kosmetikum wie Nagellack oder dergleichen

Country Status (3)

Country Link
US (1) US5810497A (de)
EP (1) EP0732271B1 (de)
DE (2) DE19508836A1 (de)

Families Citing this family (13)

* Cited by examiner, † Cited by third party
Publication number Priority date Publication date Assignee Title
US5972043A (en) * 1998-03-17 1999-10-26 Galvan; Tim Methods for mixing and applying hair coloring compounds, and hair coloring devices and kits which comprise a brush and an enclosed mixing bowl
FR2781653B1 (fr) * 1998-08-03 2000-10-06 Oreal Dispositif pour l'application d'un produit de maquillage comportant une brosse, procede de fabrication et applicateur
US6029676A (en) * 1999-03-19 2000-02-29 Georg Karl Geka-Brush Gmbh Coloring cosmetic unit, in particular mascara unit
US6120202A (en) * 1999-06-21 2000-09-19 Donsky; Robin Nail polish applicator bottle
US6394679B2 (en) 1999-07-21 2002-05-28 Georg Karl Geka-Brush Gmbh Cosmetic unit, in particular mascara unit
DE10229693B4 (de) * 2002-06-27 2005-04-14 Matthias Di Liberto Vorrichtung zum Auftragen von Farbe
US20040134800A1 (en) * 2003-01-13 2004-07-15 Pigeon Timothy Alan Toothbrush cleansing system
DE102005043261A1 (de) * 2005-09-09 2007-03-15 Schmidt, Jürgen Nagellackflasche mit Pinsel
FR2945715B1 (fr) 2009-05-20 2019-06-28 L'oreal Dispositif a effet tactile.
IT1403622B1 (it) * 2011-01-11 2013-10-31 Brivaplast Srl Contenitore con sistema di apertura perfezionato.
DE202011100181U1 (de) * 2011-05-03 2012-08-06 Geka Gmbh Applikatorschnellverschluss
RU195991U1 (ru) * 2018-11-23 2020-02-12 Бривапласт С.Р.Л. Контейнер для жидких или пастообразных продуктов
EP4347429A4 (de) * 2021-06-01 2025-04-30 CR Packaging LLC Behälter und verfahren zur verwendung davon

Family Cites Families (19)

* Cited by examiner, † Cited by third party
Publication number Priority date Publication date Assignee Title
US3160269A (en) * 1961-11-30 1964-12-08 Guild Molders Closure for containers
US3739933A (en) * 1971-03-22 1973-06-19 B Degaetano Liquid-proof safety closure
US3944101A (en) * 1974-04-16 1976-03-16 Landen William James Safety closure
FR2329529A1 (fr) * 1975-10-29 1977-05-27 Giraud Gallaire Ets Capsules de bouchage pour recipients a goulot filete
FR2439137A1 (fr) * 1978-10-17 1980-05-16 Rochas Parfums Dispositif de fermeture de flacon
FR2551731B1 (fr) * 1983-09-12 1985-11-08 Oreal Ensemble pour le conditionnement et l'application d'une substance du type vernis
FR2564070B2 (fr) * 1983-10-13 1987-04-30 Oreal Flacon comportant un dispositif de bouchage oriente angulairement par rapport audit flacon
GB8414455D0 (en) * 1984-06-06 1984-07-11 Metal Box Plc Containers
GB8427911D0 (en) * 1984-11-05 1984-12-12 Evans T G Screw-topped containers
US4896783A (en) * 1985-09-27 1990-01-30 Manufacturers Hanover Trust Company Container and cap assembly
US4664273A (en) * 1986-04-29 1987-05-12 Simon B Kenneth Child-resistant container with resistance indicating means
DE8800744U1 (de) * 1988-01-22 1988-03-24 Georg Karl geka-brush GmbH, 8809 Bechhofen Kosmetik-, insbesondere Nagellackeinheit
DE3942000C1 (de) * 1989-12-20 1990-10-18 Georg Karl Geka-Brush Gmbh, 8809 Bechhofen, De
US5072850A (en) * 1991-04-25 1991-12-17 Gagnon Robert M Receptacle for foodstuffs and the like
US5145080A (en) * 1991-04-26 1992-09-08 Seaquist Closures Positive orientation system for a threaded closure and container
FR2697506B1 (fr) * 1992-10-30 1994-12-30 Reboul Smt Conditionnement à fermeture rapide.
FR2704527B1 (fr) * 1993-04-26 1995-06-30 Oreal Combinaison d'une batterie de recipients et d'une barrette de capuchons, et ensemble d'un recipient et d'un capuchon.
DE9317231U1 (de) * 1993-11-10 1994-02-10 Krämer, Stephan, 52372 Kreuzau Drehdeckelbehälter
DE4402227A1 (de) * 1994-01-27 1995-08-03 Geka Brush Georg Karl Gmbh Behälter mit einer Schraubkappe für Nagellack, Mascaraflüssigkeit o. dgl.

Also Published As

Publication number Publication date
EP0732271A1 (de) 1996-09-18
DE19508836A1 (de) 1996-09-12
US5810497A (en) 1998-09-22
DE59601243D1 (de) 1999-03-18

Similar Documents

Publication Publication Date Title
EP0255062B1 (de) Messbecherverschluss und Verfahren zum Montieren des Verschlusses
EP0520207B1 (de) Flaschenverschlusskappe für Zwei-Komponenten-Packungen
EP0732271B1 (de) Behälter, insbesondere für ein Kosmetikum wie Nagellack oder dergleichen
DE4342251C1 (de) Drehklemmverschluß für Behälter
DE2321758A1 (de) Sicherheitsverschluss fuer einen behaelter mit einer verschlusskappe
DE69000912T2 (de) Verschlussvorrichtung mit sicherheitsdichtung fuer einen behaelter aus festem material (wie glas) mittels eines schraubverschlusses aus festem thermoplastischem material.
EP0257481B1 (de) Kindersicherer Schraubverschluss
EP0593396A1 (de) Garantieverschluss aus Kunststoff
EP0049876A1 (de) Schraubverschluss mit Originalitätssicherung
DE4228090A1 (de) Verschluß für eine Flasche
DE7235159U (de) Behaelterverschluss
CH672625A5 (de)
WO2005087604A1 (de) Sicherheitsdrehverschluss für eine mehrkammerflasche, insbesondere für eine zweikammerflasche
EP0740631B1 (de) Behälter mit einer schraubkappe für nagellack, mascaraflüssigkeit od.dgl.
AT394536B (de) Zweiteilige verschlusskappe mit schraubgewinde
DE2913883C2 (de) Flasche mit Verschlußkappe, insbesondere zur Aufnahme von Parfüms, Duftwässern und anderen flüssigen kosmetischen Produkten
DE3144924C2 (de)
EP0907577B1 (de) Vorrichtung zum verschliessen von behältern
EP0060983B1 (de) Behälter mit Sicherheitsverschluss
EP0052260B1 (de) Kindersicherer Behälter-Verschluss
EP0090143A1 (de) Kindersicherer Druck-Dreh-Verschluss
DE2856433A1 (de) Verschluss fuer behaelter
EP0344357B1 (de) Verschluss für einen flaschenartigen Behälter, insbesondere für Operationsspülwasser o. dgl.
DE2945590A1 (de) Kindersicherer behaelter-verschluss
EP0571780B1 (de) Schraubverschluss

Legal Events

Date Code Title Description
PUAI Public reference made under article 153(3) epc to a published international application that has entered the european phase

Free format text: ORIGINAL CODE: 0009012

AK Designated contracting states

Kind code of ref document: A1

Designated state(s): DE FR GB IT

17P Request for examination filed

Effective date: 19970422

GRAG Despatch of communication of intention to grant

Free format text: ORIGINAL CODE: EPIDOS AGRA

GRAG Despatch of communication of intention to grant

Free format text: ORIGINAL CODE: EPIDOS AGRA

GRAG Despatch of communication of intention to grant

Free format text: ORIGINAL CODE: EPIDOS AGRA

GRAH Despatch of communication of intention to grant a patent

Free format text: ORIGINAL CODE: EPIDOS IGRA

17Q First examination report despatched

Effective date: 19980512

GRAH Despatch of communication of intention to grant a patent

Free format text: ORIGINAL CODE: EPIDOS IGRA

GRAH Despatch of communication of intention to grant a patent

Free format text: ORIGINAL CODE: EPIDOS IGRA

GRAA (expected) grant

Free format text: ORIGINAL CODE: 0009210

AK Designated contracting states

Kind code of ref document: B1

Designated state(s): DE FR GB IT

ET Fr: translation filed
GBT Gb: translation of ep patent filed (gb section 77(6)(a)/1977)

Effective date: 19990204

REF Corresponds to:

Ref document number: 59601243

Country of ref document: DE

Date of ref document: 19990318

ITF It: translation for a ep patent filed
PLBE No opposition filed within time limit

Free format text: ORIGINAL CODE: 0009261

STAA Information on the status of an ep patent application or granted ep patent

Free format text: STATUS: NO OPPOSITION FILED WITHIN TIME LIMIT

26N No opposition filed
REG Reference to a national code

Ref country code: GB

Ref legal event code: IF02

PGFP Annual fee paid to national office [announced via postgrant information from national office to epo]

Ref country code: IT

Payment date: 20080227

Year of fee payment: 13

Ref country code: GB

Payment date: 20080222

Year of fee payment: 13

PGFP Annual fee paid to national office [announced via postgrant information from national office to epo]

Ref country code: FR

Payment date: 20080219

Year of fee payment: 13

Ref country code: DE

Payment date: 20080422

Year of fee payment: 13

GBPC Gb: european patent ceased through non-payment of renewal fee

Effective date: 20090223

REG Reference to a national code

Ref country code: FR

Ref legal event code: ST

Effective date: 20091030

PG25 Lapsed in a contracting state [announced via postgrant information from national office to epo]

Ref country code: DE

Free format text: LAPSE BECAUSE OF NON-PAYMENT OF DUE FEES

Effective date: 20090901

PG25 Lapsed in a contracting state [announced via postgrant information from national office to epo]

Ref country code: GB

Free format text: LAPSE BECAUSE OF NON-PAYMENT OF DUE FEES

Effective date: 20090223

Ref country code: FR

Free format text: LAPSE BECAUSE OF NON-PAYMENT OF DUE FEES

Effective date: 20090302

PG25 Lapsed in a contracting state [announced via postgrant information from national office to epo]

Ref country code: IT

Free format text: LAPSE BECAUSE OF NON-PAYMENT OF DUE FEES

Effective date: 20090223