EP0714151B1 - Antenne large bande monopôle en technologie imprimée uniplanaire et dispositif d'émission et/ou de réception incorporant une telle antenne - Google Patents
Antenne large bande monopôle en technologie imprimée uniplanaire et dispositif d'émission et/ou de réception incorporant une telle antenne Download PDFInfo
- Publication number
- EP0714151B1 EP0714151B1 EP95460040A EP95460040A EP0714151B1 EP 0714151 B1 EP0714151 B1 EP 0714151B1 EP 95460040 A EP95460040 A EP 95460040A EP 95460040 A EP95460040 A EP 95460040A EP 0714151 B1 EP0714151 B1 EP 0714151B1
- Authority
- EP
- European Patent Office
- Prior art keywords
- antenna
- radiating
- antenna according
- feeder
- strand
- Prior art date
- Legal status (The legal status is an assumption and is not a legal conclusion. Google has not performed a legal analysis and makes no representation as to the accuracy of the status listed.)
- Expired - Lifetime
Links
Images
Classifications
-
- H—ELECTRICITY
- H01—ELECTRIC ELEMENTS
- H01Q—ANTENNAS, i.e. RADIO AERIALS
- H01Q13/00—Waveguide horns or mouths; Slot antennas; Leaky-waveguide antennas; Equivalent structures causing radiation along the transmission path of a guided wave
- H01Q13/10—Resonant slot antennas
- H01Q13/106—Microstrip slot antennas
-
- H—ELECTRICITY
- H01—ELECTRIC ELEMENTS
- H01Q—ANTENNAS, i.e. RADIO AERIALS
- H01Q1/00—Details of, or arrangements associated with, antennas
- H01Q1/12—Supports; Mounting means
- H01Q1/22—Supports; Mounting means by structural association with other equipment or articles
- H01Q1/24—Supports; Mounting means by structural association with other equipment or articles with receiving set
- H01Q1/241—Supports; Mounting means by structural association with other equipment or articles with receiving set used in mobile communications, e.g. GSM
- H01Q1/242—Supports; Mounting means by structural association with other equipment or articles with receiving set used in mobile communications, e.g. GSM specially adapted for hand-held use
- H01Q1/243—Supports; Mounting means by structural association with other equipment or articles with receiving set used in mobile communications, e.g. GSM specially adapted for hand-held use with built-in antennas
-
- H—ELECTRICITY
- H01—ELECTRIC ELEMENTS
- H01Q—ANTENNAS, i.e. RADIO AERIALS
- H01Q1/00—Details of, or arrangements associated with, antennas
- H01Q1/36—Structural form of radiating elements, e.g. cone, spiral, umbrella; Particular materials used therewith
- H01Q1/38—Structural form of radiating elements, e.g. cone, spiral, umbrella; Particular materials used therewith formed by a conductive layer on an insulating support
-
- H—ELECTRICITY
- H01—ELECTRIC ELEMENTS
- H01Q—ANTENNAS, i.e. RADIO AERIALS
- H01Q21/00—Antenna arrays or systems
- H01Q21/24—Combinations of antenna units polarised in different directions for transmitting or receiving circularly and elliptically polarised waves or waves linearly polarised in any direction
-
- H—ELECTRICITY
- H01—ELECTRIC ELEMENTS
- H01Q—ANTENNAS, i.e. RADIO AERIALS
- H01Q9/00—Electrically-short antennas having dimensions not more than twice the operating wavelength and consisting of conductive active radiating elements
- H01Q9/04—Resonant antennas
- H01Q9/0407—Substantially flat resonant element parallel to ground plane, e.g. patch antenna
- H01Q9/0421—Substantially flat resonant element parallel to ground plane, e.g. patch antenna with a shorting wall or a shorting pin at one end of the element
-
- H—ELECTRICITY
- H01—ELECTRIC ELEMENTS
- H01Q—ANTENNAS, i.e. RADIO AERIALS
- H01Q9/00—Electrically-short antennas having dimensions not more than twice the operating wavelength and consisting of conductive active radiating elements
- H01Q9/04—Resonant antennas
- H01Q9/0407—Substantially flat resonant element parallel to ground plane, e.g. patch antenna
- H01Q9/045—Substantially flat resonant element parallel to ground plane, e.g. patch antenna with particular feeding means
- H01Q9/0457—Substantially flat resonant element parallel to ground plane, e.g. patch antenna with particular feeding means electromagnetically coupled to the feed line
-
- H—ELECTRICITY
- H01—ELECTRIC ELEMENTS
- H01Q—ANTENNAS, i.e. RADIO AERIALS
- H01Q9/00—Electrically-short antennas having dimensions not more than twice the operating wavelength and consisting of conductive active radiating elements
- H01Q9/04—Resonant antennas
- H01Q9/30—Resonant antennas with feed to end of elongated active element, e.g. unipole
- H01Q9/42—Resonant antennas with feed to end of elongated active element, e.g. unipole with folded element, the folded parts being spaced apart a small fraction of the operating wavelength
Definitions
- the field of the invention is that of radio transmissions. More specifically, the invention relates to transmit and / or receive antennas, in particular for smaller equipment, such as portable devices.
- the invention thus applies, in particular, to radiocommunication systems with mobiles.
- the extension of radiocommunication networks with land mobile requires the development of portable autonomous stations having the dual functionality for transmitting and receiving microwave signals. These stations must therefore include an integrated antenna.
- These antennas are generally in the form of a radiating element installed outside a metal case, for example of rectangular shape, constituting the shielding of one or more electronic cards ensuring in particular modulation and demodulation functions of microwave signals, in transmission and in reception respectively.
- a first known type of antenna is the half-wave doublet, that is to say a doublet of length ⁇ / 2, with ⁇ the operating wavelength.
- the half-wave doublet which generally consists of line elements two-wire (i.e. conductive cylindrical rods) supplied by a line power supply, has relatively broadband performance, which makes it usable in many applications.
- balun traditionally presents itself as a transformer involving localized or distributed impedances, and allowing, when placed between an element radiating symmetrical and an asymmetrical power line, making the currents symmetrical on the radiating structure.
- balun has the disadvantage major to require always a delicate development.
- the half-wave doublets with cylindrical rods have difficult mechanical handling and too much space important (although reduced), the minimum length of the antenna being imposed by the length of the main strands, about ⁇ / 2.
- a second type of antenna even more compact than the half-wave doublet, therefore has been designed.
- This is the inverted F antenna, which consists of a conductive element horizontal rectangular and a vertical rectangular conductive element.
- the element vertical ensures a short circuit function on the horizontal element, by connecting one of its ends to a ground plane.
- this antenna has very dispersive characteristics in frequency, and therefore, consequently, a very low bandwidth, and for example of in the range of 2 to 3%. This is due to the fact that this antenna structure behaves much like a ⁇ / 4 resonator.
- the bandwidth of an antenna is here defined as the frequency band on which the Stationary Wave Ratio (R.O.S) is less than 2. This last parameter represents the ability of the antenna to transmit the active power supplied to it, this which is most critical for small antennas.
- This quantity is directly related to the input impedance of the antenna, which must be adapted to the impedance of the transmission line carrying the microwave signal to send and / or receive.
- this impedance remains substantially constant (i.e. the R.O.S remains lower at 2, an R.O.S. equal to 1 corresponding to a perfect adaptation) over a large band of frequency.
- a bandwidth of 2 to 3% as obtained using an F-antenna is generally insufficient.
- document US 4,825,220 describes a radiating element comprising a dipole integrated into a "balun" structure.
- the ground plane of the line of unbalanced micro ribbon transmission is divided by a central slot so as to form a balanced transmission line acting with the slot located between part of the arms of the dipole formed.
- the ground plane is used as such on a part of the microstrip supply line.
- the invention particularly aims to overcome the drawbacks of the various known types of antenna, including those of half-wave dipoles and F-shaped antennas reversed.
- an objective of the invention is to provide an antenna small footprint with a large pass.
- the invention has in particular aims to provide such an antenna, whose bandwidth is at least of the order from 20 to 30% and having a reduced bulk especially in relation to an antenna in inverted F.
- the invention also aims to provide a self-symmetrized antenna, and does not therefore requiring no balun.
- the invention also aims to provide such an antenna, which can operate over a wide range of input impedances, and in particular for input impedances between 10 and 200 Ohms.
- the antenna of the invention is therefore produced in printed technology, which allows considerable space savings and much easier mechanical maintenance.
- the main surface of the conductive deposit constituting a plane of ground for the supply line, ensures that the supply is autosymmetrized.
- the antenna according to the invention does not require the joint use of a balun.
- the supply line feeds the radiating strand through the slit coupling.
- the antenna according to the invention is based in particular on a new adaptation and inventive of the inverted F antenna. Indeed, the two-dimensional configuration of the inverted F antenna was projected in a single plane containing the entire antenna. In in other words, the radiating strand and the ground plane are no longer in two planes separate parallels, but in the same plane. Compared to the inverted F antenna, the antenna of the invention is therefore much more compact since it overcomes the height h between the radiating strand (or horizontal conducting element) and the ground plane.
- the antenna of the invention has a much wider bandwidth than that of an inverted F antenna. This is explained in particular by the fact that for the inverted F antenna, the radiating strand is located just above the ground plane and forms with this a cavity which is very selective in frequency (generally 2 to 3% of bandwidth). On the other hand, in the case of the invention, the ground plane and the strand radiating are located in the same plane, so the cavity effect is much less marked. This achieves bandwidths close to 25%, and simultaneously cover the transmit band and the receive band.
- said supply line and said coupling slot are cross at a point called cross point, said supply line having a end portion, or series stub, extending beyond said crossing point of a first adaptable length, and said coupling slot having a portion end, or parallel stub, extending beyond said crossing point by one second adaptable length.
- At least one of the elements belonging to the group comprising said radiating strand, said main surface, and said coupling slot is shaped substantially rectangular.
- said conductive deposit comprises at least two strands radiant, the longitudinal space between each of said radiating strands and said main surface forming a separate coupling slot.
- the antenna comprises at least two feed lines, each of said radiating strands cooperating with one of said supply lines.
- said radiating strand has at least one bend, so that said radiating strand extends at least partially along at least two sides of said main surface.
- the overall size of the antenna is limited since the minimum antenna dimension is no longer linked to the total length of the radiating strand but only along the sides of the main surface of the conductive deposit.
- said radiating strand has a variable width. So, the bandwidth of the antenna is increased.
- said radiating strand exhibits at least one offset on the at least one of the longitudinal edges and / or at least one light on its surface.
- the light on the surface of the radiating strand is for example a slot.
- the antenna comprises also a ground plane placed at a predetermined distance from said line Power.
- ground plane is without radiating element, it makes it possible to remove the stray radiation from the power line and get radiation in a half space only
- said ground plane is a conductive deposit of same shape as that located on the second face of said substrate plate, comprising a main surface and at least one radiating strand.
- the ground plane makes it possible to obtain a symmetrical radiation of each side of the antenna.
- said supply line has an impedance substantially between 10 Ohms and 200 Ohms.
- the length of said radiating strand is substantially understood between ⁇ / 8 and ⁇ / 4, ⁇ being the wavelength of said microwave signals.
- the invention also relates to a device for transmitting and / or receiving microwave signals, comprising at least one antenna as described above.
- the invention therefore relates to a reduced-size antenna with wide bandwidth.
- This antenna is in particular intended to equip portable devices, and for example transmitters / receivers of radiocommunication networks with land mobiles.
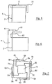
- FIGS. 1A and 1B which are respectively a top view and a view of side, illustrate a first embodiment of the invention.
- the antenna comprises a substrate plate 1 (not shown in FIG. 1), a supply line 2 and a conductive deposit 3.
- the supply line 2 is located on a first face (the lower face by example) of the substrate plate 1. This is for example a microstrip line.
- the conductive deposit 3, for example of copper, is located on a second face (the upper side for example) of the substrate plate 1 and can decompose (fictitiously, since it is in practice made in one piece) in three parts: a main surface 4, an intermediate part 5 and a radiating strand 6.
- the main surface 4 (rectangular in this example) of the conductive deposit 3 constitutes a ground plan for the supply line 2 located on the other side of the substrate plate 1.
- the antenna therefore generates symmetrical currents on the strand radiating 6.
- the antenna of the invention is autosymmetrized.
- the radiating strand 6 is rectangular and has a first end connected to the main surface 4 of the conductive deposit 3 by the intermediate part 5, and a second free end extending partially along one side of the surface main 4 of the driver depot 3.
- the length of the radiating strand 6 is close to ⁇ / 4, with ⁇ the wavelength the antenna.
- the antenna of the invention which is planar and whose maximum length is ⁇ / 4, has a smaller footprint than that of a dipole of length ⁇ / 2 or else than that of an inverted F antenna of length ⁇ / 4 but whose radiating strand is spaced a height h from the ground plane.
- the antenna of the invention not only has a very small footprint but also a large bandwidth. Indeed, the main surface 4 of the depot conductor 3 behaves like a ground plane, especially with respect to the line supply 2 and the coupling slot 7, and very little vis-à-vis the radiating strand 6, this which greatly reduces the selectivity of the antenna. In addition, the cavity effect (and therefore the antenna selectivity) is much less marked than for an inverted F antenna since the ground plane (that is to say the main surface 4 of the conductive deposit 3) and the radiating strand 6 are located in the same plane.
- the antenna according to the invention has a bandwidth of 20 to 30% and can be easily incorporated inside an ultra-light portable handset.
- the longitudinal space between the radiating strand 6 and the main surface 4 of the conductive deposit 3 forms a coupling slot 7 through which the supply line 2 supplies the radiating strand 6.
- the coupling slot 7 is also rectangular.
- FIG 2 is a partial detailed view of the antenna shown in Figure 1A.
- the antenna of the invention includes a serial stub and a parallel stub. These series and parallel stubs allow adaptation of the antenna according to the known principle of double stub adaptation, on a wide frequency band.
- FIG. 3 presents a variation curve, as a function of the frequency, of the standing wave ratio (or ROS) for an example of antenna according to the first mode of embodiment of FIGS. 1A and 2.
- This curve is used to calculate the bandwidth [f1, f2], defined here as the frequency band for which the ROS remains below 2.
- This bandwidth can also expressed as a percentage, obtained by dividing the width (f2, f1) of the bandwidth by the central frequency f3 of this band.
- the antenna according to the invention therefore has a bandwidth wide enough to simultaneously cover the transmission band and the transmission band reception.
- Figure 4 presents a variation curve, in a Smith chart, of the input impedance for the previous antenna example.
- the antenna is not, in this example, perfectly optimized. Indeed, better centering of the loop relative to the center of the abacus Smith would increase the performance of the antenna.
- the impedance of the power line carrying the HF signal to was set at 50 ⁇ , but this value does not constitute a characteristic decisive, because the input impedance of the antenna according to the invention can take any value between 10 and 200 ⁇ .
- FIG. 5 presents a top view of a second embodiment of the antenna according to the invention.
- This second embodiment differs from the first in that that the radiating strand 6 has an elbow 51 and extends along two sides of the main surface 4 of the conductive deposit 3.
- the overall size of the antenna is further reduced. If the length of radiating strand 6 is equal to ⁇ / 4, we can, by creating a elbow 51 at mid-length, reach dimensions close to ⁇ / 8. It is clear that the elbow 51 is not necessarily in the center of the radiating strand 6, or else that the radiating strand 6 may include more than one bend, so as to extend along more than two sides of the main surface 4.
- FIG. 6 presents a top view of a third embodiment of the antenna according to the invention.
- This third embodiment differs from the first in that the radiating strand 6 has a variable width over its length. This width variable, when chosen appropriately, increases bandwidth of the antenna.
- the radiating strand 6 has a recess 61, 62 on each of its longitudinal edges. It should be noted that in other embodiments, the radiating strand 6 may have a slit in the middle, or have several recesses on each of its longitudinal edges, or present one or more recesses on only one of its longitudinal edges.
- FIG. 7 shows a top view of a fourth embodiment of the antenna according to the invention.
- the antenna comprises several radiating strands 6 A , 6 B , 6 C , 6 D (four in this example).
- Each radiating strand 6 A , 6 B , 6 C , 6 D is connected to the main surface 4 by an intermediate part 5 A , 5 B , 5 C , 5 D , and each longitudinal space comprised between a radiating strand 6 A , 6 B , 6 C , 6 D and the main surface 4 forms a separate coupling slot 6 A , 6 B , 6 C , 6 D.
- the radiating strands 6 A , 6 B , 6 C , 6 D may or may not be identical.
- a single supply line can supply all the radiating strands 6 A , 6 B , 6 C , 6 D , or else several supply lines can be used.
- a single supply line can supply all the radiating strands 6 A , 6 B , 6 C , 6 D , or else several supply lines can be used.
- the antenna comprises means 71 for shaping the HF signals received from a main supply line (not shown) and to be transmitted on the various secondary supply lines 2 A , 2 B , 2 C , 2 D associated with the different radiating strands 6 A , 6 B , 6 C , 6 D.
- the elements (dividers, phase shifters) constituting the means 71 for shaping signals can be produced by different lengths of supply lines, by hybrid rings, or by any other solution known to those skilled in the art profession and performing the desired function.
- the antenna may for example include another ground plane, placed at a predetermined distance from the supply line and separated from it by air or by a dielectric.
- the antenna comprises the successive layers following: a ground plane, a dielectric, a supply line, a plate substrate and a conductive deposit.
- the role of the additional ground plane is for example remove stray radiation from the power line and obtain a radiation in half a space only.
- the additional ground plane is produced under form of a conductive deposit also comprising a main surface and a strand radiating associated with a slit. In this case, we obtain a symmetrical radiation of each side of the antenna.
- a strand radiating can have a variable width and extend on two sides of the surface main of the driver's depot.
- the invention also relates to any device for transmitting and / or receiving microwave signals equipped with an antenna according to the invention.
- Possibly, such device can comprise several antennas, and in particular a transmitting antenna and a receiving antenna.
Landscapes
- Engineering & Computer Science (AREA)
- Computer Networks & Wireless Communication (AREA)
- Physics & Mathematics (AREA)
- Electromagnetism (AREA)
- Waveguide Aerials (AREA)
- Support Of Aerials (AREA)
- Transceivers (AREA)
Applications Claiming Priority (2)
| Application Number | Priority Date | Filing Date | Title |
|---|---|---|---|
| FR9414198A FR2727250A1 (fr) | 1994-11-22 | 1994-11-22 | Antenne large bande monopole en technologie imprimee uniplanaire et dispositif d'emission et/ou de reception incorporant une telle antenne |
| FR9414198 | 1994-11-22 |
Publications (2)
| Publication Number | Publication Date |
|---|---|
| EP0714151A1 EP0714151A1 (fr) | 1996-05-29 |
| EP0714151B1 true EP0714151B1 (fr) | 2003-09-03 |
Family
ID=9469188
Family Applications (1)
| Application Number | Title | Priority Date | Filing Date |
|---|---|---|---|
| EP95460040A Expired - Lifetime EP0714151B1 (fr) | 1994-11-22 | 1995-11-06 | Antenne large bande monopôle en technologie imprimée uniplanaire et dispositif d'émission et/ou de réception incorporant une telle antenne |
Country Status (5)
| Country | Link |
|---|---|
| US (1) | US5835063A (enExample) |
| EP (1) | EP0714151B1 (enExample) |
| JP (1) | JPH08256009A (enExample) |
| DE (1) | DE69531655T2 (enExample) |
| FR (1) | FR2727250A1 (enExample) |
Families Citing this family (48)
| Publication number | Priority date | Publication date | Assignee | Title |
|---|---|---|---|---|
| US6138050A (en) * | 1997-09-17 | 2000-10-24 | Logitech, Inc. | Antenna system and apparatus for radio-frequency wireless keyboard |
| US5929813A (en) * | 1998-01-09 | 1999-07-27 | Nokia Mobile Phones Limited | Antenna for mobile communications device |
| EP0929115A1 (en) * | 1998-01-09 | 1999-07-14 | Nokia Mobile Phones Ltd. | Antenna for mobile communications device |
| US6016126A (en) * | 1998-05-29 | 2000-01-18 | Ericsson Inc. | Non-protruding dual-band antenna for communications device |
| AU2979700A (en) * | 1999-02-02 | 2000-08-25 | Qualcomm Incorporated | Wireless phone design for improving radiation performance |
| US6140970A (en) * | 1999-04-30 | 2000-10-31 | Nokia Mobile Phones Limited | Radio antenna |
| US6414640B1 (en) * | 2000-04-18 | 2002-07-02 | Nokia Corporation | Antenna assembly, and associated method, which exhibits circular polarization |
| FR2811478A1 (fr) * | 2000-07-05 | 2002-01-11 | Eaton Corp | Antenne plane a alimentation gamma |
| JP3830358B2 (ja) * | 2001-03-23 | 2006-10-04 | 日立電線株式会社 | 平板アンテナおよびそれを備えた電気機器 |
| US6456243B1 (en) | 2001-06-26 | 2002-09-24 | Ethertronics, Inc. | Multi frequency magnetic dipole antenna structures and methods of reusing the volume of an antenna |
| JP3622959B2 (ja) * | 2001-11-09 | 2005-02-23 | 日立電線株式会社 | 平板アンテナの製造方法 |
| KR100454103B1 (ko) * | 2002-01-30 | 2004-10-26 | 주식회사 선우커뮤니케이션 | 광대역 특성을 갖는 비대칭 평판형 다이폴 안테나 및 이를이용한 다이폴 안테나 어레이 구조 |
| US6573867B1 (en) | 2002-02-15 | 2003-06-03 | Ethertronics, Inc. | Small embedded multi frequency antenna for portable wireless communications |
| JP3656610B2 (ja) * | 2002-03-27 | 2005-06-08 | 日立電線株式会社 | 板状アンテナおよびそれを備えた電気機器 |
| US6744410B2 (en) * | 2002-05-31 | 2004-06-01 | Ethertronics, Inc. | Multi-band, low-profile, capacitively loaded antennas with integrated filters |
| US6943730B2 (en) * | 2002-04-25 | 2005-09-13 | Ethertronics Inc. | Low-profile, multi-frequency, multi-band, capacitively loaded magnetic dipole antenna |
| GB0210601D0 (en) * | 2002-05-09 | 2002-06-19 | Koninkl Philips Electronics Nv | Antenna arrangement and module including the arrangement |
| JP3690375B2 (ja) | 2002-07-09 | 2005-08-31 | 日立電線株式会社 | 板状多重アンテナおよびそれを備えた電気機器 |
| US6859175B2 (en) | 2002-12-03 | 2005-02-22 | Ethertronics, Inc. | Multiple frequency antennas with reduced space and relative assembly |
| US6911940B2 (en) * | 2002-11-18 | 2005-06-28 | Ethertronics, Inc. | Multi-band reconfigurable capacitively loaded magnetic dipole |
| US7084813B2 (en) * | 2002-12-17 | 2006-08-01 | Ethertronics, Inc. | Antennas with reduced space and improved performance |
| JP2004208223A (ja) * | 2002-12-26 | 2004-07-22 | Alps Electric Co Ltd | 2バンド共用パッチアンテナ |
| TW574767B (en) * | 2003-01-13 | 2004-02-01 | Uniwill Comp Corp | Antenna and shield assembly and wireless transmission module thereof |
| US6919857B2 (en) * | 2003-01-27 | 2005-07-19 | Ethertronics, Inc. | Differential mode capacitively loaded magnetic dipole antenna |
| US7123209B1 (en) | 2003-02-26 | 2006-10-17 | Ethertronics, Inc. | Low-profile, multi-frequency, differential antenna structures |
| JP2004343402A (ja) * | 2003-05-15 | 2004-12-02 | Nippon Antenna Co Ltd | アンテナ装置 |
| KR100544675B1 (ko) * | 2003-10-18 | 2006-01-23 | 한국전자통신연구원 | 마이크로스트립 패치 어레이 안테나를 이용한 위성신호중계 장치 |
| KR100594964B1 (ko) * | 2003-12-24 | 2006-06-30 | 한국전자통신연구원 | 광대역 편파 고정형 역 엘형 안테나 |
| JP4213634B2 (ja) | 2004-06-24 | 2009-01-21 | インターナショナル・ビジネス・マシーンズ・コーポレーション | 通信機能を備えた携帯情報端末 |
| US7432860B2 (en) * | 2006-05-17 | 2008-10-07 | Sony Ericsson Mobile Communications Ab | Multi-band antenna for GSM, UMTS, and WiFi applications |
| US9317798B2 (en) * | 2007-08-29 | 2016-04-19 | Intelleflex Corporation | Inverted F antenna system and RFID device having same |
| KR101472371B1 (ko) * | 2007-09-21 | 2014-12-15 | 삼성전자주식회사 | 다중 주파수 대역 사용을 위한 안테나 및 이를 이용하는안테나 시스템 |
| FR2925772A1 (fr) * | 2007-12-21 | 2009-06-26 | Thomson Licensing Sas | Dispositif rayonnant multi secteurs presentant un mode omnidirectionnel |
| KR100960961B1 (ko) | 2008-02-15 | 2010-06-03 | 경기대학교 산학협력단 | 메타머터리얼 구조를 이용한 소형 이중 대역 모노폴 안테나 |
| TWI388086B (zh) * | 2008-10-28 | 2013-03-01 | Wistron Neweb Corp | 槽孔天線 |
| CN101740856B (zh) * | 2008-11-06 | 2013-09-18 | 启碁科技股份有限公司 | 槽孔天线 |
| FR2942676A1 (fr) * | 2009-02-27 | 2010-09-03 | Thomson Licensing | Systeme d'antennes compact a diversite d'ordre 2. |
| TWI393291B (zh) * | 2009-03-27 | 2013-04-11 | Acer Inc | 一種單極槽孔天線 |
| TWI451631B (zh) | 2010-07-02 | 2014-09-01 | Ind Tech Res Inst | 一種多頻天線以及使天線可多頻操作之方法 |
| US8610626B2 (en) | 2010-12-09 | 2013-12-17 | Industrial Technology Research Institute | Antenna with slot |
| TWI483464B (zh) * | 2011-10-20 | 2015-05-01 | Acer Inc | 通訊裝置及其天線結構 |
| GB201210114D0 (en) * | 2012-06-08 | 2012-07-25 | Ucl Business Plc | Antenna configuration for use in a mobile communication device |
| TWI508367B (zh) | 2012-09-27 | 2015-11-11 | Ind Tech Res Inst | 通訊裝置及其天線元件之設計方法 |
| WO2014202118A1 (en) * | 2013-06-18 | 2014-12-24 | Telefonaktiebolaget L M Ericsson (Publ) | Inverted f-antennas at a wireless communication node |
| DE202014002207U1 (de) * | 2014-02-18 | 2014-04-09 | Antennentechnik Abb Bad Blankenburg Gmbh | Mehrbereichsantenne für eine Empfangs- und/oder Sendeeinrichtung für den mobilen Einsatz |
| US9742063B2 (en) | 2014-06-13 | 2017-08-22 | Arcadyan Technology Corporation | External LTE multi-frequency band antenna |
| CN104134857B (zh) * | 2014-08-01 | 2016-05-18 | 清华大学 | 一种八频段平面印刷手机天线 |
| EP3367504B1 (de) | 2017-02-27 | 2019-01-23 | Sick AG | Antenne für eine rfid-lesevorrichtung und verfahren zum senden und/oder empfangen von rfid-signalen |
Family Cites Families (8)
| Publication number | Priority date | Publication date | Assignee | Title |
|---|---|---|---|---|
| FR2311422A1 (fr) * | 1975-05-15 | 1976-12-10 | France Etat | Doublet replie en plaques |
| US4072951A (en) * | 1976-11-10 | 1978-02-07 | The United States Of America As Represented By The Secretary Of The Navy | Notch fed twin electric micro-strip dipole antennas |
| FR2487588A1 (fr) * | 1980-07-23 | 1982-01-29 | France Etat | Doublets replies en plaques pour tres haute frequence et reseaux de tels doublets |
| US4825220A (en) * | 1986-11-26 | 1989-04-25 | General Electric Company | Microstrip fed printed dipole with an integral balun |
| JP3239435B2 (ja) * | 1992-04-24 | 2001-12-17 | ソニー株式会社 | 平面アンテナ |
| FR2699740B1 (fr) * | 1992-12-23 | 1995-03-03 | Patrice Brachat | Antenne large bande à encombrement réduit, et dispositif d'émission et/ou de réception correspondant. |
| US5539414A (en) * | 1993-09-02 | 1996-07-23 | Inmarsat | Folded dipole microstrip antenna |
| FR2709604B1 (fr) * | 1993-09-02 | 1995-10-20 | Sat | Antenne pour appareil radio portatif. |
-
1994
- 1994-11-22 FR FR9414198A patent/FR2727250A1/fr active Granted
-
1995
- 1995-11-06 DE DE69531655T patent/DE69531655T2/de not_active Expired - Lifetime
- 1995-11-06 EP EP95460040A patent/EP0714151B1/fr not_active Expired - Lifetime
- 1995-11-22 JP JP7304526A patent/JPH08256009A/ja active Pending
-
1997
- 1997-09-30 US US08/941,178 patent/US5835063A/en not_active Expired - Lifetime
Also Published As
| Publication number | Publication date |
|---|---|
| EP0714151A1 (fr) | 1996-05-29 |
| DE69531655T2 (de) | 2004-06-24 |
| JPH08256009A (ja) | 1996-10-01 |
| FR2727250B1 (enExample) | 1997-02-07 |
| FR2727250A1 (fr) | 1996-05-24 |
| US5835063A (en) | 1998-11-10 |
| DE69531655D1 (de) | 2003-10-09 |
Similar Documents
| Publication | Publication Date | Title |
|---|---|---|
| EP0714151B1 (fr) | Antenne large bande monopôle en technologie imprimée uniplanaire et dispositif d'émission et/ou de réception incorporant une telle antenne | |
| EP0604338B1 (fr) | Antenne large bande à encombrement réduit, et dispositf d'émission/réception correspondant | |
| EP3669422B1 (fr) | Antenne plaquée présentant deux modes de rayonnement différents à deux fréquences de travail distinctes, dispositif utilisant une telle antenne | |
| EP0805512B1 (fr) | Antenne imprimée compacte pour rayonnement à faible élévation | |
| EP0123350B1 (fr) | Antenne plane hyperfréquences à réseau de lignes microruban complètement suspendues | |
| EP0542595B1 (fr) | Dispositif d'antenne microruban perfectionné, notamment pour transmissions téléphoniques par satellite | |
| FR2810163A1 (fr) | Perfectionnement aux antennes-sources d'emission/reception d'ondes electromagnetiques | |
| FR2752646A1 (fr) | Antenne imprimee plane a elements superposes court-circuites | |
| EP1075043A1 (fr) | Antenne à empilement de structures résonantes et dispositif de radiocommunication multifréquence incluant cette antenne | |
| EP0403910A1 (fr) | Elément rayonnant diplexant | |
| FR2778272A1 (fr) | Dispositif de radiocommunication et antenne bifrequence realisee selon la technique des microrubans | |
| EP1902491A1 (fr) | Systeme d'antenne a diversite d'ordre 2 et carte pour appareil de communication sans fil munie d'un tel systeme | |
| FR2640431A1 (fr) | Dispositif rayonnant multifrequence | |
| EP0098192B1 (fr) | Dispositif de multiplexage pour grouper deux bandes de fréquences | |
| FR2817661A1 (fr) | Dispositif pour la reception et/ou l'emission de signaux multifaisceaux | |
| EP0888647A1 (fr) | Antenne helice a alimentation large bande integree, et procedes de fabrication correspondants | |
| EP0888648B1 (fr) | Antenne helicoidale a moyens de duplexage integres, et procedes de fabrication correspondants | |
| EP3258543A1 (fr) | Antenne wifi compacte a reflecteur en metamateriau | |
| EP1466384A1 (fr) | Dispositif pour la reception et/ou l emission d ondes e lectromagnetiques a diversite de rayonnement | |
| EP2610966B1 (fr) | Antenne compacte large bande à très faible épaisseur et à double polarisations linéaires orthogonales opérant dans les bandes V/UHF | |
| FR2833764A1 (fr) | Dispositif pour la reception et/ou l'emission de signaux electromagnetiques polarises circulairement | |
| EP0463263B1 (fr) | Antenne omnidirective en polarisation circulaire transversale à maximum de gain sous l'horizon | |
| EP0605338A1 (fr) | Antenne plaquée à double polarisation et dispositif d'émission/réception correspondant | |
| EP0477102B1 (fr) | Réseau directif pour radiocommunications, à éléments rayonnants adjacents et ensemble de tels réseaux directifs | |
| EP0860895A1 (fr) | Antenne résonnante pour l'émission ou la réception d'ondes polarisées |
Legal Events
| Date | Code | Title | Description |
|---|---|---|---|
| PUAI | Public reference made under article 153(3) epc to a published international application that has entered the european phase |
Free format text: ORIGINAL CODE: 0009012 |
|
| AK | Designated contracting states |
Kind code of ref document: A1 Designated state(s): DE GB |
|
| 17P | Request for examination filed |
Effective date: 19960903 |
|
| 17Q | First examination report despatched |
Effective date: 20000829 |
|
| GRAH | Despatch of communication of intention to grant a patent |
Free format text: ORIGINAL CODE: EPIDOS IGRA |
|
| GRAS | Grant fee paid |
Free format text: ORIGINAL CODE: EPIDOSNIGR3 |
|
| GRAA | (expected) grant |
Free format text: ORIGINAL CODE: 0009210 |
|
| AK | Designated contracting states |
Kind code of ref document: B1 Designated state(s): DE GB |
|
| REG | Reference to a national code |
Ref country code: GB Ref legal event code: FG4D Free format text: NOT ENGLISH |
|
| REF | Corresponds to: |
Ref document number: 69531655 Country of ref document: DE Date of ref document: 20031009 Kind code of ref document: P |
|
| GBT | Gb: translation of ep patent filed (gb section 77(6)(a)/1977) |
Effective date: 20031224 |
|
| PLBE | No opposition filed within time limit |
Free format text: ORIGINAL CODE: 0009261 |
|
| STAA | Information on the status of an ep patent application or granted ep patent |
Free format text: STATUS: NO OPPOSITION FILED WITHIN TIME LIMIT |
|
| 26N | No opposition filed |
Effective date: 20040604 |
|
| PGFP | Annual fee paid to national office [announced via postgrant information from national office to epo] |
Ref country code: DE Payment date: 20101025 Year of fee payment: 16 |
|
| PGFP | Annual fee paid to national office [announced via postgrant information from national office to epo] |
Ref country code: GB Payment date: 20101026 Year of fee payment: 16 |
|
| GBPC | Gb: european patent ceased through non-payment of renewal fee |
Effective date: 20111106 |
|
| REG | Reference to a national code |
Ref country code: DE Ref legal event code: R119 Ref document number: 69531655 Country of ref document: DE Effective date: 20120601 |
|
| PG25 | Lapsed in a contracting state [announced via postgrant information from national office to epo] |
Ref country code: GB Free format text: LAPSE BECAUSE OF NON-PAYMENT OF DUE FEES Effective date: 20111106 |
|
| PG25 | Lapsed in a contracting state [announced via postgrant information from national office to epo] |
Ref country code: DE Free format text: LAPSE BECAUSE OF NON-PAYMENT OF DUE FEES Effective date: 20120601 |