EP0415299B1 - Reinigungsgerät für Flächen, insbesondere Fensterscheiben - Google Patents
Reinigungsgerät für Flächen, insbesondere Fensterscheiben Download PDFInfo
- Publication number
- EP0415299B1 EP0415299B1 EP90116331A EP90116331A EP0415299B1 EP 0415299 B1 EP0415299 B1 EP 0415299B1 EP 90116331 A EP90116331 A EP 90116331A EP 90116331 A EP90116331 A EP 90116331A EP 0415299 B1 EP0415299 B1 EP 0415299B1
- Authority
- EP
- European Patent Office
- Prior art keywords
- pin
- screwthreading
- halves
- axially
- holder
- Prior art date
- Legal status (The legal status is an assumption and is not a legal conclusion. Google has not performed a legal analysis and makes no representation as to the accuracy of the status listed.)
- Expired - Lifetime
Links
- 238000004140 cleaning Methods 0.000 title claims description 65
- 238000010276 construction Methods 0.000 claims description 2
- 241000047428 Halter Species 0.000 description 5
- 239000007788 liquid Substances 0.000 description 3
- 238000000576 coating method Methods 0.000 description 2
- 238000006073 displacement reaction Methods 0.000 description 2
- 230000002745 absorbent Effects 0.000 description 1
- 239000002250 absorbent Substances 0.000 description 1
- 238000010521 absorption reaction Methods 0.000 description 1
- 230000002411 adverse Effects 0.000 description 1
- 238000003780 insertion Methods 0.000 description 1
- 230000037431 insertion Effects 0.000 description 1
- 210000001503 joint Anatomy 0.000 description 1
- 239000000463 material Substances 0.000 description 1
Images
Classifications
-
- A—HUMAN NECESSITIES
- A47—FURNITURE; DOMESTIC ARTICLES OR APPLIANCES; COFFEE MILLS; SPICE MILLS; SUCTION CLEANERS IN GENERAL
- A47L—DOMESTIC WASHING OR CLEANING; SUCTION CLEANERS IN GENERAL
- A47L1/00—Cleaning windows
- A47L1/06—Hand implements
-
- Y—GENERAL TAGGING OF NEW TECHNOLOGICAL DEVELOPMENTS; GENERAL TAGGING OF CROSS-SECTIONAL TECHNOLOGIES SPANNING OVER SEVERAL SECTIONS OF THE IPC; TECHNICAL SUBJECTS COVERED BY FORMER USPC CROSS-REFERENCE ART COLLECTIONS [XRACs] AND DIGESTS
- Y10—TECHNICAL SUBJECTS COVERED BY FORMER USPC
- Y10T—TECHNICAL SUBJECTS COVERED BY FORMER US CLASSIFICATION
- Y10T279/00—Chucks or sockets
- Y10T279/17—Socket type
- Y10T279/17931—Screw threaded
- Y10T279/17941—Nut lock
- Y10T279/17948—Threaded sleeve
-
- Y—GENERAL TAGGING OF NEW TECHNOLOGICAL DEVELOPMENTS; GENERAL TAGGING OF CROSS-SECTIONAL TECHNOLOGIES SPANNING OVER SEVERAL SECTIONS OF THE IPC; TECHNICAL SUBJECTS COVERED BY FORMER USPC CROSS-REFERENCE ART COLLECTIONS [XRACs] AND DIGESTS
- Y10—TECHNICAL SUBJECTS COVERED BY FORMER USPC
- Y10T—TECHNICAL SUBJECTS COVERED BY FORMER US CLASSIFICATION
- Y10T403/00—Joints and connections
- Y10T403/67—Thimble: screw or cam
Definitions
- the invention relates to a cleaning device for surfaces, in particular window panes, consisting of a handle bar, one end of which is formed as an inner sleeve surrounded by a rotatable outer sleeve provided with an internal thread and provided with an axially extending slot for receiving the pin of a holder, on the center strips or rod-shaped cleaning elements are releasably secured.
- cleaning devices of this type strip-shaped cleaning elements equipped with wiper blades or rod-shaped cleaning elements equipped with sponge or lambskin-like coatings are used.
- the cleaning elements equipped with such coatings the surface to be cleaned is wetted with cleaning liquid, while the strip-shaped ones equipped with wiper blades Cleaning elements, the liquid is stripped from the surface to be cleaned.
- a cleaning device is equipped with both types of cleaning elements, the operator only needs to turn the cleaning device through 180 ° for the two successive tasks.
- Such cleaning elements are detachably attached to the more or less long handle bar, but the fastening means are not designed for quick and frequent changing of the cleaning elements.
- a generic cleaning device is known from British Patent GB 1 280 579.
- a two-part holder is carried by a pin into which the inner sleeve formed at the end of the handle bar can be inserted.
- Holding jaws are attached to the upper ends of the holder halves, between which the cleaning element can be clamped.
- One of the halves of the holder is firmly connected to the holder pin, while the second half can be pivoted away from the first to receive the cleaning element.
- On the outside of the fixed holder half is formed a circumferential thread section around the holder half, into which the internal thread of the outer sleeve engages when it is rotated after it has been pushed axially over the inner sleeve. During this screwing, the swiveling holder half is pressed against the fixed holder half and the cleaning element is clamped between the holder jaws.
- Another cleaning device in which a pin of a holder for a cleaning element can be inserted into an inner sleeve formed at the end of the handle bar, is known from British Patent GB 1,553,004.
- a nut-shaped projection is formed on the outside of the pin.
- the outer sleeve surrounding the inner sleeve has a corresponding groove which can be made to coincide with the slot of the inner sleeve by rotating the outer sleeve in the manner of a lock. In this position, the holder pin can be inserted into the sleeve. After the pin has been inserted, the projection of the pin is locked by rotating the outer sleeve and thus preventing the holder from falling out of the handle.
- this cleaning device compared to that described above is that the holder can be easily attached to the handle end.
- the holder is not connected to the handlebar with the strength required for a perfect wiping result.
- this cleaning device it is also not possible with this cleaning device to attach more than one cleaning device at the end of the handlebar.
- the invention has for its object to provide a cleaning device of the type mentioned, in which the cleaning elements can be exchanged with a quick handle and permanently fixed against axial movement in the direction of the axis of the holder and against rotation about the axis of the holder.
- the cleaning device should be suitable for a wide variety of equipment with cleaning elements.
- the cleaning device according to the invention can be equipped with a single cleaning element or two different cleaning elements.
- the second pin half carries no cleaning element. In this case, it only contributes to the fixation of the other pin half carrying a cleaning element.
- the cleaning elements can be released or axially locked in the inner sleeve. A laborious unscrewing, possibly even with the help of tools, is not necessary. Securing against rotation about the axis of the holder takes place via the positive locking of the external thread sections of the two pin halves, which engage in the axial slots of the inner sleeve.
- both internal and external thread sections are designed identically.
- the longitudinally divided pin can be inserted into the inner sleeve in both 180 ° positions and braced by rotating the outer sleeve, because the outer and inner thread sections correspond to one another in each of the two positions.
- the inner sleeve has such a stop for the pin that when the pin abuts the stop, the external thread sections correspond to the internal thread sections. A cumbersome axial alignment with regard to the corresponding external and internal thread sections is therefore not necessary.
- the two cleaning elements can be moved relative to one another in the axial direction of the pin.
- the two pin halves are axially secured on their abutting inner sides by a toothing, the division of which is matched to the division of the threaded sections in such a way that in every possible axial Position of the two pin halves correspond to the threaded sections.
- the two pin halves can be secured on their inner sides that lie against one another by an axial tongue and groove connection against rotation about a normal axis on the inner sides.
- This tongue and groove connection does not adversely affect the previously described axial displacement of the two pin halves in the pitch of the toothing.
- the two inner sides of the pin halves are designed identically with regard to the toothing and / or the tongue and groove connection.
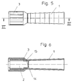
- the cleaning device has a hollow cylindrical handle bar 1, into which an extension bar can be inserted, a hollow cylindrical inner sleeve 2 formed thereon, an outer sleeve 3 rotatably but axially immovably mounted thereon and a two-part holder 4 which is connected to an axially split pin 5, 6 is in the inner sleeve 2.
- One holding part 7 of the two-part holder 4 is set up for screwing on two rod-shaped arms which can be equipped with a tube-like covering made of a lambskin-like or other absorbent material. To increase the absorption of liquid are in the Holding part 7 and the arms 8 chambers 9,10 formed.
- the other holding part 10 of the holder 4 is set up for screwing on a strip-like wiper blade.
- the inner sleeve 2 has two diametrically opposite slots 11, 12 which are open towards the end face. On its side opposite the open end face, the inner sleeve 2 is pot-shaped, the bottom 13 of the end face of the two-part pin 5, 6 serving as a stop. An annular groove 14 is embedded in the outside of the wall of the pot-shaped part. The outer sleeve 3 shown as an individual part in FIGS. 15 to 17 is guided in this annular groove 14 with a correspondingly designed collar 15, as shown in FIGS. 2 and 6.
- the outer sleeve 3 is composed of two half-shells 3a, 3b for assembly purposes.
- the half-shells 3a, 3b are welded together at their butt joint after positioning on the inner sleeve 2.
- the outer sleeve 3 has two absolutely identical internal thread sections 16, 17, between which diametrically opposite axial grooves 18, 19 extend to the end face of the outer sleeve 3.
- the width of these axial grooves 18, 19 is equal to the width of the axial slots 11, 12 of the inner sleeve 2.
- the two pin halves 5, 6 of both holding parts 7, 10 are of absolutely identical design. On their outer circumference they carry a section 20, 21 of an external thread, which corresponds to the two sections 16, 17 of the internal thread of the outer sleeve 3 corresponds.
- the width of the threaded sections 20, 21 in the circumferential direction is equal to the width of the axial slots 11, 12 and grooves 18, 19.
- the inner sides of the two pin halves 5,6 lying one on top of the other carry two axial rows of teeth 23, 24, 25, 26 and between them a tongue 27, 28 and a groove 29, 30 .
- the arrangement of these elements is absolutely the same for both pin halves 5, 6, the pitch of the toothing of the rows of teeth 23, 24, 25, 26 being matched to the threaded sections 20, 21 in such a way that in each axially offset position of the two pin halves 5, 6 in the case of an abutting face 13 on the bottom Pin half 5 or 6, the threaded sections 20, 21 of the pin halves 5, 6 are aligned with the internal thread sections 16, 17 of the outer sleeve 3.
- the interlocking tongue and groove connections 27, 30 and 28, 29 enable the axial movement of the two pin halves 5, 6 towards one another, but prevent angular displacement about an axis perpendicular to the pin axis.
Landscapes
- Cleaning Implements For Floors, Carpets, Furniture, Walls, And The Like (AREA)
- Cleaning In General (AREA)
- Vehicle Cleaning, Maintenance, Repair, Refitting, And Outriggers (AREA)
Applications Claiming Priority (2)
| Application Number | Priority Date | Filing Date | Title |
|---|---|---|---|
| DE3928668A DE3928668C1 (enExample) | 1989-08-30 | 1989-08-30 | |
| DE3928668 | 1989-08-30 |
Publications (2)
| Publication Number | Publication Date |
|---|---|
| EP0415299A1 EP0415299A1 (de) | 1991-03-06 |
| EP0415299B1 true EP0415299B1 (de) | 1993-10-06 |
Family
ID=6388178
Family Applications (1)
| Application Number | Title | Priority Date | Filing Date |
|---|---|---|---|
| EP90116331A Expired - Lifetime EP0415299B1 (de) | 1989-08-30 | 1990-08-27 | Reinigungsgerät für Flächen, insbesondere Fensterscheiben |
Country Status (6)
| Country | Link |
|---|---|
| US (1) | US5083338A (enExample) |
| EP (1) | EP0415299B1 (enExample) |
| JP (1) | JPH03188821A (enExample) |
| BR (1) | BR9004276A (enExample) |
| DE (1) | DE3928668C1 (enExample) |
| ES (1) | ES2047220T3 (enExample) |
Families Citing this family (9)
| Publication number | Priority date | Publication date | Assignee | Title |
|---|---|---|---|---|
| US4993101A (en) * | 1989-10-12 | 1991-02-19 | Mr. Longarm, Inc. | Tool system with rotatable tool |
| DE4330271C2 (de) * | 1993-09-07 | 1996-07-04 | Vileda Gmbh | Handgerät zum Reinigen von glatten Flächen |
| AU125682S (en) | 1994-07-04 | 1996-01-24 | Vileda Gmbh | Combined cleaning and wiping device |
| DE4430287A1 (de) * | 1994-08-26 | 1996-04-25 | Basf Ag | N-Phenyltetrahydroindazole, Verfahren zur ihrer Herstellung und ihre Verwendung als Pflanzenschutzmittel |
| US20050252521A1 (en) * | 2004-05-14 | 2005-11-17 | Leblanc Cherryll A | Curling iron cover |
| US7533436B2 (en) * | 2007-01-08 | 2009-05-19 | Kornelis Vaartjes | Multifunction cleaning device for large vehicles such as recreational vehicles and trucks |
| US7721391B2 (en) * | 2007-05-10 | 2010-05-25 | The Wooster Brush Company | Quick release lock mechanisms for handle extensions |
| CN201920653U (zh) | 2010-09-28 | 2011-08-10 | 3M创新有限公司 | 一种清洁工具 |
| USD1102696S1 (en) | 2023-01-25 | 2025-11-18 | Unger Marketing International, Llc | Window scraper |
Family Cites Families (17)
| Publication number | Priority date | Publication date | Assignee | Title |
|---|---|---|---|---|
| US797638A (en) * | 1905-03-01 | 1905-08-22 | James L Thomas | Detachable handle for implements. |
| US1005834A (en) * | 1911-08-10 | 1911-10-17 | Eldred M Hibbler | Tool. |
| US1557894A (en) * | 1924-11-14 | 1925-10-20 | Herbert M Sturgis | Mop-handle fixture |
| US2009473A (en) * | 1933-03-21 | 1935-07-30 | Carter Products Corp | Connection |
| US2191642A (en) * | 1938-12-16 | 1940-02-27 | Carvalho Manuel | Scrubbing device |
| US2741788A (en) * | 1954-10-04 | 1956-04-17 | Porter M Shey | Wiper cleaner attachment |
| US2904806A (en) * | 1956-10-25 | 1959-09-22 | Badger Tool & Mfg Co | Window cleaner |
| US3516697A (en) * | 1969-02-20 | 1970-06-23 | Raymar Inc | Connector for tubular members |
| US3617078A (en) * | 1969-10-07 | 1971-11-02 | Ford Motor Co | Adjustable tie rod linkage |
| US3873747A (en) * | 1970-04-26 | 1975-03-25 | Thomassen & Drijver | Method for sterilizing a food product in a container |
| GB1280579A (en) * | 1970-05-15 | 1972-07-05 | Theron Victor Moss | Attachment device for connecting swabs or mops to handles |
| US3682516A (en) * | 1970-12-09 | 1972-08-08 | Joseph Savage | Ferrule assembly for a push broom or the like |
| US3789451A (en) * | 1972-05-26 | 1974-02-05 | Laitner Brush Co | Window cleaning implement |
| GB1553004A (en) * | 1977-12-09 | 1979-09-19 | Metrosound Audio Products Ltd | Cleaning instrument |
| DE3308490A1 (de) * | 1983-03-10 | 1984-09-13 | Max Langenstein, Feld- und Gartengeräte GmbH & Co, 7918 Illertissen | Handgeraet zum reinigen glatter flaechen, insbesondere glasscheiben |
| US4611941A (en) * | 1984-04-19 | 1986-09-16 | Wagner Spray Tech Corporation | Pressurized paint pad mounting |
| US4642837A (en) * | 1985-08-20 | 1987-02-17 | The Drackett Company | Broom having interlocking components |
-
1989
- 1989-08-30 DE DE3928668A patent/DE3928668C1/de not_active Expired - Lifetime
-
1990
- 1990-07-18 US US07/554,259 patent/US5083338A/en not_active Expired - Fee Related
- 1990-08-27 EP EP90116331A patent/EP0415299B1/de not_active Expired - Lifetime
- 1990-08-27 ES ES90116331T patent/ES2047220T3/es not_active Expired - Lifetime
- 1990-08-29 BR BR909004276A patent/BR9004276A/pt unknown
- 1990-08-30 JP JP2226794A patent/JPH03188821A/ja active Pending
Also Published As
| Publication number | Publication date |
|---|---|
| ES2047220T3 (es) | 1994-02-16 |
| US5083338A (en) | 1992-01-28 |
| JPH03188821A (ja) | 1991-08-16 |
| BR9004276A (pt) | 1991-09-03 |
| DE3928668C1 (enExample) | 1990-07-19 |
| EP0415299A1 (de) | 1991-03-06 |
Similar Documents
| Publication | Publication Date | Title |
|---|---|---|
| EP0277319B1 (de) | Bauelement für Baukastensystem | |
| EP0483703B1 (de) | Spannfutter für Werkzeugeinsätze, insbesondere Schraubendreherbits | |
| DE202004021290U1 (de) | Höhenverstellbares Implantat zum Einsetzen zwischen Wirbelkörpern und Handhabungswerkzeug | |
| DE2905848C2 (enExample) | ||
| DE3804749A1 (de) | Schraubendreher mit schraubenhalter insbesondere fuer knochenschrauben | |
| EP0039765B1 (de) | Vorrichtung zum Befestigen von biegsamen Druckplatten auf dem Plattenzylinder von Rotationsdruckmaschinen | |
| EP0415299B1 (de) | Reinigungsgerät für Flächen, insbesondere Fensterscheiben | |
| DE4023304C1 (enExample) | ||
| DE3712707A1 (de) | Messereinsatz | |
| DE3344574C2 (de) | Befestigungselement | |
| EP0192278B1 (de) | Fensterreiniger | |
| DE3435467C1 (de) | Lösbare Ankuppelvorrichtung für Wellen, insbesondere biegsame Wellen | |
| DE9316164U1 (de) | Konnektor zum Aufsetzen auf die Ringe eines Ringfixateurs zum Einrichten, Manövrieren, Befestigen und Regulieren der veränderbaren Halterung von Knochenabschnitten | |
| DE3518661A1 (de) | Schraubenschluessel | |
| DE3611445C2 (enExample) | ||
| DE2921198C2 (de) | Einsatzbefestigung bei Zirkeln | |
| DE3207967C1 (de) | Vorrichtung zum lösbaren Verbinden zweier Bauelemente | |
| CH672279A5 (enExample) | ||
| DE29718509U1 (de) | Dachrinnenbürste | |
| DE8010197U1 (de) | Stiel fuer gartengeraete | |
| DE1475035C (de) | Befestigungsvorrichtung | |
| DE29809039U1 (de) | Spannwerkzeug, insbesondere in Form einer Schraubzwinge | |
| WO2024094452A1 (de) | Glättwerkzeug zur nachbearbeitung von einer mit einer fugenmasse gefüllten fuge | |
| EP1727750A1 (de) | Vorrichtung zum verbinden von transportvorrichtungen | |
| DE19745952A1 (de) | Zahnbürsten-Herstellungsmaschine |
Legal Events
| Date | Code | Title | Description |
|---|---|---|---|
| PUAI | Public reference made under article 153(3) epc to a published international application that has entered the european phase |
Free format text: ORIGINAL CODE: 0009012 |
|
| AK | Designated contracting states |
Kind code of ref document: A1 Designated state(s): ES FR GB IT |
|
| 17P | Request for examination filed |
Effective date: 19910810 |
|
| 17Q | First examination report despatched |
Effective date: 19920805 |
|
| GRAA | (expected) grant |
Free format text: ORIGINAL CODE: 0009210 |
|
| AK | Designated contracting states |
Kind code of ref document: B1 Designated state(s): ES FR GB IT |
|
| GBT | Gb: translation of ep patent filed (gb section 77(6)(a)/1977) |
Effective date: 19931022 |
|
| ET | Fr: translation filed | ||
| ITF | It: translation for a ep patent filed | ||
| REG | Reference to a national code |
Ref country code: ES Ref legal event code: FG2A Ref document number: 2047220 Country of ref document: ES Kind code of ref document: T3 |
|
| PLBE | No opposition filed within time limit |
Free format text: ORIGINAL CODE: 0009261 |
|
| STAA | Information on the status of an ep patent application or granted ep patent |
Free format text: STATUS: NO OPPOSITION FILED WITHIN TIME LIMIT |
|
| 26N | No opposition filed | ||
| REG | Reference to a national code |
Ref country code: FR Ref legal event code: TP |
|
| REG | Reference to a national code |
Ref country code: GB Ref legal event code: 732E |
|
| PGFP | Annual fee paid to national office [announced via postgrant information from national office to epo] |
Ref country code: FR Payment date: 20000719 Year of fee payment: 11 |
|
| PGFP | Annual fee paid to national office [announced via postgrant information from national office to epo] |
Ref country code: GB Payment date: 20000823 Year of fee payment: 11 |
|
| PGFP | Annual fee paid to national office [announced via postgrant information from national office to epo] |
Ref country code: ES Payment date: 20000831 Year of fee payment: 11 |
|
| PG25 | Lapsed in a contracting state [announced via postgrant information from national office to epo] |
Ref country code: GB Free format text: LAPSE BECAUSE OF NON-PAYMENT OF DUE FEES Effective date: 20010827 |
|
| PG25 | Lapsed in a contracting state [announced via postgrant information from national office to epo] |
Ref country code: ES Free format text: LAPSE BECAUSE OF NON-PAYMENT OF DUE FEES Effective date: 20010828 |
|
| GBPC | Gb: european patent ceased through non-payment of renewal fee |
Effective date: 20010827 |
|
| PG25 | Lapsed in a contracting state [announced via postgrant information from national office to epo] |
Ref country code: FR Free format text: LAPSE BECAUSE OF NON-PAYMENT OF DUE FEES Effective date: 20020430 |
|
| REG | Reference to a national code |
Ref country code: FR Ref legal event code: ST |
|
| REG | Reference to a national code |
Ref country code: ES Ref legal event code: FD2A Effective date: 20020911 |
|
| PG25 | Lapsed in a contracting state [announced via postgrant information from national office to epo] |
Ref country code: IT Free format text: LAPSE BECAUSE OF NON-PAYMENT OF DUE FEES;WARNING: LAPSES OF ITALIAN PATENTS WITH EFFECTIVE DATE BEFORE 2007 MAY HAVE OCCURRED AT ANY TIME BEFORE 2007. THE CORRECT EFFECTIVE DATE MAY BE DIFFERENT FROM THE ONE RECORDED. Effective date: 20050827 |